Ministerio de Industria, Turismo y Comercio LogoMinisterior
 

Tintas de Seguridad

Resultados 28 resultados
LastUpdate Última actualización 21/04/2026 [07:19:00]
pdfxls
Solicitudes publicadas en los últimos 60 dias/ Patent applications published in the last 60 days
Resultados 1 a 25 de 28 nextPage  

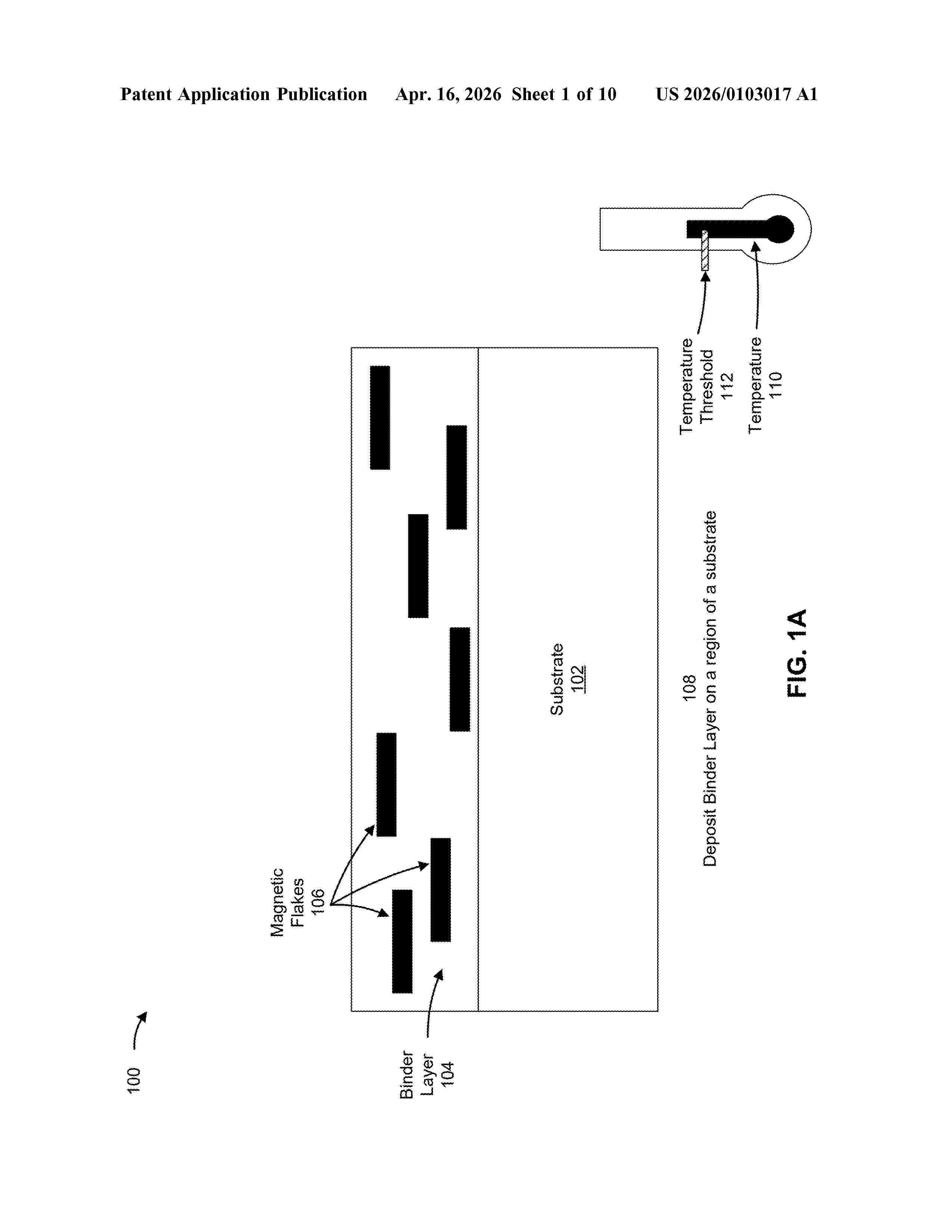
ORIENTING MAGNETIC FLAKES WITHIN A BINDER LAYER

NºPublicación:  US20260103017A1 16/04/2026
Solicitante: 
VIAVI SOLUTIONS INC [US]
US_20260103017_A1

Resumen de: US20260103017A1

A deposition device may deposit, on a substrate, a binder layer that includes a first set of magnetic flakes and a second set of magnetic flakes and may cause, when a temperature of the binder layer satisfies a temperature threshold (e.g., a Curie temperature of the first set of magnetic flakes), a magnetic field to be applied to the binder layer to cause the first set of magnetic flakes and the second set of magnetic flakes to be oriented according to the magnetic field. The deposition device may cause, when the temperature of the binder layer ceases to satisfy the temperature threshold, another magnetic field to be applied to the binder layer to cause only the second set of magnetic flakes to be oriented according to the other magnetic field.

METHODS AND SYSTEMS FOR SECURING DOCUMENTS WHILE PRINTING AND REPRODUCING THE DOCUMENTS

NºPublicación:  US20260104830A1 16/04/2026
Solicitante: 
XEROX CORP [US]
US_20260104830_A1

Resumen de: US20260104830A1

The disclosure discloses methods and systems for securing confidential content of a document while printing and/or while reproducing the document. The method includes identifying confidential content in a document. Upon identification, the confidential content is encoded based on one or more encoding algorithms. Then, coordinate information about the confidential content is identified. The method generates a pre-defined code such as a QR code having authorized user information, prints the IR security mark and pre-defined code on the document. The printed document includes the confidential content in an encoded format, the IR security mark with the coordinate information of the confidential content and the pre-defined code including the authorized user information. At the time of reproducing, the method includes checking if a user who is requesting for reproducing the printed document is an authorized user. Based on the check, the user is allowed to reproduce the printed document.

UV-VIS CURABLE SECURITY INKS COMPRISING TAGS AND SECURITY FEATURES OBTAINED THEREOF

NºPublicación:  AU2024338248A1 16/04/2026
Solicitante: 
SICPA HOLDING SA
AU_2024338248_PA

Resumen de: AU2024338248A1

The present invention relates to the technical field of security features comprising taggants by means of Surface-Enhanced Raman Spectroscopy (SERS) and their detection. Furthermore, the present invention relates to the field of UV-Vis curable security inks comprising SERS tags for printing security features on substrates, in particular on security documents or articles, wherein said inks comprise one or more surface enhanced Raman spectroscopy (SERS) tags, one or more radiation curable compounds, and one or more photoinitiators and wherein said inks lack a vinyl ether containing compound.

UV-VIS CURABLE SECURITY INKS COMPRISING TAGS AND SECURITY FEATURES OBTAINED THEREOF

NºPublicación:  AU2024338310A1 16/04/2026
Solicitante: 
SICPA HOLDING SA
AU_2024338310_PA

Resumen de: AU2024338310A1

The present invention relates to the technical field of security features comprising taggants by means of Surface-Enhanced Raman Spectroscopy (SERS) and their detection. Furthermore, the present invention relates to the field of UV-Vis curable security inks comprising SERS tags for printing security features on substrates, in particular on security documents or articles, wherein said inks comprise i) one or more surface enhanced Raman spectroscopy (SERS) tags, ii) one or more vinyl ether containing compounds, iii) one or more cationically radiation curable compounds different from the one or more vinyl ether containing compounds of ii) and iv) one or more cationic photoinitiators being a salt of hexafluorophosphate.

METHODS AND SYSTEMS FOR EXTRACTING AN INFRARED SECURITY MARK FROM A DOCUMENT

NºPublicación:  US20260105768A1 16/04/2026
Solicitante: 
XEROX CORP [US]
US_20260105768_A1

Resumen de: US20260105768A1

The present disclosure discloses methods and systems for extracting an infrared (IR) security mark from a document. The method includes receiving a document including the IR security mark. A portion of the document including the IR security mark is extracted and a color information is obtained, wherein the color information includes at least one of a foreground color information and an adjacent foreground color information. One or more portions of the extracted portion are analyzed based on the foreground color information, to generate a foreground image including one or more foreground portions. One or more portions adjacent to the one or more foreground portions in the extracted portion are analyzed based on the adjacent foreground color information, to generate an adjacent foreground image. The foreground image and the adjacent foreground image are processed to extract the IR security mark.

IDENTIFICATION ELEMENT, INQUIRY DEVICE, AND INQUIRY METHOD

NºPublicación:  EP4725714A1 15/04/2026
Solicitante: 
SONY GROUP CORP [JP]
EP_4725714_PA

Resumen de: EP4725714A1

0001 An identification element according to an aspect of the present disclosure includes a thermosensitive recording medium provided with one or a plurality of layers on a support substrate. An identification region having a unique physical feature is provided in at least a portion of the thermosensitive recording medium.

PROCESS FOR PRODUCING EFFECT PIGMENTS

NºPublicación:  EP4724534A1 15/04/2026
Solicitante: 
GIESECKE & DEVRIENT CURRENCY TECHNOLOGY GMBH [DE]
WO_2024251325_PA

Resumen de: WO2024251325A1

The present document discloses a process for producing effect pigments (2). Said process comprises the steps of: Providing a donor film (8) having a relief structure (12) arranged thereupon comprising plateau surfaces (12a), lowered regions (12c) and flanks (12b) situated therebetween. Applying a reflective layer (16) to the relief structure (12). Providing an acceptor film (4) having an adhesive layer (6) arranged on one side thereof. Producing a first layer composite (1) from the donor film (8) and the acceptor film (4), wherein the adhesive layer (6) of the acceptor film (4) is laminated with the reflective layer (16) of the donor film (8) in the plateau surfaces (12a). Peeling off the donor film (8) from the acceptor film (4), wherein the reflective layer (16) remains on the donor film (8) in the lowered regions (12c) and on the flanks (12b) as a residual layer (26) and the acceptor film (4) has arranged on it the adhesive layer (6) and the pieces (25) of the reflective layer (16) previously arranged on the plateau surfaces (12a), and detaching the pieces (25) from the acceptor film (4), wherein an external contour of the effect pigments (2) is predetermined by the configuration of the plateau surfaces (12a). In the process the relief structure (12) is subjected to adhesion-reducing pretreatment before the whole-area application of the reflective layer (16) and the detaching of the pieces (25) as effect pigments (2) from the acceptor film (4) comprises a detaching or loos

SURFACE-FUNCTIONALIZATION BASED AUTHENTICATION ELEMENTS FOR AUTHENTICATING OBJECTS AND OBJECTS AND METHODS USING THEM

NºPublicación:  WO2026076261A1 09/04/2026
Solicitante: 
MINERAL CITY BIOTECHNOLOGIES LLC [US]
WO_2026076261_A1

Resumen de: WO2026076261A1

An authentication element may include molecules where the molecules are arranged to encode at least a portion of an authentication code. The molecules may be polymer chains. The molecules may be polymer chains in a polymer ink. The molecules may be x-ray sensitive. A shape in which the molecules are arranged, for example on a surface to which they are attached, may encode the at least a portion of the authentication code. The molecules may be arranged as a two-dimensional pattern, such as a barcode or QR-code. A method of applying an authentication element includes disposing molecules onto a polymer surface and irradiating at least a portion of the molecules thereby attaching the at least a portion of the molecules to the surface such that the at least a portion of the molecules are arranged in an arrangement corresponding to at least a portion of an authentication code.

SYSTEMS AND METHODS FOR DEPOSITING AND IDENTIFYING DENDRITIC SHAPES

NºPublicación:  EP4719779A1 08/04/2026
Solicitante: 
AVERY DENNISON CORP [US]
EP_1000000_PA

Resumen de: EP1000000A1

The invention relates to an apparatus (1) for manufacturing green bricks from clay for the brick manufacturing industry, comprising a circulating conveyor (3) carrying mould containers combined to mould container parts (4), a reservoir (5) for clay arranged above the mould containers, means for carrying clay out of the reservoir (5) into the mould containers, means (9) for pressing and trimming clay in the mould containers, means (11) for supplying and placing take-off plates for the green bricks (13) and means for discharging green bricks released from the mould containers, characterized in that the apparatus further comprises means (22) for moving the mould container parts (4) filled with green bricks such that a protruding edge is formed on at least one side of the green bricks.

ARTICLE MANUFACTURING METHOD, IDENTITY DETERMINATION METHOD, AND MANUFACTURING SYSTEM

NºPublicación:  WO2026071016A1 02/04/2026
Solicitante: 
LINTEC CORP [JP]
\u30EA\u30F3\u30C6\u30C3\u30AF\u682A\u5F0F\u4F1A\u793E
WO_2026071016_A1

Resumen de: WO2026071016A1

An article manufacturing method comprising an ink marking process in which an identity determination mark to be used to determine the identity of an article is formed on a marking surface using an ink, wherein the determination of the identity of an article involves comparing information obtained from an image of the identity determination mark on a genuine article with information obtained from an image of an identity determination mark on an article to be assessed, and the image of the identity determination mark has individuality resulting from the wet spreading of ink droplets.

Verfahren zur Herstellung eines Wertdokuments und Wertdokument

NºPublicación:  DE102024127365A1 26/03/2026
Solicitante: 
GIESECKE & DEVRIENT CURRENCY TECHNOLOGY GMBH [DE]
Giesecke+Devrient Currency Technology GmbH
CN_121716438_PA

Resumen de: DE102024127365A1

Die Erfindung betrifft ein Verfahren zur Herstellung eines Wertdokuments (1), wie einer Banknote, einem Scheck, einer Kredit- oder sonstige Zahlungskarte, einer Ausweiskarte oder dergleichen. Es wird ein Substratkörper (2), der eine Vorderseite (3) und eine Rückseite (4) hat, bereitgestellt, und eine Druckschicht (6) wird mit einer ersten Tinte (5) und einer zweiten Tinte (15), die beide magnetisch ausrichtbare Pigmente aufweisen, auf die Vorderseite (3) des Substratkörpers (2) aufgedruckt. Die magnetisch ausrichtbaren Pigmente werden mit einer Magnetvorrichtung (11) ausgerichtet und anschließend mit einer Aushärtungsvorrichtung (13) durch Aushärten einer Matrix im ausgerichteten Zustand fixiert.-Mindestens die erste Tinte (5) wird in einem Digitaldruckprozess mittels eines ersten Druckkopfs (7) gedruckt, der die erste Tinte (5) gemäß einem Punktraster tröpfchenförmig abgibt, so dass die Druckschicht (6) mindestens hinsichtlich der ersten Tinte (5) als Digitaldruckschicht ausgebildet wird, wobei die erste Tinte (5) und die zweite Tinte (15) zwei unterschiedliche Farben aufweisen, und die magnetisch ausrichtbaren Pigmente jeweils einen Mehrschichtverbund umfassen, der mindestens eine magnetische Schicht umfasst.

LATENT INFORMATION ON A TRANSPARENT LAYER ON IDENTITY CARDS

NºPublicación:  EP4713211A1 25/03/2026
Solicitante: 
IAI IND SYSTEMS B V [NL]
IAI industrial systems B.V
WO_2024235461_PA

Resumen de: WO2024235461A1

The present disclosure provides an identification card (1), including a base sheet (2) and on top of said base sheet an information layer containing at least one feature made of a first material, which is transparent for white light and which under irradiation with electromagnetic radiation which is not in the visible spectrum is opaque and/or colored and/or emits colored light. The feature is at least laterally embedded in a layer made of a second material, which is transparent for white light and which, is or is not under irradiation with electromagnetic radiation which is not in the visible spectrum opaque and/or colored and/or does or does not emit colored light.

TACTILE LATENT INFORMATION IN AN INKJET PRINTED LAYER ON IDENTIY CARDS

NºPublicación:  EP4713210A1 25/03/2026
Solicitante: 
IAI IND SYSTEMS B V [NL]
IAI industrial systems B.V
WO_2024235464_PA

Resumen de: WO2024235464A1

Identification card (1), including a base sheet (2) and on top of said base sheet an information layer (8) containing at least one feature made of a first material, which is transparent for white light and which is or is not under irradiation with electromagnetic radiation which is not in the visible spectrum (eg UV-light or IR-light) opaque and/or colored and/or emits colored light. The feature is directly or via an intermediation of one or more layers inkjet printed on a surface of the base sheet (2) such that it protrudes therefrom. The protrusion height is 2 µm to 13 µm. The base sheet can have a laser engraved image.

SECURE TRANSACTION OR STORED-VALUE CARD ASSEMBLIES

NºPublicación:  US20260077613A1 19/03/2026
Solicitante: 
TRAVEL TAGS INC [US]
Travel Tags, Inc
US_20260077613_A1

Resumen de: US20260077613A1

Card assemblies for concealing and protecting activation indicia on the card assembly. Two panels, either discrete or foldable, form the card itself, such as a CR80 card or an M6 card assembly, with or without a CR80 snap-off portion. Activation indicia, such as a barcode, can be printed or otherwise applied to an exterior portion of the card assembly, or printed or otherwise applied to an interior of the assembly which is accessed by a tamper evident pull tab. Redemption indicia, such as an alpha-numeric code, can be applied to an interior surface of the card, which is accessed by a tamper evident pull tab or other tab.

SECURITY SUBSTRATE AND SECURITY DOCUMENTS PRODUCED THEREFROM

NºPublicación:  WO2026058177A1 19/03/2026
Solicitante: 
Q&T HI TECH POLYMER COMPANY LTD [VN]
Q&T HI-TECH POLYMER COMPANY LIMITED
WO_2026058177_A1

Resumen de: WO2026058177A1

The invention relates to a security substrate for security documents, which is formed based on a laminated structure comprising two BOPP films with appropriate thickness and structure so as to improve durability, enhance tactile feel, and provide advantages in circulation. The security substrate according to the present invention comprises a lower surface and an upper surface. The substrate comprises a laminated structure of two BOPP films bonded together by an adhesive layer. The thickness of the BOPP film layers provides the laminated structure with improved tensile strength compared to the prior art. The coating layers may be applied to one side of the laminated structure, and are preferably applied to both sides of the laminated structure, for example, two coating layers on each side. The thickness of the coating layer, in combination with the laminated structure, provides advantages in terms of tactile feel.

PERSONALIZABLE SECURITY DOCUMENT

NºPublicación:  EP4711148A1 18/03/2026
Solicitante: 
TOPPAN SECURITY SAS [FR]
TOPPAN Security SAS
EP_4711148_PA

Resumen de: EP4711148A1

A personalizable security document (10) includes a hidden pattern (4b) that is formed in an image-forming region (2, 3) configured to have a personalized image laser-engraved in the same. The hidden pattern (4b) is formed by a polarization-changing material layer, which changes the polarization of light passing through the same. The pattern (4b) is not visible when the security document (10) is viewed under white light in reflection. The pattern (4b) becomes visible when the security document (10) is viewed under white light through a polarization filter (20).

COMPOSITIONS, COMPRISING SILVER NANOPLATELETS

NºPublicación:  EP4709544A1 18/03/2026
Solicitante: 
BASF SE [DE]
BASF SE
WO_2024231418_A1

Resumen de: WO2024231418A1

The present invention relates to compositions, comprising silver nanoplatelets, wherein the silver nanoplatelets are capped by a compound of formula (XX), wherein R41 is a C4-C25alkyl group, which may be interrupted by one, or more oxygen atoms, and n is a number 1 to 10, especially 1 to 4, very especially 1, or 2, a process for its production, printing inks containing the compositions and their use in security products. The capping with the compound of formula (XX) renders the surface on the nanoparticles more hydrophobic, while maintaining colloidal stability of their dispersions in organic solvents and/or monomer compositions. This combination of properties allows for production of stable UV curable coating/printing compositions, suitable for manufacture of dichroic security elements for protection of value documents. The surface modification, described in the present invention is suitable for silver nanoplatelets of different sizes and, correspondingly, colors, and is especially useful for manufacture of solvent-free coating, or printing compositions.

UV-LED CURABLE VISCOUS PRINTING INKS AND PRINTING PROCESSES

NºPublicación:  AU2024318588A1 12/03/2026
Solicitante: 
SICPA HOLDING SA
SICPA HOLDING SA
AU_2024318588_PA

Resumen de: AU2024318588A1

The present invention relates to the field of viscous UV-LED radically curable inks for printing security features on substrates, in particular security documents, said inks comprising one or more radically curable (meth)acrylate compounds, one or more thioxanthone compounds, one or more amino containing synergists, one or more fillers and/or extenders, and one or more pigments of formula (I).

PRINTING INKS

NºPublicación:  WO2026052580A1 12/03/2026
Solicitante: 
SICPA HOLDING SA [CH]
SICPA HOLDING SA
WO_2026052580_A1

Resumen de: WO2026052580A1

The invention provides an oxidative drying intaglio ink.

PRINTED MATTER, MANUFACTURING METHOD FOR PRINTED MATTER, PROGRAM, AND PRINTING APPARATUS

NºPublicación:  US20260070346A1 12/03/2026
Solicitante: 
MIMAKI ENG CO LTD [JP]
MIMAKI ENGINEERING CO., LTD
US_20260070346_PA

Resumen de: US20260070346A1

Various designs are appropriately expressed by a printed matter. A printed matter 52 in which a plurality of ink layers overlap each other includes an image layer 202 and a transmission rate control layer 204, and as the transmission rate control layer 204 has a low-transmission region 302 and a high-transmission region 306, light is transmitted through the printed matter 52 such that a pattern corresponding to a shape of the high-transmission region 306 is visually recognized from an observation-surface side when irradiated with rear-surface light, and the pattern corresponding to the shape of the high-transmission region 306 becomes inconspicuous when not irradiated with the rear-surface light, for an observer observing the image layer 202 from the observation-surface side.

Wertdokument mit einem Substrat und einem Sicherheitsmerkmal sowie zugehöriges Herstellungsverfahren

NºPublicación:  DE102024124689A1 05/03/2026
Solicitante: 
GIESECKE & DEVRIENT CURRENCY TECHNOLOGY GMBH [DE]
Giesecke+Devrient Currency Technology GmbH

Resumen de: DE102024124689A1

Die Erfindung betrifft ein Wertdokument (10), insbesondere eine Banknote, mit einem Substrat (12) und einem mehrelementigen Sicherheitsmerkmal (14). Die mehreren Elemente (30, 32+34, 40) des Sicherheitsmerkmals überlappen einander dabei paarweise zumindest teilweise und wirken zusammen, um ein Kulissenbild (20) zu bilden, bei dem mehrere Bildteile (22, 24, 26) kulissenartig hintereinander angeordnet erscheinen. Das Sicherheitsmerkmal (14) enthält als ein erstes Element ein optisch variables Druckelement (30), das einen ersten Bildteil (22) des Kulissenbilds (20) bildet, und enthält als ein zweites Element ein teilmetallisiertes Folienelement (40) mit transparenten Folienbereichen, bei dem der metallisierte Bereich (42) des Folienelements (40) einen zweiten Bildteil (24) des Kulissenbilds bildet. Das Folienelement (40) ist auf dem Substrat (12) gepassert über dem Druckelement (30) angeordnet und überlappt dieses mit seinem metallisierten Bereich (42) zumindest teilweise.

SECURITY EMBOSSED PRINTING INK USED FOR DOCUMENTS AND PACKAGING AGAINST FORGERY WITH EMBOSSED PRINTING

NºPublicación:  EP4701862A1 04/03/2026
Solicitante: 
SAM SECURITY PRINTING MATBAA ANONIM SIRKETI [TR]
Sam Security Printing Matbaa Anonim Sirketi
TR_2023004788_A2

Resumen de: WO2024226003A1

The present invention relates to a security embossed printing ink which can be used in dry offset and normal offset printing systems and inkjet offset digital printing systems to promote a wide market such as industrial and commercial packaging, food, pharmaceuticals, health, cosmetics, especially on paper and sheets, which can be used for documents and packaging against forgery with embossed printing in the field of printing, which provides a significant reduction in costs by obtaining the desired products in one time, and it comprises an ink composition containing at least one UV curable photopolymerization initiator (1) material, at least one filling material with thickening properties (2), at least one polymer material (3), at least one antistatic material (4), at least one antioxidant ingredient (5), at least one UV-blocking material (6), aerosol as at least one moisture-retaining and anti-condensation material (7), at least one additive with wetting, dispersing, leveling, anti-foaming, rheology modifying properties (8), at least one curing agent (9), at least one color pigment (10).

SISTEMAS OPACIFICANTES PARA SUSTRATOS POLIMÉRICOS TRANSPARENTES

NºPublicación:  AR134684A1 04/03/2026
Solicitante: 
SICPA HOLDING SA [CH]
CHINA BANKNOTE PRINTING AND MINTING CORP [CN]
SICPA HOLDING SA,
CHINA BANKNOTE PRINTING AND MINTING CORPORATION
TW_202543822_A

Resumen de: TW202543822A

The present invention relates to the field of improved opacified polymeric transparent substrates (x00) for use in making security documents such as banknotes, said substrates (x00) combining good mechanical performance and that can be easily handled for subsequent multi-step security printing processes. In particular, the present invention provides kits for manufacturing an opacifying system (x10) either on one side or on both sides of a polymeric transparent substrate (xx0), said kit comprising (a) a first composition for manufacturing an opacifying layer (x11), (b) a second composition for manufacturing a conductive layer (x12), and (c) a third layer composition for manufacturing an acceptance layer (x13), wherein the first, second and third compositions comprise (i) water, (ii) a water-soluble or water- dispersible resin, (iii) a white pigment, (iv) a wax, wherein at least one of the first, second and third compositions comprises an anti-static agent, and wherein at least two of said first, second and third compositions comprise a mica compound.

IDENTIFICATION DOCUMENT WITH A RECESS FOR IDENTIFICATION FEATURE AND METHOD OF MANUFACTURING IT

NºPublicación:  EP4703145A1 04/03/2026
Solicitante: 
TOPPAN SECURITY SAS [FR]
TOPPAN SECURITY IRELAND TEORANTA [IE]
TOPPAN Security SAS,
Toppan Security Ireland Teoranta
EP_4703145_PA

Resumen de: EP4703145A1

A personalized identification document (1) comprising a substrate (5) and an identification feature (15). The substrate (5) comprises an outer surface portion (35) and a recess (10) formed within the outer surface portion (35). The identification feature (15) comprises an inkjet-printed colored image (16) and a varnish material (17). The inkjet-printed colored image (16) is positioned completely within the recess (10). The varnish material (17) is provided completely within the recess (10) and covers the inkjet-printed colored image (16) to the outside.

Protected document

Nº publicación: PL449590A1 02/03/2026

Solicitante:

POLSKA WYTWORNIA PAPIEROW WARTOSCIOWYCH SPOLKA AKCYJNA [PL]
POLSKA WYTW\u00D3RNIA PAPIER\u00D3W WARTO\u015ACIOWYCH SP\u00D3\u0141KA AKCYJNA

PL_449590_A1

Resumen de: PL449590A1

Przedmiotem zgłoszenia jest dokument zabezpieczony obejmujący: podłoże, pokryte częściowo co najmniej na dwóch, korzystnie niepokrywających się obszarach dodatkową warstwą, przy czym na co najmniej pierwszym obszarze podłoża jest naniesiona modyfikująca podłoże pierwsza warstwa efektowa z podatnego na odkształcanie pod wpływem zewnętrznej siły nacisku i odbijającego światło materiału o wysokim współczynniku odbicia światła, a na co najmniej drugim obszarze podłoża jest naniesiona modyfikująca podłoże druga warstwa drukowa z odbijającego, barwnego materiału środka kryjącego o wysokiej lepkości; i gdzie na co najmniej pierwszym obszarze podłoża znajduje się pierwszy element zabezpieczający (102) jaki stanowi tłoczony element optyczny obejmujący tłoczoną metodą wklęsłodruku strukturę pod postacią siatki komórek, korzystnie równobocznych, najkorzystniej kwadratowych, gdzie pojedyncza komórka odpowiada pojedynczemu punktowi pierwszego elementu zabezpieczającego (102) tworzącemu wraz z pozostałymi punktami siatki postrzegalny globalnie, niosący informację pierwszy element zabezpieczający (102) i w których to komórkach znajdują się subobrazy tworzone przez wypukłe, równoległe względem pozostałych obecnych w komórce, tłoczone linie o określonej wysokości względem powierzchni podłoża pomiędzy liniami zmodyfikowanej podatnym na odkształcanie pod wpływem zewnętrznej siły nacisku i odbijającym światło mat

traducir