Ministerio de Industria, Turismo y Comercio LogoMinisterior
 

Alerta

Resultados 60 resultados
LastUpdate Última actualización 22/11/2025 [07:42:00]
pdfxls
Solicitudes publicadas en los últimos 60 dias/ Patent applications published in the last 60 days
previousPage Resultados 25 a 50 de 60 nextPage  

SECURITY ELEMENT

NºPublicación:  MX2025009293A 03/11/2025
Solicitante: 
FASE S R L [IT]
FASE S.R.L
WO_2024165548_A1

Resumen de: MX2025009293A

There is provided a security element, comprising: an optic layer; a metallic layer; and a printed magnetic ink layer. The security element optionally comprises a photoluminescent layer. Also provided is a security document comprising the security element and a substrate, wherein the security element is surface applied, or partially or wholly embedded in the substrate. The security element may provide enhanced anti-counterfeiting protection to security documents such as banknotes.

FUNCTIONAL ELEMENT, A METHOD FOR PRODUCING A FUNCTIONAL ELEMENT, AND A PRODUCT

NºPublicación:  US2025332857A1 30/10/2025
Solicitante: 
OVD KINEGRAM AG [CH]
OVD Kinegram AG
US_2025332857_PA

Resumen de: US2025332857A1

A functional element 2 including at least one first relief structure 13 in at least one first area 21 and at least one metal layer 12 arranged in at least one subarea of the at least one first relief structure 13 and optionally a preferably polymeric dielectric layer on the side of the metal layer 12 which faces the observer, wherein the at least one first relief structure 13 has a periodic variation of elevations and depressions in the x- and y-direction, wherein the elevations succeed each other with a grating period A which is smaller than a wavelength of the light visible to the human eye, wherein the minima of the depressions define a base surface and wherein the at least one first relief structure 13 has a relief depth t. Further, a method for producing or modifying a surface and a product 1 having such a functional element 2.

Vorrichtung und Verfahren zum Bedrucken von Objekten mit Effektpartikeln

NºPublicación:  DE102024112173A1 30/10/2025
Solicitante: 
GIESECKE & DEVRIENT EPAYMENTS GMBH [DE]
Giesecke+Devrient ePayments GmbH

Resumen de: DE102024112173A1

Es wird eine Vorrichtung (10) zum Bedrucken von Objekten (20) unter Verwendung einer Strahl-Drucktechnik offenbart. Die Vorrichtung (10) umfasst einen Druckkopf (11), welcher konfiguriert ist, mindestens einen Druckstrahl (12) zu erzeugen, welcher auf ein zu bedruckendes Objekt (20) gerichtet ist. Der Druckkopf (11) weist eine Druckkopföffnung (13) auf, aus welcher der mindestens eine Druckstrahl (12) während eines Druckvorgangs ausgegeben wird. Der Druckkopf (11) ist konfiguriert, während eines Druckvorgangs in dem mindestens einen Druckstrahl (12) Effektpartikel (14) auszugeben und diese auf das zu bedruckende Objekt (20) zu befördern, Die Druckkopföffnung (13) des Druckkopfs (11) weist einen Öffnungsdurchmesser (16) von mindestens 80 µm auf. Ferner wird ein Verfahren (30) zum Bedrucken von Objekten (20) mittels einer Strahldrucktechnik offenbart, welches beispielsweise mit der offenbarten Vorrichtung (10) durchgeführt werden kann.

COMPOSITIONS COMPRISING RESPONSIVE DYES AND METHOD OF USING THEREOF

NºPublicación:  WO2025227144A1 30/10/2025
Solicitante: 
THE PENN STATE RES FOUNDATION [US]
THE PENN STATE RESEARCH FOUNDATION
WO_2025227144_A1

Resumen de: WO2025227144A1

Disclosed are compositions and systems comprising responsive dyes, as well as methods of using thereof.

TINTAS DE SEGURIDAD CURABLES POR UV-VIS QUE COMPRENDEN ETIQUETAS Y CARACTERÍSTICAS DE SEGURIDAD OBTENIDAS DE LAS MISMAS

NºPublicación:  AR133711A1 29/10/2025
Solicitante: 
SICPA HOLDING SA [CH]
SICPA HOLDING SA
TW_202513727_A

Resumen de: TW202513727A

The present invention relates to the technical field of security features comprising taggants by means of Surface-Enhanced Raman Spectroscopy (SERS) and their detection. Furthermore, the present invention relates to the field of UV-Vis curable security inks comprising SERS tags for printing security features on substrates, in particular on security documents or articles, wherein said inks comprise one or more surface enhanced Raman spectroscopy (SERS) tags, one or more radiation curable compounds, and one or more photoinitiators and wherein said inks lack a vinyl ether containing compound.

TINTAS DE SEGURIDAD CURABLES POR UV-VIS QUE COMPRENDEN ETIQUETAS Y CARACTERÍSTICAS DE SEGURIDAD OBTENIDAS DE LAS MISMAS

NºPublicación:  AR133712A1 29/10/2025
Solicitante: 
SICPA HOLDING SA [CH]
SICPA HOLDING SA
TW_202528493_A

Resumen de: TW202528493A

The present invention relates to the technical field of security features comprising taggants by means of Surface-Enhanced Raman Spectroscopy (SERS) and their detection. Furthermore, the present invention relates to the field of UV-Vis curable security inks comprising SERS tags for printing security features on substrates, in particular on security documents or articles, wherein said inks comprise (i) one or more surface enhanced Raman spectroscopy (SERS) tags, (ii) one or more vinyl ether containing compounds, (iii) one or more cationically radiation curable compounds different from the one or more vinyl ether containing compounds of (ii) and (iv) one or more cationic photoinitiators being a salt of hexafluorophosphate.

SECURITY FEATURE

NºPublicación:  AU2024255149A1 23/10/2025
Solicitante: 
CCL SECURE PTY LTD
CCL SECURE PTY LTD
AU_2024255149_PA

Resumen de: AU2024255149A1

A security feature for a security document, the security feature comprising one or more photoluminescent ink layers, each including a composition capable of emitting visible light when irradiated with a specified electromagnetic wavelength range, wherein the one or more photoluminescent ink layers are at least partially printed in a window region of the security document.

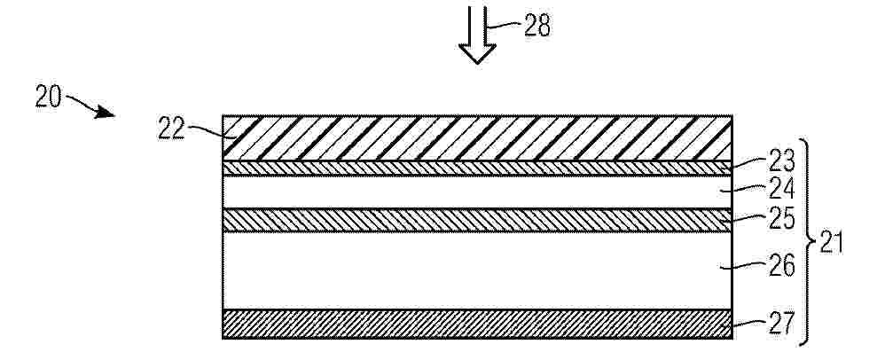
OPTICALLY VARIABLE SECURITY ELEMENT WITH 5-LAYER STACK, DATA CARRIER AND PRODUCTION METHOD

NºPublicación:  EP4633957A1 22/10/2025
Solicitante: 
GIESECKE & DEVRIENT CURRENCY TECHNOLOGY GMBH [DE]
Giesecke+Devrient Currency Technology GmbH
DE_102022133325_PA

Resumen de: WO2024125720A1

The invention relates to an optically variable security element (20), in particular security film or security thread, with a 5-layer stack (21) comprising, in this order, a first absorber layer (23), a first dielectric spacer layer (24), a second absorber layer (25), a second dielectric spacer layer (26) and a reflection layer (27). The invention here provides for the first and the second dielectric spacer layers (24, 26) to have different layer thicknesses in order to generate a specific IR reflection signature of the security element.

PROCESS FOR THE PRODUCTION OF A COLORED LEVEL 2 FEATURE

NºPublicación:  WO2025214825A1 16/10/2025
Solicitante: 
BASF SE [DE]
BASF SE
WO_2025214825_A1

Resumen de: WO2025214825A1

The present invention relates to a process of manufacturing a (security) product comprising a color image which is viewable under cross-polarisers, comprising a) providing a substrate; b) providing a nematic liquid crystal layer on the substrate; c) illuminating the nematic liquid crystal layer, which is in the nematic phase, through a mask by means of UV/VIS radiation; d) heating the nematic liquid crystal layer above the temperature of the phase transition to the isotropic phase; and e) illuminating the nematic liquid crystal layer, which is in the isotropic phase, with UV/VIS radiation; to obtain the fixed color image, which is viewable under cross-polarisers, wherein the different colors of the color image are caused by two or more regions of different birefringence, which depend on the ratio of nematic and isotropic liquid crystals contained in the region. The production of the color images is compared to techniques described in the prior much cheaper and offers high flexibility in producing different color images.

ORIENTING MAGNETICALLY-ORIENTABLE FLAKES

NºPublicación:  US2025319718A1 16/10/2025
Solicitante: 
VIAVI SOLUTIONS INC [US]
VIAVI SOLUTIONS INC
EP_4438317_PA

Resumen de: US2025319718A1

According to examples, a substrate may be moved through a magnetic field, in which the substrate includes a fluid carrier containing magnetically-orientable flakes. The magnetic field may influence the magnetically-orientable flakes to be respectively oriented in one of multiple orientations. In addition, during movement of the substrate through the magnetic field, radiation may be applied onto a plurality of selected portions of the fluid carrier through at least one opening in a mask to cure the fluid carrier at the plurality of selected portions and fix the magnetically-orientable flakes in the plurality of selected portions at the respective angular orientations as influenced by the magnetic field.

Gaming chip and management system

NºPublicación:  AU2025234312A1 16/10/2025
Solicitante: 
ANGEL GROUP CO LTD
Angel Group Co., Ltd
AU_2025234312_A1

Resumen de: AU2025234312A1

A management system includes a recording device recording an image of a gaming chip and an inspection device determining a type and authenticity of the gaming chip. The gaming chip has a multilayer structure in which both sides of a colored layer are sandwiched between light color layers, surface printing representing a type of the gaming chip is performed on outer sides of the light color layers, and an authenticity recognition mark is printed on the colored layer of an inside of the light color layers by an infrared absorbing material. A visible light camera photographs a visible light image of the surface printing, and an infrared light camera photographs an infrared image of the internal printing. The inspection device determines the type and authenticity of the gaming chip using the visible light image and the infrared image. A management system includes a recording device recording an image of a gaming chip and an inspection device determining a type and authenticity of the gaming chip. The gaming chip has a multilayer structure in which both sides of a colored layer are sandwiched between light color layers, surface printing representing a type of the gaming chip is performed on outer sides of the light color layers, and an authenticity recognition mark is printed on the colored layer of an inside of the light color layers by an infrared absorbing material. A visible light camera photographs a visible light image of the surface printing, and an infrared light camera ph

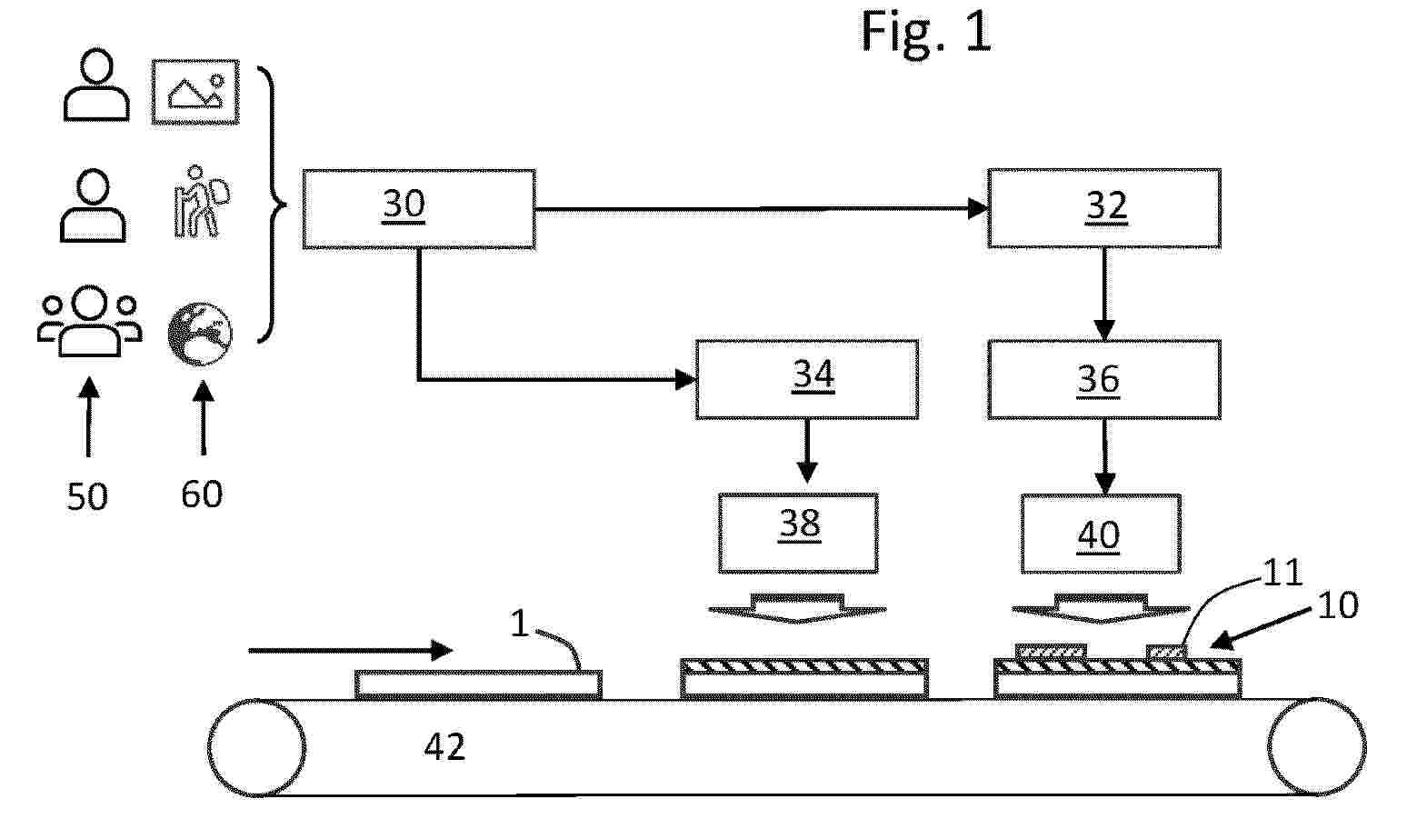
METHOD AND DEVICE FOR PRODUCING A PLASTIC DESIGN ELEMENT ON AN AUTHENTICATION DATA CARRIER

NºPublicación:  EP4631737A1 15/10/2025
Solicitante: 
GIESECKE & DEVRIENT EPAYMENTS GMBH [DE]
Giesecke+Devrient ePayments GmbH
EP_4631737_PA

Resumen de: EP4631737A1

Vorgeschlagen wird ein Verfahren zum Herstellen ein plastisches Designelement (11) enthaltenden Druckmusters (10) auf einen Authentisierungsdatenträger (1). Durch Nutzer (50) werden dazu individuelle Ausgangsbilder (60) bereitgestellt. Durch Zusammenführung mit Designvorgaben und Randbedingungen werden aus den individuellen Ausgangsbildern (60) Druckdaten erzeugt (100), die das Ausgangsbild (60) als flächiges Druckmuster wiedergeben (102). Das Ausgangsbild (60) wird in einem ersten Druckvorgang (106) als flächiges Druckmuster aufgebracht. An den Druckdaten wird ferner eine Kantendetektion durchgeführt, um in dem Ausgangsbild (60) dominierende Kanten (20) zu bestimmen, welche die Konturen des im Ausgangsbild (60) enthaltenen Motivs (19) wiedergeben (110). Basierend auf den dominierenden Kanten (20) wird eine 3D-Druckvorlage erstellt. Entsprechend der 3D-Druckvorlage wird in einem zweiten Druckvorgang ein dreidimensionales Druckmuster auf das flächige Druckmuster aufgebracht (114).

COMPOSICIONES DE RECUBRIMIENTO CURABLES POR RADIACIÓN UV-VIS QUE COMPRENDEN PARTÍCULAS DE PIGMENTO MAGNÉTICAS O MAGNETIZABLES Y MÉTODOS PARA PRODUCIR CAPAS DE EFECTO ÓPTICO

NºPublicación:  AR133600A1 15/10/2025
Solicitante: 
SICPA HOLDING SA [CH]
SICPA HOLDING SA
TW_202528492_A

Resumen de: TW202528492A

The invention relates of UV-Vis radiation curable coating compositions comprising magnetic or magnetizable pigment particles and methods for producing optical effect layers (OELs) comprising magnetically oriented magnetic or magnetizable pigment particles and the use of said OELs as anti-counterfeit means on security documents or security articles as well as decorative purposes. The UV- Vis radiation curable coating compositions comprises one or more (meth)acrylate monomers, one or more cyclic ether compounds, one or more vinyl ether compounds, one or more photoinitiators, one or more thermoplastic polymers and non-spherical magnetic or magnetisable pigment particles.

OPTICAL DEVICE

NºPublicación:  WO2025209793A1 09/10/2025
Solicitante: 
ROLIC TECH AG [CH]
ROLIC TECHNOLOGIES AG

Resumen de: WO2025209793A1

The present invention relates to an optical device comprising a first layer that comprises an alignment surface defining an alignment direction, wherein said alignment direction varies periodically in the azimuthal orientation, defining a grating pitch, in a grating direction within the first layer; and a second layer being arranged adjacent to the first layer so that an alignment interface is formed between the first and second layer, wherein, in a cross-section parallel to the first layer, said second layer includes a patterned area comprising sections of chiral nematic liquid crystals, and wherein an orientation direction of the chiral nematic liquid crystals just within the patterned area of the second layer at the alignment interface is set by the alignment direction defined by the alignment surface of the first layer. In addition, present invention relates to an optical arrangement comprising a first and second optical device. Moreover, present invention relates to a method for manufacturing an optical device and the use of such optical device.

OPTICALLY READABLE PHYSICAL UNCLONABLE FUNCTIONS

NºPublicación:  US2025313712A1 09/10/2025
Solicitante: 
QUANTUM BASE LTD [GB]
QUANTUM BASE LIMITED
US_2025313712_PA

Resumen de: US2025313712A1

(b) There is provided a method of making an optically readable PDF coating composition, the method comprising increasing the entropy of the coating composition by adding an optically readable material and optionally a solvent to at least two portions of the coating composition and then combining the portions of the coating composition.

METHOD AND DEVICE FOR PRODUCING A PLASTIC DESIGN ELEMENT ON AN AUTHENTICATION DATA CARRIER

NºPublicación:  US2025316023A1 09/10/2025
Solicitante: 
GIESECKE DEVRIENT EPAYMENTS GMBH [DE]
Giesecke+Devrient ePayments GmbH
US_2025316023_PA

Resumen de: US2025316023A1

A method is proposed for producing a printed pattern containing a plastic design element on an authentication data carrier. For this purpose, individual starting images are provided by users. Printing data, which reproduce the starting image as a planar printed pattern, are generated from the individual starting images by combination with design specifications and boundary conditions. The starting image is applied in a first printing process as a planar printed pattern. Furthermore, an edge detection is carried out on the printing data in order to determine dominating edges in the starting image, which reproduce the contours of the motif contained in the starting image. A 3D printing template is created based on the dominating edges. A three-dimensional printed pattern is applied to the planar printed pattern in accordance with the 3D printing template in a second printing process.

Sicherheitselement, Datenträger und Verfahren zur Herstellung des Datenträgers

NºPublicación:  DE102025112853A1 09/10/2025
Solicitante: 
POLSKA WYTWORNIA PAPIEROW WARTOSCIOWYCH S A [PL]
Polska Wytw\u00F3rnia Papier\u00F3w Warto\u015Bciowych S.A
DE_102025112853_PA

Resumen de: DE102025112853A1

Der Gegenstand der Erfindung ein Sicherheitselement (10, 100) ist, das mindestens eine innere personalisierten Kennzeichnung (15, 15a, 25, 25a) aufweist, die im VIS/Reflexionslicht unsichtbar und im Durchlicht sichtbar ist, das als eine Schicht zwischen zwei opaken und/oder transluzenten Schichten (12a, 12b, 120, 130) liegt, die auf einem Teil oder der gesamten Oberfläche dieser Schichten aufgebracht ist, wobei auf der anderen Seite der opaken und/oder transluzenten Schichten (12a, 12b, 120, 130) als die innere personalisierte Kennzeichnung (15, 15a, 25, 25a) aufgebracht ist, gibt es eine beliebige Anzahl von transparenten Schichten (11a-11f, 110a-110f), wobei optional zwischen den beiden opaken und/oder transluzenten Schichten (12a, 12b, 120, 130) mindestens eine zusätzliche transparente Schicht (13) enthalten ist. Die Erfindung bezieht sich auch auf einen Datenträger (1, 2), der ein Sicherheitselement (10, 100) enthält, und auf ein Verfahren zur Herstellung des Datenträgers (1, 2).

Security element, data carrier and method of making the data carrier

NºPublicación:  PL448189A1 06/10/2025
Solicitante: 
POLSKA WYTWORNIA PAPIEROW WARTOSCIOWYCH SPOLKA AKCYJNA [PL]
POLSKA WYTW\u00D3RNIA PAPIER\u00D3W WARTO\u015ACIOWYCH SP\u00D3\u0141KA AKCYJNA
PL_448189_A1

Resumen de: DE102025112853A1

Der Gegenstand der Erfindung ein Sicherheitselement (10, 100) ist, das mindestens eine innere personalisierten Kennzeichnung (15, 15a, 25, 25a) aufweist, die im VIS/Reflexionslicht unsichtbar und im Durchlicht sichtbar ist, das als eine Schicht zwischen zwei opaken und/oder transluzenten Schichten (12a, 12b, 120, 130) liegt, die auf einem Teil oder der gesamten Oberfläche dieser Schichten aufgebracht ist, wobei auf der anderen Seite der opaken und/oder transluzenten Schichten (12a, 12b, 120, 130) als die innere personalisierte Kennzeichnung (15, 15a, 25, 25a) aufgebracht ist, gibt es eine beliebige Anzahl von transparenten Schichten (11a-11f, 110a-110f), wobei optional zwischen den beiden opaken und/oder transluzenten Schichten (12a, 12b, 120, 130) mindestens eine zusätzliche transparente Schicht (13) enthalten ist. Die Erfindung bezieht sich auch auf einen Datenträger (1, 2), der ein Sicherheitselement (10, 100) enthält, und auf ein Verfahren zur Herstellung des Datenträgers (1, 2).

VALUE DOCUMENT WITH LUMINESCENCE FEATURE, VALUE DOCUMENT SYSTEM, PRODUCTION METHOD AND CHECKING METHOD

NºPublicación:  US2025303774A1 02/10/2025
Solicitante: 
GIESECKE DEVRIENT CURRENCY TECH GMBH [DE]
GIESECKE+DEVRIENT CURRENCY TECHNOLOGY GMBH
CN_119072399_PA

Resumen de: US2025303774A1

A flat document of value has a surface area having a longitudinal direction and a transverse direction and which is provided with a luminescence feature in the surface area. The luminescence feature includes a first luminescence marker in a first subarea and a second luminescence marker in a second, different subarea. The first and second luminescence markers are able to be excited to luminesce at the same wavelength and luminesce, after excitation, essentially in the same emission band in the infrared spectral range. The first and second luminescence markers have spectrally similar infrared emission spectra, namely infrared emission spectra that have a spectral difference between 0.5% and 15%. The first and second subarea are arranged so as to overlap one another in the surface area in projection onto the longitudinal direction and/or in projection onto the transverse direction.

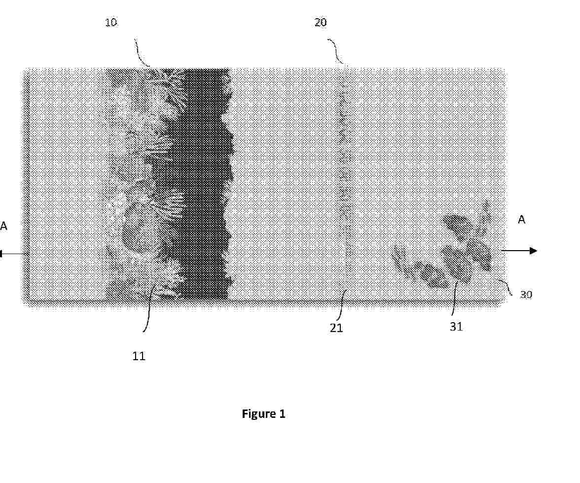
OVERT SECURITY FEATURES

NºPublicación:  US2025303775A1 02/10/2025
Solicitante: 
SICPA HOLDING SA [CH]
SICPA HOLDING SA
JP_2025508891_PA

Resumen de: US2025303775A1

The present invention relates to the field of methods for producing eye-catching overt security features exhibiting colorshifting properties as anti-counterfeit means on security documents or security articles as well as decorative purposes. In particular, the overt security feature exhibits comprises a) a substrate (×10), a color constant layer (×20) comprising magnetically oriented platelet-shaped magnetic or magnetizable pigment particles and an optically variable layer (×30) comprising a cholesteric liquid crystal polymer (CLCP) reflecting light in the visible spectrum range, wherein the platelet-shaped magnetic or magnetizable pigment particles of the color constant layer (×20) have substantially a same elevation angle α.

PRIVACY SCREEN PROTECTOR HAVING AN IMAGE AND A METHOD OF MAKING THEREOF

NºPublicación:  US2025310431A1 02/10/2025
Solicitante: 
SCREEN SKINZ INC [US]
Screen Skinz, Inc
US_2024414252_PA

Resumen de: US2025310431A1

The disclosure provides a screen protector that not only protects screens but also includes at least one image having levels of visibility according to different lighting conditions. Visibility of the image can also be based on a privacy filter. The privacy filter can be part of the screen protector. In one example, a privacy screen protector for a screen is disclosed that includes: (1) a substrate having an image, and (2) a privacy filter having a viewing angle that prevents viewing of content displayed on the screen that is not within the viewing angle and simultaneously allows viewing of the image at viewing angles that is not at or within the designated viewing angle, wherein viewing of the content is further based on activation of the screen.

DATA CARRIER AND METHOD OF PRODUCING IT

NºPublicación:  WO2025202167A1 02/10/2025
Solicitante: 
THALES DIS FRANCE SAS [FR]
THALES DIS FRANCE SAS
EP_4624185_PA

Resumen de: WO2025202167A1

A data carrier (1) for a secure article comprises a carrier body (2), and at least one security element (3) being provided on the carrier body (2). The security element (3) comprises at least one image (4) and at least one surface structure (5). The image (4) comprises at least one primary image (6) and at least one secondary image (7) being encoded in the primary image (6). The surface structure (5) comprises at least primary surface structure elements (8) and secondary surface structure elements (9). The image (4) is at least partially printed onto the primary surface structure elements (8). At least the secondary surface structure elements (9) are configured to decode the secondary image (7) when the data carrier (1) is viewed under different viewing angles (α) and/or illuminated under different illumination angles (β), whereby the secondary image (7) becomes observable.

COVERT MACHINE-READABLE MICRO-OPTIC FEATURE EMBEDDED IN LENS LAYER

NºPublicación:  MX2025010657A 01/10/2025
Solicitante: 
CRANE & CO INC [US]
CRANE & CO., INC
AU_2023437056_PA

Resumen de: MX2025010657A

Micro-optic devices including micro-optic devices which include an optical spacer (110) having a first side and a second side, an icon layer (120) comprising a plurality of image icons of a first color disposed on the first side of the optical spacer, and a focusing layer (105) comprising a plurality of refractive focusing elements (107) disposed on the second side of the optical spacer. The plurality of refractive focusing elements project a synthetically magnified image of the plurality of image icons, and image icons of the first color project a component of the synthetically magnified image that is of the first color. Additionally, the refractive focusing elements are doped with a machine readable taggant which emits a characteristic signal at a first frequency in the ultraviolet spectrum.

SYSTEM FOR TRACKING PRODUCTION WORKFLOW INFORMATION OF DIGITAL PHOTOPOLYMER PRINTING PLATES

NºPublicación:  EP4623340A1 01/10/2025
Solicitante: 
ESKO GRAPHICS IMAGING GMBH [DE]
Esko-Graphics Imaging GmbH
CN_120548506_PA

Resumen de: WO2024110904A1

A process for manufacture of a flexographic printing plate pursuant to a plurality of process steps, including at least an imaging step, a curing step, a washing or other non-cured-polymer-removal step, each step performed by a processing machine having at least one variable operating parameter. The process includes providing a smart plate tracking (SPT) code on each flexographic printing plate, storing in computer memory instructions readable by a computer processor information corresponding to the at least one variable operating parameter for each of the processing machines in association with the SPT code, and in response to receiving the SPT code as an input from a user or machine interface corresponding to one of the processing machines, the computer processor returning instructions corresponding to one of the processing machines.

DATA CARRIER AND METHOD OF PRODUCING IT

Nº publicación: EP4624185A1 01/10/2025

Solicitante:

THALES DIS FRANCE SAS [FR]
THALES DIS FRANCE SAS

EP_4624185_PA

Resumen de: EP4624185A1

A data carrier (1) for a secure article comprises a carrier body (2), and at least one security element (3) being provided on the carrier body (2). The security element (3) comprises at least one image (4) and at least one surface structure (5). The image (4) comprises at least one primary image (6) and at least one secondary image (7) being encoded in the primary image (6). The surface structure (5) comprises at least primary surface structure elements (8) and secondary surface structure elements (9). The image (4) is at least partially printed onto the primary surface structure elements (8). At least the secondary surface structure elements (9) are configured to decode the secondary image (7) when the data carrier (1) is viewed under different viewing angles (α) and/or illuminated under different illumination angles (β), whereby the secondary image (7) becomes observable.

traducir