Ministerio de Industria, Turismo y Comercio LogoMinisterior
 

Materiales y envases plásticos biodegradables

Resultados 88 resultados
LastUpdate Última actualización 25/11/2025 [07:01:00]
pdfxls
Solicitudes publicadas en los últimos 30 días / Applications published in the last 30 days (excluidas publicaciones Chinas / Chinese publications excluded)
Resultados 1 a 25 de 88 nextPage  

Biodegradable Composition for Nodules and Articles Thereof

NºPublicación:  AU2025203085A1 20/11/2025
Solicitante: 
BURGIS WAYNE
Burgis, Wayne
AU_2025203085_A1

Resumen de: AU2025203085A1

The present invention relates to a biodegradable composition for nodules comprising a biodegradable fiber, plasticizer and inorganic fine. The present invention alleviates at least some of the issues associated with present cleaning wipes. 5 The present invention relates to a biodegradable composition for nodules comprising a biodegradable fiber, plasticizer and inorganic fine. The present invention alleviates at least some of the issues associated with present cleaning 5 wipes. pr p r

BASE PAPER FOR VAPOR DEPOSITION PAPER, VAPOR DEPOSITION PAPER, PACKAGING BAG, LAMINATE, AND PAPER CONTAINER FOR LIQUID

NºPublicación:  US2025354334A1 20/11/2025
Solicitante: 
OJI HOLDINGS CORP [JP]
OJI Holdings Corporation
CN_119403678_A

Resumen de: US2025354334A1

A base paper for vapor deposition paper, the base paper including, on at least one surface of a paper substrate, a clay coat layer and a resin layer in this order on the paper substrate, in which the clay coat layer includes an inorganic pigment and a binder, the mass ratio (inorganic pigment/binder) of the inorganic pigment to the binder in the clay coat layer is from 25/75 to 75/25, and the coating amount in terms of solid content of the clay coat layer is 8 g/m2 or more and 20 g/m2 or less.

MULTILAYER NON-WOVEN FABRIC SUITABLE AS LID OF A CAPSULE FOR PREPARING A BEVERAGE

NºPublicación:  WO2025238139A1 20/11/2025
Solicitante: 
GLATFELTER GERNSBACH GMBH [DE]
GLATFELTER GERNSBACH GMBH
WO_2025238139_PA

Resumen de: WO2025238139A1

The present invention relates to a non-woven fabric (10) suitable as a lid of a capsule for preparing a beverage, in particular coffee or tea, the non-woven fabric (10) comprising a tear enhancement layer (20), an oxygen barrier layer (24), a retention filter layer (30), wherein the oxygen barrier layer (24) is arranged between the tear enhancement layer (20) and the retention filter layer (30), the non-woven fabric (10) further comprising at least one of a first adhesion layer (22), a second adhesion layer (26) and a water vapor barrier layer (28), wherein the first adhesion layer (22) is arranged between the tear enhancement layer (20) and the oxygen barrier layer (24), wherein the second adhesion layer (26) is arranged between the oxygen barrier layer (24) and the retention filter layer (30), wherein the water vapor barrier layer (28) is arranged between the oxygen barrier layer (24) and the retention filter layer (30). The present invention further relates to a lid for or of a capsule for preparing a beverage as well as to a capsule for preparing a beverage.

TOTALLY BIODEGRADABLE COMPOSITE MATERIAL BASED ON A THERMOPLASTIC MATRIX AND NATURAL PLANT FIBRES, METHOD OF MANUFACTURING THEREOF AND MEDICAL DEVICES MADE OF SAID COMPOSITE MATERIAL

NºPublicación:  WO2025238472A1 20/11/2025
Solicitante: 
STERILSYS S R L [IT]
STERILSYS S.R.L
WO_2025238472_PA

Resumen de: WO2025238472A1

Composite material based on stacked alternate layers of: - a matrix based on a polymer of natural origin derived from renewable sources in the form of thin films; said matrix can be PolyLactic Acid (PLA) or Polybutylene Succinate (PBS); - natural plant fibres, preferably flax, hemp, jute. In a first embodiment, such natural plant fibres are in the form of a fabric provided with a warp and weft perpendicular to each other. In a second embodiment, such natural plant fibres are in the form of unidirectional windings of tapes obtained through filament winding technique. The present invention further comprises two methods for the preparation of the first and of the second embodiments, respectively. The composite materials according to the present invention can be used to produce medical devices intended for supporting patients.

POLYVINYLALKOHOLHARZ, WASSERLÖSLICHE FOLIE, EXTRUSIONSGEFORMTER GEGENSTAND, FILAMENT, VLIESSTOFF, BEHÄLTER, VERFAHREN ZUR HERSTELLUNG EINER WASSERLÖSLICHEN FOLIE UND WÄSSRIGE LÖSUNG

NºPublicación:  DE112024000388T5 20/11/2025
Solicitante: 
KURARAY CO [JP]
KURARAY CO., LTD
CN_120641448_A

Resumen de: DE112024000388T5

Bereitgestellt werden ein Polyvinylalkoholharz, das den Erhalt einer wasserlöslichen Folie mit günstiger Kaltwasserlöslichkeit und mechanischer Festigkeit ermöglicht, eine günstige Bioabbaubarkeit aufweist und eine überlegene Filtrierbarkeit im Zustand einer wässrigen Lösung aufweist; eine wasserlösliche Folie, ein extrudiertes Produkt, ein Filament, ein Vliesstoff und ein Behälter, die jeweils ein derartiges Polyvinylalkoholharz enthalten; ein Verfahren zur Herstellung einer wasserlöslichen Folie und eine wässrige Lösung. Das Polyvinylalkoholharz enthält als Hauptkomponente einen modifizierten Polyvinylalkohol mit einer N-Vinylamid-Einheit, wobei das Verhältnis (N1/N2) der Zahl (N1) von 1 µm großen Teilchen zur Zahl (N2) von 2 µm großen Teilchen in 1 ml einer 2 massen-%igen wässrigen Lösung des Polyvinylalkoholharzes 0,1 oder mehr und 50 oder weniger beträgt.

CELLULOSE COMPOSITION, CELLULOSE MOLDED BODY, AND METHOD FOR PRODUCING CELLULOSE COMPOSITION

NºPublicación:  US2025353998A1 20/11/2025
Solicitante: 
SHIN ETSU CHEMICAL CO LTD [JP]
SHIN-ETSU CHEMICAL CO., LTD
US_2021309836_A1

Resumen de: US2025353998A1

Disclosed is a cellulose composition including: (A) a water-soluble cellulose ether, (B) water-insoluble cellulose particles and (C) water. The cellulose composition may serve as a novel biomass material which uses biodegradable cellulose that places little burden on the environment, and exhibits excellent shape retention properties. The cellulose composition may include (A) 100 parts by weight of the water-soluble cellulose ether, (B) 30 to 150 parts by weight of the water-insoluble cellulose particles, and (C) 300 to 1,000 parts by weight of water.

HIGH BARRIER COMPOSTABLE PRODUCTS USING PROTEIN FILLERS IN BIOPLASTICS AND METHODS OF MAKING THOSE

NºPublicación:  US2025353980A1 20/11/2025
Solicitante: 
UNIV OF GUELPH [CA]
University of Guelph

Resumen de: US2025353980A1

A gas barrier substrate comprising a biodegradable composite, the biodegradable composite comprising a polymeric matrix and a sustainable filler comprising protein. Also articles of manufacture comprising the gas barrier substrate and methods of limiting gas permeation using the gas barrier substrate.

ENVIRONMENTALLY FRIENDLY SCREW

NºPublicación:  EP4650141A1 19/11/2025
Solicitante: 
HSU YU CHENG [TW]
Hsu, Yu-Cheng
EP_4650141_A1

Resumen de: EP4650141A1

An environmentally friendly screw S is provided. The environmentally friendly screw includes a head portion 10 and a threaded portion 20 integrally connected. The head portion 10 and the threaded portion 20 are made from biodegradable materials by an injection molding device. The environmentally friendly screw S is provided with a parting line L located at a longitudinal section in an axial direction of the environmentally friendly screw S. The environmentally friendly screw S has advantages of biodegradability or biocompostability, light weight, low cost, and no conductivity.

MULTILAYER NON-WOVEN FABRIC SUITABLE AS LID OF A CAPSULE FOR PREPARING A BEVERAGE

NºPublicación:  EP4650164A1 19/11/2025
Solicitante: 
GLATFELTER GERNSBACH GMBH [DE]
Glatfelter Gernsbach GmbH
EP_4650164_PA

Resumen de: EP4650164A1

The present invention relates to a non-woven fabric (10) suitable as a lid of a capsule for preparing a beverage, in particular coffee or tea, the non-woven fabric (10) comprising a tear enhancement layer (20), an oxygen barrier layer (24), a retention filter layer (30), wherein the oxygen barrier layer (24) is arranged between the tear enhancement layer (20) and the retention filter layer (30), the non-woven fabric (10) further comprising at least one of a first adhesion layer (22), a second adhesion layer (26) and a water vapor barrier layer (28), wherein the first adhesion layer (22) is arranged between the tear enhancement layer (20) and the oxygen barrier layer (24), wherein the second adhesion layer (26) is arranged between the oxygen barrier layer (24) and the retention filter layer (30), wherein the water vapor barrier layer (28) is arranged between the oxygen barrier layer (24) and the retention filter layer (30). The present invention further relates to a lid for or of a capsule for preparing a beverage as well as to a capsule for preparing a beverage.

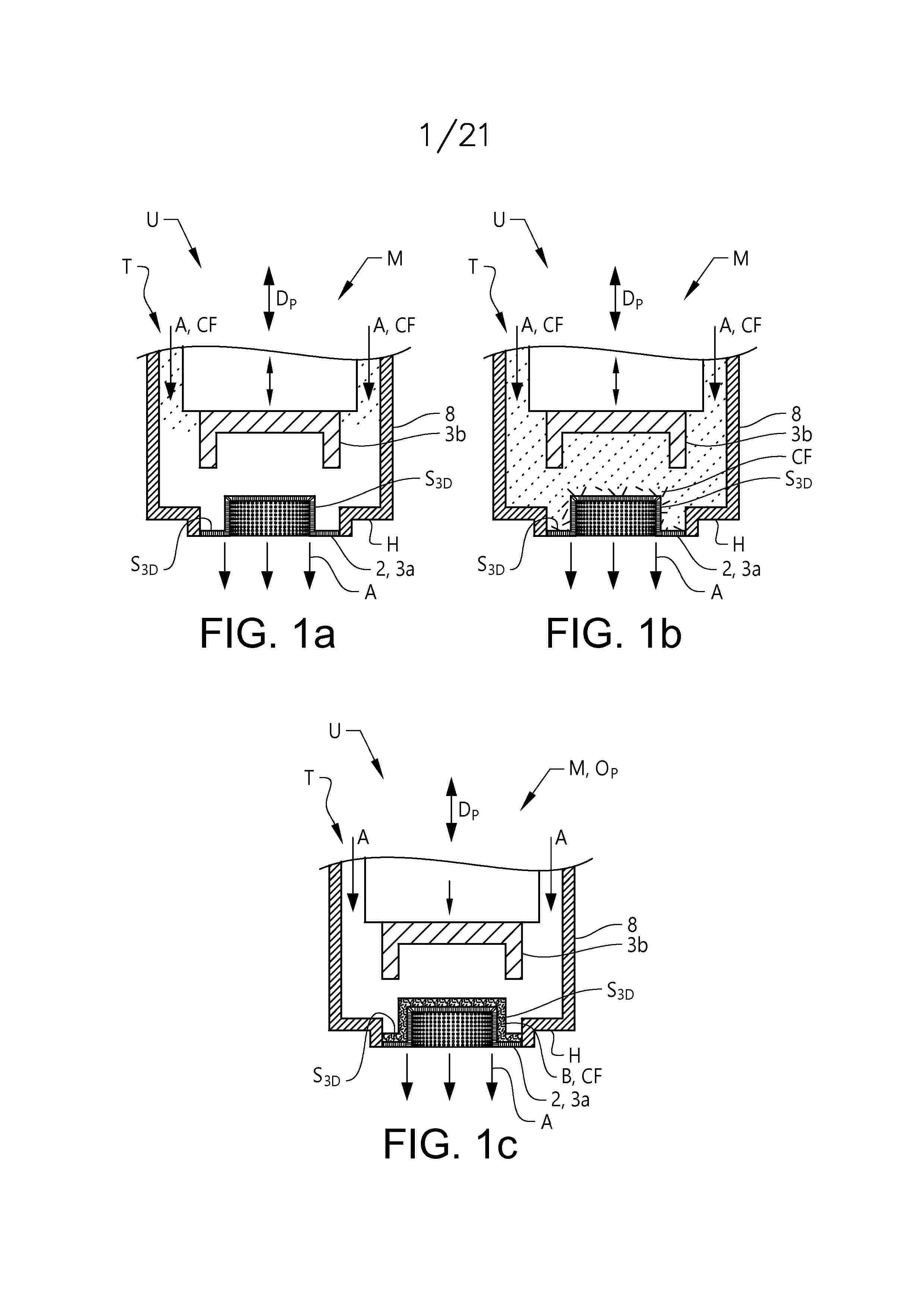
A BEVERAGE CAPSULE COMPRISING A BARRIER LINER ATTACHED TO A PULP BODY

NºPublicación:  PL4416073T3 17/11/2025
Solicitante: 
SOC DES PRODUITS NESTLE S A [CH]
Soci\u00E9t\u00E9 des Produits Nestl\u00E9 S.A.
PL_4416073_T3

Resumen de: EP4620861A2

The present invention is directed to a capsule (1) for beverage preparation, comprising a cup-shaped body (2) of moulded cellulose pulp and a closing membrane (5) attached to a peripheral rim (4) of said body (2). The capsule further comprises a multilayer polymeric liner (3) attached to the inner surface of the cellulose pulp body (2), said liner comprising:(i) an outermost polymeric layer (7),(ii) a first tie layer (8),(iii) a barrier layer (9),(iv) a second tie layer (10),(v) an innermost polymeric layer (11),In which liner,- the thickness of the outermost layer (7) and the thickness of the innermost layer (11) are comprised between 10 and 100 pm and are preferably identical;- the elongation at break of the outermost layer (7) is higher than the elongation at break of the innermost layer (11);- The melt flow rate (MFR) of the outermost layer (7) measured at 150°C during 10 minutes with a pressure of 2.16 kg, is lower than the melt flow rate (MFR) of the innermost layer (11), measured at 190°C during 10 minutes with a pressure of 2.16 kg;- The melting point temperature of the outermost layer (7) is lower than the melting point temperature of the innermost layer (11),and in which, the outermost layer serves as an adhesive to the cellulose pulp of the capsule body.

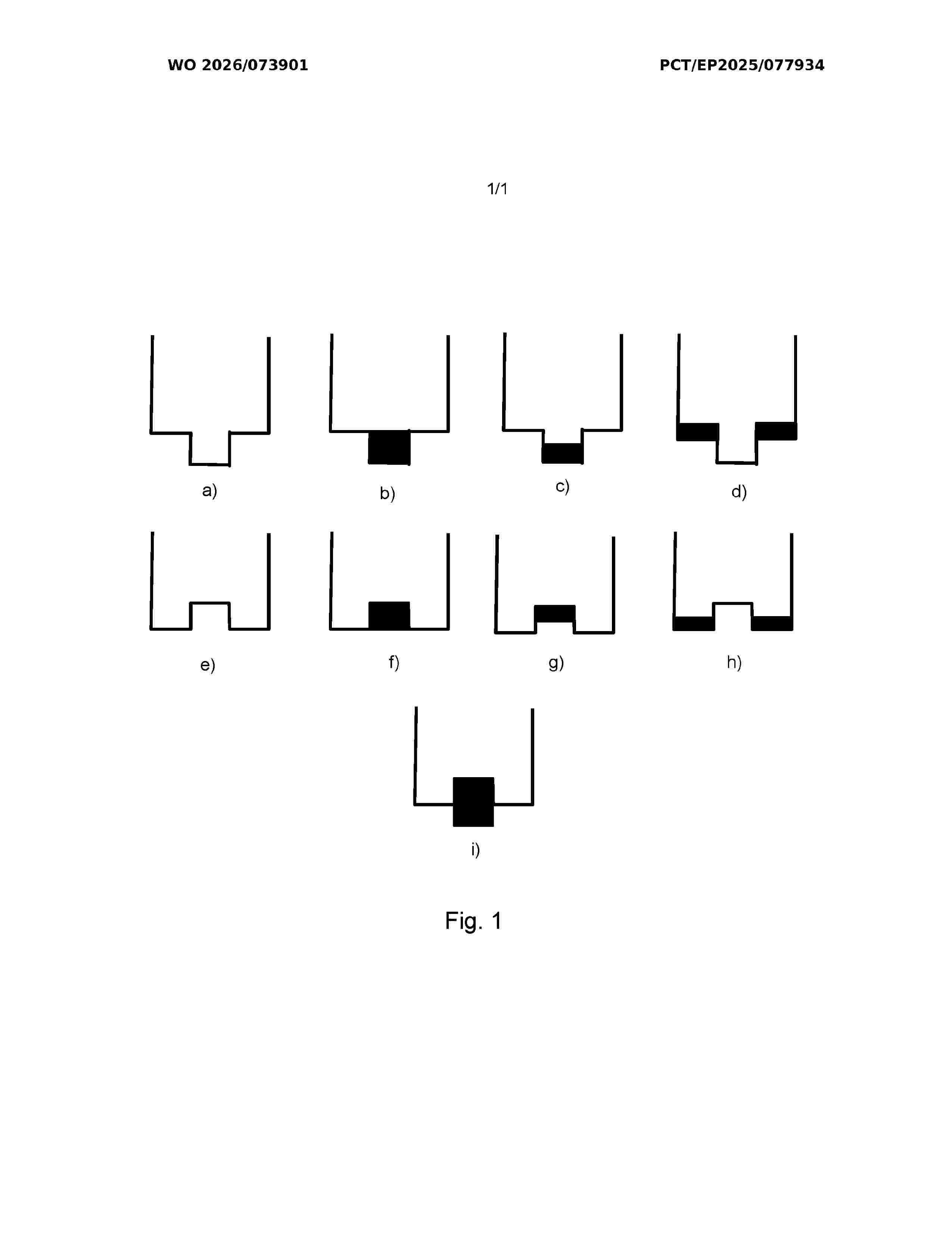
POUCH FORMING MOLD CONFIGURATION, METHOD AND POUCH

NºPublicación:  ES3041837T3 14/11/2025
Solicitante: 
MESPACK CLOUD LLC
MESPACK CLOUD, LLC
ES_2948923_T3

Resumen de: EP4219126A2

A mold configuration for forming a pocket in a film comprising: a film support surface; a perimeter edge at said film support surface; wall surfaces inward of the perimeter edge defining a mold cavity; the wall surfaces including transition wall surfaces extending to a bottom wall surface; and a plateau surface inward of the perimeter edge. In one form, the perimeter edge includes sharp corner profile perimeter edge portions defining at least one sharp corner profile. A method of forming a pouch, includes using the disclosed mold configuration. A resultant pouch has a perimeter seal seam having at least one sharp corner profile.

HEPARIN AND MIXTURES OF NATIVE PROTEINS AND PEPTIDES FROM WASTE TISSUE OF SLAUGHTERED ANIMALS

NºPublicación:  ES3041746T3 14/11/2025
Solicitante: 
HORIZON IP S L
Horizon IP, S.L
JP_2025509347_A

Resumen de: US2025101140A1

A method for obtaining heparin, proteins and peptides in native state, and other compounds of interest, by fractionation of mammalian intestine mucosa. Particular new fractions or extracts of the mucosa with the indicated compounds are also contemplated.

バイオマス材料含有シート

NºPublicación:  JP2025170064A 14/11/2025
Solicitante: 
株式会社コバヤシ
JP_2025170064_A

Resumen de: JP2023005438A

To provide a biomass material-containing sheet which enables in-line molding at low temperature while using a biomass material-containing sheet.SOLUTION: Provided is a biomass material-containing sheet formed of a biomass material and a resin composition containing a thermoplastic resin, wherein the thermoplastic resin is a random copolymer, and the biomass-containing sheet is used for in-line molding. Also provided is a biomass material-containing sheet formed of a biomass material and a resin composition containing a thermoplastic resin, wherein the thermoplastic resin is a random copolymer, and a content ratio of the biomass material is 50 mass% or more. A deflection temperature can be 65°C or higher and 80°C or lower. The biomass material can be starch. The thermoplastic resin can be a polyolefin-based resin. The polyolefin-based resin can be a polypropylene resin.SELECTED DRAWING: None

STARCH SLURRIES, SYSTEMS AND METHODS OF MAKING STARCH SLURRIES, AND SYSTEMS AND METHODS OF MAKING INSULATED PRODUCTS USING STARCH SLURRIES

NºPublicación:  US2025346742A1 13/11/2025
Solicitante: 
TEMPERPACK TECH INC [US]
TemperPack Technologies, Inc

Resumen de: US2025346742A1

A starch slurry includes a starch in an amount of between approximately 25 to 98 weight percent, a plasticizer in an amount of between approximately 3 to 30 weight percent, and water in an amount of between approximately 5 to 60 weight percent. The starch slurry can have a bulk density of between approximately 10 to 100 pounds per cubic foot. The starch slurry can be used for generating insulation products or printing a starch foam.

PELLETS, SYSTEMS AND METHODS OF MAKING PELLETS, AND SYSTEMS AND METHODS OF MAKING INSULATED PRODUCTS USING PELLETS

NºPublicación:  US2025346743A1 13/11/2025
Solicitante: 
TEMPERPACK TECH INC [US]
TemperPack Technologies, Inc

Resumen de: US2025346743A1

A pellet includes a starch in an amount of between approximately 55 to 98 weight percent, a plasticizer in an amount of between approximately 2 to 25 weight percent, water in an amount of between approximately 1 to 40 weight percent, and one or more agents in an amount between approximately 1 to 10 weight percent. The pellet may have a density of between approximately 20 to 65 pounds per cubic foot.

PRINTED MATERIAL, METHOD FOR PRODUCING PRINTED MATERIAL AND PRINTING MEDIUM FOR LASER PRINTING

NºPublicación:  US2025346056A1 13/11/2025
Solicitante: 
OJI HOLDINGS CORP [JP]
Oji Holdings Corporation
EP_4512611_A2

Resumen de: US2025346056A1

An object of the present invention is to provide a print product which has a printed region where printing with ultraviolet laser is applied and which is excellent in viewability, a method for producing a print product by irradiation with ultraviolet laser, and a printing medium for laser printing, for use in the print product and the method for producing a print product. The print product of the present invention has a printed region comprising discolored titanium oxide in at least one portion of a sheet medium selected from the group consisting of paper or a film having a printable region comprising titanium oxide; titanium oxide is filled in the sheet medium; a titanium oxide content in the printable region in the sheet medium is 1.0% by mass or more, pulp constituting the paper has a length-weighted average fiber length and an average fiber width in specified ranges, and the paper has a basis weight of 20 g/m2 or more, when the sheet medium is the paper; a titanium oxide content in the printable region in the sheet medium is 0.3% by mass or more, the film has a thickness of 15 μm or more, and a resin constituting the film comprises a specified resin, when the sheet medium is the film; and a ratio between a Raman intensity assigned to titanium oxide in the printed region and a Raman intensity assigned to titanium oxide in a non-printed region is 0.70 or less.

MATERIAL, A NEW AND IMPROVED LAYERED OR LAMINATED MATERIAL, FORMWORK AND OR CONSTRUCTION ELEMENT

NºPublicación:  US2025346026A1 13/11/2025
Solicitante: 
PLASTIC FREE PACKAGING PTY LTD [AU]
PLASTIC FREE PACKAGING PTY LTD
US_2022126553_A1

Resumen de: US2025346026A1

The invention relates to a method of making a paper product 10, 10.01 to 10.14, wherein the method includes the step of adding natural reinforcing material (31, 31.1, 51, 51.1, 61, 61.1, 71, 71.1) to one of: a) a layer of pulp as it exits or after it exits from a layer formation process or apparatus; or b) a tank 20, 20.1, 20.2 of pulp prior to it exiting from a layer formation process or apparatus; or c) a combination of a) and b). Additionally, the invention relates to paper products made by this process. The present invention also provides a multi-layered material 2.10, 2.10″, 2.10.1, 2.100 to 2.1600, and 100 to 1900, and a layer treatment of a layer or layers of a multilayered material, and a multilayered material which has had such a layer or layers treated by such a layer treatment.

PACKAGING FOR RAPIDLY INFUSING COMPOSITION

NºPublicación:  US2025345269A1 13/11/2025
Solicitante: 
ORCOSA INC
Orcosa Inc
US_2024000809_A1

Resumen de: US2025345269A1

A container for a lyophilized rapidly infusing composition is described. The container comprises a planar lidding layer attached to a well layer comprising pockets for the therapeutic product. The lidding layer may comprise an aluminum layer, a thermoplastic polymer layer, and a labeling layer. The well layer may comprise an aluminum layer, two polyamide layers, and two thermoplastic polymer layers. A drug product assembly is also disclosed, which includes at least one therapeutic product sealed within the at least one pocket of the container.

METHOD OF PRODUCING MICROWAVE-PROCESSED STARCH OR FLOUR

NºPublicación:  WO2025233122A1 13/11/2025
Solicitante: 
ROQUETTE FRERES [FR]
ROQUETTE FRERES
WO_2025233122_A1

Resumen de: WO2025233122A1

The invention is relative to a method for producing a microwave-processed starch or flour comprising the steps consisting of soaking a native starch or flour in an aqueous buffer solution, drying the starch or flour to a moisture content of less than about 2% (wt.%), and heating the dried starch or flour using microwaves at a temperature below 100°C, preferably between 60°C and 90 °C.

METHOD OF PRODUCING MICROWAVE-PROCESSED STARCH OR FLOUR

NºPublicación:  EP4646933A1 12/11/2025
Solicitante: 
ROQUETTE FRERES [FR]
ROQUETTE FRERES
EP_4646933_A1

Resumen de: EP4646933A1

The invention is relative to a method for producing a microwave-processed starch or flour comprising the steps consisting of soaking a native starch or flour in an aqueous buffer solution, drying the starch or flour to a moisture content of less than about 2% (wt.%), and heating the dried starch or flour using microwaves at a temperature below 100°C, preferably between 60°C and 90 °C.

可食性素材からなる容器

NºPublicación:  JP2025169118A 12/11/2025
Solicitante: 
清水正一
JP_2025169118_PA

Resumen de: JP2025169118A

【課題】 可食性素材を笹舟状に成型し、食材ごと食すことができる可食性素材からなる容器を提供する。【解決手段】 略長方形上の本体両端に、略三角形状の折り返し片をそれぞれ設け、本体と折り返し片が接する左右の谷折り部をまたぐように設けた2本のスリットを、それぞれ設けたことを特徴とする可食性素材からなる容器。【選択図】図1

BAG FOR LIQUID AND POWDER MATERIALS WITH SOLUBLE SURFACE SECTION, METHOD AND USE THEREWITH AND USE OF A SOLUBLE SURFACE SECTION

NºPublicación:  PL3601081T3 12/11/2025
Solicitante: 
SIKA TECH AG [CH]
Sika Technology AG
PL_3601081_T3

Resumen de: US2020095040A1

The present invention relates to a sack for liquid or pulverulent materials having an areal section (F) composed of a water-soluble polymer, wherein dissolution of the water-soluble polymer gives rise to an opening through which the sack can be emptied, to a sack according to the invention that contains a liquid or pulverulent material, to a method for the emptying thereof and the production thereof, and also to the use of the sack for the packing of liquid or pulverulent materials and to the use of an areal section (F) composed of a water-soluble polymer as part of a sack for liquid or pulverulent materials for the reduction of the release of unpleasant odors and/or harmful substances into the air, especially for the reduction of the release of alveoli-reaching dusts.

METHODS FOR BIOBASED DERIVATIZATION OF CELLULOSIC SURFACES

NºPublicación:  PL3507418T3 12/11/2025
Solicitante: 
HS MFG GROUP LLC [US]
HS Manufacturing Group LLC
PL_3507418_T3

Resumen de: NZ751817A

The present invention describes tunable methods of treating cellulosic materials with a composition that provides increased hydrophobicity and/or lipophobicity to such materials without sacrificing the biodegradability thereof. The methods as disclosed provide for binding of saccharide fatty acid esters on cellulosic materials, including that the disclosure provides products made by such methods. The materials thus treated display higher hydrophobicity, lipophobicity, barrier function, and mechanical properties, and may be used in any application where such features are desired.

HYBRID PALLET

NºPublicación:  ES3041287T3 11/11/2025
Solicitante: 
CHEP TECH PTY LIMITED
CHEP Technology Pty Limited
MX_2021010678_A

Resumen de: MX2021010678A

A pallet includes a plastic top deck and a bamboo bottom deck. The bamboo bottom deck includes bamboo boards made from bamboo strips layered together. Support blocks are coupled between the bamboo bottom deck and the plastic top deck, with a gap being formed therebetween for receiving a lifting member.

METHOD FOR DISCRIMINATING POLYVINYL ALCOHOL RESIN FILM

Nº publicación: ES3041257T3 11/11/2025

Solicitante:

KURARAY CO LTD
Kuraray Co., Ltd

CN_119912771_A

Resumen de: CN119912771A

A polyvinyl alcohol resin film, a method for discriminating a polyvinyl alcohol resin film, and a method for producing a polyvinyl alcohol resin film. Provided are: a PVA film which does not increase the amount of carbon dioxide present in the global environment even when carbon dioxide is generated by a biodegradation treatment or an incineration treatment; and a method for easily and reliably discriminating a manufacturer of the PVA film. The polyvinyl alcohol resin film contains a polyvinyl alcohol resin (A), and the abundance ratio 14C/C of C14 in the total carbon constituting the polyvinyl alcohol resin (A) is 1.0 * 10-14 or more. A method for discriminating a polyvinyl alcohol resin film, which discriminates a polyvinyl alcohol resin film containing a polyvinyl alcohol resin (Ab) in which all or part of carbon is derived from ethylene (Bb) derived from a organism, and a polyvinyl alcohol resin film containing a polyvinyl alcohol resin (Ap) only derived from ethylene (Bp) derived from a fossil fuel, by measuring the abundance ratio 14C/C of C14 in the total carbon, and a method for discriminating a polyvinyl alcohol resin film containing a polyvinyl alcohol resin (Ab) containing only a polyvinyl alcohol resin (Ap) only derived from ethylene (Bp) derived from a fossil fuel.

traducir