Ministerio de Industria, Turismo y Comercio LogoMinisterior
 

Lógica difusa

Resultados 61 resultados
LastUpdate Última actualización 04/03/2026 [07:39:00]
pdfxls
Solicitudes publicadas en los últimos 30 días / Applications published in the last 30 days
Resultados 1 a 25 de 61 nextPage  

用于精简一个或多个诊断分析仪中样本测试的方法和装置

NºPublicación:  CN121605483A 03/03/2026
Solicitante: 
美国西门子医学诊断股份有限公司
CN_121605483_PA

Resumen de: WO2025015164A1

An efficient load plan generating method for one or more diagnostic analyzers. The method involves collecting work order data for work orders on samples of a customer by the one or more diagnostic analyzers over a selected timeframe, separating the work order data into primary and secondary tests, and applying sequence mining to the separated work order data to find a probability of ordering secondary test(s) if a primary test(s) had been ordered. One or more secondary tests can be selected based on the probability and a load plan for the one or more analyzers can be generated by a work load planner based on the selected secondary test(s). The load plan, test menus, and inventories can include tests currently ordered and secondary test(s) anticipated to be ordered based on the probability that the selected secondary test(s) will be ordered in the future. Numerous other embodiments are provided.

煤柱坝体稳定性评价方法、电子设备、存储介质及计算机程序产品

NºPublicación:  CN121598571A 03/03/2026
Solicitante: 
国家能源投资集团有限责任公司北京低碳清洁能源研究院
CN_121598571_PA

Resumen de: CN121598571A

本发明公开煤柱坝体稳定性评价方法、电子设备、存储介质及计算机程序产品。方法包括:获取通过专家评分法建立的煤柱坝体的模糊关系评价矩阵,计算模糊关系评价矩阵的隶属度函数矩阵,模糊关系评价矩阵包括每项评价指标的每项稳定性类别的评价分数;计算每项评价指标的综合权数,基于综合权数对隶属度矩阵进行加权计算以获得加权矩阵;根据加权矩阵设置理想点,计算稳定性类别与理想点的贴近度,根据贴近度判断煤柱坝体稳定性。本发明综合考虑了多种因素的影响,评价结果的真实性与可靠性较高。本发明对煤柱坝体稳定性进行有效准确地评价,实现了复杂问题简单化,具有良好的实用性,为煤柱坝体加固支护设计等提供了一定的依据和参考。

一种基于虚拟现实的智能交互步行适应性训练方法

NºPublicación:  CN121588429A 03/03/2026
Solicitante: 
福建中医药大学附属康复医院(福建省康复医院)
CN_121588429_PA

Resumen de: CN121588429A

本发明公开了一种基于虚拟现实的智能交互步行适应性训练方法,基于虚拟现实生成单元和智能跑台,包括:通过所述虚拟现实生成单元构建与智能跑台运动实时同步的虚拟训练场景,所述虚拟训练场景包含可触发事件;采集使用者在智能跑台上行走时的步态参数,基于所述步态参数对使用者进行实时功能评估,得到实时功能评估等级;当检测到虚拟训练场景中的可触发事件被激活时,依据所述实时功能评估等级生成坡度扰动控制指令,所述坡度扰动控制指令与可触发事件关联的地面扰动类型匹配;通过低延迟通信接口将所述坡度扰动控制指令发送至智能跑台,驱动智能跑台执行对应的坡度突变动作,以模拟地面扰动实现抗扰动平衡训练。

电网设备投资综合效益评估与优化方法、系统及介质

NºPublicación:  CN121599546A 03/03/2026
Solicitante: 
国网河南省电力公司经济技术研究院
CN_121599546_PA

Resumen de: CN121599546A

本发明提供了一种电网设备投资综合效益评估与优化方法、系统及介质,属于电网效益评估优化技术领域。本发明通过构建多维度指标体系,覆盖功能、经济和环境多维度,保证评估指标的全面性,同时通过构建功能贡献度量化模型、投资与收益分摊模型、功能与成本耦合效益模型和区域与设备协同优化模型,建立设备运行特性与投资成本之间的耦合模型,并引入区域和设备协同优化机制,实现电网设备投资效益的量化评价、动态对比与优化配置,继而在提升电网设备投资综合效益评估的全面性和稳定性的同时,实现对决策需求的优化。

一种基于多源数据融合及多维度评估管理方法及系统

NºPublicación:  CN121580204A 27/02/2026
Solicitante: 
江苏华瞻信息科技有限公司
CN_121580204_PA

Resumen de: CN121580204A

本申请实施例涉及一种基于多源数据融合及多维度评估管理方法及系统,属于电子数据处理和信息管理、监督的技术领域,方法步骤包括:构建多维度评估体系,采集并预处理多源原始数据,基于关联规则重组为待分析数据实体,对实体进行特征提取,结合历史时序数据计算出第一上下文指标,基于趋势预测数据计算出第二上下文指标,将基础特征值与上下文指标交叉组合生成增强型特征序列,对增强型特征序列进行非线性关系建模与权重分析,利用预设评估规则集对维度评分进行加权聚合与等级映射,输出多维度评估报告。本方法实现了评估结果的全面性、趋势预见性与决策可读性,解决了评估失真、缺乏前瞻性和决策依赖主观等问题。

一种基于模糊理论的智轨驾驶能力评估方法

NºPublicación:  CN121581683A 27/02/2026
Solicitante: 
宜宾西南交通大学研究院
CN_121581683_PA

Resumen de: CN121581683A

本发明涉及智轨驾驶能力评估技术领域,公开了一种基于模糊理论的智轨驾驶能力评估方法,包括获取智轨驾驶人员的智轨驾驶数据和智轨驾驶能力评估数据;从智轨驾驶数据和智轨驾驶能力评估数据中获取智轨驾驶能力评估指标信息,确定递阶式层次智轨驾驶能力评估指标得分;采用层次分析法建立递阶式层次智轨驾驶能力评估指标的判断矩阵,计算递阶式层次智轨驾驶能力评估指标的权重值;根据递阶式层次智轨驾驶能力评估指标得分和对应的权重值,采用模糊综合评价法计算智轨驾驶能力评估得分。本发明能够更加全面、准确地评估智轨驾驶员的智轨驾驶能力。

工程机械行业绿色工厂评价方法及系统

NºPublicación:  CN121581708A 27/02/2026
Solicitante: 
江苏徐工工程机械研究院有限公司
CN_121581708_PA

Resumen de: CN121581708A

本发明公开了工程机械行业绿色工厂评价方法及系统,包括获取预先制定的绿色工厂评价指标体系;计算各二级指标相对于目标层的主观权重;引入蒙特卡洛模拟算法,计算出各次蒙特卡洛模拟所对应的各二级指标相对于目标层的客观权重和评价矩阵;基于最小相对信息熵原理和拉格朗日乘数法,结合各二级指标相对于目标层的主观权重、客观权重,计算各次蒙特卡洛模拟所对应各二级指标相对于目标层的综合权重;基于各二级指标相对于目标层的综合权重和评价矩阵,构建各次蒙特卡洛模拟所对应模糊综合评判矩阵;基于各次蒙特卡洛模拟所对应模糊综合评判矩阵,以及预设的每个评语等级相应的分数区间,获得绿色工厂等级评价结果。本发明能够显著提升绿色工厂评价的精准性与客观性。

一种压缩空气储能库泄露风险评估方法及系统

NºPublicación:  CN121581638A 27/02/2026
Solicitante: 
国华(诸城)风力发电有限公司
CN_121581638_PA

Resumen de: CN121581638A

本发明涉及压缩空气储能与地下工程风险控制技术领域,公开了一种压缩空气储能库泄露风险评估方法及系统,用以解决现有评估方法未涵盖勘察资料、权重确定科学性不足、无法精准识别地质源性泄露风险等问题。所述方法包括:1)采集勘察资料及结构、运行、环境、历史泄露数据;2)构建含勘察、结构、运行、环境、历史五级一级指标及对应二级指标的风险指标体系;3)采用专家打分+层次分析融合确定指标权重;4)通过模糊综合评价法判定泄露风险等级;5)依据等级生成预警及管控建议。所述系统含数据采集、指标体系构建、权重确定、风险评估、预警建议生成模块,实现一体化评估。本发明提升评估全面性与精准度,适用于地下储能库安全管控。

一种配电柜微环境智能监测方法及系统

NºPublicación:  CN121577084A 27/02/2026
Solicitante: 
国网北京市电力公司国家电网有限公司
CN_121577084_PA

Resumen de: CN121577084A

本发明公开了一种配电柜微环境智能监测方法及系统,通过部署在配电柜内的多个传感器,实时采集配电柜微环境的多参数数据,多参数数据至少包括温度、湿度、电压和电流;将多参数数据通过物联网网络传输至处理平台;在处理平台,对多参数数据进行数据融合处理,得到综合环境参数;基于综合环境参数,使用模糊逻辑算法进行环境状态评估,输出安全等级;基于综合环境参数的时间序列数据,使用时间序列预测模型进行故障预测,输出参数变化趋势;基于综合环境参数、安全等级和参数变化趋势中的至少一个,进行异常检测,并在检测到异常时发出报警信号。本发明的目的在于实现对配电柜微环境的实时精准监测,及时预警各类潜在风险,避免因微环境问题导致的端子排锈蚀、二次线接触不良、短路、闪电击穿、开关信号误报、一次开关误动等情况发生,提高供电可靠性,保障电网安全。

用于随机基板的机器学习模型训练方法

NºPublicación:  CN121586907A 27/02/2026
Solicitante: 
因纳特拉纳米系统有限公司
CN_121586907_PA

Resumen de: TW202507569A

The present invention relates to a method for training signal processing pipeline for deployment to a programmable fabric of a target device. The method comprises obtaining a model and characterization data of the components of the target device, obtaining programmable parameter values of the signal processing pipeline. Next, a plurality of target devices is simulated. The simulated target devices are based on the characterization data, such that the simulated target devices represent digital twins and/or the stochastic variability of the plurality of target devices. Optimization methods are used to compute updates of the programmable parameter values of the programmable parameters for each of the simulated target devices independently, after which the programmable parameter value updates are reduced to a single update of the programmable parameter values of the signal processing pipeline.

ウェブサイト構築システム内でのネットワークトランザクションファシリテーターサポートのためのシステムおよび方法

NºPublicación:  JP2026506618A 25/02/2026
Solicitante: 
ウィックス.コムリミテッド.
JP_2026506618_PA

Resumen de: AU2024216672A1

Embodiments provide for supporting multiple network transaction facilitators (NTFs) within a website building system. A first network transaction facilitator connection request is received. Based at least in part on the first network transaction facilitator (NTF) connection request, a first NTF of a plurality of NTFs is integrated with a network transaction interface of the website. Responsive to receiving a network transaction request via the network transaction interface, the network transaction request is routed to the first NTF or a different NTF based at least in part on a network transaction profile associated with the website identifier.

METHOD AND ELECTRONIC DEVICE FOR ASSISTING IN THE PILOTING OF AN AIRCRAFT VIA THE MONITORING OF AT LEAST ONE OPERATIONAL CRITERION, AND ASSOCIATED COMPUTER PROGRAM AND AIRCRAFT

NºPublicación:  EP4698418A1 25/02/2026
Solicitante: 
THALES SA [FR]
THALES
WO_2024218118_A1

Resumen de: WO2024218118A1

The invention relates to a method for assisting in the piloting of an aircraft via the monitoring of at least one operational criterion of a mission, the method being implemented by an electronic device and comprising, for each operational criterion: - determining (100) a value of each characteristic quantity of a set of characteristic quantities that is associated with the operational criterion, the set being specific and predefined for each operational criterion, each characteristic quantity being determined on the basis of at least one avionics variable; - estimating (110) a value of the operational criterion on the basis of each determined value of a characteristic quantity that is associated with the criterion and via the implementation of an artificial intelligence algorithm; - calculating (120) a difference between the estimated value and a desired value of the operational criterion, and a characteristic quantity, referred to as a causal quantity, which is the main cause of the difference; - if the calculated difference is greater than a predefined threshold, performing (130) at least one action from among displaying, on a display system, the estimated value of the operational criterion, the calculated difference and an indication of the causal quantity; issuing an alert according to the calculated difference; and generating a control instruction for an avionics system according to the estimated value of the operational criterion.

一种多类型储能系统涉网性能评价方法、系统、设备及介质

NºPublicación:  CN121563050A 24/02/2026
Solicitante: 
云南电网有限责任公司
CN_121563050_PA

Resumen de: CN121563050A

本发明涉及性能评估技术领域,公开一种多类型储能系统涉网性能评价方法、系统、设备及介质,包括:根据多类型储能系统接入电网评估需求确定一级指标和二级指标,并构建多类型储能系统涉网性能评价指标体系;通过结合第一评价算法、第二评价算法、第三评价算法对一级指标的权重和二级指标的权重进行分析;基于多类型储能系统涉网性能评价指标体系的指标值及对应的指标权重综合计算储能系统总体涉网性能,实现总体评估。本发明能够在构建多类型储能系统涉网性能评价指标框架体系的基础上利用主客观相结合评价方法全面地量化评估多类型储能系统涉网性能,具有较高准确性。

一种互补式终身学习的自适应质量预测系统及方法

NºPublicación:  CN121562673A 24/02/2026
Solicitante: 
中国计量大学
CN_121562673_PA

Resumen de: CN121562673A

本发明涉及工业过程质量预测技术领域,公开了一种互补式终身学习的自适应质量预测系统及方法。该系统包括海马体通路、新皮层通路、互补式终身学习机制、半监督增强策略和在线推理更新模块,其中海马体通路采用分层模糊规则系统逐样本快速更新以应对概念漂移,新皮层通路采用半监督质量相关堆叠自编码器分块更新并引入拓扑保护防止遗忘,两者通过互补式终身学习机制实现双向知识交互。半监督增强策略利用伪标签提升低标签环境下的预测性能,在线推理模块实现预测与持续优化。本发明在标签稀缺与分布漂移条件下兼顾短期适应与长期稳定,具备较高预测精度和可解释性,适用于半导体、锂电池、显示面板及精密光学等制造过程的质量预测与控制。

一种基于电力数据综合评估集成的能源转型指数量化方法

NºPublicación:  CN121563277A 24/02/2026
Solicitante: 
国网内蒙古东部电力有限公司华北电力大学
CN_121563277_PA

Resumen de: CN121563277A

本发明公开一种基于电力数据综合评估集成的能源转型指数量化方法,该方法主要用于能源转型评估领域,如能源政策制定、能源投资决策以及能源技术发展方向等方面。其步骤包括:构建指标体系、CRITIC‑BWM求取权重和模糊综合评价。S1:构建指标体系时,从能源供应结构、电力清洁化、政策支撑和经济效益四个维度出发,细化出可再生能源占比、传统能源占比、能源自给率等十二个二级指标;S2:CRITIC‑BWM求取权重则分为CRITIC法计算客观权重和BWM法计算主观权重,最后进行权重综合;S3:模糊综合评价包括模糊集合构建和模糊综合评价模型两个步骤,通过计算指标隶属度、构建模糊关系矩阵,将最终权重向量与模糊关系矩阵结合,确定能源转型指数的最终评价等级并分析各指标影响。

电网工程建设成效多维协同评价方法

NºPublicación:  CN121563314A 24/02/2026
Solicitante: 
国网山西省电力有限公司经济技术研究院华北电力大学
CN_121563314_PA

Resumen de: CN121563314A

本发明公开了一种电网工程建设成效多维协同评价方法,包括:构建电网工程建设综合成效的多维度评价指标体系,多维度评价指标体系包括多个一级指标,每个一级指标分别包含对应的多个二级指标,多个一级指标包括运行水平维度指标、技术水平维度指标、经济效益维度指标以及社会环境效益维度指标;利用DEMATEL方法确定各个一级指标之间的关联关系;利用ANP方法基于各个一级指标之间的关联关系确定各个二级指标的权重;利用基于Vague集的综合评价方法,基于多维度评价指标体系以及各个二级指标的权重来对电网工程综合成效进行评价,得到综合成效评价结果。基于此,能够更全面、合理、准确地评估电网工程建设的整体成效。

一种基于多属性模糊决策算法的异性纤维含量多指标评价方法

NºPublicación:  CN121562844A 24/02/2026
Solicitante: 
天津科技大学
CN_121562844_PA

Resumen de: CN121562844A

本发明涉及棉花中异性纤维含量评定和多属性群决策方法的相关领域,公开了一种基于多属性模糊决策算法的异性纤维含量多指标评价方法,旨在解决国标中异性纤维含量评价指标单一问题,综合考量多类属性指标,在考虑权重未知和保证评价函数唯一解前提下,建立异性纤维含量多属性指标评价方法。本发明包括:决策方法对比模块将现有多种模糊决策算法对比以获取适用算法,确定决策算法主体;数据获取模块从输入端获取多属性指标的异性纤维含量数据;数据预处理模块考虑数据误差生成决策矩阵,并进行规范化处理;权重确定模块计算异性纤维决策集和属性集的权重分布;决策机制模块将模糊决策环境结合适用功能算子构建聚合算子;聚合计算模块根据聚合算子和权重信息进行异性纤维多属性指标含量聚合计算;评价优化模块根据增广矩阵对评价函数优化;分析对比模块实现决策结果敏感度分析及决策方案对比。

一种混凝土坝安全仪器监测数据与人工巡视检查数据相融合的方法

NºPublicación:  CN121561763A 24/02/2026
Solicitante: 
中国长江电力股份有限公司
CN_121561763_PA

Resumen de: CN121561763A

本发明提供了一种混凝土坝安全仪器监测数据与人工巡视检查数据相融合的方法,属于水利水电工程领域。针对水电站大坝运行安全评估中仪器监测与人工巡视检查数据分离、关联性不足的问题,本发明通过构建大坝安全仪器监测与巡视检查融合知识图谱,实现监测和巡检项目的高效组织定位,解决监测数据与巡检缺陷的关联定位难题;在此基础上,通过建立考虑空间和逻辑关联性的模糊综合评价方法来计算获得大坝监测数据和巡视检查空间融合评判指标权重,实现了基于知识图谱和模糊综合评价的混凝土坝监测与巡检空间融合。该发明能有效整合监测数据与巡视结果,提升了安全分析的准确性,为全面评估大坝运行状态提供技术支持。

一种识别极端洪枯事件的方法、装置、介质和设备

NºPublicación:  CN121561552A 24/02/2026
Solicitante: 
中国科学院武汉植物园长江水资源保护科学研究所
CN_121561552_PA

Resumen de: CN121561552A

本发明公开了一种识别极端洪枯事件的方法、装置、介质和设备,该方法包括:在获取目标流域各站点日水文序列后,提取年水文序列,对每个站点年水文序列进行突变点识别,确定各站点对应显著突变点;根据显著突变点确定基准年和变化年,将基准年的每日水位均值作为变化年的每日水位基准;根据每日水位基准和各个基准年中对应的同日水位计算标准差,根据每日水位基准和标准差的不同倍数划分出多个阈值区间;根据当前洪枯期中每日水位和对应阈值区间进行风险等级评估,在每日水位对应目标风险等级时确定潜在洪枯事件;根据潜在洪枯事件起始日期和持续天数,判定当前洪枯期是否发生极端洪枯事件。本发明提供的方案,能够更精准地识别极端洪枯事件。

一种优化pH与磷含量提高农田土壤有机碳的管理方法

NºPublicación:  CN121565319A 24/02/2026
Solicitante: 
中国农业科学院农业环境与可持续发展研究所
CN_121565319_PA

Resumen de: CN121565319A

本发明公开了一种优化pH与磷含量提高农田土壤有机碳的管理方法,涉及农田精准管理技术领域,包括:在目标农田区域部署涵盖pH、磷含量及温湿度多维传感节点的多参数智能传感器网络,并通过果蝇算法优化传感节点的布局;利用部署的多参数智能传感器网络持续采集土壤pH、速效磷含量、温湿度的多维传感数据。本发明引入基于强化学习的有机碳流失风险模型,能够从历史与实时数据中自主学习和建立土壤化学状态与有机碳流失风险之间的复杂非线性映射关系,且具备在线推理能力,可对实时传入的多维传感数据进行即时的流失风险等级评估,并基于多源校验逻辑触发预警,实现对有机碳流失风险的早期、准确识别和预警。

METHODS AND SYSTEMS FOR NEURAL NETWORK OPTIMIZATION

NºPublicación:  WO2026039827A1 19/02/2026
Solicitante: 
THE UNIV OF CHICAGO [US]
THE UNIVERSITY OF CHICAGO
WO_2026039827_PA

Resumen de: WO2026039827A1

Methods and systems for optimizing neural networks, and in certain embodiments optimizing neural networks for low power edge devices/ sensors and providing fault tolerance for neural network execution. Certain disclosed neural networks can change width during inference, such as using one width for one layer, and using a different width for a later layer and such networks may be trained such that the accuracy at any width/depth combination is equivalent to a standard network (that cannot change) of the same width and depth.

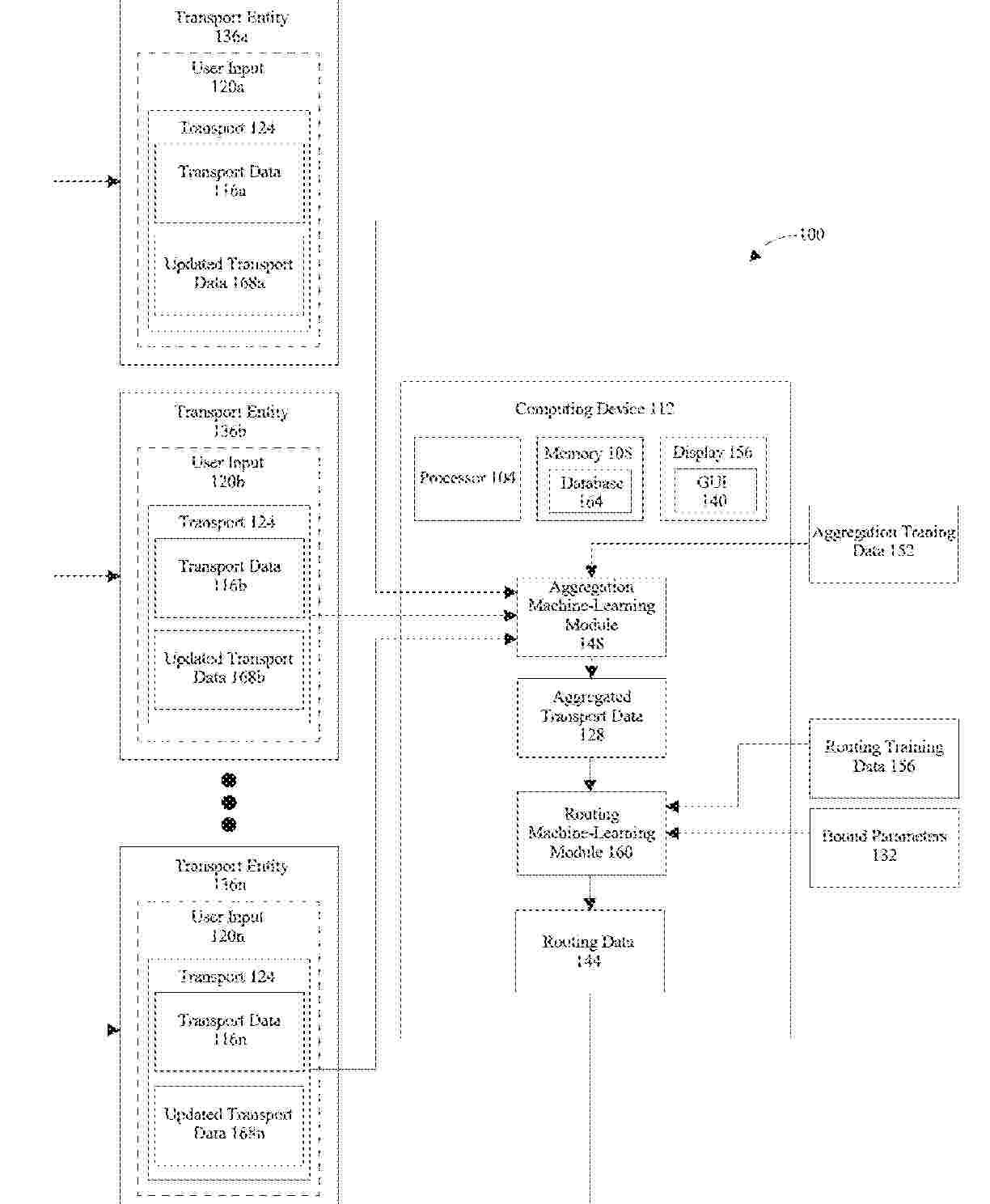
APPARATUS AND METHOD OF TRANSPORT DATA AGGREGATION

NºPublicación:  US20260049833A1 19/02/2026
Solicitante: 
HAMMEL COMPANIES INC [US]
Hammel Companies, Inc
US_20260049833_PA

Resumen de: US20260049833A1

An apparatus and method for transport management is presented. The apparatus includes a memory communicatively connected to a processor to output routing data of transport entities as a function of aggregated transport data, wherein the outputting comprises: receive transport data and bound parameters of a transport from a carrier device; iteratively train an aggregation machine-learning model to combine the transport data, wherein the training comprises generating an aggregation training data correlating the transport data as inputs and aggregated transport data as outputs; modify a characteristic of the transport; update the aggregated transport data based on the modification of the characteristic of the transport; retrain the aggregation machine-learning model as a function of the updated aggregated transport data; generate the routing data, wherein the routing data comprises instructions to further modify the characteristic of the transport; and automatically change the characteristic of the transport based on the routing data.

リスク評価に基づく都市排水貯留調節施設運転の段階的な意思決定解析方法

NºPublicación:  JP2026505807A 18/02/2026
Solicitante: 
長江生態環保集団有限公司
JP_2026505807_PA

Resumen de: WO2025145610A1

An urban drainage, regulation and storage facility operation step-by-step decision analysis method based on risk assessment. When information of each decision standard preference for urban drainage, regulation and storage facility operation is completely missing or is unclear, a method combining game theory with feasible weight space is used to aggregate urban drainage, regulation and storage facility operation weights; stochastic multi-criteria decision analysis algorithm and fuzzy optimization models are used to construct a stochastic multi-criteria decision analysis-fuzzy optimization model for the urban drainage, regulation and storage facility operation; an urban drainage, regulation and storage facility operation decision risk assessment model is constructed to quantitatively assess the risk of urban drainage, regulation and storage facility operation decision errors; and multi-stage multi-criteria decision analysis is used to determine step by step information of the weight of each standard of the urban drainage, regulation and storage facility operation, thereby achieving an optimal decision for the urban drainage, regulation and storage facility operation.

一种城市复合环境健康风险的评估与干预方法及系统

NºPublicación:  CN121543880A 17/02/2026
Solicitante: 
山东建筑大学
CN_121543880_PA

Resumen de: CN121543880A

本发明涉及城市智能管控技术领域,提出了一种城市复合环境健康风险的评估与干预方法及系统,包括:获取城市区域地理空间数据和地面观测数据;构建协同环境胁迫指数,计算SESI预测值;将城市区域网格化构建图结构,利用GNN算法进行特征学习并预测节点SESI值,生成协同胁迫地图;构建综合脆弱性评估模型,计算脆弱性指数,识别高脆弱区域;融合模糊综合评价与TOPSIS方法,对高脆弱区域干预措施排序,生成干预方案。本发明融合非线性交互建模与高分辨率图神经网络实现复合环境健康风险的精准识别,并通过多准则决策模型优化干预策略,从而实现城市干预方案的科学调控与动态优化。

航天器离轨控制的评估方法及其装置、电子设备

Nº publicación: CN121543752A 17/02/2026

Solicitante:

北京航天飞行控制中心

CN_121543752_PA

Resumen de: CN121543752A

本发明公开了一种航天器离轨控制的评估方法及其装置、电子设备,涉及航天器飞行控制技术领域,包括:构造预设评估体系中预设层级中的各指标因素的重要性模糊判断矩阵,采用不同专家策略对最后一个评估层级中各指标因素在每个安全性等级上的隶属程度进行确定,以根据得到的每个专家策略的隶属程度矩阵,确定倒数第二个评估层级中的每个指标因素的评判矩阵,基于重要性模糊判断矩阵,确定预设层级中各指标因素的权重向量,基于每个专家策略下各指标因素的评判矩阵以及预设层级中各指标因素的权重向量,确定评判结果,以目标航天器在离轨控制时的目标安全性等级。本发明解决了相关技术中对航天器离轨控制进行安全性评估的准确性较低的技术问题。

traducir