Ministerio de Industria, Turismo y Comercio LogoMinisterior
 

Energía geotérmica

Resultados 71 resultados
LastUpdate Última actualización 26/12/2025 [07:29:00]
pdfxls
Solicitudes publicadas en los últimos 30 días / Applications published in the last 30 days
Resultados 1 a 25 de 71 nextPage  

REINFORCED CONCRETE PILE, PILE ASSEMBLY, METHOD OF JOINING THE PILES' HEAT TRANSFER PIPES TO EACH OTHER, AND METHOD OF FABRICATING A REINFORCED CONCRETE PILE

NºPublicación:  EP4665911A1 24/12/2025
Solicitante: 
LEINO JORMA [FI]
Leino, Jorma
FI_20235163_A1

Resumen de: WO2024170827A1

A reinforced concrete pile (1, 1') comprises a heat transfer pipe (2, 3) and at least one of the pile's (1, 1') ends constitutes a splicing end by which the pile (1, 1') is connectible to another pile (1, 1') for obtaining a pile assembly and, at the splicing end, the heat transfer pipe (2, 3) is adapted to be joined with the other pile's (1, 1') respective heat transfer pipe (2, 3). The pile's (1, 1') splicing end is provided with a positioner sleeve (14), which surrounds the heat transfer pipe's (2, 3) end in such a way that between the heat transfer pipe (2, 3) and the positioner sleeve (14) develops an annular space (6) for receiving a sealing sleeve (11), which is made at least partially from a plastically deformable material and extends outward from the pile's splicing end, and the positioner sleeve's (14) end, which is located further away from the pile's (1, 1') splic ing end, is designed to have its inner diameter decreasing towards the discussed end in such a way that, in the process of connecting two piles (1, 1') to each other and hammering the upper pile (1') towards the lower pile (1), the sealing sleeve (11), disposed in the annular space (6) has its end, within the positioner sleeve's (14) decreasing inner diameter zone, deforming plastically, sealing against the heat transfer pipe's (2, 3) external surface.

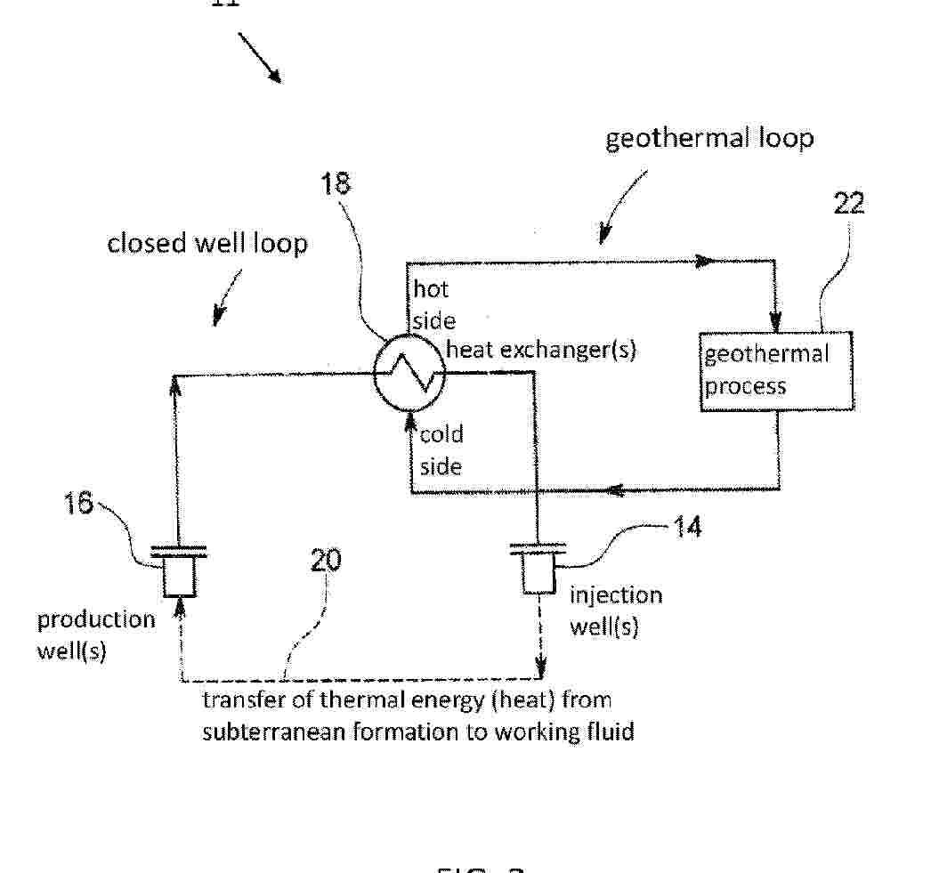
CLOSED WELL LOOP FOR GEOTHERMAL SYSTEMS

NºPublicación:  EP4665949A1 24/12/2025
Solicitante: 
SERVICES PETROLIERS SCHLUMBERGER [FR]
SCHLUMBERGER TECHNOLOGY BV [NL]
Services P\u00E9troliers Schlumberger,
Schlumberger Technology B.V
WO_2024192189_PA

Resumen de: WO2024192189A1

A closed well loop is provided for a geothermal system. The closed well loop includes at least one well having at least one lateral section the traverses a subterranean formation. Fluid flow in the at least one lateral section extracts thermal energy from the subterranean formation. The fluid flow in the at least one lateral section is driven by convection where hotter fluid convects upward along the top part of the lateral section and colder fluid convects downward along the bottom part of the lateral section.

孔隙型砂岩热储地热井控砂抽水系统

NºPublicación:  CN121184410A 23/12/2025
Solicitante: 
北京泰利新能源科技发展有限公司
CN_121184410_PA

Resumen de: CN121184410A

本发明涉及地热资源开发技术领域,尤其涉及一种孔隙型砂岩热储地热井控砂抽水系统,本发明提供的孔隙型砂岩热储地热井控砂抽水系统,包括:地热井,适用于孔隙型砂岩热储层;抽水装置,包括设置在地热井内的水泵和连接于水泵输入端的吸水管,吸水管的底部封闭,吸水管的管壁设置有透水孔;过滤组件,套设于吸水管的外周侧,过滤组件沿吸水管的延伸方向设置,并覆盖透水孔,本发明提供的孔隙型砂岩热储地热井控砂抽水系统能够在井内实现对砂粒的有效拦截,可有效解决孔隙型砂岩热储开发中的出砂问题。

一种地热流体在地热井筒流动过程中总热损失的计算方法

NºPublicación:  CN121184958A 23/12/2025
Solicitante: 
天津大学天津地热勘查开发设计院
CN_121184958_PA

Resumen de: CN121184958A

本发明公开了一种地热流体在地热井筒流动过程中总热损失的计算方法,本方法同时考虑相变传热和污垢热阻对地热流体总热损失的影响。结果表明:总热损失随着地热井筒深度的变浅而逐渐增加,一旦地热流体发生闪蒸,则总热损失迅速增加。此外,根据能量守恒方程可知:地热流体总热损失主要分为三部分,分别由比焓、动能和势能引起。由计算结果能够推断:比焓是引起总热损失的主要原因,其变化趋势与总热损失基本保持一致。该计算结果主要用于揭示引起地热流体总热损失的主要因素,并通过改进井筒结构以及地热开采方式等措施减少地热流体总热损失,最终提升地热能的整体利用效率。

一种利用石墨烯封堵微纳米裂缝以优化油气开采的方法

NºPublicación:  CN121184082A 23/12/2025
Solicitante: 
西南石油大学
CN_121184082_PA

Resumen de: CN121184082A

本发明涉及油气田开发技术领域,尤其涉及一种利用石墨烯封堵微纳米裂缝以优化油气开采的方法。其技术方案包括以下步骤:地质评估与通道建立,确定目标油藏邻近的高温地热层,并建立连接所述地热层与所述油藏的裂缝通道;裂缝选择性封堵,制备石墨烯基封堵材料,并将其注入所述裂缝通道,对部分裂缝进行选择性封堵,以形成热绝缘层,减少热能损失;地热循环与驱油,通过注入井向所述地热层注入流体。本发明将地热开发与油气开采创新性地深度融合,通过石墨烯封堵技术与系统性的井网设计,构建了高效、经济、环保的提高采收率方法,不仅提升了油气产量和热能利用效率,在节能降耗的同时实现碳封存。

一种地下高温熔盐热储系统及建造运行方法

NºPublicación:  CN121163286A 19/12/2025
Solicitante: 
中国电力工程顾问集团西北电力设计院有限公司
CN_121163286_PA

Resumen de: CN121163286A

本发明涉及热储能技术领域,具体涉及一种地下高温熔盐热储系统及建造运行方法。系统包括地下储罐单元、热管理单元、结构单元以及防渗单元,地下储罐单元用于容纳高温熔盐,且地下储罐单元设于地下基坑内,热管理单元包覆于地下储罐单元的外侧,结构单元包括沿内至外方向依次于热管理单元外侧布置的内层耐热结构层和外层结构层,防渗单元包括设置于地下储罐单元内部的内衬涂层,以及沿内至外方向依次于外层结构层外侧布置的土工膜层与回填防渗层。本发明的集成化结构能够突破传统钢罐的尺寸与材料限制,实现单罐容量显著提升,减少对多罐并联的依赖,降低系统复杂性与建造成本,同时保障长期运行的安全与环保性。

钻探多侧向闭环地热井

NºPublicación:  CN121175476A 19/12/2025
Solicitante: 
埃沃尔技术股份有限公司
CN_121175476_PA

Resumen de: WO2024218548A1

A method performed on a wellbore system with a first surface wellbore extending from a terranean surface to a subterranean zone, a second surface wellbore extending from the terranean surface to the subterranean zone and a plurality of connecting wellbores in the subterranean zone each connecting the first and second surface wellbores. A lateral wellbore is drilled using a drill string extending through the first surface wellbore. While drilling, flow of drilling fluid from the drill string is sealed against returning towards the first surface wellbore through the connecting wellbores.

FLUID HEATING

NºPublicación:  US2025383127A1 18/12/2025
Solicitante: 
POLYFLOW LLC [US]
Polyflow LLC

Resumen de: US2025383127A1

A method and apparatus for providing a working fluid having a desired temperature at a predetermined location are disclosed. The apparatus comprises a downhole casing disposed in a pre-drilled borehole; and at least a portion of at least one flexible pipe comprising flexible pipe body, disposed in the casing, wherein a working fluid is moveable in a first direction in an annular region, between the casing and the flexible pipe body and a bore region of the flexible pipe body, and in a further direction opposite to the first direction via the bore region.

Anlage zur Bereitstellung von Wärme und Verfahren zur Errichtung einer derartigen Anlage

NºPublicación:  DE102024116902A1 18/12/2025
Solicitante: 
NESSLER RENE [DE]
Nessler, Ren\u00E9

Resumen de: DE102024116902A1

Beschrieben werden eine Anlage und ein Verfahren zur zur Bereitstellung von Wärme zum Heizen, zur Erzeugung elektrischer Energie und/oder zur Nutzung als Prozesswärme mit einer in einen Untergrund (1) eingebrachten Erdwärmesonde (2), die sich zumindest teilweise innerhalb einer verfüllten Bohrung und/oder eines verfüllten Grabens (5) befindet, zumindest abschnittsweise gegenüber einer Horizontalen und einer Vertikalen geneigt ist und in der wenigstens ein erster und ein zweiter Strömungskanal (3a, 3b) angeordnet sind, durch die mittels einer Pumpe (4) ein Wärmeträgermedium förderbar ist, wobei der erste und der zweite Strömungskanal (3a, 3b) innerhalb der Bohrung oder des Grabens (5) strömungstechnisch derart miteinander verbunden sind, dass das Wärmeträgermedium mittels der Pumpe (4) von einem Einlass des ersten Strömungskanals (3a) in Richtung eines unteren Endes des Erdwärmesonde (2) bis zu einem Umkehrpunkt (6) und von dem Umkehrpunkt (6) aus in Richtung eines oberen Anfangs der Erdwärmesonde (2) bis zu einem Auslass des zweiten Strömungskanals (3b) förderbar ist, und mit einem Wärmeübertrager (7), der strömungstechnisch mit dem Einlass des ersten Strömungskanals (3a) und dem Auslass des zweiten Strömungskanals (3b) verbunden ist.Die beschriebene technische Lösung zeichnet sich dadurch aus, dass die Erdwärmesonde (2) zumindest abschnittsweise beabstandet zu einem Grund, Bett oder Sohle (9) eines Gewässers (8) unterhalb des Gewässers (8) verläu

SYSTEM AND METHOD FOR GENERATING HYDROGEN USING GEOTHERMAL ENERGY

NºPublicación:  WO2025259900A1 18/12/2025
Solicitante: 
SYNTHOLENE ENERGY CORP [US]
SYNTHOLENE ENERGY CORP
WO_2025259900_A1

Resumen de: WO2025259900A1

A system and method for generating hydrogen using thermal energy in a geothermal fluid are disclosed. An electrical power generation subsystem is configured to receive geothermal fluid from a geothermal fluid source and use thermal energy in the geothermal fluid to generate electrical power. A steam generation subsystem is configured to receive water and produce steam using thermal energy in the geothermal fluid and the electrical power generated by the electrical power generation subsystem. A hydrogen generation subsystem is configured to disassociate hydrogen from the steam using the electrical power generated by the electrical power generation subsystem.

HEAT EXCHANGER FOR A HEATING NETWORK

NºPublicación:  WO2025256904A1 18/12/2025
Solicitante: 
GRAF FRANZ [DE]
GRAF, Franz
WO_2025256904_A1

Resumen de: WO2025256904A1

The invention proposes a heat exchanger (20) for a heating network, in particular a cold local heating network or district heating network, comprising at least one heat transfer surface for transferring heat of a network fluid of the heating network to a building heating fluid of a building heating system of a building (7), in particular a dwelling, wherein at least one feed port (5) for the building heating fluid and at least one return port (5) for the building heating fluid are provided, said heat exchanger being improved in relation to the prior art, in particular the complexity being reduced and/or the energy efficiency and the economic efficiency being increased and/or new functionalities being realized. This is achieved according to the invention in that the heat exchanger (20) is in the form of a geothermal heat exchanger (20), wherein the geothermal heat exchanger (20) comprises at least one ground contact surface for the ground and wherein the geothermal heat exchanger (20) comprises at least one heating network receptacle (21) for receiving a heating network line (1), in particular a heating network tube (1), of the heating network, wherein the heating network receptacle (21) comprises at least the heat transfer surface.

GEOTHERMAL SYSTEMS AND METHODS USING ENERGY FROM UNDERGROUND MAGMA RESERVOIRS

NºPublicación:  EP4662444A1 17/12/2025
Solicitante: 
ENHANCEDGEO HOLDINGS LLC [US]
EnhancedGEO Holdings, LLC
CR_20250332_A

Resumen de: MX2025009333A

The aspects of the invention include a geothermal system obtains heated heat transfer fluid via heat transfer with an underground reservoir of magma, a wellbore extending between a surface and into the underground reservoir of magma, and a partially cased wellbore having a first borehole portion extending from a surface into an underground magma reservoir. A chamber is located within the borehole and extends at least partially into the underground reservoir of magma. An inlet conduit allows flow of heat transfer fluid from the surface and into the chamber. An outlet conduit allows.flow of heated heat transfer fluid from the chamber toward the surface. The system includes steps of providing a molten salt down a wellbore extending from a surface and into an underground reservoir of magma, receiving heated molten salt from the wellbore, and providing the heated molten salt to a heat-driven process.

耦合地热储能的ORC发电与梯级供热系统及控制方法

NºPublicación:  CN121140055A 16/12/2025
Solicitante: 
中国地质大学(武汉)中国地质大学(武汉)内蒙古研究院
CN_121140055_PA

Resumen de: CN121140055A

本发明公开了一种耦合地热储能的ORC发电与梯级供热系统及控制方法,涉及新能源储能与综合利用技术领域,耦合地热储能的ORC发电与梯级供热系统主要包括地热注采井、地热回灌井、ORC发电机组、梯级供暖系统以及地下储热层。实施本发明提供的耦合地热储能的ORC发电与梯级供热系统及控制方法,能实现热能动态平衡、跨周期储能与多源协同调控。

一种带自蓄热功能的地埋管换热器

NºPublicación:  CN121140224A 16/12/2025
Solicitante: 
郑州热力集团有限公司郑州市颖达热力工程设计有限公司
CN_121140224_PA

Resumen de: CN121140224A

本发明公开了一种带自蓄热功能的地埋管换热器,涉及地埋管换热装置技术领域,集热装置用于捕集环境中的热量,并与双工质驱动装置换热,双工质驱动装置内的低沸点工质吸热后汽化并进入积液装置内,冷却装置能够对积液装置流出的低沸点工质进行冷却液化,并使液态低沸点工质回流至双工质驱动装置内,载流体流通管组埋入地下土壤并与供热系统换热,双工质驱动装置与载流体流通管组的入口连通,双工质驱动装置中的低沸点工质吸热后能使载流体进入载流体流通管组中并放热,载流体流通管组的出口与冷却装置连通,并使放热后的载流体回流至双工质驱动装置内。本发明能够实现将太阳能或空气能转化的热量自主储存在地下土壤中,无需其他能源消耗。

地埋管换热器

NºPublicación:  CN121140221A 16/12/2025
Solicitante: 
中冶京诚工程技术有限公司
CN_121140221_PA

Resumen de: CN121140221A

本发明涉及地埋管换热系统技术领域,具体的,涉及一种地埋管换热器,包括进液管、出液管、换热管和膨胀钢带,换热管至少设置有三个,两端分别连接于进液管和出液管,换热液从进液管内进入并流经换热管与地埋管换热器附近的岩土层进行换热后,从出液管流出。膨胀钢带设置为开口环形,抵接于换热管的内侧,使换热管靠近周边岩土层,减小了此时换热管内的换热液与周边岩土层的距离,直接接触地层甚至压入地层,增大了换热液与周边岩土层的换热效率。其中,换热管包括可在地面钻孔内形成沿地面钻孔轴向并列设置的直段和连接于相邻两个直段的弯段,此时换热管呈S形回环设置,进而加大了换热液在换热管内的流动路径,提高了该地埋管换热器的换热效率。

一种中深层井下换热高效换热装置

NºPublicación:  CN121140220A 16/12/2025
Solicitante: 
山东省地质矿产勘查开发局第二水文地质工程地质大队(山东省鲁北地质工程勘察院)
CN_121140220_PA

Resumen de: CN121140220A

本发明提供一种中深层井下换热高效换热装置,主要涉及地热采热技术领域。一种中深层井下换热高效换热装置,包括换热外管及套设于其内部的换热内管,所述换热外管的上端一体式固定安装壳体,所述换热外管竖向贯穿换热外管的中心且与其固定连接,所述壳体的一侧固定安装有循环进液管,所述换热外管的底部设有辅助加热组件,且所述换热内管的内壁固设有扰流组件。本发明的有益效果在于:本装置通过设置扰流组件,改变液体在换热外管内的流动方向,增加湍流程度,使其在换热内管中的流动轨迹,由层流状态转变为高强度湍流状态,有效破坏管壁边界层热阻,从而大幅提升换热内管与流体之间的对流传热系数,从而提升了换热内管内液体的换热效率。

一种适用于穿越溶洞的高效换热能源桩系统

NºPublicación:  CN121140222A 16/12/2025
Solicitante: 
龙岩学院
CN_121140222_PA

Resumen de: CN121140222A

本发明公开了一种适用于穿越溶洞的高效换热能源桩系统,涉及建筑工程技术领域,热导固定柱内侧等距开设有若干个组合导热孔,组合导热孔内侧套接有U型往复管,多个U型往复管顶端通过转接头连接有注入操作管,多个U型往复管顶端通过转接头连接有回流操作管,热导固定柱内侧开设有贯穿处理孔,热导固定柱内侧靠近组合导热孔位置处开设有热换接触腔,本发明通过内部热交换处理和地下水循环部件配合联动,实现对换热能源桩内部的热交换操作,延长换热时间和换热距离,并对换热管道进行保证,提升换热效率,同时稳定换热能源桩的温度,降低因热胀冷缩带来的老化加速的情况出现,延长换热能源桩的使用寿命。

地热井回灌系统及方法

NºPublicación:  CN121140223A 16/12/2025
Solicitante: 
中国华能集团清洁能源技术研究院有限公司聊城昌润国电热力有限公司
CN_121140223_PA

Resumen de: CN121140223A

本发明的实施例公开了一种地热井回灌系统及方法,地热井回灌系统包括曝气池、排气装置和置换气装置,所述曝气池和所述置换气装置均与所述排气装置相连接,地热水经取热后形成的回灌水储存在所述曝气池内,所述曝气池用于向所述排气装置内输送回灌水,所述置换气装置用于向所述曝气池内输送置换气。本发明实施例的地热井回灌系统通过曝气池对回灌水进行净化处理,通过排气装置进行排气,使得回灌水中的气体含量和悬浮杂物大幅降低,降低了回灌水注入回灌井内后气体的溢出量,防止回灌系统中形成气堵,并避免杂物进入回灌系统中造成回灌通路堵塞。

一种结合地热与热电解耦的多能互补供热方法及系统

NºPublicación:  CN121140052A 16/12/2025
Solicitante: 
华电淄博热电有限公司
CN_121140052_PA

Resumen de: CN121140052A

本发明公开了一种结合地热与热电解耦的多能互补供热方法及系统,涉及能源供热领域,旨在解决传统供热系统化石燃料依赖度高、地热与热电协同不足及运行效益低的问题。通过采集地热、系统运行及外部关联数据,经加权归一化与特征融合生成标准化状态矩阵;融合LSTM时序特征与实时参数构建需求预测模型,加入地热流量偏离自适应修正项;以化石燃料消耗最小、成本最低、排放达标为目标,结合约束条件经粒子群算法输出调度参数;将参数转化为指令,偏差超3%时通过PID与成本敏感公式修正并反馈;计算指标评估效益;依据指标偏离度动态调整三类数据权重。本发明实现地热与热电深度协同,降低化石燃料消耗与成本,具备动态自适应能力。

System of devices for obtaining energy with FCH PC exchangers for groundwater heat pumps

NºPublicación:  PL448831A1 15/12/2025
Solicitante: 
STRUZIK WOJCIECH [PL]
STRUZIK WOJCIECH
PL_448831_A1

Resumen de: PL448831A1

Układ urządzeń do pozyskania energii z wody gruntowej do instalacji pomp ciepła, charakteryzuje się tym, że posiada wymiennik FCHPC wykonany w strefie suchej z rury PE, a w strefie wody gruntowej z stali kwasowej lub podobnej nie podlegającej korozji. Wymiennik zamontowany jest w odwiertach na głębokości od 20 do 100 m. Głębokość odwiertów i długość wymienników jest uzależniona od warunków gruntowych na danej lokalizacji. Wymienniki (7) są połączone w dolnej części z głowicą (8) i instalacją (6), która dostarcza energię do węzła (4), w którym pompa cyrkulacyjna i układ zabezpieczeń (5) dostarcza energię rurociągiem (3) do pompy ciepła (1). Pompa ciepła (1) wyprodukowaną energię ciepła lub chłodu rurociągami (2) zasila odbiorców energii.

熱移送システム

NºPublicación:  JP2025182349A 15/12/2025
Solicitante: 
NOK株式会社
JP_2025182349_PA

Resumen de: JP2025182349A

【課題】環境負荷が小さく、かつ、熱移送力を高める。【解決手段】熱移送システムは、地表に沿って配置される第1熱交換部と、第1熱交換部よりも深い位置で地中に埋設される第2熱交換部と、を有し、感温性磁性流体で構成される作動流体が封入された循環流路と、第1熱交換部と第2熱交換部との間の深さで地中に埋設され、作動流体を循環流路に循環させる推進力を生じさせる磁場を作動流体に印加する磁石と、を備える。【選択図】図1

制御装置、地中熱利用システム、制御方法、及びプログラム

NºPublicación:  JP2025182594A 15/12/2025
Solicitante: 
三菱重工サーマルシステムズ株式会社
JP_2025182594_PA

Resumen de: WO2025253978A1

This control device comprises: an operation control unit capable of switching the operation mode of a geothermal utilization system between a heating mode in which water pumped up from a hot water well is returned to a cold water well and a cooling mode in which water pumped up from a cold water well is returned to a hot water well; a calculation unit that calculates the integrated heat storage amount of a past heating operation period during which the operation was performed in the heating mode, and the integrated heat storage amount of a past cooling operation period during which the operation was performed in the cooling mode; and an operation state adjustment unit that adjusts the operation state of the geothermal heat utilization system such that the difference between the integrated heat storage amount of a subsequent heating operation period and the integrated heat storage amount of a subsequent cooling operation period is smaller than the difference between the integrated heat storage amount of the past heating operation period and the integrated heat storage amount of the past cooling operation period.

一种模块化制冷机房及制冷系统和方法

NºPublicación:  CN121126757A 12/12/2025
Solicitante: 
杭州华电华源环境工程有限公司
CN_121126757_PA

Resumen de: CN121126757A

本发明公开了一种模块化制冷机房及制冷系统和方法;所述制冷机房,其包括箱体、制冷主机和顶部调节模块。箱体内腔分为密封腔室和换热腔室。制冷主机安装在密封腔室内。顶部调节模块安装在换热腔室中。顶部调节模块包括相变蓄冷材料、翅片管、风机、保温罩壳、高红外发射率涂层和高吸收率涂层。保温罩壳安装在箱体的顶部;所述保温罩壳能够在日间覆盖换热腔室的顶部开口,在夜间避开换热腔室的顶部开口。相变蓄冷材料设置在换热腔室底部。翅片管部分埋设在相变蓄冷材料中。发明采用集装箱式模块化结构,机房可整体运输至沙漠现场并快速通过管道接口与用户末端及浅层地热系统对接,从而实现了制冷系统的模块化、可移动化与便捷部署。

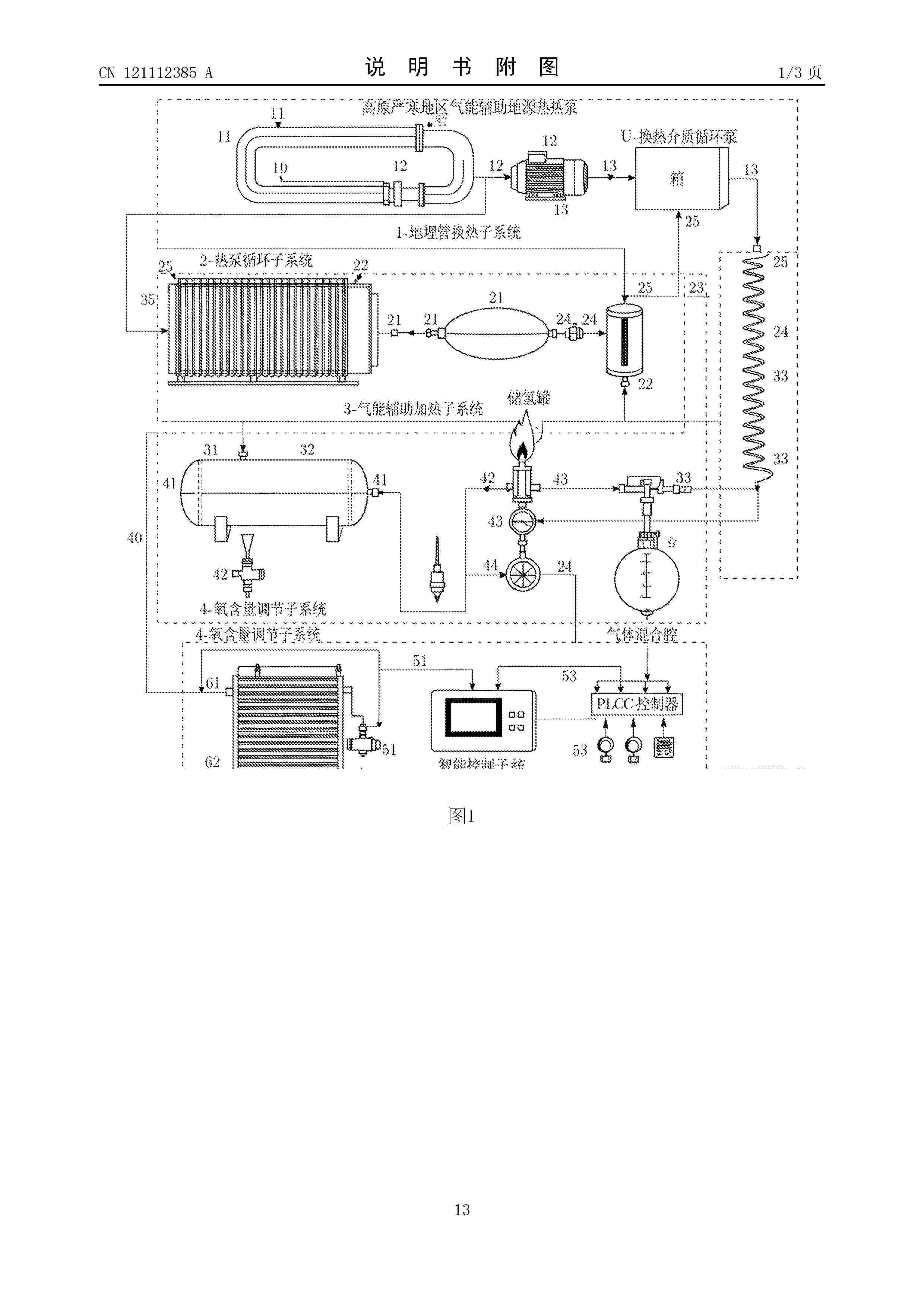
一种高原严寒地区氢能辅助地源热泵供热系统及方法

NºPublicación:  CN121112385A 12/12/2025
Solicitante: 
华能吉林发电有限公司九台电厂西安热工研究院有限公司西安西热节能技术有限公司
CN_121112385_A

Resumen de: CN121112385A

本发明提供的一种高原严寒地区氢能辅助地源热泵供热系统及方法,包括地埋管换热子系统、热泵循环子系统和氢能辅助加热子系统,其中:所述地埋管换热子系统的换热介质出口连接热泵循环子系统;所述热泵循环子系统连接供热管网;所述氢能辅助加热子系统用于对地埋管换热子系统出口的换热介质进行加热;本发明有效解决了传统地源热泵在高原严寒地区因土壤温度过低导致的吸热不足、压缩机低压失稳和系统性能系数骤降的核心技术瓶颈。

空调器及换热系统

Nº publicación: CN121112405A 12/12/2025

Solicitante:

青岛海尔空调器有限总公司青岛海尔空调电子有限公司青岛海尔智能技术研发有限公司海尔智家股份有限公司

CN_121112405_PA

Resumen de: CN121112405A

本发明涉及温度调节设备技术领域,提供一种空调器及换热系统。空调器包括:至少一个室内机和室外机,所述室外机设于地下室;所述室内机设有水循环系统,所述室外机设有制冷剂循环系统和热交换器;所述热交换器设于所述水循环系统和所述制冷剂循环系统之间,用于交换所述水循环系统和所述制冷剂循环系统之间的热量。本发明通过将室外机设于地下室,水循环系统在室内机进行换热,换热后与制冷剂循环系统中的制冷剂进行换热,从而达到制冷或制热的效果,噪音小,换热效率高,从而提升用户居住体验和舒适度。

traducir