Ministerio de Industria, Turismo y Comercio LogoMinisterior
 

Alerta

Resultados 71 resultados
LastUpdate Última actualización 26/12/2025 [07:29:00]
pdfxls
Solicitudes publicadas en los últimos 30 días / Applications published in the last 30 days
previousPage Resultados 25 a 50 de 71 nextPage  

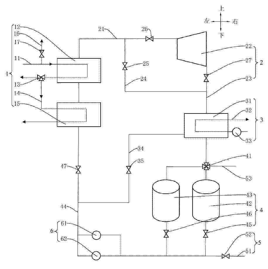
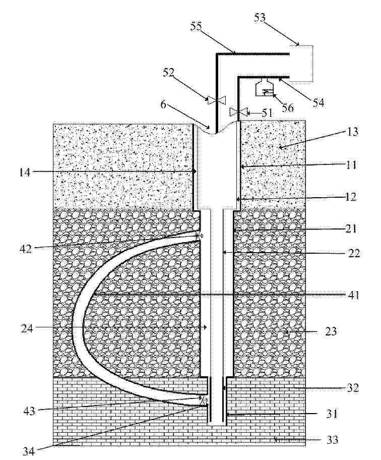
一种地源热泵自动控温装置及其使用方法

NºPublicación:  CN121112524A 12/12/2025
Solicitante: 
吉林建筑科技学院
CN_121112524_PA

Resumen de: CN121112524A

本发明提供一种地源热泵自动控温装置及其使用方法,涉及地源热泵技术领域,包括:控温箱;控温箱上方固定有第一盖板,控温箱内黏附有隔热层,控温箱内安装有换热部,换热部由电热管和地源水管组成;控温箱内固定有电热管,电热管上螺旋缠绕有地源水管;控温箱上连接有进液管和排液管。本申请在控温核心功能上,装置借助电热管与地源水管的螺旋缠绕结构,能快速实现地源水管内水分的加热,同时通过进液管加入冷水并配合电控阀调控流速与添加量,灵活调整降温效果,满足不同温度需求;辅助部的混合板在电机驱动下沿导向杆移动,结合混合板上的长方形通孔,加速了控温箱内液体的流动与混合,大幅提高液体与地源水管的接触效率,进一步增强控温效果。

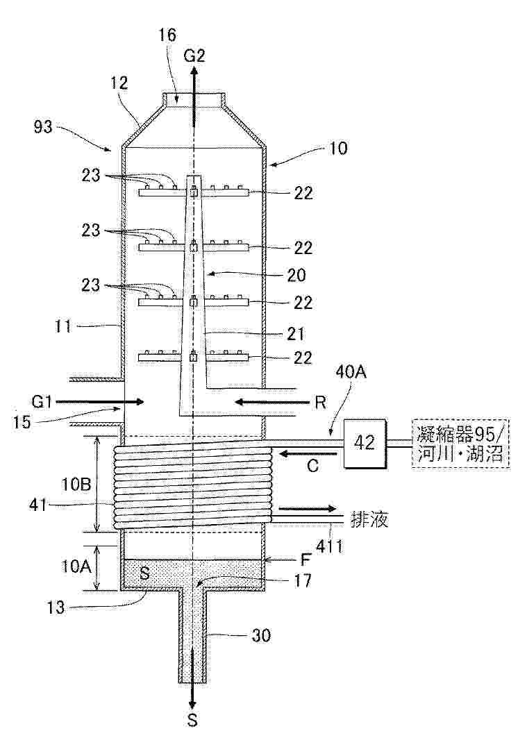
用于地热井中的热分布控制及能量回收的方法

NºPublicación:  CN121112502A 12/12/2025
Solicitante: 
埃沃尔技术股份有限公司
CN_121112502_PA

Resumen de: US2025146714A1

A method for controlling temperature maxima and minima from the heel to toe in geothermal well lateral sections. The method includes disposing at least a pair of wells proximately where thermal contact is possible. Working fluid is circulated in one well of the pair in one direction and the working fluid of the second well is circulated in as direction opposite. to the first. In this manner temperature equilibration is attainable to mitigate maxima and minima to result in a substantially more uniform temperature of the working fluids in respective wells and the rock formation area there between. Specific operating protocol is disclosed having regard to the temperature control for maximizing thermal energy recovery.

一种基于地热能发电的发电装置

NºPublicación:  CN121111647A 12/12/2025
Solicitante: 
湖南省地质灾害调查监测所(湖南省地质灾害应急救援技术中心)
CN_121111647_PA

Resumen de: CN121111647A

本发明涉及地热能发电技术领域,提出了一种基于地热能发电的发电装置,包括设置在地热层内部的地热管,地热管的出口端连接有地热泵,地热泵的出口端通过管道连接有旋风分离器,旋风分离器的蒸汽出口通过导管连接有第一汽轮机,旋风分离器的液体出口连接有换热机构,换热机构底部的一端连接有接入地热层的回流管,换热机构的工质入口通过管道连接有工质液泵,换热机构的工质出口通过管道连接有蒸汽发生器,蒸汽发生器的蒸汽出口通过导管连接有第二汽轮机。本发明通过旋风分离器将地热流体分离为高温蒸汽和地热水,高温蒸汽直接驱动第一汽轮机发电,地热水则用于加热低沸点工质驱动第二汽轮机,实现高品位与低品位能量的梯级利用,减少热能浪费。

基于地热与数据中心余热联合驱动冷电联产系统及方法

NºPublicación:  CN121112503A 12/12/2025
Solicitante: 
贵州电网有限责任公司
CN_121112503_PA

Resumen de: CN121112503A

本发明公开了一种基于地热与数据中心余热联合驱动冷电联产系统及方法,涉及热力循环技术领域,包括,地热回路,所述地热回路包括地热出水井,设置于所述地热出水井一侧的第一换热器,设置于所述第一换热器一侧的发生器以及设置于所述发生器一侧的地热回水井;数据中心余热回路,所述数据中心余热回路包括数据中心余热源,设置于所述数据中心余热源一侧的第二换热器以及设置于所述第二换热器一侧的第三换热器;其中,所述地热回路通过地热水、所述数据中心余热回路通过数据中心余热源共同实现循环发电,并利用末端地热水驱动制冷循环为数据中心提供冷却,同时利用吸收器和第二冷凝器中的余热预热有机工质,实现冷电联产。

一种地热井储层改造方法、装置、设备及介质

NºPublicación:  CN121111207A 12/12/2025
Solicitante: 
中石化石油工程技术服务股份有限公司中石化江汉石油工程有限公司中石化江汉石油工程有限公司页岩气开采技术服务公司
CN_121111207_PA

Resumen de: CN121111207A

本申请公开了一种地热井储层改造方法、装置、设备及介质,涉及地热井储层技术领域,获取地热井储层的地层信息和岩石信息,为注入井和采出井部署裂缝检测装置;对注入井和采出井进行压裂测试;若测试结果中压力不大于预设阈值,对注入井和采出井进行分段及疲劳剪切压裂,得到第一疲劳剪切压裂结果;判断第一疲劳剪切压裂结果是否符合预设目标条件;若不符合,利用交替方式对疲劳剪切压裂后的注入井和采出井进行疲劳剪切压裂,得到第二疲劳剪切压裂结果;判断第二疲劳剪切压裂结果是否符合预设目标条件;若符合,对地热井储层进行目标改造,形成空间体积大、连通性好、水损耗小且不短路大量迂回曲折的地热井储层裂缝,提高储层改造效果和取热效率。

一种利用废弃油井进行太阳能相变储能的装置及方法

NºPublicación:  CN121112377A 12/12/2025
Solicitante: 
山东石油化工学院
CN_121112377_PA

Resumen de: CN121112377A

本发明涉及废弃油井改造应用领域,特别涉及一种利用废弃油井进行太阳能相变储能的装置及方法。其技术方案是:蓄热水箱的进水口通过管线和第一三通阀连接到第一水泵的出水口,第一水泵管线连接太阳能集热系统的高温出水口;太阳能集热系统的回水口通过第二三通阀连接到蓄热水箱处的用户回水管线;本发明采用的废弃油井除了利用其本身具有的地热能之外,还用作太阳能的储能容器,并且换热装置采用分层变螺距的螺旋管换热器以适应不同深度地温和水温的变化,填充在废弃油井中的相变材料也根据地温和水温变化采用多熔点梯度分布,不仅能解决太阳能大规模长时高效储能问题,实现了补充地层热量的效果,而且还能提高废弃油井作为储能井的换热效率。

CONTROL DEVICE, GEOTHERMAL HEAT UTILIZATION SYSTEM, CONTROL METHOD, AND PROGRAM

NºPublicación:  WO2025253978A1 11/12/2025
Solicitante: 
MITSUBISHI HEAVY IND THERMAL SYSTEMS LTD [JP]
UNIV PUBLIC CORPORATION OSAKA [JP]
\u4E09\u83F1\u91CD\u5DE5\u30B5\u30FC\u30DE\u30EB\u30B7\u30B9\u30C6\u30E0\u30BA\u682A\u5F0F\u4F1A\u793E,
\u516C\u7ACB\u5927\u5B66\u6CD5\u4EBA\u5927\u962A
WO_2025253978_PA

Resumen de: WO2025253978A1

This control device comprises: an operation control unit capable of switching the operation mode of a geothermal utilization system between a heating mode in which water pumped up from a hot water well is returned to a cold water well and a cooling mode in which water pumped up from a cold water well is returned to a hot water well; a calculation unit that calculates the integrated heat storage amount of a past heating operation period during which the operation was performed in the heating mode, and the integrated heat storage amount of a past cooling operation period during which the operation was performed in the cooling mode; and an operation state adjustment unit that adjusts the operation state of the geothermal heat utilization system such that the difference between the integrated heat storage amount of a subsequent heating operation period and the integrated heat storage amount of a subsequent cooling operation period is smaller than the difference between the integrated heat storage amount of the past heating operation period and the integrated heat storage amount of the past cooling operation period.

Wärmetauscher für ein Wärmenetz

NºPublicación:  DE102024116162A1 11/12/2025
Solicitante: 
GRAF FRANZ [DE]
Graf, Franz
DE_102024116162_PA

Resumen de: DE102024116162A1

Es wird ein Wärmetauscher (20) für ein Wärmenetz, insbesondere kaltes Nahwärmenetz oder Fernwärmenetz, mit wenigstens einer Wärmeübertragungsfläche zum Übertragen von Wärme eines Netzfluides des Wärmenetzes auf ein Gebäude-Heizfluid einer Gebäude-Heizung eines Gebäudes (7), insbesondere eines Wohnhauses, wobei wenigstens ein Vorlauf-Anschluss (5) für das Gebäude-Heizfluid und wenigstens ein Rücklauf-Anschluss (5) für das Gebäude-Heizfluid vorgesehen sind, vorgeschlagen, der gegenüber dem Stand der Technik verbessert wird, insbesondere den Aufwand reduziert und/oder die Energieeffizienz sowie die Wirtschaftlichkeit erhöht und/oder neue Funktionalitäten realisiert. Dies wird erfindungsgemäß dadurch erreicht, dass der Wärmetauscher (20) als Erdwärmetauscher (20) ausgebildet ist, wobei der Erdwärmetauscher (20) wenigstens eine Erdreich-Kontaktfläche für das Erdreich aufweist und wobei der Erdwärmetauscher (20) wenigstens eine Wärmenetz-Aufnahme (21) zum Aufnehmen einer Wärmenetz-Leitung (1), insb. eines Wärmenetzrohres (1), des Wärmenetzes aufweist, wobei die Wärmenetz-Aufnahme (21) zumindest die Wärmeübertragungsfläche umfasst.

METHOD FOR OPTIMIZING A DISTRICT HEATING NETWORK

NºPublicación:  US2025377118A1 11/12/2025
Solicitante: 
DOUBLE M PROPERTIES AB [FI]
Double M Properties Ab
US_2025377118_PA

Resumen de: US2025377118A1

The invention relates to a method for optimizing a district heating network (1) comprising outgoing supply pipes and incoming return pipes, wherein a heat carrying fluid is circulated to be utilized for residential and commercial heating requirements. For storing excess thermal energy available at the district heating network. the method involves the steps of implementing more than one ground-based borehole thermal energy storage (4) as distributed heat storages at different locations of or along the district heating network (1). Each heat storage (4) is adapted to receive thermal energy from various forms of heat sources. which heat sources may be found at different locations of or along the district heating network (1) such, that the heat sources and the heat storages forming nodes in the district heating network (1). Excess thermal energy available to one node of the district heating network (1) is used to charge a borehole thermal energy storage (4) at one or several nodes, and thermal energy available from the borehole thermal energy storages (4) is at disposal to be used to heat the heat carrying fluid circulated in the supply pipes of the district heating network.

GEOTHERMAL ENERGY SYSTEM

NºPublicación:  US2025377137A1 11/12/2025
Solicitante: 
STOIC TRANSITIONAL RESOURCES INC [CA]
Stoic Transitional Resources Inc
US_2025377137_PA

Resumen de: US2025377137A1

A system for geothermal heating, the system comprising a forced geothermal circuit in communication with a well bore; a gyroid heat exchanger, the gyroid heat exchanger in communication with a closed loop working fluid circuit; and a production casing. A method of optimizing energy recovery from a geothermal well comprising selecting a well bore gyroid heat exchanger depth; and adjusting an annulus liquid level.

光电光热的多储能形式能源利用系统及能源采集利用装置

NºPublicación:  CN121089274A 09/12/2025
Solicitante: 
万江新能源股份有限公司北京新能源科技分公司中国建筑科学研究院有限公司
CN_121089274_PA

Resumen de: CN121089274A

本申请提供了光电光热的多储能形式能源利用系统及能源采集利用装置,涉及能源利用技术领域,其中,该系统包括:光电光热模块、固体储能模块和岩土储能利用模块;光电光热模块的光热输出端与岩土储能利用模块的输入端连接,岩土储能利用模块的输出端与建筑用热端连接,光电光热模块的光电输出端与固体储能模块的输入端连接,固体储能模块的输出端与工艺用热端连接,本申请解决了相关技术中的太阳能利用效率不足的技术问题。

井下取热系统

NºPublicación:  CN121089275A 09/12/2025
Solicitante: 
中国石油化工股份有限公司中石化石油工程技术研究院有限公司
CN_121089275_PA

Resumen de: CN121089275A

本发明属于水热型地热开发换热技术领域,具体地涉及一种井下取热系统,井下取热系统应用于地热井筒中,井下取热系统包括:换热器单元,用于安装在地热井筒中,换热器单元的内部形成有容纳腔;隔离单元,设置在换热器单元的底部并包括壳体和隔离件,壳体的内部形成有能够与容纳腔连通的连接通道,隔离件设置在连接通道中并能够截止或导通连接通道,壳体上形成有连通地热井筒和连接通道的连接孔。上述的井下取热系统,在换热器单元的下方设置隔离单元,隔离单元可以在井下取热系统下入到地热井筒过程中,使地热井筒的地热水可以导通至换热器单元的容纳腔中,便于井下取热系统下入和安装。

井下取热系统

NºPublicación:  CN121089276A 09/12/2025
Solicitante: 
中国石油化工股份有限公司中石化石油工程技术研究院有限公司
CN_121089276_PA

Resumen de: CN121089276A

本发明属于水热型地热开发换热技术领域,具体地涉及一种井下取热系统,井下取热系统应用于地热井筒中,井下取热系统包括:换热器单元,用于设置在地热井筒中并延伸至热储层;扰流器组件,设置在换热器单元的下方并用于将热储层的地热水抽出热储层。采用上述的井下取热系统,扰流器组件可以将热储层的地热水抽出,以对热储层的地热水进行扰流,使与换热器单元接触的地热水保持流动状态,井筒内的地热水由热储层内的地热水补充,实现井筒内热量快速补给,提高换热器单元的换热效率。

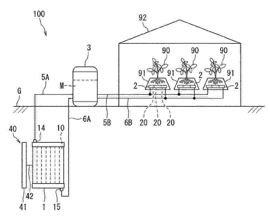
HOUSE HAVING TEMPERATURE MAINTAINING PART USING GEOTHERAL

NºPublicación:  KR20250172070A 09/12/2025
Solicitante: 
주대영공조시스템
KR_20250172070_PA

Resumen de: KR20250172070A

본 발명은 외부와 차폐되는 생육공간을 구비하고 지반에 설치되어 상기 생육공간에서 작물이 생육되도록 하는 하우스 본체와; 상기 하우스 본체가 설치된 상기 지반의 내부에 일부가 설치되고 나머지 일부는 상기 하우스 본체와 연결되게 설치되어 지열을 이용하여 상기 하우스 본체 내부의 온도를 일정하게 유지할 수 있도록 하는 온도유지부를; 포함하고, 상기 온도유지부는 일단이 상기 하우스 본체와 연결되는 제1흡배기관과, 타단이 상기 하우스 본체와 일정 거리 이격된 지반의 외부로 돌출되게 설치되며 상기 제1흡배기관과 연통되는 제2흡배기관과, 상기 제1흡배기관과 상기 제2흡배기관 사이에 배치되며 상기 지반에 매립된 형태로 설치되어 지열을 이용하여 상기 하우스 본체의 내부온도가 일정하도록 상기 하우스 본체 내부의 공기가 상기 제1흡배기관과 상기 제2흡배기관을 통하여 유동시에 열교환이 이루어지도록 하는 복수의 현열교환기와, 상기 제1흡배기관과 상기 제2흡배기관이 상기 현열교환기를 통과하지 않고 직접 연결되도록 하는 에어챔버와 상기 에어챔버의 경로상에 설치되는 바이패스 댐퍼로 이루어지는 바이패스부를 포함한 지열을 이용한 온도유지부를 구비한 하우스를 제공함으로써, 지열을 이용하�

地中熱利用熱回収ヒートポンプシステム、地中熱利用熱回収ヒートポンプシステムの運転方法

NºPublicación:  JP2025178982A 09/12/2025
Solicitante: 
日鉄エンジニアリング株式会社
JP_2025178982_PA

Resumen de: JP2025178982A

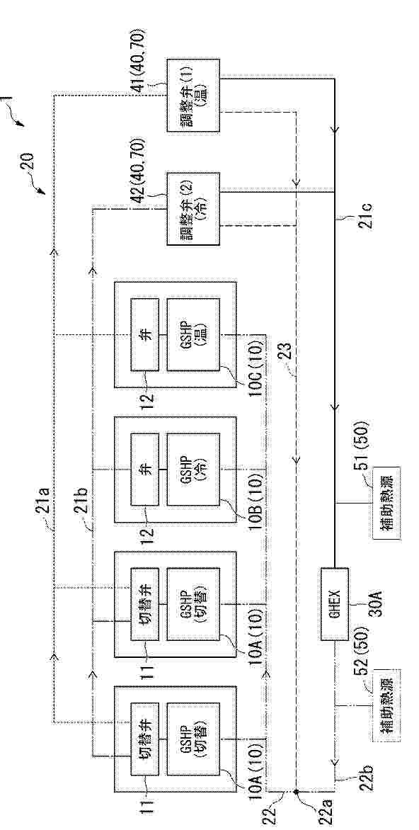
【課題】システムの規模によらず効率的な運転が可能な地中熱利用熱回収ヒートポンプシステム、及びその運転方法を提供する。【解決手段】ヒートポンプシステム1は、採放熱を行う地中熱源と、地中熱源との間で熱媒が循環することで熱負荷処理を行う複数台のGSHP10と、を備えるヒートポンプシステム1であって、通過する熱媒の流量を調整可能な第1の調整弁41及び第2の調整弁42と、複数台のGSHP10から第1の調整弁41に、温められた熱媒が移動する第1の還管21aと、複数台のGSHP10から第2の調整弁42に、冷やされた熱媒が移動する第2の還管21bと、地中熱源から前記複数台のGSHP10に、熱媒が移動する往管22と、第1の調整弁41及び第2の調整弁42から地中熱源に熱媒が移動する第3の還管21cと、第1の調整弁41及び第2の調整弁42から往管22に熱媒が移動するバイパス管23と、を備える。【選択図】図1

Functional root heating system and root heating method using the same

NºPublicación:  KR20250172237A 09/12/2025
Solicitante: 
김응수박경수
KR_20250172237_PA

Resumen de: KR20250172237A

본 발명은, 종래 동절기 뿌리난방 방법들의 문제점 등을 해결하여 농가의 소득을 증대하기 위한 것으로, 종래의 근권난방(根圈暖房) 방법들에 따르면, 난방시설의 설치 및 철거 등 비용의 문제, 전기료 및 연료대 부담 등 관리상의 문제, 토양의 건조 및 뿌리열상 유발 등 기능상의 문제, 발열 시 농작물 생장에 필요한 영양소 등을 공급하지 못하는 기술상의 문제 등이 있다. 이에 본 발명은, 상기 종래 방법의 문제점들을 개선한 획기적인 농작물 근권난방(根圈暖房) 기술로, 매우 적은 전기에너지를 사용하고도 작물 생장에 필요한 최적의 온도를 발열시키는 발열체를 피복 처리한 발열시트를 열전도성이 탁월한 알루미늄 전도판 내부에 삽입한 후 복사열을 빠르고 균일하게 전도하기 위해 열전도판 덮개로 밀폐한 뿌리난방 시스템을 발명하였고, 여기에 상기 덮개 표면에 뿌리 생장에 필요한 기능성 영양소를 공급해 주는 기능성 부직포 시트를 부착하여 뿌리난방 시스템이 발열 시 농작물의 뿌리 생장에 필수적인 영양소가 뿌리에 흡수되도록 하는 기능성 뿌리난방 시스템을 발명하였다. 본 발명에 따른 뿌리난방 시스템은, 매우 적은 전기에너지를 사용하고도 농작물 생장에 필요한 최적의 온도를 발열시키는 발열체를 피복 처�

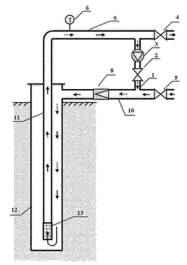
An standing column well type ground heat exchanger capable of bleeding groundwater and cleaning of water intake wells and its construction method

NºPublicación:  KR20250171988A 09/12/2025
Solicitante: 
주씨에스하이테크플러스
KR_20250171988_PA

Resumen de: KR20250171988A

본 발명은 지하수를 히트펌프의 열원으로 사용하기 위한 개방형 지중열교환기 및 이의 시공방법에 관한 것이다. 본 발명의 실시예에 따른 지하수의 블리딩과 취수정의 청소가 가능한 개방형 지중열교환기는 지하수가 유입되는 취수정, 상기 취수정에 취수되는 지하수를 열원으로 열교환하는 열교환기, 상기 열교환기에서 열교환한 지하수를 상기 취수정으로 환수하는 환수배관, 및 상기 환수배관을 통해 환수되는 지하수의 일부를 지중으로 환원시키는 블리딩홀을 포함하고, 상기 블리딩홀은 상기 블리딩홀로 공급된 지하수가 지중으로 환원되면서 상기 블리딩홀에 압력이 낮아짐에 따라 상기 지하수의 환원이 지연되는 것을 방지하도록 상기 블리딩홀의 내압에 따라 외부 공기를 상기 블리딩홀의 내부로 도입하는 블리딩압보완밸브를 포함한다. 따라서, 지하수를 지중으로 신속하게 환원시킬 수 있다.

一种太阳能与地热能联合集热发电系统及其运行方法

NºPublicación:  CN121066797A 05/12/2025
Solicitante: 
电子科技大学
CN_121066797_PA

Resumen de: CN121066797A

本发明涉及一种太阳能与地热能联合集热发电系统及其运行方法,属于可再生能源开发利用领域。旨在解决现有地热集热器换热效率低、耐腐蚀差、热短路及太阳能与地热能各自局限性引起的能源利用效率低和供电不稳定的问题。系统包括以超临界二氧化碳为循环工质的有机朗肯循环装置,依次连接的压缩机、地热取热器、回热器、槽式太阳能集热器、膨胀机、冷却塔及储液罐。地热取热器采用一体式结构,壳体外表面设有凹槽,内部设有螺旋流道及扰流板;槽式太阳能集热器包含反光面及导热管;运行方法为:超临界二氧化碳依次流经地热取热器、回热器低温侧、太阳能集热器加热;经膨胀机做功后进入回热器高温侧放热;工质在冷却塔内相变为液态后返回压缩机。

一种基于发电机组余热回收的供暖系统

NºPublicación:  CN121067378A 05/12/2025
Solicitante: 
山东明合地热能源开发有限公司
CN_121067378_PA

Resumen de: CN121067378A

本发明涉及供暖技术领域,具体涉及一种基于发电机组余热回收的供暖系统,包括余热采集单元,包括并联在发电机组凝汽器循环管路上的板式换热器和冷却塔,且两者之间设置切换阀组;地下储能单元,包括通过换热管路连接板式换热器的采灌井一和采灌井二,采灌井一和采灌井二的底部通过高导热填充层实现热耦合;热泵机组单元,包括溴化锂吸收式热泵,其低温热源入口并联连接板式换热器的出口及其中采灌井一的抽水管路。相较于现有技术,本申请通过设置有地下储能单元与切换阀组协同运行,二者协同工作,在保障供热安全的同时,实现了地上地下一体化的余热调蓄、释放与控制,提高了系统的稳定性、调节能力与能源综合利用效率。

Underground Regenerative heat type Heating and Cooling System using Geothermal

NºPublicación:  KR20250170447A 05/12/2025
Solicitante: 
박병수

Resumen de: KR20250170447A

본 발명의 지중 축열식 냉난방 시스템은 지면으로부터 일정 깊이의 지중에 수평식으로 형성되고, 축열층이 적어도 한 층 이상을 구비한 지중 축열부와, 열부하에 열적으로 밀결합된 제1열교환관과, 적어도 하나 이상의 축열층 내에 각각 배치된 제2열교환관과, 제1 및 제2열교환관을 연결하는 순환관과, 제2열교환관과 열적으로 밀결합되고 높은 열을 선택적으로 발생하기 위한 보조 열원과, 순환관에 결합되어 순환수를 순환시키는 모터와, 지열 단독 열교환 모드와 지열 및 보조열원 복합 가온 열교환 모드를 제어하는 제어부를 구비한다.

用于增强中深层地热井换热效率的对接井结构

NºPublicación:  CN121067474A 05/12/2025
Solicitante: 
万江新能源股份有限公司北京新能源科技分公司中国建筑科学研究院有限公司
CN_121067474_PA

Resumen de: CN121067474A

本申请涉及地热开发利用领域,提供一种用于增强中深层地热井换热效率的对接井结构,包括入水井和回流井;入水井具有第一竖直段和至少一个换热对接段;换热对接段的一端与第一竖直段连通;回流井具有第二竖直段和换热路径延长段;换热路径延长段的上端与第二竖直段的底部连通;换热路径延长段除上端外的任意部位与第一竖直段之间的水平间距均大于换热路径延长段上端与第一竖直段之间的水平间距;换热对接段背离第一竖直段的一端与换热路径延长段连通。本申请解决了传统对接井结构换热效率低且占地面积大的问题。

INTERVENTION PROCESS FOR GEOTHERMAL WELLS

NºPublicación:  WO2025250866A1 04/12/2025
Solicitante: 
SCHLUMBERGER TECHNOLOGY CORP [US]
SCHLUMBERGER CA LTD [CA]
SERVICES PETROLIERS SCHLUMBERGER [FR]
SCHLUMBERGER TECHNOLOGY BV [NL]
SCHLUMBERGER TECHNOLOGY CORPORATION,
SCHLUMBERGER CANADA LIMITED,
SERVICES PETROLIERS SCHLUMBERGER,
SCHLUMBERGER TECHNOLOGY B.V
WO_2025250866_PA

Resumen de: WO2025250866A1

A method for extracting thermal energy from a geothermal reservoir having one or more features extending through the geothermal reservoir includes analyzing subsurface data to determine a measured depth of a feature of the one or more that intersects a production well, running a downhole tool along the production well to a location corresponding to the measured depth of the feature, and performing an intervention at the location using the downhole tool, wherein the intervention includes injecting a reactive solution into the feature, wherein the reactive solution is configured to penetrate the feature to a desired depth and according to a desired pattern based on an injection rate of the reactive solution into the feature and a reaction rate of the reactive solution with the feature.

SYSTEMS AND METHODS TO BOOST PERFORMANCE IN GEOTHERMAL SYSTEMS

NºPublicación:  WO2025250875A1 04/12/2025
Solicitante: 
SCHLUMBERGER TECHNOLOGY CORP [US]
SCHLUMBERGER CA LTD [CA]
SERVICES PETROLIERS SCHLUMBERGER [FR]
SCHLUMBERGER TECHNOLOGY BV [NL]
SCHLUMBERGER TECHNOLOGY CORPORATION,
SCHLUMBERGER CANADA LIMITED,
SERVICES PETROLIERS SCHLUMBERGER,
SCHLUMBERGER TECHNOLOGY B.V
WO_2025250875_PA

Resumen de: WO2025250875A1

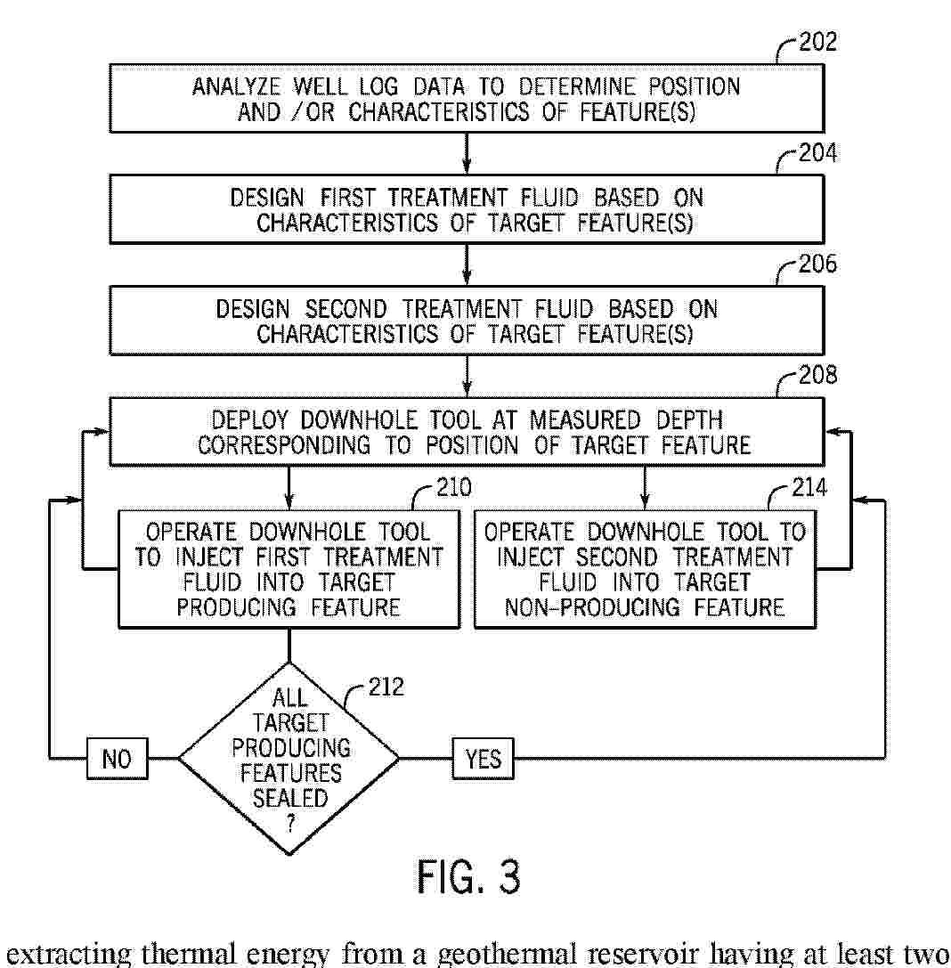
A method for extracting thermal energy from a geothermal reservoir having at least two features includes analyzing subsurface data to determine a first location of a first feature of the at least two features and a second location of a second features of the at least two features. The method further includes analyzing the subsurface data to identify first characteristics of the first feature and second characteristics of the second feature, performing a first intervention at the first location, wherein the first intervention is configured to limit fluid flow into and out of the first feature, and performing a second intervention at the second location, wherein the second intervention is configured to increase a flow rate of geothermal fluid from the second feature into a production well.

METHOD AND SYSTEMS FOR HEAT RECOVERY FROM GEOTHERMALLY-HEATED FORMATIONS BY DIRECTED FLOW

NºPublicación:  WO2025251074A1 04/12/2025
Solicitante: 
GREENFIRE ENERGY INC [US]
GREENFIRE ENERGY INC
WO_2025251074_PA

Resumen de: WO2025251074A1

Processes and systems are disclosed. The process may include obtaining a plurality of wells (502, 504, 506), including an injection well (504) and a closed-loop geothermal well (502), drilled into a geothermally heated formation (204) and inserting a closed-loop geothermal system, including a working fluid configured to extract heat from the geothermally heated formation (204) and supply it to a heat utilization facility (206), configured to extract heat from the working fluid, located on the surface of the earth, into the closed- loop geothermal well (502). The process further includes injecting a flow of geothermal fluid into the geothermally heated formation (204) through the injection well (504), such that the plurality of wells (502, 504, 506) is configured to direct the flow of geothermal fluid from the injection well (504) to the vicinity of the closed-loop geothermal well (502).

SOLAR ENERGY STORAGE AND AQUIFER MANAGEMENT

Nº publicación: US2025373200A1 04/12/2025

Solicitante:

SAUDI ARABIAN OIL CO [SA]
SAUDI ARABIAN OIL COMPANY

US_2025373200_PA

Resumen de: US2025373200A1

A solar energy storage management system includes a solar thermal collection unit, a photovoltaic pre-heating system, and heat exchanger. The solar thermal collection unit collects incident radiation and adds heat into a heat transfer fluid. The first photovoltaic pre-heating system pre-heats a spent stream from a utilization facility. The heat exchanger conveys heat from the heat transfer fluid and pre-heated stream to a storage stream for output to an aquifer thermal storage system. A method for managing solar energy storage and production includes collecting incident radiation with a solar thermal collection unit, adding heat into a heat transfer fluid, and conveying the heat transfer fluid to a heat exchanger for later storage of thermal energy in an aquifer thermal storage system. Systems and methods monitor heat storage and operational characteristics of the aquifer thermal storage system.

traducir