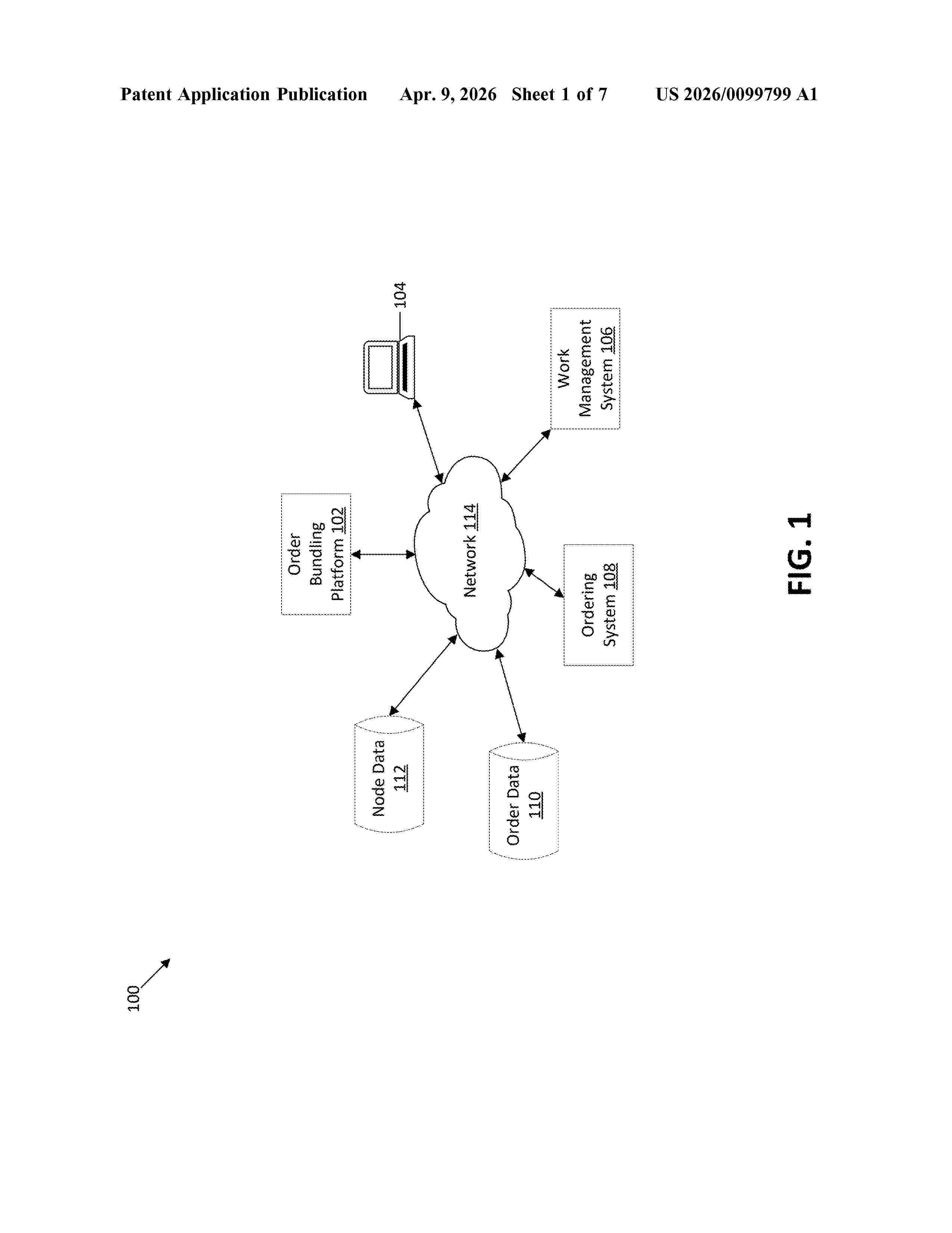
Ministerio de Industria, Turismo y Comercio LogoMinisterior
 

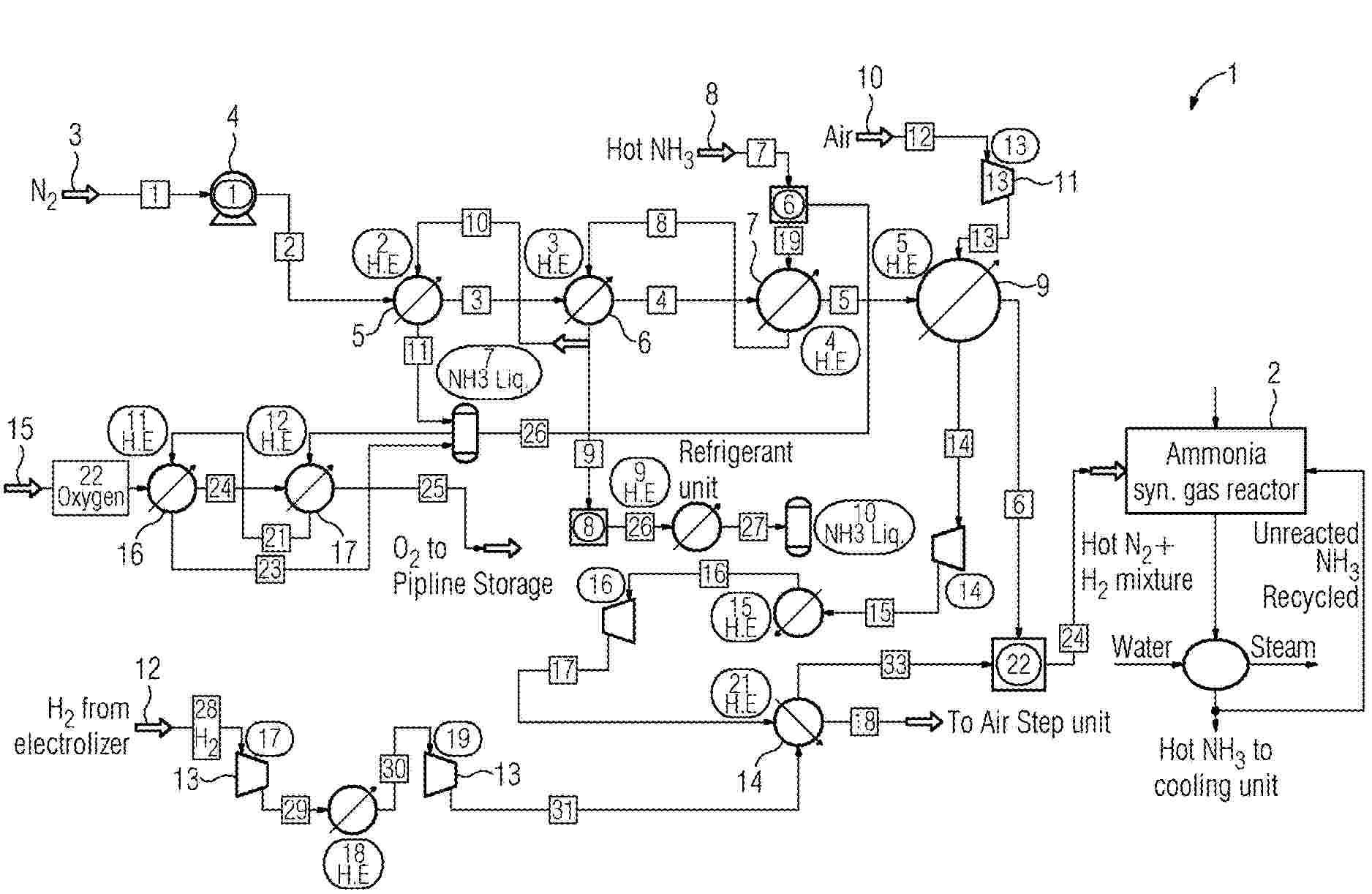
Hidrógeno electrolítico

Resultados 762 resultados
LastUpdate Última actualización 13/04/2026 [10:16:00]
pdfxls
Publicaciones de solicitudes de patente de los últimos 60 días/Applications published in the last 60 days
previousPage Resultados 484 a 762 de 762  

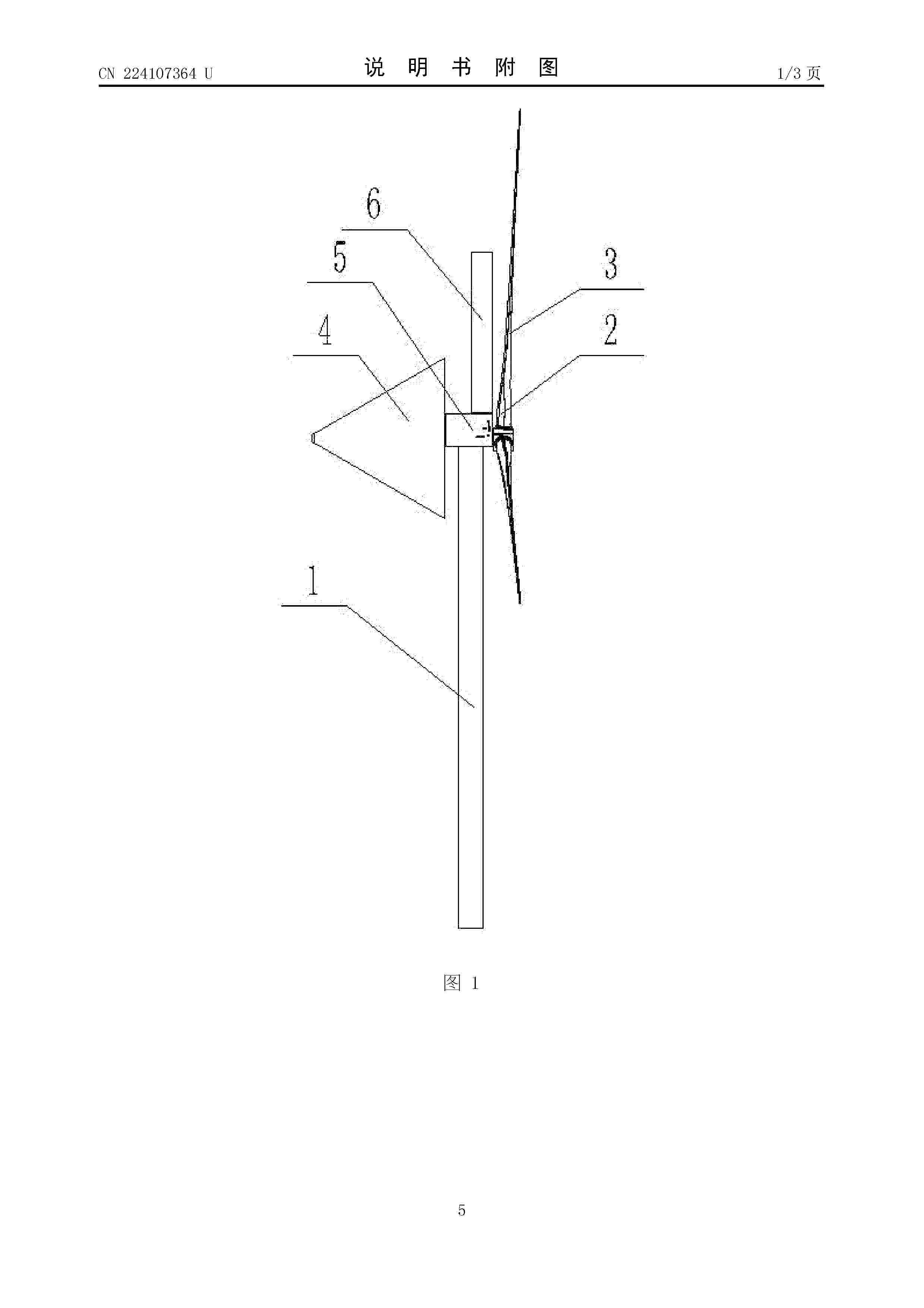
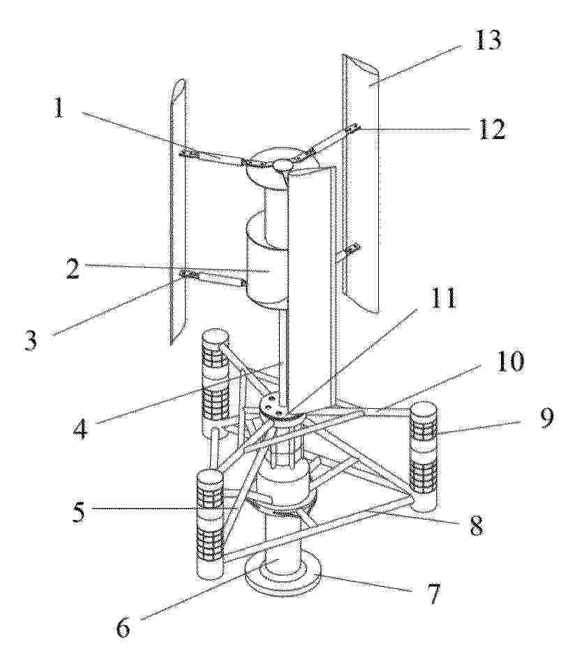
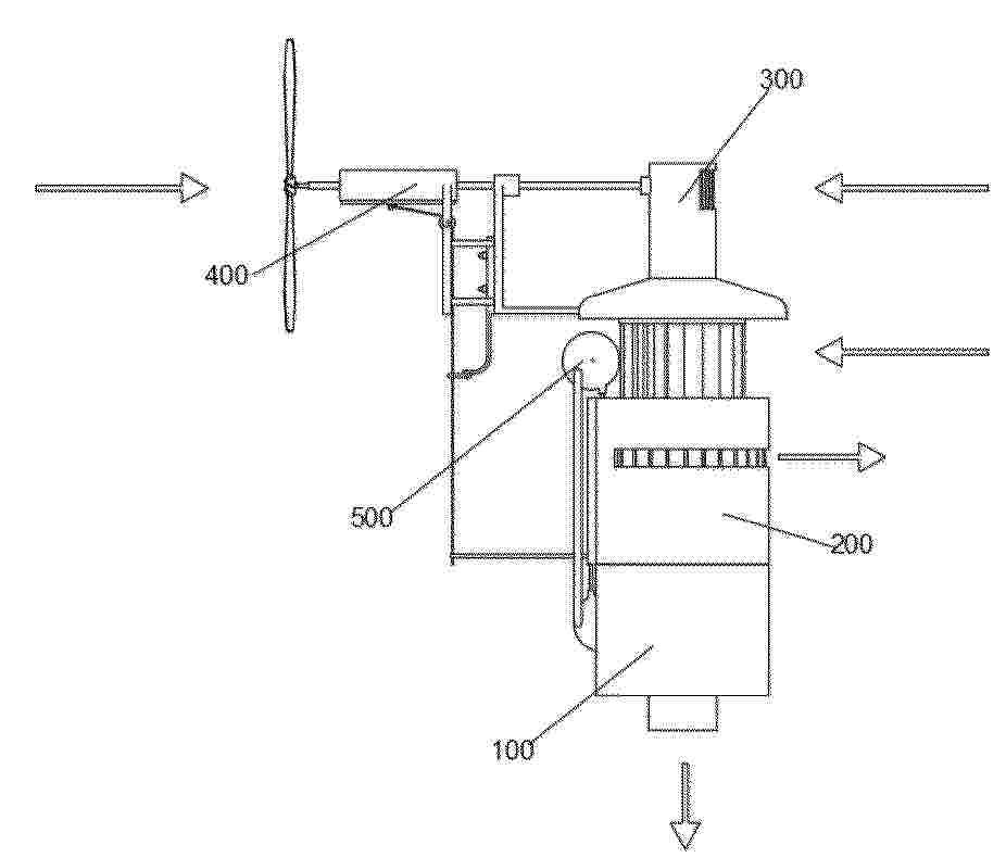
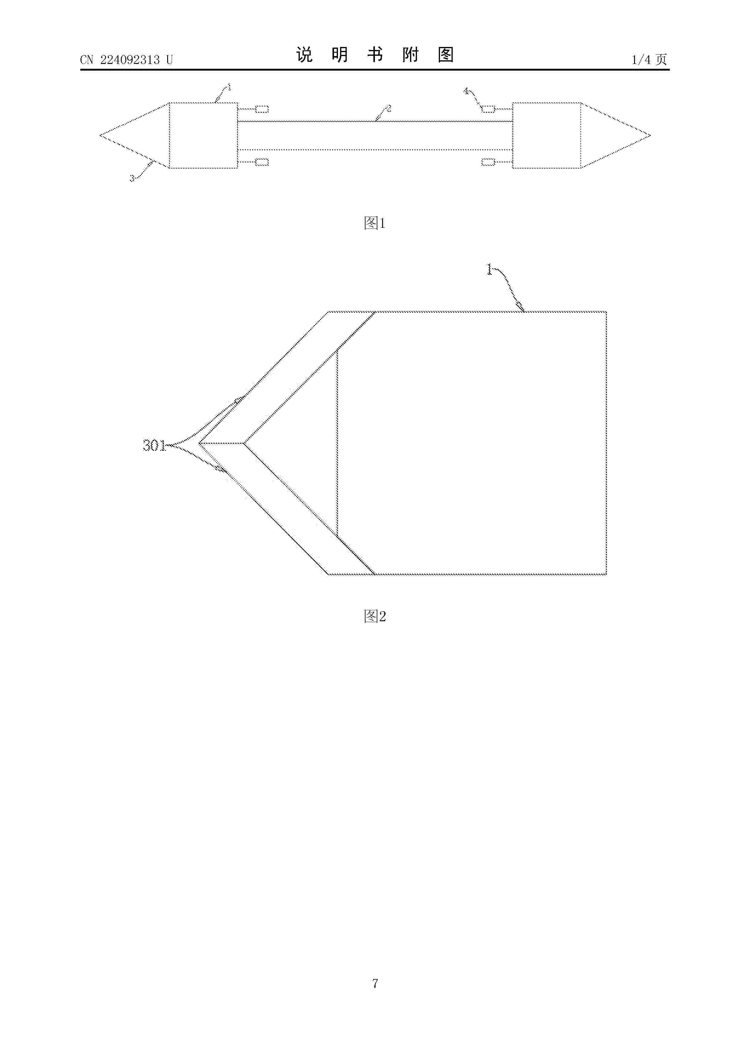
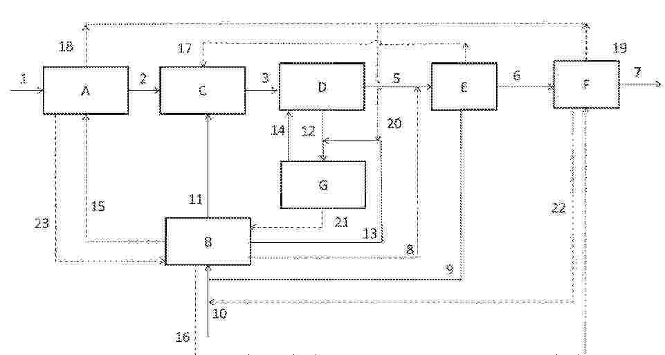
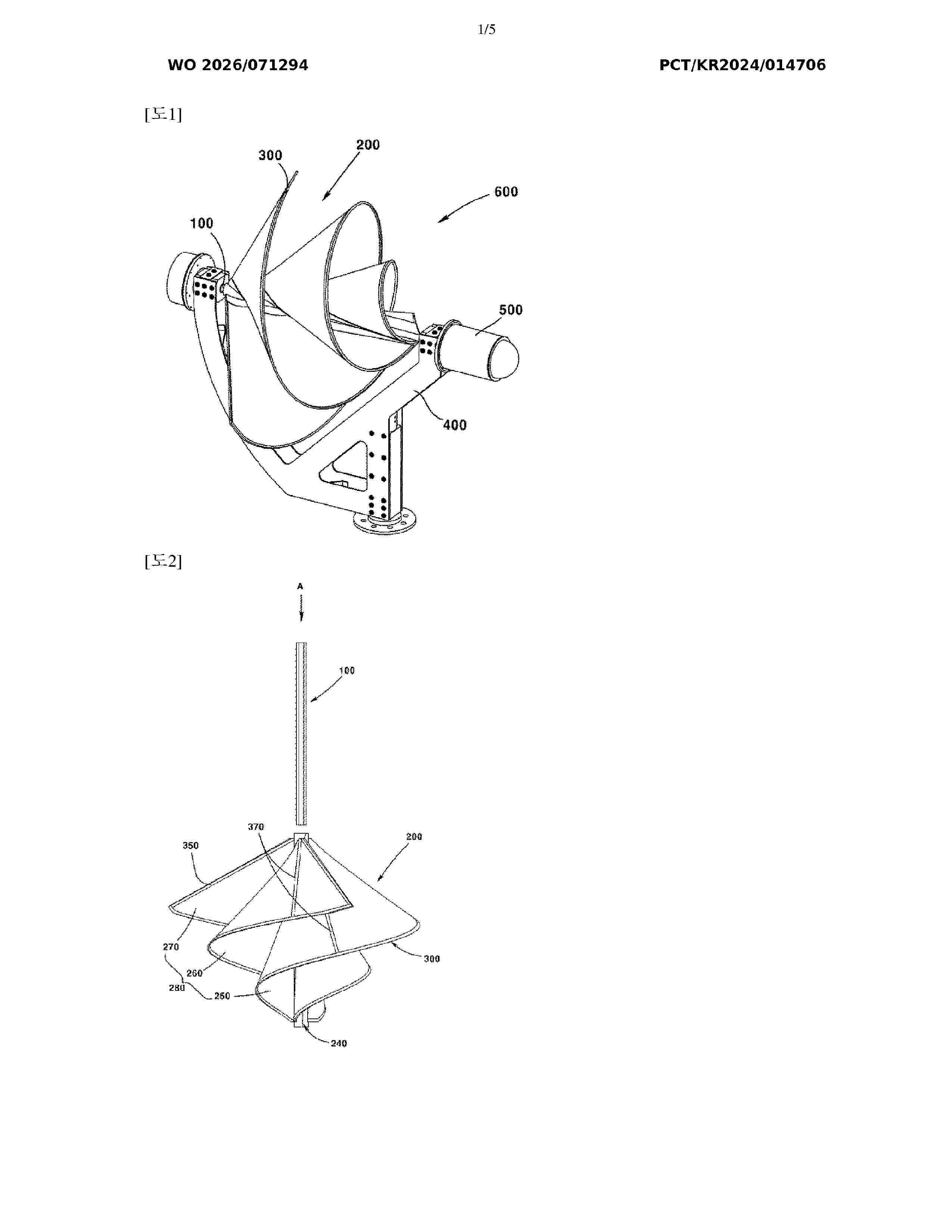
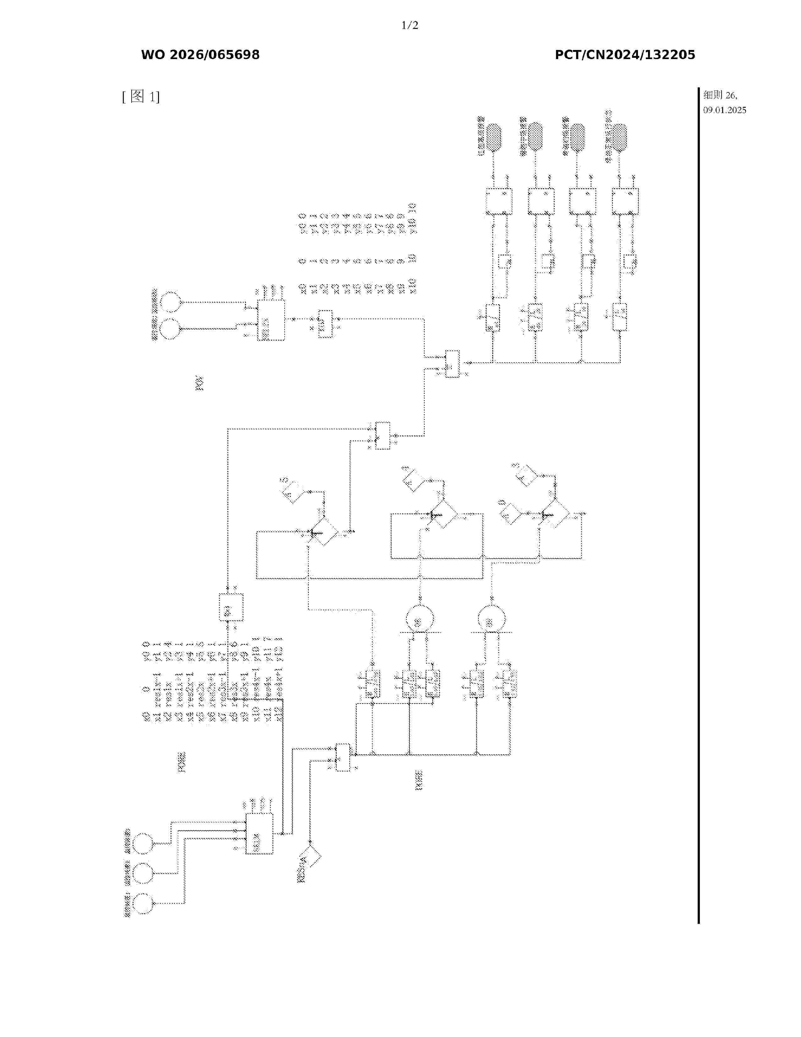
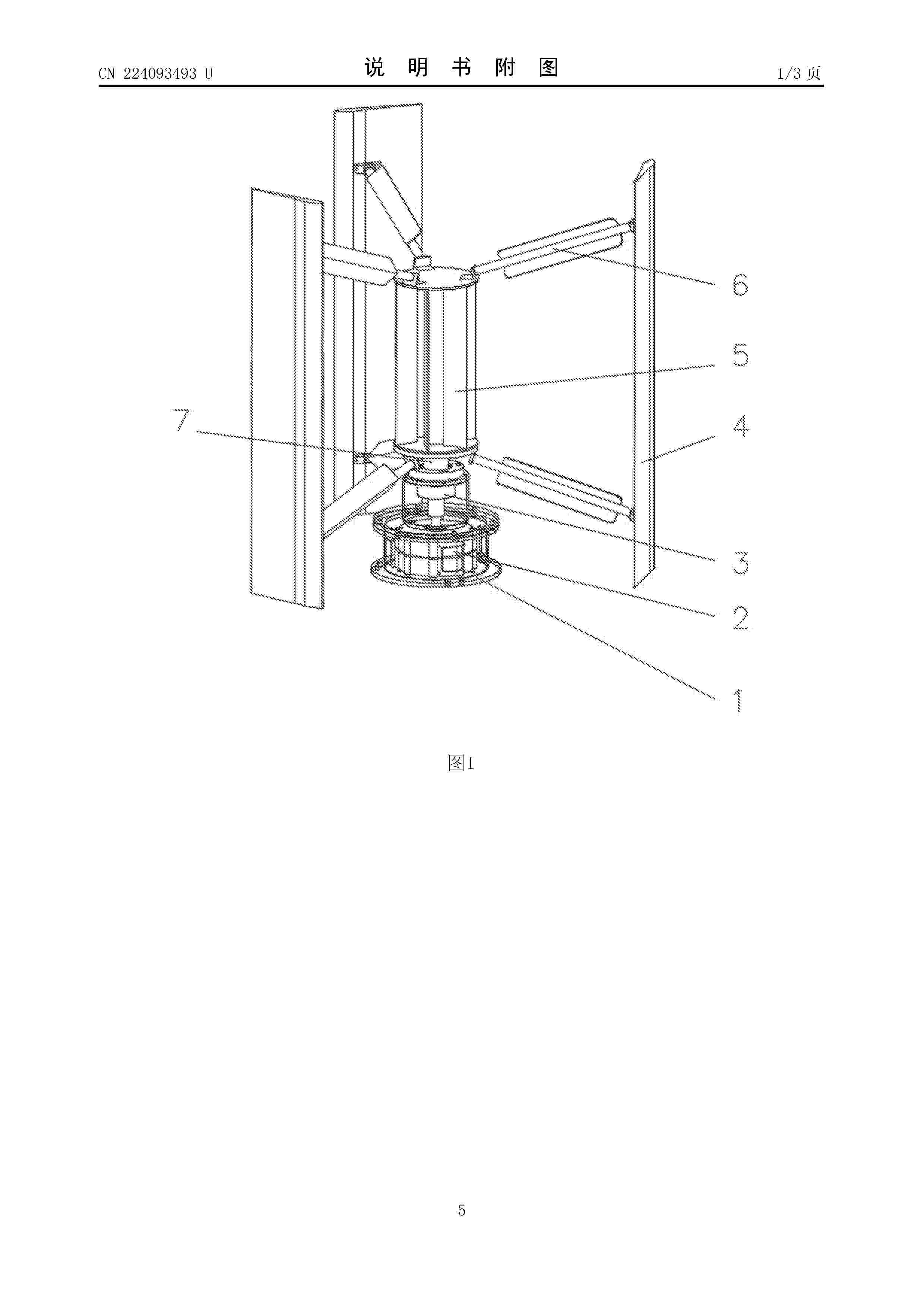
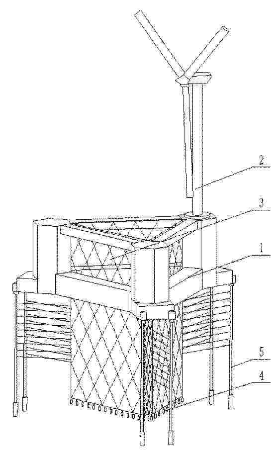
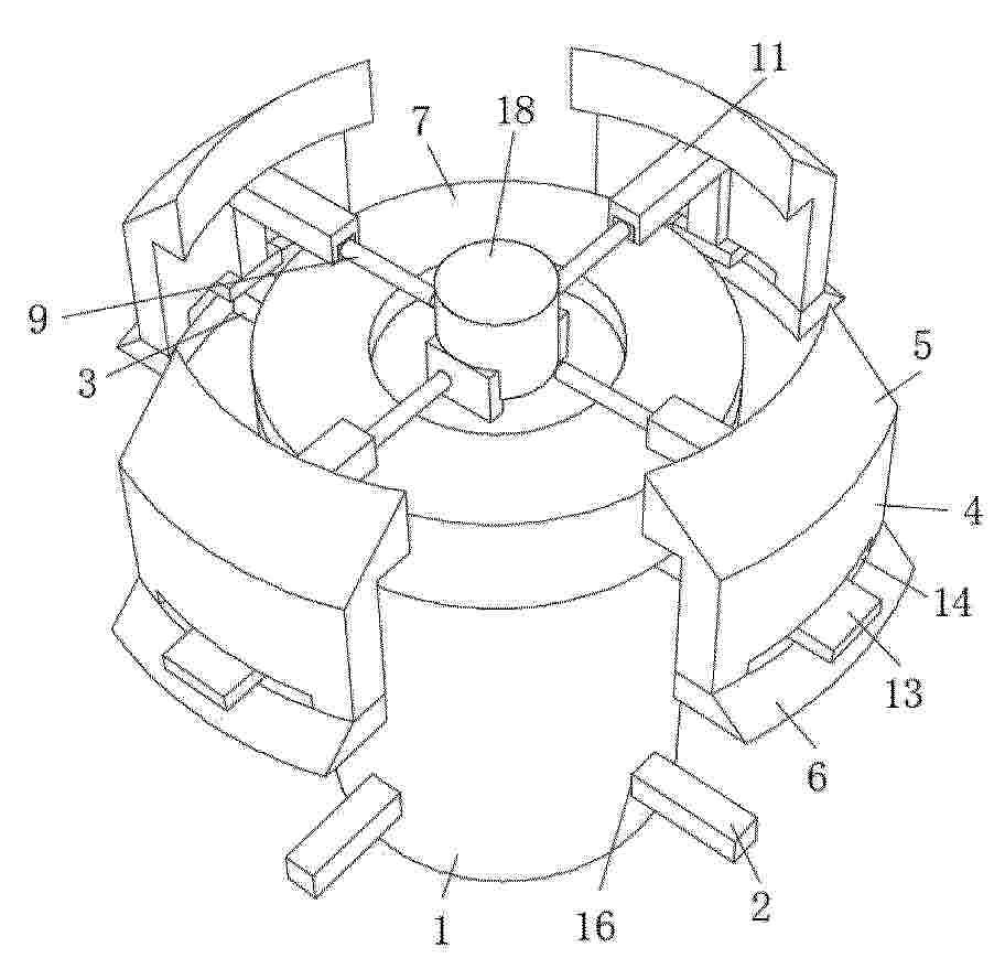
一种带辅助风板的导流聚风式风力机

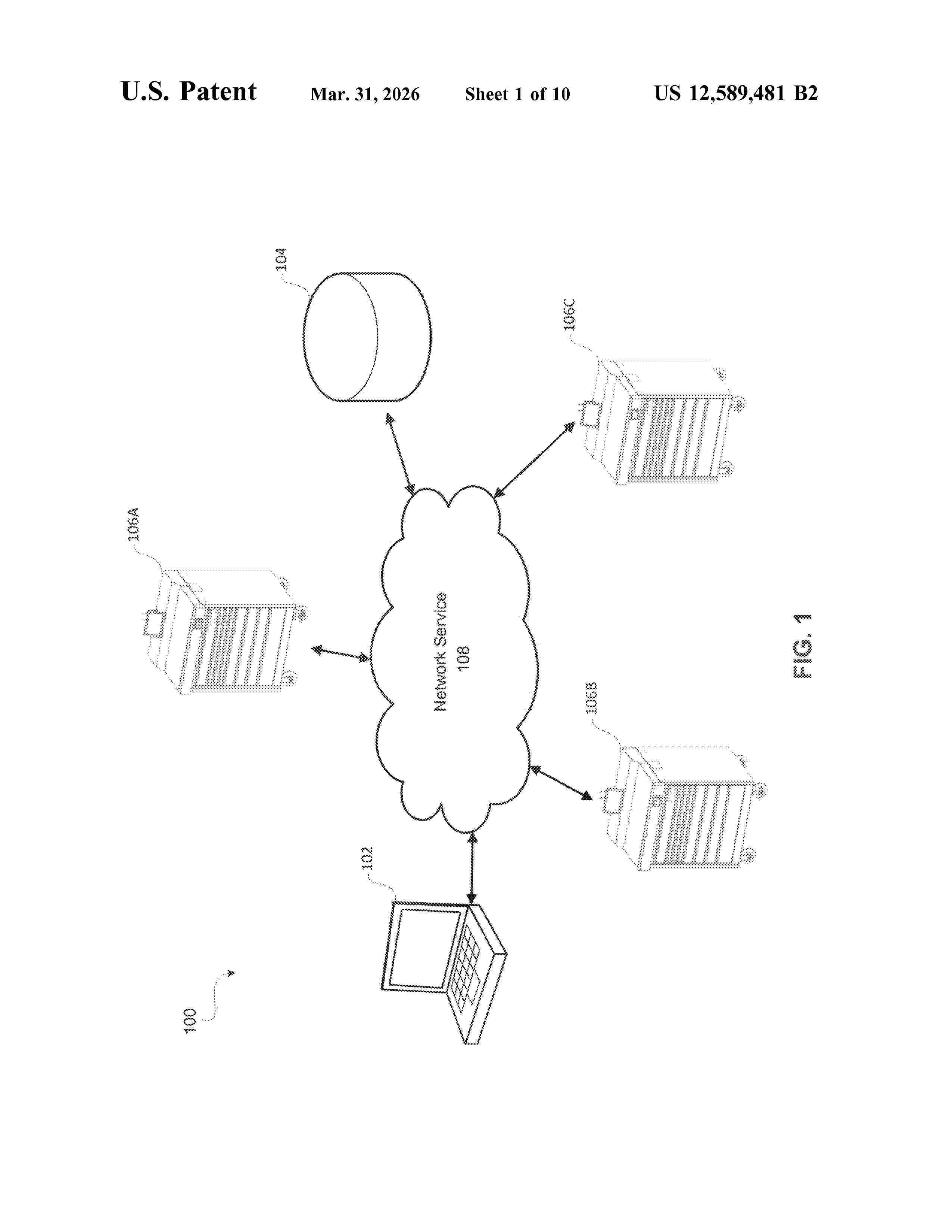
NºPublicación:  CN224107364U 10/04/2026
Solicitante: 
承风能源(太原)有限公司
CN_224107364_U

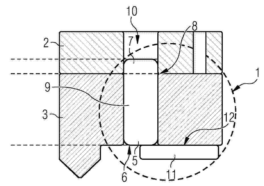
Resumen de: EP1000000A1

The invention relates to an apparatus (1) for manufacturing green bricks from clay for the brick manufacturing industry, comprising a circulating conveyor (3) carrying mould containers combined to mould container parts (4), a reservoir (5) for clay arranged above the mould containers, means for carrying clay out of the reservoir (5) into the mould containers, means (9) for pressing and trimming clay in the mould containers, means (11) for supplying and placing take-off plates for the green bricks (13) and means for discharging green bricks released from the mould containers, characterized in that the apparatus further comprises means (22) for moving the mould container parts (4) filled with green bricks such that a protruding edge is formed on at least one side of the green bricks.

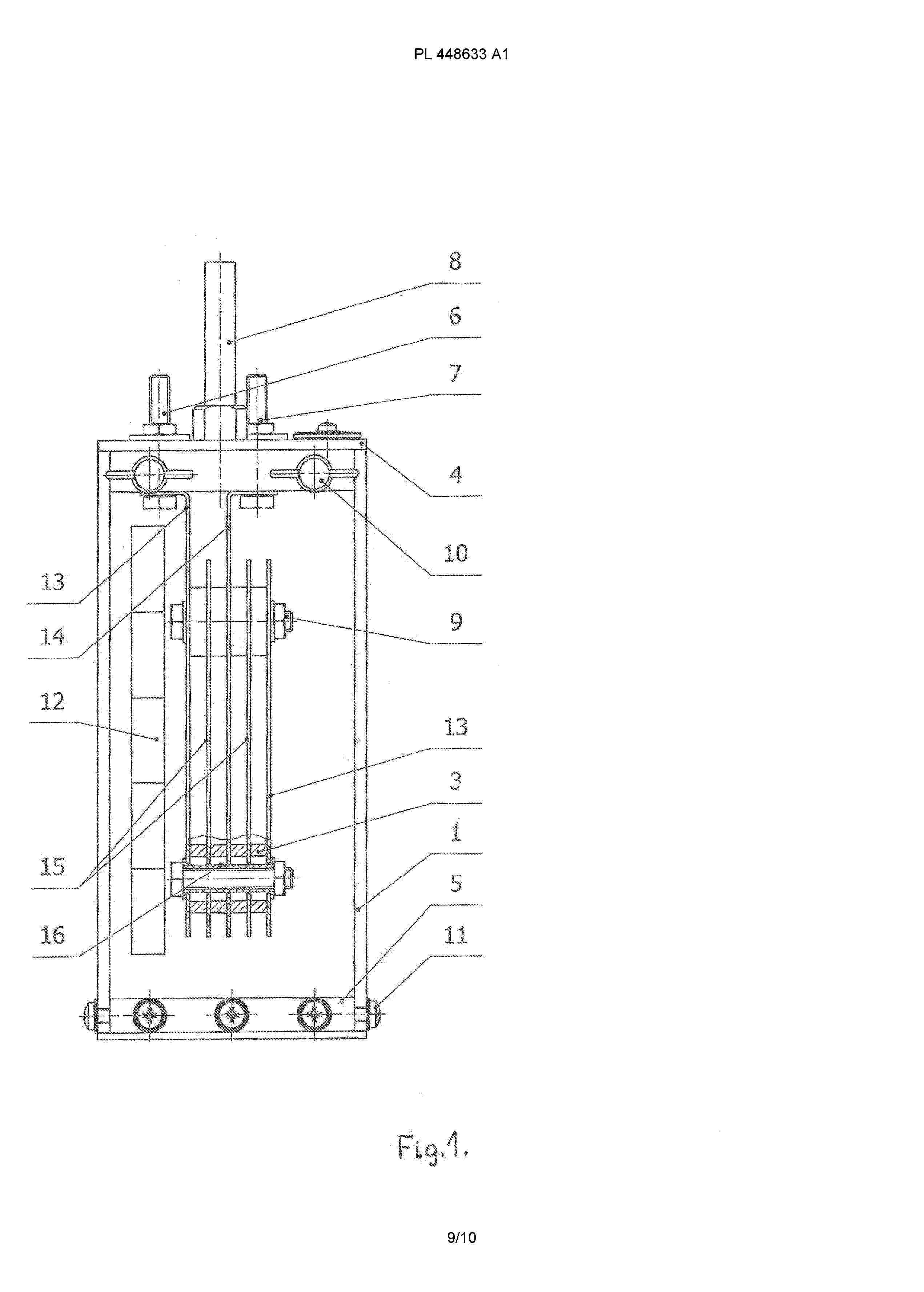
混凝土风电塔筒修补辅助装置

NºPublicación:  CN224107374U 10/04/2026
Solicitante: 
哈尔滨国统管道有限公司
CN_224107374_U

Resumen de: EP1000000A1

The invention relates to an apparatus (1) for manufacturing green bricks from clay for the brick manufacturing industry, comprising a circulating conveyor (3) carrying mould containers combined to mould container parts (4), a reservoir (5) for clay arranged above the mould containers, means for carrying clay out of the reservoir (5) into the mould containers, means (9) for pressing and trimming clay in the mould containers, means (11) for supplying and placing take-off plates for the green bricks (13) and means for discharging green bricks released from the mould containers, characterized in that the apparatus further comprises means (22) for moving the mould container parts (4) filled with green bricks such that a protruding edge is formed on at least one side of the green bricks.

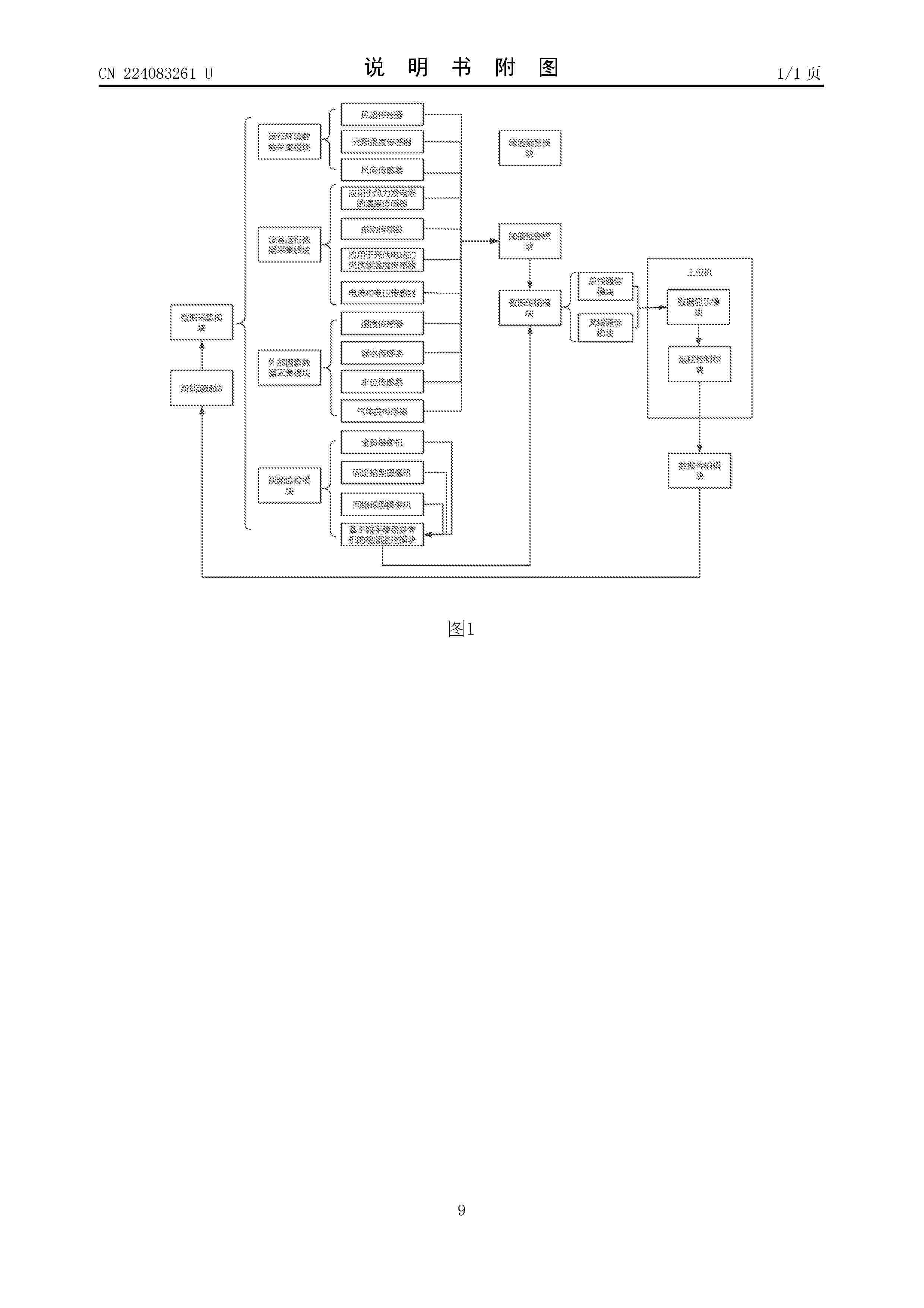
一种风机塔筒垂直度的在线智慧监测方法

NºPublicación:  CN121828117A 10/04/2026
Solicitante: 
深圳前海慧联科技发展有限公司
CN_121828117_PA

Resumen de: EP1000000A1

The invention relates to an apparatus (1) for manufacturing green bricks from clay for the brick manufacturing industry, comprising a circulating conveyor (3) carrying mould containers combined to mould container parts (4), a reservoir (5) for clay arranged above the mould containers, means for carrying clay out of the reservoir (5) into the mould containers, means (9) for pressing and trimming clay in the mould containers, means (11) for supplying and placing take-off plates for the green bricks (13) and means for discharging green bricks released from the mould containers, characterized in that the apparatus further comprises means (22) for moving the mould container parts (4) filled with green bricks such that a protruding edge is formed on at least one side of the green bricks.

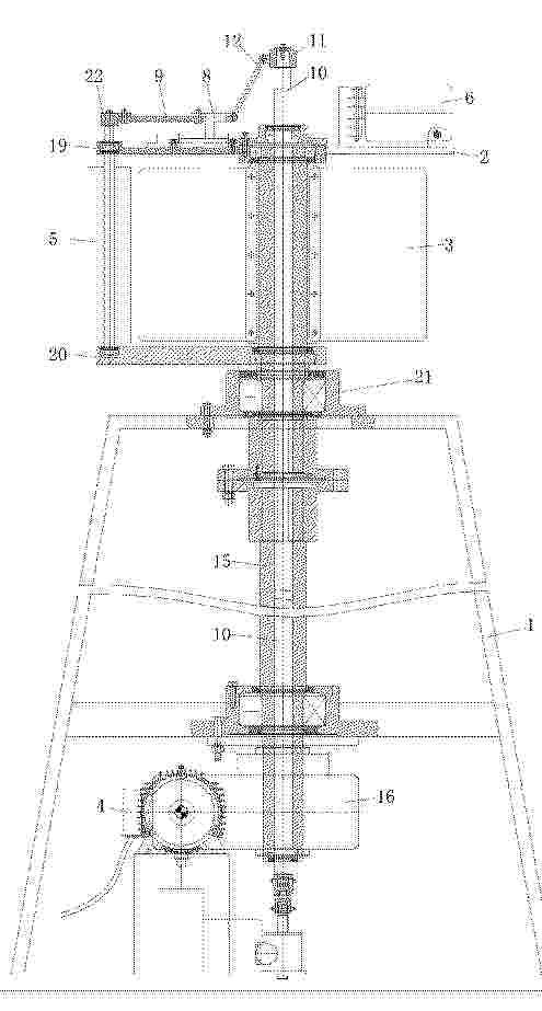
一种轻量化高强度风力发电法兰及其制造方法

NºPublicación:  CN121828118A 10/04/2026
Solicitante: 
马鞍山市广源法兰环件有限公司
CN_121828118_PA

Resumen de: EP1000000A1

The invention relates to an apparatus (1) for manufacturing green bricks from clay for the brick manufacturing industry, comprising a circulating conveyor (3) carrying mould containers combined to mould container parts (4), a reservoir (5) for clay arranged above the mould containers, means for carrying clay out of the reservoir (5) into the mould containers, means (9) for pressing and trimming clay in the mould containers, means (11) for supplying and placing take-off plates for the green bricks (13) and means for discharging green bricks released from the mould containers, characterized in that the apparatus further comprises means (22) for moving the mould container parts (4) filled with green bricks such that a protruding edge is formed on at least one side of the green bricks.

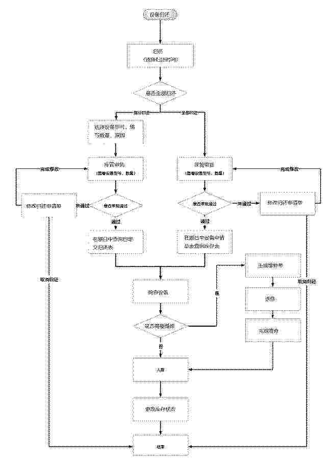
一种基于热储能材料的风电机组防除冰的能量管理系统及方法

NºPublicación:  CN121828120A 10/04/2026
Solicitante: 
湖南大学
CN_121828120_PA

Resumen de: EP1000000A1

The invention relates to an apparatus (1) for manufacturing green bricks from clay for the brick manufacturing industry, comprising a circulating conveyor (3) carrying mould containers combined to mould container parts (4), a reservoir (5) for clay arranged above the mould containers, means for carrying clay out of the reservoir (5) into the mould containers, means (9) for pressing and trimming clay in the mould containers, means (11) for supplying and placing take-off plates for the green bricks (13) and means for discharging green bricks released from the mould containers, characterized in that the apparatus further comprises means (22) for moving the mould container parts (4) filled with green bricks such that a protruding edge is formed on at least one side of the green bricks.

一种光伏与风力组合发电系统

NºPublicación:  CN121841228A 10/04/2026
Solicitante: 
北京御骅哲曦科技有限公司
CN_121841228_PA

Resumen de: EP1000000A1

The invention relates to an apparatus (1) for manufacturing green bricks from clay for the brick manufacturing industry, comprising a circulating conveyor (3) carrying mould containers combined to mould container parts (4), a reservoir (5) for clay arranged above the mould containers, means for carrying clay out of the reservoir (5) into the mould containers, means (9) for pressing and trimming clay in the mould containers, means (11) for supplying and placing take-off plates for the green bricks (13) and means for discharging green bricks released from the mould containers, characterized in that the apparatus further comprises means (22) for moving the mould container parts (4) filled with green bricks such that a protruding edge is formed on at least one side of the green bricks.

一种预制装配式混凝土塔筒快速拼装结构

NºPublicación:  CN224107372U 10/04/2026
Solicitante: 
中铁十四局集团房桥有限公司
CN_224107372_U

Resumen de: EP1000000A1

The invention relates to an apparatus (1) for manufacturing green bricks from clay for the brick manufacturing industry, comprising a circulating conveyor (3) carrying mould containers combined to mould container parts (4), a reservoir (5) for clay arranged above the mould containers, means for carrying clay out of the reservoir (5) into the mould containers, means (9) for pressing and trimming clay in the mould containers, means (11) for supplying and placing take-off plates for the green bricks (13) and means for discharging green bricks released from the mould containers, characterized in that the apparatus further comprises means (22) for moving the mould container parts (4) filled with green bricks such that a protruding edge is formed on at least one side of the green bricks.

一种风电机组偏航校正装置

NºPublicación:  CN224107369U 10/04/2026
Solicitante: 
北京维西通技术服务有限公司
CN_224107369_U

Resumen de: EP1000000A1

The invention relates to an apparatus (1) for manufacturing green bricks from clay for the brick manufacturing industry, comprising a circulating conveyor (3) carrying mould containers combined to mould container parts (4), a reservoir (5) for clay arranged above the mould containers, means for carrying clay out of the reservoir (5) into the mould containers, means (9) for pressing and trimming clay in the mould containers, means (11) for supplying and placing take-off plates for the green bricks (13) and means for discharging green bricks released from the mould containers, characterized in that the apparatus further comprises means (22) for moving the mould container parts (4) filled with green bricks such that a protruding edge is formed on at least one side of the green bricks.

一种风力发电机叶片生产用转运装置

NºPublicación:  CN224104123U 10/04/2026
Solicitante: 
江苏乃尔风电技术开发有限公司
CN_224104123_U

Resumen de: EP1000000A1

The invention relates to an apparatus (1) for manufacturing green bricks from clay for the brick manufacturing industry, comprising a circulating conveyor (3) carrying mould containers combined to mould container parts (4), a reservoir (5) for clay arranged above the mould containers, means for carrying clay out of the reservoir (5) into the mould containers, means (9) for pressing and trimming clay in the mould containers, means (11) for supplying and placing take-off plates for the green bricks (13) and means for discharging green bricks released from the mould containers, characterized in that the apparatus further comprises means (22) for moving the mould container parts (4) filled with green bricks such that a protruding edge is formed on at least one side of the green bricks.

一种用于海上风电的加固装置

NºPublicación:  CN224107375U 10/04/2026
Solicitante: 
华电(福建)风电有限公司
CN_224107375_U

Resumen de: EP1000000A1

The invention relates to an apparatus (1) for manufacturing green bricks from clay for the brick manufacturing industry, comprising a circulating conveyor (3) carrying mould containers combined to mould container parts (4), a reservoir (5) for clay arranged above the mould containers, means for carrying clay out of the reservoir (5) into the mould containers, means (9) for pressing and trimming clay in the mould containers, means (11) for supplying and placing take-off plates for the green bricks (13) and means for discharging green bricks released from the mould containers, characterized in that the apparatus further comprises means (22) for moving the mould container parts (4) filled with green bricks such that a protruding edge is formed on at least one side of the green bricks.

一种具有无线通信系统的变桨风机

NºPublicación:  CN224107371U 10/04/2026
Solicitante: 
四川中能驭风新能源有限公司
CN_224107371_U

Resumen de: EP1000000A1

The invention relates to an apparatus (1) for manufacturing green bricks from clay for the brick manufacturing industry, comprising a circulating conveyor (3) carrying mould containers combined to mould container parts (4), a reservoir (5) for clay arranged above the mould containers, means for carrying clay out of the reservoir (5) into the mould containers, means (9) for pressing and trimming clay in the mould containers, means (11) for supplying and placing take-off plates for the green bricks (13) and means for discharging green bricks released from the mould containers, characterized in that the apparatus further comprises means (22) for moving the mould container parts (4) filled with green bricks such that a protruding edge is formed on at least one side of the green bricks.

拼接塔筒及其制作方法

NºPublicación:  CN121828102A 10/04/2026
Solicitante: 
国机智能(北京)机械科学研究院
CN_121828102_PA

Resumen de: EP1000000A1

The invention relates to an apparatus (1) for manufacturing green bricks from clay for the brick manufacturing industry, comprising a circulating conveyor (3) carrying mould containers combined to mould container parts (4), a reservoir (5) for clay arranged above the mould containers, means for carrying clay out of the reservoir (5) into the mould containers, means (9) for pressing and trimming clay in the mould containers, means (11) for supplying and placing take-off plates for the green bricks (13) and means for discharging green bricks released from the mould containers, characterized in that the apparatus further comprises means (22) for moving the mould container parts (4) filled with green bricks such that a protruding edge is formed on at least one side of the green bricks.

一种高位多功能水池

NºPublicación:  CN121827428A 10/04/2026
Solicitante: 
湖南保森消防科技有限公司
CN_121827428_PA

Resumen de: EP1000000A1

The invention relates to an apparatus (1) for manufacturing green bricks from clay for the brick manufacturing industry, comprising a circulating conveyor (3) carrying mould containers combined to mould container parts (4), a reservoir (5) for clay arranged above the mould containers, means for carrying clay out of the reservoir (5) into the mould containers, means (9) for pressing and trimming clay in the mould containers, means (11) for supplying and placing take-off plates for the green bricks (13) and means for discharging green bricks released from the mould containers, characterized in that the apparatus further comprises means (22) for moving the mould container parts (4) filled with green bricks such that a protruding edge is formed on at least one side of the green bricks.

风力发电机组机舱及控制柜的散热方法及系统

NºPublicación:  CN121828121A 10/04/2026
Solicitante: 
华能新疆三塘湖风力发电有限责任公司五寨县太重新能源风力发电有限公司
CN_121828121_PA

Resumen de: EP1000000A1

The invention relates to an apparatus (1) for manufacturing green bricks from clay for the brick manufacturing industry, comprising a circulating conveyor (3) carrying mould containers combined to mould container parts (4), a reservoir (5) for clay arranged above the mould containers, means for carrying clay out of the reservoir (5) into the mould containers, means (9) for pressing and trimming clay in the mould containers, means (11) for supplying and placing take-off plates for the green bricks (13) and means for discharging green bricks released from the mould containers, characterized in that the apparatus further comprises means (22) for moving the mould container parts (4) filled with green bricks such that a protruding edge is formed on at least one side of the green bricks.

一种利用汽车行驶风力动能转化为电能的方法

NºPublicación:  CN121828097A 10/04/2026
Solicitante: 
罗威
CN_121828097_PA

Resumen de: EP1000000A1

The invention relates to an apparatus (1) for manufacturing green bricks from clay for the brick manufacturing industry, comprising a circulating conveyor (3) carrying mould containers combined to mould container parts (4), a reservoir (5) for clay arranged above the mould containers, means for carrying clay out of the reservoir (5) into the mould containers, means (9) for pressing and trimming clay in the mould containers, means (11) for supplying and placing take-off plates for the green bricks (13) and means for discharging green bricks released from the mould containers, characterized in that the apparatus further comprises means (22) for moving the mould container parts (4) filled with green bricks such that a protruding edge is formed on at least one side of the green bricks.

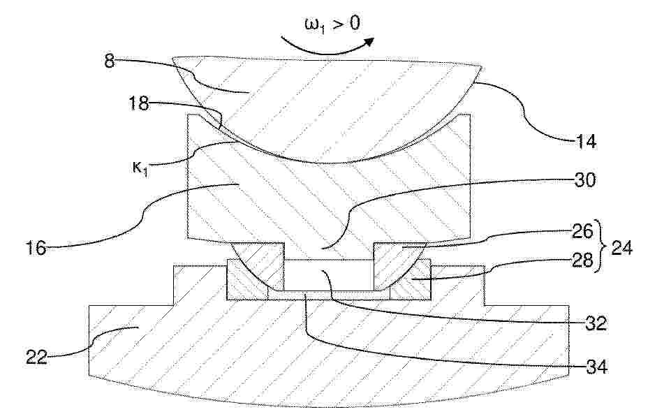
一种风力发电机组凹坑塔筒加固结构

NºPublicación:  CN224107381U 10/04/2026
Solicitante: 
东方电气风电股份有限公司
CN_224107381_U

Resumen de: EP1000000A1

The invention relates to an apparatus (1) for manufacturing green bricks from clay for the brick manufacturing industry, comprising a circulating conveyor (3) carrying mould containers combined to mould container parts (4), a reservoir (5) for clay arranged above the mould containers, means for carrying clay out of the reservoir (5) into the mould containers, means (9) for pressing and trimming clay in the mould containers, means (11) for supplying and placing take-off plates for the green bricks (13) and means for discharging green bricks released from the mould containers, characterized in that the apparatus further comprises means (22) for moving the mould container parts (4) filled with green bricks such that a protruding edge is formed on at least one side of the green bricks.

一种风机塔筒倾斜监测装置

NºPublicación:  CN224107376U 10/04/2026
Solicitante: 
华电新能源集团股份有限公司山西分公司
CN_224107376_U

Resumen de: EP1000000A1

The invention relates to an apparatus (1) for manufacturing green bricks from clay for the brick manufacturing industry, comprising a circulating conveyor (3) carrying mould containers combined to mould container parts (4), a reservoir (5) for clay arranged above the mould containers, means for carrying clay out of the reservoir (5) into the mould containers, means (9) for pressing and trimming clay in the mould containers, means (11) for supplying and placing take-off plates for the green bricks (13) and means for discharging green bricks released from the mould containers, characterized in that the apparatus further comprises means (22) for moving the mould container parts (4) filled with green bricks such that a protruding edge is formed on at least one side of the green bricks.

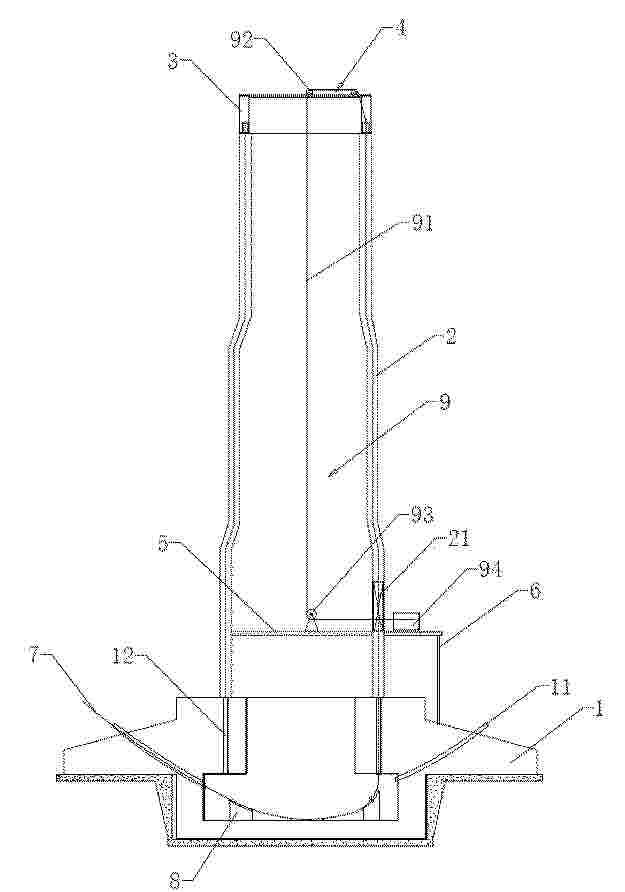
一种下风向导流聚风式风力机

NºPublicación:  CN224107363U 10/04/2026
Solicitante: 
承风能源(太原)有限公司
CN_224107363_U

Resumen de: EP1000000A1

The invention relates to an apparatus (1) for manufacturing green bricks from clay for the brick manufacturing industry, comprising a circulating conveyor (3) carrying mould containers combined to mould container parts (4), a reservoir (5) for clay arranged above the mould containers, means for carrying clay out of the reservoir (5) into the mould containers, means (9) for pressing and trimming clay in the mould containers, means (11) for supplying and placing take-off plates for the green bricks (13) and means for discharging green bricks released from the mould containers, characterized in that the apparatus further comprises means (22) for moving the mould container parts (4) filled with green bricks such that a protruding edge is formed on at least one side of the green bricks.

一种风电机组水平单叶片吊具

NºPublicación:  CN224105405U 10/04/2026
Solicitante: 
新疆华电天山发电有限公司中铁一局集团有限公司中铁一局集团电务工程有限公司金风科技股份有限公司西安建筑科技大学
CN_224105405_U

Resumen de: EP1000000A1

The invention relates to an apparatus (1) for manufacturing green bricks from clay for the brick manufacturing industry, comprising a circulating conveyor (3) carrying mould containers combined to mould container parts (4), a reservoir (5) for clay arranged above the mould containers, means for carrying clay out of the reservoir (5) into the mould containers, means (9) for pressing and trimming clay in the mould containers, means (11) for supplying and placing take-off plates for the green bricks (13) and means for discharging green bricks released from the mould containers, characterized in that the apparatus further comprises means (22) for moving the mould container parts (4) filled with green bricks such that a protruding edge is formed on at least one side of the green bricks.

基于混合加权滤波与自抗扰变桨的风机功率平滑方法

NºPublicación:  CN121828089A 10/04/2026
Solicitante: 
河海大学
CN_121828089_PA

Resumen de: EP1000000A1

The invention relates to an apparatus (1) for manufacturing green bricks from clay for the brick manufacturing industry, comprising a circulating conveyor (3) carrying mould containers combined to mould container parts (4), a reservoir (5) for clay arranged above the mould containers, means for carrying clay out of the reservoir (5) into the mould containers, means (9) for pressing and trimming clay in the mould containers, means (11) for supplying and placing take-off plates for the green bricks (13) and means for discharging green bricks released from the mould containers, characterized in that the apparatus further comprises means (22) for moving the mould container parts (4) filled with green bricks such that a protruding edge is formed on at least one side of the green bricks.

一种用于压缩空气储能系统的电网振荡抑制方法

NºPublicación:  CN121840799A 10/04/2026
Solicitante: 
国华(诸城)风力发电有限公司
CN_121840799_PA

Resumen de: EP1000000A1

The invention relates to an apparatus (1) for manufacturing green bricks from clay for the brick manufacturing industry, comprising a circulating conveyor (3) carrying mould containers combined to mould container parts (4), a reservoir (5) for clay arranged above the mould containers, means for carrying clay out of the reservoir (5) into the mould containers, means (9) for pressing and trimming clay in the mould containers, means (11) for supplying and placing take-off plates for the green bricks (13) and means for discharging green bricks released from the mould containers, characterized in that the apparatus further comprises means (22) for moving the mould container parts (4) filled with green bricks such that a protruding edge is formed on at least one side of the green bricks.

一种基于零碳环保的风力发电设备

NºPublicación:  CN121828081A 10/04/2026
Solicitante: 
青岛恒源新电力设计院有限公司
CN_121828081_PA

Resumen de: EP1000000A1

The invention relates to an apparatus (1) for manufacturing green bricks from clay for the brick manufacturing industry, comprising a circulating conveyor (3) carrying mould containers combined to mould container parts (4), a reservoir (5) for clay arranged above the mould containers, means for carrying clay out of the reservoir (5) into the mould containers, means (9) for pressing and trimming clay in the mould containers, means (11) for supplying and placing take-off plates for the green bricks (13) and means for discharging green bricks released from the mould containers, characterized in that the apparatus further comprises means (22) for moving the mould container parts (4) filled with green bricks such that a protruding edge is formed on at least one side of the green bricks.

一种基于源网荷储系统的风力发电设备

NºPublicación:  CN121828086A 10/04/2026
Solicitante: 
青岛恒源新电力科技有限公司
CN_121828086_PA

Resumen de: EP1000000A1

The invention relates to an apparatus (1) for manufacturing green bricks from clay for the brick manufacturing industry, comprising a circulating conveyor (3) carrying mould containers combined to mould container parts (4), a reservoir (5) for clay arranged above the mould containers, means for carrying clay out of the reservoir (5) into the mould containers, means (9) for pressing and trimming clay in the mould containers, means (11) for supplying and placing take-off plates for the green bricks (13) and means for discharging green bricks released from the mould containers, characterized in that the apparatus further comprises means (22) for moving the mould container parts (4) filled with green bricks such that a protruding edge is formed on at least one side of the green bricks.

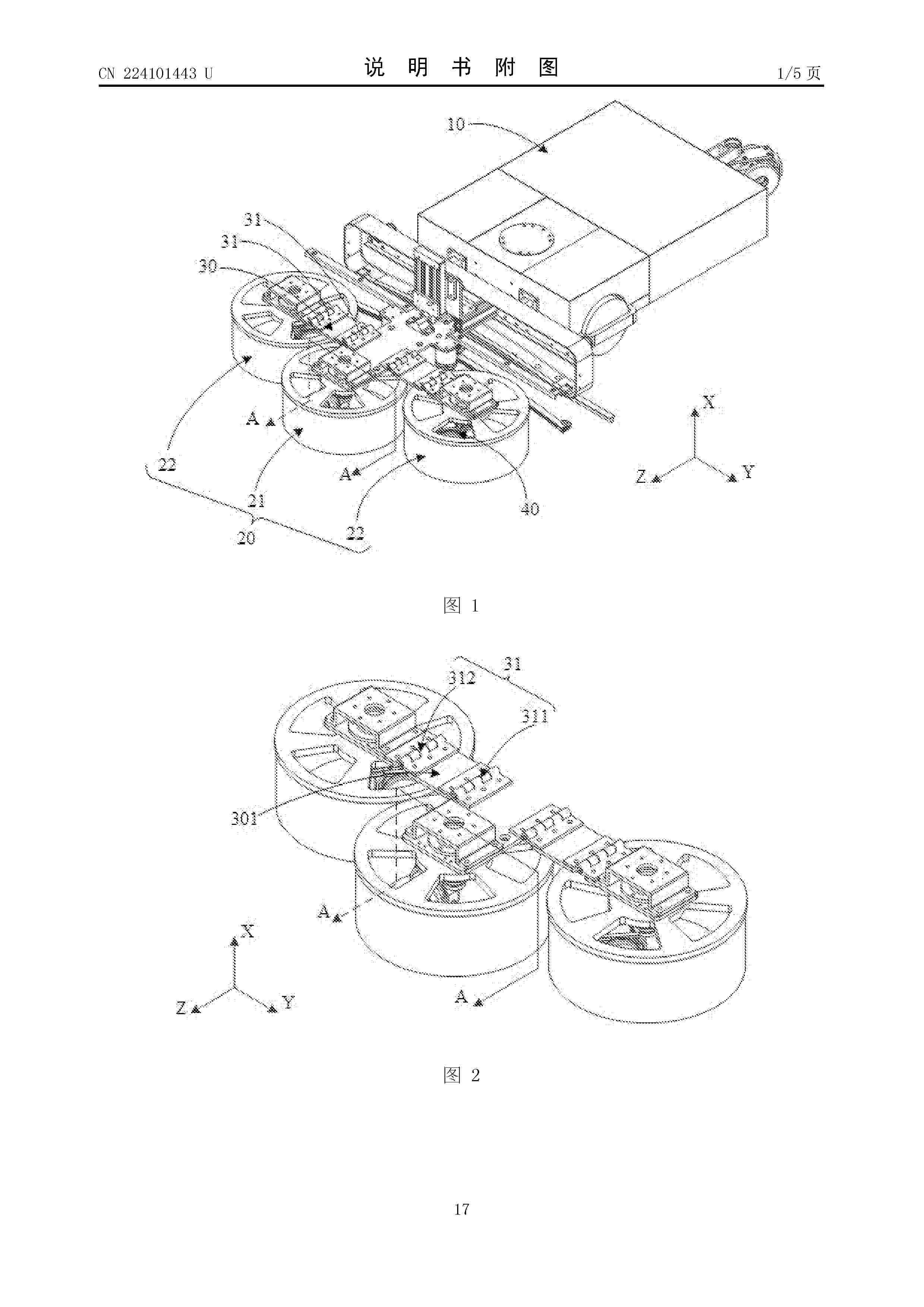
一种适应曲面的作业装置

NºPublicación:  CN224101443U 10/04/2026
Solicitante: 
慧兮(北京)科技有限公司
CN_224101443_U

Resumen de: EP1000000A1

The invention relates to an apparatus (1) for manufacturing green bricks from clay for the brick manufacturing industry, comprising a circulating conveyor (3) carrying mould containers combined to mould container parts (4), a reservoir (5) for clay arranged above the mould containers, means for carrying clay out of the reservoir (5) into the mould containers, means (9) for pressing and trimming clay in the mould containers, means (11) for supplying and placing take-off plates for the green bricks (13) and means for discharging green bricks released from the mould containers, characterized in that the apparatus further comprises means (22) for moving the mould container parts (4) filled with green bricks such that a protruding edge is formed on at least one side of the green bricks.

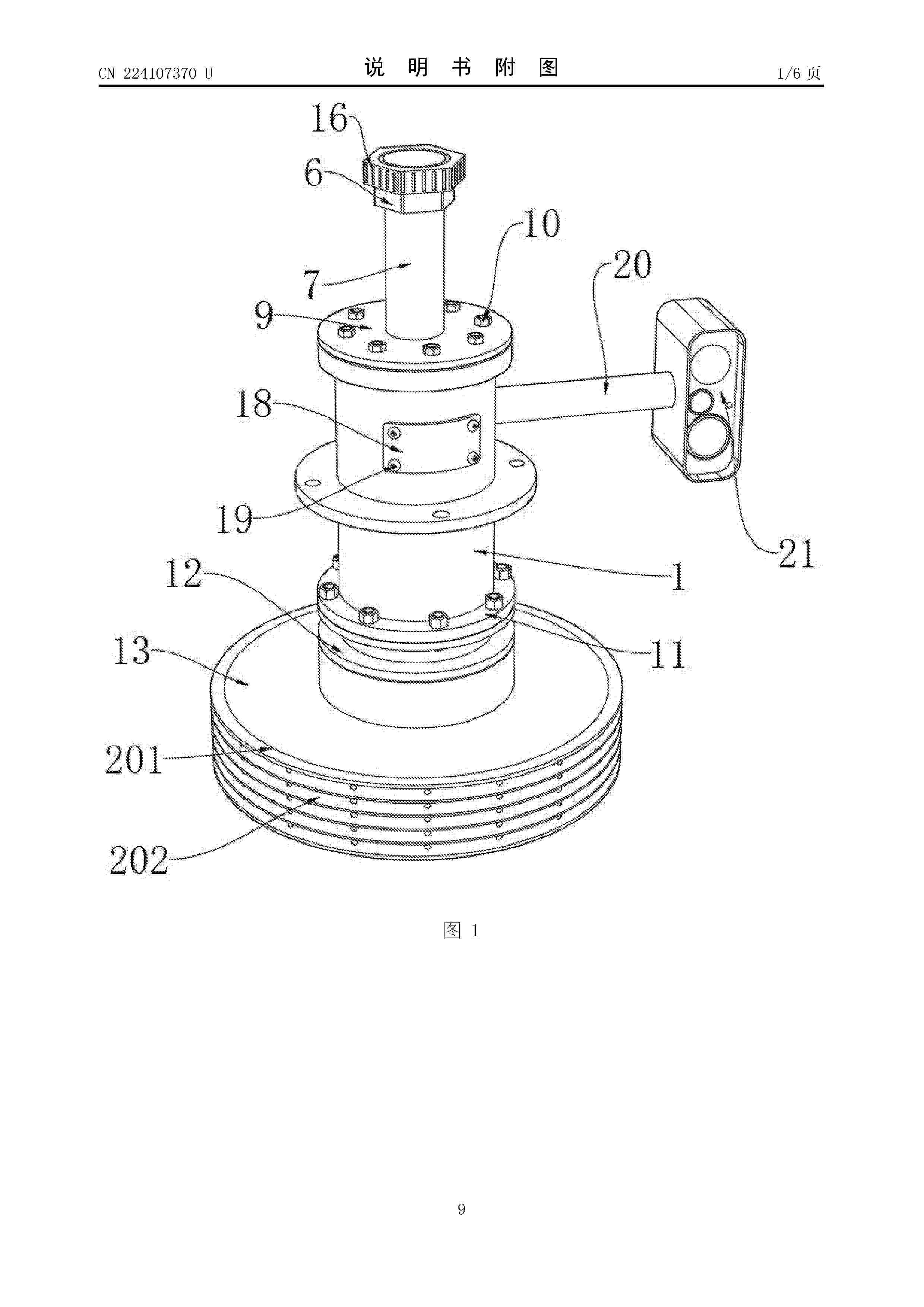
一种节能风车

NºPublicación:  CN224107370U 10/04/2026
Solicitante: 
上海豪强农机有限公司
CN_224107370_U

Resumen de: EP1000000A1

The invention relates to an apparatus (1) for manufacturing green bricks from clay for the brick manufacturing industry, comprising a circulating conveyor (3) carrying mould containers combined to mould container parts (4), a reservoir (5) for clay arranged above the mould containers, means for carrying clay out of the reservoir (5) into the mould containers, means (9) for pressing and trimming clay in the mould containers, means (11) for supplying and placing take-off plates for the green bricks (13) and means for discharging green bricks released from the mould containers, characterized in that the apparatus further comprises means (22) for moving the mould container parts (4) filled with green bricks such that a protruding edge is formed on at least one side of the green bricks.

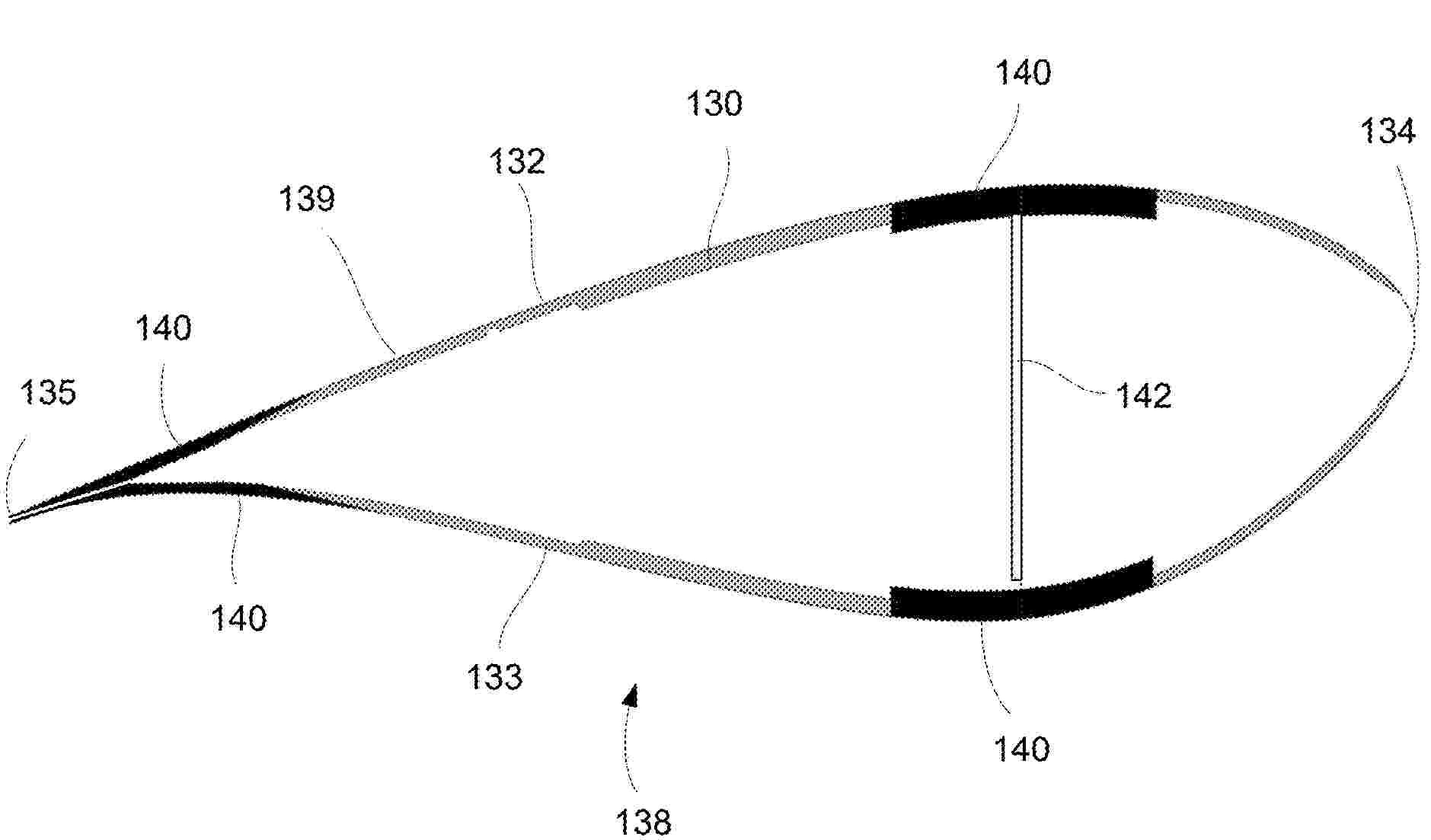
一种防结冰风力发电叶片

NºPublicación:  CN224107366U 10/04/2026
Solicitante: 
东北电力大学
CN_224107366_U

Resumen de: EP1000000A1

The invention relates to an apparatus (1) for manufacturing green bricks from clay for the brick manufacturing industry, comprising a circulating conveyor (3) carrying mould containers combined to mould container parts (4), a reservoir (5) for clay arranged above the mould containers, means for carrying clay out of the reservoir (5) into the mould containers, means (9) for pressing and trimming clay in the mould containers, means (11) for supplying and placing take-off plates for the green bricks (13) and means for discharging green bricks released from the mould containers, characterized in that the apparatus further comprises means (22) for moving the mould container parts (4) filled with green bricks such that a protruding edge is formed on at least one side of the green bricks.

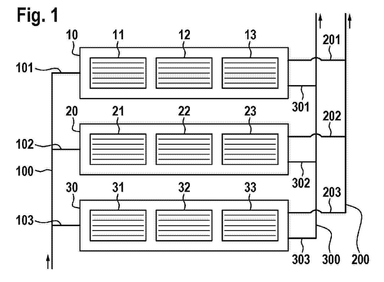
多工位模块化风力发电舱

NºPublicación:  CN224107373U 10/04/2026
Solicitante: 
河北浦深电气设备有限公司
CN_224107373_U

Resumen de: EP1000000A1

The invention relates to an apparatus (1) for manufacturing green bricks from clay for the brick manufacturing industry, comprising a circulating conveyor (3) carrying mould containers combined to mould container parts (4), a reservoir (5) for clay arranged above the mould containers, means for carrying clay out of the reservoir (5) into the mould containers, means (9) for pressing and trimming clay in the mould containers, means (11) for supplying and placing take-off plates for the green bricks (13) and means for discharging green bricks released from the mould containers, characterized in that the apparatus further comprises means (22) for moving the mould container parts (4) filled with green bricks such that a protruding edge is formed on at least one side of the green bricks.

一种风电场集电线路保护装置

NºPublicación:  CN224110844U 10/04/2026
Solicitante: 
河南裕晟电力工程有限公司
CN_224110844_U

Resumen de: EP1000000A1

The invention relates to an apparatus (1) for manufacturing green bricks from clay for the brick manufacturing industry, comprising a circulating conveyor (3) carrying mould containers combined to mould container parts (4), a reservoir (5) for clay arranged above the mould containers, means for carrying clay out of the reservoir (5) into the mould containers, means (9) for pressing and trimming clay in the mould containers, means (11) for supplying and placing take-off plates for the green bricks (13) and means for discharging green bricks released from the mould containers, characterized in that the apparatus further comprises means (22) for moving the mould container parts (4) filled with green bricks such that a protruding edge is formed on at least one side of the green bricks.

磁吸式风电桩基附着生物挂板装置

NºPublicación:  CN121828592A 10/04/2026
Solicitante: 
三峡新能源(烟台牟平区)有限公司自然资源部北海生态中心上海勘测设计研究院有限公司中国三峡新能源(集团)股份有限公司中国长江三峡集团有限公司
CN_121828592_PA

Resumen de: EP1000000A1

The invention relates to an apparatus (1) for manufacturing green bricks from clay for the brick manufacturing industry, comprising a circulating conveyor (3) carrying mould containers combined to mould container parts (4), a reservoir (5) for clay arranged above the mould containers, means for carrying clay out of the reservoir (5) into the mould containers, means (9) for pressing and trimming clay in the mould containers, means (11) for supplying and placing take-off plates for the green bricks (13) and means for discharging green bricks released from the mould containers, characterized in that the apparatus further comprises means (22) for moving the mould container parts (4) filled with green bricks such that a protruding edge is formed on at least one side of the green bricks.

一种基于环形轨道自适应式超大型风力发电系统

NºPublicación:  CN121828095A 10/04/2026
Solicitante: 
蓝家瑞
CN_121828095_PA

Resumen de: EP1000000A1

The invention relates to an apparatus (1) for manufacturing green bricks from clay for the brick manufacturing industry, comprising a circulating conveyor (3) carrying mould containers combined to mould container parts (4), a reservoir (5) for clay arranged above the mould containers, means for carrying clay out of the reservoir (5) into the mould containers, means (9) for pressing and trimming clay in the mould containers, means (11) for supplying and placing take-off plates for the green bricks (13) and means for discharging green bricks released from the mould containers, characterized in that the apparatus further comprises means (22) for moving the mould container parts (4) filled with green bricks such that a protruding edge is formed on at least one side of the green bricks.

一种建筑立面的垂直轴风力发电与绿化一体化装置

NºPublicación:  CN121828094A 10/04/2026
Solicitante: 
齐鲁工业大学(山东省科学院)
CN_121828094_PA

Resumen de: EP1000000A1

The invention relates to an apparatus (1) for manufacturing green bricks from clay for the brick manufacturing industry, comprising a circulating conveyor (3) carrying mould containers combined to mould container parts (4), a reservoir (5) for clay arranged above the mould containers, means for carrying clay out of the reservoir (5) into the mould containers, means (9) for pressing and trimming clay in the mould containers, means (11) for supplying and placing take-off plates for the green bricks (13) and means for discharging green bricks released from the mould containers, characterized in that the apparatus further comprises means (22) for moving the mould container parts (4) filled with green bricks such that a protruding edge is formed on at least one side of the green bricks.

一种漂浮式风力发电机波浪补偿抗倾装置及方法

NºPublicación:  CN121822729A 10/04/2026
Solicitante: 
广西蓝水海洋工程有限公司
CN_121822729_PA

Resumen de: EP1000000A1

The invention relates to an apparatus (1) for manufacturing green bricks from clay for the brick manufacturing industry, comprising a circulating conveyor (3) carrying mould containers combined to mould container parts (4), a reservoir (5) for clay arranged above the mould containers, means for carrying clay out of the reservoir (5) into the mould containers, means (9) for pressing and trimming clay in the mould containers, means (11) for supplying and placing take-off plates for the green bricks (13) and means for discharging green bricks released from the mould containers, characterized in that the apparatus further comprises means (22) for moving the mould container parts (4) filled with green bricks such that a protruding edge is formed on at least one side of the green bricks.

用于借助振动分析来监控风能设备的状态的方法和装置

NºPublicación:  CN121844138A 10/04/2026
Solicitante: 
魏德米勒监控系统有限公司
CN_121844138_PA

Resumen de: EP1000000A1

The invention relates to an apparatus (1) for manufacturing green bricks from clay for the brick manufacturing industry, comprising a circulating conveyor (3) carrying mould containers combined to mould container parts (4), a reservoir (5) for clay arranged above the mould containers, means for carrying clay out of the reservoir (5) into the mould containers, means (9) for pressing and trimming clay in the mould containers, means (11) for supplying and placing take-off plates for the green bricks (13) and means for discharging green bricks released from the mould containers, characterized in that the apparatus further comprises means (22) for moving the mould container parts (4) filled with green bricks such that a protruding edge is formed on at least one side of the green bricks.

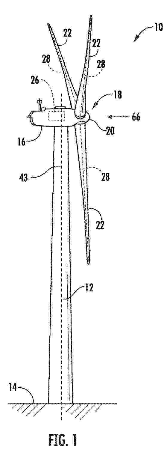
包括闪电连接器组件和传导组件的翼梁帽结构

NºPublicación:  CN121844136A 10/04/2026
Solicitante: 
LM\u98CE\u529B\u53D1\u7535\u516C\u53F8
CN_121844136_PA

Resumen de: EP1000000A1

The invention relates to an apparatus (1) for manufacturing green bricks from clay for the brick manufacturing industry, comprising a circulating conveyor (3) carrying mould containers combined to mould container parts (4), a reservoir (5) for clay arranged above the mould containers, means for carrying clay out of the reservoir (5) into the mould containers, means (9) for pressing and trimming clay in the mould containers, means (11) for supplying and placing take-off plates for the green bricks (13) and means for discharging green bricks released from the mould containers, characterized in that the apparatus further comprises means (22) for moving the mould container parts (4) filled with green bricks such that a protruding edge is formed on at least one side of the green bricks.

用于利用撞击在垂直表面上的风能的系统和方法

NºPublicación:  CN121844135A 10/04/2026
Solicitante: 
环球湍流有限公司
CN_121844135_PA

Resumen de: EP1000000A1

The invention relates to an apparatus (1) for manufacturing green bricks from clay for the brick manufacturing industry, comprising a circulating conveyor (3) carrying mould containers combined to mould container parts (4), a reservoir (5) for clay arranged above the mould containers, means for carrying clay out of the reservoir (5) into the mould containers, means (9) for pressing and trimming clay in the mould containers, means (11) for supplying and placing take-off plates for the green bricks (13) and means for discharging green bricks released from the mould containers, characterized in that the apparatus further comprises means (22) for moving the mould container parts (4) filled with green bricks such that a protruding edge is formed on at least one side of the green bricks.

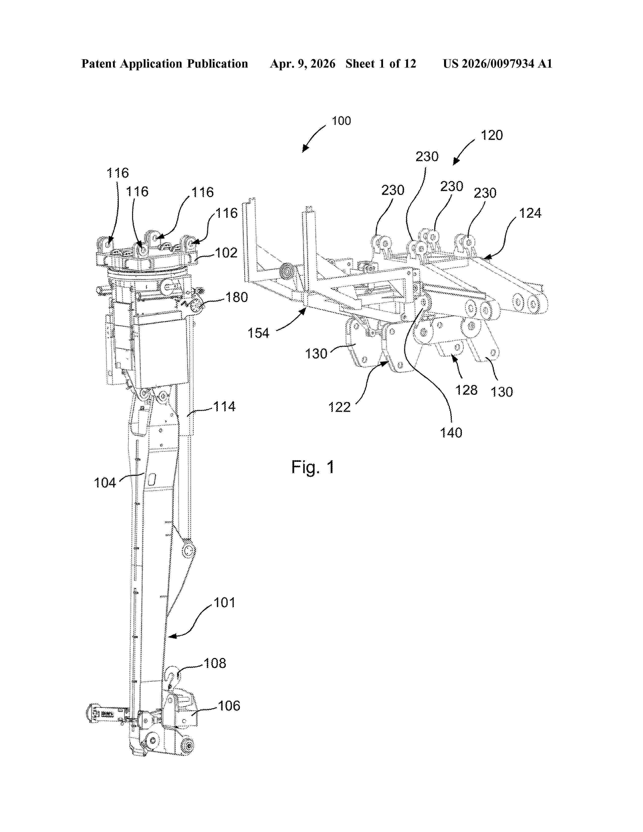
用于提升风力涡轮机部件的提升设备

NºPublicación:  CN121843887A 10/04/2026
Solicitante: 
西门子歌美飒可再生能源公司
CN_121843887_PA

Resumen de: EP1000000A1

The invention relates to an apparatus (1) for manufacturing green bricks from clay for the brick manufacturing industry, comprising a circulating conveyor (3) carrying mould containers combined to mould container parts (4), a reservoir (5) for clay arranged above the mould containers, means for carrying clay out of the reservoir (5) into the mould containers, means (9) for pressing and trimming clay in the mould containers, means (11) for supplying and placing take-off plates for the green bricks (13) and means for discharging green bricks released from the mould containers, characterized in that the apparatus further comprises means (22) for moving the mould container parts (4) filled with green bricks such that a protruding edge is formed on at least one side of the green bricks.

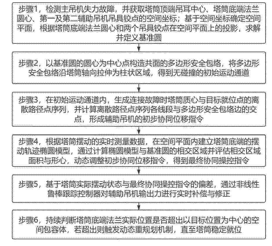
一种风机塔筒三级精度智能对接安装方法

NºPublicación:  CN121828099A 10/04/2026
Solicitante: 
杭州谛瞳科技有限公司
CN_121828099_PA

Resumen de: EP1000000A1

The invention relates to an apparatus (1) for manufacturing green bricks from clay for the brick manufacturing industry, comprising a circulating conveyor (3) carrying mould containers combined to mould container parts (4), a reservoir (5) for clay arranged above the mould containers, means for carrying clay out of the reservoir (5) into the mould containers, means (9) for pressing and trimming clay in the mould containers, means (11) for supplying and placing take-off plates for the green bricks (13) and means for discharging green bricks released from the mould containers, characterized in that the apparatus further comprises means (22) for moving the mould container parts (4) filled with green bricks such that a protruding edge is formed on at least one side of the green bricks.

一种半潜梯形式模块化混凝土-钢壳复合浮式风机基础

NºPublicación:  CN121822749A 10/04/2026
Solicitante: 
清华大学深圳国际研究生院
CN_121822749_PA

Resumen de: EP1000000A1

The invention relates to an apparatus (1) for manufacturing green bricks from clay for the brick manufacturing industry, comprising a circulating conveyor (3) carrying mould containers combined to mould container parts (4), a reservoir (5) for clay arranged above the mould containers, means for carrying clay out of the reservoir (5) into the mould containers, means (9) for pressing and trimming clay in the mould containers, means (11) for supplying and placing take-off plates for the green bricks (13) and means for discharging green bricks released from the mould containers, characterized in that the apparatus further comprises means (22) for moving the mould container parts (4) filled with green bricks such that a protruding edge is formed on at least one side of the green bricks.

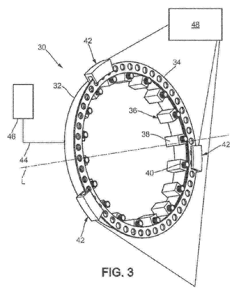
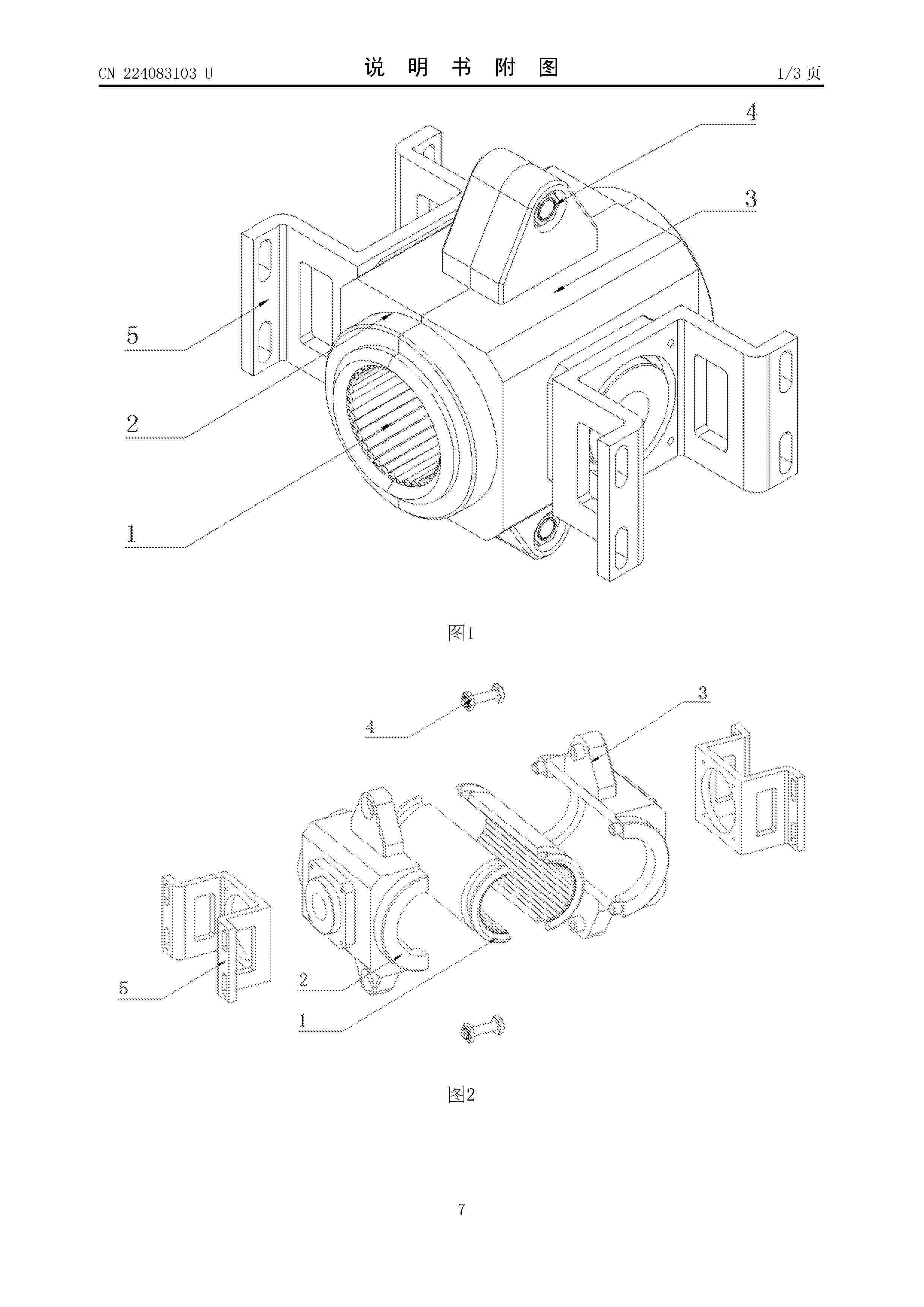
一种风机轴向保持架及风机轴承

NºPublicación:  CN121828124A 10/04/2026
Solicitante: 
山东金帝精密机械科技股份有限公司
CN_121828124_PA

Resumen de: EP1000000A1

The invention relates to an apparatus (1) for manufacturing green bricks from clay for the brick manufacturing industry, comprising a circulating conveyor (3) carrying mould containers combined to mould container parts (4), a reservoir (5) for clay arranged above the mould containers, means for carrying clay out of the reservoir (5) into the mould containers, means (9) for pressing and trimming clay in the mould containers, means (11) for supplying and placing take-off plates for the green bricks (13) and means for discharging green bricks released from the mould containers, characterized in that the apparatus further comprises means (22) for moving the mould container parts (4) filled with green bricks such that a protruding edge is formed on at least one side of the green bricks.

一种风力发电机组传动链振动状态的监测方法

NºPublicación:  CN121828106A 10/04/2026
Solicitante: 
华能(乌鲁木齐县)新能源发电有限公司
CN_121828106_PA

Resumen de: EP1000000A1

The invention relates to an apparatus (1) for manufacturing green bricks from clay for the brick manufacturing industry, comprising a circulating conveyor (3) carrying mould containers combined to mould container parts (4), a reservoir (5) for clay arranged above the mould containers, means for carrying clay out of the reservoir (5) into the mould containers, means (9) for pressing and trimming clay in the mould containers, means (11) for supplying and placing take-off plates for the green bricks (13) and means for discharging green bricks released from the mould containers, characterized in that the apparatus further comprises means (22) for moving the mould container parts (4) filled with green bricks such that a protruding edge is formed on at least one side of the green bricks.

一种风力发电机组的前端调速装置

NºPublicación:  CN121828104A 10/04/2026
Solicitante: 
浙江大学
CN_121828104_PA

Resumen de: EP1000000A1

The invention relates to an apparatus (1) for manufacturing green bricks from clay for the brick manufacturing industry, comprising a circulating conveyor (3) carrying mould containers combined to mould container parts (4), a reservoir (5) for clay arranged above the mould containers, means for carrying clay out of the reservoir (5) into the mould containers, means (9) for pressing and trimming clay in the mould containers, means (11) for supplying and placing take-off plates for the green bricks (13) and means for discharging green bricks released from the mould containers, characterized in that the apparatus further comprises means (22) for moving the mould container parts (4) filled with green bricks such that a protruding edge is formed on at least one side of the green bricks.

利用矿井通风动能直驱低功耗设备的供电装置及方法

NºPublicación:  CN121841006A 10/04/2026
Solicitante: 
中煤科工集团重庆研究院有限公司
CN_121841006_PA

Resumen de: EP1000000A1

The invention relates to an apparatus (1) for manufacturing green bricks from clay for the brick manufacturing industry, comprising a circulating conveyor (3) carrying mould containers combined to mould container parts (4), a reservoir (5) for clay arranged above the mould containers, means for carrying clay out of the reservoir (5) into the mould containers, means (9) for pressing and trimming clay in the mould containers, means (11) for supplying and placing take-off plates for the green bricks (13) and means for discharging green bricks released from the mould containers, characterized in that the apparatus further comprises means (22) for moving the mould container parts (4) filled with green bricks such that a protruding edge is formed on at least one side of the green bricks.

一种抑制钝体尾流周期性漩涡脱落的方法及装置

NºPublicación:  CN121828101A 10/04/2026
Solicitante: 
湖南大学
CN_121828101_PA

Resumen de: EP1000000A1

The invention relates to an apparatus (1) for manufacturing green bricks from clay for the brick manufacturing industry, comprising a circulating conveyor (3) carrying mould containers combined to mould container parts (4), a reservoir (5) for clay arranged above the mould containers, means for carrying clay out of the reservoir (5) into the mould containers, means (9) for pressing and trimming clay in the mould containers, means (11) for supplying and placing take-off plates for the green bricks (13) and means for discharging green bricks released from the mould containers, characterized in that the apparatus further comprises means (22) for moving the mould container parts (4) filled with green bricks such that a protruding edge is formed on at least one side of the green bricks.

一种依托海上风电单桩基础的海上光伏结构及其施工方法

NºPublicación:  CN121827369A 10/04/2026
Solicitante: 
中国电建集团华东勘测设计研究院有限公司
CN_121827369_PA

Resumen de: EP1000000A1

The invention relates to an apparatus (1) for manufacturing green bricks from clay for the brick manufacturing industry, comprising a circulating conveyor (3) carrying mould containers combined to mould container parts (4), a reservoir (5) for clay arranged above the mould containers, means for carrying clay out of the reservoir (5) into the mould containers, means (9) for pressing and trimming clay in the mould containers, means (11) for supplying and placing take-off plates for the green bricks (13) and means for discharging green bricks released from the mould containers, characterized in that the apparatus further comprises means (22) for moving the mould container parts (4) filled with green bricks such that a protruding edge is formed on at least one side of the green bricks.

一种适用于风力发电机的轴系扭矩传感器

NºPublicación:  CN121829845A 10/04/2026
Solicitante: 
黄山学院
CN_121829845_PA

Resumen de: EP1000000A1

The invention relates to an apparatus (1) for manufacturing green bricks from clay for the brick manufacturing industry, comprising a circulating conveyor (3) carrying mould containers combined to mould container parts (4), a reservoir (5) for clay arranged above the mould containers, means for carrying clay out of the reservoir (5) into the mould containers, means (9) for pressing and trimming clay in the mould containers, means (11) for supplying and placing take-off plates for the green bricks (13) and means for discharging green bricks released from the mould containers, characterized in that the apparatus further comprises means (22) for moving the mould container parts (4) filled with green bricks such that a protruding edge is formed on at least one side of the green bricks.

一种风力发电机组叶片桨距角快速校准方法及系统

NºPublicación:  CN121828113A 10/04/2026
Solicitante: 
明阳智慧能源集团股份公司明阳智慧(临高)新能源技术有限公司
CN_121828113_PA

Resumen de: EP1000000A1

The invention relates to an apparatus (1) for manufacturing green bricks from clay for the brick manufacturing industry, comprising a circulating conveyor (3) carrying mould containers combined to mould container parts (4), a reservoir (5) for clay arranged above the mould containers, means for carrying clay out of the reservoir (5) into the mould containers, means (9) for pressing and trimming clay in the mould containers, means (11) for supplying and placing take-off plates for the green bricks (13) and means for discharging green bricks released from the mould containers, characterized in that the apparatus further comprises means (22) for moving the mould container parts (4) filled with green bricks such that a protruding edge is formed on at least one side of the green bricks.

一种滚动逆螺旋风能追踪装置

NºPublicación:  CN121828088A 10/04/2026
Solicitante: 
上海交通职业技术学院同济大学
CN_121828088_PA

Resumen de: EP1000000A1

The invention relates to an apparatus (1) for manufacturing green bricks from clay for the brick manufacturing industry, comprising a circulating conveyor (3) carrying mould containers combined to mould container parts (4), a reservoir (5) for clay arranged above the mould containers, means for carrying clay out of the reservoir (5) into the mould containers, means (9) for pressing and trimming clay in the mould containers, means (11) for supplying and placing take-off plates for the green bricks (13) and means for discharging green bricks released from the mould containers, characterized in that the apparatus further comprises means (22) for moving the mould container parts (4) filled with green bricks such that a protruding edge is formed on at least one side of the green bricks.

一种基于DRL-PID融合非线性滤波的风电变桨智能控制方法及控制器

NºPublicación:  CN121828084A 10/04/2026
Solicitante: 
道莅智远科技(青岛)有限公司
CN_121828084_PA

Resumen de: EP1000000A1

The invention relates to an apparatus (1) for manufacturing green bricks from clay for the brick manufacturing industry, comprising a circulating conveyor (3) carrying mould containers combined to mould container parts (4), a reservoir (5) for clay arranged above the mould containers, means for carrying clay out of the reservoir (5) into the mould containers, means (9) for pressing and trimming clay in the mould containers, means (11) for supplying and placing take-off plates for the green bricks (13) and means for discharging green bricks released from the mould containers, characterized in that the apparatus further comprises means (22) for moving the mould container parts (4) filled with green bricks such that a protruding edge is formed on at least one side of the green bricks.

一种基于声纹信号的风电机组叶片巡检方法及相关装置

NºPublicación:  CN121828109A 10/04/2026
Solicitante: 
华能重庆奉节风电有限责任公司中国华能集团清洁能源技术研究院有限公司
CN_121828109_A

Resumen de: EP1000000A1

The invention relates to an apparatus (1) for manufacturing green bricks from clay for the brick manufacturing industry, comprising a circulating conveyor (3) carrying mould containers combined to mould container parts (4), a reservoir (5) for clay arranged above the mould containers, means for carrying clay out of the reservoir (5) into the mould containers, means (9) for pressing and trimming clay in the mould containers, means (11) for supplying and placing take-off plates for the green bricks (13) and means for discharging green bricks released from the mould containers, characterized in that the apparatus further comprises means (22) for moving the mould container parts (4) filled with green bricks such that a protruding edge is formed on at least one side of the green bricks.

一种垂直轴风力发电机的制动方法

NºPublicación:  CN121828091A 10/04/2026
Solicitante: 
苏州通润驱动设备股份有限公司
CN_121828091_PA

Resumen de: EP1000000A1

The invention relates to an apparatus (1) for manufacturing green bricks from clay for the brick manufacturing industry, comprising a circulating conveyor (3) carrying mould containers combined to mould container parts (4), a reservoir (5) for clay arranged above the mould containers, means for carrying clay out of the reservoir (5) into the mould containers, means (9) for pressing and trimming clay in the mould containers, means (11) for supplying and placing take-off plates for the green bricks (13) and means for discharging green bricks released from the mould containers, characterized in that the apparatus further comprises means (22) for moving the mould container parts (4) filled with green bricks such that a protruding edge is formed on at least one side of the green bricks.

多部件耦合驱动的风电机组退化过程动态预测方法及系统

NºPublicación:  CN121835433A 10/04/2026
Solicitante: 
兰州理工大学
CN_121835433_PA

Resumen de: EP1000000A1

The invention relates to an apparatus (1) for manufacturing green bricks from clay for the brick manufacturing industry, comprising a circulating conveyor (3) carrying mould containers combined to mould container parts (4), a reservoir (5) for clay arranged above the mould containers, means for carrying clay out of the reservoir (5) into the mould containers, means (9) for pressing and trimming clay in the mould containers, means (11) for supplying and placing take-off plates for the green bricks (13) and means for discharging green bricks released from the mould containers, characterized in that the apparatus further comprises means (22) for moving the mould container parts (4) filled with green bricks such that a protruding edge is formed on at least one side of the green bricks.

基于视觉定位与SLAM的风力发电机叶片组巡检方法及系统

NºPublicación:  CN121828114A 10/04/2026
Solicitante: 
广东粤电珠海海上风电有限公司西安热工研究院有限公司
CN_121828114_PA

Resumen de: EP1000000A1

The invention relates to an apparatus (1) for manufacturing green bricks from clay for the brick manufacturing industry, comprising a circulating conveyor (3) carrying mould containers combined to mould container parts (4), a reservoir (5) for clay arranged above the mould containers, means for carrying clay out of the reservoir (5) into the mould containers, means (9) for pressing and trimming clay in the mould containers, means (11) for supplying and placing take-off plates for the green bricks (13) and means for discharging green bricks released from the mould containers, characterized in that the apparatus further comprises means (22) for moving the mould container parts (4) filled with green bricks such that a protruding edge is formed on at least one side of the green bricks.

传动链结构及风力发电机

NºPublicación:  CN121828430A 10/04/2026
Solicitante: 
远景能源有限公司
CN_121828430_PA

Resumen de: EP1000000A1

The invention relates to an apparatus (1) for manufacturing green bricks from clay for the brick manufacturing industry, comprising a circulating conveyor (3) carrying mould containers combined to mould container parts (4), a reservoir (5) for clay arranged above the mould containers, means for carrying clay out of the reservoir (5) into the mould containers, means (9) for pressing and trimming clay in the mould containers, means (11) for supplying and placing take-off plates for the green bricks (13) and means for discharging green bricks released from the mould containers, characterized in that the apparatus further comprises means (22) for moving the mould container parts (4) filled with green bricks such that a protruding edge is formed on at least one side of the green bricks.

磁通门式电流传感器及其控制方法、装置、风力发电机组和存储介质

NºPublicación:  CN121831231A 10/04/2026
Solicitante: 
北京金风慧能技术有限公司
CN_121831231_PA

Resumen de: EP1000000A1

The invention relates to an apparatus (1) for manufacturing green bricks from clay for the brick manufacturing industry, comprising a circulating conveyor (3) carrying mould containers combined to mould container parts (4), a reservoir (5) for clay arranged above the mould containers, means for carrying clay out of the reservoir (5) into the mould containers, means (9) for pressing and trimming clay in the mould containers, means (11) for supplying and placing take-off plates for the green bricks (13) and means for discharging green bricks released from the mould containers, characterized in that the apparatus further comprises means (22) for moving the mould container parts (4) filled with green bricks such that a protruding edge is formed on at least one side of the green bricks.

用于风电机组涡激振动的检测方法及装置

NºPublicación:  CN121829737A 10/04/2026
Solicitante: 
金风科技股份有限公司
CN_121829737_PA

Resumen de: EP1000000A1

The invention relates to an apparatus (1) for manufacturing green bricks from clay for the brick manufacturing industry, comprising a circulating conveyor (3) carrying mould containers combined to mould container parts (4), a reservoir (5) for clay arranged above the mould containers, means for carrying clay out of the reservoir (5) into the mould containers, means (9) for pressing and trimming clay in the mould containers, means (11) for supplying and placing take-off plates for the green bricks (13) and means for discharging green bricks released from the mould containers, characterized in that the apparatus further comprises means (22) for moving the mould container parts (4) filled with green bricks such that a protruding edge is formed on at least one side of the green bricks.

一种风机风轮锁销状态确定方法、电子设备及介质

NºPublicación:  CN121828105A 10/04/2026
Solicitante: 
华电重庆新能源有限公司
CN_121828105_PA

Resumen de: EP1000000A1

The invention relates to an apparatus (1) for manufacturing green bricks from clay for the brick manufacturing industry, comprising a circulating conveyor (3) carrying mould containers combined to mould container parts (4), a reservoir (5) for clay arranged above the mould containers, means for carrying clay out of the reservoir (5) into the mould containers, means (9) for pressing and trimming clay in the mould containers, means (11) for supplying and placing take-off plates for the green bricks (13) and means for discharging green bricks released from the mould containers, characterized in that the apparatus further comprises means (22) for moving the mould container parts (4) filled with green bricks such that a protruding edge is formed on at least one side of the green bricks.

山地风电场风电机组叶轮组装平台及其使用方法

NºPublicación:  CN121828100A 10/04/2026
Solicitante: 
三峡新能源(凤凰)发电有限公司
CN_121828100_PA

Resumen de: EP1000000A1

The invention relates to an apparatus (1) for manufacturing green bricks from clay for the brick manufacturing industry, comprising a circulating conveyor (3) carrying mould containers combined to mould container parts (4), a reservoir (5) for clay arranged above the mould containers, means for carrying clay out of the reservoir (5) into the mould containers, means (9) for pressing and trimming clay in the mould containers, means (11) for supplying and placing take-off plates for the green bricks (13) and means for discharging green bricks released from the mould containers, characterized in that the apparatus further comprises means (22) for moving the mould container parts (4) filled with green bricks such that a protruding edge is formed on at least one side of the green bricks.

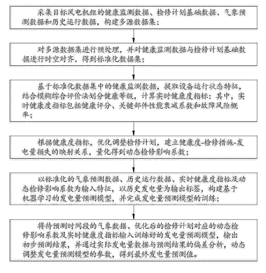
一种计及检修计划与设备健康度的风电场发电量预测方法及系统

NºPublicación:  CN121840576A 10/04/2026
Solicitante: 
华能包头风力发电有限公司华能(北京)综合能源科技服务有限公司北京金风慧能技术有限公司
CN_121840576_PA

Resumen de: EP1000000A1

The invention relates to an apparatus (1) for manufacturing green bricks from clay for the brick manufacturing industry, comprising a circulating conveyor (3) carrying mould containers combined to mould container parts (4), a reservoir (5) for clay arranged above the mould containers, means for carrying clay out of the reservoir (5) into the mould containers, means (9) for pressing and trimming clay in the mould containers, means (11) for supplying and placing take-off plates for the green bricks (13) and means for discharging green bricks released from the mould containers, characterized in that the apparatus further comprises means (22) for moving the mould container parts (4) filled with green bricks such that a protruding edge is formed on at least one side of the green bricks.

一种船舶用多向集风风电发电装置

NºPublicación:  CN121828092A 10/04/2026
Solicitante: 
冯氏防护科技(无锡)有限公司
CN_121828092_PA

Resumen de: EP1000000A1

The invention relates to an apparatus (1) for manufacturing green bricks from clay for the brick manufacturing industry, comprising a circulating conveyor (3) carrying mould containers combined to mould container parts (4), a reservoir (5) for clay arranged above the mould containers, means for carrying clay out of the reservoir (5) into the mould containers, means (9) for pressing and trimming clay in the mould containers, means (11) for supplying and placing take-off plates for the green bricks (13) and means for discharging green bricks released from the mould containers, characterized in that the apparatus further comprises means (22) for moving the mould container parts (4) filled with green bricks such that a protruding edge is formed on at least one side of the green bricks.

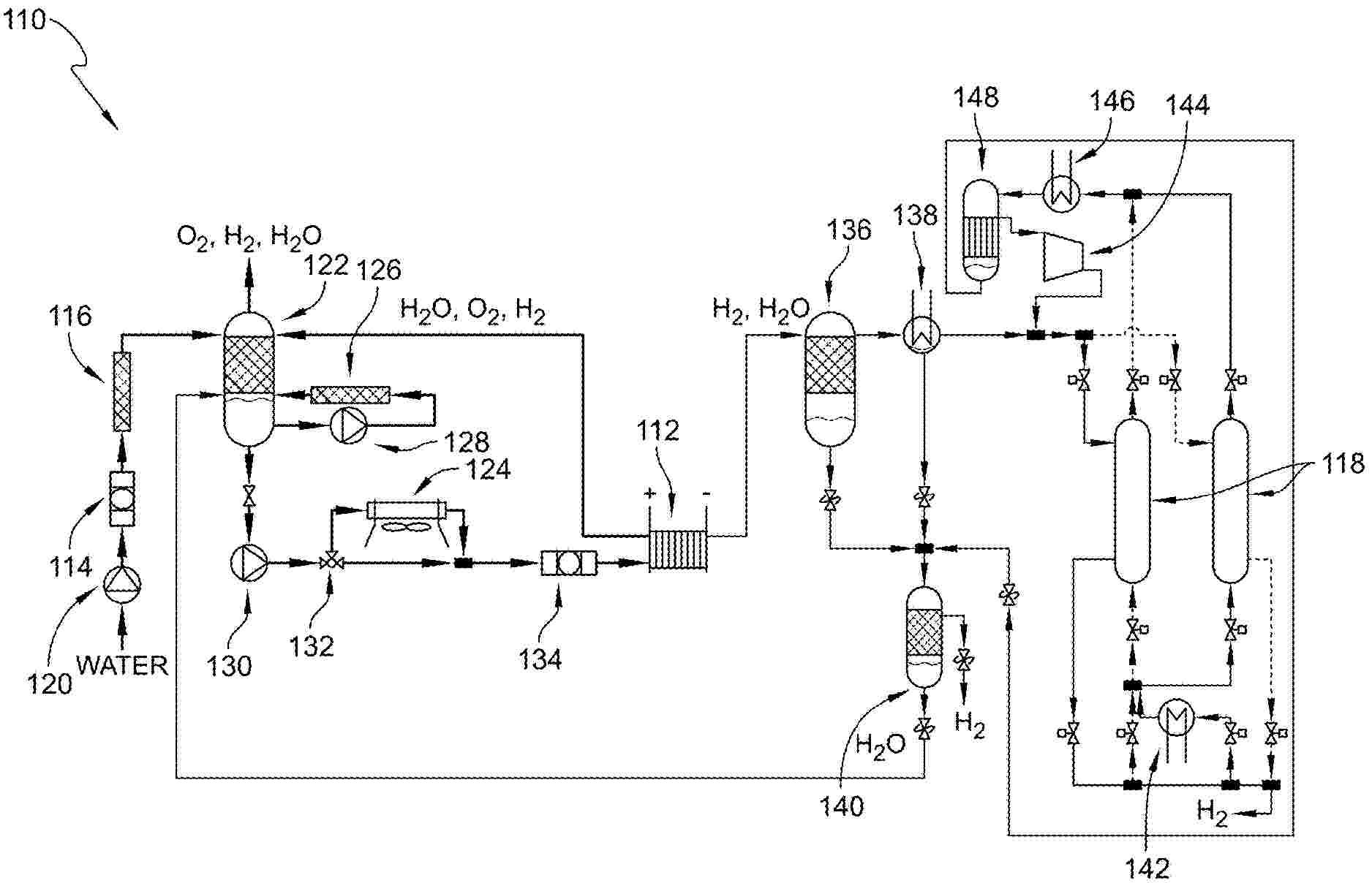
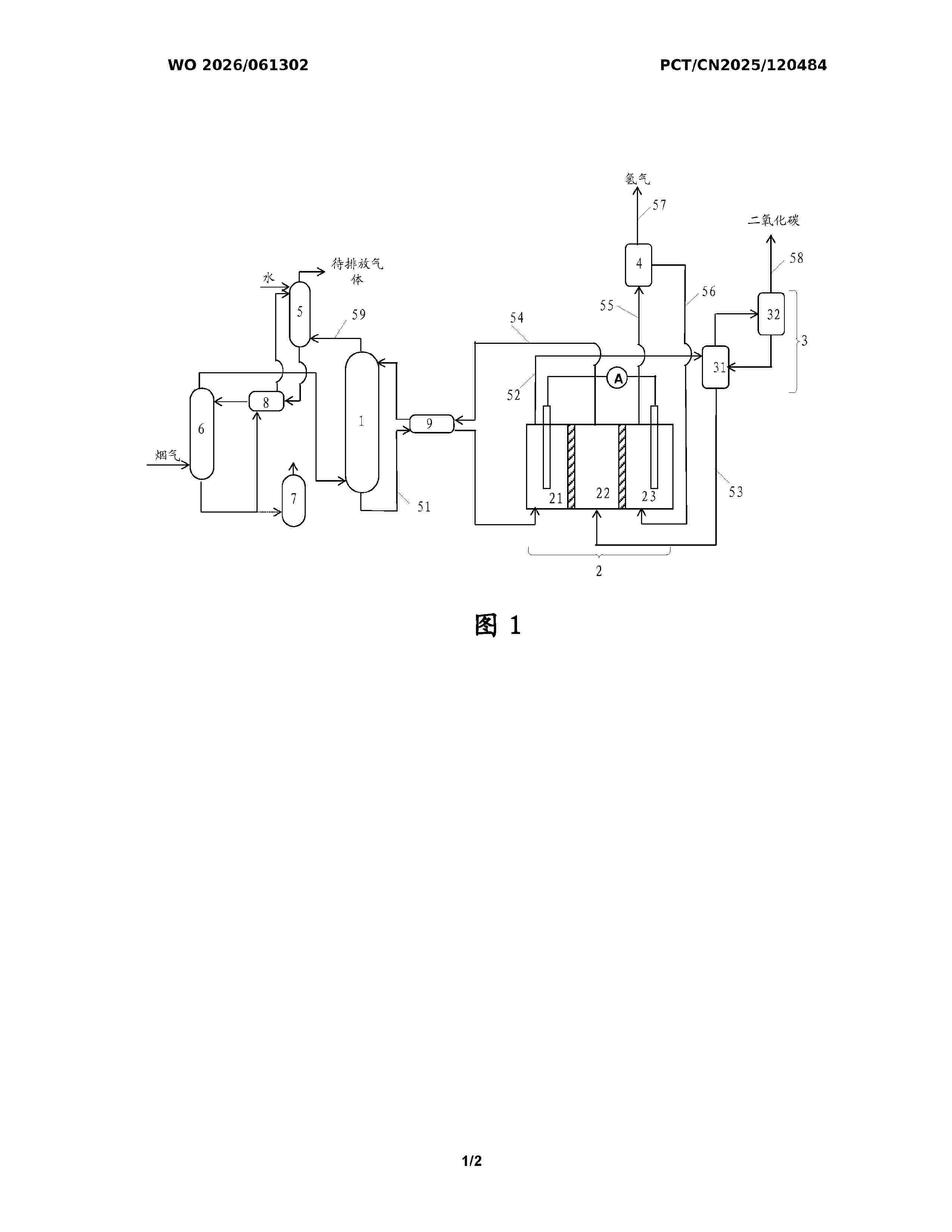
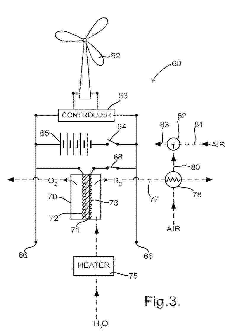
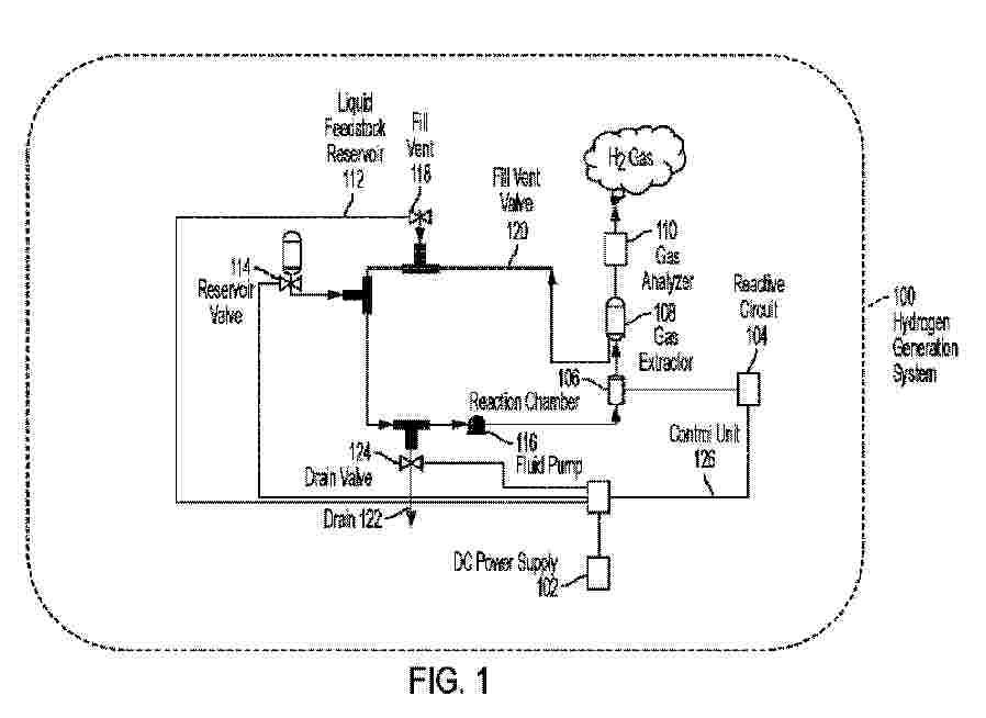
电能制氢及氢能发电的联合装置

NºPublicación:  CN121839949A 10/04/2026
Solicitante: 
内蒙古润泰汇能新能源科技有限责任公司
CN_121839949_PA

Resumen de: EP1000000A1

The invention relates to an apparatus (1) for manufacturing green bricks from clay for the brick manufacturing industry, comprising a circulating conveyor (3) carrying mould containers combined to mould container parts (4), a reservoir (5) for clay arranged above the mould containers, means for carrying clay out of the reservoir (5) into the mould containers, means (9) for pressing and trimming clay in the mould containers, means (11) for supplying and placing take-off plates for the green bricks (13) and means for discharging green bricks released from the mould containers, characterized in that the apparatus further comprises means (22) for moving the mould container parts (4) filled with green bricks such that a protruding edge is formed on at least one side of the green bricks.

一种浮动多机组合风力发电机

NºPublicación:  CN121828093A 10/04/2026
Solicitante: 
上海久能能源科技发展有限公司
CN_121828093_PA

Resumen de: EP1000000A1

The invention relates to an apparatus (1) for manufacturing green bricks from clay for the brick manufacturing industry, comprising a circulating conveyor (3) carrying mould containers combined to mould container parts (4), a reservoir (5) for clay arranged above the mould containers, means for carrying clay out of the reservoir (5) into the mould containers, means (9) for pressing and trimming clay in the mould containers, means (11) for supplying and placing take-off plates for the green bricks (13) and means for discharging green bricks released from the mould containers, characterized in that the apparatus further comprises means (22) for moving the mould container parts (4) filled with green bricks such that a protruding edge is formed on at least one side of the green bricks.

一种空间全方向调节的做功伞和飞行风能机组装备

NºPublicación:  CN121828082A 10/04/2026
Solicitante: 
清云梯(上海)能源技术有限公司
CN_121828082_PA

Resumen de: EP1000000A1

The invention relates to an apparatus (1) for manufacturing green bricks from clay for the brick manufacturing industry, comprising a circulating conveyor (3) carrying mould containers combined to mould container parts (4), a reservoir (5) for clay arranged above the mould containers, means for carrying clay out of the reservoir (5) into the mould containers, means (9) for pressing and trimming clay in the mould containers, means (11) for supplying and placing take-off plates for the green bricks (13) and means for discharging green bricks released from the mould containers, characterized in that the apparatus further comprises means (22) for moving the mould container parts (4) filled with green bricks such that a protruding edge is formed on at least one side of the green bricks.

一种双向自动换向流体发电装置

NºPublicación:  CN121828079A 10/04/2026
Solicitante: 
尹子淇
CN_121828079_PA

Resumen de: EP1000000A1

The invention relates to an apparatus (1) for manufacturing green bricks from clay for the brick manufacturing industry, comprising a circulating conveyor (3) carrying mould containers combined to mould container parts (4), a reservoir (5) for clay arranged above the mould containers, means for carrying clay out of the reservoir (5) into the mould containers, means (9) for pressing and trimming clay in the mould containers, means (11) for supplying and placing take-off plates for the green bricks (13) and means for discharging green bricks released from the mould containers, characterized in that the apparatus further comprises means (22) for moving the mould container parts (4) filled with green bricks such that a protruding edge is formed on at least one side of the green bricks.

一种轻量化高强度结构的大型风力发电机机壳

NºPublicación:  CN121828119A 10/04/2026
Solicitante: 
青岛瑞莱斯机械有限公司
CN_121828119_PA

Resumen de: EP1000000A1

The invention relates to an apparatus (1) for manufacturing green bricks from clay for the brick manufacturing industry, comprising a circulating conveyor (3) carrying mould containers combined to mould container parts (4), a reservoir (5) for clay arranged above the mould containers, means for carrying clay out of the reservoir (5) into the mould containers, means (9) for pressing and trimming clay in the mould containers, means (11) for supplying and placing take-off plates for the green bricks (13) and means for discharging green bricks released from the mould containers, characterized in that the apparatus further comprises means (22) for moving the mould container parts (4) filled with green bricks such that a protruding edge is formed on at least one side of the green bricks.

一种煤矿用安全通风系统和通风方法

NºPublicación:  CN121827880A 10/04/2026
Solicitante: 
夏万里
CN_121827880_PA

Resumen de: EP1000000A1

The invention relates to an apparatus (1) for manufacturing green bricks from clay for the brick manufacturing industry, comprising a circulating conveyor (3) carrying mould containers combined to mould container parts (4), a reservoir (5) for clay arranged above the mould containers, means for carrying clay out of the reservoir (5) into the mould containers, means (9) for pressing and trimming clay in the mould containers, means (11) for supplying and placing take-off plates for the green bricks (13) and means for discharging green bricks released from the mould containers, characterized in that the apparatus further comprises means (22) for moving the mould container parts (4) filled with green bricks such that a protruding edge is formed on at least one side of the green bricks.

基于环境参数的自适应发电机组动态冷却控制方法、装置、设备及存储介质

NºPublicación:  CN121828122A 10/04/2026
Solicitante: 
华能新能源股份有限公司蒙西分公司
CN_121828122_PA

Resumen de: EP1000000A1

The invention relates to an apparatus (1) for manufacturing green bricks from clay for the brick manufacturing industry, comprising a circulating conveyor (3) carrying mould containers combined to mould container parts (4), a reservoir (5) for clay arranged above the mould containers, means for carrying clay out of the reservoir (5) into the mould containers, means (9) for pressing and trimming clay in the mould containers, means (11) for supplying and placing take-off plates for the green bricks (13) and means for discharging green bricks released from the mould containers, characterized in that the apparatus further comprises means (22) for moving the mould container parts (4) filled with green bricks such that a protruding edge is formed on at least one side of the green bricks.

降温发电装置

NºPublicación:  CN121828098A 10/04/2026
Solicitante: 
北方华热(北京)科技有限公司
CN_121828098_PA

Resumen de: EP1000000A1

The invention relates to an apparatus (1) for manufacturing green bricks from clay for the brick manufacturing industry, comprising a circulating conveyor (3) carrying mould containers combined to mould container parts (4), a reservoir (5) for clay arranged above the mould containers, means for carrying clay out of the reservoir (5) into the mould containers, means (9) for pressing and trimming clay in the mould containers, means (11) for supplying and placing take-off plates for the green bricks (13) and means for discharging green bricks released from the mould containers, characterized in that the apparatus further comprises means (22) for moving the mould container parts (4) filled with green bricks such that a protruding edge is formed on at least one side of the green bricks.

一种用于海洋工程装备的发电装置

NºPublicación:  CN121828071A 10/04/2026
Solicitante: 
唐山海运职业学院有限公司
CN_121828071_PA

Resumen de: EP1000000A1

The invention relates to an apparatus (1) for manufacturing green bricks from clay for the brick manufacturing industry, comprising a circulating conveyor (3) carrying mould containers combined to mould container parts (4), a reservoir (5) for clay arranged above the mould containers, means for carrying clay out of the reservoir (5) into the mould containers, means (9) for pressing and trimming clay in the mould containers, means (11) for supplying and placing take-off plates for the green bricks (13) and means for discharging green bricks released from the mould containers, characterized in that the apparatus further comprises means (22) for moving the mould container parts (4) filled with green bricks such that a protruding edge is formed on at least one side of the green bricks.

一种风机叶片状态监测方法、装置、设备及存储介质

NºPublicación:  CN121828108A 10/04/2026
Solicitante: 
运达智服新能源技术(浙江)有限公司运达能源科技集团股份有限公司
CN_121828108_A

Resumen de: EP1000000A1

The invention relates to an apparatus (1) for manufacturing green bricks from clay for the brick manufacturing industry, comprising a circulating conveyor (3) carrying mould containers combined to mould container parts (4), a reservoir (5) for clay arranged above the mould containers, means for carrying clay out of the reservoir (5) into the mould containers, means (9) for pressing and trimming clay in the mould containers, means (11) for supplying and placing take-off plates for the green bricks (13) and means for discharging green bricks released from the mould containers, characterized in that the apparatus further comprises means (22) for moving the mould container parts (4) filled with green bricks such that a protruding edge is formed on at least one side of the green bricks.

车辆载物组件、车辆温度管理系统及车辆

NºPublicación:  CN121822303A 10/04/2026
Solicitante: 
比亚迪股份有限公司
CN_121822303_PA

Resumen de: EP1000000A1

The invention relates to an apparatus (1) for manufacturing green bricks from clay for the brick manufacturing industry, comprising a circulating conveyor (3) carrying mould containers combined to mould container parts (4), a reservoir (5) for clay arranged above the mould containers, means for carrying clay out of the reservoir (5) into the mould containers, means (9) for pressing and trimming clay in the mould containers, means (11) for supplying and placing take-off plates for the green bricks (13) and means for discharging green bricks released from the mould containers, characterized in that the apparatus further comprises means (22) for moving the mould container parts (4) filled with green bricks such that a protruding edge is formed on at least one side of the green bricks.

一种适用于风电混凝土塔筒安装的摊铺机器人

NºPublicación:  CN121828103A 10/04/2026
Solicitante: 
北京梵米科技有限公司
CN_121828103_PA

Resumen de: EP1000000A1

The invention relates to an apparatus (1) for manufacturing green bricks from clay for the brick manufacturing industry, comprising a circulating conveyor (3) carrying mould containers combined to mould container parts (4), a reservoir (5) for clay arranged above the mould containers, means for carrying clay out of the reservoir (5) into the mould containers, means (9) for pressing and trimming clay in the mould containers, means (11) for supplying and placing take-off plates for the green bricks (13) and means for discharging green bricks released from the mould containers, characterized in that the apparatus further comprises means (22) for moving the mould container parts (4) filled with green bricks such that a protruding edge is formed on at least one side of the green bricks.

一种垂直轴风力机最小倾覆力控制方法

NºPublicación:  CN121828090A 10/04/2026
Solicitante: 
中国人民解放军海军工程大学
CN_121828090_PA

Resumen de: EP1000000A1

The invention relates to an apparatus (1) for manufacturing green bricks from clay for the brick manufacturing industry, comprising a circulating conveyor (3) carrying mould containers combined to mould container parts (4), a reservoir (5) for clay arranged above the mould containers, means for carrying clay out of the reservoir (5) into the mould containers, means (9) for pressing and trimming clay in the mould containers, means (11) for supplying and placing take-off plates for the green bricks (13) and means for discharging green bricks released from the mould containers, characterized in that the apparatus further comprises means (22) for moving the mould container parts (4) filled with green bricks such that a protruding edge is formed on at least one side of the green bricks.

一种风力发电机轮毂及其内部支撑加工方法

NºPublicación:  CN121828080A 10/04/2026
Solicitante: 
常州市邦威机械有限公司
CN_121828080_PA

Resumen de: EP1000000A1

The invention relates to an apparatus (1) for manufacturing green bricks from clay for the brick manufacturing industry, comprising a circulating conveyor (3) carrying mould containers combined to mould container parts (4), a reservoir (5) for clay arranged above the mould containers, means for carrying clay out of the reservoir (5) into the mould containers, means (9) for pressing and trimming clay in the mould containers, means (11) for supplying and placing take-off plates for the green bricks (13) and means for discharging green bricks released from the mould containers, characterized in that the apparatus further comprises means (22) for moving the mould container parts (4) filled with green bricks such that a protruding edge is formed on at least one side of the green bricks.

一种钢管桁架的装配结构及装配式连接方法

NºPublicación:  CN121827616A 10/04/2026
Solicitante: 
长江精工(上海)建筑科技有限公司长江精工(河北)建筑科技有限公司长江精工(北京)建筑科技有限公司
CN_121827616_PA

Resumen de: EP1000000A1

The invention relates to an apparatus (1) for manufacturing green bricks from clay for the brick manufacturing industry, comprising a circulating conveyor (3) carrying mould containers combined to mould container parts (4), a reservoir (5) for clay arranged above the mould containers, means for carrying clay out of the reservoir (5) into the mould containers, means (9) for pressing and trimming clay in the mould containers, means (11) for supplying and placing take-off plates for the green bricks (13) and means for discharging green bricks released from the mould containers, characterized in that the apparatus further comprises means (22) for moving the mould container parts (4) filled with green bricks such that a protruding edge is formed on at least one side of the green bricks.

一种基于LMSRCT的风电齿轮箱变转速故障诊断方法及介质

NºPublicación:  CN121828112A 10/04/2026
Solicitante: 
华能河南清洁能源有限公司
CN_121828112_PA

Resumen de: EP1000000A1

The invention relates to an apparatus (1) for manufacturing green bricks from clay for the brick manufacturing industry, comprising a circulating conveyor (3) carrying mould containers combined to mould container parts (4), a reservoir (5) for clay arranged above the mould containers, means for carrying clay out of the reservoir (5) into the mould containers, means (9) for pressing and trimming clay in the mould containers, means (11) for supplying and placing take-off plates for the green bricks (13) and means for discharging green bricks released from the mould containers, characterized in that the apparatus further comprises means (22) for moving the mould container parts (4) filled with green bricks such that a protruding edge is formed on at least one side of the green bricks.

海上风电机组受力不平衡监测方法、装置及电子设备

NºPublicación:  CN121828111A 10/04/2026
Solicitante: 
中国长江三峡集团有限公司
CN_121828111_PA

Resumen de: EP1000000A1

The invention relates to an apparatus (1) for manufacturing green bricks from clay for the brick manufacturing industry, comprising a circulating conveyor (3) carrying mould containers combined to mould container parts (4), a reservoir (5) for clay arranged above the mould containers, means for carrying clay out of the reservoir (5) into the mould containers, means (9) for pressing and trimming clay in the mould containers, means (11) for supplying and placing take-off plates for the green bricks (13) and means for discharging green bricks released from the mould containers, characterized in that the apparatus further comprises means (22) for moving the mould container parts (4) filled with green bricks such that a protruding edge is formed on at least one side of the green bricks.

适应随机风速下大功率扰动的风力发电机控制方法及系统

NºPublicación:  CN121828083A 10/04/2026
Solicitante: 
中国华能集团清洁能源技术研究院有限公司华能湖南北湖风电有限责任公司
CN_121828083_PA

Resumen de: EP1000000A1

The invention relates to an apparatus (1) for manufacturing green bricks from clay for the brick manufacturing industry, comprising a circulating conveyor (3) carrying mould containers combined to mould container parts (4), a reservoir (5) for clay arranged above the mould containers, means for carrying clay out of the reservoir (5) into the mould containers, means (9) for pressing and trimming clay in the mould containers, means (11) for supplying and placing take-off plates for the green bricks (13) and means for discharging green bricks released from the mould containers, characterized in that the apparatus further comprises means (22) for moving the mould container parts (4) filled with green bricks such that a protruding edge is formed on at least one side of the green bricks.

一种风力发电机组偏航自检系统与自检方法

NºPublicación:  CN121828107A 10/04/2026
Solicitante: 
东方电气风电股份有限公司
CN_121828107_PA

Resumen de: EP1000000A1

The invention relates to an apparatus (1) for manufacturing green bricks from clay for the brick manufacturing industry, comprising a circulating conveyor (3) carrying mould containers combined to mould container parts (4), a reservoir (5) for clay arranged above the mould containers, means for carrying clay out of the reservoir (5) into the mould containers, means (9) for pressing and trimming clay in the mould containers, means (11) for supplying and placing take-off plates for the green bricks (13) and means for discharging green bricks released from the mould containers, characterized in that the apparatus further comprises means (22) for moving the mould container parts (4) filled with green bricks such that a protruding edge is formed on at least one side of the green bricks.

一种风电设备后机架及风电设备

NºPublicación:  CN121828087A 10/04/2026
Solicitante: 
国网江苏省电力有限公司盐城供电分公司国网江苏省电力有限公司射阳县供电分公司射阳县电气实业有限公司
CN_121828087_PA

Resumen de: EP1000000A1

The invention relates to an apparatus (1) for manufacturing green bricks from clay for the brick manufacturing industry, comprising a circulating conveyor (3) carrying mould containers combined to mould container parts (4), a reservoir (5) for clay arranged above the mould containers, means for carrying clay out of the reservoir (5) into the mould containers, means (9) for pressing and trimming clay in the mould containers, means (11) for supplying and placing take-off plates for the green bricks (13) and means for discharging green bricks released from the mould containers, characterized in that the apparatus further comprises means (22) for moving the mould container parts (4) filled with green bricks such that a protruding edge is formed on at least one side of the green bricks.

一种风电机组叶片运行状态在线监测系统及方法

NºPublicación:  CN121828110A 10/04/2026
Solicitante: 
华能重庆奉节风电有限责任公司中国华能集团清洁能源技术研究院有限公司
CN_121828110_PA

Resumen de: EP1000000A1

The invention relates to an apparatus (1) for manufacturing green bricks from clay for the brick manufacturing industry, comprising a circulating conveyor (3) carrying mould containers combined to mould container parts (4), a reservoir (5) for clay arranged above the mould containers, means for carrying clay out of the reservoir (5) into the mould containers, means (9) for pressing and trimming clay in the mould containers, means (11) for supplying and placing take-off plates for the green bricks (13) and means for discharging green bricks released from the mould containers, characterized in that the apparatus further comprises means (22) for moving the mould container parts (4) filled with green bricks such that a protruding edge is formed on at least one side of the green bricks.

一种楼体结构

NºPublicación:  CN224106749U 10/04/2026
Solicitante: 
佛山市拓域科技有限公司
CN_224106749_U

Resumen de: EP1000000A1

The invention relates to an apparatus (1) for manufacturing green bricks from clay for the brick manufacturing industry, comprising a circulating conveyor (3) carrying mould containers combined to mould container parts (4), a reservoir (5) for clay arranged above the mould containers, means for carrying clay out of the reservoir (5) into the mould containers, means (9) for pressing and trimming clay in the mould containers, means (11) for supplying and placing take-off plates for the green bricks (13) and means for discharging green bricks released from the mould containers, characterized in that the apparatus further comprises means (22) for moving the mould container parts (4) filled with green bricks such that a protruding edge is formed on at least one side of the green bricks.

一种旋转方向相反的内外转子风力发电机

NºPublicación:  CN224107368U 10/04/2026
Solicitante: 
浙江三新科技有限公司
CN_224107368_U

Resumen de: EP1000000A1

The invention relates to an apparatus (1) for manufacturing green bricks from clay for the brick manufacturing industry, comprising a circulating conveyor (3) carrying mould containers combined to mould container parts (4), a reservoir (5) for clay arranged above the mould containers, means for carrying clay out of the reservoir (5) into the mould containers, means (9) for pressing and trimming clay in the mould containers, means (11) for supplying and placing take-off plates for the green bricks (13) and means for discharging green bricks released from the mould containers, characterized in that the apparatus further comprises means (22) for moving the mould container parts (4) filled with green bricks such that a protruding edge is formed on at least one side of the green bricks.

一种风力发电机用维修装置

NºPublicación:  CN224107382U 10/04/2026
Solicitante: 
正能汇兴建设有限公司
CN_224107382_U

Resumen de: EP1000000A1

The invention relates to an apparatus (1) for manufacturing green bricks from clay for the brick manufacturing industry, comprising a circulating conveyor (3) carrying mould containers combined to mould container parts (4), a reservoir (5) for clay arranged above the mould containers, means for carrying clay out of the reservoir (5) into the mould containers, means (9) for pressing and trimming clay in the mould containers, means (11) for supplying and placing take-off plates for the green bricks (13) and means for discharging green bricks released from the mould containers, characterized in that the apparatus further comprises means (22) for moving the mould container parts (4) filled with green bricks such that a protruding edge is formed on at least one side of the green bricks.

基于接近开关的叶片校零工装

NºPublicación:  CN224107380U 10/04/2026
Solicitante: 
四川省能投会东新能源开发有限公司
CN_224107380_U

Resumen de: EP1000000A1

The invention relates to an apparatus (1) for manufacturing green bricks from clay for the brick manufacturing industry, comprising a circulating conveyor (3) carrying mould containers combined to mould container parts (4), a reservoir (5) for clay arranged above the mould containers, means for carrying clay out of the reservoir (5) into the mould containers, means (9) for pressing and trimming clay in the mould containers, means (11) for supplying and placing take-off plates for the green bricks (13) and means for discharging green bricks released from the mould containers, characterized in that the apparatus further comprises means (22) for moving the mould container parts (4) filled with green bricks such that a protruding edge is formed on at least one side of the green bricks.

风电机组及控制方法

NºPublicación:  CN121828123A 10/04/2026
Solicitante: 
三一重能股份有限公司
CN_121828123_PA

Resumen de: EP1000000A1

The invention relates to an apparatus (1) for manufacturing green bricks from clay for the brick manufacturing industry, comprising a circulating conveyor (3) carrying mould containers combined to mould container parts (4), a reservoir (5) for clay arranged above the mould containers, means for carrying clay out of the reservoir (5) into the mould containers, means (9) for pressing and trimming clay in the mould containers, means (11) for supplying and placing take-off plates for the green bricks (13) and means for discharging green bricks released from the mould containers, characterized in that the apparatus further comprises means (22) for moving the mould container parts (4) filled with green bricks such that a protruding edge is formed on at least one side of the green bricks.

一种广域目标监测智能浮标系统

NºPublicación:  CN121822734A 10/04/2026
Solicitante: 
北京石油化工学院
CN_121822734_PA

Resumen de: EP1000000A1

The invention relates to an apparatus (1) for manufacturing green bricks from clay for the brick manufacturing industry, comprising a circulating conveyor (3) carrying mould containers combined to mould container parts (4), a reservoir (5) for clay arranged above the mould containers, means for carrying clay out of the reservoir (5) into the mould containers, means (9) for pressing and trimming clay in the mould containers, means (11) for supplying and placing take-off plates for the green bricks (13) and means for discharging green bricks released from the mould containers, characterized in that the apparatus further comprises means (22) for moving the mould container parts (4) filled with green bricks such that a protruding edge is formed on at least one side of the green bricks.

一种风电轴承基座振动冲击一体化控制运维方法及装置

NºPublicación:  CN121828115A 10/04/2026
Solicitante: 
宁夏大学
CN_121828115_PA

Resumen de: EP1000000A1

The invention relates to an apparatus (1) for manufacturing green bricks from clay for the brick manufacturing industry, comprising a circulating conveyor (3) carrying mould containers combined to mould container parts (4), a reservoir (5) for clay arranged above the mould containers, means for carrying clay out of the reservoir (5) into the mould containers, means (9) for pressing and trimming clay in the mould containers, means (11) for supplying and placing take-off plates for the green bricks (13) and means for discharging green bricks released from the mould containers, characterized in that the apparatus further comprises means (22) for moving the mould container parts (4) filled with green bricks such that a protruding edge is formed on at least one side of the green bricks.

一种桁架混合式风电塔架的基础结构

NºPublicación:  CN121827370A 10/04/2026
Solicitante: 
中国电力工程顾问集团华北电力设计院有限公司
CN_121827370_PA

Resumen de: EP1000000A1

The invention relates to an apparatus (1) for manufacturing green bricks from clay for the brick manufacturing industry, comprising a circulating conveyor (3) carrying mould containers combined to mould container parts (4), a reservoir (5) for clay arranged above the mould containers, means for carrying clay out of the reservoir (5) into the mould containers, means (9) for pressing and trimming clay in the mould containers, means (11) for supplying and placing take-off plates for the green bricks (13) and means for discharging green bricks released from the mould containers, characterized in that the apparatus further comprises means (22) for moving the mould container parts (4) filled with green bricks such that a protruding edge is formed on at least one side of the green bricks.

一种用于风电主轴轴承座的清洗循环一体泵

NºPublicación:  CN224107384U 10/04/2026
Solicitante: 
大连伊尔科技有限公司
CN_224107384_U

Resumen de: EP1000000A1

The invention relates to an apparatus (1) for manufacturing green bricks from clay for the brick manufacturing industry, comprising a circulating conveyor (3) carrying mould containers combined to mould container parts (4), a reservoir (5) for clay arranged above the mould containers, means for carrying clay out of the reservoir (5) into the mould containers, means (9) for pressing and trimming clay in the mould containers, means (11) for supplying and placing take-off plates for the green bricks (13) and means for discharging green bricks released from the mould containers, characterized in that the apparatus further comprises means (22) for moving the mould container parts (4) filled with green bricks such that a protruding edge is formed on at least one side of the green bricks.

一种新型风力发电增速传动装置

NºPublicación:  CN224107623U 10/04/2026
Solicitante: 
江苏惠世智能科技有限公司
CN_224107623_U

Resumen de: EP1000000A1

The invention relates to an apparatus (1) for manufacturing green bricks from clay for the brick manufacturing industry, comprising a circulating conveyor (3) carrying mould containers combined to mould container parts (4), a reservoir (5) for clay arranged above the mould containers, means for carrying clay out of the reservoir (5) into the mould containers, means (9) for pressing and trimming clay in the mould containers, means (11) for supplying and placing take-off plates for the green bricks (13) and means for discharging green bricks released from the mould containers, characterized in that the apparatus further comprises means (22) for moving the mould container parts (4) filled with green bricks such that a protruding edge is formed on at least one side of the green bricks.

一种用于风电机组的导流罩

NºPublicación:  CN224107365U 10/04/2026
Solicitante: 
中国水利水电第六工程局有限公司
CN_224107365_U

Resumen de: EP1000000A1

The invention relates to an apparatus (1) for manufacturing green bricks from clay for the brick manufacturing industry, comprising a circulating conveyor (3) carrying mould containers combined to mould container parts (4), a reservoir (5) for clay arranged above the mould containers, means for carrying clay out of the reservoir (5) into the mould containers, means (9) for pressing and trimming clay in the mould containers, means (11) for supplying and placing take-off plates for the green bricks (13) and means for discharging green bricks released from the mould containers, characterized in that the apparatus further comprises means (22) for moving the mould container parts (4) filled with green bricks such that a protruding edge is formed on at least one side of the green bricks.

一种风电机组安装用螺栓的防松识别装置

NºPublicación:  CN224107378U 10/04/2026
Solicitante: 
宁乡古山峰新能源开发有限公司
CN_224107378_U

Resumen de: EP1000000A1

The invention relates to an apparatus (1) for manufacturing green bricks from clay for the brick manufacturing industry, comprising a circulating conveyor (3) carrying mould containers combined to mould container parts (4), a reservoir (5) for clay arranged above the mould containers, means for carrying clay out of the reservoir (5) into the mould containers, means (9) for pressing and trimming clay in the mould containers, means (11) for supplying and placing take-off plates for the green bricks (13) and means for discharging green bricks released from the mould containers, characterized in that the apparatus further comprises means (22) for moving the mould container parts (4) filled with green bricks such that a protruding edge is formed on at least one side of the green bricks.

一种风机叶片监测用声音采集系统

NºPublicación:  CN224108918U 10/04/2026
Solicitante: 
四川跟云电力技术服务有限公司
CN_224108918_U

Resumen de: EP1000000A1

The invention relates to an apparatus (1) for manufacturing green bricks from clay for the brick manufacturing industry, comprising a circulating conveyor (3) carrying mould containers combined to mould container parts (4), a reservoir (5) for clay arranged above the mould containers, means for carrying clay out of the reservoir (5) into the mould containers, means (9) for pressing and trimming clay in the mould containers, means (11) for supplying and placing take-off plates for the green bricks (13) and means for discharging green bricks released from the mould containers, characterized in that the apparatus further comprises means (22) for moving the mould container parts (4) filled with green bricks such that a protruding edge is formed on at least one side of the green bricks.

一种火箭发动机三视尭PD-3S载人火箭前置螺旋桨及其制造工艺

NºPublicación:  CN121829231A 10/04/2026
Solicitante: 
马达西奇飞机发动机厂(湖北)有限公司
CN_121829231_PA

Resumen de: EP1000000A1

The invention relates to an apparatus (1) for manufacturing green bricks from clay for the brick manufacturing industry, comprising a circulating conveyor (3) carrying mould containers combined to mould container parts (4), a reservoir (5) for clay arranged above the mould containers, means for carrying clay out of the reservoir (5) into the mould containers, means (9) for pressing and trimming clay in the mould containers, means (11) for supplying and placing take-off plates for the green bricks (13) and means for discharging green bricks released from the mould containers, characterized in that the apparatus further comprises means (22) for moving the mould container parts (4) filled with green bricks such that a protruding edge is formed on at least one side of the green bricks.

风力发电机组的故障保护方法、装置和设备

NºPublicación:  CN121828085A 10/04/2026
Solicitante: 
中车启航新能源技术有限公司
CN_121828085_A

Resumen de: EP1000000A1

The invention relates to an apparatus (1) for manufacturing green bricks from clay for the brick manufacturing industry, comprising a circulating conveyor (3) carrying mould containers combined to mould container parts (4), a reservoir (5) for clay arranged above the mould containers, means for carrying clay out of the reservoir (5) into the mould containers, means (9) for pressing and trimming clay in the mould containers, means (11) for supplying and placing take-off plates for the green bricks (13) and means for discharging green bricks released from the mould containers, characterized in that the apparatus further comprises means (22) for moving the mould container parts (4) filled with green bricks such that a protruding edge is formed on at least one side of the green bricks.

一种风电机组振动数据收集装置

NºPublicación:  CN121828116A 10/04/2026
Solicitante: 
尚义新天风能有限公司
CN_121828116_PA

Resumen de: EP1000000A1

The invention relates to an apparatus (1) for manufacturing green bricks from clay for the brick manufacturing industry, comprising a circulating conveyor (3) carrying mould containers combined to mould container parts (4), a reservoir (5) for clay arranged above the mould containers, means for carrying clay out of the reservoir (5) into the mould containers, means (9) for pressing and trimming clay in the mould containers, means (11) for supplying and placing take-off plates for the green bricks (13) and means for discharging green bricks released from the mould containers, characterized in that the apparatus further comprises means (22) for moving the mould container parts (4) filled with green bricks such that a protruding edge is formed on at least one side of the green bricks.

可用于汽车启动及行驶中的风磁增程设备及方法

NºPublicación:  CN121828096A 10/04/2026
Solicitante: 
上海祥喜昌科技有限公司
CN_121828096_PA

Resumen de: EP1000000A1

The invention relates to an apparatus (1) for manufacturing green bricks from clay for the brick manufacturing industry, comprising a circulating conveyor (3) carrying mould containers combined to mould container parts (4), a reservoir (5) for clay arranged above the mould containers, means for carrying clay out of the reservoir (5) into the mould containers, means (9) for pressing and trimming clay in the mould containers, means (11) for supplying and placing take-off plates for the green bricks (13) and means for discharging green bricks released from the mould containers, characterized in that the apparatus further comprises means (22) for moving the mould container parts (4) filled with green bricks such that a protruding edge is formed on at least one side of the green bricks.

一种便于安装的风电防雷器

NºPublicación:  CN224107379U 10/04/2026
Solicitante: 
宁夏嘉隆新能源运营管理有限公司
CN_224107379_U

Resumen de: EP1000000A1

The invention relates to an apparatus (1) for manufacturing green bricks from clay for the brick manufacturing industry, comprising a circulating conveyor (3) carrying mould containers combined to mould container parts (4), a reservoir (5) for clay arranged above the mould containers, means for carrying clay out of the reservoir (5) into the mould containers, means (9) for pressing and trimming clay in the mould containers, means (11) for supplying and placing take-off plates for the green bricks (13) and means for discharging green bricks released from the mould containers, characterized in that the apparatus further comprises means (22) for moving the mould container parts (4) filled with green bricks such that a protruding edge is formed on at least one side of the green bricks.

一种基于3D打印技术的新型垂直轴风力发电机

NºPublicación:  CN224107367U 10/04/2026
Solicitante: 
南京师范大学
CN_224107367_U

Resumen de: EP1000000A1

The invention relates to an apparatus (1) for manufacturing green bricks from clay for the brick manufacturing industry, comprising a circulating conveyor (3) carrying mould containers combined to mould container parts (4), a reservoir (5) for clay arranged above the mould containers, means for carrying clay out of the reservoir (5) into the mould containers, means (9) for pressing and trimming clay in the mould containers, means (11) for supplying and placing take-off plates for the green bricks (13) and means for discharging green bricks released from the mould containers, characterized in that the apparatus further comprises means (22) for moving the mould container parts (4) filled with green bricks such that a protruding edge is formed on at least one side of the green bricks.

一种风力发电机组物联监测系统

NºPublicación:  CN224107377U 10/04/2026
Solicitante: 
大唐重庆市南川区新能源有限公司
CN_224107377_U

Resumen de: EP1000000A1

The invention relates to an apparatus (1) for manufacturing green bricks from clay for the brick manufacturing industry, comprising a circulating conveyor (3) carrying mould containers combined to mould container parts (4), a reservoir (5) for clay arranged above the mould containers, means for carrying clay out of the reservoir (5) into the mould containers, means (9) for pressing and trimming clay in the mould containers, means (11) for supplying and placing take-off plates for the green bricks (13) and means for discharging green bricks released from the mould containers, characterized in that the apparatus further comprises means (22) for moving the mould container parts (4) filled with green bricks such that a protruding edge is formed on at least one side of the green bricks.

WIND TURBINE BLADE CORE ASSEMBLY AND METHOD FOR ITS MANUFACTURE

NºPublicación:  WO2026073898A1 09/04/2026
Solicitante: 
GURIT UK LTD [GB]
WO_2026073898_A1

Resumen de: WO2026073898A1

There is provided a kit of parts for manufacturing at least part of a cellular core of a wind turbine blade The kit of parts includes a plurality of core sections (102, 104) composed of cellular material, each core section (102, 104) having a peripheral surface (111) which comprises a first side face (106), a second side face (108) and a third side face (110). Each core section (102, 104) has at least one hole (126) extending inwardly from at least one of first and second end faces (122, 124). The kit of parts further includes at least one dowel (130) composed of cellular material, the dowel (130) being shaped and dimensioned to fit within a respective hole of each of two adjacent core sections (102, 104) so that the at least one dowel (130) connects together the two adjacent core sections (102, 104).

IMAGING ARRAY FOR BIRD OR BAT DETECTION AND IDENTIFICATION

NºPublicación:  US20260096551A1 09/04/2026
Solicitante: 
IDENTIFLIGHT INT LLC [US]
US_20260096551_A1

Resumen de: US20260096551A1

0000 An automated system for mitigating risk from a wind farm. The automated system may include an array of a plurality of image capturing devices independently mounted in a wind farm. The array may include a plurality of low resolution cameras and at least one high resolution camera. The plurality of low resolution cameras may be interconnected and may detect a spherical field surrounding the wind farm. A server is in communication with the array of image capturing devices. The server may automatically analyze images to classify an airborne object captured by the array of image capturing devices in response to receiving the images.

METHOD FOR CONSTRUCTING SPAR-TYPE FLOATING BODY AND STEEL-CONCRETE COMPOSITE STRUCTURE PART OF OFFSHORE WIND POWER GENERATION EQUIPMENT

NºPublicación:  WO2026074679A1 09/04/2026
Solicitante: 
TODA CORP [JP]
\u6238\u7530\u5EFA\u8A2D\u682A\u5F0F\u4F1A\u793E
WO_2026074679_A1

Resumen de: WO2026074679A1

Problem To enable efficient and low-cost construction of a spar-type floating body and to simultaneously solve problems such as thermal cracking and bending cracking of concrete. Solution In a spar-type floating body 4, the lower half side is a steel-concrete composite structure part 4A in which concrete C is cast in a predetermined thickness on the inner surface side of an outer shell steel member 10 covering the outer periphery. In the steel-concrete composite structure part 4A, reinforcing bars placed in the concrete C include polygonal first reinforcing bars 35 and second reinforcing bars 36 disposed alternately in a staggered manner at intervals in the longitudinal direction of the floating body, the first reinforcing bars 35 and the second reinforcing bars 36 being constituted by a large number of joint parts a welded to the outer shell steel member 10 over a predetermined length range and at predetermined intervals in the circumferential direction of the outer shell steel member 10, and chord parts b linearly connecting ends of adjacent joint parts a, a. At the center position of each chord part b of the first reinforcing bars 35 and the second reinforcing bars 36, a predetermined cover to the outer surface of the concrete is ensured.

SPAR-TYPE FLOATING BODY FOR OFFSHORE WIND POWER GENERATION FACILITY AND CONSTRUCTION METHOD FOR STEEL-CONCRETE COMPOSITE STRUCTURE PART

NºPublicación:  WO2026074680A1 09/04/2026
Solicitante: 
TODA CORP [JP]
\u6238\u7530\u5EFA\u8A2D\u682A\u5F0F\u4F1A\u793E
WO_2026074680_A1

Resumen de: WO2026074680A1

Problem To efficiently construct a spar-type floating body at a low cost, and to simultaneously solve issues such as concrete temperature cracks and bending cracks. Solution A spar-type floating body 4 with the lower half thereof being imparted as a steel-concrete composite structure part 4A in which concrete C is cast to a prescribed thickness on the inner surface of an outer-shell steel member 10 that covers the outer periphery, and the upper half thereof having an outer-shell steel member 12 that covers the outer periphery and being imparted as a steel structure part 4B made entirely of steel members. In the steel-concrete composite structure part 4A, reinforcing bars embedded in the concrete C are formed by arranging assembly reinforcing bars 35 spaced at an interval P along the longitudinal direction of the floating body, each assembly reinforcement 35 comprising: an inner circumferential bar 36A arranged parallel to the outer-shell steel member 10 in a state of maintaining a prescribed cover K with respect to the concrete outer surface; and a zigzag-shaped truss bar 36B arranged so as to alternately connect, over each prescribed length, the inner circumferential bar 36A and the outer-shell steel member 10.

SYSTEM FOR DISMANTLING CYLINDRICAL METAL TOWERS AND WIND TURBINES, BY MEANS OF FELLING, VIA REMOTE CONTROL, AND DISMANTLING METHOD

NºPublicación:  WO2026074213A1 09/04/2026
Solicitante: 
DEMOLICION Y DESCONTAMINACION S L [ES]
WO_2026074213_A1

Resumen de: WO2026074213A1

The invention relates to a system comprising: - a guide rail (2) arranged around a tower (1) and secured to same with removable means; - cutting means (6) running along the guide rail (2) and comprising means for spraying a fuel mix and a spark igniter (9); - a motor (10) for moving the cutting means along the guide rail (2); - means for the assisted pulling of the column or tower in order to direct the fall; - means for remotely viewing the cutting process; - a remote control centre (23). Owing to the aforementioned features, the associated risks, complexity of permits and work and high costs are all reduced.

WIND TURBINE FOUNDATION AND CONSTRUCTION METHOD

NºPublicación:  WO2026074214A1 09/04/2026
Solicitante: 
INGENIERIA ZERO S L [ES]
WO_2026074214_A1

Resumen de: WO2026074214A1

The invention relates to a wind turbine foundation and a construction method, the foundation comprising a bottom slab with a plurality of rectangular arms, optionally ending in footings; a core with means for securing a wind turbine tower on the central part of the bottom slab; and a plurality of arms comprising two flat parallel vertical side walls, the space between the two walls being filled up to the upper edge with one or more filler materials. The foundation may optionally include an upper closure slab on each pair of side walls and/or an external wall with anchors. The invention allows simple and efficient assembly with conventional auxiliary assembly means, using a smaller volume of concrete and steel to be able to withstand the same stresses as equivalent conventional foundations, by designing the arms with a structurally highly efficient hollow cross-section and optionally filling same with earth or other filler materials as counterweight.

ELECTROLYSIS SYSTEM, AND METHOD FOR OPERATING AN ELECTROLYSIS SYSTEM

NºPublicación:  AU2024352615A1 09/04/2026
Solicitante: 
SIEMENS ENERGY GLOBAL GMBH & CO KG
AU_2024352615_PA

Resumen de: AU2024352615A1

The invention relates to an electrolysis system (100) comprising: a wind turbine (1); an electrolysis plant (5) which is connected to the wind turbine (1) in order to supply electrolysis current, wherein an island network is implemented without connection to a power supply network; and a heat supply device (7) which is coupled to the electrolysis plant (5) and can be operated with a working medium (23), and which has an evaporator (13) and a condenser (11), and which is designed in such a way that, during a standstill mode, condensation heat of the working medium (23) can be transferred to the electrolysis plant (5) by means of the condenser (11) so as to maintain the temperature above a minimum temperature. During a standstill mode, the heat supply device (7) evaporates a working medium and condenses the evaporated working medium (23), condensation heat being generated and transferred to the electrolysis plant (5) so as to maintain the temperature above a minimum temperature and prevent freezing of water-carrying components of the electrolysis plant (5).

OFFSHORE ELECTROLYSIS SYSTEM, AND METHOD FOR OPERATING AN OFFSHORE ELECTROLYSIS SYSTEM

NºPublicación:  AU2024352319A1 09/04/2026
Solicitante: 
SIEMENS ENERGY GLOBAL GMBH & CO KG
AU_2024352319_PA

Resumen de: AU2024352319A1

The invention relates to an offshore electrolysis system (100) comprising: a wind turbine (1) having a platform (3) and an electrolysis plant (5) which is arranged on the platform (3) and is connected to the wind turbine (1) in order to supply electrolysis current; and a water supply device (7) which is connected to the electrolysis plant (5) and has a water collector (13) which is designed such that it is possible, without relying on seawater, to obtain water with little or no salt content which can be used as feed water for operating the electrolysis plant (5). The invention also relates to a method for operating a corresponding offshore electrolysis system (100), wherein, without relying on seawater, water is obtained in a water collector (13), the obtained water being of a quality with little or no salt content.

PERMANENT MAGNET GENERATOR

NºPublicación:  US20260100620A1 09/04/2026
Solicitante: 
ENVISION ENERGY CO LTD [CN]
US_20260100620_A1

Resumen de: US20260100620A1

The disclosed is a permanent magnet generator, comprising: a base; a stator having an internal ventilation duct, wherein the outer circumference of a clamping ring of the stator is in interference fit with the base using shrink fitting, to form a circumferential air duct between the base and the outer circumference of a stator core; a rotor arranged inside the stator, and provided with a rotor magnetic pole having finned ventilation ducts; and a cooler arranged at a top of the base. The disclosed uses a new air-water cooling method in which cooling water circulates outside the generator, and air circulates inside the generator. The pressure head for circulation inside the generator is provided by means of the rotation of the rotor having finned ventilation ducts. A top drive fan at a top of the cooler provides kinetic energy for an internal-circulation air path.

ASSEMBLY AND METHOD FOR CONNECTING A STEEL WIND TURBINE TOWER TO A CONCRETE FOUNDATION

NºPublicación:  US20260098518A1 09/04/2026
Solicitante: 
EQUINOR ENERGY AS [NO]
US_20260098518_A1

Resumen de: US20260098518A1

A cable head ring for use in connecting a wind turbine tower to a concrete foundation. The cable head ring includes an annular plate for connecting to the upper end of the concrete foundation, an inner tubular web extending axially from the annular plate and an outer tubular web extending axially from the annular plate. An annular gap is formed between the inner and outer tubular webs for receiving a tubular wind turbine component. The annular plate has a plurality of passages extending axially therethrough for receiving tensioning tendons of the concrete foundation. The inner and outer tubular webs include holes extending radially therethrough. The positions of the holes in the inner tubular web correspond to the positions of the holes in the outer tubular web such that a fastener can extend radially through a hole in the inner tubular web and a hole in the outer tubular web.

BASE ASSEMBLY FOR A TOWER MOUNTED CRANE

NºPublicación:  US20260097934A1 09/04/2026
Solicitante: 
LIFTRA IP APS [DK]
US_20260097934_A1

Resumen de: US20260097934A1

0000 A base assembly configured to support a tower mounted crane on a nacelle of the wind turbine, said tower mounted crane being of the kind comprising a base portion and a boom arm, where the boom arm is arranged rotatably about a vertical axis relative to the base portion during normal operation of the tower mounted crane, said base assembly includes a base structure adapted to be mounted to the nacelle, and a support structure configured to engage with the tower mounted crane and support the tower mounted crane in an upright position. In an engagement of the tower mounted crane with the base assembly, a base portion of the tower mounted crane is attached to the support structure. The support structure is movably coupled to the base structure and is adapted to be displaced linearly relative to the base structure in a direction substantially parallel to a longitudinal axis of the nacelle to arrange the tower mounted crane at a plurality of crane mounting positions relative to the nacelle.

ROTOR STAND

NºPublicación:  US20260098520A1 09/04/2026
Solicitante: 
LIFTWERX SOLUTIONS INC [CA]
US_20260098520_A1

Resumen de: US20260098520A1

A rotor stand for a wind turbine rotor includes: an interface plate configured to secure thereto a rotor hub of the wind turbine rotor; a plurality of legs connected to and extending radially outward from the interface plate, at least one of the legs radially extendible to permit changing a length of the extendible leg; and, a plurality of support shoes connected to the plurality of legs, the support shoes configured to support the rotor stand on a horizontal surface with the interface plate oriented substantially parallel to the horizontal surface.

TRANSPORTING WIND TURBINE COMPONENTS

NºPublicación:  US20260098519A1 09/04/2026
Solicitante: 
VESTAS WIND SYSTEMS AS [DK]
US_20260098519_A1

Resumen de: US20260098519A1

0000 A transport structure (42) for transporting a set of wind turbine components (22) on a vehicle (92, 94). The transport structure (42) comprises: a support structure (44), comprising at least one frame (46); and a set of locking interfaces arranged on the support structure (44) for releasably securing the transport structure (42) when in transit. Said at least one frame (46) comprises attachment means configured for releasably securing at least one wind turbine component (22) of the set of wind turbine components to said at least one frame (46).

CONCRETE SEGMENT OF A SECTION OF A WIND TURBINE TOWER AND A MOULD CONFIGURED TO CAST A CONCRETE SEGMENT

NºPublicación:  US20260098517A1 09/04/2026
Solicitante: 
NORDEX ENERGY SPAIN S A U [ES]
US_20260098517_A1

Resumen de: US20260098517A1

0000 The object of the invention is a concrete segment of a section of a wind turbine tower which minimizes the undesirable local effects in the connection area between adjacent concrete sections, a section comprising at least two concrete segments, a set comprising two adjacent sections and a joint disposed between the two adjacent sections, a tower comprising at least one set and a mould configured to cast a concrete segment.

DRIVE TRAIN FOR A WIND TURBINE AND SERIES OF DRIVE TRAINS

NºPublicación:  US20260098521A1 09/04/2026
Solicitante: 
FLENDER GMBH [DE]
US_20260098521_A1

Resumen de: US20260098521A1

0000 A drive train designed for a requirement profile includes a transmission to transmit and convert torque from a rotor shaft of a rotor. The transmission includes an Input transmission component which is unmounted on a rotor side for introducing the torque into the transmission and which partially protrudes on the rotor side out of a transmission housing and/or a ring gear of the transmission. The drive train further includes a coupling unit which is separate from the rotor shaft, from the rotor bearing arrangement and from the transmission, for permitting a torque-transmitting and rotationally rigid coupling of the rotor shaft to the input transmission component within the coupling unit. The coupling unit includes a bearing to mount the unmounted input transmission component within the coupling unit, with the input transmission component being mounted on the rotor side exclusively only by the bearing within the coupling unit.

METHOD FOR OPERATING A WIND TURBINE, CONTROL SYSTEM AND WIND TURBINE

NºPublicación:  US20260098516A1 09/04/2026
Solicitante: 
NORDEX ENERGY SE & CO KG [DE]
NORDEX ENERGY SPAIN S A U [ES]
US_20260098516_A1

Resumen de: US20260098516A1

The method is for operating a wind turbine having a rotor with at least two rotor blades, a tower and a pitch setting system. First information representative for bending moments of the at least two rotor blades and the assigned positions of the blades is provided. Second information representative for maximum allowed bending moments of blades when in a critical sector close to the tower is provided. Third information is determined depending on the first and second information representative for whether the bending moment of at least one rotor blade exceeds the maximum allowed bending moment when the blade is in the critical sector. If so, an output signal configured to cause the pitch setting system to individually change the pitch angles of the rotor blades in order to reduce a deflection of the blades towards the tower when they pass the tower is generated.

Wind Turbine

NºPublicación:  US20260098515A1 09/04/2026
Solicitante: 
ENTURI LTD [GB]
US_20260098515_A1

Resumen de: US20260098515A1

The invention provides for a turbine, which includes a duct that may provide an elongate circular internal passage that may have an open upstream end forming an intake and an open downstream end forming an exhaust. The turbine may further include a turbine rotor that may be rotatably mounted in and coaxially with the internal passage and may have at least one rotor blade extending helically along the internal passage so that airflow through the internal passage from the intake to the exhaust may impinge on the rotor blade and may drive the turbine rotor to turn. The duct may further provide at least one intermediate inlet disposed between the intake and the exhaust and part way along the rotor blade.

STABILIZED WIND TURBINES, OUTRIGGER STRUCTURES, AND CABLE ARRANGEMENTS FOR STABILIZING WIND TURBINES

NºPublicación:  WO2026073536A1 09/04/2026
Solicitante: 
VESTAS WIND SYSTEMS AS [DK]
WO_2026073536_A1

Resumen de: WO2026073536A1

A wind turbine (10) includes a tower (12) that defines a tower axis (24). The wind turbine (10) further includes an energy generating unit (14) disposed on the tower (12) and configured to produce electrical energy from wind (40). The tower (12) has a tower radius and a plurality of cables (20). Each cable (20) is anchored to the earth at one end and to an outrigger structure (18) at the opposing end. The outrigger structure (18) is coupled to the tower (12) and includes a plurality of tension/compression bars (60a, 60b, 62a, 62b, 64a, 64b) extending outwardly from the tower (12). At least one of the tension/compression bars (60a, 60b, 62a, 62b, 64a, 64b) has an outrigger apex (60c, 62c, 64c) at a cable interface radius from the tower axis (24). A cable (20) is coupled to the tension/compression bar (60a, 60b, 62a, 62b, 64a, 64b) proximate the outrigger apex (60c, 62c, 64c). A ratio of the cable interface radius to the tower radius is at least 1.2.

INSTALLATION ASSEMBLY

NºPublicación:  EP4722527A1 08/04/2026
Solicitante: 
SIEMENS GAMESA RENEWABLE ENERGY INNOVATION & TECHNOLOGY SL [ES]
EP_4722527_PA

Resumen de: EP4722527A1

0001 The invention describes an installation assembly (1) for use in installing a secondary nacelle structure (20S) underneath a wind turbine nacelle (20), which installation assembly (1) comprises a winch assembly comprising at least a winch cable (16) and a winch (18); a means (10, 11) of connecting the winch cable (16) to the secondary nacelle structure (20S); a bracket (12) adapted for installation at the mounting height of the secondary nacelle structure (20S); and a means (10, 102, 122, 14) of connecting the bracket (12) to the secondary nacelle structure (20S) after raising the secondary nacelle structure (20S) to its mounting height using the winch assembly (16, 18). The invention further describes a method of mounting a secondary nacelle structure (20S) underneath a wind turbine nacelle (20) using a number of such installation assemblies (1).

FOLDED SUN SHAFT

NºPublicación:  EP4720509A1 08/04/2026
Solicitante: 
ZF WIND POWER ANTWERPEN NV [BE]
ZAHNRADFABRIK FRIEDRICHSHAFEN [DE]
WO_2024240319_PA

Resumen de: WO2024240319A1

The present disclosure relates to a method of manufacturing wind turbine blades. The method comprises the steps of: providing leeward and windward shell mould surface geometries; and manufacturing a first and a second blade by the sub-steps of: moulding a leeward shell and a windward shell in the shell mould surface geometries; engaging a main and a rear leeward reinforcement structure with the leeward shell; engaging a main and a rear windward reinforcement structure with the windward shell; and forming the first blade from the leeward shell and the windward shell. The first blade and the second blade have the same external geometry. Manufacturing the first blade further comprises the sub-step of: arranging a first trailing edge reinforcement structure at the trailing edge of the first blade, the first trailing edge reinforcement structure comprising fibres aligned with the trailing edge of the first blade.

WIND TURBINE GENERATORS WITH FAULT RIDE THROUGH

NºPublicación:  EP4722529A1 08/04/2026
Solicitante: 
NORDEX ENERGY SE & CO KG [DE]
EP_4722529_PA

Resumen de: EP4722529A1

A method comprising: monitoring active power provided by at least one wind turbine generator, WTG, prior to a fault event that causes at least one fault affecting the at least one WTG in a predetermined time duration, each fault of the at least one fault causing a voltage reduction; determining a voltage reduction parameter indicative of the voltage reduction of at least one fault in the fault event when the fault event occurs; and determining an active power ramp up control strategy for the at least one WTG at least based on the active power and the voltage reduction parameter. Also, a computing device or system, a wind turbine generator or a wind farm, and a computer program.

POWER GENERATOR

NºPublicación:  EP4719913A2 08/04/2026
Solicitante: 
MOUNTAIN N MEADOW HOLDINGS INC [US]
CN_121532333_PA

Resumen de: US2020190621A1

0001 A rolled steel sheet, for press hardening is provided, having a chemical composition where Ti/N>3.42, and the carbon, manganese, chromium and silicon contents satisfy: 0002 2.6 C + Mn 5.3 + Cr 13 + Si 15 ≥ 1.1 % . 0003 The sheet has a nickel content Niat any point of the steel in the vicinity of the surface over a depth Δ, such that: Ni>Ni, Nidenoting the nominal nickel content of the steel, and such that, Nidenoting the maximum nickel content within Δ: 0004 ( Ni max + Ni nom ) 2 × ( Δ ) ≥ 0.6 , 0005 and such that: 0006 ( Ni max - Ni nom ) Δ ≥ 0.01 0007 and the surface density of all of the particles Dand the surface density of the particles D<(>2 μm) >larger than 2 micrometers satisfy, at least to a depth of 100 micrometers in the vicinity of the surface of said sheet: 0008 Di +6.75 D<(>2 μm) ><270 0009 Dand D<(>2 μm) >being expressed as number of particles per square millimeter, and said particles denoting all the oxides, sulfides, and nitrides, either pure or combined such as oxysulfides and carbonitrides, present in the steel matrix.

Hardware and system for supporting subsea flexible lines such as cables, umbilicals and risers

NºPublicación:  GB2644373A 08/04/2026
Solicitante: 
SEATHOR LTD [GB]
GB_2644373_PA

Resumen de: GB2644373A

A jacket assembly 100 is provided for attachment to a subsea flexible line for facilitating passive control of movement of the flexible line. The jacket assembly comprises a plurality of jackets (FIG 14, 110). Each jacket comprises a fluid displacing buoyancy element extending longitudinally between a first edge and a second edge and has a circumferential interior surface between the first edge and the second edge, the circumferential interior surface configured to bound a first inner cylindrical volume. The plurality of fluid displacing buoyancy elements comprises a first subset of fluid displacing buoyancy elements and a second subset of fluid displacing buoyancy elements. The first subset of the plurality of fluid displacing buoyancy elements has a first buoyancy value the second subset of the plurality of fluid displacing buoyancy elements has a second buoyancy value different from the first buoyancy value.

RELOCATABLE QUAYS TO DEPLOY AND RECOVER FLOATING UNITS

NºPublicación:  EP4722453A1 08/04/2026
Solicitante: 
TECHNIP ENERGIES FRANCE [FR]
EP_4722453_PA

Resumen de: EP4722453A1

A relocatable quay includes a deck that is relocatable in a body of water adjacent a stationary quay. The deck is positioned at the stationary quay to receive a floating unit. The relocatable quay also includes an elevator system positionable to raise and lower the deck to receive the floating unit from the stationary quay and to deploy the floating unit into the body of water.

A DRIVETRAIN OF A WIND TURBINE WITH A LUBRICATION SYSTEM AND A WIND TURBINE COMPRISING THE LUBRICATION SYSTEM

NºPublicación:  EP4720546A1 08/04/2026
Solicitante: 
ENVISION ENERGY CO LTD [CN]
KR_102447050_B1

Resumen de: US2020190621A1

0001 A rolled steel sheet, for press hardening is provided, having a chemical composition where Ti/N>3.42, and the carbon, manganese, chromium and silicon contents satisfy: 0002 2.6 C + Mn 5.3 + Cr 13 + Si 15 ≥ 1.1 % . 0003 The sheet has a nickel content Niat any point of the steel in the vicinity of the surface over a depth Δ, such that: Ni>Ni, Nidenoting the nominal nickel content of the steel, and such that, Nidenoting the maximum nickel content within Δ: 0004 ( Ni max + Ni nom ) 2 × ( Δ ) ≥ 0.6 , 0005 and such that: 0006 ( Ni max - Ni nom ) Δ ≥ 0.01 0007 and the surface density of all of the particles Dand the surface density of the particles D<(>2 μm) >larger than 2 micrometers satisfy, at least to a depth of 100 micrometers in the vicinity of the surface of said sheet: 0008 Di +6.75 D<(>2 μm) ><270 0009 Dand D<(>2 μm) >being expressed as number of particles per square millimeter, and said particles denoting all the oxides, sulfides, and nitrides, either pure or combined such as oxysulfides and carbonitrides, present in the steel matrix.

A DRIVETRAIN FOR A WIND TURBINE AND A WIND TURBINE

NºPublicación:  EP4720510A1 08/04/2026
Solicitante: 
ENVISION ENERGY CO LTD [CN]
KR_102447050_B1

Resumen de: US2020190621A1

0001 A rolled steel sheet, for press hardening is provided, having a chemical composition where Ti/N>3.42, and the carbon, manganese, chromium and silicon contents satisfy: 0002 2.6 C + Mn 5.3 + Cr 13 + Si 15 ≥ 1.1 % . 0003 The sheet has a nickel content Niat any point of the steel in the vicinity of the surface over a depth Δ, such that: Ni>Ni, Nidenoting the nominal nickel content of the steel, and such that, Nidenoting the maximum nickel content within Δ: 0004 ( Ni max + Ni nom ) 2 × ( Δ ) ≥ 0.6 , 0005 and such that: 0006 ( Ni max - Ni nom ) Δ ≥ 0.01 0007 and the surface density of all of the particles Dand the surface density of the particles D<(>2 μm) >larger than 2 micrometers satisfy, at least to a depth of 100 micrometers in the vicinity of the surface of said sheet: 0008 Di +6.75 D<(>2 μm) ><270 0009 Dand D<(>2 μm) >being expressed as number of particles per square millimeter, and said particles denoting all the oxides, sulfides, and nitrides, either pure or combined such as oxysulfides and carbonitrides, present in the steel matrix.

A BLADE ASSEMBLY FOR A MAST CONNECTED TO A WIND TURBINE, A MAST OF A WIND-POWER PLANT AND USE OF A BLADE ASSEMBLY

NºPublicación:  EP4720506A1 08/04/2026
Solicitante: 
WORLD WIDE WIND TECH AS [NO]
KR_102447050_B1

Resumen de: WO2024240319A1

The present disclosure relates to a method of manufacturing wind turbine blades. The method comprises the steps of: providing leeward and windward shell mould surface geometries; and manufacturing a first and a second blade by the sub-steps of: moulding a leeward shell and a windward shell in the shell mould surface geometries; engaging a main and a rear leeward reinforcement structure with the leeward shell; engaging a main and a rear windward reinforcement structure with the windward shell; and forming the first blade from the leeward shell and the windward shell. The first blade and the second blade have the same external geometry. Manufacturing the first blade further comprises the sub-step of: arranging a first trailing edge reinforcement structure at the trailing edge of the first blade, the first trailing edge reinforcement structure comprising fibres aligned with the trailing edge of the first blade.

ELECTRICAL PROTECTION SYSTEM AND METHOD FOR AN OFFSHORE WIND FARM

NºPublicación:  EP4720508A1 08/04/2026
Solicitante: 
EQUINOR ASA [NO]
KR_102447050_B1

Resumen de: US2020190621A1

0001 A rolled steel sheet, for press hardening is provided, having a chemical composition where Ti/N>3.42, and the carbon, manganese, chromium and silicon contents satisfy: 0002 2.6 C + Mn 5.3 + Cr 13 + Si 15 ≥ 1.1 % . 0003 The sheet has a nickel content Niat any point of the steel in the vicinity of the surface over a depth Δ, such that: Ni>Ni, Nidenoting the nominal nickel content of the steel, and such that, Nidenoting the maximum nickel content within Δ: 0004 ( Ni max + Ni nom ) 2 × ( Δ ) ≥ 0.6 , 0005 and such that: 0006 ( Ni max - Ni nom ) Δ ≥ 0.01 0007 and the surface density of all of the particles Dand the surface density of the particles D<(>2 μm) >larger than 2 micrometers satisfy, at least to a depth of 100 micrometers in the vicinity of the surface of said sheet: 0008 Di +6.75 D<(>2 μm) ><270 0009 Dand D<(>2 μm) >being expressed as number of particles per square millimeter, and said particles denoting all the oxides, sulfides, and nitrides, either pure or combined such as oxysulfides and carbonitrides, present in the steel matrix.

WIND TURBINE DRIVETRAIN CONTROL BASED ON NACELLE ROLL VELOCITY

NºPublicación:  EP4720507A1 08/04/2026
Solicitante: 
VESTAS WIND SYS AS [DK]
KR_102447050_B1

Resumen de: US2020190621A1

0001 A rolled steel sheet, for press hardening is provided, having a chemical composition where Ti/N>3.42, and the carbon, manganese, chromium and silicon contents satisfy: 0002 2.6 C + Mn 5.3 + Cr 13 + Si 15 ≥ 1.1 % . 0003 The sheet has a nickel content Niat any point of the steel in the vicinity of the surface over a depth Δ, such that: Ni>Ni, Nidenoting the nominal nickel content of the steel, and such that, Nidenoting the maximum nickel content within Δ: 0004 ( Ni max + Ni nom ) 2 × ( Δ ) ≥ 0.6 , 0005 and such that: 0006 ( Ni max - Ni nom ) Δ ≥ 0.01 0007 and the surface density of all of the particles Dand the surface density of the particles D<(>2 μm) >larger than 2 micrometers satisfy, at least to a depth of 100 micrometers in the vicinity of the surface of said sheet: 0008 Di +6.75 D<(>2 μm) ><270 0009 Dand D<(>2 μm) >being expressed as number of particles per square millimeter, and said particles denoting all the oxides, sulfides, and nitrides, either pure or combined such as oxysulfides and carbonitrides, present in the steel matrix.

PENDULUM COUNTERWEIGHT SEMI-SUBMERSIBLE FLOATER FOR OFFSHORE WIND TURBINE AND METHOD OF INSTALLING SAME

NºPublicación:  EP4719878A1 08/04/2026
Solicitante: 
SAIPEM SA [FR]
KR_102447050_B1

Resumen de: US2020190621A1

0001 A rolled steel sheet, for press hardening is provided, having a chemical composition where Ti/N>3.42, and the carbon, manganese, chromium and silicon contents satisfy: 0002 2.6 C + Mn 5.3 + Cr 13 + Si 15 ≥ 1.1 % . 0003 The sheet has a nickel content Niat any point of the steel in the vicinity of the surface over a depth Δ, such that: Ni>Ni, Nidenoting the nominal nickel content of the steel, and such that, Nidenoting the maximum nickel content within Δ: 0004 ( Ni max + Ni nom ) 2 × ( Δ ) ≥ 0.6 , 0005 and such that: 0006 ( Ni max - Ni nom ) Δ ≥ 0.01 0007 and the surface density of all of the particles Dand the surface density of the particles D<(>2 μm) >larger than 2 micrometers satisfy, at least to a depth of 100 micrometers in the vicinity of the surface of said sheet: 0008 Di +6.75 D<(>2 μm) ><270 0009 Dand D<(>2 μm) >being expressed as number of particles per square millimeter, and said particles denoting all the oxides, sulfides, and nitrides, either pure or combined such as oxysulfides and carbonitrides, present in the steel matrix.

BUOYANT OFFSHORE REWEWABLE ENERGY SYSTEM MOUNTING PLATFORM

NºPublicación:  EP4719881A1 08/04/2026
Solicitante: 
MARINE POWER SYSTEMS LTD [GB]
KR_102447050_B1

Resumen de: US2020190621A1

0001 A rolled steel sheet, for press hardening is provided, having a chemical composition where Ti/N>3.42, and the carbon, manganese, chromium and silicon contents satisfy: 0002 2.6 C + Mn 5.3 + Cr 13 + Si 15 ≥ 1.1 % . 0003 The sheet has a nickel content Niat any point of the steel in the vicinity of the surface over a depth Δ, such that: Ni>Ni, Nidenoting the nominal nickel content of the steel, and such that, Nidenoting the maximum nickel content within Δ: 0004 ( Ni max + Ni nom ) 2 × ( Δ ) ≥ 0.6 , 0005 and such that: 0006 ( Ni max - Ni nom ) Δ ≥ 0.01 0007 and the surface density of all of the particles Dand the surface density of the particles D<(>2 μm) >larger than 2 micrometers satisfy, at least to a depth of 100 micrometers in the vicinity of the surface of said sheet: 0008 Di +6.75 D<(>2 μm) ><270 0009 Dand D<(>2 μm) >being expressed as number of particles per square millimeter, and said particles denoting all the oxides, sulfides, and nitrides, either pure or combined such as oxysulfides and carbonitrides, present in the steel matrix.

A PILE HOLDING SYSTEM CONFIGURED TO BE MOUNTED OR MOUNTED ON A VESSEL

NºPublicación:  EP4719884A1 08/04/2026
Solicitante: 
ITREC BV [NL]
KR_102447050_B1

Resumen de: US2020190621A1

0001 A rolled steel sheet, for press hardening is provided, having a chemical composition where Ti/N>3.42, and the carbon, manganese, chromium and silicon contents satisfy: 0002 2.6 C + Mn 5.3 + Cr 13 + Si 15 ≥ 1.1 % . 0003 The sheet has a nickel content Niat any point of the steel in the vicinity of the surface over a depth Δ, such that: Ni>Ni, Nidenoting the nominal nickel content of the steel, and such that, Nidenoting the maximum nickel content within Δ: 0004 ( Ni max + Ni nom ) 2 × ( Δ ) ≥ 0.6 , 0005 and such that: 0006 ( Ni max - Ni nom ) Δ ≥ 0.01 0007 and the surface density of all of the particles Dand the surface density of the particles D<(>2 μm) >larger than 2 micrometers satisfy, at least to a depth of 100 micrometers in the vicinity of the surface of said sheet: 0008 Di +6.75 D<(>2 μm) ><270 0009 Dand D<(>2 μm) >being expressed as number of particles per square millimeter, and said particles denoting all the oxides, sulfides, and nitrides, either pure or combined such as oxysulfides and carbonitrides, present in the steel matrix.

METHOD FOR MANUFACTURING A HALF-SHELL FOR A SEGMENTED WIND TURBINE ROTOR BLADE AND METHOD FOR MANUFACTURING A WIND TURBINE ROTOR BLADE

NºPublicación:  EP4720502A1 08/04/2026
Solicitante: 
NORDEX BLADE TECH CENTRE APS [DK]
KR_102447050_B1

Resumen de: US2020190621A1

0001 A rolled steel sheet, for press hardening is provided, having a chemical composition where Ti/N>3.42, and the carbon, manganese, chromium and silicon contents satisfy: 0002 2.6 C + Mn 5.3 + Cr 13 + Si 15 ≥ 1.1 % . 0003 The sheet has a nickel content Niat any point of the steel in the vicinity of the surface over a depth Δ, such that: Ni>Ni, Nidenoting the nominal nickel content of the steel, and such that, Nidenoting the maximum nickel content within Δ: 0004 ( Ni max + Ni nom ) 2 × ( Δ ) ≥ 0.6 , 0005 and such that: 0006 ( Ni max - Ni nom ) Δ ≥ 0.01 0007 and the surface density of all of the particles Dand the surface density of the particles D<(>2 μm) >larger than 2 micrometers satisfy, at least to a depth of 100 micrometers in the vicinity of the surface of said sheet: 0008 Di +6.75 D<(>2 μm) ><270 0009 Dand D<(>2 μm) >being expressed as number of particles per square millimeter, and said particles denoting all the oxides, sulfides, and nitrides, either pure or combined such as oxysulfides and carbonitrides, present in the steel matrix.

A SYSTEM AND METHOD FOR HOOK-UP AND TENSIONING OF A FLOATING WIND TURBINE TO THE SEABED

NºPublicación:  EP4719880A1 08/04/2026
Solicitante: 
KONGSBERG MARITIME AS [NO]
KR_102447050_B1

Resumen de: US2020190621A1

0001 A rolled steel sheet, for press hardening is provided, having a chemical composition where Ti/N>3.42, and the carbon, manganese, chromium and silicon contents satisfy: 0002 2.6 C + Mn 5.3 + Cr 13 + Si 15 ≥ 1.1 % . 0003 The sheet has a nickel content Niat any point of the steel in the vicinity of the surface over a depth Δ, such that: Ni>Ni, Nidenoting the nominal nickel content of the steel, and such that, Nidenoting the maximum nickel content within Δ: 0004 ( Ni max + Ni nom ) 2 × ( Δ ) ≥ 0.6 , 0005 and such that: 0006 ( Ni max - Ni nom ) Δ ≥ 0.01 0007 and the surface density of all of the particles Dand the surface density of the particles D<(>2 μm) >larger than 2 micrometers satisfy, at least to a depth of 100 micrometers in the vicinity of the surface of said sheet: 0008 Di +6.75 D<(>2 μm) ><270 0009 Dand D<(>2 μm) >being expressed as number of particles per square millimeter, and said particles denoting all the oxides, sulfides, and nitrides, either pure or combined such as oxysulfides and carbonitrides, present in the steel matrix.

SYSTEM FOR ASSISTING IN TOWING OPERATIONS OF A FLOATING WIND TURBINE

NºPublicación:  EP4719886A1 08/04/2026
Solicitante: 
KONGSBERG MARITIME AS [NO]
KR_102447050_B1

Resumen de: US2020190621A1

0001 A rolled steel sheet, for press hardening is provided, having a chemical composition where Ti/N>3.42, and the carbon, manganese, chromium and silicon contents satisfy: 0002 2.6 C + Mn 5.3 + Cr 13 + Si 15 ≥ 1.1 % . 0003 The sheet has a nickel content Niat any point of the steel in the vicinity of the surface over a depth Δ, such that: Ni>Ni, Nidenoting the nominal nickel content of the steel, and such that, Nidenoting the maximum nickel content within Δ: 0004 ( Ni max + Ni nom ) 2 × ( Δ ) ≥ 0.6 , 0005 and such that: 0006 ( Ni max - Ni nom ) Δ ≥ 0.01 0007 and the surface density of all of the particles Dand the surface density of the particles D<(>2 μm) >larger than 2 micrometers satisfy, at least to a depth of 100 micrometers in the vicinity of the surface of said sheet: 0008 Di +6.75 D<(>2 μm) ><270 0009 Dand D<(>2 μm) >being expressed as number of particles per square millimeter, and said particles denoting all the oxides, sulfides, and nitrides, either pure or combined such as oxysulfides and carbonitrides, present in the steel matrix.

A METHOD OF MANUFACTURING A PLURALITY OF WIND TURBINE BLADES

NºPublicación:  EP4720504A1 08/04/2026
Solicitante: 
VESTAS WIND SYS AS [DK]
KR_102447050_B1

Resumen de: WO2024240319A1

The present disclosure relates to a method of manufacturing wind turbine blades. The method comprises the steps of: providing leeward and windward shell mould surface geometries; and manufacturing a first and a second blade by the sub-steps of: moulding a leeward shell and a windward shell in the shell mould surface geometries; engaging a main and a rear leeward reinforcement structure with the leeward shell; engaging a main and a rear windward reinforcement structure with the windward shell; and forming the first blade from the leeward shell and the windward shell. The first blade and the second blade have the same external geometry. Manufacturing the first blade further comprises the sub-step of: arranging a first trailing edge reinforcement structure at the trailing edge of the first blade, the first trailing edge reinforcement structure comprising fibres aligned with the trailing edge of the first blade.

A WIND TURBINE BLADE

NºPublicación:  EP4720503A1 08/04/2026
Solicitante: 
VESTAS WIND SYS AS [DK]
KR_102447050_B1

Resumen de: US2020190621A1

0001 A rolled steel sheet, for press hardening is provided, having a chemical composition where Ti/N>3.42, and the carbon, manganese, chromium and silicon contents satisfy: 0002 2.6 C + Mn 5.3 + Cr 13 + Si 15 ≥ 1.1 % . 0003 The sheet has a nickel content Niat any point of the steel in the vicinity of the surface over a depth Δ, such that: Ni>Ni, Nidenoting the nominal nickel content of the steel, and such that, Nidenoting the maximum nickel content within Δ: 0004 ( Ni max + Ni nom ) 2 × ( Δ ) ≥ 0.6 , 0005 and such that: 0006 ( Ni max - Ni nom ) Δ ≥ 0.01 0007 and the surface density of all of the particles Dand the surface density of the particles D<(>2 μm) >larger than 2 micrometers satisfy, at least to a depth of 100 micrometers in the vicinity of the surface of said sheet: 0008 Di +6.75 D<(>2 μm) ><270 0009 Dand D<(>2 μm) >being expressed as number of particles per square millimeter, and said particles denoting all the oxides, sulfides, and nitrides, either pure or combined such as oxysulfides and carbonitrides, present in the steel matrix.

FLOATING PLATFORM STABILIZATION SYSTEM AND METHOD OF INSTALLATION

NºPublicación:  EP4722095A1 08/04/2026
Solicitante: 
TECHNIP ENERGIES FRANCE [FR]
EP_4722095_PA

Resumen de: EP4722095A1

A floating platform system can be provided to facilitate mounting of and for supporting a structure on a floating platform. For example, the floating platform system can include the floating platform. The floating platform system can also include a ballast receiving volume inside the floating platform for receiving a ballasting liquid. The floating platform system can further include a mounting surface on the floating platform for mounting a structure. Additionally, the floating platform can include a downwardly-oriented stabbing guide.

一种用于风电机组单叶片浮态安装的导向装置

NºPublicación:  CN121803407A 07/04/2026
Solicitante: 
中国电建集团西北勘测设计研究院有限公司
CN_121803407_PA

Resumen de: CN121803407A

本发明公开一种用于风电机组单叶片浮态安装的导向装置,包括装置框,所述装置框的内部设有两个收卷机构,所述装置框的同一侧壁上下对称设有两个导向定位机构,两个所述导向定位机构分别与两个所述收卷机构一一对应且位于对应收卷机构的钢丝绳出线侧,所述钢丝绳远离收卷机构的一端设有连接限位组件,两个所述收卷机构同步收放钢丝绳,以完成叶片的浮态安装。本发明能够实现精确控制双绳同步牵引、实现钢丝绳与叶片快速标准化连接、简化安装流程且提高安全性。

风电超高混塔预应力钢绞线高效穿束施工方法

NºPublicación:  CN121803410A 07/04/2026
Solicitante: 
中国二十二冶集团有限公司
CN_121803410_PA

Resumen de: CN121803410A

本发明涉及风电混塔施工技术领域,尤其是涉及一种风电超高混塔预应力钢绞线高效穿束施工方法,涉及的结构部件包括风机基础、预制砼塔筒管片、钢制转接段、塔顶支架装置、塔筒内平台、室外钢梯平台、预应力筋、底部顶托装置和牵引装置,其中风机基础内预设钢绞线穿束孔道和预留孔道,施工方法包括:对塔筒混凝土预制管节段进行外观质量、几何尺寸、预留孔道检测,清理各项杂物;根据施工现场条件,进行钢绞线下料制束;安装牵引装置,使牵引装置连接预应力筋;进行穿束作业;准备预应力筋张拉作业。本发明的施工方法,规范了施工流程、优化了施工工艺,实现了钢绞线精准、高效穿束,提升了施工质量,缩短了施工工期,降低了施工成本与安全隐患。

一种用于升阻复合型叶轮的混合型垂直轴浮式风机基础

NºPublicación:  CN121803412A 07/04/2026
Solicitante: 
烟台哈尔滨工程大学研究院
CN_121803412_PA

Resumen de: CN121803412A

本发明提供了一种用于升阻复合型叶轮的混合型垂直轴浮式风机基础,属于海洋可再生能源技术领域,包括:中间主立柱,所述中间主立柱上均匀安装有三个边柱,所述主立柱顶端安装有缓冲垫片,所述中间主立柱顶端通过法兰与塔架连接,所述塔架上安装有升力型叶片、阻力型叶片;所述中间主立柱底部具有底部压载舱;所述升力型叶片通过叶轮撑杆与塔架连接,所述叶轮撑杆与塔架之间安装有弹性铰链、扭矩传感器。本发明兼顾升阻复合型叶轮的高效风能捕获优势与混合型浮式平台的深海适配性、稳定性优势,提升单位海域发电效率,降低平台艏摇振幅,综合经济性与环境适应性显著提升。

一种风电塔叶片纹路型辅助受力结构

NºPublicación:  CN121803392A 07/04/2026
Solicitante: 
国网河南省电力公司登封市供电公司国家电网有限公司
CN_121803392_PA

Resumen de: CN121803392A

本发明属于风电设备领域,具体涉及一种风电塔叶片纹路型辅助受力结构,包括叶片本体,所述叶片本体侧方设置有导流肋条,所述导流肋条靠近叶片本体根部的一侧为吸力面,导流肋条靠近叶片本体尖部的一侧为压力面,所述导流肋条沿叶片本体长度方向间隔设置若干个,组成纹路结构,通过沿叶片长度方向间隔设置多个导流肋条,形成纹路结构,能够在叶片表面特定区域协同诱导产生稳定的涡系。这些涡系能够有效改善当地边界层流动,在叶片处于关键方位(如下方位)时,协同作用产生一个向上的“气动浮力”,从而抵消部分根部弯矩。这是一种基于流动控制的、更为精巧的主动卸荷方式。

用于风机叶片的冰层厚度的确定方法、系统及存储介质

NºPublicación:  CN121803428A 07/04/2026
Solicitante: 
国网湖南省电力有限公司湖南防灾科技有限公司国家电网有限公司
CN_121803428_PA

Resumen de: CN121803428A

本申请公开了一种用于风机叶片的冰层厚度的确定方法、系统及存储介质,属于风力发电技术领域。该确定方法包括:在风机叶片存在覆冰的情况下,获取风机叶片上的多个测冰电极组在预设时间段内所采集的多个冰层测量参数、超声换能器采集的超声回波信号以及风机叶片的覆冰表面水膜状态,其中,覆冰表面水膜状态包括非连续水膜状态和连续水膜状态;在覆冰表面水膜状态为非连续水膜状态的情况下,基于预设单调链算法,根据多个冰层测量参数,确定风机叶片的实际覆冰厚度;在覆冰表面水膜状态为连续水膜状态的情况下,根据超声回波信号,确定风机叶片的实际覆冰厚度。本申请可以提高对覆冰厚度的测量准确性。

一种风力发电塔

NºPublicación:  CN121803404A 07/04/2026
Solicitante: 
朱建华
CN_121803404_PA

Resumen de: CN121803404A

本发明涉及发电设备领域,特别是一种风力发电塔,包括外壳,外壳内固接有螺杆和光杆,螺杆上螺纹连接有发电机,发电机的另一侧滑动连接在光杆上,螺杆的下端与外壳之间固接有第一旋转电机。所述发电机上加工有多个定位孔,每个定位孔内均滑动连接有一个定位销,多个定位销上固接有固定座。所述固定座上转动连接有风扇座,风扇座上加工有花键槽,花键槽内啮合连接有花键轴,花键轴设置在发电机上。所述风扇座内固接有三个第二旋转电机,三个第二旋转电机的输出轴上均加工有螺纹。本发明可以降低风力发电塔安装时的风险。

一种风力发电机偏航齿圈及制动机构

NºPublicación:  CN121803433A 07/04/2026
Solicitante: 
嘉兴荣硕机械有限公司
CN_121803433_PA

Resumen de: CN121803433A

本发明公开了一种风力发电机偏航齿圈及制动机构,涉及风力发电机的偏航系统应用领域,包括塔身和塔舱,塔舱的底部安装有多组液压卡钳,塔身的内侧通过设置柱脚安装有制动盘,其顶部开设有嵌合槽,嵌合槽的内部安装有环形架,环形架的内部嵌合有环形管,环形管的内外侧均匀设置有多组喷气口。本发明通过在制动盘表面设置环形架安装环形管,利用环形管对制动盘的表面进行喷气处理,可以起到一定的散热作用,降低制动盘因摩擦导致热变形的风险,喷气处理可以吹除滴落于制动盘表面的油液,减少渗漏油液停留时间,降低油液对制动盘表面的侵蚀,喷气处理还可以及时吹除制动卡钳摩擦片掉落的固定颗粒,减少其二次划伤制动盘表面。

一种风光火储耦合供热的系统

NºPublicación:  CN121803877A 07/04/2026
Solicitante: 
赫普能源环境科技股份有限公司
CN_121803877_PA

Resumen de: CN121803877A

本发明提出了一种风光火储耦合供热的系统;在系统运行时,利用风、光等新能源的电,通过电熔盐加热器(21)将热能储存在熔盐中。其中在风电、光伏不发电时或者在低电价时段,也可以利用火电机组发电机(6)出口的电通过电熔盐加热器(21)储存热量。火电厂从锅炉(1)主蒸汽抽取部分蒸汽,或者抽取再热器(2)热段的蒸汽后,通过蒸汽熔盐换热器(30)释放部分显热,一部分对外供汽,一部分返回再热器(2)冷段,保证再热器(2)的安全。在电负荷需求较高或者对外供汽量大时,将储存在熔盐中的热量通过熔盐水蒸汽换热器(28)释放出来,满足对外供汽参数的需要对外供汽,不需要对外供汽时,也可以直接从再热器(2)冷段返回机组发电。

基于阻抗特性的低频直驱型风电机组控制器参数分频辨识方法及设备

NºPublicación:  CN121806460A 07/04/2026
Solicitante: 
华北电力科学研究院有限责任公司国家电网有限公司
CN_121806460_PA

Resumen de: CN121806460A

基于阻抗特性的低频直驱型风电机组控制器参数分频辨识方法及设备,属于直驱型风电机组控制技术领域。为了解决现有的低频直驱型风电机组控制器参数辨识存在准确性不够高的问题。本发明首先获取低频直驱风电机组的电气设备参数,并构建低频直驱风电机组详细电磁暂态模型,然后通过调整变流器控制参数求解其在不同频段轨迹灵敏度,结合变流器控制参数对不同频段灵敏度特性确定待辨识参数;基于不同频段主导的待辨识控制参数,向模型注入全频段扰动信号,在并网点提取待辨识参数对应主导频段的电压与电流输出响应,进而求解该频段阻抗特性;采用粒子群智能算法,以该阻抗特性为观测量,完成低频直驱风电机组变流器控制参数辨识。

一种大型发电设备传动结构

NºPublicación:  CN121803413A 07/04/2026
Solicitante: 
国网河南省电力公司登封市供电公司国家电网有限公司
CN_121803413_PA

Resumen de: CN121803413A

本发明属于风电领域,具体涉及一种大型发电设备传动结构,包括塔体,所述塔体顶部转动连接机舱,所述机舱内设置第一传动机构,所述第一传动机构一端伸出机舱并固定连接有叶片轮毂机构;所述塔体底部设置有第二传动机构,所述第一传动机构与第二传动机构之间通过同步带传动连接,整体布局由塔顶捕获风能‑柔性传动带垂直传力‑塔底集中发电的构型,沉重的发电机及相关传动机构(第二传动机构、输出机构)全部置于塔底或近地面空间,这使得主要设备的安装、日常检修及大型部件更换均可在地面安全、高效完成,彻底规避了传统设计中将重型发电设备置于百米高空所带来的超高运维风险、难度与成本。

一种基于光纤传感的混塔转换段实时健康监测方法和系统

NºPublicación:  CN121803422A 07/04/2026
Solicitante: 
华电电力科学研究院有限公司
CN_121803422_PA

Resumen de: CN121803422A

本申请涉及一种基于光纤传感的混塔转换段实时健康监测方法,方法包括:获取混塔转换段的多源传感数据,通过预先构建的温度‑滑移双级解耦模型,基于多源传感数据进行特征提取与补偿运算,输出剔除温度干扰后的纯机械应变数据;基于虚功原理,利用纯机械应变数据沿传感器布设路径进行全域滑移分布反演,得到钢混转换段接触面的周向滑移物理量;基于周向滑移物理量生成健康评估结果,并在健康评估结果满足预设触发条件时,向风电机组主控系统发送分级控制指令。对钢混结合部健康状态的评估具备高准确性、高可靠性、高实时性的特点,可防止钢混段螺栓或钢绞线断裂等严重事故发生。

计及风速风向随机性的风电场布局与拓扑优化方法及系统

NºPublicación:  CN121808995A 07/04/2026
Solicitante: 
三峡物资招标管理有限公司中国长江三峡集团有限公司
CN_121808995_PA

Resumen de: CN121808995A

本发明提供一种计及风速风向随机性的风电场布局与拓扑优化方法及系统,涉及风电场规划与优化技术领域。包括:S1:选取多年实测风速风向样本数据,并构建二元指数多项式风速风向联合概率分布模型;S2:将所述风速风向联合概率分布模型离散化为风速风向离散状态概率矩阵,结合Jensen尾流模型计算等效平均功率,利用优化算法求解风电机组最优布局;S3:在所述风电机组最优布局基础上,采用K‑means聚类算法对风电机组位置进行分区并求解最小生成树,以确定分区内电缆连接,利用优化算法对升压站选址与分区进行全局优化,获得最优拓扑结构;实现了风电场发电量最大化与电缆总长度最短化的双重目标,提升了风能利用效率与项目经济效益,提高了模型预测准确性。

一种两阶段双馈感应风力发电机参数的校准方法

NºPublicación:  CN121803420A 07/04/2026
Solicitante: 
东南大学
CN_121803420_PA

Resumen de: CN121803420A

本发明公开了一种两阶段双馈感应风力发电机参数的校准方法,首先,建立风电场的等效风力发电机模型,并收集真实风电场公共耦合点的PMU量测数据;再对等效风力发电机模型参数的轨迹灵敏度进行分析,将高灵敏度参数选入待校准参数集;通过分段自适应采样算法对待校准参数进行粗调,得到初筛后的参数值和对应的置信区间;然后对置信区间进行排序,将置信区间较宽的参数选入待精调参数集;再次使用分段自适应采样算法对待精调参数进行第二轮校准,从而得到更高精度的参数值,完成参数的校准。本发明通过两步策略,提升了风力发电机模型参数的校准精度,并提供了置信区间对校准精度进行量化评估。

基于深度学习的风电机组叶片结冰状态监测系统及方法

NºPublicación:  CN121803427A 07/04/2026
Solicitante: 
中广核贵港港南风力发电有限公司
CN_121803427_PA

Resumen de: CN121803427A

本发明公开了基于深度学习的风电机组叶片结冰状态监测系统及方法,本发明涉及风力发电技术领域,深度学习模型模块,与所述特征提取模块连接,所述深度学习模型模块包括卷积神经网络层、长短期记忆网络层和全连接层,用于对所述融合特征向量进行分析处理,输出叶片结冰状态概率值,状态判断模块,与所述深度学习模型模块连接,用于根据所述叶片结冰状态概率值判断风电机组叶片的结冰状态,并输出监测结果,本发明的优点在于:通过采集风电机组的多源运行数据,包括振动数据、功率数据、转速数据、环境温度数据和环境湿度数据,实现了对叶片结冰状态的全面感知,提高了监测的准确性。

风力发电机叶片叶尖位移的测量方法及测量系统

NºPublicación:  CN121804329A 07/04/2026
Solicitante: 
国华能源投资有限公司
CN_121804329_PA

Resumen de: CN121804329A

本申请公开了一种风力发电机叶片叶尖位移的测量方法及测量系统,该测量方法包括确定叶尖变形对照表;基于叶尖变形对照表对应的测距传感器的安装位置,将测距传感器固定在预设的叶片工装支架上;其中,叶片工装支架用于将风力发电机叶片固定于运输装置上;在风力发电机叶片处于运输状态下,通过测距传感器测量原点位置到叶片之间的距离;其中,原点位置为测距传感器的安装位置;根据测距传感器测量得到的距离,在叶尖变形对照表中查询距离对应的叶尖位移,以得到叶尖位移。本申请不仅优化了测量操作,还能够提高计算叶尖位移结果的稳定性和精度。

基于氨水工质的漂浮式风电-地热化学储能一体化系统

NºPublicación:  CN121803403A 07/04/2026
Solicitante: 
成都理工大学
CN_121803403_PA

Resumen de: CN121803403A

本申请公开了基于氨水工质的漂浮式风电‑地热化学储能一体化系统,涉及海洋可再生能源综合利用技术领域,该系统包括多源能量单元,计算单元、多级相变热管理单元、海洋环境防护单元;本申请针对深远海环境特点,通过创新的系统设计和工艺优化,实现了风能、地热能等多种可再生能源的高效整合与利用,解决了现有技术中存在的能量存储密度低、环境适应性差、多能源协同困难等技术难题。

一种自供能阻尼可调装置及浮式海上风力发电机

NºPublicación:  CN121803585A 07/04/2026
Solicitante: 
浙江海风新能源科技发展有限公司
CN_121803585_PA

Resumen de: CN121803585A

一种自供能阻尼可调装置及浮式海上风力发电机,涉及海洋可再生技术领域,其中,自供能阻尼可调装置,包括:外壳,其两端设置有用于串联介入系泊链的标准连接接口;叶轮,可旋转地设置于所述外壳内部的水流道中;阻尼调节单元,设置于所述外壳内部,包括制动盘、密封腔、磁流变液及电磁励磁组件;所述制动盘与所述叶轮同轴连接,且至少部分浸没于填充有所述磁流变液的密封腔内;所述水流道与所述密封腔相互隔离;所述电磁励磁组件设置于密封腔外部;本发明通过调节磁场强度,能够无级、精准、快速地改变阻尼大小,使系泊系统从传统的被动特性转变为主动可控。

位于码头水域的漂浮式风机浮体连接装置及安装方法

NºPublicación:  CN121799579A 07/04/2026
Solicitante: 
明阳智慧能源集团股份公司
CN_121799579_PA

Resumen de: CN121799579A

本发明公开了位于码头水域的漂浮式风机浮体连接装置及安装方法,漂浮式风机浮体包括中心模块及分支模块,连接装置包括第一安装驳船、第二安装驳船、限位装置、钢绞线以及钢绞线千斤顶;中心模块可拆卸式安装在第一安装驳船上,分支模块可移动式安装在第二安装驳船上,限位装置围绕第一安装驳船与第二安装驳船设置,第一安装驳船与第二安装驳船通过限位装置在水面上保持相对静止;中心模块可拆卸式安装有锚座,每个分支模块安装有钢绞线及与钢绞线配合的钢绞线千斤顶,钢绞线与锚座连接,分支模块通过钢绞线千斤顶的驱动与中心模块连接。本发明实现在码头水域上安装漂浮式风机浮体,从传统陆域安装变为水域安装,无需大型设备即实现批量化安装。

用于低风速风力机的启动装置和风力机

NºPublicación:  CN121803388A 07/04/2026
Solicitante: 
哈尔滨工业大学
CN_121803388_PA

Resumen de: CN121803388A

本发明提供一种用于低风速风力机的启动装置和风力机,涉及风力机技术领域,包括转轴、导流叶片和螺旋叶片,所述转轴适于与风力机的机壳可转动地相连;所述导流叶片和所述螺旋叶片在所述转轴的轴向上间隔排布且均与所述转轴相连,所述导流叶片相较于所述螺旋叶片更邻近所述风力机的入风口,所述导流叶片为多个并沿所述转轴的周向间隔排布;所述螺旋叶片沿所述转轴的轴向螺旋延伸,所述螺旋叶片的旋转半径沿从所述风力机的入风口朝向所述风力机的出风口的方向逐渐增大,所述螺旋叶片为多个,多个所述螺旋叶片沿所述转轴的周向间隔开并呈阿基米德螺旋布置。本发明可以优化气流分布,改善流场环境并降低启动风速,同时改善了高风速下的能量捕获效率。

基于大模型的叶片故障诊断方法及装置、设备、介质及程序产品

NºPublicación:  CN121808294A 07/04/2026
Solicitante: 
北京金风慧能技术有限公司
CN_121808294_PA

Resumen de: CN121808294A

本公开涉及人工智能数据处理技术领域及风力发电技术领域,提供一种基于大模型的叶片故障诊断方法及装置、设备、介质及程序产品,所述叶片故障诊断方法包括:获取叶片的振动数据;基于所述振动数据,生成振动图像数据;利用第一大模型,根据预设的提示词和所述振动图像数据,对所述叶片进行故障诊断,得到故障诊断结果,所述预设的提示词提示所述第一大模型进行故障诊断的诊断规则。本公开解决了难以提高叶片故障诊断效果的问题,利用了大模型对数据的深度理解和挖掘能力,还利用提示词引导大模型根据提示词给定的规则进行故障诊断,提高大模型对故障诊断的准确性,更适应于智慧风电场景,促进风电运维数字化、智能化的发展。

一种风机叶片损伤预测方法

NºPublicación:  CN121803417A 07/04/2026
Solicitante: 
陕西黄河集团有限公司
CN_121803417_PA

Resumen de: CN121803417A

本发明涉及一种风机叶片损伤预测方法。包括:采集运行中的风机叶片的UWB三维回波场时序数据、动态应变场时序数据和动态声学时序数据;基于UWB三维回波场时序数据和动态应变场时序数据进行时空对齐获得损伤散射信号场时序数据;基于逆散射成像模型,以损伤散射信号场时序数据作为输入,输出损伤三维重构图时序图;以损伤三维重构图时序图、损伤散射信号场时序数据和动态声学时序数据为数据驱动建立四维叶片损伤演化预测模型,并基于四维叶片损伤演化预测模型生成风机叶片的损伤预测结果。本发明实现了对在役运行状态下叶片内部损伤的全覆盖监测;基于物理机理与数据驱动使得损伤的三维成像更清晰、四维演化预测更符合科学规律。

一种静态的风力发电机叶片组

NºPublicación:  CN121803424A 07/04/2026
Solicitante: 
上海久能能源科技发展有限公司
CN_121803424_PA

Resumen de: CN121803424A

本发明提供了一种静态的风力发电机叶片组,包括静态叶片和轴棍;所述静态叶片包括叶片一、叶片二、叶片三、叶片四;所述叶片一设置在所述静态叶片的前端,所述叶片二设置在所述叶片一的后端,所述叶片三设置在所述叶片二的后端,所述叶片四设置在所述叶片三的后端;所述轴棍设置在所述叶片一、所述叶片二、所述叶片三、所述叶片四的中心位置。本发明的静态叶片风力发电机,静态叶片不发生旋转,避免了叶片转动的损坏以及噪音的污染,同时静态叶片还起到了层层聚风、层层增压的作用。

风力发电机叶片多维度形变监测方法和系统

NºPublicación:  CN121804389A 07/04/2026
Solicitante: 
华能湖南北湖风电有限责任公司中国华能集团清洁能源技术研究院有限公司
CN_121804389_PA

Resumen de: CN121804389A

本发明提供了一种风力发电机叶片多维度形变监测方法和系统,涉及风力发电机叶片监测技术领域,方法通过部署在风机塔筒上的二维微波雷达传感器阵列同步采集叶片多截面距离数据,经过高精度时间戳校准与同步处理生成时间对齐的距离数据集,结合塔筒设计参数准确计算各截面形变量,并基于叶片旋转模型通过空间坐标转换构建统一三维坐标系下的动态形变模型,最终通过智能分析输出叶片健康状态评估与风险预警,实现了对叶片全维度形变的高精度、全天候、无盲区实时监测,有效克服了传统方法存在的环境适应性差的缺陷,显著提升了叶片健康状态评估的准确性与扫塔风险预警的及时性。

一种升力体涵道及平流层高空发电装置

NºPublicación:  CN121803389A 07/04/2026
Solicitante: 
北京临一技术有限公司
CN_121803389_PA

Resumen de: CN121803389A

本发明公开了一种升力体涵道及包括其的高空发电装置,升力体涵道包括涵道本体,所述涵道本体为回转体,所述涵道本体的截面轮廓由L1、L2、L3和L4这4段曲线围成,所述涵道本体的回转轴线与直线y=0重合,其中曲线L1和曲线L2为椭圆曲线,曲线L3和曲线L4以贝齐尔曲线表示,应用包括上述升力体涵道的高空发电装置,能够有效提高高空发电装置的稳定性,减少高空发电装置系留组件的长度。

一种绿色蓄能户外变压器

NºPublicación:  CN121812310A 07/04/2026
Solicitante: 
张伟
CN_121812310_PA

Resumen de: CN121812310A

本发明公开了一种绿色蓄能户外变压器,包括设置的变压器本体,且变压器本体安装于防护罩的内部,并且防护罩置于室外,而且变压器本体的外侧安装有半导体制冷片;还包括:所述防护罩的顶部设置有防雨顶,且防雨顶的底部与防护罩顶部之间安装有弹性滑柱,并且防雨顶的顶部嵌入式安装有光伏板;所述防护罩左右两侧顶部的内壁中安装有第一发动机,且防护罩左右两侧中部的内壁中安装有第二发动机;所述防护罩底部的顶面上对称开设有横槽,且横槽中连接有活动板。该绿色蓄能户外变压器,可利用自然界的风能,雨水和阳光进行发电蓄能,且能够进行高效的散热处理,同时可以进行便捷快速的安装固定。

漂浮风机塔筒横风向多模态振动控制的多调谐液体阻尼器

NºPublicación:  CN121803593A 07/04/2026
Solicitante: 
中广核风电有限公司
CN_121803593_PA

Resumen de: CN121803593A

本发明公开了漂浮风机塔筒横风向多模态振动控制的多调谐液体阻尼器,包括:漂浮风机塔筒,沿着所述漂浮风机塔筒竖直方向上固接有多个液体阻尼器;每个所述液体阻尼器包括连接件、与所述连接件固接的外部腔体以及设置于所述外部腔体的内部液体;通过液体阻尼器分布多点协同调谐,使得各阻尼器分别对其所在位置的主要模态响应进行有效耗能,显著抑制多阶振动模态的幅值,提升整体结构的减振效果。根据本发明,实现对多个关键振型的精准调谐与高效耗能,有效降低各阶模态振幅并抑制共振现象,从而提升塔筒整体的抗振性能和安全性,延长风机系统的服役寿命,减少维护与检修成本。

叶根预埋件、风电叶片及其制造方法

NºPublicación:  CN121803406A 07/04/2026
Solicitante: 
远景能源有限公司
CN_121803406_PA

Resumen de: CN121803406A

本公开涉及一种叶根预埋件、风电叶片及其制造方法,风电叶片包括:预埋连接件,预埋连接件具有螺纹孔,螺纹孔与预埋连接件的一端连通,预埋连接件的外周面具有相对设置的第一侧和第二侧,预埋连接件位于第一侧和第二侧处均设有若干连接孔;第一铺层,所述第一铺层铺设在所述第一侧,若干第一紧固件穿过所述第一铺层与位于所述第一侧的若干连接孔连接,并向所述第一铺层施加朝向所述预埋连接件的作用力;第二铺层,所述第二铺层铺设在所述第二侧,若干第二紧固件穿过所述第二铺层与位于所述第二侧的若干连接孔连接,并向所述第二铺层施加朝向所述预埋连接件的作用力。本公开提供的技术方案,可以抑制层间分离,提高风电叶片的叶根的承载能力。

一种基于图神经网络的海上风力电能预测方法

NºPublicación:  CN121808717A 07/04/2026
Solicitante: 
国电投南通新能源有限公司
CN_121808717_PA

Resumen de: CN121808717A

本发明公开了一种基于图神经网络的海上风力电能预测方法,包括如下步骤:采集数据预处理生成多源输入数据集;基于多源输入数据集生成初始拓扑关系;构建包括动态拓扑更新模块、扩散图卷积特征提取模块、物理约束筛选模块、时序扩散建模模块与时空融合模块的改进的Diffusion‑GNN;生成动态拓扑图和时变图结构序列;执行方向性扩散卷积生成空间扩散特征;处理空间扩散特征生成物理一致性空间特征;对物理一致性空间特征进行时序建模,将空间扩散特征与时序扩散特征融合生成时空联合特征;生成目标预测时段的电能输出预测结果。本发明构建改进的网络动态刻画风机耦合关系,实现海上风电高精度预测,具备稳定性强与适应性高的优点。

基于多维时序量测互信息估计器变量优选的风机故障感知方法及系统

NºPublicación:  CN121808572A 07/04/2026
Solicitante: 
武汉大学
CN_121808572_PA

Resumen de: CN121808572A

本发明提出了一种基于多维时序量测互信息估计器变量优选的风机故障感知方法及系统,包括:构建多维时序量测数据集;构建非参数互信息估计器进行空间划分和互信息计算;构建候选变量集,基于非参数互信息估计器,对候选变量集进行特征优选;构建长短时记忆网络深度学习模型并进行模型训练;使用训练好的长短时记忆网络深度学习模型进行在线风机故障分类感知。本发明采用数据驱动方法,基于多维时序量测互信息估计器对SCADA系统中的多变量进行特征选择,识别和选择包含更有利于风机故障早期检测数据模式的特征变量。基于优选后的特征子集,可以得到更精确、更高效的在线风机故障预测的深度学习模型,有助于实时概率预测。

山区多机吊运单机故障下协同重构控制方法及系统

NºPublicación:  CN121800061A 07/04/2026
Solicitante: 
国网四川省电力公司电力应急中心
CN_121800061_PA

Resumen de: CN121800061A

本发明提供山区多机吊运单机故障下协同重构控制方法及系统,涉及数据处理技术领域,所述方法包括:步骤1,检测主吊机失力故障,并获取塔筒顶端吊耳中心、塔筒底端法兰圆心、第一及第二辅助吊机吊具铰点的空间坐标;基于空间坐标确定空间平面,根据塔筒底端法兰圆心和两个吊具铰点在空间平面上的投影,求解并定义基准圆;步骤2,以基准圆的圆心为中心点构造共面的多边形安全包络,将多边形安全包络沿塔筒轴向拉伸为柱状区域,得到无碰撞的初始运动通道。本发明在山区多机吊运主吊机失力故障时,通过空间坐标感知、安全运动通道构建、动态指令调整及实时力补偿与重规划,实现辅助吊机协同控制,保障塔筒吊运无碰撞且稳定就位。

风电机组故障预警方法、系统及电子设备

NºPublicación:  CN121803419A 07/04/2026
Solicitante: 
江苏龙源新能源有限公司
CN_121803419_PA

Resumen de: CN121803419A

本发明公开风电机组故障预警方法、系统及电子设备。风电机组故障预警方法包括:采集风电机组控制系统的运行数据;将所述运行数据进行预处理;将预处理数据输入预测推理模型,得到所述预测推理模型输出的预测预警信息;基于所述预测预警信息,执行预警操作。本发明通过采集风电机组控制系统的运行数据,通过预测推理模型输出预测预警信息,基于预测预警信息,执行预警操作。本发明实现风电机组大部件故障预警,由于通过预测推理模型推理输出预测预警信息,因此能够提前进行预警,从而提升及时率。同时,由于采集风电机组控制系统的运行数据进行预测推理,提高预警准确率。

基于图神经网络的海上风力发电运维异常检测与定位方法

NºPublicación:  CN121808608A 07/04/2026
Solicitante: 
国电投南通新能源有限公司
CN_121808608_PA

Resumen de: CN121808608A

本发明公开了一种基于图神经网络的海上风力发电运维异常检测与定位方法,包括如下步骤:S1、采集海上风力发电系统的运行监测数据,并对运行监测数据进行预处理;S2、构建风力发电系统的全局图;S3、设计异常扰动模拟机制,生成扰动图样本数据;S4、构建基于改进的Graphormer网络的图对比学习模块,通过对比学习训练Graphormer网络;S5、从全局图中提取与潜在异常关联的子图区域;S6、在每个子图上执行图嵌入传播;S7、构建双任务模块,并生成异常识别报告。本发明融合图对比学习与改进的Graphormer网络,实现海上风电异常检测与定位,具备结构感知强、定位精度高、响应快速的优点。

テンションレッグプラットフォームのためのテンドンおよびそうしたテンドンを含むテンションレッグプラットフォーム

NºPublicación:  JP2026510501A 07/04/2026
Solicitante: 
キャビン・エア・グループ・べー・フェー
JP_2026510501_A

Resumen de: EP1000000A1

The invention relates to an apparatus (1) for manufacturing green bricks from clay for the brick manufacturing industry, comprising a circulating conveyor (3) carrying mould containers combined to mould container parts (4), a reservoir (5) for clay arranged above the mould containers, means for carrying clay out of the reservoir (5) into the mould containers, means (9) for pressing and trimming clay in the mould containers, means (11) for supplying and placing take-off plates for the green bricks (13) and means for discharging green bricks released from the mould containers, characterized in that the apparatus further comprises means (22) for moving the mould container parts (4) filled with green bricks such that a protruding edge is formed on at least one side of the green bricks.

一种自适应MPPT控制方法及系统

NºPublicación:  CN121803401A 07/04/2026
Solicitante: 
兰州理工大学
CN_121803401_PA

Resumen de: CN121803401A

本申请公开了一种自适应MPPT控制方法及系统,包括以下步骤:S1.数据采集与处理:实时采集运行风速数据,并进行滤波处理;S2.风速特征提取:基于处理后的实时风速数据,计算实时风速波动幅度;多模式协同控制可适配不同风况与电网状态,在风场稳定、电网正常时实现高效发电,在风况波动或电网超差时通过储能快速补偿功率差,在电网中断或低风速时保障负载供电连续性,同时通过储能SOC约束避免设备过度充放电,延长储能寿命,整体满足中小型分布式场景下对发电效率、供电稳定性及设备保护的综合需求。

一种组合式力矩限制器及具有其的风电联轴器

NºPublicación:  CN121803571A 07/04/2026
Solicitante: 
洛阳云川风能科技有限公司
CN_121803571_PA

Resumen de: CN121803571A

本发明涉及风电联轴器技术领域的一种组合式力矩限制器及具有其的风电联轴器,包括力矩限制器法兰、至少两个压盘、至少两个摩擦盘及多个摩擦片;所述压盘通过同一组螺栓与力矩限制器法兰连接;摩擦盘分别设置于力矩限制器法兰与相邻压盘之间以及相邻压盘之间;摩擦片设置于法兰与摩擦盘之间及压盘与摩擦盘之间,形成多个串联的摩擦副;相邻摩擦盘之间通过端面花键连接,用于传递扭矩并提供轴向调整间隙;螺栓使所有摩擦副产生相等的正压力。本发明通过同一组螺栓统一压紧所有摩擦副,使各摩擦片受力相等、无压力叠加现象,在摩擦片承压极限范围内有效提升打滑扭矩,且结构紧凑、调试简便、运行稳定可靠,适用于大功率风电联轴器。

一种海上风机吊装设备

NºPublicación:  CN121800054A 07/04/2026
Solicitante: 
中天科技集团海洋工程有限公司
CN_121800054_PA

Resumen de: CN121800054A

本发明涉及一种海上风机吊装设备,涉及风机吊装技术领域,其包括吊架,所述吊架上设置起吊组件,所述起吊组件用于吊装风机本体,所述吊架一侧设置一组夹持座,所述夹持座相对设置,所述夹持座相对面均开设半环槽,所述半环槽贯穿夹持座顶壁和夹持座底壁,所述半环槽上开设若干通槽,所述通槽内设置变径组件,所述变径组件用于调节夹持座的内径,所述夹持座与吊架之间设置连接组件,所述连接组件用于使夹持座沿吊架水平宽度方向移动,所述吊架上设置伸缩组件,所述伸缩组件用于使连接组件同步沿吊架水平长度移动。本申请具有减少风机本体摆动,便于风机本体与基础支撑桩对接的效果。

一种降低风电机组噪声的运行控制方法

NºPublicación:  CN121803398A 07/04/2026
Solicitante: 
中电建宁夏工程有限公司
CN_121803398_A

Resumen de: CN121803398A

本发明公开了一种降低风电机组噪声的运行控制方法,涉及电机工程技术领域,包括获取采集的噪声预测数据建立噪声预测模型,通过PID控制算法计算最优调整参数,动态调整叶片变桨角度,调节发电机励磁电流;本发明通过基于噪声传感器阵列和外部环境参数的动态监测与修正机制,能够准确评估实际噪声水平并自适应调整控制策略,从而在复杂工况下实现稳定降噪。其次,该方法通过引入外部影响指数和噪声水平量化模型,增强了系统对环境干扰的鲁棒性,利用温度梯度和背景噪声数据对监测值进行实时修正,避免误判,同时采用PID算法或模糊控制动态调节变桨角度与励磁电流,既保障了降噪效果又最大限度维持了发电效率,降低风能捕获的损失。

风力发电机组主轴系统的排脂方法、系统、机组及介质

NºPublicación:  CN121803432A 07/04/2026
Solicitante: 
三一重能股份有限公司
CN_121803432_PA

Resumen de: CN121803432A

本申请提供一种风力发电机组主轴系统的排脂方法、系统、机组及介质,涉及风力发电技术领域。风力发电机组主轴系统的排脂口与执行机构连接,该方法包括:获取风力发电机组主轴系统的排脂触发信息;根据排脂触发信息确定执行机构对应的排脂参数;根据排脂参数,控制执行机构进行排脂。本申请的方法,能够实现主动按需排脂,保持主轴内腔脂量的动态平衡。

一种高湍流山地风机的抗极限载荷叶片结构

NºPublicación:  CN121803393A 07/04/2026
Solicitante: 
华能吐鲁番风力发电有限公司
CN_121803393_PA

Resumen de: CN121803393A

本发明涉及风机抗载荷技术领域,具体地说,涉及一种高湍流山地风机的抗极限载荷叶片结构。其包括能量传递组件,所述能量传递组件包括滑块,所述滑块的内部设置有摆动组件,所述摆动组件包括水平滑动设置于滑块内部的滑杆,所述滑块的两端均设置有阻尼耗能组件,所述阻尼耗能组件包括主体,所述主体靠近滑块的一端滑动设置有第一活塞杆和第二活塞杆。本发明通过滑块和摆动组件共同分担并耗散了极限载荷下风机叶片所承受的冲击与振动能量,而且通过第一活塞杆和第二活塞杆将不同来源、不同类型的动能统一转化为热能耗散,有效切断了破坏性能量在风机叶片内部反复传递与累积的路径,显著提升了风机叶片在极限载荷下的可靠性与耐久性。

融合季节性特征与注意力机制的风机故障检测方法与系统

NºPublicación:  CN121808709A 07/04/2026
Solicitante: 
兰州理工大学
CN_121808709_PA

Resumen de: CN121808709A

本发明公开了融合季节性特征与注意力机制的风机故障检测方法与系统,包括:获取风机的历史SCADA数据进行预处理,并引入季节标签构建标准化输入向量;将标准化输入向量输入注意力增强的双向长短期记忆网络,输出风机各关键部件的正常行为预测值;依据对应的季节标签,对原始残差序列进行分季标准化映射,得到去季节化的标准化残差序列;利用指数加权移动平均算子计算标准化残差序列中各关键部件的微小偏移,当偏移统计量超过相应关键部件的检测阈值时,进行风机相应关键部件的故障告警。本发明融合季节性特征与深度注意力机制,通过双向长短期记忆建模部件热响应、分季标准化残差消除环境干扰,显著提升风机关键部件早期故障诊断的准确性。

漂浮式风电机组的评估方法、装置及电子设备

NºPublicación:  CN121803416A 07/04/2026
Solicitante: 
中车启航新能源技术有限公司
CN_121803416_PA

Resumen de: CN121803416A

本发明提供一种漂浮式风电机组的评估方法、装置及电子设备,该方法包括:对目标漂浮式风电机组在各工况下的载荷及运动进行计算,得到机舱和浮体平台的载荷及运动参数;将目标漂浮式风电机组进行模型拆解,得到旋转部件集合和固定部件集合,并计算旋转部件集合和固定部件集合分别相对于参考点的对应的质量、质心和转动惯量;基于质量、质心和转动惯量,以及机舱的运动参数,计算固定部件集合相对于旋转部件集合的力和力矩;将力和力矩叠加至机舱的载荷中,并进行裕度评估,得到第一评估结果;在第一评估结果表征超载的情况下,基于质量、质心和转动惯量,以及设计响应情况,进行轴承安全性评估,得到第二评估结果。本发明可实现快速精准的评估。

一种风力叶片的雷电防护结构及方法

NºPublicación:  CN121803426A 07/04/2026
Solicitante: 
济南雷盾电子技术有限公司
CN_121803426_PA

Resumen de: CN121803426A

本发明公开了一种风力叶片的雷电防护结构及方法,属于风力发电设备安全技术领域,包括转动安装于主轴上的风力叶片,其特征在于:还包括设置于风力叶片上的防护机构,防护机构包括设置于风力叶片上的线性接闪导体、与线性接闪导体电气连接的主下行导体和用于监测雷电流参数的监测组件,线性接闪导体沿风力叶片长度方向敷设于叶片外表面易遭雷击区域,主下行导体设置于风力叶片内部,监测组件设置于风力叶片根部。本申请具有对风力叶片提供更高可靠性的全方位保护并实现风力叶片的自我状态诊断的效果。

一种风-浪-渔高稳定性集成系统

NºPublicación:  CN121799569A 07/04/2026
Solicitante: 
中电建新能源集团股份有限公司华南理工大学
CN_121799569_PA

Resumen de: CN121799569A

本发明公开了一种风‑浪‑渔高稳定性集成系统,包括浮式风机平台、垂荡式波浪能发电装置及海洋渔网;垂荡式波浪能发电装置安装在浮式风机平台的浮筒中心,垂荡式波浪能发电装置利用浮式风机平台在波浪作用下的垂直振荡运动捕获能量,并转换为电能;海洋渔网固定在浮式风机平台底座。本发明能够在实现深远海海洋养殖的同时,实现浮式风机平台进一步减荡、减摇。

一种工业用的新能源发电装置

NºPublicación:  CN121813990A 07/04/2026
Solicitante: 
河南省同信电力工程有限公司
CN_121813990_PA

Resumen de: CN121813990A

本发明涉及发电装置技术领域,且公开了一种工业用的新能源发电装置,包括底板和光伏发电组件,所述光伏发电组件设置于底板的上方,所述光伏发电组件的下表面一侧安装有风力发电组件,所述风力发电组件的旋转轴安装有扇叶,所述底板的上表面一侧设置有储能设备,所述光伏发电组件和风力发电组件均通过导线与储能设备电性连接,底板的上表面一侧设置有带动光伏发电组件纵向移动的第一传动机构,所述光伏发电组件的上表面相抵设置有刮条,所述光伏发电组件设置有带动刮条移动的第二传动机构。该工业用的新能源发电装置,能够将风力发电模块和光伏发电模块降低至较低位置,方便省时省力的对风力发电模块和光伏发电模块进行维护。

融合数字孪生数据的PLC变桨距控制方法及系统

NºPublicación:  CN121803395A 07/04/2026
Solicitante: 
华能威宁风力发电有限公司北京华能新锐控制技术有限公司西安热工研究院有限公司
CN_121803395_PA

Resumen de: CN121803395A

本申请公开了一种融合数字孪生数据的PLC变桨距控制方法及系统,其在PLC现有控制架构基础上,引入主动扰动注入机制,通过在基准PID指令中叠加微弱激励信号,增强系统动态特性的可观测性。利用滤波后的发电机转速与桨距角反馈数据,在线辨识反映机组实时气动与机械特性的ARX模型,并将其映射为连续状态空间模型。在此基础上,构建基于线性二次型调节器的多目标优化框架,通过量化的权重系数平衡发电效率与机械载荷,解析计算出最优PID参数并进行平滑更新。该机制在低算力PLC中实现了对风机部件老化、叶片结冰等缓变特性的在线感知与自适应补偿,解决了传统静态控制策略无法兼顾全生命周期内性能最优与载荷均衡的技术难题。

基于深度学习的风电机组偏航误差预测控制方法及系统

NºPublicación:  CN121803394A 07/04/2026
Solicitante: 
华能威宁风力发电有限公司北京华能新锐控制技术有限公司西安热工研究院有限公司
CN_121803394_PA

Resumen de: CN121803394A

本申请公开了一种基于深度学习的风电机组偏航误差预测控制方法及系统,其首先利用自适应去噪模块处理多维原始传感器数据,分离出纯净的物理信号并获取瞬时差值信号。进一步地,结合机组运行上下文对差值信号进行建模,预测当前工况下的预期噪声特性,从而生成具备归因性的噪声水平估计,有效区分正常运行波动与异常干扰。在此基础上,将去噪输入与噪声水平估计协同输入贝叶斯预测模型,输出包含均值序列和方差序列的预测偏航误差分布,实现了对预测结果不确定性的显式量化。最终,基于该分布进行控制风险评估,动态合成自适应控制参数以优化偏航动作,从而在抑制数据噪声干扰的同时,确保控制决策在不确定性环境下的准确性与安全性。

一种风机传动链故障定位方法及系统

NºPublicación:  CN121808524A 07/04/2026
Solicitante: 
南京信息工程大学
CN_121808524_PA

Resumen de: CN121808524A

本发明公开了一种风机传动链故障定位方法及系统,其中方法包括:构建包含物理流和潜伏流两条通路的双流图神经网络模型,模型的输入为根据多通道振动信号构建的各节点特征,输出为节点增强表征,其中,物理流和潜伏流分别用于提取节点间的显式结构关联特征和隐式关联特征;在训练阶段引入物理一致性约束,以抑制隐式关联结构在空间上的不合理跳变;在模型运行阶段结合基于样本信息量的历史样本管理机制,实现模型在新故障类别出现时的持续适应而不遗忘既有知识;最终基于原始判别响应变化对各传感器节点的贡献度进行量化,生成与传动链拓扑一致的故障定位结果。本发明能够在小样本与增量学习场景下实现对风机传动链故障的精细化、可解释定位。

一种风力太阳能发电聚能塔及应用

NºPublicación:  CN121813989A 07/04/2026
Solicitante: 
杭州慈源科技有限公司
CN_121813989_PA

Resumen de: CN121813989A

本发明公开一种风力太阳能发电聚能塔及应用,属于可再生能源利用领域,包括:太阳能单晶硅板,用于将太阳能转化为电能,并用电能对聚能储热箱进行储热;风力发电单元,用于将风能转化为电能,并用电能对聚能储热箱进行储热;聚能储热箱,内部装有复合熔盐,用于接收来自太阳能单晶硅板和风力发电单元产生的电能并对内部的复合熔盐进行加热,以及对加热后的复合熔盐保温。本发明创造性的将风力太阳能发电系统中存储电能改为存储热能,相比于储电设备,聚能储热箱的体积相对要小的多,聚能储热箱中通过复合熔盐储热,能源消耗少,复合熔盐受热放热可反复进行,聚能储热箱损耗极少,使用寿命相比于储电设备长很多,后续维修更换费用极低。

风电扭缆活动支撑机构及偏航角度检测方法

NºPublicación:  CN121813214A 07/04/2026
Solicitante: 
华电(云南)新能源发电有限公司
CN_121813214_PA

Resumen de: CN121813214A

本发明提供一种风电扭缆活动支撑机构及偏航角度检测方法。所述风电扭缆活动支撑机构包括靠近塔筒设置的鞍座和横跨塔筒设置的底座,所述底座顶部竖直设有多个套筒,以及分别滑动设于所述套筒内的多个支柱,所述支柱均支撑于扭缆弯折部位的底端,所述套筒内设有支撑机构与所述支柱连接。所述偏航角度检测方法包括将偏航角度数据与压力数据和位移数据对应,并从所述压力数据和所述位移数据反推偏航角度数据。本发明提供的所述风电扭缆活动支撑机构及偏航角度检测方法解决了风电扭缆的固定机构承载能力不足的问题。

风电混塔管片竖缝灌浆密实度提升装置及施工方法

NºPublicación:  CN121803062A 07/04/2026
Solicitante: 
中国二十二冶集团有限公司
CN_121803062_PA

Resumen de: CN121803062A

本发明涉及风电混塔施工技术领域,尤其是涉及一种风电混塔管片竖缝灌浆密实度提升装置及施工方法,提升装置包括灌浆装置和柔性密封板,相邻预制混凝土管片之间形成灌浆竖缝,灌浆竖缝两侧通过竖缝密封板密封,灌浆装置包括上部注浆机构和下部固定机构,下部固定机构可拆卸安装于预制混凝土管片上,柔性密封板设置于上部注浆机构与预制混凝土管片顶面之间,密封板中部开设有过流孔。基于注射增压原理,采用“底部注浆+顶部带压补浆”的复合工艺,先通过底部压力注浆使浆液初步填充灌浆竖缝,待浆液溢流后,利用上部注浆机构推动浆液进行二次加压,迫使浆液充分充盈灌浆竖缝顶部空隙,隔绝空气、减少水分蒸发、避免开裂,实现竖缝密实灌浆。

一种风力发电机传动轴润滑装置

NºPublicación:  CN121803431A 07/04/2026
Solicitante: 
甘肃龙源新能源有限公司
CN_121803431_PA

Resumen de: CN121803431A

本发明提供了一种风力发电机传动轴润滑装置,涉及风力发电机转轴润滑技术领域,包括安装室、驱动板、润滑油筒、活塞、推杆、电机转轴、安装轴、下压块、受力块和联动孔,所述安装室内部后侧设有电机转轴和安装轴,所述安装轴前端设有驱动板,所述驱动板前侧设有下压块,所述驱动板下方设有润滑油筒,所述润滑油筒内部设有活塞,所述活塞上侧设有推杆,所述推杆上侧设有受力块,所述受力块前侧开设有联动孔。本发明与现有技术相比的优点在于:能够根据转轴的转动自动对转轴进行润滑;方便添加润滑油。

一种风力发电机控制器

NºPublicación:  CN224097946U 07/04/2026
Solicitante: 
合肥绿博新能源科技有限公司
CN_224097946_U

Resumen de: CN224097946U

本实用新型涉及风力发电技术领域,具体公开了一种风力发电机控制器,包括控制器主体和防护壳,所述防护壳的内部分别活动安装有第一挡板和第二挡板,所述第一挡板一侧固定安装有弹簧,所述防护壳的内部固定安装有夹持座,所述夹持座的内部固定安装有接线端口,所述夹持座的内部分别设有第一压辊和第二压辊,第一挡板与第二挡板相互抵压将防护壳开口处进行掩盖,导线槽能够对导线穿进行夹持定位,第一挡板四周的密封垫能够提高防护壳内部的密封性,防止液体等异物流进接线端口内部造成安全隐患,转动转杆能够使第一压辊和第二压辊之间的缝隙减小,从而对导线进行夹持固定,无需使用特殊工具即可对导线进行安装拆卸,方便操作使用。

新型风力发电机支撑型复合式塔架过渡段平台

NºPublicación:  CN224093496U 07/04/2026
Solicitante: 
北京华汪科技有限公司
CN_224093496_U

Resumen de: CN224093496U

本实用新型涉及一种新型风力发电机支撑型复合式塔架过渡段平台,电力、通讯和建筑工程等领域,包含与该塔架过渡段平台连接的塔架机组顶部塔筒、塔架过渡段平台及连接高强螺栓、与塔架过渡段平台连接的上部塔筒,采用该结构,该塔架过渡段平台进一步改进和优化了一体化过渡段设计方案,结构部件设计简单、安全可靠,能够很好保障塔架运行安全性,同时采用铸钢件或锻钢件制造,工艺流程较成熟,可以沿用风力发电机组较成熟的生产加工工艺,进一步降低了过渡段平台的生产和制造成本。

一种便于拆卸的圆形钢模板

NºPublicación:  CN224092972U 07/04/2026
Solicitante: 
中建六局第七建设有限公司中建科技天津有限公司
CN_224092972_U

Resumen de: CN224092972U

一种便于拆卸的圆形钢模板,圆形钢模板由多块弧形钢模板拼接而成,多块弧形钢模板分为首拆模板、临接模板和标准模板,首拆模板的两侧边各拼接一块临接模板,若干块标准模板拼接在临接模板另一侧用以拼接剩余的内模板。本实用新型的首拆模板设置角度特点,使其能够沿水平方向轻松脱模,然后再拆除临接模板,拆除的摩擦力显著降低,可轻松拆卸,有效降低了拆除模板的难度,缩短施工时间,同时降低了吊装机械使用的频率,节省了施工成本。

一种风机组装使用的电动平板车

NºPublicación:  CN224090107U 07/04/2026
Solicitante: 
中船第九设计研究院工程有限公司
CN_224090107_U

Resumen de: CN224090107U

本实用新型涉及电动平板车技术领域,具体公开了一种风机组装使用的电动平板车,包括底座以及移动座;所述底座两端均设置有驱动机构,所述底座一侧分别设置有电动伸缩杆以及承板,所述承板一端与所述底座转动连接,所述电动伸缩杆纵向设置在所述底座上,所述承板一侧滑动连接有滑块,所述电动伸缩杆远离所述底座的一端与所述滑块转动连接,所述承板一侧安装有单轴电机,所述单轴电机输出端轴固定连接有第一丝杆;所述移动座与所述第一丝杆连接,所述移动座上安装有双轴电机,所述双轴电机两侧输出轴均固定连接有第二丝杆,所述第二丝杆上连接有第一夹板,所述第一夹板上滑动连接有第二夹板,所述第二夹板与所述第一夹板之间连接有锁紧件。

电力设备及风力发电机组

NºPublicación:  CN224097238U 07/04/2026
Solicitante: 
江苏金风科技有限公司
CN_224097238_U

Resumen de: CN224097238U

本申请涉及一种电力设备及风力发电机组,电力设备包括:柜体,包括主体部以及柜门,主体部具有开口,柜门连接于主体部,以打开或者封闭开口;功能组件,设置于柜体内,功能组件包括相互电连接的供电电路以及功能部件;锁定组件,设置于柜体,锁定组件包括电磁锁定件,电磁锁定件包括锁定主体以及锁定触点,锁定主体连接于柜门以及主体部,以使柜门相对主体部在锁定状态与开启状态之间切换,锁定触点设置于锁定主体并能够随柜门移动,以接通或者断开供电电路;控制组件,与功能组件以及锁定组件连接,控制组件用于控制电磁锁定件的锁定与解锁以及供电电路的通断。本申请提供的电力设备能够提高可靠性,降低操作人员触电风险。

一种可发电的抗风型桥塔

NºPublicación:  CN224092313U 07/04/2026
Solicitante: 
中国铁建大桥工程局集团有限公司清华大学
CN_224092313_U

Resumen de: CN224092313U

本实用新型涉及桥塔结构技术领域,尤其涉及一种可发电的抗风型桥塔。其技术方案包括:两组合桥塔,相邻的两个所述组合桥塔之间固定安装有横梁,还包括:固定安装于组合桥塔上的风嘴,所述组合桥塔的两侧固定安装有风力发电装置。本实用新型通过风嘴与风力发电装置相结合,充分利用风能,可以直接为桥面上的路灯等设施供电,降低建筑碳排放,符合绿色发展理念,该结构形式适用于大跨度桥梁桥塔结构,提升桥塔抗风性能的同时利用风能实现减碳目标。

一种风电机组湿度监测的设备

NºPublicación:  CN224093497U 07/04/2026
Solicitante: 
江苏能未来精密科技有限公司
CN_224093497_U

Resumen de: CN224093497U

本实用新型涉及湿度监测技术领域,具体为一种风电机组湿度监测的设备,包括:监测仪、连接把手和检测装置,监测仪的内部通过旋钮转动连接有固定盘,固定盘通过连接柱连接有转盘,转盘通过数据线与外壳连接,外壳与连接把手连接,连接把手通过弹簧和卡柱与监测仪连接;本实用新型的有益效果为:通过旋钮可将数据线整体有序的缠绕在监测仪内部的转盘中,以此避免发生数据线缠绕的情况,同时外壳可以被连接把手固定,以此使得整体在收纳时不占空间,装置整体便于使用与收纳,数据线易使用且不易缠绕。

微风风力发电装置

NºPublicación:  CN224093493U 07/04/2026
Solicitante: 
华东至正工业自动化(常熟)有限公司
CN_224093493_U

Resumen de: CN224093493U

本实用新型微风风力发电装置,包括垂直旋转轴,垂直旋转轴的下部连接支撑座,上部设有内叶片组件;支撑座内设置有发电机,垂直旋转轴连接发电机,且垂直旋转轴和支撑座连接处还设置有轴承座;内叶片组件对应设置有若干垂直翼型叶片,若干垂直翼型叶片以内叶片组件为圆心参照,呈圆周状均匀分布,且每个垂直翼型叶片通过若干风阻连杆,连接内叶片组件。

风电机组防雷接地结构

NºPublicación:  CN224093498U 07/04/2026
Solicitante: 
中国能源建设集团广东火电工程有限公司
CN_224093498_U

Resumen de: CN224093498U

本实用新型公开一种适于岩石地质结构的风电机组防雷接地结构,包括与风机基础连通的垂直接地极;在风机基础周围沿周向均匀设置有与垂直接地极数量对应的接地钻孔,所述接地钻孔贯穿高阻岩层并与低阻地层连通,形成高阻岩层段和低阻地层段,高阻岩层段壁面具有岩层裂隙,所述垂直接地极插于接地钻孔内,其底端穿过接地钻孔插入低阻地层内,在垂直接地极与接地钻孔的高阻岩层段之间以及高阻岩层段的岩层裂隙内还高压填充有石墨烯过渡体。采用本实用新型可有效降低在岩石地质中风电机组的接地电阻阻值,使其更好地满足风电机组的接地要求,确保风电机组设备的正常运行以及人员的人身安全,并可有效降低施工工程量及材料成本。

平台支撑结构、施工平台、塔筒及风力发电机组

NºPublicación:  CN224092957U 07/04/2026
Solicitante: 
北京天杉高科风电装备有限责任公司
CN_224092957_U

Resumen de: CN224092957U

本申请提供了一种平台支撑结构、施工平台、塔筒及风力发电机组,所述平台支撑结构包括中心支撑部和多根支撑梁,多根所述支撑梁围绕所述中心支撑部设置,所述平台支撑结构还包括角度调整结构,所述角度调整结构使所述支撑梁向外延伸的方向上相对于所述中心支撑部向下倾斜一定角度。根据本申请的平台支撑结构,能够使施工平台在悬挂状态下平台面保持大致水平状态,确保施工安全性。

一种风机叶片回收切割装置

NºPublicación:  CN224087571U 07/04/2026
Solicitante: 
新疆兴盛达再生资源有限公司
CN_224087571_U

Resumen de: CN224087571U

本申请提供了一种风机叶片回收切割装置,涉及风机叶片回收技术领域,包括切割组件和支撑移动组件。切割组件,包括主机,所述主机的驱动端安装有切割刀,所述切割刀对风机叶片进行截断;支撑移动组件,包括安装板和移动轮,所述安装板安装于所述主机远离所述切割刀的一侧,所述移动轮安装于所述安装板侧面,且所述移动轮在风机叶片上进行移动。本申请结构简单,体积小巧,操作方便,便于携带,使得在野外的风机叶片进行回收时可以对其进行初步的截断处理,降低风机叶片的长度,从而便于风机叶片的回收。通过移动轮的设置,实现切割刀一边移动一边切割,且能够降低切割人员的劳动强度,轻轻推动即可移动。

一种风力发电机

NºPublicación:  CN224093495U 07/04/2026
Solicitante: 
合肥绿博新能源科技有限公司
CN_224093495_U

Resumen de: CN224093495U

本实用新型涉及风力发电机技术领域,公开了一种风力发电机,包括机舱,所述机舱的侧端转动设置有外壳,所述外壳的侧端固定连接有若干个安装座,每个所述安装座的内部均安装有叶片,所述外壳的外端设有用于固定叶片的转动机构,其中一个所述安装座的侧端设有用于固定转动机构的限位机构,本实用新型通过转动机构和限位机构的配合设置,可完成对叶片的拆卸,因此当叶片组因外力撞击发生断裂时,无需将整个风力发电机进行拆卸,因此降低对叶片组进行更换或维修时的操作难度,使得对叶片的拆卸更加简便快捷,只需单独对叶片进行更换,无需更换整个外壳和叶片组,降低了维护成本。

一种低成本绿色垂直轴风力发电机叶片

NºPublicación:  CN224093494U 07/04/2026
Solicitante: 
广东中科天钒储能科技有限公司
CN_224093494_U

Resumen de: CN224093494U

本实用新型公开了一种低成本绿色垂直轴风力发电机叶片,涉及风力发电技术领域,包括:外壳体,所述外壳体内部的中间位置处安装有加固支撑件,所述加固支撑件的一侧安装有第一连接架体,所述第一连接架体的一侧安装有端头支撑件,所述加固支撑件的另一侧安装有第二连接架体,所述第二连接架体的一侧安装有尖端块,所述加固支撑件的上下两端均安装有连接片,所述加固支撑件包括支撑架,所述支撑架的上下两端均安装有限位架,所述限位架与支撑架组成工字形结构,所述限位架的外壁上开设有第二限位槽。解决了现有风力发电机叶片内部由多组碳纤维板体组成,不但不便于用户进行安装,还增加了整个叶片的成本的问题。

一种风力发电机组叶片维修机器人

NºPublicación:  CN224093499U 07/04/2026
Solicitante: 
河北同力滑车有限公司
CN_224093499_U

Resumen de: CN224093499U

本实用新型公开了一种风力发电机组叶片维修机器人,包括底座,底座上的上部一端设置有用于盛装维修工具的工具库,所述底座的上部另一端设置有用于抓取和操作维修工具的机械臂,所述底座的底部靠近侧端的部位对称设置有两组真空吸盘,各组的多个所述真空吸盘均匀间隔设置,所述底座通过多个所述真空吸盘固定吸附于风力发电机组的叶片上;所述底座上还设置有用于使其沿风力发电叶片表面移动的行走辅助机构。本实用新型可自动实现维修动作,利于解决叶片表面损伤表面油漆修复问题以及叶片前缘腐蚀修复问题;本实用新型整体体积小拆装简单,运输方便,通用型强,可实现智能自动化作业,同时有效避免人员高空作业,杜绝了人员高空坠落的风险。

一种风电基础环快速定位安装装置

NºPublicación:  CN224092560U 07/04/2026
Solicitante: 
中国电建集团贵州工程有限公司
CN_224092560_U

Resumen de: CN224092560U

本实用新型涉及风力发电技术领域,尤其是一种风电基础环快速定位安装装置,包括基座,在所述基座顶部绕中心圆点外沿布设有若干个预埋件,所述预埋件的顶部通过固定组件连接有底板,所述底板顶部设有引导组件,基础环通过所述引导组件与所述基座的中心圆点同心设置;其中,位于所述预埋件的顶部还设有定位槽,设于所述基础环底部的定位柱通过所述引导组件置于所述定位槽内,固定组件通过转动抵靠件使抵靠件抵紧预埋件的方式进行固定,通过驱动手轮能够轻松转动抵靠件进行解锁和固定,若干个导向板对基础环进行引导后,使定位柱与定位槽卡合,达到定位安装作用的同时还进一步提高基础环与预埋件之间连接的稳固性。

用于对预制的圆形根部部件进行修整的修整装置以及用于制造圆形根部部件的方法

NºPublicación:  CN121798702A 07/04/2026
Solicitante: 
恩德能源欧洲股份两合公司
CN_121798702_PA

Resumen de: CN121798702A

本发明涉及用于对预制的圆形根部部件进行修整的修整装置以及用于制造圆形根部部件的方法。修整装置(300)包括:支承结构(302);工作台(308),工作台(308)以可旋转的方式支承在支承结构(302)上并且构造成支承预制的圆形根部部件(200);修整工具(320),修整工具(320)被固定至支承结构(302)并且构造成在圆形根部部件(200)被支承在工作台(308)上时沿着圆形根部部件的周缘(204)对圆形根部部件(200)进行修整、特别地去除多余的材料。

用于将剥离片层从风力涡轮机转子叶片部件移除的方法和用于执行该方法的装置

NºPublicación:  CN121803390A 07/04/2026
Solicitante: 
恩德能源欧洲股份两合公司
CN_121803390_PA

Resumen de: CN121803390A

本发明涉及一种用于将剥离片层(152)从风力涡轮机转子叶片部件(136)移除的方法,该方法包括以下步骤:i)提供风力涡轮机转子叶片部件(136),其包括由剥离片层(152)覆盖的表面(153,154);ii)提供推车(141),其包括主轴(143)以及构造成使主轴(143)旋转的马达(142);iii)将剥离片层(152)的第一部分与主轴(143)连接;以及iv)通过马达(142)使主轴(143)旋转,使得主轴(143)的旋转使剥离片层(152)从风力涡轮机转子叶片部件(136)拉动并且使剥离片层(152)围绕主轴(143)卷绕,其中,推车(141)沿风力涡轮机转子叶片部件(136)的纵向方向(120)被向前推进。本发明还涉及一种执行该方法的装置。

用于在风力涡轮机转子叶片的根部部分处操纵和定位根部部件的工具及方法

NºPublicación:  CN121803405A 07/04/2026
Solicitante: 
恩德能源欧洲股份两合公司
CN_121803405_PA

Resumen de: CN121803405A

本发明涉及用于在风力涡轮机转子叶片的根部部分处操纵和定位根部部件的工具及方法,所述工具(200)和方法用以将根部部件(300)安装在根部部分(114)处。工具(200)包括:安装部分(202),其构造成使得根部部件(300)能够以可释放的方式连接至安装部分(202);用于将工具(200)连接至起重机的装置(206),其用以借助于起重机移动和定位工具(200);以及/或者用于接纳叉式升降机的叉状部的装置(208),其用以借助于叉式升降机移动和定位工具(200)。

一种风能发电设备安装装置

NºPublicación:  CN121803409A 07/04/2026
Solicitante: 
中建筑港集团有限公司
CN_121803409_A

Resumen de: CN121803409A

本发明公开了一种风能发电设备安装装置,涉及风能发电设备技术领域,包括底座,设置于底座顶部的竖杆,可拆卸安装在竖杆顶部的扇叶组件,所述竖杆的顶部设置有角度转动单元,所述角度转动单元响应于所述扇叶组件的旋转而输出位移信号,所述角度转动单元包括连接绳;本发明通过将扇叶旋转作为触发信号,并利用连接绳、位置调节单元与卡接单元的联动,实现了抗风模式的自动切换,当大风驱使扇叶偏转时,该系统能瞬间将减震缓冲单元从柔性缓冲状态转变为刚性连接状态,使整个设备底座迅速锁死,这种基于风压的自适应能力,极大程度解决了传统安装装置在极端天气下稳定性不足的难题,提升了设备在恶劣环境下的安全性与可靠性。

一种用于风机塔筒宽频振动调节的协同控制装置、控制方法及其应用

NºPublicación:  CN121803402A 07/04/2026
Solicitante: 
河海大学
CN_121803402_PA

Resumen de: CN121803402A

本发明公开了一种用于风机塔筒宽频振动调节的协同控制装置、控制方法及其应用,用于抑制风机塔筒宽频振动,该协同控制装置由阻尼器和溶液质量调节系统构成。阻尼器内部填充磁流变液,并设有集成溶液仓的导磁块;溶液质量调节系统通过软管与溶液仓连通,可精确调控仓内液体质量。本发明通过改变溶液仓质量,实时调节系统固有频率,实现与外部激励的主动频带匹配;通过调节励磁线圈电流,实时改变磁流变液阻尼特性,实现对振动能量的最优耗散。两项调节机制在统一控制算法驱动下闭环联动、同步优化,使协同调节单元在宽频变化荷载下始终保持高抑制比,显著提升了风机塔筒在复杂风场中的运行安全性与疲劳寿命。

一种基于光伏发电的节能型半导体交通信号灯

NºPublicación:  CN121811678A 07/04/2026
Solicitante: 
扬州大通交通设施有限公司
CN_121811678_PA

Resumen de: CN121811678A

本发明公开了一种基于光伏发电的节能型半导体交通信号灯,涉及交通信号灯技术领域,包括信号指示灯主体和控制器,信号指示灯主体包括有支撑架、风力发电组件、光伏发电组件和指示灯模块,指示灯模块内设置有降温组件和节能结构;风力发电组件能够配合光伏发电组件对指示灯模块供电;降温组件能够对指示灯模块降温;节能结构能够节约电能,该装置在使用时,通过光伏发电与风力发电相结合,实现太阳能与风能的互补供电,减少对市电的依赖,适用于偏远地区或电力不稳定的场所,提升供电可靠性,采用半导体降温组件,通过降温板与放热板之间的温差效应,实现对指示灯模块的主动散热,避免因高温导致LED光衰或损坏,延长设备寿命。

基于LSTM闭环预测的风电机组转速控制方法及相关装置

NºPublicación:  CN121803399A 07/04/2026
Solicitante: 
中车启航新能源技术有限公司
CN_121803399_PA

Resumen de: CN121803399A

本发明提供一种基于LSTM闭环预测的风电机组转速控制方法及相关装置,通过采集风电机组的实时运行时序数据;输入LSTM转速预测模型中,输出未来设定时域的转速预测序列;基于转速预测序列与预设转速,生成前馈控制补偿信号;将采集的实时风机转速与预设转速进行比较,得到转速误差,并将转速误差输入PID控制器,得到控制输出指令;将前馈控制补偿信号与控制输出指令进行融合,生成最终控制指令以调节所述风电机组的运行状态,本发明具有更强的非线性建模能力和时序特征提取优势,避免了传统PID控制依赖固定参数和线性假设所带来的控制滞后与控制偏差等问题。在应对风速及转速反复波动的负载工况时,能够减少系统超调量和调节时间。

基于太阳能和风能的加热系统

NºPublicación:  CN121804096A 07/04/2026
Solicitante: 
大唐黑龙江发电有限公司龙唐供热分公司大唐东北电力试验研究院有限公司中国大唐集团科学技术研究总院有限公司
CN_121804096_PA

Resumen de: CN121804096A

本申请实施例公开了一种基于太阳能和风能的加热系统,用于对来自自来水系统中的自来水进行加热并供给用水端和/或存储,基于太阳能和风能的加热系统包括:与自来水系统连通的太阳能加热设备,太阳能加热设备能够储存来自自来水系统中的自来水,并吸收太阳能以对储存的自来水进行一次加热;与太阳能加热设备连通的风能加热设备,并能储存经过一次加热后的自来水,风能加热设备用于将风能转化为电能并对经过一次加热后的自来水进行二次加热;与所述风能加热设备和所述用水端连通的储水设备,储水设备用于储存经过二次加热后的自来水;控制设备,与太阳能加热设备、风能加热设备以及储水设备通信连接。

风力发电机组的顺桨检测方法、电子设备及存储介质

NºPublicación:  CN121803414A 07/04/2026
Solicitante: 
北京金风科创风电设备有限公司
CN_121803414_PA

Resumen de: CN121803414A

本公开提供一种风力发电机组的顺桨检测方法、电子设备及存储介质,所述顺桨检测方法包括:根据叶片的初始桨距角和预设变桨速度,确定所述叶片从所述初始桨距角变桨到顺桨位置的参考顺桨时长;控制所述叶片执行从所述初始桨距角到所述顺桨位置的顺桨,并确定所述叶片执行顺桨的实际顺桨时长;响应于所述实际顺桨时长与所述参考顺桨时长之间的差异超出预设差异范围,确定所述叶片的顺桨执行过程存在异常。本公开解决了难以有效、准确地检测出顺桨过程是否正确的问题,可以通过时长上的差异,有效识别出速度稍慢、速度稍快、速度异常、顺桨停顿等情况,实现更有效、更准确的顺桨检测。

一种风电塔筒节段间防扭转减震连接装置

NºPublicación:  CN121803411A 07/04/2026
Solicitante: 
大连大学
CN_121803411_PA

Resumen de: CN121803411A

本发明涉及风力发电设备技术领域,尤其为一种风电塔筒节段间防扭转减震连接装置,包括:上节段和下节段,上节段和下节段之间通过连接组件相互连接;减震组件,减震组件包括径向减震机构和轴向减震机构;防扭转组件,防扭转组件用于抑制上节段和下节段之间产生的相对扭转运动;动态调节组件,动态调节组件包括检测机构、运动储能机构和电磁调节机构,运动储能机构用于为电磁调节机构进行供能,电磁调节机构用于利用电磁力对上节段和下节段的相对位置进行调节。本申请通过有效减震、防扭和动态调节,显著降低了连接部位及附近结构的应力幅值和疲劳损伤,有助于延长整个风电塔筒的使用寿命。

一种双语提示优化适配的风机叶片缺陷小样本分类方法

NºPublicación:  CN121811150A 07/04/2026
Solicitante: 
桂林电子科技大学
CN_121811150_PA

Resumen de: CN121811150A

本发明公开一种基于双语言提示优化适配器的风力涡轮机叶片缺陷小样本分类方法,面向裂纹、侵蚀、剥落、崩落及正常等类别,在极少标注样本条件下实现精确识别。该方法构建包含CLIP英文文本编码器与中文RoBERTa编码器的双语言文本编码模块,并通过轻量级投影网络将中文特征对齐至CLIP特征空间以实现跨语言一致表征。针对困难类别,提出类别特异性提示优化流程:基于初始评估筛选困难类别,构造多语义维度候选模板,并采用留一法贡献度过滤以形成正贡献提示集合,从而提升困难类别区分能力。进一步采用双语言特征融合策略(门控自适应或固定权重融合)生成统一类别文本特征,并结合TIP‑Adapter缓存机制,将零样本相似度输出与缓存匹配输出按超参数、加权融合完成训练免小样本适配,同时引入语言感知策略根据输入语言自动调整中英文分支权重以兼顾效率与稳定性。

一种适合气热除冰的风机叶片及其使用方法

NºPublicación:  CN121803391A 07/04/2026
Solicitante: 
国能(湖南)新能源有限公司
CN_121803391_PA

Resumen de: CN121803391A

本发明公开了一种适合气热除冰的风机叶片及其使用方法,属于风力发电扇叶技术领域,包括叶片板,所述叶片板尾端设有叶根,所述叶片板内壁设有空腔,所述空腔一侧设有后缘腹板,所述空腔另一侧设有前缘腹板,所述空腔之中设有导流组件,所述导流组件包括呈均匀分布固定安装在后缘腹板一侧的若干个第一弧板,所述前缘腹板一侧呈均匀分布设有若干个第二弧板,且第一弧板与第二弧板上下两端均安装在空腔的内壁。本发明通过在叶片板中以第一弧板、第二弧板、第三弧板、第四弧板与中隔板将空腔分隔,引导和分配来自叶根的热气流,使其均匀、有序地充满整个叶片板空腔并最终从气孔排出,确保了除冰热量分布的均匀性。

风力发电机组智能化异常检测平台

NºPublicación:  CN121803397A 07/04/2026
Solicitante: 
沈阳逸拓科技有限公司
CN_121803397_PA

Resumen de: CN121803397A

本发明公开风力发电机组智能化异常检测平台,涉及发电机检测领域。该风力发电机组智能化异常检测平台包括边缘端,服务器端和客户端,客户端实现与用户的互动界面,服务器端是由数据中台和业务处理模块组成,数据中台将以风机ID为身份标识统一管理传感器数据和分析结果数据,业务处理模块采用大数据、机器学习以及深度学习技术实现。该风力发电机组智能化异常检测平台针对风机偏航系统刹车片异常检测时,搭建一个智能化设备监视平台,并在该平台上实现对风机偏航系统刹车片的异常检测,该平台具有易于扩展,数据统一管理的特点,使得风力发电机组维保作业方便。

基于数字孪生技术的风电机群性能分析方法

NºPublicación:  CN121808722A 07/04/2026
Solicitante: 
华电郑州机械设计研究院有限公司华电河南新能源发电有限公司
CN_121808722_PA

Resumen de: CN121808722A

本发明公开了基于数字孪生技术的风电机群性能分析方法,涉及风电机群性能分析技术领域,包括以下步骤:基于风电机群的实时监测信号与虚拟模型输出结果的时间轴差异,构建连续时间重配准窗口,对不同采样步长的数据执行微秒级同步校正,使虚拟模型输出结果与实时监测信号在统一时基下对齐;在连续时间重配准窗口实现同步校正的基础上,利用频域相位追踪函数,对高频段的相位漂移量进行实时提取。本发明通过时间重配准与相位补偿实现多源数据高精度对齐,抑制高频伪谱干涉,确保时频能量分布连续稳定;并通过能量分层与时频联动滤波构建虚实融合约束,实现气动与结构信号清晰分离,提升性能评估与健康诊断精度。

一种应用于风机叶片内部巡检的巡检系统及巡检方法

NºPublicación:  CN121803423A 07/04/2026
Solicitante: 
内蒙古工业大学
CN_121803423_PA

Resumen de: CN121803423A

本发明属于风机叶片内部巡检运维技术领域,公开了一种应用于风机叶片内部巡检的巡检系统及巡检方法。所述的巡检系统,包括:进入风机叶片内部进行巡检的巡检车和接收所述巡检车获取的图像信息以及控制巡检车运行的控制台;所述巡检车与所述控制台无线通信连接;所述巡检车,包括:行车主体和信息获取组件。本发明,通过设计一种具备双自由度云台、多向照明和缓冲防撞的移动巡检平台,实现了对叶片内部的全景、安全、高效检测。

一种三立柱半潜式漂浮风机基础及漂浮式风力发电系统

NºPublicación:  CN121799571A 07/04/2026
Solicitante: 
中国能源建设集团广东省电力设计研究院有限公司
CN_121799571_PA

Resumen de: CN121799571A

本发明公开了一种三立柱半潜式漂浮风机基础,包括主体结构,主体结构包括:一个中心立柱、三个外围立柱和三个水平连接浮筒;在每个外围立柱的下部区域设置一组活塞式可调压载水舱;每组活塞式可调压载水舱包括多个竖向布置的水舱,水舱的底部设有与外部海水连通的抽排孔;每个水舱的内部均设置有可沿竖向移动的活塞,活塞通过活塞顶杆与外部的液压驱动装置连接,实现压载水的储存体积与质量的精准调控。本发明还公开了一种漂浮式风力发电系统,包括风力发电机组以及上述三立柱半潜式漂浮风机基础。本发明具有具有能够实现压载水的精准调控,提高响应速度和姿态控制精度,减少纵摇、横摇及垂荡运动幅值,增强风机基础稳定性的优点。

一种风电机组的桁架式塔架及风电机组

NºPublicación:  CN121803408A 07/04/2026
Solicitante: 
华能国际电力股份有限公司大连电厂
CN_121803408_PA

Resumen de: CN121803408A

本发明涉及风力发电技术领域,且公开了一种风电机组的桁架式塔架及风电机组,包括若干个纵向桁架,纵向桁架的内壁固定连接有若干个支撑杆,本发明利用内圈伴随上半部分纵向桁架发生位移,当内圈向左移动时,固定板二压迫位于右侧的蝶形弹簧变形,积蓄势能。当扭转力停止且内圈停止移动时,此时蝶形弹簧释放势能,从而使内圈恢复原位,有效预防了在扇叶旋转时,发电机组产生围绕塔架轴线方向的扭转力,该扭转力会作用到桁架式塔架上。由于风力变化迅速且剧烈,扭转力会反复作用在桁架式塔架上,进而缩短塔架寿命的问题。

结合物联网与机器学习的风力发电设备状态监测方法及系统

NºPublicación:  CN121808245A 07/04/2026
Solicitante: 
北京金风慧能技术有限公司
CN_121808245_PA

Resumen de: CN121808245A

本发明提供一种结合物联网与机器学习的风力发电设备状态监测方法及系统,涉及风力发电设备监测技术领域,首先基于风力发电设备各部件运行场景动态配置物联网感知节点,采集包含物理状态数据与环境影响数据的实时运行数据集合,接着建立实时运行数据集合与运行场景、部件运行状态的时序关联网络,然后调用分层机器学习推理模型对实时运行数据集合及时序关联网络协同推理,生成各部件实时状态评估结果,依据各部件实时状态评估结果生成部件运行调控方案,将各部件实时状态评估结果和部件运行调控方案传输至设备控制终端,结合反馈的调控结果更新时序关联网络及推理模型参数,能够精准监测设备状态,有效调控设备运行,提高运行效率和可靠性。

一种基于风向偏差的风机叶片净空优化方法及系统

NºPublicación:  CN121803400A 07/04/2026
Solicitante: 
明阳智慧能源集团股份公司
CN_121803400_PA

Resumen de: CN121803400A

本发明公开了一种基于风向偏差的风机叶片净空优化方法及系统,包括步骤,获取叶尖负载测试净空数据、叶尖空载净空数据;计算叶尖测试净空率;获取实时风向数据;确定正/风向‑桨角曲线;判断风向数据偏差是否在第一预设范围内;根据偏差执行相应的变桨操作;获取实时叶尖净空数据,计算实时叶尖净空率;判断实时叶尖净空率是否在第二预设范围内;若超出,则触发叶片净空优化策略,按照预设桨角幅度优化正/负风向‑桨角曲线;判断实时叶尖净空率是否达到第二预设范围的上限且持续预设时间,若是,则关闭叶片净空优化策略。本发明能够有效解决传统叶片净空优化方法存在的发电量损失大,以及在高湍流或大风向变化环境下净空优化效果差等问题。

一种具备循环结构的节能风电机组机舱散热装置

NºPublicación:  CN121803430A 07/04/2026
Solicitante: 
大连东鼎工业设备有限公司
CN_121803430_PA

Resumen de: CN121803430A

本发明公开了一种具备循环结构的节能风电机组机舱散热装置,本发明涉及风电机组技术领域,包括舱体,舱体的尾端为倾斜设置,舱体的尾端开设有通孔,通风组件安装在通孔的内部,多个通风组件均匀排列在通孔的内部,舱体远离通孔一端的侧面开设有方孔。该具备循环结构的节能风电机组机舱散热装置,通过设置舱体和内壳的双层密封设计,气流通道与内壳内部设备腔室完全隔离,外部环境中的灰尘、沙尘、盐雾、水汽等杂质仅能在舱体和内壳之间的间隔通道流动,无法侵入内壳内部接触核心设备,有效避免了杂质附着导致的设备散热片堵塞、电气部件短路、机械轴承磨损等问题,降低设备故障发生率,延长核心部件使用寿命。

一种风电机组偏航系统及风电机组

NºPublicación:  CN121803396A 07/04/2026
Solicitante: 
三一重能股份有限公司
CN_121803396_PA

Resumen de: CN121803396A

本申请实施例提供一种风电机组偏航系统及风电机组,包括阻尼器,阻尼器浸于偏航减速机的润滑油内,阻尼器具有传扭结构,阻尼器安装于偏航减速机的输入轴,通过传扭结构与输入轴连接,阻尼器旋转时推动润滑油在偏航减速机的腔体内流动,产生随输入轴转速呈非线性增长的剪切阻力,通过阻尼器在润滑油中产生非线性增长的剪切阻力,有效抑制机舱滑移,具有有效抑制机舱滑移,减少摩擦损耗,提高系统安全性和稳定性的优点。

一种跨模态振动谱图-可见光图像融合的风机故障检测方法

NºPublicación:  CN121803421A 07/04/2026
Solicitante: 
中国长江三峡集团有限公司
CN_121803421_PA

Resumen de: CN121803421A

一种跨模态振动谱图‑可见光图像融合的风机故障检测方法,包括以下步骤:步骤1、通过振动传感器与工业相机同步采集风机运行过程中的振动信号与叶片图像,分别将振动序列转换为伪彩色时‑频谱图,并对两类图像进行标准化处理与缺陷边界框标注,构建跨模态风机故障检测数据集;步骤2、构建双分支主干网络结构,分别对可见光图像和振动谱图施加双向解耦的差异化特征提取,在保持模态特征独立性的同时扩展方向感知能力,为后续融合提供高质量语义基。本发明所要解决的技术问题是提供一种跨模态振动谱图‑可见光图像融合的风机故障检测方法,对叶片裂纹、腐蚀、磨损等多类型缺陷进行实时、精准识别,从而提升风电机组运维效率并保障设备安全。

风力发电机的塔上更换装置及更换方法

NºPublicación:  CN121803429A 07/04/2026
Solicitante: 
中车戚墅堰机车车辆工艺研究所股份有限公司
CN_121803429_PA

Resumen de: CN121803429A

本披露公开了一种风力发电机的塔上更换装置及更换方法,更换装置包括:连接工装,其包括工装板、连接导向杆以及太阳轮顶出工装,工装板通过固定螺栓与后箱盖及高速中间级的空心轴连接;连接导向杆穿过后箱盖与后箱体的安装孔进行导向;太阳轮顶出工装包括太阳轮螺栓以及太阳轮挡板,其沿空心轴的轴向间隔设置,太阳轮螺栓与后箱体固定连接;顶出驱动件能够以一端沿轴向抵顶太阳轮,另一端抵顶太阳轮挡板,以相对于空心轴以及后箱盖分离太阳轮。本披露一些实施例的更换装置通过连接工装固连后箱盖与空心轴形成一体化组件、连接导向杆导向、太阳轮顶出工装与顶出驱动件分离太阳轮,实现高速中间级高效更换,降低维护成本与安全风险。

叶根成型方法、叶根、风电叶片以及风力发电机组

NºPublicación:  CN121798932A 07/04/2026
Solicitante: 
中材科技风电叶片股份有限公司
CN_121798932_PA

Resumen de: CN121798932A

本申请公开了一种叶根成型方法、叶根、风电叶片以及风力发电机组,叶根成型方法包括:将第一蒙皮铺设于模具内;将多个预埋螺栓套沿模具的周向间隔地放置于第一蒙皮之上,相邻两个预埋螺栓套之间形成待填充间隔腔;获取采用三维编织工艺成型的干纤维件,干纤维件具有第一配合面和第二配合面,第一配合面和第二配合面均适配于预埋螺栓套的外表面;在各待填充间隔腔内布置干纤维件,使得第一配合面和第二配合面分别朝向相邻的两个预埋螺栓套;将第二蒙皮铺设于预埋螺栓套和干纤维件的背离第一蒙皮的一侧;向模具内灌注树脂并固化树脂以获得叶根。根据本申请实施例,能够减少预埋叶根连接结构的界面强度低的二次界面,降低叶根发生失效的概率。

一种风电机组便携式点检记录仪

NºPublicación:  CN121803415A 07/04/2026
Solicitante: 
北方联合电力有限责任公司新能源分公司
CN_121803415_PA

Resumen de: CN121803415A

一种风电机组便携式点检记录仪,包括CPU控制模块、存储模块、通信模块、输入输出模块、模数(A/D)转换模块、数据采集模块;所述CPU控制模块分别与存储模块、通信模块、输入输出模块及模数(A/D)转换模块连接;具备温度、振动等量化数据的采集分析能力,增加图像、音频采集功能,可精准检测塔筒内外壁油渍、腐蚀等非量化缺陷,大幅提升故障预测与诊断的准确性;集成有线与无线通信功能,支持远程协同作业,有效提高点检效率;同时,设备可存储机组技术资料并实时接收风电场控制中心的指导,助力点检人员快速响应紧急问题,真正实现点检与维修的智能化、一体化融合。

一种折叠型海上垂直轴浮式风力机刹车制动装置

NºPublicación:  CN121803425A 07/04/2026
Solicitante: 
中国船级社
CN_121803425_PA

Resumen de: CN121803425A

本发明涉及垂直轴风力发电机领域,公开了一种折叠型海上垂直轴浮式风力机刹车制动装置,包括平台、控制器和风力机主体,所述平台的中部固定连接有支撑柱,所述平台的顶部设置有可收展的屏蔽机构,所述支撑柱的顶部设置有数据监测机构,所述平台的内部设置有压载水机构,所述屏蔽机构具体包括固定连接在所述平台顶部的防护盾机构以及安装在所述风力机主体顶部的防护伞机构。通过控制器驱动防护盾机构与防护伞机构协同展开,形成阻断风能输入的封闭空间,避免了风轮在超高风速下发生超速旋转以及叶片与支撑柱承受过大气动载荷,提高了整个浮式风力机装置在台风等极端气象条件下的结构生存能力。

一种用于风机扇叶板材加工剪板机

NºPublicación:  CN121798023A 07/04/2026
Solicitante: 
南通伟和罗茨风机有限公司
CN_121798023_PA

Resumen de: CN121061223A

The invention provides a plate shearing machine for fan blade machining, and relates to the technical field of shearing equipment, the plate shearing machine comprises a main body, a groove is formed in the rear side of the main body, the groove is of an inclined structure, the main body comprises a side plate, an open groove is formed in the side face of the side plate, a threaded rod is installed on the side face of the side plate, and a supporting assembly is installed at the top of the main body; the supporting assembly comprises an inner groove, and a telescopic assembly is installed in the inner groove; and the discharging assembly is installed on the rear side of the main body, the discharging assembly comprises a guide plate, and the top of the guide plate is installed in a groove in the rear side of the main body through a rotating shaft. The guide plate is used for guiding sheared plates, the bottom plate drives the guide plate to move through the connecting plate, the plates directly fall into the container, the workload of operators is reduced, and the problems that when an existing plate shearing machine is used, the plates sheared by the plate shearing machine directly fall onto the ground, and time and labor are wasted during picking are solved.

防雷系统

NºPublicación:  CN121816460A 07/04/2026
Solicitante: 
维斯塔斯风力系统集团公司
CN_121816460_PA

Resumen de: WO2025056132A1

A pitch controlled wind turbine has a tower, a nacelle mounted on the tower, a hub mounted rotatably on the nacelle, and at least three wind turbine blades. Each wind turbine blade extends between a root end connected to the hub via a pitch mechanism, and a tip end. The wind turbine also has at least three blade connecting members, each blade connecting member extending from a connection point on one wind turbine blade towards a connection point on a neighbouring wind turbine blade, where the connection point on a given wind turbine blade is arranged at a distance from the root end and at a distance from the tip end of the wind turbine blade. The wind turbine also has at least three pre-tension members, each pre-tension member being connected to one of the blade connecting members and to the hub via a tensioning device, the tensioning device provides radial movement of a radially inward end of the pre-tension member with respect to an axis of rotation of the hub due to extension or retraction of the tensioning device, each pre-tension member thereby providing pre-tension in the blade connecting member to which it is connected. A lightning protection system protects each of the tensioning devices from lightning current and provides a lightning current path towards ground.

用于制造风力涡轮机叶片或风力涡轮机叶片区段的方法和填料材料施加设备

NºPublicación:  CN121816258A 07/04/2026
Solicitante: 
西门子歌美飒可再生能源公司
CN_121816258_PA

Resumen de: TW202516103A

The present invention relates to a method for manufacturing a wind turbine blade, comprising the steps (a) Manufacturing a raw wind turbine blade (1), wherein the raw wind turbine blade (1) comprises at least one groove (2) running at least with a directional component along a spanwise direction(S); (b) Providing a filler material application apparatus (4) - comprising a filler application head (41) with at least one dispenser nozzle (416) adapted to dispense a hardenable filler material (3), - and comprising at least one filler material source (49) comprising the hardenable filler material in a flowable state, - wherein the filler application head (41) is moveable at least along the spanwise direction (S); (c) Positioning the filler application head (41) of the filler material application apparatus (4) over a section of the groove (2); (d) Effecting a flow of hardenable filler material (3) from the filler material source (49) to the at least one dispenser nozzle (416); (e) Moving the filler application head (41) in the spanwise direction (S) along an extension of groove (2), thereby filling the groove (2) with the hardenable filler material (3) that is subsequently hardened so that at least one filled groove (21) is provided. The method according to the invention allows for an automation of currently manually executed filler material application steps and thus both increases production speed and lowers costs for wind turbine blades.

一种发电机状态预测方法、装置、设备、介质及产品

NºPublicación:  CN121803418A 07/04/2026
Solicitante: 
中国三峡新能源(集团)股份有限公司三峡新能源(岫岩满族自治县)有限公司
CN_121803418_PA

Resumen de: CN121803418A

本发明涉及风力发电技术领域,公开一种发电机状态预测方法、装置、设备、介质及产品,包括:采集发电机舱内的视觉数据和声场数据;将数据输入至预先建立的时序预测模型中,得到未来的视觉预测数据和声场预测数据,并同步至数字孪生模型,利用数字孪生模型对发电机舱的故障状态进行模拟;在发电机数字孪生模型中模拟发电机的不同运行策略,得到不同策略对应的故障状态优化结果,并根据故障状态优化结果调整运行策略,本发明通过视觉数据和声场数据两方面对风机故障状态进行分析,并预测未来的视觉数据和声场数据,将预测结果导入数字孪生模型中,模拟不同的运行策略得到最优的风机故障状态优化结果。

一种海底压缩空气储能系统及方法

NºPublicación:  CN121813702A 07/04/2026
Solicitante: 
中船船舶设计研究中心有限公司
CN_121813702_PA

Resumen de: CN121813702A

本申请涉及一种海底压缩空气储能系统及方法,所述系统包括:能源与动力模块,包括海上风力发电机组和/或光伏阵列,其电力输出经变流设备连接至多级间冷压缩机;储气与储热模块,包括至少一个储罐,在储罐内部居中固定设置有储热单元;储热单元包含储热体,储热体上设有供空气流通的流体通道;发电与回馈模块,包括多级再热膨胀机、同轴连接的发电机;智能控制模块,包括中央控制器、部署于中央控制器内的数字孪生模型和AI优化算法、数据采集器、以及数据执行器。如此,该系统将储热单元集成于储罐内,实现了储气与储热一体化,采用原位存储、原位利用的热能循环路径,在无需额外燃料的条件下有效提升了系统的往返效率。

Sistema de alimentación eólico para dron aéreo híbrido multiproposito y novedoso método impulsor en ala fija

NºPublicación:  CO2025013768A1 06/04/2026
Solicitante: 
TAUTIVA GARCIA RICARDO ARNULFO [CO]
TAUTIVA JOSUE [CO]
Tautiva Garcia, Ricardo Arnulfo,
Tautiva, Josu\u00E9

Resumen de: CO2025013768A1

El objetivo de la presente solicitud de patente de Invención es el de presentar un sistema de alimentación eólica, que suministra energía a los motores eléctricos del dron híbrido; y un novedoso método de propulsión en las alas fijas del dron, resolviendo los problemas de la actual tecnología como son: la autonomía limitada de los vuelos, el gran peso de las baterías de las aeronaves eléctricas, y toda la infraestructura de los sistemas de refrigeración y seguridad que requieren, además esto genera otro problema como es la disminución drástica en el área útil de carga de la aeronave que podría transportar; otro inconveniente que se resolvería son los tiempos de carga de las baterías, todos estos problemas hacen que los drones aéreos, aeroplanos eléctricos, sean más pesados que sus rivales de combustión interna. Se pretende lograr una gran mejora técnica en esta área describiendo este novedoso dron aéreo, o aeronave, de propulsión híbrida multipropósito de largo alcance, ya que podría ser usado en múltiples áreas como: extinción de incendios forestales, vigilancia de fronteras y oleoductos, cartografía, disminuyendo el costo operativo, y superando las limitaciones, problemas e inconvenientes presentados por la tecnología anterior, además lograr una gran mejora en esta área describiendo el novedoso método de propulsión instalado en las alas fijas del dron o aeronave. Así mismo se pretende una disminución del impacto sobre el medio ambi

一种风力发电机的制动装置

NºPublicación:  CN224079249U 03/04/2026
Solicitante: 
四川升辉时代机电设备智能制造有限公司
CN_224079249_U

Resumen de: CN224079249U

本实用新型公开了一种风力发电机的制动装置,包括两侧固定连接有轴套的机箱,所述轴套内转动穿插有转动轴,转动轴的端部固定连接有扇叶,且机箱的内顶部通过螺栓固定有制动机构,制动机构的正面转动连接有辅助制动组件,机箱的顶部外壁固定连接有液压缸,液压缸的输出端与制动机构的驱动端相连接,制动机构包括连接轴、前板、导接板、固定件、后板、制动环、导孔一、限位条、导孔二、转轴、导轴、U型板、连接板、扇形齿和齿条板,且固定件固定连接于机箱的顶部内壁上。本实用新型不仅促进了对扇叶的转动轴进行有效制动,而且提高了制动效率和质量,且解决了现有技术中制动装置安装不便和维护效率低的问题,提高了制动机构的装卸效率。

基于失稳风险分析的风电机组控制方法、系统和电子设备

NºPublicación:  CN121782095A 03/04/2026
Solicitante: 
中国华能集团清洁能源技术研究院有限公司华能湖南北湖风电有限责任公司
CN_121782095_PA

Resumen de: CN121782095A

本发明提供一种基于失稳风险分析的风电机组控制方法、系统和电子设备,涉及风力发电控制的技术领域,该方法通过实时获取当前时刻与前一时刻的风速和风轮转速,计算叶尖速比及其变化量;结合当前与前一时刻的气动转矩,确定气动转矩变化量;进而生成反映运行状态的曲线变化斜率,并判断其是否大于零。若斜率大于零,则判定机组存在失稳风险,随即调整控制参数以维持稳定运行。本发明能够提前识别失稳风险,提升控制响应速度,解决了现有技术中失稳识别滞后、调控不及时的问题,提高了风电机组运行的稳定性与安全性。

风力发电机组的塔筒振动控制方法及装置

NºPublicación:  CN121782100A 03/04/2026
Solicitante: 
华能新能源股份有限公司蒙西分公司
CN_121782100_PA

Resumen de: CN121782100A

本申请公开了一种风力发电机组的塔筒振动控制方法及装置,涉及风力发电技术领域,公开了风力发电机组的塔筒振动控制方法,包括:获取振动加速度数据和初始风况参数;根据所述振动加速度数据进行时频分析,确定塔筒的实时主导振动频率,并根据所述初始风况参数和所述实时主导振动频率计算风况特征参数;根据实时主导振动频率和风况特征参数,确定是否进入强抑振模式;在进入强抑振模式时,根据风况能量控制策略确定目标阻尼力;根据目标阻尼力生成磁流变调谐质量阻尼器的目标控制电流,并根据目标控制电流进行塔筒振动控制。实现了在极端时变风况下让阻尼参数适配塔筒瞬时振动频率,提升全频带自适应抑振能力。

一种在变桨电机旋变故障时的转子位置估算方法

NºPublicación:  CN121791728A 03/04/2026
Solicitante: 
福氏工业(北京)有限公司
CN_121791728_PA

Resumen de: CN121791728A

本发明公开了一种在变桨电机旋变故障时的转子位置估算方法,滑模观测器控制模型基于电机电流和电机电压的测量值,估算得到电机反电动势高频脉冲信号,对反电动势高频脉冲信号进行滤波处理得到呈连续波形状的反电动势观测信号,基于该反电动势观测信号计算得到转子磁链观测角度,对该转子磁链观测角度进行滞后角度theta补偿修正,将补偿修正后得到的转子磁链角度作为转子位置的估算结果;本发明的整个计算过程简单高效,且稳定性好;在应用时,当检测到旋转变压器的解码信号出现异常时,提取该转子位置的估算结果代替异常的旋转变压器解码信号,确保继续正常执行变桨驱动器的桨叶顺桨工作,使得桨叶回到安全位置,避免经济损失。

一种基于边缘计算的风机轴承故障诊断方法及系统

NºPublicación:  CN121786700A 03/04/2026
Solicitante: 
桂林电子科技大学
CN_121786700_PA

Resumen de: CN121786700A

本发明公开了一种基于边缘计算的风机轴承故障诊断方法及系统,涉及风力发电的故障诊断技术领域。该方法采用“端‑边‑训”闭环架构,通过将原始振动信号转换为包含对数功率谱信息的二维时频谱图。在边缘端,设计了集成双重注意力机制与特征金字塔网络的轻量化学生网络,并采用对角马氏距离简化度量计算。在训练端,利用包含大核注意力与Transformer交叉注意力机制的高精度集成教师模型,通过输出层KL散度与中间特征层MSE的双重蒸馏损失,将复杂知识迁移至边缘学生模型。本发明在受限的参数量和算力下实现对风机轴承故障的快速、精准识别。

声表面波传感装置和风力发电机组

NºPublicación:  CN224079260U 03/04/2026
Solicitante: 
深圳市湾区通信技术有限公司
CN_224079260_U

Resumen de: CN224079260U

本实用新型公开了一种声表面波传感装置和风力发电机组,涉及风电设备监测技术领域,声表面波传感装置应用于风力发电机组,风力发电机组具有主轴承和轴承安装座,主轴承安装在轴承安装座内,声表面波传感装置包括安装结构和多个传感器,安装结构用于安装于轴承安装座沿轴线的第一侧面;多个传感器间隔设置在安装结构上,传感器具有探头,多个探头用于与第一侧面抵接,以监测主轴承的声表面波。本实用新型通过在安装结构设置多个传感器,并让多个传感器的探头抵接轴承安装座的表面,形成了对主轴承的声表面波的多点监测,从而提升了对主轴承早期微弱缺陷信号的探测能力,并且能实现可靠的异常信号定位效果。

环境友好型风力发电系统及风光发电系统

NºPublicación:  CN224079252U 03/04/2026
Solicitante: 
陕西国力信息技术有限公司
CN_224079252_U

Resumen de: CN224079252U

本实用新型涉及风力发电装置,具体涉及环境友好型风力发电系统及风光发电系统,解决现有风力发电设备应用于城市环境存在噪音大、易撞击到飞行的鸟类、占地面积大以及在低风速条件下发电效率大幅下降的问题。本实用新型包括至少一个兜风模块和N个中空风能采集柱,兜风模块包括一个兜风单元以及N组涡轮叶片和M个发电机,其中N≥1,1≤M≤N;兜风单元为涡轮叶片提供气流,N个中空风能采集柱沿竖直方向间隔设置在兜风单元的侧壁上,中空风能采集柱具有弯曲的迎风面;中空风能采集柱的一端与兜风单元的侧壁连接并且相互连通;N组涡轮叶片对应于N个中空风能采集柱设置且转动安装在兜风单元内;N组所述涡轮叶片用于驱动M个发电机转动。

一种风力发电机的尾舵

NºPublicación:  CN224079255U 03/04/2026
Solicitante: 
上海汉洲实业有限公司
CN_224079255_U

Resumen de: CN224079255U

本实用新型涉及风力发电机技术领域,且公开了一种风力发电机的尾舵,包括机舵、固定板、尾舵杆和尾舵叶,所述固定板的一侧表面固定连接有内镶嵌块。该种风力发电机的尾舵,通过机舵与固定板的分体式设计,结合内镶嵌块与镶嵌槽的卡合结构,实现快速装配并防止横向位移,四角分布的紧固螺栓一均匀传递载荷,提升连接强度;尾舵杆与安装块采用插接配合与环形槽限位结构,通过紧固螺栓二周向卡接防止轴向窜动,同时固定圈板与螺纹杆一的螺纹套接配合螺母一双向锁紧,既支持角度微调又增强抗振动稳定性;限位翼子板与凹槽形成嵌合约束,结合安装头的螺纹杆二与螺母二双重压紧设计,消除安装间隙并限制尾舵叶的扭转位移。

风电齿轮箱和风力发电机组

NºPublicación:  CN224079559U 03/04/2026
Solicitante: 
采埃孚(天津)风电有限公司
CN_224079559_U

Resumen de: CN224079559U

本实用新型涉及风电技术领域,提供风电齿轮箱和风力发电机组。风电齿轮箱的箱体设置有扭矩臂,扭矩臂的部分作为轴承座,扭矩臂设置有自轴承座的外沿轴向延伸的凸台,凸台与轴承座的端面形成承托槽,承托槽中嵌置轴承盖,轴承盖在径向上与凸台压配并在轴向上与轴承座的端面压配,轴承盖与轴承座之间通过紧固件紧固连接,轴承座与轴承盖共同支撑风电齿轮箱的行星架的圆锥滚子轴承。本实用新型的轴承盖与轴承座形成整体结构紧密配合,共同抵抗圆锥滚子轴承在运行过程中产生的轴向作用力和径向作用力,使轴承座与轴承盖共同稳定地支撑风电齿轮箱的行星架的圆锥滚子轴承,确保风电齿轮箱的稳定运行。

间歇输出的风力发电机桨距角时变神经元自适应控制方法

NºPublicación:  CN121782102A 03/04/2026
Solicitante: 
山东理工大学
CN_121782102_PA

Resumen de: CN121782102A

间歇输出的风力发电机桨距角时变神经元自适应控制方法,属于风力发电机控制领域。其特征在于:包括如下步骤:步骤1,建立具有间歇性的风力发电机模型;步骤2,根据步骤1中所确定的具有间歇性的风力发电机模型,确定其控制目标以及引理;步骤3,构建风力发电机模型的间歇输出‑切换结构的状态观测器;步骤4,基于时变神经元的径向基神经网络估计;步骤5,构建时变神经元自适应轨迹跟踪控制器。在本申请中,提出一种间歇输出切换状态观测器,通过划分是否可测设计开环观测器以及闭环观测器,利用神经网络估计干扰以及位置动态,降低观测器观测误差,提高系统在风速突变下的桨距角输出信息可靠性。

一种风电机组混凝土塔筒拼装平台及施工方法

NºPublicación:  CN121782107A 03/04/2026
Solicitante: 
中国电建集团河南工程有限公司
CN_121782107_PA

Resumen de: CN121782107A

本发明公开了一种风电机组混凝土塔筒拼装平台及施工方法,其中:混凝土塔筒拼装平台包括中心支座和条形平台,在中心支座四周至少设置有四个条形平台,在条形平台上滑动连接有位移板,在位移板两侧分别设置有限位螺杆,并在位移板的中部设置间隙调整组件,间隙调整组件由第一支块、气缸和第二支块组成,在第二支块的底部设置有滚轮。本发明通过设置可移动的位移板,并在位移板上设置间隙调整组件,显著提高了塔筒片的拼装精度与效率,避免相邻塔筒片出现碰撞损失的情况,显著提升了拼接质量,降低了碰撞损伤风险,增强了拼装过程的安全可靠性,有效减少了劳动强度与成本,使用方便,操作简单。

一种风电混凝土塔筒钢绞线穿束设备及其穿束方法

NºPublicación:  CN121781808A 03/04/2026
Solicitante: 
中国水利水电第四工程局有限公司
CN_121781808_PA

Resumen de: CN121781808A

本发明公开了一种风电混凝土塔筒钢绞线穿束设备及其穿束方法,涉及风电塔筒施工技术领域,包括钢制基座,还包括:位移机构,所述位移机构滑动连接于钢制基座的内部,吊装快速对接脱离机构,所述吊装快速对接脱离机构固定连接于位移机构的顶部,穿束机构,所述穿束机构固定连接于钢制基座的表面中间位置。本发明通过设置位移机构实现了塔顶稳固支撑与重心灵活调节,利用机械联动结构实现了吊装的自动锁紧与防脱,有效提升了作业安全性,同时改变了传统地面穿束模式,将牵引工装集成于塔顶,减少了对钢丝绳长度及地面设施的依赖,降低了运输布设成本,解决了复杂地形施工难题,显著提高了穿束效率。

基于卫星通信与定位的海上发电装置及其控制方法

NºPublicación:  CN121791784A 03/04/2026
Solicitante: 
中国大唐集团科学技术研究总院有限公司
CN_121791784_PA

Resumen de: CN121791784A

本发明涉及海上发电技术领域,公开了一种基于卫星通信与定位的海上发电装置及其控制方法,该海上发电装置包括:风机发电组件、光伏发电组件、绞盘机、连接链和控制机构,多个光伏平台形成光伏阵列,绞盘机设于风机立柱,连接链的一端缠绕于绞盘机,连接链的另一端连接至少一个位于外缘的光伏平台,控制机构包括监测模块、卫星通讯模块、控制模块和陆地监控模块,监测模块用于确定光伏阵列的运行信息,卫星通讯模块用于通过低轨通信卫星确定光伏阵列的卫星定位信息,控制模块用于基于运行信息和卫星定位信息用于控制绞盘机的运行。结合卫星定位全面分析光伏阵列的运行状态,使光伏阵列的监控更加智能和精准,提升了光伏平台运行的安全性和稳定性。

落雷抑制型风力发电设备

NºPublicación:  CN121782117A 03/04/2026
Solicitante: 
株式会社落雷抑制系统
CN_121782117_PA

Resumen de: CN121782117A

本发明的目的是容易地将现有的落雷抑制装置应用到风力机中。解决上述技术问题的本申请发明是一种落雷抑制型风力发电设备(X),具备:竖立设置的支柱(11);经由支柱(11)设置于支柱(11)的上部的发电机(12);设置于对发电机(12)进行旋转驱动的驱动轴(13)的轮毂(H);以驱动轴(13)为中心呈放射状设置于轮毂(H)的多个叶片(B);设置于这些叶片(B)的前端的带电体(E);以及设置于轮毂(H)的内部空间的电容器,该电容器具有:经由接地线(L)接地的第一电极体(42);以及隔着电绝缘层(44)或电绝缘体(45)遍及大致全体地包围第一电极体(42)并与带电体(E)连接的第二电极体(43)。

一种风电储能基础装置

NºPublicación:  CN224079256U 03/04/2026
Solicitante: 
北京项通全荣科技有限公司
CN_224079256_U

Resumen de: CN224079256U

本实用新型涉及风力发电技术领域,尤其是一种风电储能基础装置,包括储能装置本体,还包括:防护组件,包括设置于储能装置本体外表面的内护筒,以及设置于内护筒外部的外护筒,所述外护筒的底部外缘设置有底板;定位组件,包括设置于底板端角顶部的套筒,所述套筒的内部设置有定位柱,所述底板的底部开设有供定位柱穿透的套孔;行走组件,包括滑动设置于内护筒下端外表面的连接架,所述连接架的各边底部均连接设置有万向轮;通过设置内外护筒对储能装置本体起到防护作用,连接架和万向轮使装置在运输过程中具备良好的移动性,定位柱在装置移动状态下自动收纳,避免对地面或人员造成意外伤害,在定位状态下可下压插入地面进行锚固。

一种具有双效垂直轴结构的风力发电机组件

NºPublicación:  CN224079248U 03/04/2026
Solicitante: 
中科天钒(江西)新能源设备有限公司
CN_224079248_U

Resumen de: CN224079248U

本实用新型公开了一种具有双效垂直轴结构的风力发电机组件,涉及风力发电设备技术领域,包括支柱,所述支柱垂直设置有两组,所述支柱的中部内侧设置有中支架,所述中支架的两端通过角板与支柱螺栓固定连接,所述支柱的底部内侧设置有下支架,所述支柱的顶部内侧设置有上支架,风力发电组件等间距设置于下支架与中支架和上支架与下支架之间实现风力发电,该具有双效垂直轴结构的风力发电机组件中双效垂直轴风力发电组件通过S型叶片与H型叶片的组合,实现低风速启动与高风速高效发电的协同,显著提升风能捕获效率,上下S型叶片和H型叶片反向旋转的设计减少了气流干扰,配合直驱式永磁电机能够降低传动损耗的同时延长维护周期。

风电齿轮箱和风力发电机组

NºPublicación:  CN224079556U 03/04/2026
Solicitante: 
采埃孚(天津)风电有限公司
CN_224079556_U

Resumen de: CN224079556U

本实用新型涉及风电技术领域,提供风电齿轮箱和风力发电机组。风电齿轮箱的箱体设置有扭矩臂,扭矩臂的轴孔中穿设销轴,销轴压配在轴孔中,扭矩臂与销轴之间还通过穿过扭矩臂并伸入销轴的定位销紧固连接;其中,在轴向上定位销在销轴上居中设置,和/或,在周向上定位销位于销轴的弯曲应力最小区域。本实用新型利用销轴与扭矩臂压配配合,同时利用穿过扭矩臂并伸入销轴的定位销紧固连接,有效抑制销轴的轴向位移,提升风电齿轮箱的稳定性,能够确保风电齿轮箱与风力发电机组的机舱结构件的稳定连接,从而进一步确保风电齿轮箱及风力发电机组的稳定运行。

一种具有安全防护的风力发电设备检修用攀登架

NºPublicación:  CN224079044U 03/04/2026
Solicitante: 
瓦房店鑫光电控设备制造有限公司
CN_224079044_U

Resumen de: CN224079044U

本实用新型公开了一种具有安全防护的风力发电设备检修用攀登架,属于风电设备检修技术领域,其包括攀登架主体,所述攀登架主体两端的底部分别设有安装滑槽,所述安装滑槽内部中央位置处设有转动槽,所述安装滑槽内部的两侧顶部对称设有限位滑槽。该具有安全防护的风力发电设备检修用攀登架,固定钉顶端的端块在安装滑槽内部滑动,带动端块表面的限位滑块卡在对应的限位滑槽内部滑动,对固定钉进行卡紧限位,使固定钉不会随调节螺套同步在安装滑槽内部转动,直至固定钉扎在地面后,对攀登架主体进行固定,确保人员在登上攀登架主体时攀登架主体在地面不会出现滑动,从而提高人员登上攀登架主体对风电设备进行检修时的稳定性。

一种风力发电机组塔筒检修装置

NºPublicación:  CN121778644A 03/04/2026
Solicitante: 
国华能源投资有限公司国华(宁夏)新能源有限公司
CN_121778644_PA

Resumen de: CN121778644A

本发明公开了一种风力发电机组塔筒检修装置,属于风电设备检修技术领域。该装置包括挂篮本体及安装机构,安装机构内设有磁性吸附机构。磁性吸附机构包含通过液压缸伸缩支撑的磁滚轮,可与塔筒外壁形成稳固的三角支撑结构,有效抑制高空横风引起的晃动。本发明创新性地采用了六角柱与六角通孔配合的滑动传动机制,结合双向丝杆调节组件,实现了磁吸附机构横向间距调节与角度偏转调节的解耦。该装置不仅能通过液压缸适应塔筒表面的凹凸,还能根据塔筒直径和锥度的变化,动态调整磁滚轮的位置和贴合角度,避免了刚性碰撞对防腐涂层的损伤,显著提升了高空作业的安全性、稳定性和对不同规格塔筒的适应性。

一种牵引式风机叶片内腔巡检装置

NºPublicación:  CN121782114A 03/04/2026
Solicitante: 
大唐和林格尔新能源有限公司
CN_121782114_PA

Resumen de: CN121782114A

本申请公开牵引式风机叶片内腔巡检装置,包括:牵引模块,设置在风机叶片内腔,牵引模块用于为巡检机器人提供牵引力;巡检机器人,与牵引模块连接,巡检机器人用于在牵引模块的牵引下在风机叶片内腔移动,采集风机叶片内腔的多个图像,并将图像传输至中继模块;中继模块,中继模块的第一数据输出端与牵引模块的控制数据输入端电连接,中继模块的第二数据输入输出端与巡检机器人的数据输入输出端电连接,中继模块用于接收巡检机器人传输的图像,基于图像对风机叶片内腔进行故障诊断。本申请巡检机器人在牵引模块的牵引下按预设路径移动,不会发生卡滞现象,提高了巡检效率,中继模块对巡检机器人采集的图像进行诊断分析,提高了故障诊断的准确性。

基于截面曲率的风电叶片截面弯曲刚度的确定方法及系统

NºPublicación:  CN121786989A 03/04/2026
Solicitante: 
中国华能集团清洁能源技术研究院有限公司华能海上风电科学技术研究有限公司
CN_121786989_PA

Resumen de: CN121786989A

本申请提出基于截面曲率的风电叶片截面弯曲刚度的确定方法及系统,所述方法包括:基于风电叶片的三维铺层与结构参数,并采用有限元软件建立所述风电叶片的三维铺层有限元壳模型;对所述风电叶片的三维铺层有限元壳模型的叶尖区域施加多个不同的第一单向静力载荷,并获取所述风电叶片的各截面在各第一单向静力载荷作用下的实际位移;获取各截面在各第一单向静力载荷作用下的截面弯矩,然后根据所述各截面在各第一单向静力载荷作用下的截面弯矩和所述各截面在各第一单向静力载荷作用下的实际位移确定所述风电叶片的各截面的弯曲刚度。本申请提出的技术方案,提升了复合材料叶片截面的弯曲刚度计算精度。

双模态海上漂浮式风机及其控制方法

NºPublicación:  CN121778098A 03/04/2026
Solicitante: 
中国海洋工程装备技术发展有限公司
CN_121778098_PA

Resumen de: CN121778098A

本发明涉及一种双模态海上漂浮式风机及其控制方法。与现有技术相比,本发明通过水泵调节浮箱主体内部空间的压载水改变重力和浮力的关系,带动套筒沿主轴上下移动,切换风机的工作状态,风机发电作业状态下,可移动式浮箱调节至半浸没状态,利用较大的水线面面积提供较大的静水恢复力以抵抗风载荷产生的倾覆力,从而使漂浮式风机具有较小的横摇和纵摇倾角,从而提高发电效率;在风机停机状态下,可移动式浮箱调节至全浸没状态,此时由于水线面面积较小,浮式基础的环境载荷较小,也具有较小的运动响应和较小的系泊张力,漂浮式风机受到的波浪载荷相对较小。在提升发电效率的同时减小了停机状态下的极端载荷,从而减小总体结构,经济性好。

一种风力塔筒电缆夹组件

NºPublicación:  CN224083103U 03/04/2026
Solicitante: 
海力风电设备科技(启东)有限公司
CN_224083103_U

Resumen de: CN224083103U

本实用新型公开了一种风力塔筒电缆夹组件,涉及风力塔筒建造技术领域,包括夹持套筒和第一夹持构件,所述夹持套筒的外部一侧设置有第一夹持构件,且夹持套筒的另一侧设置有第二夹持构件,并且第一夹持构件和第二夹持构件远离夹持套筒的一侧表面均安装有组合架。该风力塔筒电缆夹组件,通过在夹持套筒的外部两侧分别设置有夹持套筒,由于两者均采用采用碳纤维复合材料制作,使得在保护夹持套筒的同时,还具有良好的强耐磨性和抗腐蚀性,以适应复杂环境,另外第一夹持构件、第二夹持构件配合组合架的结构使用,可以根据需要实现结构上的扩展组合,以满足在不同数量下处理电缆的使用灵活性与便捷性。

一种风力发电机叶片转运机构

NºPublicación:  CN224079258U 03/04/2026
Solicitante: 
天津明阳风能叶片技术有限公司
CN_224079258_U

Resumen de: CN224079258U

一种风力发电机叶片转运机构,包括转运车、双螺纹杆、螺杆电机、导向杆、托板、托轮、尾部夹持座、夹持座内螺纹筒、夹板螺杆座,所述转运车内部具有转运车内腔,转运车内腔内部具有丝杠槽,丝杠槽与丝杠相适应,丝杠槽连接丝杠,丝杠在丝杠槽内部转动,转运车后部与丝杠电机固定连接,丝杠电机输出轴与丝杠固定连接,延长架在转运车内腔内部滑动,延长架下部与内螺纹筒固定连接,内螺纹筒在丝杠内部螺纹连接,转运车侧部具有支撑杆滑槽,延长架侧部与支撑杆固定连接,支撑杆滑槽与支撑杆相适应,支撑杆滑槽连接支撑杆。

救援设备和风力发电建筑

NºPublicación:  CN224070991U 03/04/2026
Solicitante: 
中际联合(北京)装备制造有限公司
CN_224070991_U

Resumen de: CN224070991U

本实用新型涉及高空作业技术领域,尤其涉及一种救援设备和风力发电建筑,救援设备包括导向组件、救援套装和驱动装置,导向组件用于沿着建筑的高度方向设置于建筑;救援套装设于导向组件,并适于沿着导向组件进行移动,救援套装用于被救人员穿戴,并限制被救人员相对于导向组件的空间姿态;驱动装置设于导向组件,并与救援套装耦合,驱动装置用于驱动救援套装沿着导向组件进行移动。本实用新型提供的救援设备,用以解决现有技术中缓降器下降较慢的缺陷,导向组件、救援套装和驱动装置三者的协同作用下,救援设备整体可以在路径规划、动力驱动及姿态控制三个维度形成闭环,进而有效提升救援过程的连贯性、自主性与安全性。

兼具文丘里效应的风力发电装置

NºPublicación:  CN224079251U 03/04/2026
Solicitante: 
陕西国力信息技术有限公司
CN_224079251_U

Resumen de: CN224079251U

本实用新型涉及风力发电,具体涉及兼具文丘里效应的风力发电装置,解决现有风力发电设备应用于城市环境存在噪音大、易撞击到飞行的鸟类、占地面积大以及在低风速条件下发电效率大幅下降的问题,本实用新型包括兜风单元、中空风能采集环、涡轮叶片以及发电机;兜风单元用于为涡轮叶片提供气流;中空风能采集环为内凹的弧形板或折形板围成的环状结构,且安装在兜风单元的顶部或底部,所述中空风能采集环与兜风单元连通;涡轮叶片对应于中空风能采集环设置且转动安装在兜风单元内,所述发电机与涡轮叶片连接。

一种导流型垂直轴磁悬浮风力发电装置

NºPublicación:  CN224079250U 03/04/2026
Solicitante: 
成都泰华中成科技集团有限公司
CN_224079250_U

Resumen de: CN224079250U

本实用新型公开了一种导流型垂直轴磁悬浮风力发电装置,属于电力设备领域,包括:安装主体和设置于安装主体的旋转部;驱动部,驱动部通过风力驱动带动旋转部转动;传动部,传动部将旋转部转动产生的动能传动到发电机部转化为电能;静态集风部,静态集风部用于将自然风集中和加速后导向驱动部。本实用新型解决了现有阻力型垂直轴风力发电机存在的因受自然风阻力影响而发电效率低的问题,其采用高效的双涡轮结构、聚磁式永磁悬浮轴承和无润滑合金滚动轴承轴系技术、以及高效的叶型设计及合理的叶片布局方案,实现了风能资源的高效利用,增加了风能的输入功率,提高了发电效率。

一种提高风电发电效率的叶片及设计方法

NºPublicación:  CN121782092A 03/04/2026
Solicitante: 
福建百博源风电科技有限公司
CN_121782092_PA

Resumen de: CN121782092A

本发明提供一种提高风电发电效率的叶片及设计方法,包括至少一个叶根、叶片主体,还包括导流翼、分流区、驱动机构、导向支撑件;包括以下步骤:确定叶片主体基础设计参数;构建仿生复合翼型基库;基于多目标遗传算法进行叶片主体参数全局优化;确定叶片主体几何构型;设计自适应被动导流翼;进行复合结构设计,与传统叶片结构的气流分散结构相比,通过增加叶片主体上表面的气流流速提高叶片主体的启动力,使低风速下风机叶片能够更有效地带动风机轮毂转动,进而提升发电效率。

一种风电塔叶片翼型辅助受力结构

NºPublicación:  CN121782090A 03/04/2026
Solicitante: 
国网河南省电力公司登封市供电公司国家电网有限公司
CN_121782090_PA

Resumen de: CN121782090A

本发明属于风电设备领域,具体涉及一种风电塔叶片翼型辅助受力结构,包括叶片本体,所述叶片本体侧方向外伸出翼型辅助板,所述翼型辅助板靠近叶片本体根部的一侧为吸力面,翼型辅助板靠近叶片本体尖部的一侧为压力面,包括叶片本体,所述叶片本体侧方向外伸出翼型辅助板,所述翼型辅助板靠近叶片本体根部的一侧为吸力面,翼型辅助板靠近叶片本体尖部的一侧为压力面。

一种风机叶片故障检测的领域专用文本提示模板库构建方法

NºPublicación:  CN121786022A 03/04/2026
Solicitante: 
桂林电子科技大学
CN_121786022_PA

Resumen de: CN121786022A

本发明涉及一种面向风力涡轮机叶片故障检测的领域专用文本提示模板库构建方法。该方法从专业描述、损伤特征、检测场景三个维度系统性设计文本提示模板,包括故障专用模板、通用模板、技术模板和上下文模板四类。所有模板均包含领域限定词,将通用语义落实到风电叶片检测场景。本发明采用差异化表达设计,同一故障类别的多个模板在句式结构和描述角度上保持差异,增强特征表示的鲁棒性。相比使用通用文本提示,本发明构建的领域专用模板库可提升视觉‑语言模型的零样本分类准确率,且支持模块化扩展,可与多种视觉‑语言模型适配方法结合使用。

用于风电机组主轴制动的锁紧工装及锁紧方法

NºPublicación:  CN121782292A 03/04/2026
Solicitante: 
华锐风电科技(集团)股份有限公司
CN_121782292_PA

Resumen de: CN121782292A

本发明公开了一种用于风电机组主轴制动的锁紧工装及锁紧方法,该锁紧工装包括位于主轴中轴线左右两侧的两组工装组件,每组工装组件包括支撑座、立板、多个套筒和与套筒数量相等的多个工装双头螺柱,其中一组工装组件还包括垫板,支撑座与机组主轴的轴承座连接,立板和套筒通过工装双头螺柱连接至主轴法兰,使得套筒位于主轴法兰与立板之间,其中一组工装组件的立板与支撑座抵接,另外一组工装组件的立板与支撑座之间通过垫板接合。本发明锁紧工装利用机舱内的已有部件进行连接安装,安装方便且占用空间足够小,制动锁紧性能可靠。

一种基于IPC带载偏航策略优化风机发电量的方法及系统

NºPublicación:  CN121782097A 03/04/2026
Solicitante: 
华能定边新能源发电有限公司华能陕西子长发电有限公司
CN_121782097_PA

Resumen de: CN121782097A

本发明涉及风力发电技术领域。提供一种基于IPC带载偏航策略优化风机发电量的方法及系统。步骤如下:实时采集风向数据,结合历史风向数据和实时风向数据,预测未来预设时间段内的风向变化趋势;根据风向变化趋势的预测结果和风机当前机舱朝向,计算出机舱与风向的预测偏差角度,同时设定动态偏航启动阈值;实时监测风机的运行参数数据,根据监测数据动态调整偏航速度和电机输出功率,并同步调节风轮桨距角,平衡风轮平面内的风载;根据此次偏航过程中的运行数据,优化动态偏航启动阈值和偏航调整参数。解决传统偏航控制策略因无法实时跟踪瞬时风向变化导致对风不准,进而造成风机部件疲劳损伤、硬件加速磨损、电量损失及运维成本增加的问题。

风力发电装置

NºPublicación:  CN121794465A 03/04/2026
Solicitante: 
纳博特斯克有限公司
CN_121794465_PA

Resumen de: WO2025057505A1

This wind power generation device comprises: a rotor shaft body that is capable of rotating about a first rotation axis; a first power generator that converts rotational energy of the rotor shaft body into electric power; rotating bodies that are connected to the rotor shaft body and are capable of rotating about a second rotation axis that differs from the first rotation axis; blades that are fixed to the rotating bodies; and a second power generator that converts rotational energy of the rotating bodies into electric power.

使用磁联接的无带驱动系统

NºPublicación:  CN121794489A 03/04/2026
Solicitante: 
埃翁·弗伦奇
CN_121794489_PA

Resumen de: WO2025050173A1

A beltless drive system (30) for power transmission, including a primary driving component (16) having a primary driving shaft (36B) which is configured to rotate a primary magnetic coupler (36); and, a secondary driven component (18) having a secondary driven shaft (38B) configured to be rotated by a secondary magnetic coupler (38) Each of said primary and secondary magnetic couplers (36, 38) include a plurality of spaced apart magnets (36C, 38C), such that upon rotation of said primary driving component (16), power is transmitted via said primary and secondary magnetic couplers (36, 38) to thereby drive said secondary driven component (18). At least one of the couplers (36, 38) includes a housing (41) which is substantially made of a resilient material such as rubber or urethane, and the plurality of spaced apart magnets (36C, 38C) are entombed or embedded within the housing (41).

一种塔筒门及风电塔筒

NºPublicación:  CN224078971U 03/04/2026
Solicitante: 
中际联合(天津)科技有限公司
CN_224078971_U

Resumen de: CN224078971U

本申请提供了一种塔筒门及风电塔筒,该塔筒门包括用于固定在塔筒的门框以及门板;其中,所述门框上固定有转轴,所述门板上设置有套装在所述转轴上的转轴套;所述转轴位于所述门框朝向所述塔筒内空间的一侧,且所述转轴不外露在所述门框的中空区域;还包括锁定组件,所述锁定组件用于在所述门板向所述塔筒内空间推动至设定位置时,将所述门板与所述门框锁定。在上述技术方案中,通过转轴与转轴套的配合实现门板与门框的转动连接,并且转轴隐藏在门框朝向塔筒内空间的一侧,在塔筒门外部无螺栓,无钥匙情况无法拆卸,防盗性能提升。另外,打开后门板可通过锁定组件可自动锁止,防止大风将门关闭。

一种带有辅助安装结构的叶片转运车

NºPublicación:  CN224075467U 03/04/2026
Solicitante: 
山东永阳汽车科技股份有限公司
CN_224075467_U

Resumen de: CN224075467U

本实用新型公开了一种带有辅助安装结构的叶片转运车,其包括叶片转运车,所述叶片转运车的表面固定连接有架体,所述架体的内壁螺纹连接有叶片,所述叶片转运车的表面固定连接有两个滑轨,两个所述滑轨的表面均滑动连接有两个对称的滑块,两个所述滑块的顶部共同固定连接有滑板,所述叶片转运车的表面转动连接有转板,所述滑板的底部转动连接有连接板。本实用新型通过启动气缸,使得气缸带动两个滑板相对移动,从而使得滑板通过竖杆带动弧形板相对移动,继而使得弧形板对叶片进行夹持限位,即可达到避免叶片吊装时出现螺栓未对其的情况发生,进而提高了叶片与叶片转运车之间安装精准度的目的。

一种基于机器视觉的叶轮不平衡监测装置

NºPublicación:  CN224079259U 03/04/2026
Solicitante: 
国家电投集团江西电力有限公司新能源发电分公司
CN_224079259_U

Resumen de: CN224079259U

本实用新型提供了一种基于机器视觉的叶轮不平衡监测装置,摄像机通过安装调整模块安装于机舱内,安装调整模块包括X向调整支架、Y向调整支架和固定支架,X向调整支架由第一X向调整板和第二X向调整板连接而成,摄像机与第一X向调整板固定连接;Y向调整支架由Y向固定板和两个调整侧板连接而成,Y向固定板与第二X向调整板固定连接,使摄像机位于两个调整侧板之间;固定支架包括固定框和两个固定支座,固定框固定于机舱内,两个固定支座分别与两个调整侧板固定连接,使整个Y向调整支架位于固定框内。该装置通过安装调整模块将摄像机安装于机舱内,可实现摄像机在多个方向上的位置调整,且调整范围大。

一种风电叶片的腹板及叶根定位装置

NºPublicación:  CN224079254U 03/04/2026
Solicitante: 
瑞能工程有限公司
CN_224079254_U

Resumen de: CN224079254U

本实用新型公开了一种风电叶片的腹板及叶根定位装置,涉及风电叶片安装技术领域。包括底座,所述底座的内设有方型槽,所述方型槽内壁面之间连接有一对限位杆,所述方型槽内壁面之间转动连接有双向丝杆,所述双向丝杆的一端且位于所述底座外连接有第三转钮,所述双向丝杆上螺纹连接有一对移动块,一对所述移动块均滑动安装在一对所述限位杆上,一对所述移动块的上端均设有一对竖板,两对所述竖板内均设有高度调节机构,所述高度调节机构包括开设在所述竖板一侧壁面内的第一滑槽。本实用新型设计了用于固定不同弧度腹板和叶根部的结构,该装置能够通过多角度调节,对具有不同弧度的腹板以及叶根部进行固定,辅助其进行粘接,实用性较强。

一种风力发电机叶片接闪器打磨和防雷导通检测一体装置

NºPublicación:  CN121776997A 03/04/2026
Solicitante: 
三峡新能源调兵山风电有限公司
CN_121776997_PA

Resumen de: CN121776997A

本发明公开了一种风力发电机叶片接闪器打磨和防雷导通检测一体装置,涉及叶片检测技术领域,包括无人吊篮主体,无人吊篮主体上端面两侧形成有弯折部,两侧弯折部相连,两侧弯折部之间形成有检测口,两侧弯折部相对应的设有开口,开口底端设置有旋转台,旋转台上端面设置有支撑座,支撑座上端面设置有活动座,活动座一端设置有支撑块,支撑块向外延伸形成有导通部和打磨部,还包括调节机构,本装置可检测叶尖接闪器至叶片根部的引雷通道的导通阻值,同时通过摄像头拍摄视频,同时记录接触点、连接线、塔筒号及仪器数值,且通过调节机构保证打磨时产生的碎屑不会落在摄像头外壁上,如此保证地面人员观测时的准确性。

一种吸附式风机叶片内腔巡检装置

NºPublicación:  CN121782110A 03/04/2026
Solicitante: 
大唐国际茫崖新能源有限公司中国大唐集团科学技术研究总院有限公司中国大唐集团科学技术研究总院有限公司华北电力试验研究院
CN_121782110_A

Resumen de: CN121782110A

本发明公开了一种吸附式风机叶片内腔巡检装置,其中装置包括风机叶片内腔中的吸附式巡检机器人和风机叶片之外的通信中继单元;吸附式巡检机器人具有巡检控制器、驱动单元、图像采集单元与吸附单元,吸附单元固设于吸附式巡检机器人壳体的外表面,吸附单元的吸盘朝向内腔的内表面设置并与内表面接触;吸附单元通过吸附作用形成朝向内表面的附着力,驱动单元用于为吸附式巡检机器人提供行进动力,以使吸附式巡检机器人能在附着力的作用下,贴合于风机叶片内腔的内表面并沿预设路径行进;巡检控制器用于控制图像采集单元采集风机叶片内腔的环境图像,并将环境图像发送到通信中继单元以将环境图像发送到上位机。上述方案能提高对风机叶片的巡检效率。

一种基于主轴重心调节以降低跳动量的风电机组滑动轴承支承传动链

NºPublicación:  CN121782328A 03/04/2026
Solicitante: 
湖南大学
CN_121782328_PA

Resumen de: CN121782328A

本发明涉及风电技术领域,公开了一种基于主轴重心调节以降低跳动量的风电机组滑动轴承支承传动链,包括前后轴承座、主轴系统、主轴导轨机构、驱动机构和齿轮箱行星架,所述主轴系统设有可轴向移动的配重环,其通过内圈滑槽与主轴导轨机构配合;所述驱动机构对称布置于主轴两侧且其上安装有磁块,能以非接触磁驱方式驱动配重环;所述位移传感器用于检测主轴倾斜状态,并依此控制配重环位置。本发明通过移动配重环来调节主轴重心,实现前后主轴承支座反力的重新分配,从而有效解决因受力相差过大引起的主轴倾斜、跳动增大及齿轮箱载荷失衡问题,降低传动链振动、噪音与故障率,提高采用滑动轴承作为主轴承支承的风电机组实际使用寿命。

基于多维数据的巡检方法、平台及介质

NºPublicación:  CN121782112A 03/04/2026
Solicitante: 
木垒东新新能源有限公司
CN_121782112_PA

Resumen de: CN121782112A

本发明提供基于多维数据的巡检方法、平台及介质,涉及数据处理技术,基于目标风机的叶片参数,确定所述目标风机对应巡检装置的分配数量;控制所述分配数量的巡检装置,依次分层进入目标风机的风机叶片进行巡检;响应协同信息,控制空闲装置至协同叶片处的协同段进行协同巡检,可以分层且有序的进行风机叶片的巡检,可以避免装置之间的磕碰的同时,从而提升巡检效率。

风力涡轮机装置、用于将空气输送到风力涡轮机装置的叶轮的方法以及用于产生电能的系统

NºPublicación:  CN121794464A 03/04/2026
Solicitante: 
桑格拉姆·普拉卡什·波瓦尔
CN_121794464_PA

Resumen de: WO2025040963A1

The present disclosure provides a wind turbine apparatus (200). The apparatus (200) includes an inlet (202) including a receiving section (204) adapted to receive air along a first direction (110); and a converging section (206) disposed subsequent to, and downstream of the receiving section (204), adapted to receive, and direct the air along a second direction (112). The converging section (206) is adapted to accelerate the received air as the air moves from a first end (208) to a second end (210) of the converging section (206). The apparatus (200) further includes an impeller (212) disposed along the second direction (112), downstream of the inlet (202), and adapted to receive the air from the converging section (206). The received air impinges on the impeller (212) to effect rotation of the impeller (212).

平台轴系电动盘车工装

NºPublicación:  CN224079262U 03/04/2026
Solicitante: 
泰兴晨光索具有限公司
CN_224079262_U

Resumen de: CN224079262U

本实用新型涉及一种平台轴系电动盘车工装,底座上旋转支撑回转支撑,底座内驱动电机经传动齿轮组啮合回转支撑内圈的回转内齿圈,回转支撑上定位锁紧支撑回转工作台,回转工作台上绕同回转中心设置多圈安装孔组,每组安装孔组包括绕圆周设置多个用于锁紧连接轴系端部法兰圈的安装孔,所述底座外接有靠接固定座,靠接固定座上锁紧支撑调节轨道座,调节轨道座上可调定位支撑靠接架,靠接架上穿接止转锁紧螺栓。该工装采用回转工作台带动轴系转动,同时靠接架定位轴系外的轴承座结构,结合扭矩、转速、圈数的监测,盘车作业调整轴系的安装精度调整。

风电齿轮箱和风力发电机组

NºPublicación:  CN224079558U 03/04/2026
Solicitante: 
采埃孚(天津)风电有限公司
CN_224079558_U

Resumen de: CN224079558U

本实用新型涉及风电技术领域,提供风电齿轮箱和风力发电机组。风电齿轮箱的箱体设置有扭矩臂,扭矩臂集成有一体成型的轴承支撑部,轴承支撑部包括:轴承座部,在径向上支撑风电齿轮箱的第一行星架轴承的轴承外圈;轴承盖部,在轴向上支撑第一行星架轴承的轴承外圈。本实用新型利用轴承支撑部与扭矩臂一体成型,集成为整体构件的设计,实现紧凑的结构,提升整体强度,有效避免变形和松动,实现对行星架轴承的稳定支撑,确保风电齿轮箱及风力发电机组的稳定运行。得益于轴承支撑部与扭矩臂的集成设计,轴承支撑部可以在实现对行星架轴承的稳定支撑的同时适当减小尺寸,利于轻量化,并且可以省去连接件,从而简化风电齿轮箱及风力发电机组的结构。

风电齿轮箱和风力发电机组

NºPublicación:  CN224079557U 03/04/2026
Solicitante: 
采埃孚(天津)风电有限公司
CN_224079557_U

Resumen de: CN224079557U

本实用新型涉及风电技术领域,提供风电齿轮箱和风力发电机组。风电齿轮箱包括容置在壳体中的行星齿轮组,行星齿轮组的行星架通过行星架轴承支撑于轴承座,其中:轴承座作为力矩臂的一端,力矩臂的另一端与壳体固定连接;轴承座设置有径向孔,行星架轴承的轴承外圈设置有插槽,轴承外圈与轴承座之间通过穿过径向孔并伸入插槽的锁紧销锁紧固定;轴承座的轴向端面与风电齿轮箱的端盖之间,通过密封圈密封配合。本实用新型能够有效实现轴承外圈与轴承座之间的锁紧配合,使行星架通过行星架轴承稳定支撑于轴承座,确保行星架、行星齿轮组及风电齿轮箱整体的稳定运转。此外,本实用新型的轴承座的轴向端面与端盖之间还通过密封圈实现有效的密封配合。

电动盘车工装

NºPublicación:  CN224079263U 03/04/2026
Solicitante: 
泰兴晨光索具有限公司
CN_224079263_U

Resumen de: CN224079263U

本实用新型涉及一种电动盘车工装,底座上支撑回转支撑,回转支撑上支撑回转工作台,回转工作台上锁紧连接轴系端部法兰圈,底座外接有横向固定座,横向固定座上连接纵向固定座,横向固定座和纵向固定座上分别锁紧支撑两靠接架,两靠接架上螺纹旋接止转抵接螺栓用于抵接或旋接轴系外轴承座结构外壁,或用于抵接旋接轴承座结构座脚,或用于抵接或旋接轴承座结构外法兰。该工装结构简单,盘车装机便捷、横纵方向定位稳定,能满足不同规格轴系在轴承座结构内高精盘车调整。

一种水浮式轨道钢轮风力发电机

NºPublicación:  CN224079247U 03/04/2026
Solicitante: 
上海众风新能源科技有限公司
CN_224079247_U

Resumen de: CN224079247U

本实用新型涉及一种水浮式轨道钢轮风力发电机,包括风机底座、风机主轴和风机叶片,所述发电机还包括发电机组、辅助发电机组、传动轨道和电机支撑台;所述风机底座内设有风机水池,所述风机主轴可转动安装在风机底座上,并悬浮在风机水池内;所述电机支撑台安装在风机底座的外围,并位于风机叶片的正下方,所述发电机组和辅助发电机组均固定在电机支撑台上,所述传动轨道固定在风机叶片的下端,所述传动轨道分别传动连接发电机组和辅助发电机组。与现有技术相比,本实用新型具有结构稳定成本低且发电效率高等优点。

风沙防护方法、装置、设备及存储介质

NºPublicación:  CN121782115A 03/04/2026
Solicitante: 
华能托里风力发电有限公司
CN_121782115_A

Resumen de: CN121782115A

本申请公开了一种风沙防护方法、装置、设备及存储介质,涉及防护领域,方法包括:获取当前风力,在当前风力大于预设风力阈值的情况下,检测在风力发电机组的预设距离内是否存在目标沙尘,在预设距离内存在目标沙尘的情况下获取当前风向;对于每个目标沙尘,基于当前风向、当前风力和目标沙尘的沙尘粒径,在预设轨迹映射关系中获取目标沙尘对应的沙尘相对运动轨迹;获取目标沙尘的起始位置以及沙尘相对运动轨迹,确定目标沙尘在风力发电机组的风叶所处空间平面内的目标打击区域;依据各目标打击区域,控制风力发电机组运行,以使风力发电机组中的风叶至少避开一个目标打击区域。本申请解决了风力发电机组的风沙防护效果不佳的问题。

一种与大型风力场相耦合双效垂直轴微风发电机

NºPublicación:  CN224079253U 03/04/2026
Solicitante: 
广东中科天钒储能科技有限公司
CN_224079253_U

Resumen de: CN224079253U

本实用新型公开了一种与大型风力场相耦合双效垂直轴微风发电机,涉及风力发电技术领域,该与大型风力场相耦合双效垂直轴微风发电机,包括发电主体,其特征在于:所述发电主体的外部设置有横梁,且发电主体设置有多个,所述横梁的一端设置有机架,所述机架的顶端设置有风力片,所述发电主体包括涡轮和第一连接座,且第一连接座位于涡轮的顶端,所述涡轮的底端设置有第二连接座,所述涡轮的外部设置有叶片,本方案解决了现有垂直轴微风发电机的机箱通过箱门打开进行内部发电机本体进行检修,箱门打开角度有限,检修的时候,敞开的箱门会对检修人员胳膊进行阻挡,从而导致检修不便,并且锁扣结构容易损坏,不便于维修,维修成本高的问题。

一种新能源场站智能监控系统

NºPublicación:  CN224083261U 03/04/2026
Solicitante: 
山东蒲葵电子科技有限公司
CN_224083261_U

Resumen de: CN224083261U

本实用新型公开了一种新能源场站智能监控系统,应用于新能源技术领域,包括:数据采集模块,包括:运行环境数据采集模块、设备运行数据采集模块、外部因素数据采集模块以及视频监控模块;阈值预警模块,用于根据预设监测数据阈值,对采集的数据进行阈值预警;数据传输模块,包括:总线通信模块和无线通信模块,用于分别进行近距离和远距离的新能源场站的监控数据传输;数据显示模块,用于显示新能源场站的监控数据,包括:数据采集模块采集的数据以及阈值预警模块的阈值预警信息;远程控制模块,用于根据监控数据,对新能源场站进行相应的远程控制。本实用新型实现了对新能源场站更精准的全方位监控及预警,确保了新能源场站的安全、高效运行。

一种风电混凝土塔筒的连接头及塔筒节段

NºPublicación:  CN224079257U 03/04/2026
Solicitante: 
重庆大学
CN_224079257_U

Resumen de: CN224079257U

本实用新型公开了一种风电混凝土塔筒的连接头及塔筒节段,该连接头包括塔筒内底法兰和下翻边管筒,下翻边管筒同轴地焊接固定于塔筒内底法兰内壁获得环槽,环槽内填充超高性能混凝土。该塔筒节段为在普通混凝土管上下两端均装有本实用新型的连接头,预应力筋贯穿连接头的超高性能混凝土和普通混凝土管,用预应力锚具锁紧。施工方法包括步骤:1、工厂预制塔筒内底法兰和下翻边管筒;2、将塔筒内底法兰与下翻边管筒同轴焊接;3、制成连接头并制作普通混凝土管;4、现场依次序吊装就位;5、将预应力钢筋贯穿塔筒节段,并用预应力锚具锁紧。技术效果是:增强混凝土塔筒连接的承载能力,提高混凝土塔筒连接处的抗疲劳性能和塔筒整体稳定性,且施工成本低。

一种风电光伏发电两用支架

NºPublicación:  CN224083458U 03/04/2026
Solicitante: 
深圳市普佳科科技有限公司
CN_224083458_U

Resumen de: CN224083458U

本实用新型涉及风电光伏发电技术领域,具体为一种风电光伏发电两用支架,包括立柱、支撑板和控制器,支撑板和控制器的一侧均固接有第一固定块,立柱的外壁套设有第二固定块,第一固定块与第二固定块相对应,第一固定块与第二固定块相对的一侧对称开设有螺纹孔。相比起现有技术,本专利通过设置第一的固定块、第二固定块、螺纹杆和限位结构,通过螺纹杆将第一固定块和第二固定块固定在一起,并将立柱夹持在第一固定块和第二固定块之间,然后通过调节限位结构,将带有固定杆的支撑杆插入到固定槽内部,并使得固定杆上的第一齿槽与第二齿槽相啮合,防止螺纹杆长时间不使用后出现生锈,导致螺纹杆脱落的情况,避免控制器和支撑杆掉落的技术问题。

用于使法兰连接的螺纹杆或螺栓伸长的伸长工具

NºPublicación:  CN121794467A 03/04/2026
Solicitante: 
阿梅代股份公司
CN_121794467_PA

Resumen de: WO2025051623A1

Elongation tool (1) for elongating a threaded rod or bolt (2) of a flange connection (3) comprising a rotatable thread engagement means (5) and an expansion device (6), wherein the thread engagement means (5) are configured to be threaded onto the bolt (2), and the expansion device (6) is connected to the thread engagement means (5) and configured to exert a first force (F1) essentially perpendicular to and away from the flange connection (3) onto the thread engagement means (5), when the thread engagement means (5) are engaged with a thread of the bolt (2), wherein the elongation tool (1) comprises friction means (7) configured to be brought into contact with the bolt (2) and provide friction between the friction means (7) and the bolt (2) when the thread engagement means (5) are being threaded onto the bolt (2), and to arrest a rotational movement of the bolt (2).

与涡轮膨胀器结合用于发电的包括可再生能源和能量存储的方法和系统

NºPublicación:  CN121794462A 03/04/2026
Solicitante: 
西门子能源国际公司
CN_121794462_PA

Resumen de: US2020190621A1

0001 A rolled steel sheet, for press hardening is provided, having a chemical composition where Ti/N>3.42, and the carbon, manganese, chromium and silicon contents satisfy: 0002 2.6 C + Mn 5.3 + Cr 13 + Si 15 ≥ 1.1 % . 0003 The sheet has a nickel content Niat any point of the steel in the vicinity of the surface over a depth Δ, such that: Ni>Ni, Nidenoting the nominal nickel content of the steel, and such that, Nidenoting the maximum nickel content within Δ: 0004 ( Ni max + Ni nom ) 2 × ( Δ ) ≥ 0.6 , 0005 and such that: 0006 ( Ni max - Ni nom ) Δ ≥ 0.01 0007 and the surface density of all of the particles Dand the surface density of the particles D<(>2 μm) >larger than 2 micrometers satisfy, at least to a depth of 100 micrometers in the vicinity of the surface of said sheet: 0008 Di +6.75 D<(>2 μm) ><270 0009 Dand D<(>2 μm) >being expressed as number of particles per square millimeter, and said particles denoting all the oxides, sulfides, and nitrides, either pure or combined such as oxysulfides and carbonitrides, present in the steel matrix.

模块化拼接的风电储能一体化设备

NºPublicación:  CN224079261U 03/04/2026
Solicitante: 
中国水利水电第十二工程局有限公司
CN_224079261_U

Resumen de: CN224079261U

本实用新型公开了一种模块化拼接的风电储能一体化设备,属于风电储能技术领域,包括:开设在风力发电塔底用于安装锂电池组的安装室,其室壁上铰接设置有室门,所述室门上设置有锁芯,所述安装室的室壁上滑动设置有与锁芯插销配合的锁扣,所述锁扣上固定连接有弧形板;还包括与锁扣啮合设置的主动齿轮,其通过电机驱动旋转并带动锁扣围绕风力发电塔中轴线做圆周运动,以使锁扣与锁芯脱离配合。该实用新型通过设置的锁扣、主动齿轮、弧形板和抵推杆,能够实现安装室内外部的快速通风散热,能够便于维修人员在远处观察内部情况,排除危险后在靠近维修,避免人员受伤,从而提高设备的安全性能。

制造风力涡轮机转子叶片的半壳体的方法

NºPublicación:  CN121777449A 03/04/2026
Solicitante: 
恩德能源欧洲股份两合公司
CN_121777449_PA

Resumen de: CN121777449A

本发明涉及一种制造风力涡轮机转子叶片的半壳体的方法,该方法使用模具(141)进行,模具(141)包括铺叠表面(142)和突出部(143),其中,突出部(143)限定模具(141)的边缘,该方法包括以下步骤:i. 将牺牲材料块(149)布置在突出部(143)上,ii. 将多个层压层(145、146、147)布置在铺叠表面(142)上,其中,多个层压层(145、146、147)中的至少一个层压层(145、146)覆盖突出部(143)上的牺牲材料块(149),iii. 将牺牲材料块(149)和至少一个层压层(145、146)的覆盖牺牲材料块(149)的部分去除。

一种便于散热的风电机组

NºPublicación:  CN121782122A 03/04/2026
Solicitante: 
王景宇
CN_121782122_PA

Resumen de: CN121782122A

本发明公开了一种便于散热的风电机组,具体涉及风力发电技术领域,包括风电机组主体机构,风电机组主体机构的内部设有冷却散热机构;风电机组主体机构包括主轴承组件,导向承托板外壁固装有多个散热片,在实际使用时,使得多个导向衔接杆同步带动导向承托板及其对应的多个散热片开始旋转,配合散热片的波浪状的形态以及导流孔的由小到大的变化设置,不仅能够使得机舱内原本规则的气流流向发生不规则的变化,避免主轴承组件等发电关键组件在工作时出现局部过热现象,散热更加均匀,而且能够加速空气在导向承托板和散热片之间快速流通,防止热气热空气在散热片之间滞留,上述设置大大提高了风力发电组件的散热效率,大大提高长期风力发电的稳定性。

一种基于太赫兹技术的风力叶片的清洗及故障扫描装置

NºPublicación:  CN121782121A 03/04/2026
Solicitante: 
共和华能太阳能发电有限公司中国华能集团清洁能源技术研究院有限公司
CN_121782121_PA

Resumen de: CN121782121A

本发明提出一种基于太赫兹技术的风力叶片的清洗及故障扫描装置,所述装置包括:轨道组件、清理组件和赫兹扫描仪,轨道组件包括导轨和吸盘,导轨相对于叶片可弯曲,以利用吸盘将轨道组件吸附在叶片表面,清理组件包括移动部件和清理部件,移动部件与导轨相连且沿导轨的延伸方向可移动,清理部件与移动部件相连且沿正交于导轨的延伸方向可移动,清理部件包括第一喷口和第二喷口,赫兹扫描仪与清理部件相连,且赫兹扫描仪位于清理部件邻近叶片一侧,赫兹扫描仪用于对清理后的叶片表面进行扫描。本发明的基于太赫兹技术的风力叶片的清洗及故障扫描装置具有清扫、扫描方便,工作效率高的优点。

齿轮箱内齿圈动态啮合力反演方法

NºPublicación:  CN121787191A 03/04/2026
Solicitante: 
重庆大学
CN_121787191_PA

Resumen de: CN121787191A

本发明提供一种齿轮箱内齿圈动态啮合力反演方法,包括以下步骤:建立内齿圈‑箱体耦合系统初始有限元模型;基于初始有限元模型计算初始单位载荷‑表面应变影响矩阵;基于多种工况下内齿圈表面应变测试数据对初始单位载荷‑表面应变影响矩阵进行修正,得到修正后单位载荷‑表面应变影响矩阵;使用修正后单位载荷‑表面应变影响矩阵计算齿轮箱内部行星轮啮合力。采用本发明技术方案,经反演可获得的精确啮合力数据;能够实时监测齿轮箱是否发生超载或异常冲击,分析行星轮系的载荷分配均匀性,为齿轮箱的预测性维护和剩余寿命评估提供精确的载荷谱数据支撑。

一种风电塔筒修补固定装置及方法

NºPublicación:  CN121782120A 03/04/2026
Solicitante: 
三峡新能源(凤凰)发电有限公司
CN_121782120_PA

Resumen de: CN121782120A

本发明公开了一种风电塔筒修补固定装置及方法,装置包括带凸块的修补板、内侧垫板、高强度螺栓、应力结构、密封圈及支撑杆;凸块与塔筒缺口适配,修补板和垫板通过螺栓双向固定,应力结构分散螺栓压紧力,支撑杆与支撑块增强内侧支撑;方法包括部件准备、修补板定位满焊、垫板安装、螺栓装配、螺母拧紧及密封处理。修补板与凸块采用Q345钢,螺栓选用8.8级或10.9级,密封圈为氟橡胶材质,密封填料为环氧树脂基。本发明解决现有修补适配性差、强度不足及密封弱的问题,提升修补处承载能力与密封性,延长使用寿命,降低维护成本,适用于陆上及海上风电塔筒修补。

一种海能驱航船动力集成装置

NºPublicación:  CN121782087A 03/04/2026
Solicitante: 
广东信稳海能驱航船舶有限公司广东信稳能控技术研究有限公司
CN_121782087_PA

Resumen de: CN121782087A

本发明公开了一种海能驱航船动力集成装置,包括海波竖向能量收集器和风能收集柱,海波竖向能量收集器和风能收集柱均与同一条集能传动轴联动,集能传动轴设有与船体的螺旋桨相联动的动力输出端,海波竖向能量收集器和风能收集柱两者均联动有直流发电机。本发明提供的海能驱航船动力集成装置,能将收集得到的风柱机械能、浮萍机械能以及燃油发电机机械能集成到同一根集能传动轴上,驱动船舶航行,环保节能。风能和海波能可直接驱动螺旋桨,能量转化损耗少。

一种屋顶定翼风机的叶片及其制备方法

NºPublicación:  CN121782093A 03/04/2026
Solicitante: 
国能联合动力技术(赤峰)有限公司
CN_121782093_PA

Resumen de: CN121782093A

本发明属于风电领域,涉及一种屋顶定翼风机的叶片及其制备方法,该叶片包括蒙皮、主骨架和填充物;主骨架包括多个第一翼型板、两个第二翼型板、连接杆和第二翼型板外侧的端面法兰;第一、第二翼型板均包括基板和外翻沿;多个第一、第二翼型板并排设置,且第一、第二基板相互平行、尺寸相同;两个第二翼型板位于第一翼型板的两侧,第二翼型板的内侧均朝向第一翼型板;第一、第二基板设有供连接杆穿设的第一通孔;第一、第二外翻沿上设有供蒙皮连接件连接的第二通孔;连接杆穿过第一通孔,其两端分别固定至端面法兰,以便将第一、第二翼型板连接形成主骨架。本发明通过优化叶片的结构和材质,降低了叶片成本、减轻重量,同时提高强度和寿命。

提升风电机组转子主轴关键区域寿命的主轴结构和方法

NºPublicación:  CN121782091A 03/04/2026
Solicitante: 
东方电气风电股份有限公司
CN_121782091_PA

Resumen de: CN121782091A

本发明涉及风力发电技术领域,特别涉及提升风电机组转子主轴关键区域寿命的主轴结构和方法,包括轴体,轴体的一端形成用以连接安装结构的固定法兰结构,所述固定法兰结构包括动轴体向外侧延伸的外侧法兰壁,和从轴体向内测延伸的内侧法兰壁,外侧法兰壁和内侧法兰壁均设置若干连接紧固件并将主轴连接至安装结构。本发明通过对轴体结构的改进处理,将单侧受力结构调整为双侧受力结构,避免了轴体上法兰结构处的应力集中,保障了轴体的结构稳定可靠,能够在实际使用过程中提高轴体的有效寿命。

用于风力发电机组的除冰装置及风力发电机组

NºPublicación:  CN121782119A 03/04/2026
Solicitante: 
施正宝
CN_121782119_PA

Resumen de: CN121782119A

本发明提供了一种用于风力发电机组的除冰装置及风力发电机组。用于风力发电机组的除冰装置设置在风力发电机组上,风力发电机组包括定子和转子,转子包括转轴和至少一个桨叶,转轴的第一端与定子转动连接,桨叶固定在转轴的第二端,除冰装置包括加热电阻和电源,加热电阻设置在桨叶上,加热电阻的第一端与第一焊盘电连接,加热电阻的第二端与第二焊盘电连接,第一焊盘和第二焊盘设置在桨叶的根部,电源与第一焊盘和第二焊盘电连接,电源用于向加热电阻提供电能,加热电阻将电能转化为产生热能。该除冰装置可以防止桨叶结冰或融化桨叶表面的覆冰,从而提高风力发电机组运行的稳定性,进而提高风力发电机组的发电效率。

一种农用风力抽水装置

NºPublicación:  CN121782106A 03/04/2026
Solicitante: 
重庆航天职业技术学院
CN_121782106_PA

Resumen de: CN121782106A

本申请为一种农用风力抽水装置,包括一体成型的大、中、小滑轮组成的三联滑轮,由三角十字架、弹簧等组成的传动机构,带螺旋状水管的抽水机和高空气球。通过升入高空的高空气球获取风力,再通过特长绳、三角十字架和三联滑轮与抽水机连接,利用高空风力不断变化的特性及三联滑轮的杠杆原理,在特长绳拉力大时,使得三联滑轮转及与大、中滑轮缠绕的长圆筒同向转动;而在特长绳拉力小时,利用与小滑轮连接的小重块使三联滑轮在反向转动的同时长圆筒静止,从而使得抽水机能断断续续地向单一方向转动,实现抽水功能。本申请成本低廉、动力充足,可用于在无电力的野外抽水抗旱。

风机润滑油精滤智控方法及系统

NºPublicación:  CN121782123A 03/04/2026
Solicitante: 
云南滇能智慧能源有限公司
CN_121782123_PA

Resumen de: CN121782123A

本发明涉及智能控制技术领域,提供了风机润滑油精滤智控方法,包括:获取目标风机润滑油的风机润滑油数据信息,对风机润滑油数据信息进行污染特征分析;构建风机润滑油过滤控制空间,将润滑油污染程度特征参数作为约束参数,在风机润滑油过滤控制空间内进行寻优,获得目标精滤控制参数;基于目标精滤控制参数对所述目标风机润滑油进行精滤监测,获取过滤监测数据流,基于过滤监测数据流对所述目标精滤控制参数进行优化管控。解决现有风机润滑油精滤方法存在实时感知不强、控制不够精准,从而无法获得最佳的精滤控制参数,导致润滑油的使用寿命短,维护成本高的技术问题。

一种风力发电导风装置

NºPublicación:  CN121782094A 03/04/2026
Solicitante: 
赖国荣
CN_121782094_PA

Resumen de: CN121782094A

一种风力发电导风装置,包括一导风装置本体,其具有一外壳体(100)、一设置于所述外壳体(100)内的内壳体(200)以及一转动安装于所述内壳体(200)内的涡轮(300),所述外壳体(100)与所述内壳体(200)之间形成一第一环形内腔(400),所述内壳体(200)与所述涡轮(300)之间形成一第二环形内腔(500),所述第一环形内腔(400)与所述第二环形内腔(500)之间设置有一第一涡流喷口(401),所述第二环形内腔(500)具有一第二涡流喷口(501),所述第一涡流喷口(401)与所述第二涡流喷口(501)对称设置。本发明高速气流通过第一涡流喷口和第二涡流喷口喷出并作用于涡轮上,在涡轮上形成一对力偶,力偶矩使涡轮高速旋转,产生强大的扭力,运行更加的安静和稳定。

一种风电混凝土塔架低温吊装施工保温装置及方法

NºPublicación:  CN121781812A 03/04/2026
Solicitante: 
东方电气风电股份有限公司
CN_121781812_PA

Resumen de: CN121781812A

本发明涉及风力发电技术领域,特别涉及一种风电混凝土塔架低温吊装施工保温装置及方法,包括顶部框架,所述顶部框架用以覆盖整环筒节的上端面,顶部框架上形成有覆盖层并设置观察区;覆盖层上设置有供起吊点穿过的起吊孔;所述顶部框架还连接若干向下垂落的保温围挡,相邻保温围挡连接后形成筒形的围挡结构,围挡结构内形成加热腔,整环筒节被笼罩在加热腔内;所述保温装置还包括加热源,用以维持加热腔内的温度。通过保温装置和施工方法,能够对整环筒节进行包裹笼罩,并形成加热腔对内部的进行加热,提供适宜的温度环境供固化胶进行固化反应,从而实现整环筒节的装配施工,实现了在低温条件下的混凝土塔架施工。

一种内外双索的混塔结构及其施工方法

NºPublicación:  CN121781810A 03/04/2026
Solicitante: 
山东电力工程咨询院有限公司
CN_121781810_PA

Resumen de: CN121781810A

本发明属于混塔结构技术领域,提出了一种内外双索的混塔结构及其施工方法,包括基础,以及设置在所述基础上的混凝土塔段;混凝土塔段的内部设置有内预应力索,外部设置有外预应力索,外预应力索上设置有阻尼器,通过外预应力索极大地增加了力臂,在混凝土用量不变的情况下,提高了塔筒受力性能,阻尼器起到减震作用,可以有效耗散外预应力索振动产生的能量,大大减轻风载对外预应力索的影响;采用内外双索和阻尼器结合的结构,有助于提高混塔的受力性能,可以消除混凝土表面的开裂风险,极大地提高了结构的耐久性和使用寿命。

一种预制混凝土塔筒结构及制作与施工方法

NºPublicación:  CN121782108A 03/04/2026
Solicitante: 
北京峰筑工程技术研究院有限公司
CN_121782108_PA

Resumen de: CN121782108A

一种预制混凝土塔筒结构及制作与施工方法,塔筒由筒节上下连接组成,筒节包括预制混凝土、钢筋和钢骨,钢筋包括环向钢筋和纵向钢筋,环向钢筋和纵向钢筋形成钢筋网,钢骨位于钢筋网之间,钢骨伸出预制混凝土的表面,上下相邻的筒节对应的钢骨连接,连接区浇筑有后浇料。本发明具有接缝处抗剪性能好,塔筒承载力与刚度和抗疲劳性能好的优点,而且提升施工期间的安全性。

一种基于物联网的风电钢混塔筒智能监测系统

NºPublicación:  CN121782113A 03/04/2026
Solicitante: 
华能承德风力发电有限公司
CN_121782113_PA

Resumen de: CN121782113A

本发明公开了一种基于物联网的风电钢混塔筒智能监测系统,属于风电设施监测技术领域。本发明通过集成自学习能力的智能感知、自适应数据传输与云端智能预警子系统,实现了对塔筒结构状态的实时、精准与自主化监测。本发明采用强化学习动态优化监测点位与采集参数,基于历史数据自学习选择最优传输链路,并利用无监督学习建立动态健康基线模型进行智能预警,全程无需依赖人工经验与固定阈值,在监测精度、预警实时性、环境适应性及运维效率方面取得提升,推动了风电设施监测向全自主智能化运维的发展。

自构网型风电机组的控制方法及电子设备

NºPublicación:  CN121791338A 03/04/2026
Solicitante: 
国电联合动力技术有限公司
CN_121791338_PA

Resumen de: CN121791338A

本发明公开自构网型风电机组的控制方法及电子设备。自构网型风电机组的控制方法包括:采用虚拟同步发电机确定机侧参考角度和机侧参考虚拟电势,基于所述机侧参考角度和所述机侧参考虚拟电势控制机侧变流器;基于连接在机侧变流器和网侧变流器之间的直流母线电容的惯性计算网侧参考角度,基于所述网侧参考角度控制网侧变流器。本发明通过将虚拟同步控制的参考角度(相位)引入机侧变流器的控制中,使得风电机组在电网波动时能体现出类似同步发电机的电压源特性。同时,通过将直流电容惯性控制引入网侧变流器,使得风电机组网侧变流器也具备一定的构网功能,从而提高风电机组对电网的支撑能力,提高电力系统的稳定性。

一种基于TIP-Adapter的风机叶片故障小样本智能诊断方法

NºPublicación:  CN121786586A 03/04/2026
Solicitante: 
桂林电子科技大学
CN_121786586_PA

Resumen de: CN121786586A

本发明公开一种基于TIP‑Adapter的风力涡轮机叶片故障小样本智能诊断方法及系统,旨在解决叶片故障标注成本高、训练时间长与泛化能力不足的问题,实现无需训练的快速部署。该方法面向裂纹、侵蚀、正常、剥落、崩落等类别,构建领域专用文本提示模板库,并采用多模板特征集成策略对同一类别的多提示文本特征进行归一化融合,以增强文本侧语义鲁棒性。同时利用少量支持集图像构建特征缓存,将支持集图像特征作为缓存键、标签独热编码作为缓存值;推理时计算查询特征与缓存键的相似度并经温度参数归一化得到注意力权重,生成缓存预测logits,并与CLIP零样本预测按缓存权重进行融合输出最终诊断结果。本发明还提供超参数网格搜索策略以自动确定与的推荐配置,从而在不同shot设置下获得稳定的诊断性能,并适用于无人机巡检、智能运维平台与移动端等工业部署场景。

风力发电机塔筒的监测方法及装置、设备、存储介质

NºPublicación:  CN121782109A 03/04/2026
Solicitante: 
内蒙古新远景集团有限公司远景能源有限公司
CN_121782109_PA

Resumen de: CN121782109A

本申请涉及风力发电技术领域,公开一种风力发电机塔筒的监测方法,应用于电子设备,方法包括:获取风力发电机的载荷参数。将载荷参数输入训练好的风况重构模型,以使风况重构模型基于载荷参数生成风况数据。将风况数据输入训练好的载荷计算模型,以使载荷计算模型基于风况数据输出塔筒的载荷时序数据。该方法在监测塔筒的载荷时,相较于利用塔筒表面部署的传感器,检测塔筒所承受载荷的方式,可以减少监测盲区,从而更加全面地监测塔筒载荷,以提升监测塔筒载荷的准确性。本申请还公开一种风力发电机塔筒的监测装置及设备、存储介质。

一种建筑节能通风系统

NºPublicación:  CN121782675A 03/04/2026
Solicitante: 
温州职业技术学院
CN_121782675_PA

Resumen de: CN121782675A

本发明涉及建筑通风技术领域,具体为一种建筑节能通风系统,包括进气机构,安装在进气机构上的滤气机构,安装在滤气机构上的增程式进风机构,安装在增程式进风机构上的风动供能机构以及安装在进气机构上的清污机构;所述进气机构包括底座,所述底座的内部固定安装有导流管,所述导流管的顶部固定安装有锥形滤网。通过在屋顶的通风管上安装进气机构和滤气机构,并在滤气机构的顶部安装增程式进风机构,当扇叶树立在屋顶上且高于遮挡的墙体以上位置后,顺着建筑物外墙流动的气流会助转扇叶,而扇叶、横轴以及偏心齿轮会为叶轮轴提供稳定的机械能,最终可以确保该装置在屋顶低气流且气流受阻的状态下实现持续通风换气的目的。

一种海上漂浮式风光发电集成平台及其光伏组件调节方法

NºPublicación:  CN121791771A 03/04/2026
Solicitante: 
中国长江三峡集团有限公司
CN_121791771_PA

Resumen de: CN121791771A

本发明涉及海上发电技术领域,公开了一种海上漂浮式风光发电集成平台及其光伏组件调节方法,包括:漂浮式基础、风力发电组件、光伏发电组件和倾角调节组件;风力发电组件设置于漂浮式基础上;光伏发电组件包括:多个光伏组件,多个光伏组件环绕风力发电组件周向间隔设置,光伏组件靠近风力发电组件的一端与漂浮式基础铰接;倾角调节组件包括:多组调节机构和多个气隙检测装置,其驱动端与一个光伏组件远离风力发电组件的一端铰接,每个光伏组件远离风力发电组件的一端设置一个气隙检测装置,本发明对光伏组件与海面间距离进行实时检测,通过调节机构调节光伏组件与海面之间的高度,防止光伏组件收到海浪冲击出现损坏。

一种漂浮式风力机抗台风控制方法和控制系统

NºPublicación:  CN121782101A 03/04/2026
Solicitante: 
河海大学
CN_121782101_PA

Resumen de: CN121782101A

本发明公开一种风力机发电技术领域的漂浮式风力机抗台风控制方法和控制系统,旨在通过主动设定偏航角与俯仰角调节叶片攻角,改变作用于叶片的气动力,以实现更强的制动效果。该方法包括根据风速风向仪获取当前环境的风速和来流风向,当风速大于预设的强风风速阈值时,判断当前来流风向与风力机对航风向是否相同:若不相同,调整偏航角;若相同,通过偏航实现上部叶片达到预设攻角值,通过调节风力机重心实现下部叶片达到预设攻角值,通过调整平台状态抵消外部环境扰动使得风力机在预设攻角位置保持稳定。本发明通过将叶片攻角始终保持为恒定负攻角,在不增加叶片阻力的前提下,避免强台风风况下叶片升力持续过大导致的超限横风向振动。

一种主动压载水系统对浮式风机的纠倾控制方法

NºPublicación:  CN121782099A 03/04/2026
Solicitante: 
中广核风电有限公司
CN_121782099_PA

Resumen de: CN121782099A

本发明公开了一种主动压载水系统对浮式风机的纠倾控制方法,具体为:构建浮式风机的动力模型,包括:定义浮式风机结构各个部件的自由度,计算浮式风机系统的动能,计算浮式风机系统的势能,计算结构外荷载考虑风荷载、水动荷载以及锚链荷载,建立浮式风机的动力模型,再加入风机的伺服系统,组成完整的风机动力模型。主动压载水系统‑纠倾控制,通过风速预测方法预知未来几分钟的平均风速以及风向变化,计算各舱室的压载水变化量,计算得海水和锚链提供的稳态恢复力;由力矩平衡算出各压载舱调配水产生的重力变化,再由变化重力算出各压载舱内水的变化体积,然后各舱室按照设定压载速度完成压载。本发明提高了主动压载水的控制效率。

一种风热电储离网型热泵机组及其控制方法

NºPublicación:  CN121782795A 03/04/2026
Solicitante: 
山东华业电气有限公司天津绿能风光科技有限公司
CN_121782795_PA

Resumen de: CN121782795A

本发明涉及热泵机组控制领域,用于解决系统缺乏对供能、储能和负载之间的协同前瞻分析,无法精细化地控制热泵运行,影响供热连续性的问题,具体是一种风热电储离网型热泵机组及其控制方法,具体包括终端探测模块、混合调控模块、预测调控模块以及双向配置传输模块;本发明是通过终端探测模块实现全状态感知,经由混合调控模块完成实时动态优化与风险初判,再通过预测调控模块实施前瞻性资源调配与柔性负载管理,最终借助双向配置传输模块实现闭环交互与安全兜底,将离网系统中风电的间歇性、储能的有限性、热负荷的波动性以及人工干预的必要性深度融合,形成一套多层次、自适应、柔性的智能控制体系。

基于风力-雨淋的复合式发电装置

NºPublicación:  CN121782104A 03/04/2026
Solicitante: 
盐城工学院
CN_121782104_PA

Resumen de: CN121782104A

本发明公开了基于风力‑雨淋的复合式发电装置,包括:能量收集装置,用于收集可转化为电能的风能和雨滴能;能量转化装置,与能量收集装置连接,用于将能量收集装置采集的风能和雨滴能转化为电能;电能管理模块,与能量转化装置电连接,用于将能量转化装置转化的电能进行整流和储存,并向负载供电。通过上述结构设计,使得本申请可适配太阳能路灯等场景,通过能量收集装置对多种能量进行收集转化,实现在不同天气条件下稳定供电,从而使得本申请具有能量收集范围广、转换效率高、结构紧凑、环境适应性强等优势,适用于户外低功耗设备(如物联网传感器、野外监测终端等)的自主供电场景。

风力发电机组的叶片除冰的方法、装置以及风力发电机组

NºPublicación:  CN121782118A 03/04/2026
Solicitante: 
三一重能股份有限公司
CN_121782118_A

Resumen de: CN121782118A

本申请实施例提供一种风力发电机组的叶片除冰的方法、装置以及风力发电机组。该方法应用于风力发电机组的控制器;风力发电机组的轮毂上设置有第一鼓风机,第一鼓风机与风力发电机组的至少一个叶片连通,该方法包括:在对叶片进行气热除冰的过程中,控制第一鼓风机开启;对叶片进行加压处理、减压处理以及保压处理,以控制叶片内部的气压变化进行除冰。该方法用以实现对风力发电机组的叶片进行充分除冰的效果。

风力发电机组传动链轴承故障类型自动诊断方法及装置

NºPublicación:  CN121782111A 03/04/2026
Solicitante: 
中船海装风电有限公司
CN_121782111_PA

Resumen de: CN121782111A

本发明公开了一种风力发电机组传动链轴承故障类型自动诊断方法及装置,其包括:获取相关文件数据;进行多角度预处理,得到n个CMS重构振动数据;提取多维度特征值,并归一化加权后确定对应的故障等级;确定每个CMS重构振动数据的m个最佳共振带;确定n个振动特征指标以及m个故障诊断谱集,每个故障诊断谱集包含n个故障诊断谱;针对每个最佳共振带,从对应的n个故障诊断谱中筛选得到n1个有效图谱,确定每个有效图谱中各故障类型的发生概率,将发生概率最大的作为对应的轴承故障类型;将m个轴承故障类型、对应的最终故障图谱以及故障等级组合,形成故障类型诊断结果并输出。采用本发明能实现故障类型、故障程度的准确诊断,同时提高诊断精度。

一种管道式风力发电机

NºPublicación:  CN121782105A 03/04/2026
Solicitante: 
神凯(永康市)机电有限公司杭州英凯佳企业管理有限公司
CN_121782105_PA

Resumen de: CN121782105A

本发明公开了一种管道式风力发电机,其包括进风底座组件、外壳体、文丘里发电组件和出风挡板组件;文丘里发电组件包括固定连通设置在进风底座组件上的进风腔,其为两端开口的喇叭状中空腔体;固定连通设置在进风腔上的发电机构;连通设置在发电机构上且与进风腔构成文丘里效应通道的出风腔机构,其为两端开口的倒喇叭状中空腔体;转动设置在出风腔机构出风端的出风扇叶。本发明通过文丘里发电组件依次把风能转换成机械能、电能,从而实现风力发电功能,有效地解决了现有风力发电装置结构复杂和体积庞大的问题。

一种基于塔底载荷的风机逆向重构技术

NºPublicación:  CN121787044A 03/04/2026
Solicitante: 
海洋石油工程股份有限公司
CN_121787044_PA

Resumen de: CN121787044A

本发明涉及浮式风机时域一体化分析技术领域,具体地说,涉及一种基于塔底载荷的风机逆向重构技术。其包括以下步骤:采集塔底载荷时历数据和塔架截面参数,建立塔底载荷与风速的函数关系,并提取各风速下的风机转速函数;基于塔架沿高度方向的内外径离散数据,利用线性插值构建连续截面函数并建立塔架等效模型;结合风机发电功率、转速与扭矩间的关系,利用前述载荷与转速数据建立风机功率曲线,并以功率、转速、塔顶载荷为输出变量构建重构风机的目标函数。本发明通过重构可获得风机的功率曲线、转速特性、塔顶载荷响应及关键气动参数,弥补了原始数据缺失带来的信息盲区。

一种基于风力机械能采集的自发光风铃系统

NºPublicación:  CN121789617A 03/04/2026
Solicitante: 
深圳巨量星图出海信息技术有限公司
CN_121789617_PA

Resumen de: CN121789617A

一种基于风力机械能采集的自发光风铃系统,固定支架顶部设有用于悬挂的吊环,主轴竖直设置于固定支架内部,并通过轴承与固定支架转动连接;至少三个风叶组件,沿周向均匀分布并固定连接于主轴的上部外周,能量转换模块固定安装于固定支架内且位于主轴下部,能量转换模块包括压电陶瓷片或电磁线圈,其输入端与主轴传动连接;储能单元固定设于固定支架底部并与能量转换模块电连接。本发明通过至少三个沿主轴周向均匀分布的风叶组件,每个风叶由连接臂与弧形板状叶片本体构成,叶片本体迎风面朝向旋转前方,且所有曲率中心位于同一水平圆周上,确保旋转过程中气动载荷分布高度对称,有效抑制偏心振动与轴承磨损。

基于数字孪生技术的海上风电运维方法及系统

NºPublicación:  CN121786578A 03/04/2026
Solicitante: 
中交上海三航科学研究院有限公司
CN_121786578_PA

Resumen de: CN121786578A

本发明提供基于数字孪生技术的海上风电运维方法及系统,涉及海上风电运维方法技术领域,包括根据贝茨极限定义计算风机的最大理论功率;采用前向欧拉离散化将风能效率转换的动态比值转化为差分方程,采用卡尔曼滤波构建状态空间模型更新每个采样点的风能转换效率;采用指数加权移动法构建风能转换效率的动态阈值。通过温度补偿法动态修正空气密度,使理论功率计算更贴合风机所处的真实大气环境;采用卡尔曼滤波对离散化后的状态空间模型进行求解,能够最优地融合机理模型的预测与实际观测值;采用指数加权移动法生成动态阈值,该阈值能够跟随风能转换效率的长期趋势和短期波动而自适应调整。

不依靠电网电压的直驱风电机组提前启动方法及相关装置

NºPublicación:  CN121782096A 03/04/2026
Solicitante: 
国网湖北省电力有限公司电力科学研究院湖北方源东力电力科学研究有限公司
CN_121782096_PA

Resumen de: CN121782096A

一种不依靠电网电压的直驱风电机组提前启动方法及相关装置,包括:通过断开变压器电网侧开关、保持机组侧连接,将桨距角顺桨至90°并制动风轮;根据风力参数选取最低桨距角βmin,确保其对应机械功率大于直流母线电容充电功率;风速达标后降低桨距角至βmin并解除制动,利用风力升速提升直流母线电压;在电压达耐压值前启动发电机侧变流器,采用一阶惯性环节控制母线电压以降低冲击;稳定后根据发电机端电压动态调节参考值,满足调制约束;启动网侧变流器,通过“功率外环+电流内环”控制,以固定频率生成相位角作为逆变参考。本发明无需电网电压即可实现机组自主启动,可快速响应电网功率需求,提升风电场运行可靠性与电网支撑能力。

一种适用于复杂地形的地震预警台站风光互补支架调节装置

NºPublicación:  CN121781793A 03/04/2026
Solicitante: 
甘肃省地震局(中国地震局兰州地震研究所)
CN_121781793_PA

Resumen de: CN121781793A

本发明提供一种适用于复杂地形的地震预警台站风光互补支架调节装置,涉及可再生能源利用领域,包括发电底座、防护围栏、光电底座、太阳能板主体、发电扇叶、调节防护机构和除雪防护机构;所述防护围栏设置在发电底座的外周;所述支撑固定杆焊接在发电底座的上方;所述支撑伸缩杆分别滑动连接在支撑固定杆的内侧上方;所述光电底座焊接在支撑伸缩杆的上端;所述太阳能板主体铰接在光电底座的上方;所述角度调节底座转动连接在发电底座的内侧;所述调节防护机构设置在发电底座的上方;所述除雪防护机构设置在太阳能板主体的外侧,保障装置在地震环境下的安全运行,解决了风光互补发电装置高度较高,容易在地震中发生倾覆损坏的问题。

风电叶片根部法兰装置

NºPublicación:  CN121777461A 03/04/2026
Solicitante: 
中材科技(锡林郭勒)风电叶片有限公司
CN_121777461_PA

Resumen de: CN121777461A

本申请公开了一种风电叶片根部法兰装置,风电叶片根部法兰装置包括模具结构、法兰结构和定位结构;定位结构包括多个第一定位组件,第一定位组件包括连接件、调节件和限位件,连接件与法兰结构连接,调节件与连接件连接,限位件与模具结构连接,限位件包括第一限位部和第二限位部,限位件还设置有沿第一方向呈凹陷设置的凹槽,调节件的至少部分位于凹槽中,第一限位部用于沿第二方向对调节件在凹槽中的位置进行限位,第二限位部用于沿第三方向对调节件在凹槽中的位置进行限位;其中,第一方向为法兰结构的高度方向,第二方向为法兰结构的轴向方向,提高叶根的预埋螺栓套位置的精确度,从而使得风电叶片稳定运行。

大功率风力发电机以及风力发电机组

NºPublicación:  CN121782124A 03/04/2026
Solicitante: 
远景能源技术私人有限公司
CN_121782124_PA

Resumen de: CN121782124A

本发明提供了一种大功率风力发电机以及风力发电机组,大功率风力发电机包括转轴、壳体,转轴上设置有电机轴承,电机轴承为滚动轴承;壳体上设置有轴承室,电机轴承设置于轴承室内;轴承室上设置有连通润滑油供给装置的进油口、以及连通进油口的喷油口,以通过喷油口对电机轴承喷油润滑。本发明的大功率风力发电机采用滚动轴承配合喷油润滑的方案,替代传统的脂润滑方式,润滑油直接喷射至电机轴承,高效带走热量,显著降低运行温度与失效风险,从而规避脂润滑的固有缺陷。

风电机组及其变桨控制方法、系统、设备、介质及产品

NºPublicación:  CN121782098A 03/04/2026
Solicitante: 
上海电气风电集团股份有限公司
CN_121782098_PA

Resumen de: CN121782098A

本公开提供了一种风电机组及其变桨控制方法、系统、设备、介质及产品,方法包括:获取所述风电机组的叶片在运行状态下的实际推力、功率推力以及气动推力;以满足预设条件的所述功率推力或所述气动推力为目标推力;根据所述实际推力和所述目标推力确定所述叶片的桨距角变化值,以控制所述叶片进行变桨,通过气动推力和功率推力作为目标推力与实际推力进行比较的设定,相较于现有技术的方案而言,目标推力可以随风电机组的功率约束和气动条件实时变化,使得变桨控制灵活性更高,在削减了风电机组的推力,减少对于塔架等结构的压力的同时,在风电机组的安全边界内对能量最大化捕获。

用于风力发电机桨叶延长节的防雷系统及其安装方法

NºPublicación:  CN121782116A 03/04/2026
Solicitante: 
吉电滁州章广风力发电有限公司
CN_121782116_PA

Resumen de: CN121782116A

本发明涉及水平轴风力发电机领域,具体为一种用于风力发电机桨叶延长节的防雷系统及其安装方法。一种用于风力发电机桨叶延长节的防雷系统,包括桨叶(1),其特征是:还包括防雷器(2)和连接杆(3),桨叶(1)分割成桨叶本体(11)和桨叶尖套(12),防雷器(2)包括桨叶本体接闪器(21)、桨叶尖套接闪器(22)和导线(23);导线(23)的另一端拴系在连接杆(3)顶端后通过连接杆(3)伸入桨叶尖套(12)内腔内并连接桨叶尖套接闪器(22)。一种用于风力发电机桨叶延长节的防雷系统的安装方法,其特征是:按如下步骤依次实施:S1:分割;S2:开孔;S3:设防雷器;S4:连线;S5:粘接。本发明不易受损。

可调整风叶迎风面积的发电装置

NºPublicación:  CN121782103A 03/04/2026
Solicitante: 
广西海豚风电有限公司
CN_121782103_PA

Resumen de: CN121782103A

本发明公开一种可调整风叶迎风面积的发电装置,包括支撑机构、叶轮发电机构、风叶迎风变向机构以及智能控制系统;本发电装置,将风叶迎风变向机构设于风叶前段的内侧,一方面可以满足风叶的直径可以无限大,另一方面也降低了风叶变向轨道的制造难度、便于运输与安装;风叶迎风变向轨道之间可相对转动且还设有可使其上下移动的伸缩构件,使风叶的方向改变从而改变迎风面积,进而降低整个装置的发电量,一方面防止发电机超负荷而损坏,另一方面避免因风叶迎风受力大而导致整个装置损坏,提高稳定性;此外,通过发电转轴和多级齿轮改向现有大尺寸的驱动齿轮结构,大大降低整个装置的加工工艺和安装运输难度,也进一步满足风叶可以无限大的要求。

垂直轴风力涡轮机

NºPublicación:  CN121794466A 03/04/2026
Solicitante: 
GAG 414\u6709\u9650\u516C\u53F8
CN_121794466_PA

Resumen de: WO2024246508A1

The present invention provides a shroud for a vertical axis wind turbine. The shroud is configured in use to externally surround a rotor of a vertical axis wind turbine. The shroud comprises: upper and lower axially spaced apart supports, configured in use to be respectively positioned above and below the rotor, and each support has a radially outer periphery defining a polygonal shape with a plurality of circumferentially distributed corners. The shroud comprises a plurality of circumferentially distributed stators each extend longitudinal between a corner of the upper support and a corner of the lower support such that adjacent pairs of stators and the interposed sections of the outer periphery of the upper and lower support define a plurality of quadrilateral frames configured in use to circumferentially surround the rotor.

风力发电机齿轮箱的节省结构空间的支承

NºPublicación:  CN121794468A 03/04/2026
Solicitante: 
采埃孚股份公司风能安特卫普有限公司
CN_121794468_PA

Resumen de: WO2025061367A1

The invention relates to an assembly (103, 105) for a wind turbine; comprising a first means (107) fixed to the machine support, a first half shell (113, 115), a first screw (201) and a second screw (201); wherein the first half shell (113, 115) forms, together with the first means (107) fixed to the machine support, a first gudgeon pin recess (111) for accommodating a first gudgeon pin (109) for fixing a housing (101) in a machine support (107); wherein the first screw (201) is accommodated in a through-hole in the first half shell (113, 115) and screwed to a thread of the first means (107) fixed to the machine support. The second screw (201) is accommodated in a through-hole in the first means (107) fixed to the machine support and screwed to a thread of the first half shell (113, 105).

DUAL WIND TURBINE SYSTEM

NºPublicación:  WO2026069110A1 02/04/2026
Solicitante: 
CHAPA JOHN JOSEPH WALTER [CA]
WO_2026069110_A1

Resumen de: WO2026069110A1

A dual wind turbine system is provided. The dual wind turbine system includes two individually rotating turbines mounted vertically on top of each other, each connected to an independent directional scoop for enhanced wind capture. The stacked first and second rotors rotate in opposite directions, maximizing power generation efficiency. The system includes a stabilizer positioned at the top, which aligns the directional scoops and rotors into the wind. The rotors are supported by a central shaft, with the stabilizer and directional scoops pivotally connected at a same point, allowing continuous alignment with wind direction. The first and second rotors are coaxially aligned, wherein the first directional scoop channels wind into the first rotor from one direction and the second directional scoop channels wind into the second rotor from an opposite direction.

SHIPPING AND PACKAGING APPARATUS FOR OVERLY WIDE SEGMENTED STATOR BLADE OF WIND TURBINE

NºPublicación:  WO2026065182A1 02/04/2026
Solicitante: 
JIANGSU CRRC ELECTRIC CO LTD [CN]
\u6C5F\u82CF\u4E2D\u8F66\u7535\u673A\u6709\u9650\u516C\u53F8
WO_2026065182_A1

Resumen de: WO2026065182A1

The present invention relates to the technical field of wind turbines, and disclosed is a shipping and packaging apparatus for an overly wide segmented stator blade of a wind turbine. The shipping and packaging apparatus comprises a support base, two inclined support rod groups being detachably connected to the support base. The inclined support rod groups comprise a high-end support mount and a low-end support mount, upper ends of the high-end support mount and the low-end support mount both being provided with multiple bolts. By means of the bolts, two ends of a stator blade are detachably connected to the high-end support mount and the low-end support mount, respectively, so as to be affixed to the support base at an incline, the angle of inclination of the stator blade ranging from 15° to 45°. The detachable inclined support rod groups enable the stator blade to be affixed to the support base at an incline, which ensures that the stator blade can smoothly enter a standard container for transportation, thus reducing high transportation costs caused by the use of a frame crate, and also reducing the volume and weight of the overall packaging apparatus by means of optimizing the structure, thus further saving transportation costs.

BLADE ROOT MACHINING SYSTEM

NºPublicación:  WO2026067099A1 02/04/2026
Solicitante: 
SINOMA WIND POWER BLADE JIUQUAN CO LTD [CN]
\u4E2D\u6750\u79D1\u6280\uFF08\u9152\u6CC9\uFF09\u98CE\u7535\u53F6\u7247\u6709\u9650\u516C\u53F8
WO_2026067099_A1

Resumen de: WO2026067099A1

The present application discloses a blade root machining system, used for machining a blade root. The blade root comprises a skin, cores, and flanges. The blade root machining system comprises: an assembly platform provided with a laying station, an assembly station, and an adhesive injection station, wherein a rail is provided between the laying station and the assembly station, between the assembly station and the adhesive injection station, and between the laying station and the adhesive injection station; a carrying device arranged on the rail, wherein the carrying device can perform reciprocating movement along the rail between the laying station and the assembly station, between the assembly station and the adhesive injection station, and between the laying station and the adhesive injection station; molds arranged on the carrying device; a laying module arranged on the laying station, wherein the laying module is configured to lay the skin on the molds; and an assembly module arranged on the assembly station, wherein the assembly module is configured to assemble and place the flanges and the cores on the molds.

METHOD FOR ENHANCING PERFORMANCE OF INTERFACE BETWEEN METAL BOLT SLEEVE AND RESIN, AND BLADE ROOT COMPONENT

NºPublicación:  WO2026065628A1 02/04/2026
Solicitante: 
SINOMA WIND POWER BLADE CO LTD [CN]
\u4E2D\u6750\u79D1\u6280\u98CE\u7535\u53F6\u7247\u80A1\u4EFD\u6709\u9650\u516C\u53F8
WO_2026065628_A1

Resumen de: WO2026065628A1

Disclosed in the present application are a method for enhancing the performance of an interface between a metal bolt sleeve and a resin, and a blade root component. The method comprises: providing a silane coupling agent solution; performing a surface modification treatment on a metal bolt sleeve by using the silane coupling agent solution so as to form hydrogen bonds and covalent bonds between the metal bolt sleeve and the silane coupling agent, thereby obtaining a silane-coupling-agent-modified metal bolt sleeve; and injecting a resin around the silane-coupling-agent-modified metal bolt sleeve, and reacting the silane coupling agent with the resin to form covalent bonds, thereby enhancing the performance of an interface between the metal bolt sleeve and the resin. In the method for enhancing the performance of an interface between a metal bolt sleeve and a resin, a silane coupling agent solution is used for performing a surface modification treatment on the metal bolt sleeve so as to enable the formation of hydrogen bonds and covalent bonds between the metal bolt sleeve and the silane coupling agent, and the silane coupling agent reacts with the resin to form covalent bonds, thereby improving the bonding performance of the interface between the metal bolt sleeve and the resin and enhancing the static load and fatigue load of a prefabricated blade root component.

SHAFT CURRENT EARLY-WARNING METHOD APPLIED TO WIND TURBINE

NºPublicación:  WO2026066522A1 02/04/2026
Solicitante: 
HUANENG RENEWABLES CO LID SHANXI BRANCH [CN]
\u534E\u80FD\u65B0\u80FD\u6E90\u80A1\u4EFD\u6709\u9650\u516C\u53F8\u5C71\u897F\u5206\u516C\u53F8
WO_2026066522_A1

Resumen de: WO2026066522A1

The present invention relates to the technical field of wind turbines, and in particular to a shaft current early-warning method applied to a wind turbine. The method comprises the steps of: in a wind turbine, arranging an acquisition module on a generator shaft to acquire operation data of the generator shaft, and preprocessing the operation data of the generator shaft; extracting multivariate features of the operation data of the generator shaft, the multivariate features including a mean value feature, a standard deviation feature, a kurtosis feature, and a skewness feature; and defining a shaft current early-warning degree model, on the basis of the multivariate features of the operation data of the generator shaft, solving the shaft current early-warning degree model to obtain an early-warning degree of a generator shaft current, and executing a graded alarm of the generator shaft current. By means of multivariate feature extraction and an early-warning degree model, the present invention achieves intelligent and accurate monitoring of a shaft current abnormality, facilitating predictive maintenance of a wind turbine, improving device reliability and prolonging the service life.

GENERATION LOAD CONTROL

NºPublicación:  US20260091364A1 02/04/2026
Solicitante: 
GNG ELECTRICAL PTY LTD [AU]
GNG Electrical Pty Ltd
US_20260091364_A1

Resumen de: US20260091364A1

This invention relates to a device for controlling at least one of a plurality of electrical loads that are being supplied by at least one renewable energy generator and/or an electrical mains supply. The device comprises an energy sensor for measuring an energy parameter, wherein the energy parameter equates to a value representative of the amount of energy output by the energy sensor, the energy parameter of the energy sensor being directly proportional to the output of the at least one renewable energy generator; a controller means for determining the amount of electrical loads that can be connected or disconnected on the basis of the measured energy parameter; a switching device for connecting and disconnecting the at least one electrical load based on an output of the controller means; and wherein as the energy parameter varies the output of the controller means varies to connect and disconnect electrical loads.

TOWER-INTEGRATED OFFSHORE WIND POWER FLOATING BODY AND METHOD FOR MANUFACTURING SAME

NºPublicación:  US20260091857A1 02/04/2026
Solicitante: 
SAMWON MILLENNIA [KR]
SAMWON MILLENNIA
US_20260091857_A1

Resumen de: US20260091857A1

A tower-integrated offshore wind power floating body includes a tower formed under a power generation unit, transition pieces (TPs) spaced apart from a lower circumference of the tower at regular intervals, a seating part formed under the tower and the TP to support lower portions of the tower and the TP, a reinforcement column having the same axis as a vertical central axis of the tower and formed under the seating part, a buoyancy part formed under the reinforcement column, a ballast part formed under the buoyancy part such that the ballast part is spaced a length from the buoyancy part, a brace formed between the seating part and the buoyancy part, a brace formed between the buoyancy part and the ballast part, and main columns arranged in a vertical direction in the TP, the seating part, the buoyancy part, and the ballast part, and the main columns.

METHOD FOR OPERATING A WIND TURBINE, CONTROL SYSTEM AND WIND TURBINE

NºPublicación:  US20260092592A1 02/04/2026
Solicitante: 
NORDEX ENERGY SE & CO KG [DE]
Nordex Energy SE & Co. KG
US_20260092592_A1

Resumen de: US20260092592A1

The method is for operating a wind turbine having a rotor with at least one rotor blade, a tower and a pitch setting system. The method includes providing first information which is representative for the tilt bending moment acting on the rotor. Second information which is representative for the thrust force acting on the rotor is provided. Third information which is representative for a critical area of thrust forces and tilt bending moments is provided. Fourth information is determined depending on the first, the second and the third information. The fourth information is representative for whether the tilt bending moment and the thrust force lie within the critical area. If this is the case, an output signal is generated which is configured to cause the pitch setting system to change the pitch angle of the at least one rotor blade in order to leave the critical area.

TECHNIQUES TO PROVIDE IMPROVED WIND INPUT FOR OPERATING OFFSHORE WIND TURBINES

NºPublicación:  US20260092593A1 02/04/2026
Solicitante: 
RUTGERS THE STATE UNIV OF NEW JERSEY [US]
RUTGERS, THE STATE UNIVERSITY OF NEW JERSEY
US_20260092593_A1

Resumen de: US20260092593A1

Techniques for operating a wind farm include setting an area of interest, a forecast interval, and a maximum lag time for using mesoscale forecasts. Mesoscale forecasts are collected for a training time interval TT at model grid locations. TT is at least ten times the maximum lag time. Fine-scale wind measurements are collected in the area during TT. Selected parameters of the mesoscale forecasts, and coefficients of an evolving ML forecast model are determined based on the mesoscale forecasts and the fine-scale wind measurements during the TT ending at the current time. Then, the coefficients and the mesoscale forecast for the selected parameters during the lag time produce a forecast wind at the wind turbines during the forecast interval. Operation of the wind farm is based on the forecast wind.

JOINING COMPOSITE ELEMENTS OF WIND TURBINE BLADES

NºPublicación:  US20260091561A1 02/04/2026
Solicitante: 
LM WIND POWER AS [DK]
LM Wind Power A/S
US_20260091561_A1

Resumen de: US20260091561A1

In a first aspect, a method for joining a first composite element and a second composite element of a wind turbine blade is provided. The method comprises positioning one edge joining portion of the first composite element to face one edge joining portion of the second composite element. In addition, the method comprises plastic welding the one edge joining portion of the first composite element to the one edge joining portion of the second composite element. In a further aspect, a wind turbine blade comprising a first composite element joined to a second composite element according to any of the methods herein disclosed is provided.

METHOD FOR CONSTRUCTING A WIND FARM WITH ALIGNMENT CONSTRAINTS

NºPublicación:  US20260092595A1 02/04/2026
Solicitante: 
IFP ENERGIES NOW [FR]
IFP Energies nouvelles
US_20260092595_A1

Resumen de: US20260092595A1

The invention relates to a method for constructing a wind farm in a predetermined space, wherein at least the following successive steps are carried out: a) Forming (GR) various grids in the predetermined space,b) For each grid, determining the average annual energy production of a mini-farm (AEP-mf) consisting of wind turbines at the points of intersection of a unit cell,c) Choosing (Ch) a few grids that make it possible to maximize energy production,d) For each grid c in step c), determining a first layout (Alg1) of the predefined number of wind turbines on the grid,e) Modifying the position (Alg2) of the wind turbines on the grid,f) Determining a definitive layout (Disp_F) of the wind turbines in the predetermined space, and constructing (Const) the wind farm.

SYSTEM FOR GENERATING ELECTRICITY VIA HELICOID VERTICAL AXIS WIND TURBINE AND METHOD THEREOF

NºPublicación:  US20260092590A1 02/04/2026
Solicitante: 
GORLOV ALEKSEI [AE]
GORLOV Aleksei
US_20260092590_A1

Resumen de: US20260092590A1

The present invention provide a system and method for generating electricity using a helicoid vertical axis wind turbine. The system comprises a rotor designed for rotation from airflow; a plurality of helicoid blades having an airplane wing profile to generate a lifting force from said airflow, enabling rotation of the rotor; a generator mechanically connected to the rotor to produce electricity upon the rotor's rotation; a controller connected to said generator to process the generated electricity; a battery connected to the controller for storing the processed electricity; and an inverter connected to the battery for converting and supplying the stored electricity. The invention provides more versatile, efficient, and reliable system and method for generating electricity via a helicoid vertical axis wind turbine.

ROTOR TURNING LIFTING YOKE

NºPublicación:  US20260091958A1 02/04/2026
Solicitante: 
LIFTRA IP APS [DK]
LIFTRA IP APS
US_20260091958_A1

Resumen de: US20260091958A1

Rotor lifting yoke for lifting a three bladed rotor, said rotor lifting yoke comprising: a lifting structure, a first and second flexible elongated element arranged to be connected both to the lifting structure and to a root portion of a first blade of the rotor, and a third and fourth flexible elongated element arranged to be connected both to the lifting structure and to a root portion of a second blade of the rotor. The rotor lifting yoke further comprises one or more length adjusting mechanisms which are arranged to adjust the effective length of the first and third and/or the second and fourth flexible elongated elements. The flexible elongated members are further arranged such that when said flexible elongated members are attached to the root portions of their respective blades, at least one point on the first and third and/or at least one point on the second and fourth flexible elongated elements is attached to their respective blades via a non-slip attachment. In this way, a rotor lifting yoke is provided which can rotate the rotor from a vertical to a horizontal position and back again in an easy and flexible manner just by adjusting the lengths of the flexible elongated members.

FOUNDATION DEVICE FOR AN OFFSHORE WIND TURBINE TOWER

NºPublicación:  US20260091856A1 02/04/2026
Solicitante: 
BLUENEWABLES SL [ES]
BLUENEWABLES SL
US_20260091856_A1

Resumen de: US20260091856A1

The present invention relates to a device for supporting an offshore wind turbine tower. The device comprises a first body (1), a support body (3) attached to the first body (1), a second body (2) and a plurality of legs (4) attached to the second body (2). The support body (3) has a cylindrical interior and is configured to provide support for and connection of a wind turbine tower (10). The first body (1) comprises a central portion (5) connected to the support body (3) and a plurality of hollow arms (6), connected with the central portion (5). Each hollow arm (6) comprises a through-hole (7) configured to allow a leg (4) to pass through the through-hole. The first body (1) has a volume and a weight configured to provide, when empty, a buoyancy of at least 20% of the weight of the entire device, the weight of the first body (1) being less than 8% of the weight of the entire device. The legs (4) and/or the first body (1) have a locking system configured to lock the relative position between the legs and the first body.

THERMAL ENERGY STORAGE SYSTEMS FOR USE IN MATERIAL PROCESSING

NºPublicación:  US20260092542A1 02/04/2026
Solicitante: 
RONDO ENERGY INC [US]
Rondo Energy, Inc
US_20260092542_A1

Resumen de: US20260092542A1

An energy storage system (TES) converts variable renewable electricity (VRE) to continuous heat at over 900° C. Intermittent electrical energy heats a solid medium. Heat from the solid medium is delivered continuously on demand. Heat delivery via flowing gas establishes a thermocline which maintains high outlet temperature throughout discharge. The delivered heat which may be used for processes including power generation and cogeneration. In one application, thermal energy storage systems are used to improve efficiency and reduce carbon emissions associated with processing materials or other industrial applications.

流体加速器

NºPublicación:  JP2026510264A 02/04/2026
Solicitante: 
イーエスエストゥテック,エルエルシー
JP_2026510264_A

Resumen de: WO2024178176A1

A fluid accelerator including an outer housing having an inlet end and an outlet end, the outer housing defining a converging nozzle proximate the inlet end. The fluid accelerator may also include an annular ring disposed proximate the inlet end of the outer housing within the converging nozzle, wherein the annular ring has an airfoil cross-sectional shape.

浮体式プラットフォーム

NºPublicación:  JP2026510349A 02/04/2026
Solicitante: 
ガゼル・ウィンド・パワー・リミテッド
JP_2026510349_A

Resumen de: GB2643634A

The invention relates to a floating platform (1) comprising a pedestal frame (100) configured to function as a support for a structure, wherein the pedestal frame (100) is attached to a base plate (200) by means of a plurality of pillars (300) such that, during operation, the pedestal frame (100) is supported by the base plate (200) via the pillars (300), wherein the floating platform (1) comprises a plurality of immersion floats (400) projecting from the base plate (200) to an intermediate distance between the base plate (200) and the maximum height of the pillars (300) above the base plate (200). It also includes a geometry that allows the platform to be manufactured exclusively with flat panels.

TRANSMISSION ASSEMBLY AND WIND TURBINE

NºPublicación:  WO2026068079A1 02/04/2026
Solicitante: 
ZF FRIEDRICHSHAFEN AG [DE]
ZF WIND POWER ANTWERPEN N V [BE]
WO_2026068079_A1

Resumen de: WO2026068079A1

The invention relates to a transmission assembly for a wind turbine (10) having a transmission (22) and a rotor shaft assembly. The transmission (22) has a transmission housing (36) and a gear set arranged in an interior of the transmission housing (36). A rotary element (38) of the gear set forms a drive of the transmission (22). The rotary element (38) is permanently connected for conjoint rotation with a rotor shaft (16) of the rotor shaft assembly. The transmission housing (36) and a rotor shaft housing (70) are fixed to each other. The transmission assembly has a sealing element (72). The sealing element (72) is designed to seal the transmission housing (36) against the penetration of foreign matter from the rotor shaft housing (70). Furthermore, the sealing element (72) is designed to compensate for a positional deviation of the rotary element (38) relative to the transmission housing (36) during sealing. The invention also relates to a wind turbine (10).

Montageanordnung zur Montage eines Planetenradsatzes

NºPublicación:  DE102024208953A1 02/04/2026
Solicitante: 
ZAHNRADFABRIK FRIEDRICHSHAFEN [DE]
ZF WIND POWER ANTWERPEN NV [BE]
ZF Friedrichshafen AG,
ZF Wind Power Antwerpen N.V
WO_2026061688_A1

Resumen de: DE102024208953A1

Die vorliegende Offenbarung betrifft eine Montageanordnung zur Montage eines Planetenradsatzes (10). Ein Planetenbolzen (13) ist zur Montage an einem Planetenträger (12) ausgestaltet. Ein Gleitlagerelement (30) weist eine Außenlagerfläche (31) zum Lagern einer Innengleitfläche eines Planetenrads (14) an dem Planetenbolzen (13) auf. Eine Einführerhebung (20) ist drehfest mit dem Gleitlagerelement (30) verbunden, ist in einer Radialrichtung nach außen gerichtet und weist eine Erhebungskontur (21) zum Einführen des Gleitlagerelements (30) in das Planetenrad (14) und den Planetenträger (12) auf. Die Einführerhebung (20) ist in einer Einführrichtung vor der Außenlagerfläche (31) des Gleitlagerelements (30) angeordnet. Ein Kopfdurchmesser (Y) der Einführerhebung (20) ist größer als ein Durchmesser (X) der Außenlagerfläche (31) und ist zum Einführen in und zum Hindurchführen durch die Innengleitfläche des Planetenrads (14) ausgestaltet.

WIND TURBINE HOISTING DEVICE

NºPublicación:  WO2026066931A1 02/04/2026
Solicitante: 
CHINA NUCLEAR INDUSTRY MECH ENGINEERING CO LTD [CN]
\u4E2D\u6838\u673A\u68B0\u5DE5\u7A0B\u6709\u9650\u516C\u53F8
WO_2026066931_A1

Resumen de: WO2026066931A1

A wind turbine hoisting device, relating to the technical field of wind turbines. A wind turbine has tower sections (4), a nacelle (7) and an impeller (6), wherein a plurality of tower sections (4) are provided, and when in an installed state, the plurality of tower sections (4) are sequentially connected at mounting positions; the nacelle (7) is arranged on the tower sections (4), and the nacelle (7) has at least three mounting holes (71); and the impeller (6) is correspondingly arranged at the mounting holes (71). The wind turbine hoisting device has the effects of improving the hoisting efficiency of the wind turbine and reducing the hoisting cost of the wind turbine.

REPLACEMENT SYSTEM

NºPublicación:  WO2026067686A1 02/04/2026
Solicitante: 
SHANGHAI ELECTRIC WIND POWER GROUP CO LTD [CN]
\u4E0A\u6D77\u7535\u6C14\u98CE\u7535\u96C6\u56E2\u80A1\u4EFD\u6709\u9650\u516C\u53F8
WO_2026067686_A1

Resumen de: WO2026067686A1

Provided in the present application is a replacement system. The replacement system is used for replacing or repairing a device to be repaired of a wind turbine set, said device comprising an apparatus to be repaired assembled on a frame of the wind turbine set. The replacement system comprises: a hoisting device and a winching device, the hoisting device being detachably connected to the frame and comprising a hoisting component used for connecting to the apparatus to be repaired, and the hoisting component being connected to the winching device by means of a rope; a first support frame, the first support frame and the apparatus to be repaired being arranged on the same side of a tower, and the first support frame being used for placement of the apparatus to be repaired and/or an apparatus to be replaced; and a second support frame, the second support frame being arranged on the other side of the tower with respect to the first support frame, and the winching device being mounted on the second support frame. Compared with the prior art in which large specialized lifting apparatuses are used, multiple distributed components working in coordination with each other reduces hoisting difficulty and saves replacement costs.

OFFSHORE ELECTROLYSIS SYSTEM, AND METHOD FOR OPERATING AN OFFSHORE ELECTROLYSIS SYSTEM

NºPublicación:  AU2024349761A1 02/04/2026
Solicitante: 
SIEMENS ENERGY GLOBAL GMBH & CO KG
SIEMENS ENERGY GLOBAL GMBH & CO. KG
AU_2024349761_PA

Resumen de: AU2024349761A1

The invention relates to an offshore electrolysis system (100) comprising: a wind turbine (1) with a platform (3) and with an electrolysis plant (5) which is arranged on the platform (3) and is connected to the wind turbine (1) in order to supply electrolysis current; and a heat supply device (7) which is coupled to the electrolysis plant (5) and has a combustion device (13), wherein a fuel reservoir (15) is connected to the heat supply device (7) such that, during a standstill mode, heat generated by means of the combustion device (13) can be transferred to the electrolysis plant (5) so as to maintain the temperature above a minimum temperature. The invention also relates to a method for operating a corresponding offshore electrolysis system (100), wherein, during a standstill mode, heat is generated by means of the heat supply device (7) and transferred to the electrolysis plant (5) so as to maintain the temperature above a minimum temperature and prevent freezing of water-carrying components of the electrolysis plant (5).

OFFSHORE ELECTROLYSIS SYSTEM, AND METHOD FOR OPERATING AN OFFSHORE ELECTROLYSIS SYSTEM

NºPublicación:  AU2024352604A1 02/04/2026
Solicitante: 
SIEMENS ENERGY GLOBAL GMBH & CO KG
SIEMENS ENERGY GLOBAL GMBH & CO. KG
AU_2024352604_PA

Resumen de: AU2024352604A1

The invention relates to an offshore electrolysis system (100) comprising: a wind turbine (1) with a platform (3) and with an electrolysis plant (5) which is arranged on the platform (3) and is connected to the wind turbine (1) in order to supply electrolysis current; and a heat supply device (7) which is coupled to the electrolysis plant (5) and is designed in such a way that heat can be transferred to the electrolysis plant by means of the heat supply device (7) during a standstill mode so as to maintain the temperature above a minimum temperature. The invention also relates to a method for operating a corresponding offshore electrolysis system. During a standstill mode, heat is transferred to the electrolysis plant (5) by means of the heat supply device (7) so as to maintain the temperature above a minimum temperature and prevent freezing of water-carrying components of the electrolysis plant (5).

WIND TURBINE BLADE JOINTS HAVING REMOVABLE COVERS AND MAGNETIC SYSTEMS

NºPublicación:  WO2026067973A1 02/04/2026
Solicitante: 
LM WIND POWER AS [DK]
WO_2026067973_A1

Resumen de: WO2026067973A1

In a first aspect, a wind turbine blade joint between a first blade segment and a second blade segment is provided. The first blade segment portion comprises a first connecting portion including a first connecting edge. The second blade segment portion comprises a second connecting portion including a second connecting edge. The wind turbine blade joint further comprises an access window defined between the first connecting edge and the second connecting edge. In addition, the wind turbine blade joint comprises a connector connecting the first connecting portion to the second connecting portion, wherein the connector is accessible from outside the wind turbine blade through the access window. Furthermore, the wind turbine blade joint comprises a removable cover for covering the access window; and a magnetic system arranged between the cover and the connector, wherein the magnetic system is configured to create a magnetic field to attract the cover to the connector when the cover covers the access window. In a further aspect, a wind turbine blade comprising a wind turbine blade joint according to any of the examples herein is provided. In yet a further aspect, a method for joining a first blade segment to a second blade segment.

SMART TAGLINE SYSTEM AND METHOD FOR MOTION CONTROL OF A SUSPENDED OBJECT

NºPublicación:  WO2026068617A1 02/04/2026
Solicitante: 
DELTA LABORATORIES HOLDING B V [NL]
WO_2026068617_A1

Resumen de: WO2026068617A1

A system for compensating motion of a load (46, 47) that is suspended from a suspension point on a boom (34) of a crane (28). The boom (34) is rotatable over a luffing angle (γ1) and/or a hoisting distance (H) between the load (40, 46, 47) and the suspension point (48) is adjustable. The system includes two taglines (44, 45) for exerting tensile forces on the load in directions towards the boom, two guiding members (56, 57) defining respective exit points (58, 59) at or near the boom where the taglines extend towards coupling points (54, 55) on the load, a pose sensor (38) for determining a momentary pose of the load, and a controller (21) for controlling motions of the load in at least two selected degrees of freedom by dynamically and individually adjusting tensions in the taglines based on the momentary pose of the load, and by dynamically adjusting respective positions of the guiding members (56, 57) along the boom (34) in response to a change in the boom luffing angle (γ1) and/or in the hoisting distance (H), to maintain each of the taglines substantially parallel with a horizontal plane (Ph) during operation.

SYSTEM AND METHOD FOR ESTIMATING WIND FARM POWER OUTPUT

NºPublicación:  US20260092594A1 02/04/2026
Solicitante: 
BP P L C [GB]
BP P.L.C
US_20260092594_A1

Resumen de: US20260092594A1

A system and method for predicting power output of a wind farm are disclosed. The method includes determining first and second parameter values of a power curve for a plurality of wind turbines. A second relationship is determined between the densities associated with the wind turbines and the values of the first parameter. A third relationship is determined between the densities associated with the wind turbines and the values of the second parameter. A value of the first parameter for a specified wind farm density is determined based on the second relationship. A value of the second parameter for the specified wind farm density is determined based on the third relationship. An indication of a power output for the specified wind farm density is generated by applying the determined values of the first and second parameters to the power curve.

HIERARCHICAL ALARM METHOD AND SYSTEM ADAPTED TO WIND TURBINE RESONANCE

NºPublicación:  WO2026065698A1 02/04/2026
Solicitante: 
XIAN THERMAL POWER RES INSTITUTE CO LTD [CN]
\u897F\u5B89\u70ED\u5DE5\u7814\u7A76\u9662\u6709\u9650\u516C\u53F8
WO_2026065698_A1

Resumen de: WO2026065698A1

A hierarchical alarm method and system adapted to wind turbine resonance, relating to the technical field of wind power. The method comprises: performing a wind turbine frequency tap test, and calculating an average natural frequency of all blades and a natural frequency of a wind turbine; calculating a rotation frequency at a rated rotation speed on the basis of a rated operating rotation speed, and calculating rotation frequencies and passing frequencies at different operating rotation speeds; comparing the rotation frequencies and passing frequencies at different operating rotation speeds with the natural frequency of the wind turbine, so as to determine a resonance interference rotation speed; establishing a scoring system, and calculating a score for a current operating state; and determining an alarm level on the basis of the score for the current operating state, and triggering an alarm. The present invention allows for comprehensive determination on the basis of the global characteristics of the system and issuing of a warning for vibration caused by resonance, and can be further extended to be compatible with an automatic adjustment means, thereby achieving integrated automatic control of alarming and avoidance.

OVERSPEED DETECTION METHOD AND SYSTEM FOR WIND TURBINE GENERATOR SAFETY CHAIN SYSTEM

NºPublicación:  WO2026065492A1 02/04/2026
Solicitante: 
HUANENG FUXIN WIND POWER GENERATION CO LTD [CN]
\u534E\u80FD\u961C\u65B0\u98CE\u529B\u53D1\u7535\u6709\u9650\u8D23\u4EFB\u516C\u53F8
WO_2026065492_A1

Resumen de: WO2026065492A1

An overspeed detection method and system for a wind turbine generator safety chain system, relating to the technical field of speed detection. The method comprises the following steps: synchronously sampling an encoder and an output signal, calculating integrated information obtained after fusion, and preprocessing the integrated information; by receiving a pulse signal outputted by the encoder, calculating an average rotating speed; combining the average rotating speed with a standard deviation of a rotating speed to obtain a dynamic threshold; and comparing an actual rotating speed with the dynamic threshold, and obtaining wind turbine motion state information on the basis of a comparison result. On the basis of the technical principle, signal collection, data fusion and fault detection technology of an incremental photoelectric encoder and an inductive proximity switch, and by means of design of a multi-signal synchronous collection and data fusion module, the present invention solves the problem of inconsistency between rotating speed signals at a low-speed end and a high-speed end of a wind turbine generator, thereby improving the signal processing accuracy and anti-interference capability.

TURNER GEAR ASSEMBLY FOR A WIND TURBINE AND METHOD OF USING SAME

NºPublicación:  WO2026067948A1 02/04/2026
Solicitante: 
VESTAS WIND SYSTEMS AS [DK]
WO_2026067948_A1

Resumen de: WO2026067948A1

A turner gear assembly (36) for turning a rotor (16) of a wind turbine (10) includes a turner gear (40) and a valve housing (62) or space configured to be in fluid communication with a hydraulic system. The turner gear (40) includes a motor (42), a torque converter (44), and a torque coupling element (46). The turner gear (40) further includes a brake system (60) connected to the motor (42) and having a no-slip brake mechanism (98) that prohibits the motor (42) from rotating when acted on by a torque less than a predetermined torque threshold. The brake mechanism (98) provides a consistent braking force over extended periods of time that is immune to leaks in fluid-based actuators. A turner drive system (34), which includes the turner gear assembly (36), a rotor lock (38), and a controller (80), is also disclosed for avoiding stuck rotor lock conditions. Additionally, a method of installing wind turbine blades (24) on a wind turbine (10) using the turner drive system (34) is disclosed.

SUBSEA SUBSTATION

NºPublicación:  WO2026068477A1 02/04/2026
Solicitante: 
QED NAVAL LTD [GB]
QED NAVAL LTD
WO_2026068477_A1

Resumen de: WO2026068477A1

A submersible substation having a substation support structure with substation components disposed on the substation support structure and optionally one or more array and/or export cable connectors, which is configured for submersed deployment and to be raised and lowered using variable buoyancy control (with a simple and modular buoyancy-controlled support structure) is able to be installed on the seabed in a controlled manner such that it is recoverable for servicing and can be towed to site and installed in position using small ships, such as a harbour tug.

WIND TURBINE SYSTEM WITH FLOW CONSOLIDATING CONDUIT

NºPublicación:  WO2026064861A1 02/04/2026
Solicitante: 
PURUS POWER CORP [CA]
PURUS POWER CORPORATION
WO_2026064861_A1

Resumen de: WO2026064861A1

A wind turbine system is provided. The wind turbine system includes a flow consolidating conduit and an air driven rotor assembly. The flow consolidating conduit is close sided and extends from a consolidating conduit upstream end to a consolidating conduit downstream end. The flow consolidating conduit includes an airflow capture inlet at the consolidating conduit upstream end, and a plurality of flow partitions that subdivide a cross-sectional area of the flow consolidating conduit into three or more flow paths. Each flow partition and each flow path extend between the consolidating conduit upstream end and the consolidating conduit downstream end. Each flow partition has a partition downstream end located upstream of the consolidating conduit downstream end. At each partition downstream end, adjacent flow paths merge into a merged flow path. The three or more flow paths gradually merge into a single flow path at the consolidating conduit downstream end.

DESIGN METHOD FOR TOWER STRUCTURE, MANUFACTURING METHOD FOR TOWER STRUCTURE, AND TOWER STRUCTURE

NºPublicación:  WO2026070305A1 02/04/2026
Solicitante: 
JFE STEEL CORP [JP]
\uFF2A\uFF26\uFF25\u30B9\u30C1\u30FC\u30EB\u682A\u5F0F\u4F1A\u793E
WO_2026070305_A1

Resumen de: WO2026070305A1

Provided are a design method for a tower structure and a manufacturing method for a tower structure which make it possible to reduce the steel material quantity of a tower structure and to provide the tower strucure with a logical configuration according to design external force that changes in the height direction of the tower structure, while also increasing the lengths of steel pipes constituting the tower structure as much as possible. Provided is a design method for a tower structure which is configured by a plurality of steel pipes stacked in a height direction being integrated via welding. The design method for a tower structure has a first design step, a second design step, a first height setting step, a third design step, and a determination step, and if it is determined in the determination step that a determination condition is not satisfied, the processing from the third design step on is repeated changing at least one among a height hL and a height hH, whereas if it is determined in the determination step that the determination condition is satisfied, the sheet thicknesses and steel types for each of the plurality of steel pipes are set as designed in the third design step.

Rotor zur Nutzung von Windenergie und zum Betreiben in einer Windkraftanlage

NºPublicación:  DE102024003154A1 02/04/2026
Solicitante: 
ROLF BEINING GMBH [DE]
Rolf Beining GmbH

Resumen de: DE102024003154A1

Der Erfindung, welche einen Rotor (1) zur Nutzung von Windenergie und zum Betreiben in einer Windkraftanlage betrifft, liegt die Aufgabe zugrunde, einen Rotor (1) anzugeben, womit eine Nutzung von Windenergie in einer für fliegende Lebewesen ungefährlichen Weise ermöglicht wird. Diese Aufgabe wird dadurch gelöst, dass der Rotor (1) einen im Wesentlichen zylinderförmigen Grundkörper (3) mit feststehenden, einen unsymmetrischen Querschnitt aufweisenden Ausbuchtungen (2) aufweist, wobei der Rotor (1) eine den Grundkörper (3) mit seinen Ausbuchtungen (2) umgebende geschlossene Mantelfläche (5) aufweist.

SPIRAL BLADE VIBRATION REDUCTION DEVICE, SPIRAL BLADE FOR WIND POWER GENERATOR, AND WIND POWER GENERATOR USING SAME

NºPublicación:  WO2026071294A1 02/04/2026
Solicitante: 
ESCO RTS CO LTD [KR]
\uC8FC\uC2DD\uD68C\uC0AC \uC5D0\uC2A4\uCF54\uC54C\uD2F0\uC5D0\uC2A4
WO_2026071294_A1

Resumen de: WO2026071294A1

This small wind power generator comprises: a shaft; a spiral blade formed in a spiral shape to generate a rotational force by wind and having a blade member having a curved edge and straight edges each having one end connected to an end of the curved edge; a vibration reduction unit extending along the curved edge to reduce vibration generated by rotation of the blade member and wind; a reinforcement unit extending along each straight edge to reduce the vibration of the spiral blade; a bracket rotatably supporting opposite ends of the shaft; and a generator supported by the bracket and coupled to the shaft to generate electricity by using the rotational force of the shaft.

CONNECTION DEVICE OF FLOATING BODY AND TOWER IN OFFSHORE WIND POWER GENERATION FACILITY, AND CONSTRUCTION METHOD OF OFFSHORE WIND POWER GENERATION FACILITY

NºPublicación:  WO2026069517A1 02/04/2026
Solicitante: 
TODA CORP [JP]
\u6238\u7530\u5EFA\u8A2D\u682A\u5F0F\u4F1A\u793E
WO_2026069517_A1

Resumen de: WO2026069517A1

Problem To provide a connection device with which it is possible to stably and efficiently connect an upper structure to a floating body. Solution The connection device 48 is composed of: a floating body-side connection device 49 provided at the upper end of a floating body 4; and a tower-side connection device 50 provided at the lower end of a tower 6. The floating body-side connection device 49 has at least two introduction tubes 54, 55 embedded on the upper surface side of a bottom plate 51, and the tower-side connection device 50 has a plurality of introduction pins 59, 60 provided on the lower surface side of a top plate 56 in correspondence to the introduction tubes 54, 55. The introduction tubes 54, 55 are constituted by engagement tube parts 54A, 55B in which elliptical through-holes are formed, and funnel parts 54B, 55B, and the introduction pins 59, 60 have elliptical cross sections so as to correspond to the elliptical through-holes. A connection flange 53 of the floating body-side connection device 49 and a connection flange 58 of the tower-side connection device 50 are fastened by a bolt and nut member 62 while the corresponding introduction tubes 54, 55 and the introduction pins 59, 60 are engaged with each other.

BLADE FOR WIND POWER GENERATOR, WIND POWER GENERATOR, AND CONSTRUCTION

NºPublicación:  WO2026070721A1 02/04/2026
Solicitante: 
FKK CORP [JP]
NANOSUIT INC [JP]
\uFF26\uFF2B\uFF2B\u682A\u5F0F\u4F1A\u793E,
\uFF2E\uFF41\uFF4E\uFF4F\uFF33\uFF55\uFF49\uFF54\u682A\u5F0F\u4F1A\u793E
WO_2026070721_A1

Resumen de: WO2026070721A1

A blade (1) for a wind power generator has a surface covered with a reflective material layer (12) made of a light-reflecting material that reflects light such that, when light is incident on a compound eye of an insect, at least three types of photoreceptor cells present in the ommatidium constituting the compound eye contain visual pigments having different absorption wavelength bands, which are the wavelength bands of light to be absorbed, and the difference in light intensity in the absorption wavelength bands of the visual pigments contained respectively in multiple types of photoreceptor cells constituting a part of the ommatidium of the compound eye of the insect that are excited upon absorption of light is equal to or less than a predetermined intensity difference threshold.

CANOPY-LESS METAL PARACHUTE

NºPublicación:  WO2026069340A1 02/04/2026
Solicitante: 
KUMAR CHILUVERU PAVAN [IN]
KUMAR CHILUVERU, Pavan
WO_2026069340_A1

Resumen de: WO2026069340A1

A Canopy-less metal parachute 001 The invention provides a canopy-less metal parachute (100) comprising plurality of drag generating units (10) comprising an open wind propeller unit (20) including an external metal-lattice body (21) housing multiple scimitar shaped twisted fins (22), and a central hub (23); an air compressor unit (30) including a casing (31) with inbuilt multiple fixed stators (32), a driving shaft (33), and multiple rotors; and an integrated power generation system (40) including multiple magnets (41) that are disposed on the internal surface of the central hub (23), multiple coil windings (42) coupled with a step-up converter (43) disposed on the external surface of the casing (31), and a brushless DC motor (44) coupled with an ESC (45). The process of working includes rotation of the propeller units (10), power generation and transmission, air compression and eventual descent of the metal parachute (100).

STATOR CONSTRUCTION FOR WIND TURBINE GENERATORS

NºPublicación:  US20260095081A1 02/04/2026
Solicitante: 
THE TIMKEN COMPANY [US]
The Timken Company
US_20260095081_A1

Resumen de: US20260095081A1

Rotors and stators for use in electric machines and methods for refurbishing the same. One method for refurbishing a stator for use in an electric machine includes at least partially disassembling the stator to provide access to a plurality of stator windings connected in a four-circuit delta connection having three and four turns per coil, and reconfiguring the stator such that the plurality of stator windings are connected in an eight-circuit delta connection having seven turns per coil. One method for refurbishing a rotor for use in an electric machine includes at least partially disassembling the rotor to provide access to a rotor core, the rotor core including first rotor bars, and reconfiguring the rotor core to include second rotor bars that are longer than the first rotor bars.

WIND TURBINE, BLADE OF WIND TURBINE, AND STRUCTURE ATTACHED TO WIND TURBINE

NºPublicación:  WO2026070790A1 02/04/2026
Solicitante: 
DAI NIPPON PRINTING CO LTD [JP]
\u5927\u65E5\u672C\u5370\u5237\u682A\u5F0F\u4F1A\u793E
WO_2026070790_A1

Resumen de: WO2026070790A1

A blade of a wind turbine comprises a first end that is a portion on the rotor-shaft side of the blade in the longitudinal direction, and a second end that is positioned on the side opposite from the first end. The blade includes, in a chord direction from the leading edge of the blade to the trailing edge thereof, a separation portion that is a portion between the leading edge of the blade and an intermediate point bisecting a line segment by which the leading edge and the trailing edge are connected. The blade includes a structure that is positioned at least partially on the upper surface or the lower surface of the blade in the separation portion. The structure includes at least two friction parts that are aligned in the longitudinal direction, and a smooth part that is positioned between the friction parts in the longitudinal direction. Each of the friction parts includes a plurality of disturbing structures that disturb an airflow and are aligned in the chord direction from the leading edge toward the trailing edge.

POWER GENERATION SYSTEM USING A THERMOCHEMICAL ENERGY STORAGE SYSTEM OR A THERMAL ENERGY STORAGE SYSTEM

NºPublicación:  WO2026072883A1 02/04/2026
Solicitante: 
REDOXBLOX INC [US]
WO_2026072883_A1

Resumen de: WO2026072883A1

In accordance with the purpose(s) of the present disclosure, as embodied and broadly described herein, the disclosure, in one aspect, relates to a power generation system integrated with an energy storage device. In some aspects, the energy storage device can be a thermochemical energy storage device, a thermal energy storage device, or other suitable energy storage device. In one aspect, the power generation system is comprised of a thermal energy storage (TES) device or a thermochemical energy storage (TCES) device that is configured to increase a thermal energy storage capacity or a thermochemical energy storage capacity by passing an electrical current directly through the energy storage material. The power generation system can further comprise a controller that is configured to operate the power generation system in a charging mode, a discharging mode, a charging while discharging mode, or in other suitable modes.

SPAR PLATFORM FOR A FLOATING OFFSHORE WIND TURBINE

NºPublicación:  EP4717581A2 01/04/2026
Solicitante: 
EQUINOR ENERGY AS [NO]
Equinor Energy AS
EP_4717581_PA

Resumen de: EP4717581A2

A floating spar platform 7 for supporting an offshore wind turbine comprises at least one first ballast tank 15 for holding adjustable ballast and at least one second ballast tank 16 for holding adjustable ballast. The second ballast tank 16 is arranged vertically higher than the first ballast tank 15, allowing a vertical distance between the bottom of the spar platform 7 and the centre of centre of gravity 31 of the spar platform 7 to be controlled by adjusting the amount of ballast held within the first and/or second ballast tanks 15, 16. This provides for control over the resonant response of the floating spar platform 7. During installation of a wind turbine on the floating spar platform 7, ballast associated with the spar platform may be adjusted in order to increase the vertical distance between the bottom of the spar platform 7 and the centre of gravity 31 of the spar platform 7, which reduces wave-induced resonant motions of the spar platform 7.

SYSTEM AND METHOD FOR CONTROLLING A SPEED OF A WIND TURBINE

NºPublicación:  EP4717908A2 01/04/2026
Solicitante: 
GE VERNOVA INFRASTRUCTURE TECH LLC [US]
EP_4717908_PA

Resumen de: EP4717908A2

0001 A method for controlling a wind turbine is provided. The method includes receiving, via a control system, at least one speed measurement from at least one sensor on a drivetrain of the wind turbine. The method also includes receiving, via the control system, at least one rate gyroscope speed measurement from at least one rate gyroscope on the drivetrain of the wind turbine. The method also includes calculating, via the control system, an offset for the at least one rate gyroscope speed measurement as a function of the at least one speed measurement. The method also includes adjusting, via the control system, the at least one rate gyroscope speed measurement by the offset. The method also includes implementing, via the control system, a control action for the wind turbine based on the adjusted at least one rate gyroscope speed measurement.

OFFSHORE WIND TURBINE SYSTEMS AND PROCESSES FOR INSTALLING SAME

NºPublicación:  EP4717580A2 01/04/2026
Solicitante: 
MODEC AMERICA INC [US]
MODEC America, Inc
EP_4717580_PA

Resumen de: EP4717580A2

Offshore wind turbine systems and processes for installing same. The system can include a wind turbine generator can include a plurality of blades connected thereto. The system can also include a first support arm and a second support arm each having a first end and a second end. The system can also include a support structure that can be configured to float on a surface of a body of water that can include first, second, and third columns. The first end of the first support arm and the first end of the second support arm can each support the wind turbine generator at an elevation above the support structure. The second end of the first support arm can be connected to and supported by the first column. The second end of the second support arm can be connected to and supported Q by the second column.

WING ARRANGEMENT COMPRISING A MAIN WING AND A SLAT ATTACHED THERETO IN FRONT OF THE MAIN WING IN A DIRECTION OPPOSITE TO A FLOW DIRECTION

NºPublicación:  EP4717591A2 01/04/2026
Solicitante: 
SCHLECHT PAUL MATTHIAS [DE]
Schlecht, Paul-Matthias
EP_4717591_PA

Resumen de: EP4717591A2

Die Erfindung betrifft eine Flügelanordnung (10) in der Form eines Propellers eines Flächenflugzeugs oder eines Tragschraubers oder in der Form eines Rotorblatts eines Haupt- und/oder Nebenrotors eines Flugzeugs mit Tragflächen, eines Hubschraubers oder eines Tragschraubers, oder in der Form eines Rotorblatts eines Rotors einer Windkraftanlage. Die Flügelanordnung (10) umfasst einen Hauptflügel (12) und einen entgegen einer Strömungsrichtung (22) vor dem Hauptflügel (12) daran befestigten Vorflügel (14), sodass zwischen dem Vorflügel (14) und dem Hauptflügel (12) ein Spalt (16) mit einem Strömungseinlass (18) und einem definierten, unveränderlichen Strömungsauslass (20) gebildet ist. In einem vertikalen Querschnitt längs der Strömungsrichtung (22) betrachtet beträgt eine Länge (D) eines sich entgegen der Strömungsrichtung (22) über eine Länge (A) des Hauptflügels (12) hinaus nach vorne erstreckenden Abschnitts (32) des Vorflügels (14) mindestens 20% einer Gesamtlänge (C) der Flügelanordnung (10) in Strömungsrichtung (22). Es wird vorgeschlagen, dass der Strömungseinlass (18) größer als der Strömungsauslass (20) ist, sodass sich durch eine Luftströmung (24) in dem Spalt (16) ein Bernoulli-Effekt einstellt.

KITE SYSTEM AND METHOD FOR OPERATING A KITE SYSTEM

NºPublicación:  EP4716654A1 01/04/2026
Solicitante: 
SKYSAILS GROUP GMBH [DE]
SkySails Group GmbH
CN_121368557_PA

Resumen de: CN121368557A

A kite system includes a kite (14), a pod (25), and a line tree (24), where the kite (14) is bonded to the pod (25) by the line tree (24). The line tree (24) includes branch blocks (27, 28). The branch blocks (27, 28) are connected to the pod (25) by control cables (35, 36). The line tree (24) comprises a first cable segment (48) extending between the branch block (27, 28) and a first attachment point (61) of the kite (14). The line tree (24) includes a second cable segment (49) extending between the branch block (27, 28) and a second attachment point (62) of the kite (14). The lengths of the control cables (35, 36) between the pod (25) and the branch blocks (27, 28) are changed by a control mechanism (39). The length of the first cable segment (48) between the branch blocks (27, 28) and the first attachment point (61) is changed by a trimming mechanism (40). The invention also relates to a method for operating a kite system.

A METHOD AND SYSTEM FOR MANUFACTURE OF A COMPOSITE STRUCTURE OF A WIND TURBINE BLADE

NºPublicación:  EP4716630A1 01/04/2026
Solicitante: 
ENVISION ENERGY CO LTD [CN]
Envision Energy Co., Ltd
AU_2023457078_PA

Resumen de: AU2023457078A1

The invention relates to a system and method for manufacture of a composite structure (17) of a wind turbine blade (5). Layers of a fibrous material (33) are arranged in a mould (16) and the top surface of the upper layer is scanned using a measuring device (25). The data inputted from the measuring device (25) is analysed in a processor (26) to identify the locations of defects (27) and detailed information thereof. The location data is then transmitted to a lighting system (28), where the locations of the defects (27) are visually indicated on or relative to the upper layer of the composite structure (17) using lighting devices (29). The present inspection method can be performed during dry layup of the respective layers, thereby allows defects (27) to be corrected be-fore infusion of the resin matrix material.

AN UNDERWATER UNMANNED VEHICLE DOCKING ARRANGEMENT

NºPublicación:  EP4716801A1 01/04/2026
Solicitante: 
ELEVATED LAUNCH AB [SE]
Elevated Launch AB
WO_2024242599_PA

Resumen de: WO2024242599A1

The present disclosure relates to an off-shore wind power plant arrangement (100) comprising a wind power plant tower (102) and a wind power plant nacelle arrangement (101) The wind power plant arrangement (100) comprises an unmanned underwater vehicle, UUV, docking arrangement (110a, 110b) that is adapted to accommodate at least one remotely controlled UUV (140) and comprises an electrical charging connection (112). The electrical charging connection (112) is adapted to electrically connect and charge a re-chargeable battery arrangement (141) comprised in a UUV (140) to an electrical power source (113) comprised in the wind power plant arrangement (100) via at least one power interface means (180). Furthermore, the wind power plant arrangement (100) comprises at least one hydroacoustic sensor arrangement (190a, 190b, 190c).

IMPROVEMENTS RELATING TO COOLING WIND TURBINES

NºPublicación:  EP4716802A1 01/04/2026
Solicitante: 
VESTAS WIND SYS AS [DK]
VESTAS WIND SYSTEMS A/S
CN_121039393_PA

Resumen de: CN121039393A

A wind turbine cooling system comprises: a coolant circuit adapted to convey coolant between a first heat exchanger arranged to cool coolant flowing through the coolant circuit and a second heat exchanger arranged to heat coolant flowing through the coolant circuit; a coolant pump adapted to pump coolant around the coolant circuit; a first flow control valve having a first port and a second port wherein the coolant flows between the first port and the second port along the coolant circuit in a cooling mode of operation, the first flow control valve further having a third port to which the expansion tank is connected and a fourth port adapted to be connected to a coolant fill tank; and a second flow control valve having a first port and a second port, where coolant flows through the first port and the second port during a cooling mode of operation. The second flow control valve further includes a third port and a fourth port, where coolant flows between the second port and the third port during a bypass mode of operation in which the coolant bypasses the first heat exchanger, the fourth port being adapted to be connected to a coolant fill tank. Advantageously, three operating modes of the system are achieved only with two four-way valves and a single pump, which represents a significant reduction in complexity and cost compared to known systems with comparable functionality.

SYSTEM AND METHOD FOR DETECTING ANOMALIES ON A WIND TURBINE ROTOR BLADE

NºPublicación:  EP4717911A1 01/04/2026
Solicitante: 
GE VERNOVA RENOVABLES ESPANA S L [ES]
EP_4717911_PA

Resumen de: EP4717911A1

A method for improving quality of a rotor blade of a wind turbine includes receiving, via a data acquisition module of a controller, image data relating to the rotor blade. The image data is collected during or after manufacturing of the rotor blade before the rotor blade is placed into operation on the wind turbine. The method includes identifying, via a processor of the controller, an anomaly on the rotor blade using the image data relating to the rotor blade. The method also includes determining, via the processor, a location of the anomaly of the rotor blade using a combination of at least two of the following: an estimated location of an imaging device when the image data was collected, a known location of a pixel as represented by multiple angles that describe a location of the pixel and the anomaly within the image data as projected onto a spherical shell, Light Detection and Ranging (LIDAR) data of a cross section of the rotor blade at a time and location when the image data was collected, a specific internal cavity that the imaging device is in when the image data was collected, or a computer-aided design (CAD) model of the rotor blade. Further, the method includes displaying, via the processor, the location of the anomaly of the rotor blade. Moreover, the method includes implementing, via the processor, a corrective action for a subsequent manufacturing process of another rotor blade based on the location of the anomaly of the rotor blade.

SYSTEM AND METHOD FOR IMPROVING WIND TURBINE ROTOR BLADE QUALITY USING ARTIFICIAL INTELLIGENCE

NºPublicación:  EP4717912A1 01/04/2026
Solicitante: 
GE VERNOVA INFRASTRUCTURE TECH LLC [US]
EP_4717912_PA

Resumen de: EP4717912A1

A method for improving quality of a rotor blade of a wind turbine includes collecting, via a controller, data relating to the rotor blade during or after manufacturing of the rotor blade before the rotor blade is placed into operation on the wind turbine. The data includes visual data and multi-spectral infrared (IR) data. The method also includes fusing, via the controller, image data from the visual data and the multi-spectral IR data to determine an occurrence of one or more anomalies on or within the rotor blade. Further, the method includes automatically generating, via the controller, a quality report of the rotor blade comprising the one or more anomalies. Moreover, the method includes implementing, via the controller, a corrective action for the rotor blade or a subsequent manufacturing process of another rotor blade based on the quality report.

SYSTEM AND METHOD FOR CONTROLLING A WIND TURBINE BASED ON AN ESTIMATED ROTOR AZIMUTH

NºPublicación:  EP4717907A1 01/04/2026
Solicitante: 
GE VERNOVA INFRASTRUCTURE TECH LLC [US]
EP_4717907_PA

Resumen de: EP4717907A1

A method for controlling a wind turbine is provided. The method includes receiving, via a control system, at least one speed condition of a drivetrain of the wind turbine from a first sensor. The method also includes receiving, via the control system, a pulse from a second sensor mounted within a nacelle of the wind turbine, the pulse being generated when the drivetrain shifts to a known angle. The method also includes estimating, via the control system, an azimuth of a designated rotor blade based on a combination of the at least one speed condition of the drivetrain and the pulse. The method also includes implementing, via the control system, a control action for the wind turbine based on the estimated azimuth.

施工方法

NºPublicación:  JP2026056415A 01/04/2026
Solicitante: 
日鉄エンジニアリング株式会社
JP_2026056415_A

Resumen de: JP2026056415A

【課題】洋上風車を支持するためのモノパイルの施工性を向上させることが可能な施工方法、および海洋構造物を提供すること。【解決手段】施工方法は、海洋構造物を設置する設置ステップと、洋上風車を支持するモノパイルを起重機船によって海底まで吊り下ろす吊り下ろしステップと、を備え、吊り下ろしステップでは、モノパイルを起重機船によって吊り下ろす際に、モノパイルを海洋構造物によってガイドする。【選択図】図6

CLIMBING STRUCTURE FOR WIND TURBINES

NºPublicación:  EP4717660A1 01/04/2026
Solicitante: 
KIMUA ENG S L [ES]
Kimua Engineering, S.L
EP_4717660_PA

Resumen de: EP4717660A1

A climbing structure (100) comprising at least two holding devices (1) for securing the structure (100) to a tower (201) of a wind turbine. Each holding device (1) comprises three pushers, a central one (5.3) and side pushers (5.1, 5.2), with at least a respective supporting surface (3.1, 3.2, 3.3), the pushers being configured to press the tower (201) at a certain height on three angularly equally distributed areas. Each holding device (1) also comprises a main body (4) and two side arms (6.1, 6.2) cooperating with said main body (4) and comprising a respective side pusher (5.1, 5.2), the central pusher (5.3) being associated with the main body (4). Likewise, the main body (4) of each holding device (1) comprises two inclined side guide housings (8.1, 8.2), the central pusher (5.3) being arranged between both side arms (6.1, 6.2). Each holding device (1) comprises actuating means for moving the side arms (6.1, 6.2) with respect to the main body (4) guided in the corresponding side guide housing (8.1, 8.2), such that the respective holding device (1) can be coupled to towers (201) of different diameters.

METHOD AND COMPUTATIONAL MONITORING SYSTEM FOR MONITORING, EVALUATING AND CONTROLLING NOISE EMISSIONS OF A WIND FARM

NºPublicación:  EP4717906A1 01/04/2026
Solicitante: 
EOLOGIX SENSOR TECH GMBH [AT]
eologix sensor technology gmbh
EP_4717906_PA

Resumen de: EP4717906A1

Method for computational monitoring, evaluating and controlling noise emissions of a wind farm (1), the wind farm (1) comprises an acoustic sensor (3a, 3b, 3c , 3d) for detecting noise emissions, said method comprising the following steps:a. setting up a digital map (dM) of the wind farm (1),b. providing the processing unit (4) with a first data stream (ds1) of wind turbine operational data (op-d_a, op-d_b, op-d_c, op-d_d) of each wind turbine (2a, 2b, 2c, 2d),c. providing the processing unit (4) with a second data stream (ds2) of noise emission data (ne-d_a, ne-d_b, ne-d_c, ne-d_d),d. calculating the noise level on at least one point of reference (pr1, pr2, pr3),e. evaluating the noise emission of the wind farm (1), andf. if the at least one calculated noise level (cn1, cn2, cn3) exceeds a threshold level (th1, th2, th3), reducing the noise emission of the wind farm (1).

MODULAR HOLDING ARRANGEMENT

NºPublicación:  EP4717910A1 01/04/2026
Solicitante: 
SIEMENS GAMESA RENEWABLE ENERGY AS [DK]
Siemens Gamesa Renewable Energy A/S
EP_4717910_PA

Resumen de: EP4717910A1

The invention describes a modular holding arrangement (1) for a wind turbine rotor blade (2), comprising a plurality of triangular frames (10), wherein each triangular frame (10) comprises a base (10B), two inclined sides (10S) and an apex (10A); an apex connector (11A) arranged at the apex (10A) of each triangular frame (10); a base connector (11B) arranged at each outer corner of the base (10B) of each triangular frame (10); and wherein an apex connector (11A) is shaped to engage with a base connector (11B). The invention further describes a method of assembling a rotor blade array (A2) using such a modular holding arrangement (1).

TRANSPORTATION TOOL, TRANSPORTATION ARRANGEMENT, TRANSPORTATION SYSTEM AND METHOD

NºPublicación:  EP4717909A1 01/04/2026
Solicitante: 
NORDEX ENERGY SE & CO KG [DE]
Nordex Energy SE & Co. KG
EP_4717909_PA

Resumen de: EP4717909A1

A transportation tool (200) for a rotor hub (112) of a wind turbine (100) comprises:- a first fastener (300), the first fastener (300) being configured to be fixed to a first side (113) of the rotor hub (112) and to be coupled with a vehicle (500),- a second fastener (400), the second fastener (400) being configured to be fixed to a second side (114) of the rotor hub (112) and to be coupled with the vehicle (500), wherein the second side (114) is opposite the first side (113) along a first direction (121), wherein the first fastener (300) and the second fastener (400) are fixable to the rotor hub (112) independently of each other.

METHOD OF WAKE STEERING WIND TURBINE

NºPublicación:  EP4716800A1 01/04/2026
Solicitante: 
VESTAS WIND SYS AS [DK]
VESTAS WIND SYSTEMS A/S
CN_121511352_PA

Resumen de: WO2024240317A1

The invention pertains to wake steering. A second wind turbine is positioned downstream of the first wind turbine so that it can be affected by a wake of the first wind turbine. In a method of the invention, a yaw offset signal is applied to create a yaw offset between a rotor of the first wind turbine and the wind direction, and the yaw offset signal is varied based on a transfer function in response to changes in the wind direction. The transfer function comprises: a negative offset band, a negative transition, a positive offset band, a positive transition, and a dead band between the positive and negative transitions.

SYSTEMS AND METHODS FOR MANUFACTURING COMPOSITE LAMINATE STRUCTURES

NºPublicación:  EP4716631A2 01/04/2026
Solicitante: 
SUPERNAL LLC [US]
Supernal, LLC
CN_121175182_A

Resumen de: CN121175182A

A method is disclosed. The method includes applying a layer of woven fibrous material around a tool. The method further includes disposing the composite laminated sheet onto the woven fibrous material. The method further includes applying an additional layer of woven fibrous material onto the composite laminate sheet to form a spar. The method additionally includes joining the spar such that the woven fibrous material layer is fixedly coupled to the composite laminate sheet. The method includes removing the tool from the spar.

SYSTEM AND METHOD FOR CONNECTING A SERVICE VESSEL AND A FLOATING SUPPORT STRUCTURE

NºPublicación:  EP4716652A1 01/04/2026
Solicitante: 
OCEAN VENTUS AS [NO]
Ocean Ventus AS
KR_20260014575_PA

Resumen de: WO2024240532A1

The invention describes a system and a method for connecting a service vessel (1) and a floating support structure (2) for a wind turbine (3). The service vessel comprises an aft coupling section (5) and vessel contact means (6), that can be lifted by elevation means, positioned on the aft coupling section (5), upward and downward between a higher contact position and a lower free position. The floating support structure (2) comprises a central coupling space (7) capable of receiving the aft coupling section (5) and support structure contact means (8) for interacting with the vessel contact means (6) when the aft coupling section (5) is centrally positioned in the coupling space (7) and the vessel contact means (6) are moved upward. The vessel contact means (6) are positioned at an altitude below the support structure contact means (8) when the vessel contact means (6) are at the lower free position.

风电齿轮箱和风力发电机组

NºPublicación:  CN224064797U 31/03/2026
Solicitante: 
采埃孚(天津)风电有限公司
CN_224064797_U

Resumen de: CN224064797U

本实用新型涉及风电技术领域,提供风电齿轮箱和风力发电机组。风电齿轮箱的箱体设置有扭矩臂,扭矩臂的轴孔中设置有销轴,销轴的沿轴向的中心区域设置有挡肩,轴孔的沿轴向的中心区域设置有台阶部,销轴的位于挡肩的两侧的轴部分别过盈压配在轴孔的位于台阶部的两侧的孔段中,且挡肩与台阶部形成轴向止挡配合结构。本实用新型通过销轴的挡肩与扭矩臂的轴孔的台阶部配合,形成轴向止挡配合结构,有效抑制销轴的一个方向的轴向位移;挡肩位于中心区域,能够优化销轴的载荷传递路径,避免局部应力集中,提升销轴的结构强度和应力承受能力;得益于销轴能够承受的应力增大,销轴的直径可以相应减小,进而降低销轴的重量,实现轻量化设计。

一种塔筒外壁清洗装置

NºPublicación:  CN224064475U 31/03/2026
Solicitante: 
新疆骏晟能源装备有限公司
CN_224064475_U

Resumen de: CN224064475U

本实用新型公开了一种塔筒外壁清洗装置,包括固定环,所述固定环设置有两个,两个所述固定环之间通过锁紧螺丝固定连接,所述固定环一侧设置有用于起吊固定环的起吊机构,所述起吊机构包括延伸杆、无人机、机翼组件、支脚、储存仓、吊钩、吊耳,所述固定环一侧固定设置有延伸杆,所述延伸杆上端设置有无人机,所述无人机外侧表面四角处均设置有机翼组件,所述无人机下端两侧设置有支脚。本实用新型利用现有技术中的无人机进行对塔筒外壁清洗装置改进,利用无人机进行起吊、泵水工作,可以显著提高本装置的冲洗效果,不用担心塔筒较高而影响的水压情况,并且也不需要利用非常长的管道,使得装置可以方便收纳使用。

一种可变直径的法兰孔堵头

NºPublicación:  CN224064470U 31/03/2026
Solicitante: 
新疆骏晟能源装备有限公司
CN_224064470_U

Resumen de: CN224064470U

本实用新型公开了一种可变直径的法兰孔堵头,包括围边,所述围边顶端开设有凹槽,所述围边的顶端凹槽内部滑动设置有上控制按钮,所述围边外侧设置有上变径模组,所述围边下端设置有下变径模组,所述下变径模组包括下控制按钮、第二弹簧和第二槽体,所述第二槽体开设在围边下端,所述第二弹簧固定在第二槽体内部顶端位置,所述下控制按钮固定在第二弹簧底端位置。本实用新型根据法兰孔径大小,按压下控制按钮,通过下变径模组的第二弹簧伸缩进而与法兰孔进行适配;适配完成后,旋转上控制按钮,通过上变径模组中的内置第一弹簧的压缩,减小直径;反向旋转上控制按钮,通过上变径模组中的内置第一弹簧的伸长,增大直径。

MODULE GROUP TYPE VIBRATIONAL BLADELESS WIND GENERATOR

NºPublicación:  KR20260042694A 31/03/2026
Solicitante: 
연세대학교미래산학협력단

Resumen de: KR20260042694A

본 발명은 날개가 없이 볼텍스 쉐딩으로 인한 진동 구조물의 진동을 이용하여 전력을 생산할 수 있고, 지속적이고 높은 발전 효율을 가질 수 있는 모듈 군집형 날개 없는 진동형 풍력 발전기를 제공한다. 상기 풍력 발전기는 지지봉과, 지지봉을 감싸도록 구비되는 중공봉과, 중공봉의 내면을 대향하게 지지봉에 구비되는 코일과, 중공봉의 내면에 구비되며 코일과 일정 간격을 가진 상태에서 외부의 바람에 의한 볼텍스 쉐딩으로 인하여 중공봉이 흔들릴 때 코일에 대하여 상대 이동하는 자석과, 지지봉에 고정 결합되며 중공봉의 수직 방향의 이동은 제한하고 중공봉의 수평 방향의 이동은 허용하는 지지부와, 지지부 및 중공봉을 수평 방향으로 연결하는 탄성부재를 가지는 복수의 발전모듈; 및 복수의 발전모듈이 수평 방향으로 이격하여 배치되도록 복수의 발전모듈을 연결하는 연결부;를 포함한다.

一种基于风电场尾流协同的功率控制方法及系统

NºPublicación:  CN121770017A 31/03/2026
Solicitante: 
朔州市太重风力发电有限公司繁峙县能裕风力发电有限公司
CN_121770017_PA

Resumen de: CN121770017A

本申请涉及风电场功率控制技术领域,特别是涉及一种基于风电场尾流协同的功率控制方法及系统。包括:构建功率协同模型和多个运行周期;根据预设监测时间节点获取当前运行周期的环境监测包,根据环境监测包和功率协同模型设定运行控制策略;根据预设修正时间节点获取运行记录包,根据运行记录包判断是否生成功率协同模型的修正指令;根据历史环境参数建立多种运行风场,并根据各个不同风场的运行特性,对风电场内全部风电机组进行聚合,生成对应的多组设备域,精准分析尾流扰动,并通过动态调整运行控制参数,确保协同控制效果的鲁棒性和持续性,提高风电场的整体运行效率。

一种折叠式风力发电机检修平台

NºPublicación:  CN224064474U 31/03/2026
Solicitante: 
江苏乃尔风电技术开发有限公司
CN_224064474_U

Resumen de: CN224064474U

本实用新型公开了一种折叠式风力发电机检修平台,包括承载平台,所述承载平台中部设置安装口,所述承载平台安装在风力发电机塔筒外表面上,所述承载平台四面分别设置可折叠或者展开的第一承载网架、第二承载网架、第三承载网架以及第四承载网架,所述第一承载网架、第二承载网架、第三承载网架以及第四承载网架一侧均设置可展开的扩展平台结构,本申请中的承载平台与风力发电机塔筒进行固定连接,在检修时,将第一承载网架、第二承载网架、第三承载网架、第四承载网架以及扩展平台结构展开即可,并不需要运行或者携带外部检修设备,同时不受地形环境的影响。

一种防倾倒的海上风机单桩支撑托架

NºPublicación:  CN224064468U 31/03/2026
Solicitante: 
海力风电设备科技(威海)有限公司
CN_224064468_U

Resumen de: CN224064468U

本实用新型公开了一种防倾倒的海上风机单桩支撑托架,包括底安装组件,所述底安装组件上设置有支撑组件,两个支撑组件之间通过连接组件连接,所述支撑组件上设置有单桩限位组件,所述支撑组件上设置有辅助安装组件,所辅助安装组件上设置有防倾倒控制组件,所述防倾倒控制组件的输出端设置有夹紧组件。本实用新型的有益效果是,本技术方案的单桩支撑托架,结构设计巧妙,实用性较强,且稳定性高,运用此支撑托架,实现了对海上风机单桩的稳定存放,有效保证了海上风机单桩存放的稳定性,避免了海上风机单桩出现倾倒的问题。

一种基于旋转叶片的自动加热挡雪板

NºPublicación:  CN224063299U 31/03/2026
Solicitante: 
新疆交通科学研究院有限责任公司西安世纪金属结构有限公司
CN_224063299_U

Resumen de: CN224063299U

本实用新型涉及一种基于旋转叶片的自动加热挡雪板。目前的挡雪板加热时能耗较高且不环保。本实用新型包括若干固定立柱和若干活动透风板;所述固定立柱平行且垂直于地面设置,相邻所述固定立柱之间设置有若干旋转轴,若干所述活动透风板分别铰接于所述旋转轴上;所述旋转轴一端固定于电动基座,另一端固定于转动基座;所述旋转轴内设置有电热丝,所述电热丝与所述电动基座连接。本实用新型通过活动透风板和旋转轴转动,带动电动基座中的多功能发电机和电机发电,从而对旋转轴内部的电热丝进行加热,通过将风能转换为电能,从而使得能耗较低,并且环保无污染。

风电机组轮毂主轴连接结构及风力发电机组

NºPublicación:  CN224064461U 31/03/2026
Solicitante: 
华能吉林新能源开发有限公司通榆分公司
CN_224064461_U

Resumen de: CN224064461U

本实用新型提供一种风电机组轮毂主轴连接结构及风力发电机组,涉及风力发电技术领域。本实用新型提供的风电机组轮毂主轴连接结构包括轮毂、过渡连接轴、主轴以及辐板,轮毂包括外壳和外壳围成的中心腔体,过渡连接轴沿轴向的第一端穿入中心腔体,过渡连接轴沿轴向的第二端和主轴的一端一体成型连接,且外壳和过渡连接轴一体成型连接;辐板位于中心腔体,辐板的第一端连接于过渡连接轴的第一端,辐板的第二端连接于外壳的内壁。本实用新型提供一种风电机组轮毂主轴连接结构及风力发电机组,可以降低成本、提高整体刚度。

一种新型全桁架式风电塔架结构

NºPublicación:  CN224064467U 31/03/2026
Solicitante: 
徐州建机工程机械有限公司
CN_224064467_U

Resumen de: CN224064467U

本实用新型涉及一种新型全桁架式风电塔架结构,属于风电塔架技术领域。包括恒截面式桁架结构上部和渐变截面式桁架结构下部,所述恒截面式桁架结构上部和渐变截面式桁架结构下部由多个节段构成,节段与节段采用杆片装配式结构,恒截面式桁架结构上部的节段为标准节段,渐变截面式桁架结构下部的节段为渐变节段,所述的节段由钢管主弦、横腹杆和斜腹杆组成,主弦内部增设预应力钢绞线。本实用新型的有益效果是:采用该结构形式,可解决160m超高高度以上风电机组的支撑结构问题,采用渐变截面和恒截面相结合的结构形式,整体结构采用杆片装配式,主弦内部增设预应力钢绞线,具有自重轻、刚度大、成本低、安拆及运输便捷、提高整机使用寿命的优点。

一种风机混塔结构连接结构

NºPublicación:  CN224064466U 31/03/2026
Solicitante: 
江苏筑岩建设有限公司
CN_224064466_U

Resumen de: CN224064466U

本实用新型涉及一种风机混塔结构连接结构,包括上、下堆叠设置的上预制筒段和下预制筒段,以及设置在上、下预制筒段之间的预制件水平连接密封件;所述预制件水平连接密封件为一扁平形状的环形件,在环形件内置有至少一道沿环形方向延伸的金属片,环形件的上端面具有至少一道上环形凸起,环形件的下端面具有至少一道下环形凸起;所述上预制筒段的下端面设置有刚好容纳上环形凸起的上嵌合槽,下预制筒段的上端面设置有刚好容纳下环形凸起的下嵌合槽。通过在上、下预制筒段之间设置预制件水平连接密封件来代替传统的密封垫与密封胶的组合,在实现了连接、找平、密封的基础上,取消了打胶的过程,也就不会受到天气环境的影响,施工更方便,效率更高。

一种新型塔筒减震支架

NºPublicación:  CN224062238U 31/03/2026
Solicitante: 
江苏斯特郎电梯有限公司
CN_224062238_U

Resumen de: CN224062238U

本实用新型公开一种新型塔筒减震支架,包括位于箱体上的左右两个箱体固定支架;所述箱体固定支架上通过防脱落活动连接件与导向轮支架连接;所述导向轮支架内侧上下连接有导向轮;所述导向轮沿着爬梯导轨上下运行;位于箱体固定支架和导向轮支架之间设置有减震件。通过在箱体固定支架与导向轮支架之间设置减震件,有效减少了导向轮与爬梯导轨之间的硬连接带来的噪音和振动。具体而言,减震件的弹性特性能够吸收部分振动,降低运行过程中产生的噪音,提高乘坐舒适感。

叶片组件、风力发电机和降噪器

NºPublicación:  CN224064460U 31/03/2026
Solicitante: 
远景能源有限公司
CN_224064460_U

Resumen de: CN224064460U

本公开涉及了一种叶片组件、风力发电机和降噪器,所述叶片组件包括:叶片本体,具有叶根、叶尖、前缘和后缘,所述前缘和所述后缘在所述叶根和所述叶尖之间延伸;降噪器,设置在所述叶片本体上,所述降噪器包括至少一个加强件和若干间隔件,若干所述间隔件沿所述叶片本体的展向间隔布置,所述加强件与至少一个所述间隔件相连,且所述加强件和所述间隔件邻近所述后缘布置;其中,在与所述叶片本体的弦相平行的方向上,所述间隔件的至少部分和所述加强件位于由所述弦所限定的边界外,且所述加强件与所述后缘之间存在间隔空间。本公开提供的技术方案,可以降低叶片转动噪声。

垂直轴增速发电型风机系统

NºPublicación:  CN224064463U 31/03/2026
Solicitante: 
南京南高齿新能源汽车传动设备有限公司
CN_224064463_U

Resumen de: CN224064463U

一种垂直轴增速发电型风机系统,涉及风力发电技术领域,其包括塔架、机舱、发电机总成、传动总成和风轮总成。机舱设置有在其周向上间隔排布的多个通风窗,机舱安装于塔架的顶部;发电机总成安装于机舱内;发电机总成的输入轴通过传动总成与风轮总成连接,风轮总成用于在风力作用下转动并将扭矩通过传动总成传递至发电机总成。其能够兼顾防护性和通风效果,在提高增速发电总成防护性的同时省去冷却机构,有效降低产品制造和质量维护成本;同时能够缩短传动轴长度,提高发电效率。

METHOD FOR TRANSFERRING ENERGY STORAGE MEDIUM BETWEEN POWER GENERATION FLOATING BODY AND TRANSPORT VESSEL IN OFFSHORE POWER GENERATION SYSTEM

NºPublicación:  US12589838B1 31/03/2026
Solicitante: 
TOYOTA MOTOR CO LTD [JP]
TOYOTA JIDOSHA KK [JP]
US_12589838_B1

Resumen de: US12589838B1

0000 A method of transferring a storage medium on the ocean between a power generation floating body that generates electricity on the ocean and stores energy obtained by the power generation in the storage medium and a transport vessel that transports the storage medium includes a first process of moving the power generation floating body to a predetermined sea area and dropping the first storage medium loaded on the power generation floating body onto the ocean, a second process of moving the transport vessel to a predetermined sea area and dropping the second storage medium loaded on the transport vessel onto the ocean, a third process of recovering the second storage medium dropped from the transport vessel to the ocean to the power generation floating body, and a fourth process of recovering the first storage medium dropped from the power generation floating body onto the transport vessel.

风电机组轮毂及风力发电机组

NºPublicación:  CN224064462U 31/03/2026
Solicitante: 
华能吉林新能源开发有限公司通榆分公司
CN_224064462_U

Resumen de: CN224064462U

本实用新型提供一种风电机组轮毂及风力发电机组,涉及风力发电技术领域。本实用新型提供的风电机组轮毂包括外壳、温度传感器、冷却介质循环装置以及控制设备,外壳围成的中心腔体,外壳内集成有主冷却通道;外壳的外侧连接有叶片,温度传感器设置于外壳内壁,冷却介质循环装置设置于中心腔体,并和主冷却通道连通;控制设备设置于中心腔体,温度传感器和冷却介质循环装置均和控制设备电连接,控制设备被配置为根据温度传感器的检测数据控制冷却介质循环装置的运转。本实用新型提供一种风电机组轮毂及风力发电机组,延长轮毂使用寿命。

磁化永磁体模块

NºPublicación:  CN121770263A 31/03/2026
Solicitante: 
通用电气可再生能源西班牙有限公司
CN_121770263_PA

Resumen de: EP4718478A1

The present disclosure relates to methods for magnetizing sections of one or more permanent magnets arranged substantially in a V-shape. The methods comprise applying a first magnetic field comprising activating (402) an open end magnetizing coil (61) arranged near an open end of the V-shape and generating a first magnetic flux (MF61), activating (404) a first side magnetizing coil (63) arranged at a first side of a first leg (41) of the V-shape and generating a second magnetic flux (MF63), and activating (406) a second side magnetizing coil (62) arranged at a second side of a second leg (42) of the V-shape and generating a third magnetic flux (MF62). The magnetizing coils are simultaneously activated, and the second side magnetizing coil is activated in reversed polarity to the first side magnetizing coil.

一种风电塔架的施工方法

NºPublicación:  CN121760526A 31/03/2026
Solicitante: 
中船海装风电有限公司
CN_121760526_PA

Resumen de: CN121760526A

本发明涉及风电技术领域,具体涉及一种风电塔架的施工方法,包括:采用离心成型工艺预制多个中空的钢管混凝土角柱段;将多个所述角柱段与横撑和斜撑在地面拼装形成至少一个格构塔段,并将所述格构塔段吊装至基础顶面,所述基础为整体浇注的混凝土承台;在所述格构塔段顶部安装转接段,所述转接段与所述基础之间形成贯通的预应力通道;向所述预应力通道内穿入预应力筋,使所述预应力筋沿各角柱段内壁延伸并穿过所述基础,对所述预应力筋进行张拉;张拉完成后,向各角柱段内部及所述预应力通道内灌注灌浆料,并回填所述基础周围区域,形成无张拉室的一体化基础结构;在所述转接段上方吊装上部塔筒段及风电设备。

全场景抗阵风协同控制方法及系统

NºPublicación:  CN121760892A 31/03/2026
Solicitante: 
华能托里风力发电有限公司
CN_121760892_PA

Resumen de: CN121760892A

本申请公开了一种全场景抗阵风协同控制方法及系统,涉及风电调度技术领域,该方法包括:基于风速预测模型,确定当前风速与风速变化率对应的预测风速;基于当前风速与预测风速,确定当前阵风工况,当前阵风工况为普通阵风工况、强阵风工况以及极端阵风工况中任一项;基于当前阵风工况,确定对应的协同控制策略,协同控制策略包括姿态自适应控制策略、集群出力分配控制策略以及防护控制策略中至少一项;基于协同控制策略,对当前阵风工况下目标风电场中各风力发电机组的关键控制参数进行调整。通过上述方式,能够覆盖常规阵风、强阵风、台风全工况,形成单机响应、集群协同、极端防护预警的全链条协同控制体系,实现全场景下的抗阵风协同控制。

荷重計測システム、損傷率推定システム、寿命予測システム、荷重計測方法、損傷率監視方法及びプログラム

NºPublicación:  JP2026055696A 31/03/2026
Solicitante: 
ナブテスコ株式会社
JP_2026055696_A

Resumen de: US20260079060A1

It is determined which of the teeth of a ring gear are subject to a load and to what extent the load is exerted. A load measuring system includes: a load detecting part for use in a moving part of a wind turbine, the moving part including a ring gear with a plurality of teeth and at least one drive unit with a pinion meshing with the ring gear, the load detecting part being configured to detect an applied load that is exerted on a tooth of the ring gear due to application of an external force or a driving force of the drive unit via the pinion with the ring gear meshing with the pinion; and a position identifying part for identifying, from among the teeth of the ring gear, a target tooth subject to the applied load.

풍력 터빈 블레이드의 피치를 결정하기 위한 방법, 장치 및 디바이스

NºPublicación:  KR20260042582A 31/03/2026
Solicitante: 
골드윈드파이오니어테크놀로지옌청코엘티디베이징골드윈드싸이언스앤크리에이션윈드파워이큅먼트코엘티디
AU_2024318045_PA

Resumen de: AU2024318045A1

A method for determining the pitch of a wind turbine blade. A first sensor (501) is provided on a blade root of a wind turbine, and at least one second sensor (502) is provided on a blade. The method comprises: obtaining a parameter of the current operating condition of a wind turbine, a first angular velocity collected by the first sensor (501) and at least one second angular velocity collected by the at least one second sensor (502); and, on the basis of target simulated blade pitch data, the first angular velocity and the at least one second angular velocity, determining first blade pitch data of the wind turbine, the first blade pitch data being used for representing the blade pitch of the wind turbine under the current operating condition, and the target simulated blade pitch data being matched with the parameter of the current operating condition. Thus, by means of the plurality of sensors mounted on the wind turbine blade and on the basis of the simulated blade pitch data corresponding to the current operating condition combined with the angular velocities collected by the sensors, the method reckons the blade pitch data capable of accurately reflecting the pitch of the wind turbine blade, allowing for more accurate and intelligent control on wind turbines. In addition, the present application further relates to an apparatus and device for determining the pitch of a wind turbine blade.

用于提供家用能源的系统和方法

NºPublicación:  CN121773266A 31/03/2026
Solicitante: 
埃迪普·于克塞尔
CN_121773266_PA

Resumen de: US2025003386A1

A vertical axis wind turbine (VAWT) is provided for structural support and aesthetic integration with residential homes and buildings. The turbine is coupled to a substantially circular track, located proximal to its periphery, which at least partially supports the turbine's weight while allowing rotation. The VAWT may function as the roof of a residential home or other conventional building type as the support structure. The number of blades can be three or five, and the turbine can be situated on buildings with polygonal shapes. The turbine may be supported on a track and may include a support overhang that extends beyond the support structure and connects to the track using a c-shaped bearing. The shaft of the turbine connects to a gear that transfers torque to one or more generators. This inventive wind generator system provides an efficient, visually appealing, and integrated solution for generating renewable energy.

에너지 하베스팅 장치, 시스템 및 제조방법

NºPublicación:  KR20260042488A 31/03/2026
Solicitante: 
카트릭테크놀로지스리미티드
CN_121569108_PA

Resumen de: TW202517894A

An energy harvesting device is disclosed. The energy harvesting device comprises one or more foils and a pressurised energy conversion system. The pressurised energy conversion system comprises a working fluid, one or more fluid displacement devices configured to be driven by movement of the one or more foils and one or more generators configured to be driven by the working fluid. Advantageous, the energy harvesting device can efficiently harvest energy from a turbulent fluid flow.

用于将负载搬运到升高位置的系统和方法

NºPublicación:  CN121773068A 31/03/2026
Solicitante: 
阿克西姆股份有限公司
CN_121773068_PA

Resumen de: US2020190621A1

0001 A rolled steel sheet, for press hardening is provided, having a chemical composition where Ti/N>3.42, and the carbon, manganese, chromium and silicon contents satisfy: 0002 2.6 C + Mn 5.3 + Cr 13 + Si 15 ≥ 1.1 % . 0003 The sheet has a nickel content Niat any point of the steel in the vicinity of the surface over a depth Δ, such that: Ni>Ni, Nidenoting the nominal nickel content of the steel, and such that, Nidenoting the maximum nickel content within Δ: 0004 ( Ni max + Ni nom ) 2 × ( Δ ) ≥ 0.6 , 0005 and such that: 0006 ( Ni max - Ni nom ) Δ ≥ 0.01 0007 and the surface density of all of the particles Dand the surface density of the particles D<(>2 μm) >larger than 2 micrometers satisfy, at least to a depth of 100 micrometers in the vicinity of the surface of said sheet: 0008 Di +6.75 D<(>2 μm) ><270 0009 Dand D<(>2 μm) >being expressed as number of particles per square millimeter, and said particles denoting all the oxides, sulfides, and nitrides, either pure or combined such as oxysulfides and carbonitrides, present in the steel matrix.

風車、情報取得方法及び風車管理システム

NºPublicación:  JP2026055699A 31/03/2026
Solicitante: 
ナブテスコ株式会社
JP_2026055699_A

Resumen de: US20260078740A1

An aerial vehicle obtains information regarding the external condition of a wind turbine. The wind turbine includes a tower, a nacelle rotatably supported by the tower, and a wireless charging device provided in the nacelle for charging the aerial vehicle. The aerial vehicle charged by the wireless charging device can stably acquire information regarding the appearance of the wind turbine without being limited in an available flight time.

洋上発電システムに於ける発電浮体と輸送船との間でエネルギーの貯蔵媒体を移載する方法

NºPublicación:  JP2026055262A 31/03/2026
Solicitante: 
トヨタ自動車株式会社
JP_2026055262_A

Resumen de: US20260077835A1

A method of transferring a storage medium loaded on a power generation float from a float that generates electricity on the ocean to a transport vessel on the ocean includes a first process of fixing the power generation float to the transport vessel so that a height of a loading place of the storage medium of the power generation float is higher than a height of a storage place of the storage medium of the transport vessel, a second process of forming a first path in which the storage medium can move between the loading place of the storage medium of the power generation float and the storage place of the storage medium of the transport vessel, and a third process of moving the storage medium from the loading place of the power generation float to the storage place of the transport vessel by gravity through the first path.

变桨系统的控制方法及装置、设备、存储介质

NºPublicación:  CN121760881A 31/03/2026
Solicitante: 
远景能源有限公司
CN_121760881_PA

Resumen de: CN121760881A

本申请涉及风力发电技术领域,公开一种变桨系统的控制方法,应用于风力发电机,方法包括:获取变桨系统中变桨电机的运行参数,以及获取变桨系统中后备电源的电气参数。基于变桨电机的运行参数,计算变桨电机的功率,基于后备电源的电气参数,计算后备电源的充电功率。计算变桨电机的功率与后备电源的充电功率之和,得到变桨系统的输出功率,根据变桨系统预设的效率系数和变桨系统的输出功率,计算变桨系统的输入功率。方法在监测变桨系统的输入功率时,无需依赖变桨系统中额外配置的电流传感器,从而可以降低检测风力发电机变桨系统的成本。该方法的技术效果说明。本申请还公开一种变桨系统的控制装置及设备、存储介质。

基于深度声纹的风机叶片材料疲劳度在线评估系统

NºPublicación:  CN121765289A 31/03/2026
Solicitante: 
国电投南通新能源有限公司
CN_121765289_PA

Resumen de: CN121765289A

本发明涉及大型旋转机械结构动态特性在线监测技术领域,公开一种基于深度声纹的风机叶片材料疲劳度在线评估系统,包括:利用机组自身运行数据流,同步采集发电机有功功率与结构振动信号;在运算前,先依据SCADA事件日志对数据段进行核查以剔除电网扰动工况;进而生成表征动态传递关系的气动弹性传递函数及表征振动源的相干函数,本发明利用机组自身运行产生的两个信号,通过构建传递函数,在随机激励源无法测量的环境中建立了一个稳定的动态特性观测方式,使得对叶片整体刚度这一核心结构参数的长期趋势监测脱离了对外部已知激励源的依赖,从而在连续运行工况下实现了对结构动态平衡状态的评估。

钢混组合结构的单立柱海上漂浮式风电基础及其施工方法

NºPublicación:  CN121757330A 31/03/2026
Solicitante: 
中国电建集团华东勘测设计研究院有限公司
CN_121757330_PA

Resumen de: CN121757330A

本发明提供了钢混组合结构的单立柱海上漂浮式风电基础及其施工方法,包括浮式基础主体和用于连接浮式基础主体和风机底节塔筒的过渡段,浮式基础内部竖向通过设置多层内平台分隔有多个独立的水密舱室,水密舱室从下至上包括若干底部压载舱、若干中部压载舱、若干空舱,浮式基础主体为空心筒体结构,浮式基础主体的筒壁为外层钢板和内层钢板构成的双层钢壳,外层钢板与内层钢板之间通过周向分布的若干径向连接板连接,外层钢板、内层钢板、径向连接板合围形成的空腔内填充有混凝土,从而形成钢混组合式壳体,采用双层钢板结合混凝土形成钢混组合式壳体,显著增强抗水压和抗冲击能力,大幅减少用钢量,降低建造成本。

风电场中风力发电机组的雷击风险评估方法、装置及设备

NºPublicación:  CN121760891A 31/03/2026
Solicitante: 
国华能源投资有限公司国华新能源(双辽)有限公司
CN_121760891_PA

Resumen de: CN121760891A

本申请涉及一种风电场中风力发电机组的雷击风险评估方法、装置及设备,具体涉及风力发电机组监测技术领域,该方法包括:通过风电场中风力发电机组分别配置的采集设备,实时采集风力发电机组对应的多源机组监测数据;然后融合风力发电机组对应的多源机组监测数据,对风力发电机组进行单机风险评估,预测风力发电机组对应的雷击风险概率;再根据风力发电机组对应的雷击风险概率,确定风力发电机组对应的雷击风险等级;最后生成风力发电机组对应的雷击风险等级的雷击风险预警,雷击风险预警用于在雷击事件发生前,进行雷击风险等级对应的风险应对措施提示。本申请可精确反映单台机组的实际风险,进而提升风电场运行安全性与可靠性。

智能润滑系统自动调节策略及系统

NºPublicación:  CN121761231A 31/03/2026
Solicitante: 
青岛盘古智能制造股份有限公司
CN_121761231_PA

Resumen de: CN121761231A

本发明涉及智能润滑系统自动调节策略及系统,属于风电机组运维技术领域,其策略步骤如下:S1,分项得分计算方法;S2,获取设备运行振动状态指数S;S3,获取设备振动运行油脂指数 G;S4,获取设备运行温度指数 T;S5,获取实际应补润滑脂量Q。系统用于给轴承进行加注润滑剂;系统包括动态注脂执行模块;动态注脂执行模块包括管路连接的润滑执行部及润滑动力部;润滑动力部包括通过控制阀液路连接的定量的注脂泵及储油罐;润滑执行部通过进油管路a连接注脂泵;润滑执行部通过管路b连接储油罐;本发明设计合理、结构紧凑且使用方便。

一种抗风的风能、波浪能一体化发电平台及其防倾倒方法

NºPublicación:  CN121760885A 31/03/2026
Solicitante: 
中国华能集团清洁能源技术研究院有限公司华能广东汕头海上风电有限责任公司华能广东能源开发有限公司华能海上风电科学技术研究有限公司
CN_121760885_PA

Resumen de: CN121760885A

本发明公开了一种抗风的风能、波浪能一体化发电平台及其防倾倒方法,属于海洋发电工程技术领域。发电平台包括浮体平台、风能发电组件、波浪能发电装置、抗风稳定机构及电能汇集存储单元;所述风能发电组件设置在浮体平台的上部,所述波浪能发电装置设置于浮体平台处于水面的周侧,所述抗风稳定机构连接于浮体平台底部并延伸至水下预设深度;所述电能汇集存储单元集成于浮体平台内部,且分别与风能发电组件和波浪能发电装置电连接;所述风能发电组件与波浪能发电装置协同捕获风能与波浪能并转化为电能,经电能汇集存储单元整合后输出。该平台将风机、波浪能装置与小型海洋平台结构有机融合,在单一平台上同步开发两种海洋清洁能源。

海上风电机组抗海浪扰动方法及系统

NºPublicación:  CN121760883A 31/03/2026
Solicitante: 
华能昌黎太阳能发电有限公司
CN_121760883_PA

Resumen de: CN121760883A

本发明提供一种海上风电机组抗海浪扰动方法及系统,该海上风电机组抗海浪扰动方法包括:步骤1:通过布置在塔筒上的传感器实时获取海面距离数据,并根据距离数据的变化判断海浪是否处于波峰接近状态;步骤2:当判定为波峰接近状态时,测量海浪冲击的能量等级;步骤3:根据判定出的能量等级,控制变刚度液压支撑系统的阀门开闭状态,以调节塔筒底部的连接刚度或执行锁止操作。本发明能够实现在海浪撞击前,通过物理传感器获取数据,通过一系列逻辑门判断,直接改变塔筒底部连接件的刚度和吸能策略,使塔筒在硬接触和卸力之间切换,从而破坏海浪的共振条件。

一种风电机组基础的施工方法

NºPublicación:  CN121760389A 31/03/2026
Solicitante: 
华能安达市清洁能源有限公司中国华能集团清洁能源技术研究院有限公司
CN_121760389_PA

Resumen de: CN121760389A

本发明提供了一种风电机组基础施工方法,涉及风力发电工程施工技术领域,该方法通过在旋挖成孔过程中引入高压注浆预加固桩端及桩周土体,并结合提钻后复钻二次加固、预制管桩植入、高频振冲密实以及二次补浆等协同步骤,有效地消除了孔底沉渣和虚土,在桩端及桩侧形成复合受力体系,保证了桩端持力层的密实性与承载力,增强了桩‑土界面的摩阻性能,提升了桩基整体的抗压、抗弯及抗拔能力;预制管桩的引入提升了基础整体刚度与抗变形能力,继承和发扬了钻孔压浆桩与管桩的优点,实现了缩短施工周期、提升桩端承载力、提高施工适应性和增强基础稳定性的多重目的。该方法有效地缓解了现有咬合桩筒型基础钻孔质量和灌注质量控制难度较大的技术问题。

轴承游隙的调整方法、装置、存储介质、处理器及系统

NºPublicación:  CN121761092A 31/03/2026
Solicitante: 
三峡(北京)可再生能源研究院有限公司北京怀柔实验室中国长江三峡集团有限公司
CN_121761092_PA

Resumen de: CN121761092A

本申请提供了一种轴承游隙的调整方法、装置、存储介质、处理器及系统。轴承游隙的调整装置包括:距离检测设备,位于轴承上,距离检测设备用于检测轴承的滚动体在紧贴主轴的内圈的情况下滚动体与外圈之间的径向距离;分析设备,用于根据径向距离确定轴承的游隙是否增大;调整设备,位于轴承的外圈上,调整设备用于在轴承的游隙增大的情况下对轴承的外圈进行预紧操作,以使得减少轴承的游隙并增大预紧力。该方案解决了现有技术中轴承游隙增大导致轴承稳定性较差,造成风电机组的运行效率和可靠性较低的问题。

极端天气下的风力发电功率预测方法、装置、设备以及介质

NºPublicación:  CN121769859A 31/03/2026
Solicitante: 
华能包头风力发电有限公司华能(北京)综合能源科技服务有限公司北京金风慧能技术有限公司
CN_121769859_PA

Resumen de: CN121769859A

本发明公开了极端天气下的风力发电功率预测方法、装置、设备以及介质,包括:根据历史风力发电多元数据构建多元功率影响因子映射关系;基于多元功率影响因子映射关系,划分每类功率影响因子的功率影响区间;基于长短期记忆网络,构建风力发电功率预测模型,并确定每个功率影响区间下,风力发电功率预测模型对应的神经网络训练参数;根据实时气象数据以及实时机组参数,确定目标神经网络训练参数,并将风力发电功率预测模型按照目标神经网络训练参数进行配置,待配置完成后,将风力发电功率预测模型用于实时风力发电功率预测。本发明属于风力发电功率预测领域。本发明可以实现极端天气下的风力发电功率预测。

风电混凝土塔筒拼装施工临时支撑系统

NºPublicación:  CN121760562A 31/03/2026
Solicitante: 
中国能源建设集团天津电力建设有限公司
CN_121760562_PA

Resumen de: CN121760562A

本发明风电混凝土塔筒拼装施工技术领域,具体说的是风电混凝土塔筒拼装施工临时支撑系统,包括支撑杆,所述支撑杆的内部设置有两个伸缩组件,位于下端的所述伸缩组件内滑动连接有夹持杆,位于下端的所述伸缩组件内滑动连接有安装杆,所述安装杆上固定连接有定位板,所述定位板的上端固定连接有导向坡块,所述定位板的下端固定安装有缓降坡块,所述支撑杆的上端转动连接有转动套筒,所述转动套筒内设置有滚珠组件,通过伸缩组件、转动套筒等实现塔筒快速对准与平稳贴合;操作简便,机械驱动简化流程、降低劳动强度,提升施工效率;支撑稳固、缓冲防坠,保障施工安全;模块化设计适配多种规格塔筒,可重复使用,大幅降低施工成本。

风力发电机的合成惯性控制方法及系统

NºPublicación:  CN121769874A 31/03/2026
Solicitante: 
株式会社韩国再生能源研究院
CN_121769874_PA

Resumen de: CN121769874A

根据本发明的合成惯性控制方法包括如下几个步骤:执行最大功率点跟踪控制;检测电力系统的频率偏差;当频率偏差大于规定值时,将最大功率点跟踪控制转换为临时频率支持控制,临时频率支持控制包括对从最大功率点跟踪控制向临时频率支持控制变换的时间点开始的规定的第一时间期间,根据变换时间点的最大功率点跟踪控制比原来的基准值增加了的有功功率基准值进行计算和控制,根据临时频率支持控制增加的有功功率基准值可通过频率偏差和风力发电机的转子速度的函数算出。根据本发明,电力系统受到干扰以后,通过乘以与频率偏差成比例且根据转子速度而变动的控制增益来使得输出增加,因此当转子速度高时,输出增加量变大,从而最低频率上升效果明显。

一种适配SL1500风电机组的大功率变桨系统及温度控制方法

NºPublicación:  CN121760894A 31/03/2026
Solicitante: 
锐源风能技术有限公司
CN_121760894_PA

Resumen de: CN121760894A

本发明提供了一种适配SL1500风电机组的大功率变桨系统及温度控制方法,应用于数据处理技术领域。本申请围绕SL1500风电机组变桨电机温度高问题展开,先获取机组运行数据、变桨系统影响因子及电机异常状态信息,经预处理得到变桨电机额定扭矩与运行温度基础数据。通过动态融合引擎强化叶片轴承磨损、润滑状态权重,结合时空关联分析与回归模型,算得大功率变桨系统控温改善概率,对比技改前后数据生成温度异常特征信息。再处理多模态特征得过载发热识别结果,结合多任务决策矩阵与技改关键指标生成风险影响因子,最终借时空关联预警引擎与多目标决策,输出电机温度过高动态预警结果,实现问题解决与风险管控。

预应力储存棒及其制作设备、制作方法

NºPublicación:  CN121760499A 31/03/2026
Solicitante: 
山东领筑智控技术有限公司
CN_121760499_PA

Resumen de: CN121760499A

本申请提供了一种预应力储存棒,包括壳体、封堵板、预应力筋和填充料。壳体的两端具有开口;封堵板的数量为两个,分别封堵并固定连接在所述壳体的两端开口处;所述封堵板上开设有至少一个通孔;预应力筋的数量为至少一个;所述预应力筋穿过所述壳体,两端分别穿过所述壳体两端的封堵板的通孔;填充料填充并固化于所述壳体内,并对所述壳体和所述预应力筋进行固连,所述填充料包括砂浆和细石砼中至少一者。旨在使预应力储存棒具有较高的抗拉性能、抗压性能和结构刚度,在现场施工时可直接安装,无需在现场机进行张拉、注浆等复杂操作,提升安装便捷性,可显著减少现场施工工序和人力成本。

VIBRATIONAL BLADELESS WIND GENERATOR WITH MULTIPLE MAGNET-COIL INDUCTION UNITS

NºPublicación:  KR20260042691A 31/03/2026
Solicitante: 
연세대학교미래산학협력단

Resumen de: KR20260042691A

본 발명은 날개가 없이 볼텍스 쉐딩으로 인한 진동 구조물의 진동을 이용하여 전력을 생산할 수 있도록 하고, 지지 구조물의 내구성 저하를 방지하면서 지속적이고 높은 발전 효율을 가질 수 있는 다중 전기유도장치를 갖는 날개 없는 진동형 풍력 발전기를 제공한다. 상기 진동형 풍력 발전기는 지지봉; 지지봉을 감싸도록 구비되는 중공봉; 지지봉의 외면에 구비되되, 지지봉의 길이 방향을 따라 일정한 간격으로 이격하여 배치되는 복수의 코일; 중공봉의 내면에 구비되되, 복수의 코일에 일대일 대응하도록 중공봉의 길이 방향을 따라 일정한 간격으로 이격하여 배치되며, 외부의 바람에 의한 볼텍스 쉐딩으로 인하여 중공봉이 흔들릴 때 코일에 대하여 상대 이동하는 복수의 자석; 및 지지봉과 중공봉을 수평 방향으로 연결하는 탄성부재;를 포함한다.

基于现场运行数据的风电机组叶片效能诊断方法及装置

NºPublicación:  CN121760895A 31/03/2026
Solicitante: 
内蒙古工业大学
CN_121760895_PA

Resumen de: CN121760895A

本发明提供基于现场运行数据的风电机组叶片效能诊断方法及装置,涉及风电机组叶片效能诊断方法技术领域,包括对应变时序数据进行特征提取以获得时序向量和空间向量,采用门控注意力权重动态分配法分别计算第一、第二和第三权重系数,获取当前状态叶片的融合向量;采用信息熵法计算叶片每个时刻的健康熵值,并且设置熵值的阈值范围,对叶片的健康熵值进行分类。提取的时序向量捕捉结构疲劳的渐变特征,提取的空间向量表征声学频谱的局部损伤模式,通过门控注意力机制动态分配权重,避免单一信号误判,通过健康熵值动态区分叶片损伤等级。

风力推进装置和风力推进系统

NºPublicación:  CN121773267A 31/03/2026
Solicitante: 
纳博特斯克有限公司
CN_121773267_PA

Resumen de: WO2025052746A1

This wind force propulsion device is installed on a moving body and generates propulsion force by receiving wind. The wind force propulsion device is provided with an assembly comprising: a rotating body that can rotate around a rotating shaft extending in a predetermined direction; and a plurality of plate-shaped blades that are respectively fixed to the rotating body. The plurality of blades are provided so that virtual straight lines connecting both ends of each of the plurality of blades are parallel to each other.

一种基于建筑窗户的自适应风光互补发电系统及控制方法

NºPublicación:  CN121770437A 31/03/2026
Solicitante: 
华电河北新能源有限公司
CN_121770437_PA

Resumen de: CN121770437A

本发明属于节能绿色建筑技术领域,具体提供一种基于建筑窗户的自适应风光互补发电系统及控制方法,设置在建筑外窗上,包括发电模块、环境感知模块、智能控制模块、机械调节机构和电力管理模块。本发明通过环境多参数感知、多运行模式动态切换与精密机械执行机构联动,在保障窗户采光、通风、视野、安全等基本建筑功能前提下,最大化单位面积风光能源捕获效率,并提升用户舒适度与系统可靠性。

海上风机结构健康监测方法及系统

NºPublicación:  CN121766044A 31/03/2026
Solicitante: 
清华大学深圳国际研究生院
CN_121766044_PA

Resumen de: CN121766044A

本发明公开一种海上风机结构健康监测方法及系统,该方法包括:离线阶段,通过有限元仿真构建应变快照矩阵,利用本征正交分解提取低维特征子空间基矩阵,并将结构网格映射为图;同时进行节点坐标的傅里叶特征映射,与重构应变特征拼接后,训练基于切比雪夫图卷积的谱图神经网络。在线监测阶段,根据实时采集的单侧稀疏应变数据,通过掩码矩阵和预存基矩阵快速求解模态系数并初步重构全场应变,进而输入训练好的网络模型,实时推演出高保真的全场位移场与应力场。本发明能够有效适应传感器布局的任意变化,在单侧稀疏测量的苛刻条件下,实现对复杂结构全场物理响应的实时、精准重构,解决了传统技术对固定布点及双侧测量的依赖问题。

一种icu科室暖通空调自清洁装置

NºPublicación:  CN121761391A 31/03/2026
Solicitante: 
中建八局第二建设有限公司
CN_121761391_PA

Resumen de: CN121761391A

本发明涉及空调自清洁装置技术领域,具体为一种icu科室暖通空调自清洁装置,包括:输风通道,输风通道的一侧固定安装有空调内机,所述输风通道的内侧靠近空调内机的一侧安装有滤芯一;本发明当输风通道输送空气时,流动的空气会使得扇叶进行旋转,而扇叶在进行旋转可通过清洁海绵条对滤芯二的右端外壁进行清刷,而通过设置的驱动部件可驱动清洁海绵块对滤芯二和滤芯一进行清刷,清刷的过程中设置的吸尘部件会对清刷出的灰尘进行吸取,通过上述方式可知本发明专利能自动对两组滤芯的过滤端面进行清洁,进而避免工人采用人工的方式将其取下进行清理,进而能有效降低工人的劳动量,且装置操作简单便捷,便于推广使用。

一种塔筒的支撑装置

NºPublicación:  CN121757484A 31/03/2026
Solicitante: 
中车兰州机车有限公司
CN_121757484_PA

Resumen de: CN121757484A

本申请提供一种塔筒的支撑装置,涉及支撑装置技术领域。塔筒的支撑装置包括:底座结构;减震结构,减震结构包括减震件和第一连接件,第一连接件与底座结构连接,减震件设置在第一连接件上;支撑结构,支撑结构包括壳体和设置在壳体上的支撑件,支撑件呈弧形,支撑件用于支撑塔筒,减震件与壳体铰接,减震件被构造为,吸收经底座结构传递至支撑件的振动。在塔筒运输过程中,外部的震动冲击通过底座结构传递到第一连接件上,从第一支撑件再传递到减震件上,减震件通过自身活动,缓冲和吸收震动冲击后传递到支撑结构,使得支撑结构受到的震动冲击减小,从而使得支撑结构上的塔筒受到的震动冲击减小,以此达到减震的目的。

一种风力偏航、变浆齿轮箱高效换油系统

NºPublicación:  CN121760897A 31/03/2026
Solicitante: 
平陆凯迪新能源开发有限公司
CN_121760897_PA

Resumen de: CN121760897A

本发明公开了一种风力偏航、变浆齿轮箱高效换油系统,涉及风力发电设备智能运维技术领域,该系统包括:数据采集预处理模块,负责采集并标准化齿轮箱数据;健康状态评估模块,动态调整指标权重并计算健康得分;换油参数调节模块,确定换油参数;换油作业执行模块,执行换油并修正参数;云端协同管理模块,存储数据并支持远程配置,共同实现齿轮箱高效换油管理;本发明通过数据采集预处理与动态健康评估机制精准把控齿轮箱状态,降低停机风险,提升系统稳定性与经济效益;同时,采用换油参数自适应调节与作业闭环控制,智能匹配换油策略,结合参数误差补偿与主备冗余单元,确保换油高效可靠,降低运维成本并延长设备寿命。

用于风机叶片的喷刷一体清洗机器人

NºPublicación:  CN121760898A 31/03/2026
Solicitante: 
深圳长钼智能科技有限公司
CN_121760898_PA

Resumen de: CN121760898A

本发明公开一种用于风机叶片的喷刷一体清洗机器人,包括:固定架、俯仰组件、水平驱动模组、摆动驱动装置、水平推动组件、喷水组件及盘刷组件。俯仰驱动装置驱动俯仰固定板俯仰运动;第一水平驱动装置用于沿第一水平方向驱动水平支架移动;摆动驱动装置驱动滑轨水平摆动;第二水平驱动装置用于沿第二水平方向驱动安装支架移动;喷水组件包括储水箱及至少一个喷嘴;盘刷组件包括固定于安装支架上的盘刷驱动装置及圆盘刷头。本发明通过集成多级调节机构,实现了清洗末端相对于风机叶片曲面的自适应精准定位与姿态调整,从而提升了清洗作业的质量和效率。

基于动态权重分配的海上风电机组系统级健康度评价方法

NºPublicación:  CN121766832A 31/03/2026
Solicitante: 
江苏科技大学
CN_121766832_PA

Resumen de: CN121766832A

本发明属于海上风电运维及可靠性工程技术领域,公开了一种基于动态权重分配的海上风电机组系统级健康度评价方法,包括如下步骤:S1、采集并预处理海上风电机组多源数据;S2、构建分层健康度评价指标体系;S3、融合机理模型、数据驱动模型以及统计可靠性模型,构建子系统退化模型,得到子系统健康度;S4、结合静态权重和动态修正因子进行权重融合,获得动态权重;S5、融合子系统健康度和动态权重,得到系统级健康度;S6、根据系统级健康度进行置信区间排序以及风险等级划分。本发明提供的评价方法通过机理—数据驱动—统计三模型融合,既保留物理可解释性,又提升对非线性与耦合退化的拟合能力,降低误判与漏判风险。

一种漂浮式风电机组联合储能与力矩控制飞轮的新能源发电平台

NºPublicación:  CN121757332A 31/03/2026
Solicitante: 
华北电力大学
CN_121757332_PA

Resumen de: CN121757332A

本发明公开了一种漂浮式风电机组联合储能与力矩控制飞轮的新能源发电平台,属海上风电与储能技术交叉领域。该平台将发电、储能与力矩控制功能深度集成,核心在于:漂浮式风电机组将风能转换为电能;储能与力矩控制飞轮系统,通过充放电平滑调节其输出功率,同时利用转子高速旋转产生的陀螺效应,产生抑制平台晃动的高频稳定力矩,辅助控制漂浮式风电机组在复杂海况下的姿态稳定。其有益效果为:将储能与力矩控制飞轮系统内嵌于基础浮筒,结构紧凑且功能协同,飞轮装置既作为储能单元平滑功率输出,又作为主动稳定单元改善平台姿态,提升发电系统稳定性、电能质量与运行寿命。

一种风电机舱巡检机器人

NºPublicación:  CN121761223A 31/03/2026
Solicitante: 
福建省晋江风电开发有限公司
CN_121761223_PA

Resumen de: CN121761223A

本发明公开了一种风电机舱巡检机器人,涉及风力发电设备运维技术领域。包括行走机构、安装机构和检测机构,行走机构包含左安装框,左安装框一侧设置有右安装框,右安装框一侧开设有槽口,槽口内插接有插接条。本发明通过行走机构、安装机构和检测机构的设置,在使用过程中,首先检测机构移动至目标区域后,第二电机驱动第三齿轮带动第二齿轮转动,使转动杆绕连接框旋转,扩大横向检测范围,同时第三电机驱动转动轴旋转,带动安装块上的红外热像仪与摄像头俯仰摆动,覆盖垂直方向盲区,该装置能够覆盖机舱内绝大部分设备和死角,无需移动机器人本体即可调整视角。

模块化可扩展的风电叶片拼接结构及方法

NºPublicación:  CN121760878A 31/03/2026
Solicitante: 
上海瓯洋海上风电科技股份有限公司
CN_121760878_PA

Resumen de: CN121760878A

本发明涉及风电叶片制造技术领域,具体涉及模块化可扩展的风电叶片拼接结构及方法,包括轮毂连接模块,轮毂连接模块的一侧拼接有中部过渡模块,中部过渡模块的另一侧拼接有端部模块,轮毂连接模块、中部过渡模块和端部模块的拼接位置设置有弹性密封胶条,轮毂连接模块具有注胶口和止回阀,注胶口设置于轮毂连接模块的上方,止回阀设置于注胶口内,中部过渡模块具有多个固定杆,轮毂连接模块还包括连接多个固定槽的异形腔,以此使用辅助导向结构确保叶片拼接时精确度和拼接效率,并通过固定杆机械连接、加强架锁定和结构胶粘接的多维度加固方式大幅度降低叶片拼接处松动和开裂的风险,延长叶片的使用寿命。

基于多模态协同Transformer网络的风电机组齿轮箱故障预警系统

NºPublicación:  CN121765570A 31/03/2026
Solicitante: 
广东工业大学
CN_121765570_PA

Resumen de: CN121765570A

本发明公开基于多模态协同Transformer网络的风电机组齿轮箱故障预警系统,涉及风电机组预警技术,针对现有技术中预警效果不理想的问题提出本方案。包括四路径特征提取模块、自适应融合模块、特征细化模块以及多尺度早期故障预警模块;利用Spearman相关分析选择齿轮箱平均油温相关的多模态特征;其优点在于,基于提前预警机制提供维护预警,突破人工设定阈值易受外部波动影响的局限性。在具体实施时有效提前14天预警且无误报出现,尤其适用于高温、高湿和风速多变的恶劣海洋环境。

海上风电主动除冰系统及方法

NºPublicación:  CN121760896A 31/03/2026
Solicitante: 
中电建新能源集团股份有限公司
CN_121760896_PA

Resumen de: CN121760896A

本发明涉及海上风电技术领域,具体地公开了一种海上风电主动除冰系统及方法,其中,该系统包括:安装基座,安装基座设置在海上风电机组的塔筒的冰线区域上方;破冰执行装置,破冰执行装置安装于安装基座上,破冰执行装置包括动力驱动的破冰机构,破冰执行装置用于对塔筒周围的海冰进行机械破除;冰情感知装置,冰情感知装置设置于塔筒的冰线区域内,用于实时获取至少一种冰情监测数据;控制器,控制器与冰情感知装置和破冰执行装置通信连接,控制器被配置为:基于至少一种冰情监测数据确定当前冰荷载;根据当前冰荷载与预设破冰阈值之间的比较结果,控制破冰执行装置执行破冰作业或停止破冰作业。上述方案能够实现海上风电主动破冰。

大功率风电机组变桨驱动冗余容错方法及系统

NºPublicación:  CN121760893A 31/03/2026
Solicitante: 
华能陕西靖边电力有限公司华能山东发电有限公司蓬莱风电分公司北京华能新锐控制技术有限公司
CN_121760893_A

Resumen de: CN121760893A

本发明实施例提供了一种大功率风电机组变桨驱动冗余容错方法及系统,其通过构建并行的电气状态观测器与机械状态观测器,将复杂的机电耦合系统在诊断层面解耦为电气和机械两个独立的分析维度,并通过对比分析两个观测器产生的电气残差和机械残差,精准地溯源故障根本原因,从而实现对电气驱动失效和机械阻力增大这两类表象相似但根源不同的故障的清晰辨识,并进一步评估故障的置信度,生成明确的维护指令。通过这样的方式,避免了因故障误判导致的维修资源浪费和发电量损失,进而显著提升了大功率风电机组变桨驱动系统的运行可靠性与智能运维水平。

一种叶根预制法兰盘固定安装方法及检测装置

NºPublicación:  CN121760887A 31/03/2026
Solicitante: 
辛帕智能科技(平湖)有限公司
CN_121760887_PA

Resumen de: CN121760887A

本发明公开了一种叶根预制法兰盘固定安装方法及检测装置,包括叶根预制法兰盘、第一安装架、第一对位架和第一固定装置,所述第一对位架设置于所述第一安装架的右端,所述第一固定装置包括第一检测机构和第一调整机构,所述第一检测机构包括至少六个高精度位移传感器,所述高精度位移传感器设置于所述第一安装架的右端,所述叶根预制法兰盘上设有若干标定点,所述高精度位移传感器与所述标定点一一对应,所述第一调整机构包括第一预压组件、第一推进组件和第一旋转组件。本发明提供的一种叶根预制法兰盘固定安装方法及检测装置,能够将叶根预制法兰盘定位数据实时反馈并保存,达到法兰预设的定位精度,并可以减轻人工劳动力,提高劳动效率。

一种基于激光雷达前馈的风电机组载荷与功率协同控制方法

NºPublicación:  CN121760879A 31/03/2026
Solicitante: 
大唐同心新能源有限公司
CN_121760879_PA

Resumen de: CN121760879A

本发明涉及风电机组控制技术领域,具体地说,涉及一种基于激光雷达前馈的风电机组载荷与功率协同控制方法。其包括以下步骤:获取并归一化处理风电场监测数据流,输出标准化风场数据;通过滑动窗口平均法融合物理与虚拟激光雷达数据;利用时空克里金插值输出未来预测时域内的全场风况分布;通过尾流载荷耦合预测模型,输出预测入流条件、尾流速度亏损及关键部件载荷谱;构建多目标优化函数生成最优控制指令集;执行指令,通过递归最小二乘算法更新模型参数。本发明通过时空克里金插值实现风况精准预测,结合尾流载荷耦合模型量化机组间干扰,解决了传统控制对发电量与载荷平衡效果不佳的问题。

一种用于岩质山地的风力发电机基础锚固结构施工方法

NºPublicación:  CN121760391A 31/03/2026
Solicitante: 
三峡新能源(凤凰)发电有限公司
CN_121760391_PA

Resumen de: CN121760391A

本发明提供一种用于岩质山地的风力发电机基础锚固结构施工方法,本施工方法通过锚固定位板拼接定位,无需挖掘深大基坑,仅需开挖露出硬质岩层即可施工,大幅降低岩质山地开挖难度与成本,采用速干混凝土浇筑底板缩短养护周期,配合可张紧式锚杆与分层注浆工艺,提升锚固效率与抗拔、抗水平荷载能力,多层隔震支座减弱振动传递,监测盒与拉索实时监测摆动状态,整体工序简化,施工效率较传统方法更高,且基础与岩体结合紧密,显著提升风机在岩质山地的运行稳定性与安全性。

传动装置、传动系统、风力发电机组及维护方法

NºPublicación:  CN121760888A 31/03/2026
Solicitante: 
金风科技股份有限公司
CN_121760888_PA

Resumen de: CN121760888A

本申请涉及一种传动装置、传动系统、风力发电机组及维护方法,传动装置包括轴系组件以及过盈量调节装置,轴系组件包括主轴以及轴承,轴承围绕主轴设置,轴承的内圈与主轴过盈配合,主轴具有中空腔。过盈量调节装置设置于中空腔,过盈量调节装置用于向主轴围合形成中空腔的内壁面施加作用力,使主轴产生形变以调节主轴与轴承的内圈之间的过盈配合量。本申请能够降低轴承跑圈的概率,保证风力发电机组的发电效益。

一种用于风力发电场的风机控制方法及系统、设备、介质

NºPublicación:  CN121760882A 31/03/2026
Solicitante: 
华能包头风力发电有限公司
CN_121760882_PA

Resumen de: CN121760882A

本发明涉及风机控制技术领域,具体而言,涉及一种用于风力发电场的风机控制方法及系统、设备、介质,采用本发明所提供的方法,主要包括基于运行参数通过风机状态评估模型得到评估指数,基于评估指数得到风机运行状态;根据目标风机的判断指数设置不同的数据获取范围,获取目标风机在数据获取范围内的其余风机的评估指数和状态等级;基于其余风机的评估指数和状态等级对当前目标风机的评估指数进行修正。通过上述方法综合考虑了当前正在分析的风机周围的风机的状态,可能对当前目标风机所造成的影响,来更加准确的判断当前风机应该处于怎样的运行状态,提供给远程端进行参考,以便下达更准确的风机控制信号。

一种漂浮式风电机组转矩优化控制方法及装置

NºPublicación:  CN121760880A 31/03/2026
Solicitante: 
三峡新能源康保发电有限公司中国三峡新能源(集团)股份有限公司
CN_121760880_PA

Resumen de: CN121760880A

本发明涉及风力发电技术领域,公开了一种漂浮式风电机组转矩优化控制方法及装置,该方法包括:建立扩展卡尔曼滤波算法模型;获取目标漂浮式风电机组运行参数,基于目标漂浮式风电机组运行参数,利用扩展卡尔曼滤波算法模型确定漂浮式风电机组的有效风速;基于漂浮式风电机组的有效风速对漂浮式风电机组转矩进行优化控制。本发明通过结合有效风速预估的转矩优化控制策略,有效提升了机组的风能捕获能力,同时有效抑制了漂浮式风电机组的功率波动,提高了漂浮式风电机组的功率稳定性,对维持机组的稳定性有较好的优化效果。

一种变桨驱动控制方法

NºPublicación:  CN121770392A 31/03/2026
Solicitante: 
重庆凯瑞测试装备有限公司中国汽车工程研究院股份有限公司
CN_121770392_PA

Resumen de: CN121770392A

本发明涉及风电叶片静态测试领域,公开了一种变桨驱动控制方法,包括正式运行前的静态负载预整定方法,静态负载预整定方法包括以下步骤:步骤1.1、将叶片安装在试验台底座上;步骤1.2、进入预整定模式,在第一固定时间段内,所有电机以相同的第一低速同向运行;步骤1.3、获取所有电机的负载信息,根据负载信息,计算所有电机的平均扭矩,根据平均扭矩设定扭矩阈值;步骤1.4、将扭矩小于扭矩阈值的电机识别为低负载电机,在第二固定时间段内,低负载电机以第二低速运行,其余电机停止运行;步骤1.5、重复步骤1.4,直至所有电机的扭矩均大于扭矩阈值。以在叶片测试中,提升调整周向角度的效率并保证测试精度。

一种船舶用圆筒形风力发电系统及方法

NºPublicación:  CN121760886A 31/03/2026
Solicitante: 
山东华岳智能装备有限公司
CN_121760886_PA

Resumen de: CN121760886A

本申请公开了一种船舶用圆筒形风力发电系统及方法,所述系统包括:导风管系统、发电机组、智能控制模块以及与所述智能控制模块电连接的风速传感器和风速调节系统,所述导风管系统用于对行驶过程中的高速气流进行捕获,所述智能控制模块根据所述风速传感器获取的风力强度信号控制风速调节系统进行风速调节后通过所述发电机组进行风力发电;所述发电机组设置有保护机构,用于防止逆向气流冲击所述发电机组内部结构。采用圆筒形导风管设计,内置防尘网与双风速传感器,基于实时风速的五挡分级控制策略,实现20‑200km/h宽风速范围内精细化管理,同时创新设计了双向安全保护系统,通过导风板调节和止逆阀配合形成前堵后防的安全闭环,提高了安全性。

一种风机叶片组对装置

NºPublicación:  CN224064465U 31/03/2026
Solicitante: 
中国电建集团河北工程有限公司
CN_224064465_U

Resumen de: CN224064465U

本实用新型公开了一种风机叶片组对装置,包括升降平台、装配在升降平台底部的液压可调支脚以及装配在升降平台顶部的叶片水平调节组件;叶片水平调节组件包括固装在升降平台顶部的叶片托导轨、通过叶片托脚轮滑动装配在叶片托导轨上的叶片托以及固定端装配在升降平台上的水平液压缸;水平液压缸的活动端连接叶片托,用以驱动叶片托沿叶片托导轨滑动。风机叶片与轮毂组对时使用本实用新型可以避免风机叶片根部摆动,能有效解决采用传统双机抬吊组对时,因螺杆磕碰造成螺杆损伤的问题,进而能保证风机叶片的安装施工质量。

一种建筑内置加固结构

NºPublicación:  CN121760554A 31/03/2026
Solicitante: 
河南文博建设工程有限公司
CN_121760554_PA

Resumen de: CN121760554A

本发明涉及既有构筑物改造的技术领域,特别是涉及一种建筑内置加固结构,其包括烟囱,所述烟囱底部设置有基座,所述烟囱的内部设置有内加固组件,所述烟囱的外部设置有外加固组件,所述烟囱的顶部还设置有风力转动组件,所述外加固组件与烟囱的连接处设置有调节组件,所述烟囱上设置有出光孔,所述调节组件包括稳定套,所述烟囱上设置有限位槽,所述烟囱内中心设置有稳定杆,老工业基地改造为工业遗址景区后,受外部天气的影响,风力转动组件会转动,而随着风力的增大,风力转动组件的转动速度会增加,而风力转动组件的转动、环形灯、挡光套和出光孔的配合,使烟囱上端产生灯光闪烁的效果。

基于多能源协同供电的智能潜油螺杆泵系统及控制方法

NºPublicación:  CN121760945A 31/03/2026
Solicitante: 
北京华晖恒泰能源科技有限公司
CN_121760945_PA

Resumen de: CN121760945A

本发明涉及油田采油设备技术领域,尤其涉及一种将光伏、风力、储能及备用柴油发电协同集成的智能潜油螺杆泵系统及其控制方法,适用于无电网覆盖的偏远油井或绿色低碳示范油田。一种用于离网油田的新能源潜油螺杆泵系统,由光伏、风电、储能、柴油备用四源微电网供电,通过智能微网控制器实现“新能源优先‑储能补充‑柴油保障”的能量调度;双向变频器根据井下压力实时闭环调整潜油螺杆泵转速,使油井液面保持在预定值,保证井下流压最优化,提升油井供液能力,同时确保潜油螺杆泵不会缺液烧泵。

一种基于MR眼镜的风机维修辅助方法

NºPublicación:  CN121764333A 31/03/2026
Solicitante: 
北京优利康运数字科技有限公司
CN_121764333_PA

Resumen de: CN121764333A

本发明属于风机维修技术领域,且公开了一种基于MR眼镜的风机维修辅助方法,在数据初始化阶段校准视线、语音、姿态交互阈值,无需人员频繁切换工具与MR设备,减少注意力分散;在操作引导阶段中,智能工具与MR眼镜实时联动,扭矩偏差超过对应人员等级阈值时,立即语音提示调整值并冻结下一步指引,当心率超出80‑140次/分钟时拆分操作步骤、延长提示时间,既保障高空作业安全,又避免工具使用不当问题;MR眼镜通过摄像头扫描风机结构,标记非标部件改装时间、材质属性,叠加风机SCADA系统实时环境因子生成场景标签,若3次未识别非标部件则触发人工辅助标记,识别结果与历史档案偏差≥30%时弹窗提示确认。

一种基于动态偏差跟踪的风机偏航自动控制方法及系统

NºPublicación:  CN121760884A 31/03/2026
Solicitante: 
湖南五凌电力科技有限公司五凌电力有限公司新能源分公司
CN_121760884_PA

Resumen de: CN121760884A

本发明属于风机控制领域,具体涉及一种基于动态偏差跟踪的风机偏航自动控制方法及系统,方法包括:通过风机配置的传感装置及监控系统,采集实时运行参数;筛选及标准化处理实时运行参数,形成偏航控制分析数据集;采用偏差分解算法分解偏航偏差,得到稳态偏差分量和动态波动偏差分量;将实时运行参数输入功率损失分析模型,输出功率损失敏感度系数,并计算纠偏角,作为动态校正指令;将动态校正指令下发至风机偏航驱动系统,控制机舱按纠偏角调整朝向,并基于机舱载荷数据进行安全监控。本发明解决了传统风机偏航控制因未区分稳态偏差与动态波动偏差,导致偏航控制精度不足、偏航相关功率损失较多的问题。

一种风力发电用风车运维防护装置

NºPublicación:  CN224064473U 31/03/2026
Solicitante: 
江苏御电电力科技有限公司
CN_224064473_U

Resumen de: CN224064473U

本实用新型公开了一种风力发电用风车运维防护装置,包括运维防护机构,运维防护机构包括导向架,导向架U形状设置,且导向架的上端内对称滑动设有导向块,导向块的上端中部固定有轴座,且轴座的上方设有对接环,对接环外表面的下部设有柱状凸起,并套设延伸至轴座的中部内;还包括告警操作机构,告警操作机构包括滑动槽,滑动槽开设在机舵一侧以及前后的上部,且滑动槽内滑动设有滑动块,滑动块外侧的中部设有无线紧急报警器;无线紧急报警器的内侧中部同样设有柱状凸起,并套设延伸至滑动块的外侧中部内。本实用新型可无需拆卸绳索进行多位置的移动,以对风力发电风车进行运维,降低作业风险,提升使用效果,满足所需。

一种风电叶片长途运输车

NºPublicación:  CN224060902U 31/03/2026
Solicitante: 
山东世运专用汽车有限公司
CN_224060902_U

Resumen de: CN224060902U

本实用新型涉及运输车技术领域,公开了一种风电叶片长途运输车,包括运输车结构、固定结构和支撑结构,固定结构和支撑结构分别安装在运输车结构上,运输车结构包括第一车架,固定结构包括底座、支撑座和转盘,支撑座通过底座安装在第一车架的顶端一侧,支撑座的表面设置有环形滑槽,转盘通过滑块和环形滑槽滑动连接,转盘的表面设置有装配孔,转盘的侧壁固定安装手柄。本实用新型通过设置的固定结构,使得装配孔和叶片的螺孔对齐,可实现多方位的精细调整,能够精准地将装配孔与叶片螺孔对齐,避免因对位不准导致的安装困难,提高安装准确性,灵活调整,适应不同姿态、位置的叶片,扩大了运输车对不同叶片的适用性。

一种锁止限位装置及抽拉梁

NºPublicación:  CN224060904U 31/03/2026
Solicitante: 
江苏轲特特种运输机械制造有限公司
CN_224060904_U

Resumen de: CN224060904U

本实用新型属于风电叶片运输车的技术领域,具体涉及一种锁止限位装置及抽拉梁,包括限位销和固定管,所述固定管的管壁上开设有上下贯通的通孔,所述限位销的外壁上对应于通孔位置开设有上下贯通的腰形孔,所述腰形孔和通孔内同时贯穿有螺栓,所述螺栓的两端分别螺帽和螺母锁紧于固定管上并同时轴向移动于腰形孔内,所述限位销靠近腰形孔两侧通过销轴铰接有U型拉板并通过旋转拉动U型拉板、轴向移动于腰形孔内的螺栓与固定管轴向滑动连接。本实用新型更能适用风电叶片运输中抽拉梁之间间隙极小的工况,解决了现有锁止装置因结构、安装复杂及原理差异而难以应用的问题。

风电机组的传动结构

NºPublicación:  CN224064469U 31/03/2026
Solicitante: 
华能吉林新能源开发有限公司通榆分公司
CN_224064469_U

Resumen de: CN224064469U

本申请实施例提供一种风电机组的传动结构,涉及风力发电技术领域。该传动结构包括轴体,呈空心筒状结构,所述轴体分别连接风轮和齿轮箱的传动接口;多个强化筋组,用以固定在所述轴体的内周壁,多个所述强化筋组沿所述轴体的长度方向两两间隔设置。本申请实施例提供的一种风电机组的传动结构,通过轴体的空心筒状结构与沿轴向间隔设置的强化筋组形成了复合抗扭结构,提高了风电机组在极端风况下的可靠性和使用寿命,减少了维护需求,提升了风电机组的整体性能。

风机叶片的健康状态监测方法、系统、设备及介质

NºPublicación:  CN121765422A 31/03/2026
Solicitante: 
上海勘测设计研究院有限公司
CN_121765422_PA

Resumen de: CN121765422A

本发明提供一种风机叶片的健康状态监测方法、系统、设备及介质,所述方法包括:利用柔性叶片上的传感器捕捉关键位置的位移及载荷,作为训练PINN的监督点,在训练过程中,通过优化调整神经网络参数以最小化总损失函数,构建叶片气弹响应的代理模型;利用代理模型求解非线性结构动力学方程,获得柔性叶片在不同工况下的瞬态时历响应;采集传感器的当前时刻数据并输入代理模型,计算柔性叶片全场的载荷与应变分布以重建其运行姿态,并与历史基准状态对比,以实现结构健康监测与评估。本发明通过PINN融合物理模型与数据驱动的双重优化,有效弥合了叶片分析中物理模型简化与实测数据偏差,显著提升了叶片载荷计算健康监测的精度和可靠性。

一种风电机组发电机绕组的热状态预警诊断方法及装置

NºPublicación:  CN121760889A 31/03/2026
Solicitante: 
特变电工新疆新能源股份有限公司
CN_121760889_PA

Resumen de: CN121760889A

本发明公开了一种风电机组发电机绕组的热状态预警诊断方法及装置。该方法包括如下步骤:获取风电机组发电机绕组的历史运行数据和实时运行数据;根据所述历史运行数据和所述实时运行数据,判断风电机组发电机绕组是否存在热状态预警,从而实现对风电机组发电机绕组热状态的预警诊断。所述热状态预警包括发电机u相绕组温度的热状态异常、发电机v相绕组温度的热状态异常、发电机w相绕组温度的热状态异常、发电机u相绕组温升的热状态异常、发电机v相绕组温升的热状态异常及发电机w相绕组温升的热状态异常。该方法能够有效提升发电机绕组的温度预警准确度,降低风电机组发电机绕组的热状态异常的误报和漏报风险。

一种外加电流保护的漂浮式风机基础以及设计方法

NºPublicación:  CN121757329A 31/03/2026
Solicitante: 
三峡新能源阳江发电有限公司上海勘测设计研究院有限公司三峡珠江发电有限公司中国长江三峡集团有限公司广东分公司中国三峡新能源(集团)股份有限公司
CN_121757329_PA

Resumen de: CN121757329A

本发明公开了一种外加电流保护的漂浮式风机基础以及设计方法,包括若干立柱及浮箱,立柱安装固定在浮箱上;还包括外加电流系统,外加电流系统包括若干辅助阳极和参比电极,辅助阳极和参比电极安装在风机基础的外壁;电源装置安装在其中一根立柱上,电源装置的正极通过电缆与各辅助阳极电性连接,电源装置的负极与风机基础电性连接,参比电极通过电缆与电源装置电性连接。本发明能够解决采用牺牲阳极防腐带来的消耗过快、需运维期水下补充焊接安装等问题,以实现漂浮式风机基础全寿命周期的有效防腐保护。

一种传感器漂移自补偿的风电机组状态预测方法和系统

NºPublicación:  CN121765580A 31/03/2026
Solicitante: 
江苏新能海力海上风力发电有限公司
CN_121765580_PA

Resumen de: CN121765580A

本发明公开了一种传感器漂移自补偿的风电机组状态预测方法和系统,属于风电机组运维技术领域。本发明的一种传感器漂移自补偿的风电机组状态预测方法,通过构建传感数据处理模型、传感漂移仿真模型、传感漂移补偿模型、传感融合模型、风电状态预测模型,充分考虑多类传感器的空间关联和漂移非平稳特性,并通过捕获多传感器融合信号序列中的空间依赖关系和时间序列的动态演化特征,得到风电机组状态预测结果,从而可以在多类传感器场景中,准确识别漂移量,生成高可靠的预测输入,因而可以有效提高预测模型的精度。因而本发明可有效提高风电机组数据的利用率,同时具备强兼容性与实时性,为风电机组长期稳定运行提供技术支撑。

一种风电混塔爬梯防坠落安全检修平台

NºPublicación:  CN224064472U 31/03/2026
Solicitante: 
中国电建集团建筑规划设计研究院有限公司中国电建集团北京勘测设计研究院有限公司
CN_224064472_U

Resumen de: CN224064472U

本实用新型涉及安全检修平台技术领域,且公开了一种风电混塔爬梯防坠落安全检修平台,包括底部支撑基座、侧面攀登爬梯、风电混塔、检修平台支撑板,所述底部支撑基座的顶面固定连接有风电混塔,所述风电混塔的侧面固定连接有侧面攀登爬梯,所述风电混塔的外侧固定连接有检修平台支撑板,还包括:护栏高度调节组件,设置于检修平台支撑板的顶部,用于对护栏高度的灵活调节;侧面防坠保护组件,设置于检修平台支撑板的侧面,用于对维修人员进行防坠保护,本实用新型的侧面防坠保护组件,以侧面转动支撑杆等配合,全方位防坠,降低操作风险,适应复杂环境;护栏高度调节组件可按需调高度,提升舒适度与操作灵活性,助力检修人员专注作业。

接油结构及风力发电机组

NºPublicación:  CN224064811U 31/03/2026
Solicitante: 
三一重能股份有限公司
CN_224064811_U

Resumen de: CN224064811U

本申请涉及风力发电技术领域,尤其涉及一种接油结构及风力发电机组。接油结构包括:至少两个支撑件和多个接油件,各支撑件间隔设置,支撑件用于与风电齿轮箱的后底架相连。接油件相对的两侧分别搭设在相邻的两个支撑件上,且相邻的两个接油件相搭接以共同形成油液流道。本申请提供的接油结构及风力发电机组,接油结构安装方便,提高了接油结构的安装效率。

一种风力发电旋转平台

NºPublicación:  CN224064471U 31/03/2026
Solicitante: 
山东能源装备集团中传矿用设备制造有限公司
CN_224064471_U

Resumen de: CN224064471U

本实用新型涉及风力发电技术领域,尤其涉及一种风力发电旋转平台,包括用于提供支撑的安装筒体、处于安装筒体内部的变速箱、以及处于安装筒体的外部且其驱动转杆的动力输出端与变速箱动力输入端连接的风轮,所述风轮的驱动转杆与安装筒体的端壁通过轴承进行转动连接,所述安装筒体的内侧壁上一体成型有与端壁平行的纵向立壁,所述纵向立壁与驱动转杆之间也通过轴承进行转动连接,通过对现有的安装筒体与驱动转杆的连接处进行改进,使得驱动转杆能够进行多点支撑,防止驱动转杆出现挠曲,通过设置纵向立壁与安装筒体的内侧壁转动连接,能够减少安装筒体的端壁所受载荷,防止端壁出现变形的风险。

一种风力发电机偏航制动器安装结构

NºPublicación:  CN224064464U 31/03/2026
Solicitante: 
湖南达立新能源科技有限公司
CN_224064464_U

Resumen de: CN224064464U

本实用新型涉及制动器安装结构技术领域,公开了一种风力发电机偏航制动器安装结构,包括上钳体和下钳体,所述上钳体顶部设置有安装垫块,所述安装垫块顶部设置有薄板,所述上钳体和下钳体之间设置有制动盘,所述上钳体和下钳体内部均固定连接有摩擦片,所述摩擦片与所述制动盘相接触,所述上钳体和下钳体一侧均设置有油压口,所述上钳体和下钳体内部设置有固定组件,所述薄板一侧设置有连接组件。本实用新型中,通过将安装垫块贴合在薄板底部,上钳体和下钳体贴合在安装垫块底部,再用安装螺栓依次穿过薄板、安装垫块、上钳体和下钳体,拧紧螺帽和螺母,实现了保证偏航制动器整体结构稳定,使上钳体和下钳体与制动盘距离上下均匀的效果。

一种海上生产平台零碳供能控制系统及方法

NºPublicación:  CN121769876A 31/03/2026
Solicitante: 
中海石油(中国)有限公司中海石油(中国)有限公司北京研究中心
CN_121769876_PA

Resumen de: CN121769876A

本发明涉及海上生产平台供能领域,公开了一种海上生产平台零碳供能控制系统及方法,系统中包括控制器、连接控制器的储能子系统、压差发电子系统和风电子系统,储能子系统中包括卡诺电池储能和功率型储能。本发明可以构建对海上生产平台的储能发电‑压差发电‑风力发电互补零碳供能,替代平台的柴油发电,实现无人海上二氧化碳封存平台全绿电供应,通过储能子系统实现长时、大容量储能,彻底克服了风能的间歇性,保证了离网环境下能源供应的连续性和稳定性,有效增强海上生产平台可再生能源供电可靠性。

海上风电设备的故障检测方法及装置、存储介质、电子装置

NºPublicación:  CN121760890A 31/03/2026
Solicitante: 
华能辽宁清洁能源有限责任公司中国华能集团清洁能源技术研究院有限公司华能海上风电科学技术研究有限公司
CN_121760890_PA

Resumen de: CN121760890A

本申请公开了一种海上风电设备的故障检测方法,其中,上述方法包括:获取多个海上风电设备在当前时间段内的设备运行参数。接下来,对上述收集的设备运行参数进行相关性分析。通过相关性分析,确定待分析的参数分析组。这个参数分析组包含至少两个海上风电设备在当前时间段的设备运行参数。将确定的参数分析组输入到预先训练好的故障分析模型中。故障分析模型基于输入的参数分析组进行故障分析,输出故障分析结果。基于故障分析结果,确定海上风电设备中存在故障风险的故障风电设备。也就是说,通过相关性分析和故障分析模型,可以实现海上风电设备高效、准确的故障检测。

一种风力发电机组用油冷却器

NºPublicación:  CN121760899A 31/03/2026
Solicitante: 
华能国际电力开发公司吉林通榆风电分公司
CN_121760899_PA

Resumen de: CN121760899A

本发明提供了一种风力发电机组用油冷却器,包括冷却器壳体、进油口、出油口、换热芯体和散热风机,所述进油口和出油口分别设置于冷却器壳体的两端,所述换热芯体设置于冷却器壳体内部,其两端分别与进油口及出油口连通,所述散热风机设置于冷却器壳体的外侧。本申请通过设置螺旋形结构的冷却管和换热芯体外侧平行等距排列的散热片,极大地增加了有效换热面积,再配合散热风机强制对流,显著提升了冷却效率,能够根据润滑油的实时温度自动调节流经冷却器芯体的油量,在油温较低时,油液经旁通管路直接回流,避免过冷,在油温升高时,逐渐增加流经冷却管路的油量,实现智能温控,保证系统始终在最佳温度区间运行。

一种用于海上风电安装船的塔筒外部支撑框架

NºPublicación:  CN121757324A 31/03/2026
Solicitante: 
南通象屿海洋装备股份有限公司
CN_121757324_PA

Resumen de: CN121757324A

本发明涉及船用附件技术领域,具体地说,涉及一种用于海上风电安装船的塔筒外部支撑框架。包括外框架和内固定架,所述外框架两侧架体上设置有限位环,还包括环绕支撑组件和设置于外框架两端的对向缓冲组件。本发明通过环绕支撑组件与对向缓冲机构的协同作用,利用由驱动控制件调节的多个独立环形座,从四侧自适应贴合塔筒的锥度与直径变化,并通过阵列排布的充气球囊进行分区精准充气,动态填充并贴合塔筒外壁间隙,从而在海上发生晃动的情况下,实现对塔筒的环绕柔性支撑与动态力平衡。

齿轮箱离线过滤装置及风力发电装置

NºPublicación:  CN224064806U 31/03/2026
Solicitante: 
远景能源有限公司射阳远景能源科技有限公司
CN_224064806_U

Resumen de: CN224064806U

本申请公开了一种齿轮箱离线过滤装置及风力发电装置。其中,齿轮箱离线过滤装置包括过滤机构、流量控制阀和控制器,过滤机构设有进液口和出液口,进液口通过进液管与齿轮箱的润滑系统连通,出液口通过出液管与齿轮箱的油箱连通,流量控制阀与进液管连通,并设于过滤机构与润滑系统之间,控制器与流量控制阀电连接,用于控制流量控制阀的开闭及流量调节。本申请提供的技术方案,可以在齿轮箱自带润滑系统基础上增设流量控制阀和控制器实现过滤功能,无需安装油泵和电机等部件,简化了系统配置,缩小了安装尺寸,降低了成本。

Method for generating electricity in mine shafts

NºPublicación:  PL453007A1 30/03/2026
Solicitante: 
GLOWNY INST GORNICTWA - PANSTWOWY INST BADAWCZY [PL]
ELEKTROMETAL SPOLKA AKCYJNA [PL]
G\u0141\u00D3WNY INSTYTUT G\u00D3RNICTWA \u2013 PA\u0143STWOWY INSTYTUT BADAWCZY,
ELEKTROMETAL SP\u00D3\u0141KA AKCYJNA

Resumen de: PL453007A1

Sposób wytwarzania energii elektrycznej w szybach kopalnianych, w szczególności w opuszczonych szybach górniczych bądź szybikach między poziomowych likwidowanych zakładów górniczych, z wykorzystaniem masy czynnej zawieszonej na układzie zawieszenia, którą przemieszcza się w pionie pod wpływem grawitacji z wyższej pozycji wysokości do niższej pozycji wysokości, co powoduje napęd generatora i wytworzenie energii elektrycznej, charakteryzuje się tym, że po przemieszczeniu masy czynnej z górnej — pierwszej pozycji wysokości I do niepełnej dolnej — drugiej pozycji wysokości II' pod wpływem siły grawitacji, kierunek transportu masy czynnej odwraca się i masę czynną przemieszcza się z niepełnej dolnej — drugiej pozycji wysokości II' do górnej - pierwszej pozycji wysokości I stosując siłę wyporu, przy czym siła wyporu jest większa od siły ciężkości masy czynnej i przy tym w trakcie sposobu, zmienia się ciężar masy czynnej i przy tym w sposobie, stosuje się wodę (4) kopalnianą.

Installation for generating electricity in mine shafts

NºPublicación:  PL453006A1 30/03/2026
Solicitante: 
GLOWNY INST GORNICTWA - PANSTWOWY INST BADAWCZY [PL]
ELEKTROMETAL SPOLKA AKCYJNA [PL]
G\u0141\u00D3WNY INSTYTUT G\u00D3RNICTWA \u2013 PA\u0143STWOWY INSTYTUT BADAWCZY,
ELEKTROMETAL SP\u00D3\u0141KA AKCYJNA

Resumen de: PL453006A1

Instalacja do wytwarzania energii elektrycznej w szybach kopalnianych, w szczególności w opuszczonych szybach górniczych bądź szybikach między poziomowych likwidowanych zakładów górniczych, obejmująca co najmniej jedną masę czynną przemieszczającą się pod wpływem grawitacji z wyższej pozycji wysokości do niższej pozycji wysokości oraz generator energii elektrycznej sprzężony z tą masą czynną za pomocą cięgła, w celu napędzania go i generowania energii elektrycznej podczas przemieszczania się masy czynnej pod wpływem grawitacji, charakteryzuje się tym, że: masa czynna to zbiornik (1), wykonany z materiału kompozytowego, zlokalizowany w zbiorniku dolnym (2) wody (4) kopalnianej; masa czynna to zbiornik (1) o masie zmiennej, regulowanej dopływem wody (4) kopalnianej; generator energii elektrycznej to generator prądu (8), przynajmniej jeden, z bębnem pędnym sprzężonym z hamulcem manewrowym, z bębnem pędnym napędzanym przynajmniej jedną liną (3), połączony za pomocą sprzęgła poprzez przekładnię, z przynajmniej jednym kołem linowym (7), osadzonym na wale; cięgło to przynajmniej jedna lina nośna (3), połączona ze zbiornikiem (1) i opasająca przynajmniej jedno koło linowe (7), przy czym elementy te, tworzą razem układ zawieszenia zbiornika (1); oraz tym, że zawiera: przynajmniej jeden zbiornik dolny (2), w postaci zbiornika podziemnego, zlokalizowanego na poziomie dolnym - podziemnym, najlepiej w postaci wyrobiska, najle

Condition monitoring and prediction system for wind turbine blades

NºPublicación:  KR20260041956A 30/03/2026
Solicitante: 
주식회사디에어호남대학교산학협력단
KR_20260041956_PA

Resumen de: KR20260041956A

본 발명은 2024년도 교육부의 재원으로 한국연구재단의 지원을 받아 수행된 지자체-대학 협력기반 지역혁신 사업의 결과이다.(2021RIS-002) 본 발명은 드론을 이용하여 터빈 블레이드의 전방에서 비행하면서 블레이드의 표면을 촬영하여 결함을 검사하고, 블레이드에서 발생하는 바람에 의해 드론의 자세를 안정적으로 제어할 수 있는 풍력 터빈 블레이드의 상태 모니터링 및 예측 시스템에 관한 것으로, 본 발명에 따른 풍력 터빈 블레이드의 상태 모니터링 및 예측 시스템은 풍력발전기의 터빈 블레이드 전방에서 비행하는 드론, 상기 드론에 설치되어 상기 터빈 블레이드의 표면을 촬영하는 초고속 카메라, 상기 드론에 설치되며, 상기 드론과 터빈 블레이드 간의 거리를 측정하여 상기 드론이 설정된 거리에서 비행하면서 촬영이 이루어질 수 있도록 하는 LRF 센서부 및 상기 드론에 설치되며 상기 터빈 블레이드로부터 불어오는 바람에 대향되는 방향으로 추진력을 발생시켜 상기 터빈 블레이드에 의해 불어오는 바람에 대하여 자세를 유지할 수 있도록 제어하는 보조추진기를 구비한다.

洋上発電エネルギーの貯蔵媒体を回収する方法及びシステム

NºPublicación:  JP2026054986A 30/03/2026
Solicitante: 
トヨタ自動車株式会社
JP_2026054986_A

Resumen de: US20260077836A1

In a method for transferring a storage medium of power generation energy loaded by a power generation float to a collection base, a power generation float is connected to both sides of a deck part, a power generation float is moved to a collection base, a deck part straddles a long bank projecting on a water surface along a water channel through which a hull can pass along a quay wall of a collection base, a power generation float is anchored in a state where one of the hulls enters a water channel, a hull on at least one side of the deck part is separated from the deck part, and a storage medium capable of storing energy is connected on a side where the hull of the deck part is separated, and the float leaves with the hulls connected to both sides of the deck part.

System for supplying hybrid regenerated power source using multiple sensors

NºPublicación:  KR20260042147A 30/03/2026
Solicitante: 
한국전력공사
KR_20260042147_PA

Resumen de: KR20220053724A

Disclosed is a hybrid renewable power supply system which implements a comprehensive monitoring network for transmission lines and disaster management by utilizing infrastructure such as optical fiber ground wires (OPGW) and transmission towers. The hybrid renewable power supply system comprises: a solar panel block installed on a tower and generating solar power by receiving sunlight; a wind power generation block installed on the tower and producing wind power using wind power; a hybrid power collecting part installed on the tower and collecting renewable power composed of the solar power and the wind power; and a supply part installed on the tower and receiving the renewable power to supply the same to a load.

電力ストレージシステム

NºPublicación:  JP2026054810A 30/03/2026
Solicitante: 
トヨタ自動車株式会社
JP_2026054810_A

Resumen de: US20260081431A1

An electric power storage system is provided with: an electric power supplier that is configured to supply at least a portion of electric power generated by repeatedly alternating unwinding and winding of a tether that moors a flying body to an electric power storage unit, which stores electric power in a predetermined manner, and an electric power holding unit, which is capable of charging and discharging electric power; and a controller that is configured to control the electric power holding unit so that electric power is supplied from the electric power holding unit to the electric power storage unit during winding the tether.

매달린 물체의 움직임을 보상하기 위한 방법 및 시스템

Nº publicación: KR20260042067A 30/03/2026

Solicitante:

델타래보러토리즈홀딩비브이

KR_20260042067_PA

Resumen de: EP1000000A1

The invention relates to an apparatus (1) for manufacturing green bricks from clay for the brick manufacturing industry, comprising a circulating conveyor (3) carrying mould containers combined to mould container parts (4), a reservoir (5) for clay arranged above the mould containers, means for carrying clay out of the reservoir (5) into the mould containers, means (9) for pressing and trimming clay in the mould containers, means (11) for supplying and placing take-off plates for the green bricks (13) and means for discharging green bricks released from the mould containers, characterized in that the apparatus further comprises means (22) for moving the mould container parts (4) filled with green bricks such that a protruding edge is formed on at least one side of the green bricks.

traducir