Ministerio de Industria, Turismo y Comercio LogoMinisterior
 

Tecnología para la monitorización y control de Diabetes

Resultados 133 resultados
LastUpdate Última actualización 25/11/2025 [06:55:00]
pdfxls
Solicitudes publicadas en los últimos 60 días / Applications published in the last 60 days
Resultados 1 a 25 de 133 nextPage  

SENSOR APPLICATOR ASSEMBLY FOR CONTINUOUS GLUCOSE MONITORING SYSTEM

NºPublicación:  ES3042625T3 21/11/2025
Solicitante: 
I SENS INC
I-sens, Inc
AU_2025223826_A1

Resumen de: AU2025223826A1

A sensor applicator assembly for a continuous glucose monitoring system is provided. The sensor applicator assembly is assembled as a single unitary product in which a sensor module measuring a blood glucose level is preinstalled in an applicator, such that the sensor module is ejected by an operation of the applicator to be attached to a human body. The applicator includes a main container and a plunger body fixedly coupled to a first position within the main container. The plunger body is configured to be decoupled from the first position and to be moved to a second position in an injecting direction. The sensor module is coupled to one end portion of the plunger body to be moved integrally with the plunger body as the plunger body being moved toward the second position. An adhesive layer is attached to a lower surface of the sensor module to attach the sensor module to the human body, and is configured to be moved together with the sensor module as the plunger body being moved toward the second position. A sensor applicator assembly for a continuous glucose monitoring system is provided. The sensor applicator assembly is assembled as a single unitary product in which a sensor module measuring a blood glucose level is preinstalled in an applicator, such that the sensor module is ejected by an operation of the applicator to be attached to a human body. The applicator includes a main container and a plunger body fixedly coupled to a first position within the main container. T

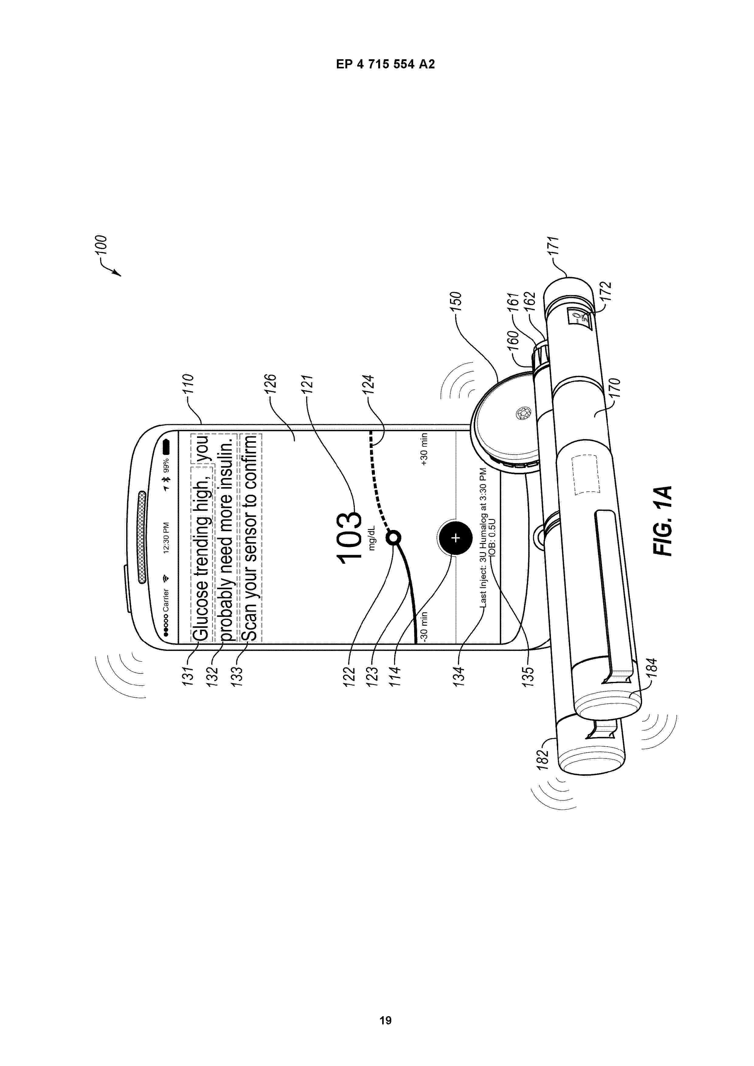
MEDICATION DELIVERY DEVICES, SYSTEMS AND METHODS

NºPublicación:  US2025352731A1 20/11/2025
Solicitante: 
BIGFOOT BIOMEDICAL INC [US]
BIGFOOT BIOMEDICAL, INC
JP_2025522649_PA

Resumen de: US2025352731A1

Medication delivery methods, devices and systems are provided, the medication delivery device includes user interface elements, control circuitry, and a memory. The method includes receiving analyte measurement data of a user, presenting information related to the analyte measurement data to the user, and determining an intended dose of medication based on at least one of the analyte measurement data, optionally, therapeutic relevant conditions, therapy parameters, or a calculated insulin-on-board (IOB) value. When the user is queried to indicate that the user is ready for the delivery without presenting the intended dose on any of the one or more user interface elements of the medication delivery device, the intended dose is automatically delivered after receiving the user's indication.

NON-INVASIVE MONITORING SYSTEM

NºPublicación:  AU2025259892A1 20/11/2025
Solicitante: 
AERBETIC INC
Aerbetic, Inc
AU_2025259892_A1

Resumen de: AU2025259892A1

(57) Abstract: A wearable device for non-invasive monitoring of the presence, amount, and/or concentration of an analyte in a sample from a user of the device is described. The analyte is selected to be indicative of or related to a physiological status of a user. Relevant physiological status include hypoglycemia, infection, respiratory infection, urinary infection, gastrointestinal infection, obesity, diabetes, type I diabetes and type II diabetes. (57) Abstract: A wearable device for non-invasive monitoring of the presence, amount, and/or concentration of an analyte in a sample from a user of the device is described. The analyte is selected to be indicative of or related to a physiological status of a user. Relevant physiological status include hypoglycemia, infection, respiratory infection, urinary infection, gastrointestinal infection, obesity, diabetes, type I diabetes and type II diabetes. ct c t

Apparatus for Optimizing A Patient's Insulin Dosage Regimen

NºPublicación:  US2025356983A1 20/11/2025
Solicitante: 
HYGIEIA INC [US]
Hygieia, Inc
US_2024212819_PA

Resumen de: US2025356983A1

An apparatus for optimizing a patient's insulin dosage regimen over time, comprising: at least a first computer-readable memory for storing data inputs corresponding at least to one or more components in a patient's present insulin dosage regimen and the patient's blood-glucose-level measurements determined at a plurality of times; a processor operatively connected to the at least first computer-readable memory, the processor programmed at least to determine from the data inputs corresponding to the patient's blood-glucose-level measurements determined at a plurality of times whether and by how much to vary at least one of the one or more components of the patient's present insulin dosage regimen in order to maintain the patient's future blood-glucose-level measurements within a predefined range; and a display operative to display information corresponding to at least the patient's present insulin dosage regimen.

COMPOSITIONS AND METHODS FOR TREATING POSTURAL TACHYCARDIA SYNDROME

NºPublicación:  US2025353905A1 20/11/2025
Solicitante: 
HELICORE BIOPHARMA INC [US]
HELICORE BIOPHARMA, INC
JP_2025524736_A

Resumen de: US2025353905A1

The present invention provides compositions and methods for treating Postural orthostatic tachycardia syndrome (POTS). In some embodiments, the POTS is associated with hypermobility spectrum disorders/hypermobile Ehlers-Danlos syndrome (HSD/hEDS). In various embodiments, the invention relates to administering a composition comprising an effective amount of a molecular antagonist of Glucose-dependent Insulinotropic Polpeptide (GIP) to a patient in need thereof. In various embodiments, the molecular antagonist can be provided in a form for convenient self-administration upon the onset of symptoms or to prevent or reduce postprandial POTS symptoms, or in other embodiments, is administered at a set frequency.

MODELING TARGETS OF CONTINUOUS GLUCOSE MONITORING METRICS FOR GLYCEMIC CONTROL

NºPublicación:  US2025352092A1 20/11/2025
Solicitante: 
MEDTRONIC MINIMED INC [US]
MEDTRONIC MINIMED, INC
CN_120977485_PA

Resumen de: US2025352092A1

Disclosed herein are techniques for blood glucose management. In one example, a processor-implemented method includes receiving an input of a target value of a first continuous glucose monitoring (CGM) metric, estimating a target value of at least a second CGM metric that corresponds to the target value of the first CGM metric, and providing the estimated target value of at least the second CGM metric to a user. In some examples, the processor-implemented method also includes determining that the estimated target value of at least the second CGM metric meets a predetermined criterion, and configuring an insulin delivery system based on the target value of the first CGM metric.

SYSTEMS AND METHODS FOR CONTINUOUS GLUCOSE MONITORING OUTCOME PREDICTIONS

NºPublicación:  AU2024252061A1 20/11/2025
Solicitante: 
WELLDOC INC
WELLDOC, INC
AU_2024252061_PA

Resumen de: AU2024252061A1

Methods and devices include predicting future glucose and engagement levels for a user by receiving the user's glucose levels collected by a continuous glucose monitoring (CGM) device over a time period, receiving engagement data associated with the user, wherein the engagement data are associated with the user's medication intake, diet, physical activity, laboratory results, and education activity, determining a first glycemia risk index (GRI) value, determining, using a machine learning model and responsive to the user's glucose levels and the engagement data collected over the time period, one or more predictions for future glucose levels for the user including a prediction that a future GRI value is greater than or less than the first GRI value, and determining, using the machine learning model and responsive to the user's engagement data collected over the time period, one or more predictions for future engagement levels.

HOUSING FOR AN INTEGRATED GLUCOSE MONITORING SYSTEM

NºPublicación:  US2025352094A1 20/11/2025
Solicitante: 
TULA HEALTH INC [US]
Tula Health, Inc

Resumen de: US2025352094A1

An integrated glucose monitoring system comprising a glucometer and mobile device housed in a housing. The glucometer includes a measurement component to receive a blood glucose test strip containing a sample of blood of an individual, and a port to transmit the blood glucose measurement to a mobile device. The mobile device communicatively and physically coupled to the glucometer. The mobile device includes a port configured to couple with the glucometer, a communication component to receive the blood glucose measurement from glucometer, a power management component to transmit power to the glucometer, and another port to receive power from a power source to power the mobile device. The housing is to house the glucometer and the mobile device to form a single solitary glucose monitoring system.

NEUROMODULATION TO TARGET GLUCOSE TRANSPORTER AND/OR INCRETIN PATHWAYS

NºPublicación:  US2025352127A1 20/11/2025
Solicitante: 
GE PREC HEALTHCARE LLC [US]
GE Precision Healthcare LLC
JP_2025011126_PA

Resumen de: US2025352127A1

The subject matter of the present disclosure generally relates to techniques for neuromodulation that include applying energy (e.g., ultrasound energy) into the tissue to cause a change in a glucose transporter pathway molecule and/or an incretin pathway molecule. In one embodiment, the neuromodulation is performed as a treatment of a metabolic disorder.

BLOOD GLUCOSE LEVEL MEASUREMENT DEVICE AND BLOOD GLUCOSE LEVEL MEASUREMENT METHOD

NºPublicación:  WO2025239063A1 20/11/2025
Solicitante: 
HAMAMATSU PHOTONICS K K [JP]
\u6D5C\u677E\u30DB\u30C8\u30CB\u30AF\u30B9\u682A\u5F0F\u4F1A\u793E
WO_2025239063_PA

Resumen de: WO2025239063A1

This blood glucose level measurement device comprises: a light output unit that outputs light; a light detection unit that detects light that has been output by the light output unit and passed through a living body; a temporal phase difference calculation unit that, on the basis of the detection result of the light detection unit, calculates the temporal phase difference between an oxygenated hemoglobin waveform pertaining to the oxygenated hemoglobin concentration of the blood of the living body and a deoxygenated hemoglobin waveform pertaining to the deoxygenated hemoglobin concentration of the blood of the living body; a blood glucose level calculation unit that calculates the blood glucose level of the living body on the basis of the calculated temporal phase difference; a level of similarity estimation unit that estimates the level of waveform similarity between the oxygenated hemoglobin waveform and the deoxygenated hemoglobin waveform; and a reliability estimation unit that estimates the reliability of the calculated blood glucose level. The reliability estimation unit estimates that the reliability becomes smaller as the level of waveform similarity becomes smaller.

CONTINUOUS BLOOD GLUCOSE MEASUREMENT APPARATUS

NºPublicación:  US2025352093A1 20/11/2025
Solicitante: 
I SENS INC [KR]
I-SENS, INC
ES_3038405_T3

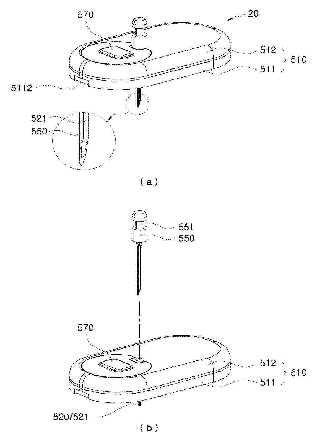
Resumen de: US2025352093A1

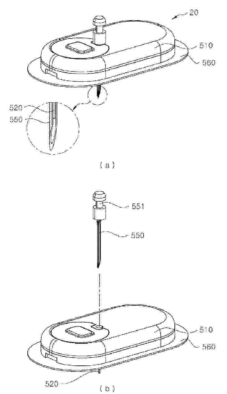
The present disclosure relates to a continuous glucose monitoring device. The present disclosure provides a continuous glucose monitoring device wherein: a body attachment unit is manufactured in the state in which the body attachment unit is assembled in an applicator, and thus a user's additional work for attaching the body attachment unit to the body is minimized and the body attachment unit can be attached to the body by simply operating the applicator; in particular, a wireless communication chip is disposed in the body attachment unit so as to communicate with an external terminal, and thus simple and convenient use can be achieved without any additional work for connection of a separate transmitter and maintenance and management can also be easily performed; and the monitoring operation is started by the user's manipulation after the body attachment unit is attached to the body, and thus the user can adjust the operation start time to an appropriate point as necessary and the operation can be started in a stabilized state so as to enable more accurate glucose monitoring.

CONTINUOUS BLOOD GLUCOSE MEASUREMENT APPARATUS

NºPublicación:  US2025352095A1 20/11/2025
Solicitante: 
I SENS INC [KR]
I-SENS, INC
ES_3036439_T3

Resumen de: US2025352095A1

The present disclosure relates to a continuous blood sugar measuring device, and provides a continuous blood sugar measuring device which is capable of minimizing additional work of a user in order to attach a body attachment unit, by manufacturing the body attachment unit to be assembled inside an applicator so that the body attachment unit can be attached to the body simply by operating the applicator and, particularly: communicating with an external terminal by providing a wireless communication chip in the body attachment unit so that simple and convenient use is possible and maintenance can easily be performed without the additional work of connecting a separate transmitter; initiating operation by a manipulation of the user, after attaching the body attachment unit to the body, so that an operation initiation time can be adjusted to a suitable time according to the need of the user; and initiating operation in a stabilized state to enable a more accurate measurement of blood sugar.

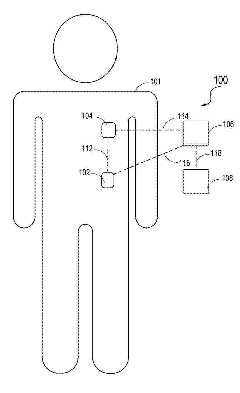
CLOSED-LOOP BLOOD GLUCOSE CONTROL SYSTEMS AND METHODS

NºPublicación:  US2025352726A1 20/11/2025
Solicitante: 
DIABELOOP [FR]
DIABELOOP
EP_4651145_PA

Resumen de: US2025352726A1

A control device (30) for determining a recommendation value of a control parameter of an insulin infusion device (20).

SENSOR OR CANULA INSERTION PRE-TREATEMENT APPARATUS, METHOD AND SYSTEM

NºPublicación:  US2025352737A1 20/11/2025
Solicitante: 
CAMERON MICHAEL [US]
Cameron Michael

Resumen de: US2025352737A1

A device and product to prepare and numb the skin of a user prior to the insertion of a sensor or canula under the skin. The invention is an applicator and one or more products dispensed thereby or disposed or positioned thereon, the applicator operable to apply a first product and in some cases, a second product, to the skin. The applicator is further operable to dry the skin so as to allow an adhesive backing of a device to be attached to the skin. Preferably, the invention is used to prepare and numb the skin prior to receiving a sensor from a continuous glucose monitor (CGM) or a canula from a insulin pump.

System, device and method of dynamic glucose profile response to physiological parameters

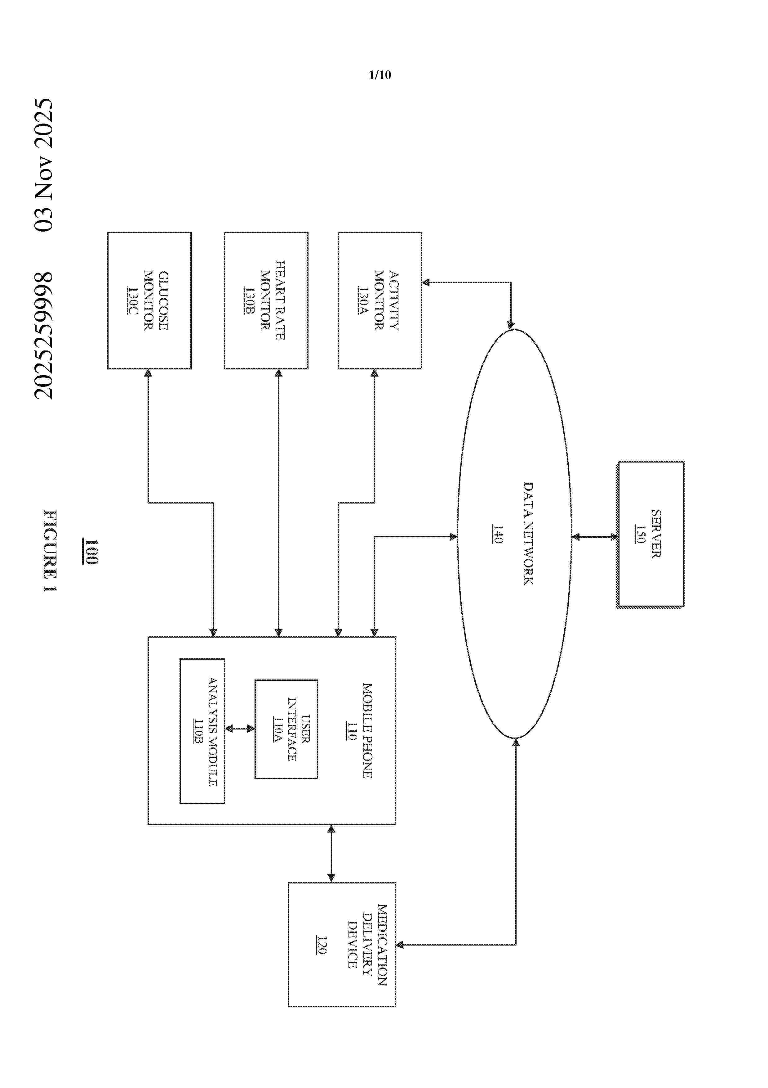
NºPublicación:  AU2025259998A1 20/11/2025
Solicitante: 
ABBOTT DIABETES CARE INC
Abbott Diabetes Care Inc
AU_2025259998_A1

Resumen de: AU2025259998A1

Method, device and system for providing consistent and reliable glucose response information to physiological changes and/or activities is provided to improve glycemic control and health management. Method, device and system for providing consistent and reliable glucose response information to physiological changes and/or activities is provided to improve glycemic control and health management. ov o v

MODELING TARGETS OF CONTINUOUS GLUCOSE MONITORING METRICS FOR GLYCEMIC CONTROL

NºPublicación:  EP4651146A1 19/11/2025
Solicitante: 
MEDTRONIC MINIMED INC [US]
Medtronic MiniMed, Inc
EP_4651146_PA

Resumen de: EP4651146A1

Disclosed herein are techniques for blood glucose management. In one example, a processor-implemented method includes receiving an input of a target value of a first continuous glucose monitoring (CGM) metric, estimating a target value of at least a second CGM metric that corresponds to the target value of the first CGM metric, and providing the estimated target value of at least the second CGM metric to a user. In some examples, the processor-implemented method also includes determining that the estimated target value of at least the second CGM metric meets a predetermined criterion, and configuring an insulin delivery system based on the target value of the first CGM metric.

MEDICAL DEVICE DATA PROCESSING AND COMMUNICATION METHODS AND SYSTEMS

NºPublicación:  EP4649888A2 19/11/2025
Solicitante: 
ABBOTT DIABETES CARE INC [US]
Abbott Diabetes Care Inc
EP_4649888_PA

Resumen de: EP4649888A2

Methods and devices to monitor an analyte in body fluid are provided. Embodiments include continuous or discrete acquisition of analyte related data from a transcutaneously positioned in vivo analyte sensor automatically or upon request from a user. The detection and/or monitoring of glucose levels or other analytes, such as lactate, oxygen, AIC, or the like, in certain individuals is vitally important to their health. For example, the monitoring of glucose is particularly important to individuals with diabetes.

System and method for non-invasive blood glucose monitoring

NºPublicación:  US12471808B1 18/11/2025
Solicitante: 
UNIV SOUTH FLORIDA [US]
University of South Florida
US_12471808_PA

Resumen de: US12471808B1

A system and method for continuous glucose monitoring (CGM) of blood in a blood vessel of a patient using a non-invasive sensor composed of a patch antenna operating in the Industrial, Scientific and Medical (ISM) Radio band (5.725 GHz-5.875 GHz). The device determines the blood glucose concentration of the blood in the blood vessel based on the measured shift of the resonant frequency of the non-invasive antenna patch sensor. A radio frequency (RF) synthesizer is used to drive the patch antenna with a fraction of its output coupled to both the antenna and receiver through a directional coupler. In this approach both the transmitted (FWD) and received (REV) power are processed, by demodulating logarithmic amplifiers, which convert the RF signals to corresponding voltages for downstream processing. The resulting voltages are then fed into a microcontroller and the measured shift in resonant frequency is converted to a real-time glucose concentration.

GLUCOSE MEASUREMENT PREDICTIONS USING STACKED MACHINE LEARNING MODELS

NºPublicación:  US2025344967A1 13/11/2025
Solicitante: 
DEXCOM INC [US]
Dexcom, Inc
JP_2023529261_PA

Resumen de: US2025344967A1

Glucose measurement and glucose-impacting event prediction using a stack of machine learning models is described. A CGM platform includes stacked machine learning models, such that an output generated by one of the machine learning models can be provided as input to another one of the machine learning models. The multiple machine learning models include at least one model trained to generate a glucose measurement prediction and another model trained to generate an event prediction, for an upcoming time interval. Each of the stacked machine learning models is configured to generate its respective output when provided as input at least one of glucose measurements provided by a CGM system worn by the user or additional data describing user behavior or other aspects that impact a person's glucose in the future. Predictions may then be output, such as via communication and/or display of a notification about the corresponding prediction.

MANAGEMENT PROCESS FOR INSULIN THERAPY USING REINFORCEMENT LEARNING AND THERAPY ESCALATION PATHWAYS

NºPublicación:  AU2024252324A1 13/11/2025
Solicitante: 
BIGFOOT BIOMEDICAL INC
BIGFOOT BIOMEDICAL, INC
AU_2024252324_PA

Resumen de: AU2024252324A1

A method of therapy escalation for patients with diabetes includes receiving glucose data of a user from an in vivo glucose monitoring device, receiving first therapy information of a first therapy, wherein the first therapy includes basal insulin, calculating one or more glucose metrics based on the received glucose data, titrating a dose of the basal insulin based on the one or more glucose metrics, and determining overbasalization based on one or more of the glucose data and the first therapy information. Advantageously the system can regularly monitor glucose control of a user, detect overbasalization, provide frequent therapy intervention and adjustment, decrease a duration of intervention, and increase user adherence, outcomes, and satisfaction.

NONINVASIVE OPTICAL SYSTEM AND METHOD FOR MEASURING HEMOGLOBIN A1C AND OTHER BLOOD ANALYTES

NºPublicación:  US2025344969A1 13/11/2025
Solicitante: 
ALLEN JR JOSEPH DAVID [US]
Allen, JR. Joseph David

Resumen de: US2025344969A1

A noninvasive system and method estimate hemoglobin A1c, glucose, lipids, and other blood analytes without requiring a blood sample. The portable device uses diffuse reflectance spectroscopy and optical sensing across various wavelengths to collect data from the user's skin, interstitial fluid, saliva, sweat, tear fluid, or exhaled air. Machine learning algorithms analyze the optical data to estimate blood analyte levels, which are displayed on the device or synced with a software application. The system securely transmits data to the user's electronic health record for integration and remote monitoring. The invention encompasses FDA-approved, CE-marked, and non-FDA-approved devices, including key components, digital health features, and various medical applications.

Methods Of Treating Diabetes

NºPublicación:  AU2025248709A1 13/11/2025
Solicitante: 
ELI LILLY AND COMPANY
ELI LILLY AND COMPANY
AU_2025248709_A1

Resumen de: AU2025248709A1

Described herein are doses and dosing regimens comprising determining and administering doses of long-acting insulin receptor agonists suitable for once-weekly dosing, such as Weekly Basal Insulin-Fc (BIF). Described herein are doses and dosing regimens comprising determining and administering doses of long-acting insulin receptor agonists suitable for once-weekly dosing, such as Weekly Basal Insulin-Fc (BIF). ct c t

OPTIONAL SENSOR CALIBRATION IN CONTINUOUS GLUCOSE MONITORING

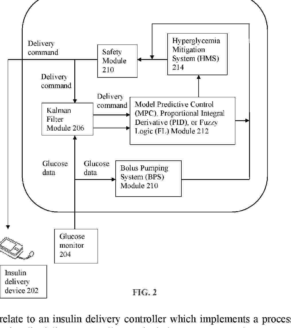
NºPublicación:  US2025344973A1 13/11/2025
Solicitante: 
MEDTRONIC MINIMED INC [US]
Medtronic MiniMed, Inc
US_2022095964_A1

Resumen de: US2025344973A1

A method for optional external calibration of a calibration-free glucose sensor uses values of measured working electrode current (Isig) and EIS data to calculate a final sensor glucose (SG) value. Counter electrode voltage (Vcntr) may also be used as an input. Raw Isig and Vcntr values may be preprocessed, and low-pass filtering, averaging, and/or feature generation may be applied. SG values may be generated using one or more models for predicting SG calculations. When an external blood glucose (BG) value is available, the BG value may also be used in calculating the SG values. A SG variance estimate may be calculated for each predicted SG value and modulated, with the modulated SG values then fused to generate a fused SG. A Kalman filter, as well as error detection logic, may be applied to the fused SG value to obtain a final SG, which is then displayed to the user.

SYSTEMS, DEVICES AND METHODS FOR AUTOMATED INSULIN DELIVERY DEVICE INCLUDING VOICE-COIL ACTUATION

NºPublicación:  WO2025233918A1 13/11/2025
Solicitante: 
TINGO MEDICAL LTD [IL]
TINGO MEDICAL LTD
WO_2025233918_PA

Resumen de: WO2025233918A1

The present disclosure is directed to automated-insulin-delivery (AID) systems, devices and methods. Specifically, in some aspects, an AID device/patch includes a housing having an adhesive tape, an insulin pump including a single lumen cannula, a glucose sensor including a flat probe, a processor, and an automated-insulin-delivery algorithm (AIDA). In some embodiments, the housing is configured to be adhered the skin of a user via the adhesive tape and house the insulin pump, glucose sensor, and AIDA, the probe at least partially resides within the cannula, and the AIDA is configured as computer instructions operating on the processor causing the processor to control insulin delivery by the insulin pump according to glucose levels determined in subcutaneous tissue based on signals received from the glucose sensor.

COMBINATION SODIUM-GLUCOSE COTRANSPORTER INHIBITOR (SGLTI) INSULIN THERAPY FOR GLYCEMIC CONTROL IN TYPE 1 DIABETES

Nº publicación: US2025345512A1 13/11/2025

Solicitante:

UNIV OF VIRGINIA PATENT FOUNDATION [US]
University of Virginia Patent Foundation

WO_2023177654_PA

Resumen de: US2025345512A1

Provided are a method, system, and computer-readable medium for optimizing glycemic control of a diabetic subject having Type 1 diabetes through co-administration of sodium-glucose cotransporter inhibitors (SGLTi) and insulin. Such co-administration can be effected by, for example, regulating one or more administration reactions in view of analyses of continuous glucose monitoring (CGM) data that can be indicative of at least the potential for one or more glycemic events including hypoglycemia and hyperglycemia. The aforementioned regulation can occur according to a balancing of insulin infusion and provisioning of SGLTi so as to avoid the occurrence of either of such events while, at the same time, not promoting an instance of diabetic ketoacidosis (DKA).

traducir