Ministerio de Industria, Turismo y Comercio LogoMinisterior
 

Alerta

Resultados 139 resultados
LastUpdate Última actualización 12/10/2025 [06:55:00]
pdfxls
Solicitudes publicadas en los últimos 60 días / Applications published in the last 60 days
previousPage Resultados 25 a 50 de 139 nextPage  

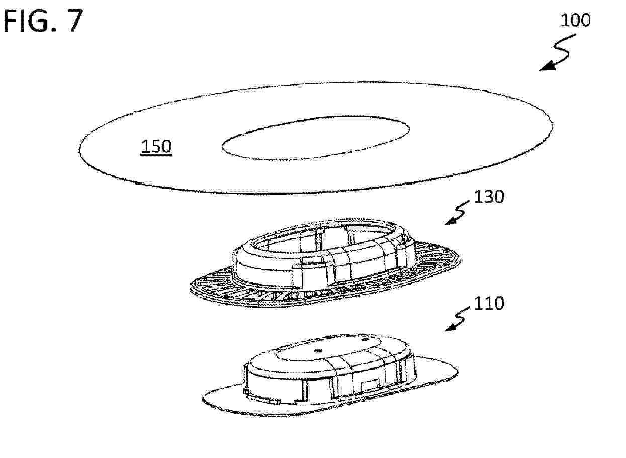
USE OF A VARIABILITY METRIC OF GLUCOSE LEVEL VALUES TO IDENTIFY A SLEEPING TIME FRAME FOR A USER OF A MEDICAMENT DELIVERY DEVICE

NºPublicación:  US2025302381A1 02/10/2025
Solicitante: 
INSULET CORP [US]
INSULET CORPORATION
US_2025302381_A1

Resumen de: US2025302381A1

A variability metric of glucose level values of a user is calculated for each candidate sleeping time frame in a data set of glucose level values of the user obtained over time for a specified period for each day of multiple days. Each of the candidate sleeping time frames may represent a duration in which the user may have been sleeping. Execution of the programming instructions further may cause the processor to determine a mean or median of the variability metric of the glucose level values in the data set for each candidate sleeping time frame across the days in the specified period, designate a selected one of the candidate sleeping time frames that has the lowest mean or median variability metric as the sleeping time frame, and configure the pump to deliver a sleeping basal rate of the medicament for the designated sleeping time frame.

DEVICE FOR NON-INVASIVELY CHECKING A PERSON'S BLOOD GLUCOSE CONCENTRATION

NºPublicación:  WO2025206971A1 02/10/2025
Solicitante: 
TIKHONENKO OLEG OLEGOVICH [RU]
\u0422\u0418\u0425\u041E\u041D\u0415\u041D\u041A\u041E, \u041E\u043B\u0435\u0433 \u041E\u043B\u0435\u0433\u043E\u0432\u0438\u0447

Resumen de: WO2025206971A1

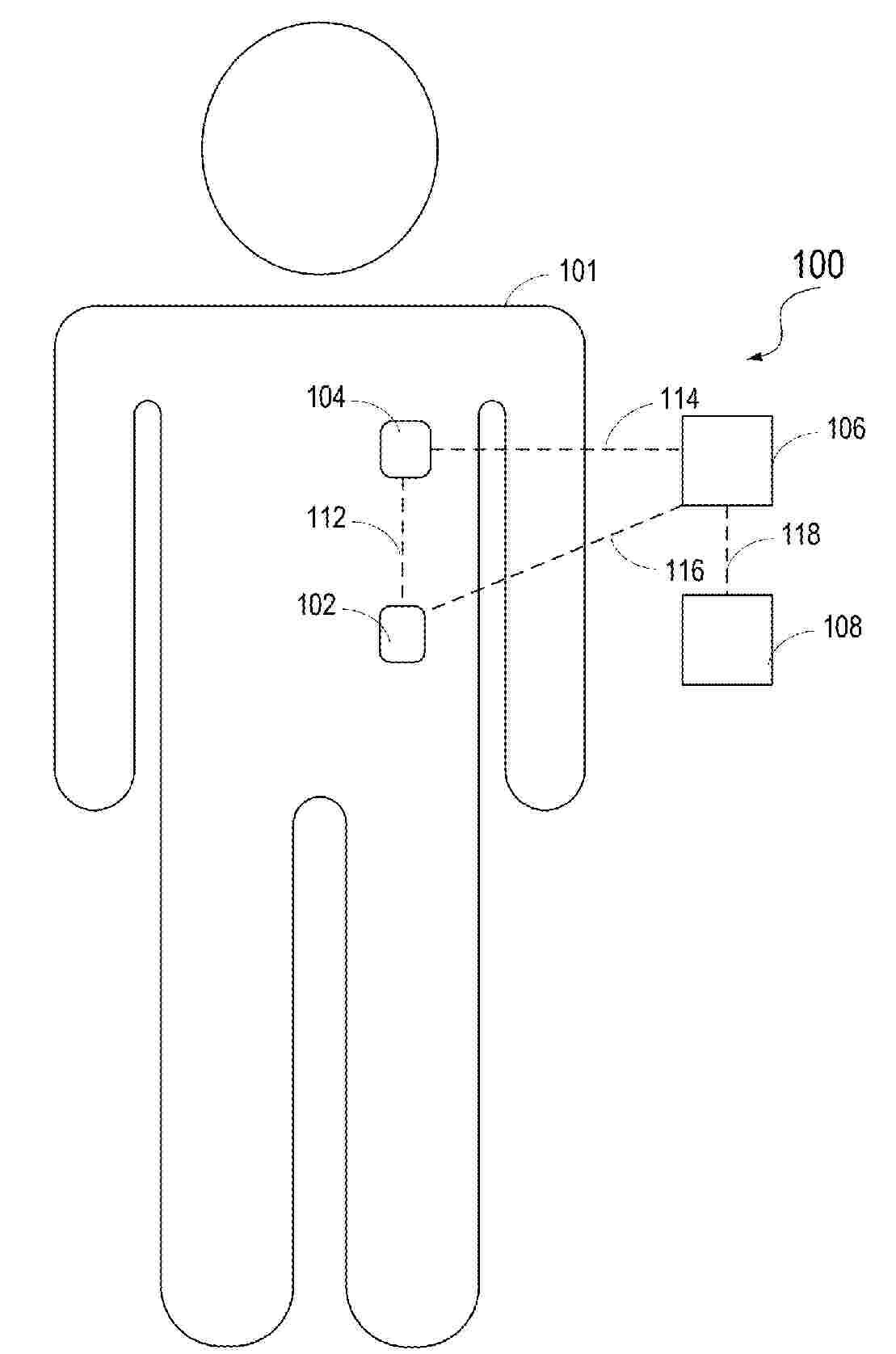
The invention relates to medicine and technology, and more particularly to non-invasively detecting a change in a person's blood glucose concentration, and can be used in the creation of devices for this purpose, as well as in the creation of socially-oriented systems for the early diagnosis of diabetes and associated diseases, in the form of a pendant. The aim of the invention is to improve the operational efficiency of a device for non-invasively checking a person's blood glucose concentration by reducing the set-up and configuration time required. This aim is achieved in that the claimed device for non-invasively checking a person's blood glucose concentration comprises a housing, a control and display module disposed in the housing, a sensor, a radiation emitter and a receiver for receiving radiation reflected from a person's tissues, the emitter and the receiver being disposed in the sensor and the sensor being disposed on the lower end face of the housing and being pressable against a pulse point. The technical results of the invention include a simplified design, the possibility of visually checking the correct positioning of the sensor on a pulse point, and the possibility of keeping the device in a working state using one hand while simultaneously operating a touchscreen using a digit of the same hand.

IN-VIVO BLOOD GLUCOSE MONITORING DEVICE

NºPublicación:  WO2025200357A1 02/10/2025
Solicitante: 
JIANGSU YUWELL POCTECH BIOTECHNOLOGY CO LTD [CN]
JIANGSU YUEKAI BIOTECHNOLOGY CO LTD [CN]
ZHEJIANG POCTECH CO LTD [CN]
\u6C5F\u82CF\u9C7C\u8DC3\u51EF\u7ACB\u7279\u751F\u7269\u79D1\u6280\u6709\u9650\u516C\u53F8,
\u6C5F\u82CF\u8DC3\u51EF\u751F\u7269\u6280\u672F\u6709\u9650\u516C\u53F8,
\u6D59\u6C5F\u51EF\u7ACB\u7279\u533B\u7597\u5668\u68B0\u6709\u9650\u516C\u53F8
CN_118177800_PA

Resumen de: WO2025200357A1

Disclosed in the present application is an in-vivo blood glucose monitoring device, which comprises a housing, a limiting sleeve, and a needle-assist unit. The housing is provided with a first end and a second end which are oppositely arranged along a first direction. The limiting sleeve is provided with a limiting channel extending along the first direction. A puncture unit is used for inserting a sensor part into the host's body. The needle-assist unit comprises at least two clamping parts. The clamping parts are located on the outer sides of the puncture unit to limit movement of the puncture unit, and the clamping parts are located in the limiting channel and are movable along the first direction. When the clamping parts move to a release position, the clamping parts release the puncture unit, such that the puncture unit moves along a second direction. The second direction is opposite to the first direction. The clamping parts clamp and release the puncture unit from the outer side, thereby driving the puncture unit while limiting and triggering a needle withdrawal motion. This design simplifies the structural configuration of both the needle-assist unit and the puncture unit, reduces the production difficulty, improves the production efficiency, and ensures the smoother switching between needle insertion and withdrawal without any sense of jamming.

USE OF A CONTINUOUS ANALYTE MONITORING SYSTEM FOR IMPROVED MONITORING

NºPublicación:  WO2025207272A1 02/10/2025
Solicitante: 
ABBOTT DIABETES CARE INC [US]
ABBOTT DIABETES CARE INC
US_2025299818_PA

Resumen de: WO2025207272A1

Disclosed herein are system, method, and computer program product embodiments to an improved alert and recommendation system for reducing patient readmission via the detection and treatment of patient conditions based on continuous analyte data. The disclosed techniques utilize analyte data, such as lactate, glucose, and creatinine, provided from a continuous analyte sensor to predict patient outcomes and generate recommendations for reducing patient readmission in a hospital and home setting. The disclosed system allows for early and noninvasive prediction of patient outcomes and the subsequent generation of recommended actions to facilitate patient intervention with the goal of reducing readmission of the patient.

SYSTEMS AND METHODS FOR MEDICATION DOSING AND TITRATION

NºPublicación:  WO2025208053A2 02/10/2025
Solicitante: 
ABBOTT DIABETES CARE INC [US]
HOVORKA ROMAN
ABBOTT DIABETES CARE INC,
HOVORKA, Roman
US_2025308666_A1

Resumen de: WO2025208053A2

Dose guidance systems and methods for titrating medication doses are described. The dose guidance system may receive glucose data from a continuous glucose monitor and may receive medication data related to medication administered by the user. The dose guidance system may initialize dose guidance parameters, recommend medication doses, titrate medication doses, and provide alerts based on the glucose data and medication data.

IN-VIVO BLOOD GLUCOSE MONITORING DEVICE

NºPublicación:  WO2025200359A1 02/10/2025
Solicitante: 
JIANGSU YUWELL POCTECH BIOTECHNOLOGY CO LTD [CN]
JIANGSU YUEKAI BIOTECHNOLOGY CO LTD [CN]
ZHEJIANG POCTECH CO LTD [CN]
\u6C5F\u82CF\u9C7C\u8DC3\u51EF\u7ACB\u7279\u751F\u7269\u79D1\u6280\u6709\u9650\u516C\u53F8,
\u6C5F\u82CF\u8DC3\u51EF\u751F\u7269\u6280\u672F\u6709\u9650\u516C\u53F8,
\u6D59\u6C5F\u51EF\u7ACB\u7279\u533B\u7597\u5668\u68B0\u6709\u9650\u516C\u53F8
CN_118044808_PA

Resumen de: WO2025200359A1

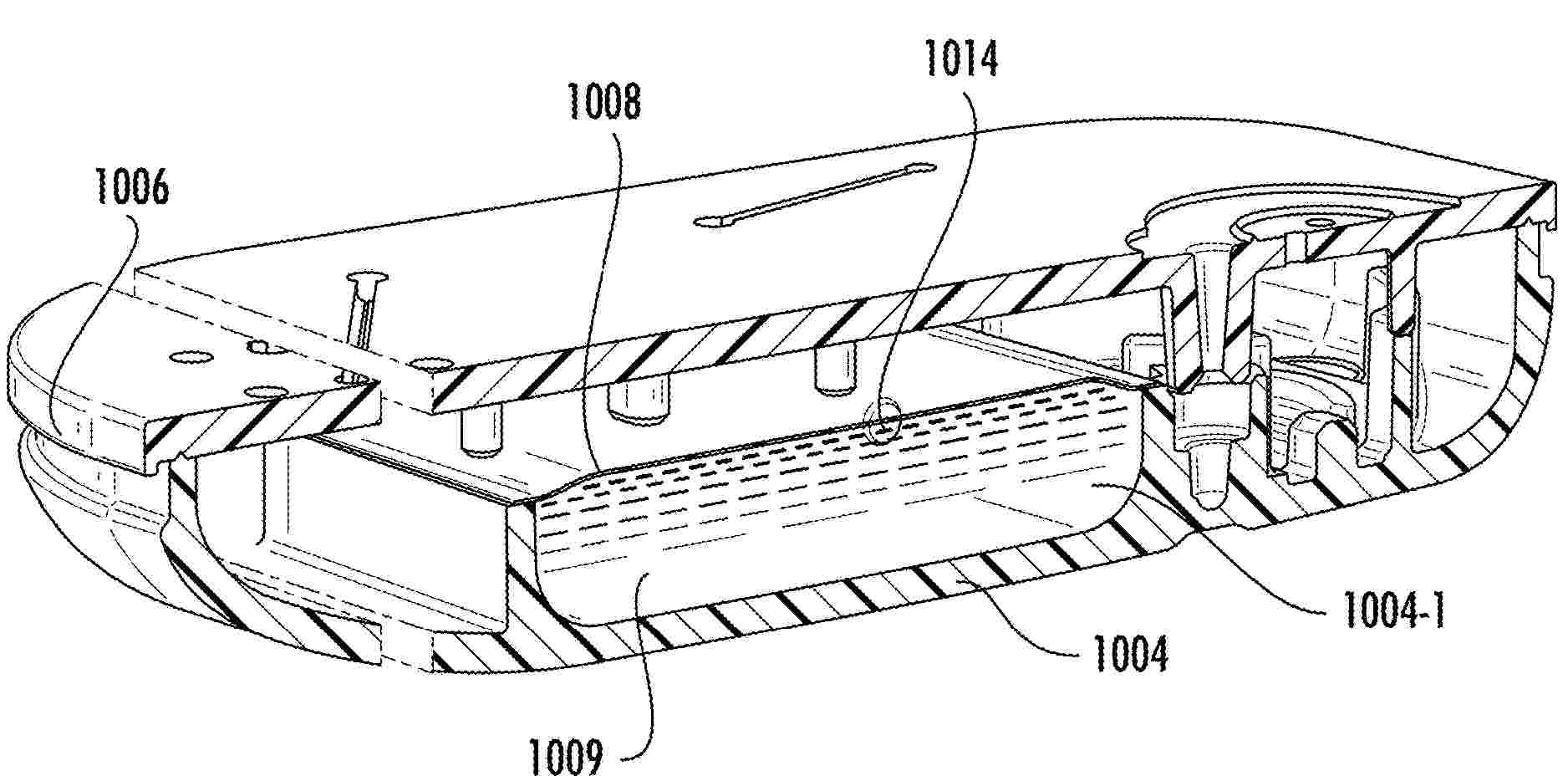
Disclosed in the present application is an in-vivo blood glucose monitoring device, which comprises a housing, a bottom housing, an in-vivo monitoring unit, and a sealing assembly. The housing is provided with a first end and a second end which are oppositely arranged along a first direction, and an interface opening is formed in the second end. The bottom housing is connected with the second end, and an implantation opening is formed in the bottom housing. The in-vivo monitoring unit comprises a first electronic unit fixed to the interior of the housing and a second electronic unit fixed to the bottom housing. The first electronic unit comprises a sensor, and the second electronic unit comprises a signal processing module. The sealing assembly abuts against the housing and/or the bottom housing and is located between the first electronic unit and the second electronic unit and used for sealing the interface opening. The sealing assembly is movable along a second direction to release sealing, and the second direction is perpendicular to the first direction. During use, sealing can be released by simply moving the sealing assembly along the second direction, eliminating the need to separate the bottom housing from the housing, thereby simplifying the product's usage steps and reducing the operational difficulty.

IN-VIVO BLOOD GLUCOSE MONITORING DEVICE

NºPublicación:  WO2025200355A1 02/10/2025
Solicitante: 
JIANGSU YUWELL POCTECH BIOTECHNOLOGY CO LTD [CN]
JIANGSU YUEKAI BIOTECHNOLOGY CO LTD [CN]
ZHEJIANG POCTECH CO LTD [CN]
\u6C5F\u82CF\u9C7C\u8DC3\u51EF\u7ACB\u7279\u751F\u7269\u79D1\u6280\u6709\u9650\u516C\u53F8,
\u6C5F\u82CF\u8DC3\u51EF\u751F\u7269\u6280\u672F\u6709\u9650\u516C\u53F8,
\u6D59\u6C5F\u51EF\u7ACB\u7279\u533B\u7597\u5668\u68B0\u6709\u9650\u516C\u53F8
CN_118058742_PA

Resumen de: WO2025200355A1

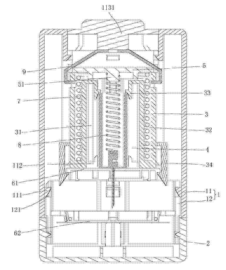
Disclosed in the present application is an in-vivo blood glucose monitoring device, which comprises a housing, a bottom cover, a puncture unit, and an in-vivo monitoring unit. The housing is provided with a first end and a second end which are oppositely arranged along a first direction, and an implantation opening is formed in the second end. The bottom cover is detachably connected with the housing. A needle-assist unit is movable along the first direction to execute an implantation action. The puncture unit is movable along a second direction to execute a needle withdrawal action. The in-vivo monitoring unit comprises a first electronic unit and a second electronic unit that are spaced apart. The first electronic unit comprises a sensor, and the second electronic unit comprises a signal processing module. Prior to use, the bottom cover is removed, and a single trigger causes the needle-assist unit to move, thereby inserting the sensor part into the host's body and electrically connecting the first electronic unit and the second electronic unit. The single trigger operation simultaneously completes the electrical connection of the first electronic unit and the second electronic unit and the implantation of the sensor, greatly simplifying the user's operation steps during the implantation process and shortening the entire implantation phase.

SYSTEMS AND METHODS FOR PERSONALIZED NON-ENZYME SIGNAL COMPENSATION

NºPublicación:  AU2024243592A1 02/10/2025
Solicitante: 
DEXCOM INC
DEXCOM, INC
AU_2024243592_PA

Resumen de: AU2024243592A1

The present disclosure describes a continuous analyte monitoring system that may monitor, generate, and analyze data for analytes (e.g., glucose and/or lactate) and non-enzymes simultaneously. In certain aspects, an analyte sensor system includes a first electrode, a second electrode, and a sensor electronics module. The first electrode generates a first analyte signal stream. The second electrode generates a non-enzyme signal stream indicating a level of a non-enzyme over time. The sensor electronics module determines a level of a first analyte based on the first analyte signal stream and adjusts the level of the first analyte based on the non-enzyme signal stream.

METHOD OF PROVIDING NOTIFICATION OF EVENT

NºPublicación:  US2025302397A1 02/10/2025
Solicitante: 
I SENS INC [KR]
I-SENS, INC
CN_120713513_PA

Resumen de: US2025302397A1

An embodiment may provide a method of providing an event notification in a glucose monitoring system, the method including determining whether an event occurs; in response to the occurrence of the event, determining whether an event occurrence time falls within a signal loss section; and outputting a notification corresponding to the event depending on whether the event occurrence time falls within the signal loss section.

SYSTEMS AND METHODS FOR MEDICATION DOSING AND TITRATION

NºPublicación:  US2025308666A1 02/10/2025
Solicitante: 
ABBOTT DIABETES CARE INC [US]
Abbott Diabetes Care Inc

Resumen de: US2025308666A1

Dose guidance systems and methods for titrating medication doses are described. The dose guidance system may receive glucose data from a continuous glucose monitor and may receive medication data related to medication administered by the user. The dose guidance system may initialize dose guidance parameters, recommend medication doses, titrate medication doses, and provide alerts based on the glucose data and medication data.

SYSTEM AND METHOD FOR PREDICTING INSULIN RESISTANCE OR PANCREATIC BETA-CELL FUNCTION AND COMPUTER READABLE MEDIUM THEREOF

NºPublicación:  US2025308709A1 02/10/2025
Solicitante: 
TAICHUNG VETERANS GENERAL HOSPITAL [TW]
Taichung Veterans General Hospital

Resumen de: US2025308709A1

A system and a method for predicting insulin resistance and/or pancreatic β-cell function are provided, where a machine learning model is utilized to predict insulin resistance and/or pancreatic a decline of β-cell function of a subject in need thereof based on a feature set extracted from a database. Therefore, clinicians or the subject can be warned to take necessary actions on, and adjust related medical treatment or lifestyle before the subject is diagnosed with diabetes mellitus. In addition, a computer readable medium thereof is also provided.

BLOOD GLUCOSE MANAGEMENT METHOD AND RELATED ELECTRONIC DEVICE

NºPublicación:  EP4625428A1 01/10/2025
Solicitante: 
HUAWEI TECH CO LTD [CN]
Huawei Technologies Co., Ltd
EP_4625428_PA

Resumen de: EP4625428A1

This application discloses a blood glucose management method and a related electronic device. In the method, meal time of a diet event of a user can be determined based on a blood glucose value of the user, and when a blood glucose curve drawn based on blood glucose values of the user is displayed, the meal time and/or a blood glucose value related to the meal time are/is displayed on the blood glucose curve. In this way, the diet event of the user can be associated with blood glucose of the user, and a blood glucose change of the user before and after a meal can be highlighted. This helps the user more intuitively learn of impact of a diet on the blood glucose, and helps the user manage and control the blood glucose starting from the diet.

METHOD OF PROVIDING NOTIFICATION OF EVENT

NºPublicación:  EP4623820A1 01/10/2025
Solicitante: 
I SENS INC [KR]
I-SENS, INC
EP_4623820_PA

Resumen de: EP4623820A1

An embodiment may provide a method of providing an event notification in a glucose monitoring system, the method including determining whether an event occurs; in response to the occurrence of the event, determining whether an event occurrence time falls within a signal loss section; and outputting a notification corresponding to the event depending on whether the event occurrence time falls within the signal loss section.

SYSTEM AND METHOD FOR DECISION SUPPORT USING LIFESTYLE FACTORS

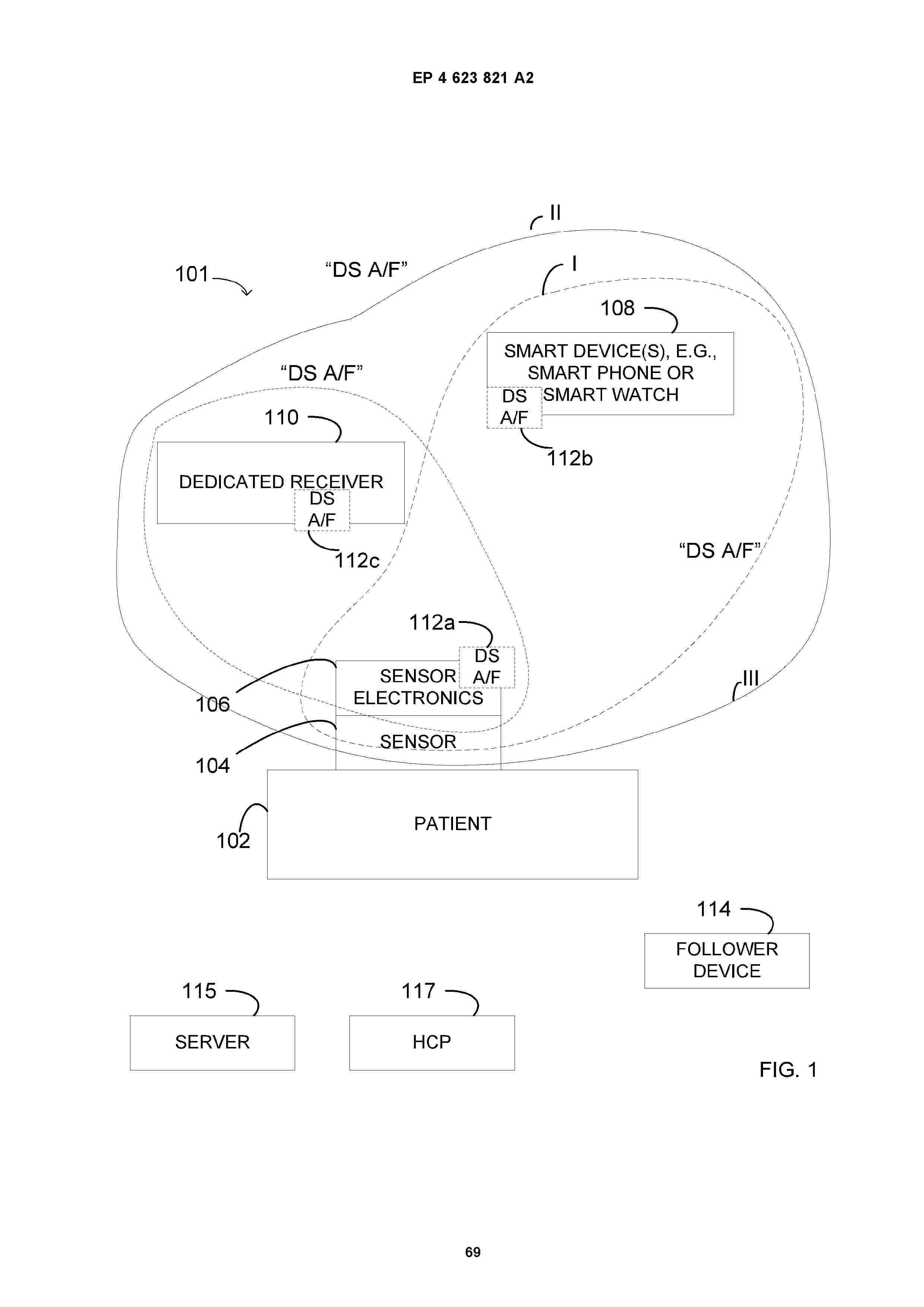
NºPublicación:  EP4623821A2 01/10/2025
Solicitante: 
DEXCOM INC [US]
DexCom, Inc
EP_4623821_A2

Resumen de: EP4623821A2

Systems and methods are provided relating to open loop decision-making for management of diabetes. People with diabetes face many problems in controlling their glucose because of the complex interactions between food, insulin, exercise, stress, activity, and other physiological and environmental conditions. Established principles of management of glucose sometimes are not adequate because there is a significant amount of variability in how different conditions impact different individuals and what actions might be effective for them. Accordingly, systems and methods according to present principles minimize the impact of the vagaries of diabetes on individuals, i.e., by looking for patterns and tendencies of an individual and customizing the management to that individual. Consequently, the same reduces the uncertainty that diabetes typically is associated with and improves quality of life.

SYSTEMS, DEVICES, AND METHODS FOR WELLNESS MONITORING WITH PHYSIOLOGICAL SENSORS

NºPublicación:  MX2025008010A 01/10/2025
Solicitante: 
LINGO SENSING TECH UNLIMITED COMPANY [IE]
LINGO SENSING TECHNOLOGY UNLIMITED COMPANY
CN_120569160_PA

Resumen de: MX2025008010A

Systems and methods for displaying metrics related to a user are described. Data indicative of glucose levels of the user is received. A first alert point for a potential glucose episode in a data set of time correlated glucose data, e.g., a glucose vs. time curve, is identified if the last received glucose data point satisfies at least one alert condition. A first potential local minimum in a first time period is identified. The first potential local minimum is confirmed as a first start point of a first glucose episode if the first potential local minimum satisfies at least one local minimum condition. An integrated area under the curve over time of a first portion of the graph beginning at the first start point of the first glucose episode to the first alert point is calculated. A first count value is assigned to the first portion.

BODY ATTACHMENT UNIT FOR CONTINUOUS BLOOD GLUCOSE MEASUREMENT

NºPublicación:  HUE071733T2 28/09/2025
Solicitante: 
I SENS INC [KR]
i-Sens, Inc
US_2025213155_PA

Resumen de: US2025213155A1

The present disclosure relates to a body attachment unit for continuous blood glucose measurement, in which the body attachment unit is manufactured so as to be assembled in an applicator, thereby minimizing additional work and allowing attachment of the body attachment unit to a body simply by operation of the applicator. In particular, a wireless communication chip is provided in the body attachment unit to enable communication with an external terminal, thereby enabling simple and convenient use without performing additional work of connecting a separate transmitter, and allowing easier maintenance. In addition, activation occurs by a user's operation after the body attachment unit is attached to the body, such that an activation start point in time can be adjusted to an appropriate point in time according to the user's needs, and activation occurs in a stabilized state, thereby providing the body attachment unit allowing more accurate blood glucose measurement.

SYSTEM AND METHODS FOR NON-RESPONSIVE SENSOR DETECTION

NºPublicación:  AU2024250123A1 25/09/2025
Solicitante: 
DEXCOM INC
DEXCOM, INC
AU_2024250123_PA

Resumen de: AU2024250123A1

The present disclosure relates to methods and systems for predicting glycemic events in a patient induced as a result of physical activity. In certain aspects, a method includes monitoring a plurality of analytes of the patient continuously during a time period to obtain analyte signals, the plurality of analytes including at least glucose and lactate. The method further includes processing the analyte data from the time period to determine signal-to-noise ratios of the analyte signal. The method then compares the signal-to-noise ratios to each other to determine if a sensor in the continuous analyte monitoring system is non-responsive. In alternative embodiments, a reference signal is obtained and a reference signal-to-noise ratio is compared to the analyte signal-to-noise ratio to determine if a sensor in the continuous analyte monitoring system is non-responsive.

SYSTEMS AND METHODS FOR PROCESSING AND TRANSMITTING SENSOR DATA

NºPublicación:  US2025295333A1 25/09/2025
Solicitante: 
DEXCOM INC [US]
Dexcom, Inc
US_2024340040_PA

Resumen de: US2025295333A1

Systems and methods for processing, transmitting and displaying data received from an analyte sensor, such as a glucose sensor, are disclosed. In an embodiment, a method for transmitting data between a first communication device associated with an analyte sensor and a second communication device configured to provide user access to sensor-related information comprises: activating a transceiver of a first communication device associated with an analyte sensor at a first time; and establishing a two-way communication channel with the second communication device; wherein the activating comprises waking the transceiver from a low power sleep mode using a forced wakeup from the second communication device.

METHOD FOR RECOGNIZING GLUCOSE ABNORMALITY EVENT, AND ELECTRONIC DEVICE

NºPublicación:  WO2025194937A1 25/09/2025
Solicitante: 
HUAWEI TECH CO LTD [CN]
\u534E\u4E3A\u6280\u672F\u6709\u9650\u516C\u53F8
CN_120690429_PA

Resumen de: WO2025194937A1

Provided are a method for recognizing a glucose abnormality event, and an electronic device. The method for recognizing a glucose abnormality event comprises: after a first electronic device acquires glucose information of a user within a first time interval from a second electronic device, if a glucose fluctuation at a second moment relative to a third moment within the first time interval is greater than or equal to a first threshold value, the first electronic device acquiring first data; and on the basis of the first data, determining that the glucose fluctuation indicates the occurrence of a glucose abnormality event. Thus, the accuracy of recognizing a glucose abnormality event can be improved, and the interference of events such as stress and meals can be excluded without the need for asking a user wearing a CGM device about a sleep time period and/or meal time period.

IMPROVED ACCURACY OF BASAL DELIVERY AMOUNTS

NºPublicación:  WO2025199207A1 25/09/2025
Solicitante: 
INSULET CORP [US]
INSULET CORPORATION

Resumen de: WO2025199207A1

Exemplary embodiments may attempt to account for more substantial deviations in a user's basal insulin needs and reduce or eliminate glucose level excursions that may result from such deviations more quickly than conventional insulin pump systems. The exemplary embodiments may rely upon a user's recent basal insulin delivery history to establish a current estimate of the user's basal insulin needs. Exemplary embodiments may calculate a reliability metric for a TDI value that reflects that degree of variance in TDI value for a user over a recent period, such as over multiple days or weeks. The reliability indicator may be used to adjust the TDI value that is used to establish a user's daily basal insulin needs and hourly basal insulin needs. In determining a user's basal insulin needs, the exemplary embodiments may not only look to recent basal insulin deliveries but also may account for correction boluses and/or meal boluses.

PREDICTION BASED DELIVERING OR GUIDING OF THERAPY FOR DIABETES

NºPublicación:  US2025299817A1 25/09/2025
Solicitante: 
MEDTRONIC MINIMED INC [US]
MEDTRONIC MINIMED, INC
CN_120132118_PA

Resumen de: US2025299817A1

Disclosed herein are techniques for prediction based delivering or guiding of therapy for diabetes. In some embodiments, the techniques may involve predicting that a meal event is to occur. The techniques may further involve in response to predicting that the meal event is to occur, determining a partial therapy dosage to be delivered prior to the meal event occurring. The techniques may further involve determining, after a duration of time subsequent to delivery of the partial therapy dosage has elapsed, that meal consumption has not yet begun. The techniques may further involve prompting a patient to begin consumption of the meal.

ACCURACY OF BASAL DELIVERY AMOUNTS

NºPublicación:  US2025295854A1 25/09/2025
Solicitante: 
INSULET CORP [US]
INSULET CORPORATION

Resumen de: US2025295854A1

Exemplary embodiments may attempt to account for more substantial deviations in a user's basal insulin needs and reduce or eliminate glucose level excursions that may result from such deviations more quickly than conventional insulin pump systems. The exemplary embodiments may rely upon a user's recent basal insulin delivery history to establish a current estimate of the user's basal insulin needs. Exemplary embodiments may calculate a reliability metric for a TDI value that reflects that degree of variance in TDI value for a user over a recent period, such as over multiple days or weeks. The reliability indicator may be used to adjust the TDI value that is used to establish a user's daily basal insulin needs and hourly basal insulin needs. In determining a user's basal insulin needs, the exemplary embodiments may not only look to recent basal insulin deliveries but also may account for correction boluses and/or meal boluses.

PHOTOACOUSTICS FOR NON-INVASIVE GLUCOSE SENSING

NºPublicación:  US2025295332A1 25/09/2025
Solicitante: 
QUALCOMM INCORPORATED [US]
QUALCOMM Incorporated

Resumen de: US2025295332A1

Disclosed are systems and techniques for glucose sensing. For example, an example of a process can include transmitting, by at least one transmitter into living tissue, a first signal with a first wavelength, a second signal with a second wavelength, and a third signal with a third wavelength to produce an acoustic response from the living tissue. The first wavelength has a first correlation with the blood glucose concentration, the second wavelength has a second correlation with the blood glucose concentration, and the third wavelength has a third correlation with the blood glucose concentration. The process can include receiving, by at least one receiver, a response signal of the acoustic response. The process can include determining, by at least one processor, the blood glucose concentration based on a photoacoustic spectrum of the response signal.

PHOTOACOUSTICS FOR NON-INVASIVE GLUCOSE SENSING

NºPublicación:  WO2025198810A1 25/09/2025
Solicitante: 
QUALCOMM INCORPORATED [US]
QUALCOMM INCORPORATED

Resumen de: WO2025198810A1

Disclosed are systems and techniques for glucose sensing. For example, an example of a process can include transmitting, by at least one transmitter into living tissue, a first signal with a first wavelength, a second signal with a second wavelength, and a third signal with a third wavelength to produce an acoustic response from the living tissue. The first wavelength has a first correlation with the blood glucose concentration, the second wavelength has a second correlation with the blood glucose concentration, and the third wavelength has a third correlation with the blood glucose concentration. The process can include receiving, by at least one receiver, a response signal of the acoustic response. The process can include determining, by at least one processor, the blood glucose concentration based on a photoacoustic spectrum of the response signal.

DEPLOYMENT AND USE OF A CONTINUOUS ANALYTE MONITORING SYSTEM FOR IMPROVED HOME MONITORING AND READMISSION OPTIMIZATION

Nº publicación: US2025299818A1 25/09/2025

Solicitante:

ABBOTT DIABETES CARE INC [US]
Abbott Diabetes Care Inc

Resumen de: US2025299818A1

Disclosed herein are system, method, and computer program product embodiments to an improved alert and recommendation system for reducing patient readmission via the detection and treatment of patient conditions based on continuous analyte data. The disclosed techniques utilize analyte data, such as lactate, glucose, and creatinine, provided from a continuous analyte sensor to predict patient outcomes and generate recommendations for reducing patient readmission in a hospital and home setting. The disclosed system allows for early and non-invasive prediction of patient outcomes and the subsequent generation of recommended actions to facilitate patient intervention with the goal of reducing readmission of the patient.

traducir