Ministerio de Industria, Turismo y Comercio LogoMinisterior
 

Salmonella

Resultados 116 resultados
LastUpdate Última actualización 31/03/2026 [07:17:00]
pdfxls
Solicitudes publicadas en los últimos 90 días / Applications published in the last 90 days
Resultados 1 a 25 de 116 nextPage  

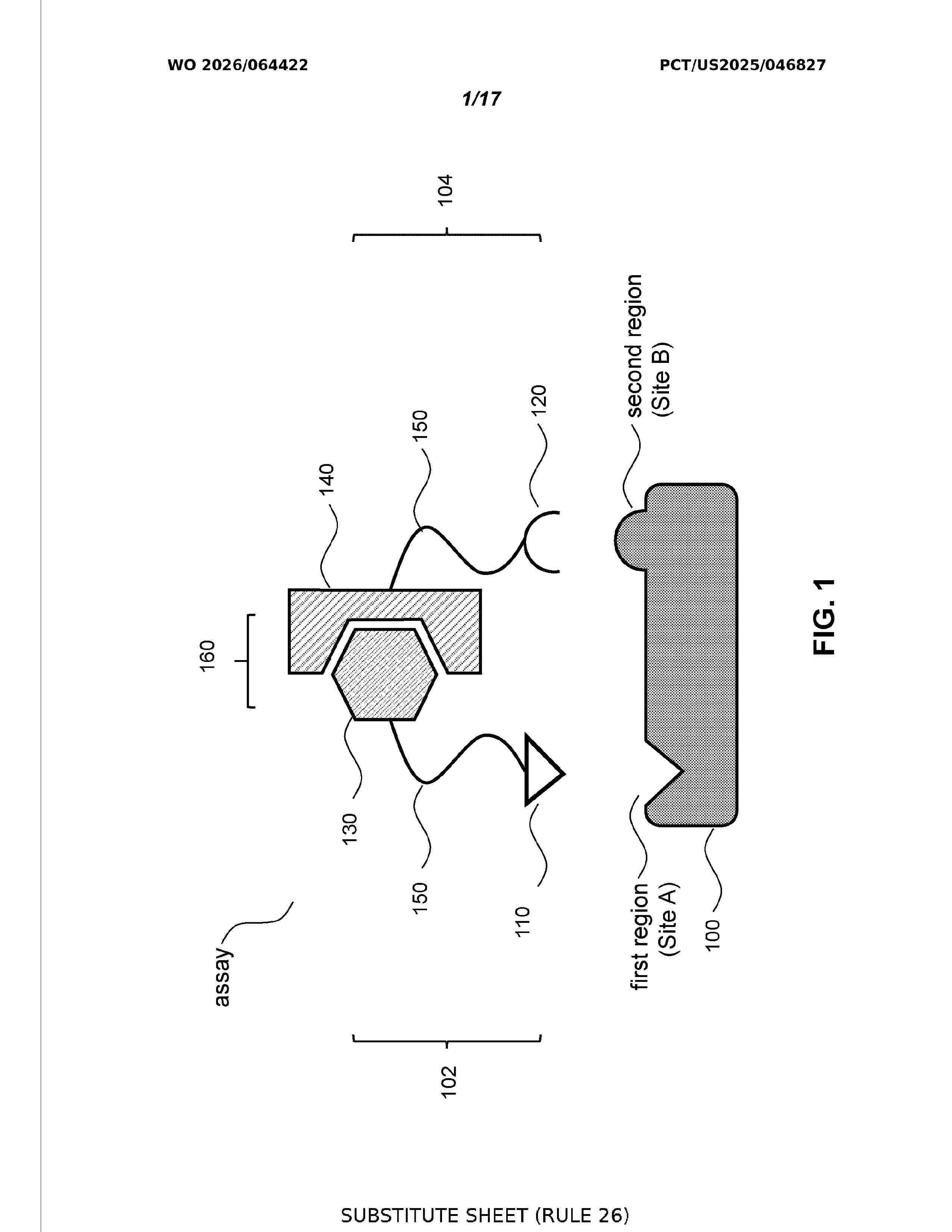
METHOD AND REAGENTS FOR ULTRASENSITIVE IMMUNOASSAY

NºPublicación:  WO2026064422A1 26/03/2026
Solicitante: 
AGRI ANALYSIS LLC [US]
AGRI-ANALYSIS, LLC
WO_2026064422_A1

Resumen de: WO2026064422A1

Disclosed are assays, reagents, and methods for ultrasensitive detection of target molecules. The assay comprises fusion proteins including binding moieties, such as antibodies, nanobodies (VHH/VNAR), or aptamers, linked to nonfunctional fragments of a protein. In the presence of a target molecule, the binding moieties recognize distinct target regions and bring the protein fragments into close proximity, reconstituting a functional protein that generates a detectable signal. Linkers connecting the fusion components may be flexible peptides or polypeptides that spontaneously form dimers, trimers, or tetramers, thereby providing multivalent fusion proteins with enhanced sensitivity. The reconstituted protein may produce luminescent, fluorescent, colorimetric, or spectroscopic signals detectable by microplate readers, handheld luminometers, or lateral flow devices. The invention encompasses solid-phase, homogeneous, and lateral flow assay formats for detecting viruses, bacteria, proteins, peptides, or small molecules, including GLRaV-3, SARS-CoV-2, PSA, and E. coli. The disclosed assays exhibit improved specificity, reduced background, and enhanced signal-to-noise ratios

SELF-DESTRUCTING AND TUMOR-NAVIGATING BACTERIAL HOST-VECTOR SYSTEMS

NºPublicación:  WO2026064724A1 26/03/2026
Solicitante: 
ARIZONA BOARD OF REGENTS ON BEHALF OF ARIZONA STATE UNIV [US]
ARIZONA BOARD OF REGENTS ON BEHALF OF ARIZONA STATE UNIVERSITY
WO_2026064724_A1

Resumen de: WO2026064724A1

The present disclosure provides genetically modified Salmonella (GMS) strains with enhanced self-destructing and tumor-navigating activity.

疫苗

NºPublicación:  CN121729248A 24/03/2026
Solicitante: 
葛兰素史克生物有限公司生物有限公司
CN_121729248_A

Resumen de: WO2025021712A1

The present invention relates to immunogenic compositions comprising antigens from Salmonella enterica serovar Typhimurium (S. Typhimurium), Salmonella enterica serovar Enteritidis (S. Enteritidis), and Salmonella enterica serovar Typhi (S. Typhi). The present invention further relates to methods and uses of compositions comprising GMMA for boosting an immune response to an S. Typhi antigen, vaccines comprising the immunogenic compositions and methods and uses of the immunogenic compositions.

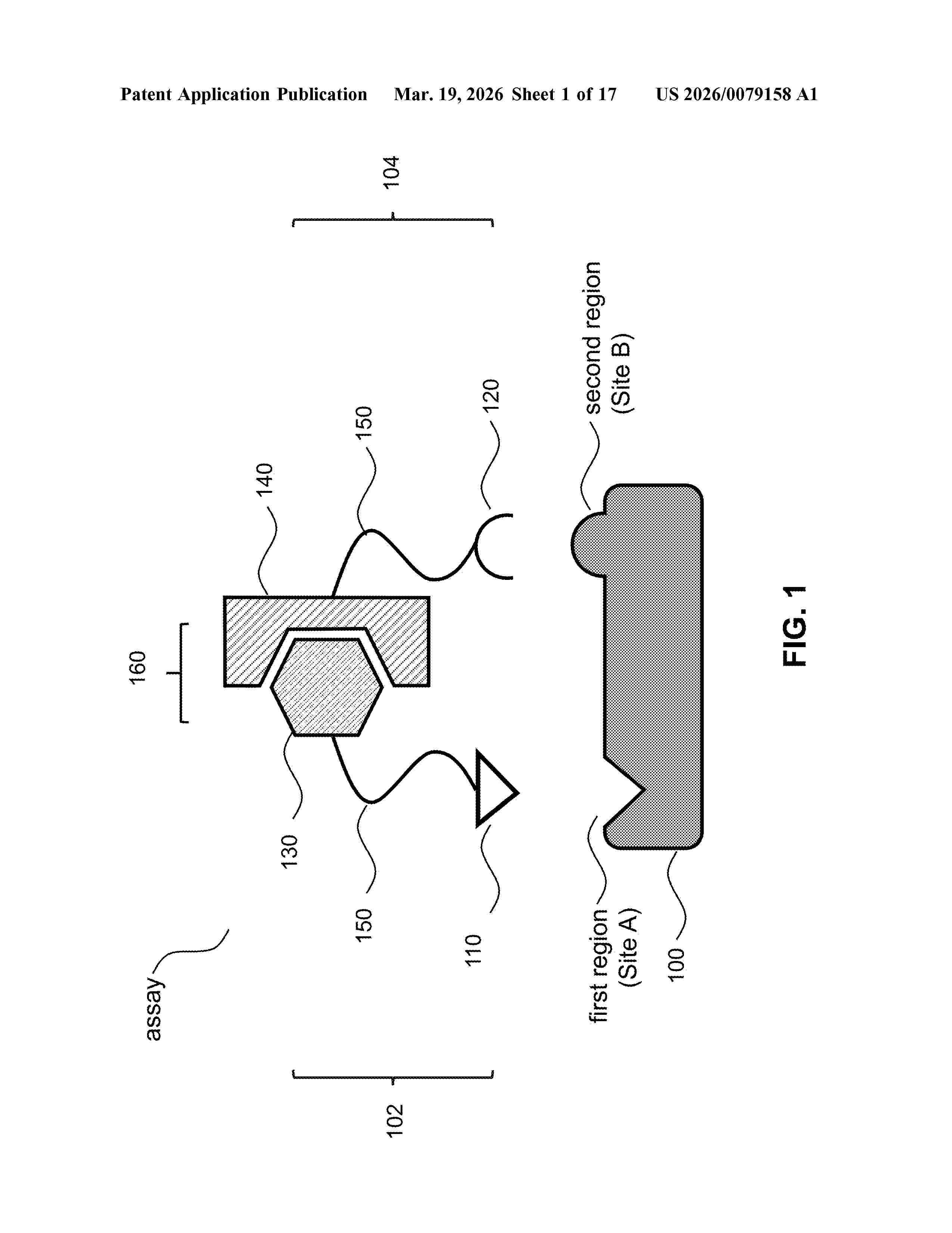
METHOD AND REAGENTS FOR ULTRASENSITIVE IMMUNOASSAY

NºPublicación:  US20260079158A1 19/03/2026
Solicitante: 
AGRI ANALYSIS LLC [US]
Agri-Analysis, LLC
US_20260079158_A1

Resumen de: US20260079158A1

Disclosed are assays, reagents, and methods for ultrasensitive detection of target molecules. The assay comprises fusion proteins including binding moieties, such as antibodies, nanobodies (VHH/VNAR), or aptamers, linked to nonfunctional fragments of a protein. In the presence of a target molecule, the binding moieties recognize distinct target regions and bring the protein fragments into close proximity, reconstituting a functional protein that generates a detectable signal. Linkers connecting the fusion components may be flexible peptides or polypeptides that spontaneously form dimers, trimers, or tetramers, thereby providing multivalent fusion proteins with enhanced sensitivity. The reconstituted protein may produce luminescent, fluorescent, colorimetric, or spectroscopic signals detectable by microplate readers, handheld luminometers, or lateral flow devices. The invention encompasses solid-phase, homogeneous, and lateral flow assay formats for detecting viruses, bacteria, proteins, peptides, or small molecules, including GLRaV-3, SARS-CoV-2, PSA, and E. coli. The disclosed assays exhibit improved specificity, reduced background, and enhanced signal-to-noise ratios.

COMPOSITIONS AND METHODS FOR TREHALOSE PHOSPHOLIPIDS

NºPublicación:  US20260078140A1 19/03/2026
Solicitante: 
THE BRIGHAM AND WOMENS HOSPITAL INC [US]
RIJKSUNIVERSITEIT GRONINGEN [NL]
The Brigham and Women's Hospital, Inc,
Rijksuniversiteit Groningen
US_20260078140_A1

Resumen de: US20260078140A1

Provided herein are compositions of trehalose phospholipids and uses thereof, e.g., compounds and compositions comprising 6,6′-diphosphatidyltrehalose (diPT) and analogs thereof with modifications of the diPT chemical scaffold, that bind and agonize Mincle, and the use thereof as adjuvants.

免疫原性組成物

NºPublicación:  JP2026509511A 19/03/2026
Solicitante: 
アフィニバックス、インコーポレイテッド
JP_2026509511_A

Resumen de: CN120826235A

Techniques for providing immunogenic compositions (e.g., vaccines) and methods of inducing an immune response in a subject in need thereof are provided.

THERAPEUTIC AGENTS AND COMPOSITIONS AND RELATED METHODS

NºPublicación:  EP4709749A1 18/03/2026
Solicitante: 
KORU BIOTECH SOLUTIONS LTD [NZ]
Koru Biotech Solutions Limited
AU_2024219856_A1

Resumen de: AU2024219856A1

- 41 The invention relates to methods of treating or preventing a disease or condition caused by or associated with a gram-negative bacterial infection in a subject in need thereof and compositions for use in such methods. More particularly, the present invention relates to agents and compositions, including concanavalin A, lactoferrin, colostrum and Ig from colostrum for use in the treatment or prevention of a disease or condition caused by or associated with a gram-negative bacterial infection and methods of using such agents and compositions.

脱酸素化リポ多糖(LPS)、天然非毒性LPSおよびそれらの使用

NºPublicación:  JP2026048819A 17/03/2026
Solicitante: 
ヘファイストス-ファーマ
JP_2026048819_A

Resumen de: EP4512482A2

The invention relates to an enriched population of modified lipopolysaccharide (LPS) molecular species being:- devoid of phosphate group at position C1 of the reducing end of their lipid A domain; and- substituted at position C6' of the non-reducing end of their lipid A domain by a hydrophilic moiety, with the proviso that said hydrophilic moiety is not a hydroxyl group.It also relates to compositions comprising the enriched population of modified LPS; and uses of naturally-occurring LPS molecular species and/or enriched population of modified LPS molecular species for treating and/or preventing cancer, inflammatory diseases or infectious diseases, and for stimulating an immune response or vaccinating a subject.

噬菌体、沙门氏菌属细菌溶菌剂、组合物及沙门氏菌属细菌的防治方法

NºPublicación:  CN121666447A 13/03/2026
Solicitante: 
株式会社钟化学校法人酪农学园三井物产株式会社
CN_121666447_A

Resumen de: EP4692335A1

An aim of the present disclosure is: (i) to provide a novel bacteriophage having bacteriolytic activity against bacteria of the genus Salmonella, such as S. Enteritidis, or a bacteriolytic agent consisting of the same; (ii) to provide a bacteriophage having a wide host range for bacteria of the genus Salmonella, or a bacteriolytic agent consisting of the same; (iii) to provide a host-specific bacteriophage or an effective Salmonella bacteriolytic agent consisting of the same; or (iv) provide a bacteriophage capable of effectively controlling S. Typhimurium, and in particular, multidrug-resistant S. Typhimurium, or a bacteriolytic agent consisting of the same. The present disclosure provides: a bacteriophage having a specific genomic DNA sequence; a Salmonella bacteriolytic agent consisting of the bacteriophage; and a composition comprising the same.

PNEUMONIA VACCINE

NºPublicación:  WO2026054672A1 12/03/2026
Solicitante: 
DUKHOVLINOV ILIA VLADIMIROVICH [RU]
ALEKSEEV ALEKSEI VIKTOROVICH [RU]
BAIGUZIN EVGENII IAKOVLEVICH [RU]
GAVSHINSKII ANDREI LVOVICH [RU]
\u0414\u0423\u0425\u041E\u0412\u041B\u0418\u041D\u041E\u0412, \u0418\u043B\u044C\u044F \u0412\u043B\u0430\u0434\u0438\u043C\u0438\u0440\u043E\u0432\u0438\u0447,
\u0410\u041B\u0415\u041A\u0421\u0415\u0415\u0412, \u0410\u043B\u0435\u043A\u0441\u0435\u0439 \u0412\u0438\u043A\u0442\u043E\u0440\u043E\u0432\u0438\u0447,
\u0411\u0410\u0419\u0413\u0423\u0417\u0418\u041D, \u0415\u0432\u0433\u0435\u043D\u0438\u0439 \u042F\u043A\u043E\u0432\u043B\u0435\u0432\u0438\u0447,
\u0413\u0410\u0412\u0428\u0418\u041D\u0421\u041A\u0418\u0419, \u0410\u043D\u0434\u0440\u0435\u0439 \u041B\u044C\u0432\u043E\u0432\u0438\u0447
WO_2026054672_A1

Resumen de: WO2026054672A1

The invention relates to the field of health care, and more particularly to the prevention of infections that cause pneumonia and other illnesses using an immunogenic protein containing fragments of the proteins FliC, PspA, OmpA and PE, connected by rigid linkers, wherein: - the FliC protein fragment contains SEQ ID NOs: 2 and 3 connected to one another by a flexible linker; - the PspA protein fragment contains SEQ ID NO: 4; the OmpA protein fragment contains SEQ ID NOs: 5-8 connected to one another by flexible linkers; - the PE fragment contains SEQ ID NO: 9. Also proposed are a host cell and a method for producing the protein. The immunogenic protein is suitable for use as a broad-spectrum polyvalent vaccine and exhibits a marked protective effect against Streptococcus pneumoniae, Haemophilus influenzae and Klebsiella pneumoniae, as well as providing for production efficiency and safety.

SYSTEM AND METHOD FOR DETECTING, ENUMERATING, OR EXTRACTING MICROORGANISMS IN A SAMPLE

NºPublicación:  EP4705504A1 11/03/2026
Solicitante: 
MICROSENSOR LABS LLC [US]
Microsensor Labs, LLC
WO_2024227138_PA

Resumen de: WO2024227138A1

A system and method for detecting, enumerating, or extracting microorganisms in a sample is disclosed. Target microorganisms, such as Salmonella bacteria, may be of interest. Magnetic beads may be bound to the target microorganisms. After which, the bead-bound cells may be isolated. For example, a magnetic field may be applied in order to separate the target cells (with the magnetic beads attached thereto) and move then to a predetermined section of the well. Agar, or other immobilizing agent, may be added to the wells in order to immobilize the target cells. After which, the target cells are incubated and periodically analyzed to determine whether the target cells are growing, thereby indicating that the microorganisms are contained within the well.

SYSTEMS, METHODS, AND COMPOSITIONS FOR THE DETECTION OF MICROBES

NºPublicación:  EP4705769A1 11/03/2026
Solicitante: 
S D SYSTEMS INC [US]
S D Systems, Inc
AU_2024264505_PA

Resumen de: AU2024264505A1

Provided are non-naturally occurring systems, methods, and compositions for the detection of microbes. The disclosure relates to the detection of an antigen specific to a microbe, such as a foodborne, an environment-borne, and a bloodborne bacteria, using capture antibody and moiety, detector antibody and moiety, and a light-emitting particle.

PHARMACEUTICAL COMPOSITION, AND PREPARATION METHOD THEREFOR AND USE THEREOF

NºPublicación:  EP4706672A1 11/03/2026
Solicitante: 
PUGONG BIOTECH HANGZHOU CO LTD [CN]
Pugong Biotech (Hangzhou) Co., Ltd
EP_4706672_A1

Resumen de: EP4706672A1

A pharmaceutical composition, and a preparation method therefor and a use thereof. The pharmaceutical composition comprises a first active ingredient, a second active ingredient, and a pharmaceutically acceptable carrier or adjuvant. The first active ingredient is a microbial agent comprising any one or more of staphylococcus aureus, bordetella pertussis, diphtheria toxoid, tetanus toxoid, typhoid bacillus or salmonella paratyphi. The second active ingredient comprises polyinosinic acid, polycytidylic acid, and a vitamin. The pharmaceutical composition relates to an artificial active immunization therapy for tumors, and can "stimulate" the entire immune system, so that the therapy of using bacteria to stimulate a human immune system so as to kill cancer cells is quite stable and reliable, and the lives of cancer patients can be significantly saved and prolonged. Additionally, the pharmaceutical composition has extremely high safety, extremely small toxic and side effects, and low preparation costs.

一种重组甲型副伤寒沙门菌及其用途

NºPublicación:  CN121628795A 10/03/2026
Solicitante: 
东莞市东南部中心医院(东莞市东南部中医医疗服务中心、广东医科大学附属东莞第一医院)
CN_121628795_PA

Resumen de: CN121628795A

本发明提供了一株重组表达Vi多糖的甲型副伤寒沙门菌株,以基因工程技术将来自伤寒沙门菌的表达Vi多糖的viaB操纵子克隆到甲型副伤寒沙门菌基因组中,实现Vi多糖在甲型副伤寒沙门菌中的表达;进一步,以一个组成性强启动子(Tac启动子)取代viaB天然启动子实现 Vi 多糖在体外培养条件下的高表达;进一步,将该菌株的msbB基因敲除以降低LPS的酰基化水平,减低LPS毒性;以该菌株制备的囊泡疫苗可诱导针对两种血清型的免疫保护作用。

アジュバントを全く含まないカチオン性多糖ナノ粒子を介して不活性化全細菌を送達するための系を含むワクチン組成物

NºPublicación:  JP2026508198A 10/03/2026
Solicitante: 
ヴァクシナノ
JP_2026508198_A

Resumen de: CN120712079A

The present invention relates to the field of vaccine compositions. The invention more particularly relates to a prophylactic vaccine composition comprising killed intact bacteria intended for use in mammals and birds, said bacteria being wrapped with a cationic agent, in particular cationic nanoparticles.

Lateral flow strip based on loop-mediated isothermal amplification for detection of Salmonella

NºPublicación:  KR20260030992A 09/03/2026
Solicitante: 
경상국립대학교산학협력단
KR_20260030992_PA

Resumen de: KR20260030992A

본 발명은 살모넬라 검출을 위한 고리매개등온증폭법 기반 측방유동스트립에 관한 것으로, 보다 상세하게는 고리매개등온증폭(loop-mediated isothermal amplification)용 프라이머 세트; 상기 프라이머 세트에 의해 증폭되는 증폭산물에 특이적으로 결합하는 프로브; 및 측방유동스트립(lateral flow strip);을 포함하는, 살모넬라 속 균을 검출하기 위한 측방유동검사(lateral flow assay) 키트 및 상기 키트를 이용한 살모넬라 속 균의 검출방법에 관한 것이다.

METHOD OF MAKING CHEMILUMINESCENT 1,2-DIOXETANES

NºPublicación:  WO2026047187A1 05/03/2026
Solicitante: 
BIOSYNTH AG [CH]
BIOSYNTH AG
WO_2026047187_A1

Resumen de: WO2026047187A1

The invention relates to a method of making a 1,2-dioxetane, the method comprising reacting a naphthalene endo peroxide (NEPO) with the double bond of an enol ether to form the 1,2-dioxetane. The 1,2-dioxetanes are of great commercial interest for a variety of applications, such as singlet oxygen detection, enzyme detection and pathogen (e.g., Salmonella spp. and Listeria spp.) detection.

BIFIDOBACTERIUM LONGUM SUBSP. LONGUM, AND USE THEREOF IN INHIBITING BACTERIA, RELIEVING COLITIS, AND MITIGATING INFLAMMATORY BONE LOSS

NºPublicación:  WO2026045196A1 05/03/2026
Solicitante: 
DIPROBIO SHANGHAI CO LTD [CN]
\u8FEA\u8F85\u4E50\u751F\u7269\uFF08\u4E0A\u6D77\uFF09\u6709\u9650\u516C\u53F8
WO_2026045196_PA

Resumen de: WO2026045196A1

A Bifidobacterium longum subsp. longum dipro-017. The Bifidobacterium longum subsp. longum dipro-017 used has the ability to metabolize tryptophan to produce indole-3-lactic acid, can inhibit the pathogenic bacteria Salmonella Typhimurium, Staphylococcus aureus, and Escherichia coli, and can effectively mitigate weight loss caused by ulcerative colitis, improve a DAI score, improve colon length, mitigate the content of lipopolysaccharide (LPS) in blood, and increase the level of anti-inflammatory cytokine IL-10, as well as mitigate the content of bone metabolism indicators tartrate-resistant acid phosphatase (TRAP) and N-terminal propeptide of type I procollagen (PINP) in blood.

一种微生物无标记快速检测系统、方法及其应用

NºPublicación:  CN121577878A 27/02/2026
Solicitante: 
福州大学
CN_121577878_PA

Resumen de: CN121577878A

本发明属于微生物检测技术领域,更具体地是涉及一种微生物无标记快速检测系统、方法及其应用。针对现有生物识别元件进行微生物检测存在的检测通量低、反应效率低、检测样品易交叉污染且依赖大型、精密实验仪器读取信号和专业人员操作而无法在更广泛范围推广应用的问题,本发明提供了一种微生物无标记快速检测系统、方法及其应用,通过设计包含若干容置槽的微生物阵列芯片,可实现在单个芯片上固定多种不同的微生物印迹聚合物。将该微生物阵列芯片应用于微生物无标记快速检测系统便可允许对一份待检样品中的多种微生物进行一次性、并行检测,并可将检测时间缩短至15分钟以内。

INACTIVATED SALMONELLA VACCINE FORMULATIONS

NºPublicación:  WO2026043873A1 26/02/2026
Solicitante: 
ELANCO US INC [US]
HANSEN JASON [US]
ANSCHUTZ CHRISTIN [US]
ELANCO US INC,
HANSEN, Jason,
ANSCHUTZ, Christin
WO_2026043873_PA

Resumen de: WO2026043873A1

The present disclosure provides formulations, kits, and vaccines directed to immunization of animals against Salmonella. Methods of usng the formulations, kits, and vaccines for protection of avians against one or more species of Salmonella are also provided. For instance, the formulations, kits, and vaccines can induce an immune response in an animal against a Salmonella infection in which the Salmonella infection is caused by more than one Salmonella group bacterium (e.g., a Group B bacterium, a Group C bacterium, and a Group D bacterium).

ORAL VACCINE AGAINST MULTIPLE DIARRHEA-CAUSING PATHOGENS

NºPublicación:  WO2026041729A1 26/02/2026
Solicitante: 
SCANDINAVIAN BIOPHARMA HOLDING AB [SE]
SCANDINAVIAN BIOPHARMA HOLDING AB
WO_2026041729_A1

Resumen de: WO2026041729A1

A vaccine comprising effective amounts of i) E. coli colonization factor antigens comprising CFA/I, CS3, CS5 and CS6 antigens; ii) a heat labile enterotoxin B subunit antigen being an LCTBA protein; and iii) an adjuvant being double mutant (R192G/ L211A) of E. coli heat-labile toxin (dmLT), for use in inducing protective immunity against diarrheal disease caused by Salmonella spp. and/or Shigella spp.

ANTI-ETEC ADHESIN PROTEIN ANTIBODIES AND METHODS OF USE

NºPublicación:  WO2026044176A1 26/02/2026
Solicitante: 
UNIV OF MASSACHUSETTS [US]
UNIVERSITY OF MASSACHUSETTS
WO_2026044176_A1

Resumen de: WO2026044176A1

The invention provides anti-enterotoxigenic E. coli (ETEC) adhesin protein antibodies and methods of using the same. One embodiment is an isolated antibody that binds ETEC coli surface antigen 3 (CS3) protein and ETEC coli surface antigen 6 (CS6) protein, wherein the antibody comprises a CS3/CS6 VHH binding domain comprising the following complementary-determining regions (CDRs): (a) a CDR-H1 comprising the amino acid sequence of GFTFEDYA (SEQ ID NO: 19); (b) a CDR-H2 comprising the amino acid sequence of INMSDGST (SEQ ID NO: 20); and (c) a CDR-H3 comprising the amino acid sequence of AANLTGPSGGGLPGYNYDY (SEQ ID NO: 21). Also disclosed are antibodies comprising said CS3/CS6 binding VHH and a binding domain capable of binding to an ETEC adhesin protein selected from colonization factor antigen I adhesin subunit E (CfaE), coli surface antigen 1 (CS1), coli surface antigen 4 (CS4), coli surface antigen 14 (CS14), coli surface antigen 17 (CS17), coli surface antigen 19 (CS19), and coli surface antigen 2 (CS2).

ORAL VACCINE AGAINST MULTIPLE DIARRHEA-CAUSING PATHOGENS

NºPublicación:  EP4699617A1 25/02/2026
Solicitante: 
SCANDINAVIAN BIOPHARMA HOLDING AB [SE]
Scandinavian Biopharma Holding AB
EP_4699617_A1

Resumen de: EP4699617A1

A vaccine comprising effective amounts of i) E. coli colonization factor antigens comprising CFA/I, CS3, CS5 and CS6 antigens; ii) a heat labile enterotoxin B subunit antigen being an LCTBA protein; and iii) an adjuvant being double mutant (R192G/ L211A) of E. coli heat-labile toxin (dmLT), for use in inducing protective immunity against diarrheal disease caused by Salmonella spp. and/or Shigella spp.

GLYCINAMIDE DERIVATIVES FOR USE IN THE TREATMENT OF SALMONELLOSIS

NºPublicación:  EP4698170A1 25/02/2026
Solicitante: 
UNIV EBERHARD KARLS TUEBINGEN [DE]
HELMHOLTZ ZENTRUM INFEKTIONSFORSCHUNG GMBH [DE]
MAX PLANCK GESELLSCHAFT [DE]
Eberhard-Karls-Universit\u00E4t T\u00FCbingen,
Helmholtz-Zentrum f\u00FCr Infektionsforschung GmbH,
Max-Planck-Gesellschaft zur F\u00F6rderung der Wissenschaften e.V
CN_121079081_PA

Resumen de: WO2024218333A1

The present invention relates to compounds of formula (la) that block invasion-associated pathogenicity of Salmonella Typhimurium by inhibiting the activity of the transcription factor HilD. These compounds are useful in the treatment or prophylaxis of Salmonella infections (salmonellosis).

鼠疫抗体Fm3及其应用

Nº publicación: CN121554580A 24/02/2026

Solicitante:

青海省地方病预防控制所

CN_121554580_PA

Resumen de: CN121554580A

本发明公开了鼠疫抗体Fm3及其应用。本发明为本领域提供了一种全新的靶向鼠疫菌F1蛋白的鼠源单克隆抗体,所述抗体能够有效中和鼠疫强毒株和耐药株,具有较好的亲和力和特异性,能够有效抵抗致死剂量的强毒株和耐药株的攻击。本发明为本领域开发鼠疫强毒株和耐药株的治疗药物提供了新策略,具有良好的应用前景。

traducir