Ministerio de Industria, Turismo y Comercio LogoMinisterior
 

Biomarcadores para diagnóstico de Demencia

Resultados 53 resultados
LastUpdate Última actualización 25/11/2025 [07:19:00]
pdfxls
Solicitudes publicadas en los últimos 60 días / Applications published in the last 60 days
Resultados 1 a 25 de 53 nextPage  

COMPOSITIONS AND METHODS FOR PROPHYLAXIS AND/OR TREATMENT OF AMYLOID B PEPTIDE PROTEINOPENIA VIA NEPRILYSIN INHIBITION

NºPublicación:  WO2025240658A1 20/11/2025
Solicitante: 
LVIS REGAIN LP [US]
LVIS-REGAIN LP
WO_2025240658_A1

Resumen de: WO2025240658A1

Neprilysin inhibitors are used for the treatment of patients with Alzheimer's disease or other proteinopenic diseases of the CNS. The patients selected for therapy may be selected based on confirmed biomarker diagnosis of disease, along with a reduced Aβ level.

IDENTIFICATION OF TDP-43 CRYPTIC EXON-ENCODED NEOEPITOPES AS FUNCTIONAL FLUID BIOMARKERS FOR ALZHEIMER'S DISEASE AND RELATED DEMENTIA

NºPublicación:  US2025355002A1 20/11/2025
Solicitante: 
THE JOHNS HOPKINS UNIV [US]
The Johns Hopkins University
WO_2023245063_PA

Resumen de: US2025355002A1

The invention provides antibodies and binding fragments thereof that specifically binds to TDP-43 cryptic exon-encoded neoepitopes, and methods of use thereof. The methods of use include methods of detecting TDP-43 loss of function, methods of detection and/or diagnosing TDP-43 associated diseases, and methods of monitoring disease progression and/or response to therapy. The invention also provides a kit including the antibodies and binding fragments thereof.

METHOD FOR DETECTING A TAU PROTEIN FRAGMENT IN A SAMPLE

NºPublicación:  US2025355001A1 20/11/2025
Solicitante: 
GTINVENT LTD [GB]
GTINVENT LIMITED
JP_2025504410_PA

Resumen de: US2025355001A1

The invention relates to an in vitro method for detecting a tau protein fragment in a sample from a patient wherein the amino acid sequence of the fragment consists of amino acid residues within residues 113 to 379 of SEO ID NO: 1. The method may use a specific binding molecule, such as an antibody, directed to key epitopes of tau. The invention may find applications in diagnostics of tauopathics.

METHODS AND COMPOSITIONS FOR SCREENING AND TREATING ALZHEIMER'S DISEASE

NºPublicación:  EP4649317A2 19/11/2025
Solicitante: 
POPULATION BIO INC [US]
Population Bio, Inc
US_2024310389_PA

Resumen de: US2024310389A1

This document provides methods and materials related to screening for and treating Alzheimer's disease (AD), including late-onset Alzheimer's disease (LOAD).

作为认知能力下降进展到阿尔茨海默病的速度的标志物的U-p53肽

NºPublicación:  CN120981196A 18/11/2025
Solicitante: 
戴尔戴莫股份公司
CN_120981196_PA

Resumen de: WO2024148357A2

U-p53 peptide P1 is useful in the determination of the rate of progression of Alzheimer's disease (AD). By quantitating the level of U-p53 peptides in a subject's biological sample, the rate of progression of Alzheimer's disease at the pre-clinical and prodromal stages of the disease in a subject can be determined.

抗TDP-43结合分子及其用途

NºPublicación:  CN120943956A 14/11/2025
Solicitante: 
AC\u514D\u75AB\u6709\u9650\u516C\u53F8
CN_120943956_PA

Resumen de: JP2025094219A

To provide TDP-43-specific binding molecules for diagnosing, preventing, ameliorating, and/or treating diseases, disorders, and/or abnormalities associated with TDP-43 aggregates, or TDP-43 proteinopathies.SOLUTION: Provided is a TDP-43 binding molecule that is an antibody or an antigen-binding fragment thereof, which binds misfolded aggregated TDP-43 and non-aggregated physiological TDP-43, or a humanized variant thereof.SELECTED DRAWING: None

SYSTEMS, COMPOSITIONS, AND METHODS RELATING TO NEURODEGENERATIVE DISEASES

NºPublicación:  US2025346956A1 13/11/2025
Solicitante: 
SEER INC [US]
THE GENERAL HOSPITAL CORP [US]
Seer, Inc,
The General Hospital Corporation
WO_2023235871_PA

Resumen de: US2025346956A1

In some aspects, the present disclosure provides a method for determining a risk or state of a neurodegenerative disease of a subject. In some embodiments, the method compriseses detecting a presence of a biomarker in a biological sample from the subject, wherein the biomarker comprises at least one of: E7EUF1, O94812, P02549, P02730, P05019, P05154, P05546, P13497, P16157, P16452, P17936, P24593, P27918, P35858, P41218, Q12797, Q13214, Q13822, Q8NI99, Q96IY4, Q99715, Q9BXN1, Q9H0B8, or a proteoform thereof. In some embodiments, the method comprises detecting a presence of a biomarker in a biological sample from the subject, wherein the biomarker comprises at least one of: P54803, P14625, P30043, P00742, A0A0D9SG88, Q5TFM2, P54803, P54803-3, P54803-4, P04196, or a proteoform thereof. In some embodiments, the method comprises determining the risk or state of the neurodegenerative disease of the subject based on the presence of the biomarker in the biological sample.

METABOLIC BIOMARKERS IN BLOOD SERUM FOR DIAGNOSIS OF ALZHEIMER'S DISEASE

NºPublicación:  US2025347684A1 13/11/2025
Solicitante: 
BOARD OF REGENTS THE UNIV OF TEXAS SYSTEM [US]
Board of Regents, The University of Texas System

Resumen de: US2025347684A1

Provided herein is a method for treating a human subject with Alzheimer's Disease (AD) having an AD metabolomic phenotype, the method comprising: obtaining or having obtained a blood sample from the human subject with Alzheimer's disease; measuring the levels of metabolites in the blood sample; applying an algorithm to the measured metabolite levels, the algorithm generating a metabolomic score based on a comparison of the measured metabolites levels to reference metabolites levels; identifying the human subject with Alzheimer's Disease as having an AD metabolomic phenotype based on the metabolomic score; wherein the algorithm is selected from a machine learning algorithm, a clustering algorithm, a random forest algorithm, a support vector machines algorithm, a radial basis function algorithm and a combination thereof.

폴리펩티드 분석을 위한 조성물 및 방법

NºPublicación:  KR20250160315A 12/11/2025
Solicitante: 
퀀텀에스아이인코포레이티드
KR_20250160315_PA

Resumen de: CA3242558A1

Aspects of the application relate to methods and systems for obtaining information regarding multiple amino acids in a polypeptide based on binding interactions between the polypeptide and one or more amino acid recognizers. Kinetic signature information may be obtained from a series of signal pulses indicative of a series of binding events between one or more amino acid recognizers and an amino acid of a polypeptide (e.g., a terminal amino acid, an internal amino acid). The kinetic signature information (e.g., pulse duration, interpulse duration, recognition segment (RS) duration, intersegment duration) may be used to determine one or more chemical characteristics (e.g., identity, modification) of multiple amino acids of the polypeptide.

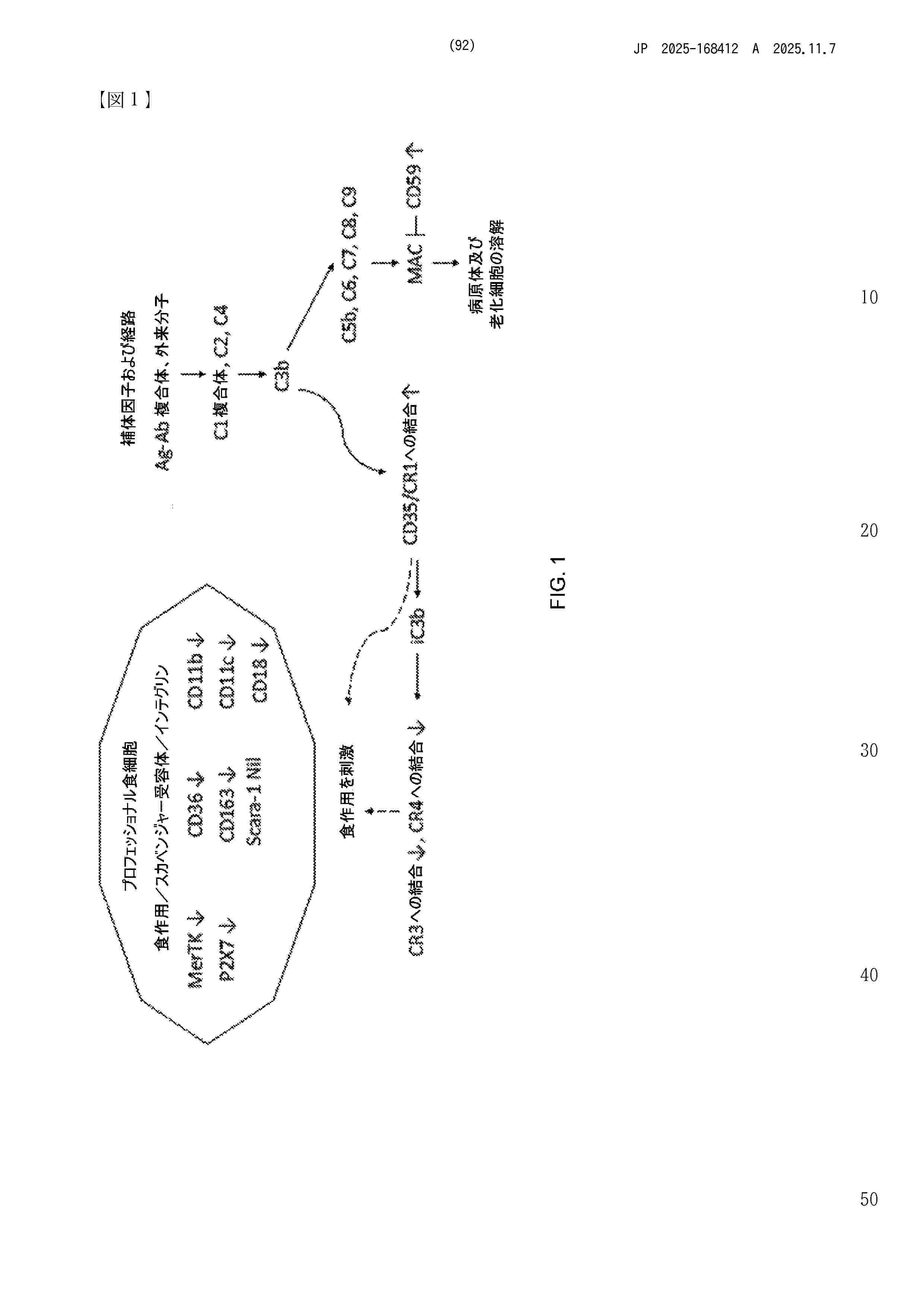
前臨床アルツハイマー病を検出するための組成物、キットおよび方法

NºPublicación:  JP2025168412A 07/11/2025
Solicitante: 
ニューロクエストリミテッド
JP_2025168412_A

Resumen de: MX2024001835A

Compositions and kits for diagnosing and prognosing Alzheimer's Disease (AD) in a human patient include a binding agent such as a monoclonal antibody for a biomarker conjugated to a detectable moiety such as a fluorophore, wherein the biomarker is chosen from CD 163, CD91, CD59, MerTK and other phagocytosis-related molecules. Further compositions and kits employ panels of fluorophore-conjugated monoclonal antibodies for biomarkers including scavenger receptors. Methods for determining the relative expression of biomarkers, diagnosing AD, and determining the efficacy of AD therapeutic candidates such as phagocytosis-promoting agents and scavenger receptor agonists also appear.

ASSAY AND METHODS FOR DRUG DISCOVERY

NºPublicación:  US2025340941A1 06/11/2025
Solicitante: 
BIOVIE INC [US]
BIOVIE INC
US_2025340941_PA

Resumen de: US2025340941A1

Disclosed herein are methods for assaying a potential drug candidate for the treatment, prevention, reduction or amelioration of neurodegenerative diseases and disorders. Some aspects pertain to stimulating a cell to induce a phenotype characteristic of a neurodegenerative disease or disorder and contacting the cell with a potential drug candidate and determining a responsive change, wherein a decrease or loss in the phenotype is indicative that the drug candidate is capable of treating, preventing, reducing or ameliorating neurodegenerative diseases or disorders.

QUANTIFICATION OF NEUROFILAMENT LIGHT CHAIN IN PHYSIOLOGICAL SAMPLES

NºPublicación:  US2025341530A1 06/11/2025
Solicitante: 
QUANTERIX CORP [US]
Quanterix Corporation
US_2025341530_PA

Resumen de: US2025341530A1

The present disclosure relates to immunoassays for NF-L performed on liquid samples derived from physiological fluids such as venous blood to detect the presence or absence of a physiological condition by quantifying one or a combination of NF-L determinations at concentrations indicative of the condition.

TREATING NEUROLOGIC DISEASES

NºPublicación:  US2025339434A1 06/11/2025
Solicitante: 
FRYE RICHARD [US]
Frye Richard
US_2025339434_PA

Resumen de: US2025339434A1

A process for treating a human subject with a neurologic disorder comprises obtaining a sample of the human subject. The sample is contacted with an assay for detecting a presence of soluble folate binding protein (sFBP), one or more single nucleotide polymorphism (SNP) in folate or related one-carbon metabolism genes, or both. Based on the whether there is a presence of sFBP, a presence of SNPs, an amount of folate receptor alpha autoantibody (FRAA) (i.e., FRAA titer), or a combination thereof in the sample, a treatment including a folate is created. The treatment is then administered to the human subject.

PHOSPHO-TAU AGGREGATION-BASED BIOMARKERS FOR ALZHEIMER'S DISEASE DIAGNOSIS, DIFFERENTIATION, AND TREATMENT

NºPublicación:  WO2025231348A1 06/11/2025
Solicitante: 
NORTH CAROLINA CENTRAL UNIV [US]
DUKE UNIV [US]
NORTH CAROLINA CENTRAL UNIVERSITY,
DUKE UNIVERSITY
WO_2025231348_PA

Resumen de: WO2025231348A1

Provided are methods of phospho-tau aggregation-based biomarker discovery, and new utilities for discovered biomarkers in Alzheimer's disease (AD) diagnosis, differentiation, treatment, and identification of the presence of pretangles in a subject. Novel p-tau sites, p-tau198, p-tauS356, p-tau396, and p-tau422, identified through such methods showed comparable or superior characteristics with established p-tau biomarkers, and identified biomarkers were capable of differentiating AD or mild cognitive impairment (MCI) from cognitively normal controls.

METHOD TO DETERMINE THE EFFICACY OF A NEURODEGERATIVE DISEASE TREATMENT

NºPublicación:  AU2024274218A1 06/11/2025
Solicitante: 
GRIFOLS WORLDWIDE OPERATIONS LTD
GRIFOLS WORLDWIDE OPERATIONS LIMITED
AU_2024274218_PA

Resumen de: AU2024274218A1

The present invention refers to the use of a biomarker for measuring the efficacy or effectiveness of treatments for neurodegenerative diseases, in particular, for Alzheimer's disease.

CO-MAPPING TRANSCRIPTIONAL STATES AND PROTEIN HISTOLOGY

NºPublicación:  EP4644569A2 05/11/2025
Solicitante: 
BROAD INST INC [US]
MASSACHUSETTS INST TECHNOLOGY [US]
The Broad Institute Inc,
Massachusetts Institute of Technology
EP_4644569_PA

Resumen de: EP4644569A2

The present disclosure provides methods and systems for mapping gene and protein expression in a cell (i.e., mapping gene and protein expression within the same cell simultaneously). The present disclosure also provides methods for diagnosing a disease or disorder (e.g., a neurological disorder such as Alzheimer's disease) in a subject. Methods of screening for a candidate agent capable of modulating gene and/or protein expression are also provided by the present disclosure. The present disclosure also provides methods for treating a disease or disorder, such as Alzheimer's disease, in a subject in need thereof. A plurality of oligonucleotide probes, which may be useful for performing the methods described herein, are also described by the present disclosure, as well as kits comprising any of the oligonucleotide probes described herein. Additionally, the present disclosure provides methods, apparatuses, and non-transitory computer-readable storage media for identifying spatial variations of cell types in at least one image.

DOSAGE

NºPublicación:  MX2025011444A 03/11/2025
Solicitante: 
CITRYLL B V [NL]
CITRYLL B.V
AU_2024244335_A1

Resumen de: MX2025011444A

The invention provides antibodies or binding fragments thereof directed against citrulline-containing epitopes for use in treating or preventing diseases associated with extracellular trap release from cells, such as Neutrophil Extracellular Trap (NET)- associated pathologies (NET associated pathology) or Eosinophil Extracellular Trap (EET) -associated pathologies (EET-associated pathology), wherein the methods comprising administering at least one dose of the antibody at a specific concentration. The invention also provides the methods themselves. The NET-associated pathologies include systemic lupus erythematosus (SLE), lupus, sepsis, vasculitis, inflammatory arthritis, rheumatoid arthritis and osteoarthritis, psoriasis, Alzheimer's disease, autoimmune hepatitis, juvenile idiopathic arthritis, myositis (polymyositis and dermatomyositis), Sjögren's disease, Anti-phospholipid Syndrome, Bechet's disease, spondylitis, spondyloarthropathy, multiple system atrophy, Parkinson's disease, Lewy body dementia, asthma, allergic rhinovirus exacerbated asthma, allergic asthma, acute respiratory distress syndrome, cystic fibrosis, fibrosis and idiopathic pulmonary fibrosis, heart failure, atherosclerosis, dry eye disease, uveitis, nongranulomatous uveitis, granulomatous uveitis, dermatitis, atopic dermatitis, COPD, bronchitis, or other NET-associated pathologies such as wound healing in diabetes, cancer, cancer metastasis, and transplant organ health in vivo or ex vivo. The invention a

ANTIBODIES TO ¿-SYNUCLEIN AND USES THEREOF

NºPublicación:  MX2025011654A 03/11/2025
Solicitante: 
ABL BIO INC [KR]
ABL BIO INC
AU_2025226709_A1

Resumen de: MX2025011654A

The present invention relates to anti-a-synuclein antibodies, which preferentially recognize a-synuclein aggregates, and uses for detection, diagnosis, and/or treatment or prevention of a variety of diseases or disease symptoms related thereto due to accumulation of a-synuclein aggregates by using the anti-a-synuclein antibodies.

检测神经变性疾病的方法

NºPublicación:  CN120870569A 31/10/2025
Solicitante: 
新加坡国立大学国立大学医院(新加坡)私人有限公司
CN_120870569_A

Resumen de: JP2025029000A

To provide a method for detecting a neurodegenerative disease of a subject, and a method for treating the subject.SOLUTION: A method includes a step of detecting a level of exosome-associated coagulation biomarkers in a specimen collected from a subject. In the method, an increased level of exosome-associated coagulation biomarkers compared to a reference level indicates that the subject is suffering from a neurodegenerative disease.SELECTED DRAWING: None

METHODS FOR THE TREATMENT OF AMYOTROPHIC LATERAL SCLEROSIS

NºPublicación:  US2025334594A1 30/10/2025
Solicitante: 
ELEDON PHARMACEUTICALS INC [US]
ELEDON PHARMACEUTICALS, INC
US_2025334594_PA

Resumen de: US2025334594A1

Provided herein are methods and kits for treating neurodegenerative diseases such as Amyotrophic Lateral Sclerosis, Alzheimer's Disease Parkinson's Disease, Myasthenia Gravis, Multifocal Motor Neuropathy, Primary Lateral Sclerosis, Spinal Muscular Atrophy, Kennedy's Disease, and Spinocerebellar Ataxia. Also provided are methods of predicting or measuring a response to a treatment by measuring biomarker levels in a sample, and methods of modulating biomarker levels.

DIAGNOSTICS FOR PORPHYROMONAS GINGIVALIS

NºPublicación:  US2025334585A1 30/10/2025
Solicitante: 
KEYSTONE BIO INC [US]
UNIV OF LOUISVILLE RESEARCH FOUNDATION INC [US]
KEYSTONE BIO, INC,
UNIVERSITY OF LOUISVILLE RESEARCH FOUNDATION, INC
US_2025334585_A1

Resumen de: US2025334585A1

Antigen-binding molecules (ABMs) that bind to Porphyromonas gingivalis are described. The ABMs may be human or humanized ABMs. The ABMs find use in treating infections involving P. gingivalis, such as periodontal disease. Also provided are methods of treating or preventing a disorder or disease by administering the ABM.

METHODS OF DIAGNOSING AND TREATING NEURODEGENERATIVE DISORDERS

NºPublicación:  AU2024235526A1 30/10/2025
Solicitante: 
ALZPATH INC
ALZPATH, INC
AU_2024235526_PA

Resumen de: AU2024235526A1

Provided herein are compositions and methods relating to improved assays for establishing a condition of a neurodegenerative disease and providing treatment. Further provided herein are compositions and methods comprising improved antibodies for assays including immunoassays used for diagnosing Alzheimer's disease and providing treatment.

METHODS FOR DETECTING THE PRESENCE OF AT LEAST ONE MISFOLDED FORM OF SOD1 IN A BIOLOGICAL SAMPLE

NºPublicación:  AU2024284125A1 30/10/2025
Solicitante: 
MCLAUGHLIN RES INSTITUTE FOR BIOMEDICAL SCIENCES
MCLAUGHLIN RESEARCH INSTITUTE FOR BIOMEDICAL SCIENCES
AU_2024284125_PA

Resumen de: AU2024284125A1

Disclosed herein are methods for detecting the presence of at least one misfolded form of human Superoxide Dismutase 1 (SOD1) in a biological sample obtained from a human subject. In some aspects, the subject is suspected of having, or has, one or more neurodegenerative diseases, such as, for example, Amyotrophic Lateral Sclerosis, Parkinson's disease, or Alzheimer's disease.

METHOD FOR PREPARING SAMPLE SOLUTION CONTAINING NEUROGRANIN-RELATED PEPTIDE AND METHOD FOR ANALYZING NEUROGRANIN-RELATED PEPTIDE

NºPublicación:  US2025334583A1 30/10/2025
Solicitante: 
SHIMADZU CORP [JP]
SHIMADZU CORPORATION
US_2025334583_PA

Resumen de: US2025334583A1

Provided is a method for analyzing a neurogranin-related peptide capable of suppressing variations in analysis results, and a method for preparing a biological sample containing a neurogranin-related peptide used therein. The method includes mixing a biological sample containing a neurogranin-related peptide with an organic solvent having a relative polarity of 0.200 or more and 0.700 or less to prepare a sample solution having a final concentration of the organic solvent of 5.0 (v/v) % or more.

アルツハイマー病関連状態を診断するための生物流体ベースの方法

Nº publicación: JP2025163694A 29/10/2025

Solicitante:

ニューロビジョンイメージング,インコーポレイテッド

JP_2025163694_A

Resumen de: US2024159777A1

This invention provides methods for determining whether a subject has a condition correlative with a matrix effect comprising (a) admixing (i) a suitably diluted sample of a suitable fluid from the subject and (ii) a suitable amount of a labeled molecule, wherein the labeled molecule is subject to a matrix effect with respect to the suitable fluid in a subject afflicted with the condition, and (b) after a suitable duration under suitable conditions, determining the amount of matrix-unaffected labeled molecule present in the resulting admixture, wherein the subject is afflicted with the condition if the amount of matrix-unaffected labeled molecule determined in step (b) correlates with a positive control for the condition, and wherein the subject is not afflicted with the condition if that amount correlates with a negative control for the condition. This invention also provides related methods, kits, and compositions. The present methods and kits are particularly useful for predicting the onset of neurodegenerative disorders such Alzheimer's disease and Parkinson's disease.

traducir