Ministerio de Industria, Turismo y Comercio LogoMinisterior
 

Alerta

Resultados 65 resultados
LastUpdate Última actualización 12/03/2026 [08:19:00]
pdfxls
Solicitudes publicadas en los últimos 60 días / Applications published in the last 60 days
previousPage Resultados 25 a 50 de 65 nextPage  

AGENTS, COMPOSITIONS AND METHODS FOR TREATING AND PREVENTING ALZHEIMER'S DISEASE

NºPublicación:  US20260034143A1 05/02/2026
Solicitante: 
UNIV OF SOUTHERN CALIFORNIA [US]
University of Southern California
US_20260034143_PA

Resumen de: US20260034143A1

Compositions of Allopregnanolone (Allo), and methods of use thereof for treating and preventing Alzheimer's Disease (AD) or dementia have been developed. In some embodiments, the amount of Allo effective to treat AD or dementia is between about 2 mg and about 10 mg, preferably 4 mg per dose. Methods for identifying subjects for treatment of AD or dementia are also provided. The methods include selecting a subject having one or more Apo E4 gene alleles. Methods of treating a human subject having AD or at risk of AD OR DEMENTIA are provided. The methods include administering a dosage of from 2 mg to 6 mg to the subject once within a 24 hour period. The dosing is repeated every seven days, or less frequently. The methods stimulate mitosis of neural progenitor cells, stimulate neurite growth and organization, protect against neural loss, or one or more of these neural processes.

SULFOPROPANOIC ACID DERIVATIVES FOR TREATING NEURODEGENERATIVE DISORDERS

NºPublicación:  US20260034088A1 05/02/2026
Solicitante: 
ALZHEON INC [US]
Alzheon, Inc
US_20260034088_PA

Resumen de: US20260034088A1

Provided herein is the use of a compound of Formula I:or a pharmaceutically acceptable salt thereof, for treating a disease characterized by amyloid and amyloid-like aggregates, e.g., Alzheimer's disease.

BIOLOGICAL TEST SAMPLING KIT

NºPublicación:  US20260035756A1 05/02/2026
Solicitante: 
HEMODX AS [NO]
HEMODX AS
US_20260035756_PA

Resumen de: US20260035756A1

The present invention relates to methods and kits for the collection, preservation and storage of analytes of interest present in biological test samples (biofluid samples). In particular, the present invention relates to means to collect the biological test sample such that substantially all pathogen present in the biological test sample is inactivated, while preserving the analyte of interest in a format to allow subsequent analysis.

TARGET, BIOMARKER, AND PATIENT SELECTION DISCOVERY METHODS USING CELL-TYPE SPECIFIC SPATIAL PROTEOMICS AND MACHINE LEARNING

NºPublicación:  WO2026030628A2 05/02/2026
Solicitante: 
HEBBIAN BIO INC [US]
HEBBIAN BIO INC
WO_2026030628_PA

Resumen de: WO2026030628A2

Methods for target, biomarker, and patient selection discovery in central nervous system disorders utilizing patient-derived cellular models, spatial proteomics, and machine learning. The method generates neural cells from forebrain regions from induced pluripotent stem cells, performs cell-type specific proteome profiling using antibody-enzyme conjugates and spatial proteome profiling, and applies statistical data augmentation to sparse biological datasets. Machine learning classifiers with SHAP-based feature importance identify ranked biomarkers from mass spectrometry data. The platform enables patient stratification by linking molecular signatures to symptom severity, drug screening through biomarker modulation, and diagnostic applications. Kits comprising antibodies for biomarkers including antibodies for biomarkers identified by the method facilitate implementation. Applications include autism spectrum disorder, rare neurodevelopmental disorders, schizophrenia, epilepsy, Alzheimer's disease, and Parkinson's disease.

ANTIMICROBIAL PEPTIDES

NºPublicación:  AU2024291458A1 05/02/2026
Solicitante: 
EISAI R&D MANAGEMENT CO LTD
EISAI R&D MANAGEMENT CO., LTD
AU_2024291458_PA

Resumen de: AU2024291458A1

Disclosed herein are methods of diagnosing, selecting, monitoring, and treating subjects with Alzheimer's disease (AD) or suspected of having AD, based on presence of antimicrobial peptides (AMPs) at levels that differ from those in control individuals.

AMYLOID INHIBITORY PEPTIDES

NºPublicación:  WO2026027796A1 05/02/2026
Solicitante: 
TECHNISCHE UNIV MUENCHEN IN VERTRETUNG DES FREISTAATES BAYERN [DE]
TECHNISCHE UNIVERSIT\u00C4T M\u00DCNCHEN, IN VERTRETUNG DES FREISTAATES BAYERN
WO_2026027796_PA

Resumen de: WO2026027796A1

The present invention relates to peptides, in particular of amyloid inhibitory peptides, and to pharmaceutical compositions comprising such peptides, for use in methods of treating or preventing or delaying the onset of synucleinopathies, in particular of Parkinson's disease (PD) or dementia with Lewy bodies, and their comorbidities, in particular PD/type 2 diabetes (T2D) and PD/Alzheimer's disease (AD). Furthermore, the present invention relates to such peptides, in particular such amyloid inhibitory peptides, for use in methods of diagnosing such synucleinopathies and related comorbidities. Furthermore, the present invention also relates to a kit for the in-vitro or in-vivo detection and, optionally, quantification of amyloidogenic polypeptides, amyloid fibrils or amyloid aggregates, and/or for the diagnosis of synucleinopathies and related comorbidities, in particular PD/type 2 diabetes (T2D) and PD/Alzheimer's disease (AD), in a patient.

AMYLOID INHIBITORY PEPTIDES

NºPublicación:  EP4686725A1 04/02/2026
Solicitante: 
TECHNISCHE UNIV MUENCHEN IN VERTRETUNG DES FREISTAATS BAYERN [DE]
Technische Universit\u00E4t M\u00FCnchen, in Vertretung des Freistaats Bayern
EP_4686725_PA

Resumen de: EP4686725A1

The present invention relates to peptides, in particular of amyloid inhibitory peptides, and to pharmaceutical compositions comprising such peptides, for use in methods of treating or preventing or delaying the onset of synucleinopathies, in particular of Parkinson's disease (PD) or dementia with Lewy bodies, and their comorbidities, in particular PD/type 2 diabetes (T2D) and PD/Alzheimer's disease (AD). Furthermore, the present invention relates to such peptides, in particular such amyloid inhibitory peptides, for use in methods of diagnosing such synucleinopathies and related comorbidities. Furthermore, the present invention also relates to a kit for the in-vitro or in-vivo detection and, optionally, quantification of amyloidogenic polypeptides, amyloid fibrils or amyloid aggregates, and/or for the diagnosis of synucleinopathies and related comorbidities, in particular PD/type 2 diabetes (T2D) and PD/Alzheimer's disease (AD), in a patient.

アルツハイマー病を判定するためのタンパク質マーカー

NºPublicación:  JP2026016513A 03/02/2026
Solicitante: 
ザ・ホンコン・ユニバーシティー・オブ・サイエンス・アンド・テクノロジー
JP_2026016513_PA

Resumen de: JP2025118826A

To provide methods and compositions useful for diagnosis of AD, as well as methods and compositions useful for indicating therapeutic efficacy of an agent for treating AD.SOLUTION: A method for determining whether a subject has an increased risk of subsequently developing AD is provided, the method comprising: (1) comparing the subject's plasma, serum, or whole blood level or concentration of any one protein selected from Tables 1-4 with a standard control level of the same protein found in the plasma, serum, or whole blood of an average healthy subject not suffering from or at increased risk for AD; (2) detecting that the subject's plasma, serum, or whole blood level of the protein having a positive β value or a negative β value in Table 1, 2, 3, or 4 is higher or lower than the standard control level; and (3) determining that the subject has an increased risk for AD.SELECTED DRAWING: Figure 1

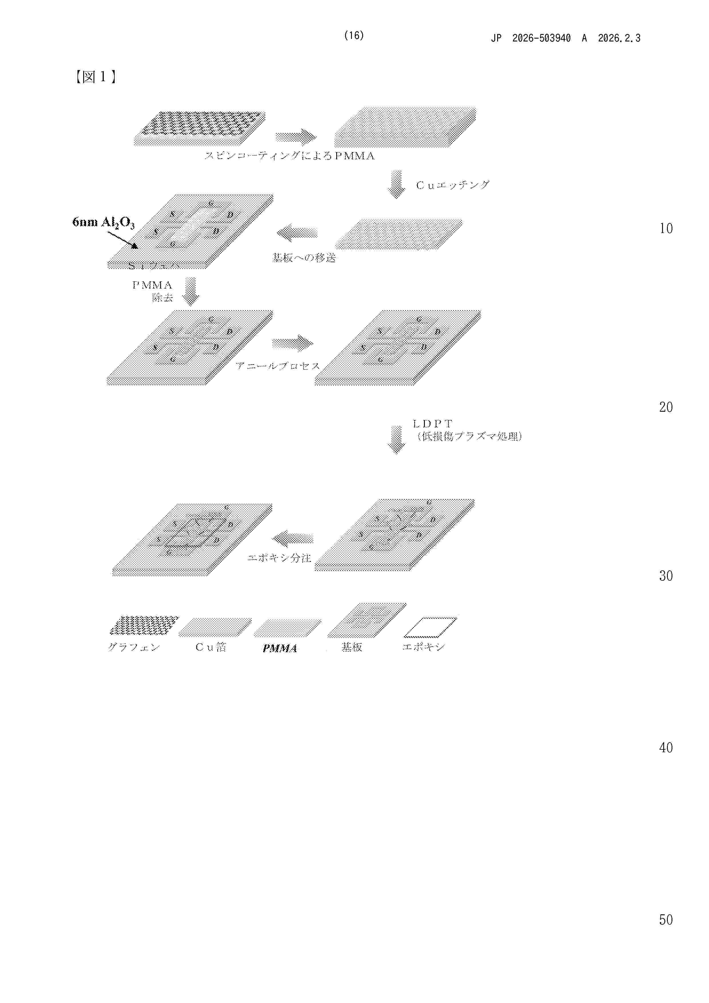
アルツハイマー病のバイオマーカーを検出するためのバイオセンサを製造する方法およびそれによって製造されたバイオセンサ

NºPublicación:  JP2026503940A 03/02/2026
Solicitante: 
ノヴァスコープバイオチップスインコーポレーテッド
JP_2026503940_A

Resumen de: CN120457337A

The present disclosure provides a method of preparing a biosensor for detecting Alzheimer's disease biomarkers, comprising depositing an alumina film on a Si substrate by an atomic layer deposition system to form an Al2O3/Si substrate; depositing an electric contact part Cr/Au on the Al2O3/Si substrate through a thermal evaporator, and forming a source electrode, a drain electrode and a planar grid electrode on the Al2O3/Si substrate; providing double-layer graphene on the Al2O3/Si substrate through thermal annealing in a vacuum environment; performing low-damage plasma treatment (LDPT) on the double-layer graphene with a mixture of oxygen and hydrogen to form a graphene oxide/graphene (GO/G) layered composite material on the Al2O3/Si substrate; an antibody is immobilized on the surface of a GO/G layered composite material by a reaction between an amine group of the antibody and a carboxyl group of GO of the GO/G layered composite material, where the antibody is specific for p-tau217 protein.

Anti-a-beta protein antibodies, methods and uses thereof

NºPublicación:  IL325709A 01/02/2026
Solicitante: 
F HOFFMANN LA ROCHE AG [CH]
FRESKGARD PER OLA [CH]
GEORGES GUY [DE]
IMHOF JUNG SABINE [DE]
NEUBAUER MARKUS [DE]
NIEWOEHNER JENS [DE]
RUEGER PETRA [DE]
F. HOFFMANN-LA ROCHE AG,
FRESKGARD Per-Ola,
GEORGES Guy,
IMHOF-JUNG Sabine,
NEUBAUER Markus,
NIEWOEHNER Jens,
RUEGER Petra
AU_2024322991_PA

Resumen de: AU2024322991A1

Herein is reported an antibody that binds to human A-beta protein, wherein the antibody comprises a heavy chain variable domain (VH) and a light chain variable domain comprising CDRs selected from (1) CDRs of SEQ ID NO: 85, 86, 87, 81, 82 and 83; or (2) CDRs of SEQ ID NO: 85, 89, 87, 81, 82 and 83; or (3) CDRs of SEQ 5 ID NO: 85, 86, 87, 81, 82 and 91; or (4) CDRs of SEQ ID NO: 85, 89, 87, 81, 82 and 91.

FIBRILLARY APOLIPOPROTEIN E (APOE) FOR USE IN A METHOD OF TREATMENT AND/OR PREVENTION OF A NEURODEGENERATIVE DISEASE

NºPublicación:  WO2026022191A1 29/01/2026
Solicitante: 
TECHNISCHE UNIV MUENCHEN IN VERTRETUNG DES FREISTAATES BAYERN [DE]
HELMHOLTZ ZENTRUM MUENCHEN DEUTSCHES FORSCHUNGSZENTRUM FUER GESUNDHEIT UND UMWELT GMBH [DE]
TECHNISCHE UNIVERSIT\u00C4T M\u00DCNCHEN, IN VERTRETUNG DES FREISTAATES BAYERN,
HELMHOLTZ ZENTRUM M\u00DCNCHEN DEUTSCHES FORSCHUNGSZENTRUM F\u00DCR GESUNDHEIT UND UMWELT (GMBH)
WO_2026022191_A1

Resumen de: WO2026022191A1

The present invention relates to the field of neurodegenerative diseases, in particular Alzheimer's disease. The present invention further relates to fibrillary Apolipoprotein E (ApoE) for use in a method of treatment and/or prevention of a neurodegenerative disease and methods of producing said fibrillary ApoE. Moreover, the present invention relates to an antigen-binding peptide specifically binding to fibrillary ApoE, preferably human ApoE, a method of generating said antigen-binding peptide, and its use in a method of treatment and/or prevention and/or diagnosis of a neurodegenerative disease in a patient in need thereof.

HIGH PRECISION AND COST-EFFECTIVE MULTIPLEX QUANTIFICATION OF AB40, AB42, P181TAU, P217TAU, NFL, AND GFAP FROM PLASMA AND SERUM

NºPublicación:  US20260029414A1 29/01/2026
Solicitante: 
UNIV OF SOUTHERN CALIFORNIA [US]
University of Southern California
US_20260029414_PA

Resumen de: US20260029414A1

A bioassay system for multiplexed detection and quantification of multiple analytes (e.g., Aβ40, Aβ42, pTau181, p217Tau, GFAP, and NFL) in a biological sample is provided. The bioassay system includes a plurality of sets of color-coded microspheres. Each set of microspheres is distinguishable by a unique color code generated by internal dyes. The bioassay system includes a first set of control microspheres attached to mouse polyclonal IgG to correct for a background of individual specimens and a second set of control microspheres configured to capture a synthetic peptide to normalize for well-to-well variations. Bioassay system also includes a fluidic system configured to mix the sample with the plurality of sets of color-coded microspheres to allow for specific binding between analytes and their corresponding capture agent among other analytes and a detection system for exciting and reading fluorescence of the internal dyes and a reporter fluorescence indicative of analyte binding.

FIBRILLARY APOLIPOPROTEIN E (APOE) FOR USE IN A METHOD OF TREATMENT AND/OR PREVENTION OF A NEURODEGENERATIVE DISEASE

NºPublicación:  EP4685158A1 28/01/2026
Solicitante: 
UNIV MUENCHEN TECH [DE]
Technische Universit\u00E4t M\u00FCnchen
EP_4685158_A1

Resumen de: EP4685158A1

The present invention relates to the field of neurodegenerative diseases, in particular Alzheimer's disease. The present invention further relates to fibrillary Apolipoprotein E (ApoE) for use in a method of treatment and/or prevention of a neurodegenerative disease and methods of producing said fibrillary ApoE. Moreover, the present invention relates to an antigen-binding peptide specifically binding to fibrillary ApoE, preferably human ApoE, a method of generating said antigen-binding peptide, and its use in a method of treatment and/or prevention and/or diagnosis of a neurodegenerative disease in a patient in need thereof.

Alzheimer's Disease Home Test

NºPublicación:  KR20260011952A 26/01/2026
Solicitante: 
김서영

Resumen de: KR20260011952A

본 발명은 알츠하이머 자가진단 키트에 관한 것으로서 Sample pad에 전개액을 뿌리면 흡수되며 용액이 이동하며 항체를 이동시키고 5분 이내의 짧은 검사 시간 후에 Membrane pad의 control line과 test line 에서 발색 신호가 나타나게 함으로써, 개인이 집에서 진단하기에 어렵다는 문제점을 해소하도록 함으로써 기존의 뇌척수액을 추출해 검사해야 하며 과정이 복잡하므로 개인이 집에서 진단하기에 어려움 문제점을 해소 하도록 한 것이다.즉 본 발명은, 알츠하이머 진단을 위한 ELISA 테스트에 있어서 Strip에서 전개액을 가하는 부분으로, 이 부분에 전개액을 뿌리면 흡수되며 용액이 이동할 수 있게 흡수가 용이한 패드로 구성한 Sample pad, 바이오마커와 결합할 수 있고 시각적 태그(금나노입자)가 붙어있는 항체가 고정되어 있어 전개액이 흐르면 같이 이동할 수 있게 항체를 손상 없이 고정시키고, 전개액이 도달했을 때 잘 이동시킬 수 있는 패드로 구성한 Conjugate pad, control line과 test line의 항원 또는 항체가 부착되어 있어 발색 신호를 알 수 있게 시각적 태그가 결합되어 있고, 아밀로이드 베타와 결합할 수 있는 항체가 용이하게 이동할 수 있는 패드로 구성한 Membrane pad, 이동한 전개액과 반응하지 않은 항체 등이 흡수될 수 있게 용액 흡�

包含Aβ、pTau和/或tTau的鼻流体样品

NºPublicación:  CN121399472A 23/01/2026
Solicitante: 
诺兹莱博有限公司
CN_121399472_PA

Resumen de: WO2024235879A1

The invention relates to a nasal fluid sample obtained from a subject comprising the marker protein(s) β amyloid (Aβ), phosphorylated Tau (pTau) and/or total Tau (tTau). The invention further relates to a nasal fluid sample comprising the marker protein(s) Aβ, pTau and/or tTau for use in a method for the aid in diagnosis of neurodegenerative diseases and the use of a nasal fluid sample comprising the marker protein(s) Aβ, pTau and/or tTau for the aid in diagnosis of a neurodegenerative disease. The invention further relates to a method for the aid in diagnosis of a neurodegenerative disease in a subject/individual.

MULTIOMIC MARKERS OF METABOLIC TRANSITIONS IN AGE-DRIVEN COGNITIVE DECLINE WITH ASSOCIATED INTERVENTION MODALITIES

NºPublicación:  WO2026019970A1 22/01/2026
Solicitante: 
FULCRUM NEUROSCIENCE INC [US]
FULCRUM NEUROSCIENCE, INC
WO_2026019970_PA

Resumen de: WO2026019970A1

The disclosure relates to compositions and methods for diagnosing, stratifying, prognosing, treating and preventing and cognitive impairment, including Alzheimer's Disease, based on the identification of disease-associated metabolic transitions.

PROTEIN AGGREGATION ASSAY AND METHODS OF USING THE SAME

NºPublicación:  US20260023086A1 22/01/2026
Solicitante: 
BOARD OF SUPERVISORS OF LOUISIANA STATE UNIV AND AGRICULTURAL AND MECHANICAL COLLEGE [US]
Board of Supervisors of Louisiana State University and Agricultural and Mechanical College
US_20260023086_PA

Resumen de: US20260023086A1

The present invention is directed to a protein aggregation assay, and methods of use thereof.

COMPOSITIONS AND METHODS FOR TREATMENT AND PREVENTION OF NEURODEGENERATIVE DISEASES AND DISORDERS

NºPublicación:  AU2024277300A1 22/01/2026
Solicitante: 
THE TRUSTEES OF THE UNIV OF PENNSYLVANIA
THE TRUSTEES OF THE UNIVERSITY OF PENNSYLVANIA
AU_2024277300_A1

Resumen de: AU2024277300A1

The present invention relates to compositions and methods for promoting the removal of misfolded proteins and protein aggregates. The compositions and methods may be used to treat or prevent a neurodegenerative disease or disorder associated with misfolded proteins or protein aggregates. In various embodiments, the compositions and methods relate to activators of one or more TRIM proteins.

METHOD FOR THE QUANTIFICATION OF PLASMA AMYLOID-BETA BIOMARKERS IN ALZHEIMER'S DISEASE

NºPublicación:  WO2026018204A1 22/01/2026
Solicitante: 
UNIV OF PITTSBURGH OF THE COMMONWEALTH SYSTEM OF HIGHER EDUCATION [US]
UPMC [US]
UNIVERSITY OF PITTSBURGH - OF THE COMMONWEALTH SYSTEM OF HIGHER EDUCATION,
UPMC
WO_2026018204_PA

Resumen de: WO2026018204A1

Provided herein is a method of detecting an amyloid peptide in a patient sample, including exposing the patient sample to a binding reagent in the presence of an assay binding buffer, thereby immunoprecipitating the amyloid peptide; washing the immunoprecipitated amyloid peptide; eluting the washed, immunoprecipitated amyloid peptide, thereby generating free amyloid peptide; and analyzing the free amyloid peptide with a mass spectrometer.

ENGINEERED CELLS TO DETECT AND RESPOND TO TAU

NºPublicación:  WO2026019699A1 22/01/2026
Solicitante: 
VANDERBILT UNIV [US]
VANDERBILT UNIVERSITY
WO_2026019699_A1

Resumen de: WO2026019699A1

The present disclosure is directed to engineered cells designed to sense tau and to express one or more proteins in response to this binding event. In addition, the cells and associated methods of use can detect, treat, and recapitulate the symptoms of Alzheimer's disease. The engineered cells can regulate expression of neuronal growth factors and anti-inflammatory proteins to address neurodegeneration and neuroinflammation, respectively.

ANTISENSE THIOMORPHOLINO OLIGONUCLEOTIDES FOR THE INHIBITION OF PEG10 RIBOSOMAL FRAMESHIFTING

NºPublicación:  WO2026020153A1 22/01/2026
Solicitante: 
THE REGENTS OF THE UNIV OF COLORADO A BODY CORPORATE [US]
THE REGENTS OF THE UNIVERSITY OF COLORADO A BODY CORPORATE
WO_2026020153_PA

Resumen de: WO2026020153A1

Composition and methods for treating neurodegenerative diseases, such as Amyotrophic Lateral Sclerosis (ALS), Frontotemporal Dementia (FTD), and Angelman's Syndrome (AS), the compositions specifically including antisense oligonucleotides (ASOs) containing thiomorpholino nucleotides configured to inhibit ribosomal frameshifting of paternally expressed gene 10 (PEG 10) mRNA during translation, thereby inhibiting the formation of the long form gag-pol protein.

METHODS OF DIAGNOSING AND TREATING NEURODEGENERATIVE DISORDERS

NºPublicación:  EP4680633A1 21/01/2026
Solicitante: 
ALZPATH INC [US]
Alzpath, Inc
US_20260008840_PA

Resumen de: US20260008840A1

Provided herein are compositions and methods relating to improved assays for establishing a condition of a neurodegenerative disease and providing treatment. Further provided herein are compositions and methods comprising improved antibodies for assays including immunoassays used for diagnosing Alzheimer's disease and providing treatment.

アルツハイマー病の無症状期を診断するためのバイオマーカーおよびその使用

NºPublicación:  JP2026009931A 21/01/2026
Solicitante: 
エージェント
JP_2026009931_PA

Resumen de: CN114981452A

The invention relates to a molecular marker for silent period of Alzheimer's disease. And methods of using the same for diagnosing the silent phase of Alzheimer's disease in a subject, classifying the silent phase of Alzheimer's disease in a subject into different levels of silent phase, predicting the progression of a silent phase of Alzheimer's disease in a subject, and determining an individualized treatment process for a subject suffering from a silent phase of Alzheimer's disease. It also relates to a computer system comprising a trained machine learning algorithm for diagnosing the silent period of Alzheimer's disease in a subject.

METHODS FOR DETERMINING PEPTIDYLGLYCINE ALPHA-AMIDATING MONOOXYGENASE (PAM) AND ITS USE FOR DIAGNOSTIC PURPOSE

NºPublicación:  EP4680966A1 21/01/2026
Solicitante: 
PAM THERAGNOSTICS GMBH [DE]
PAM Theragnostics GmbH
CN_120731367_A

Resumen de: CN120731367A

The present invention relates to a method for determining the level of PAM and/or its homoisomers and/or fragments thereof in a bodily fluid or tissue sample using an assay comprising at least one binding agent for conformational epitopes of PAM, and to the use of said method for diagnostic purposes.

Aβ, pTau 및/또는 tTau를 포함하는 비액 샘플

Nº publicación: KR20260009358A 19/01/2026

Solicitante:

노젤라프게엠베하

KR_20260009358_PA

Resumen de: WO2024235879A1

The invention relates to a nasal fluid sample obtained from a subject comprising the marker protein(s) β amyloid (Aβ), phosphorylated Tau (pTau) and/or total Tau (tTau). The invention further relates to a nasal fluid sample comprising the marker protein(s) Aβ, pTau and/or tTau for use in a method for the aid in diagnosis of neurodegenerative diseases and the use of a nasal fluid sample comprising the marker protein(s) Aβ, pTau and/or tTau for the aid in diagnosis of a neurodegenerative disease. The invention further relates to a method for the aid in diagnosis of a neurodegenerative disease in a subject/individual.

traducir