Ministerio de Industria, Turismo y Comercio LogoMinisterior
 

Alerta

Resultados 73 resultados
LastUpdate Última actualización 22/01/2026 [06:54:00]
pdfxls
Solicitudes publicadas en los últimos 30 días / Applications published in the last 30 days (excluidas publicaciones Chinas / Chinese publications excluded)
Resultados 1 a 25 de 73 nextPage  

METHOD FOR COATING A POWDER COMPACT

NºPublicación:  EP4681548A1 21/01/2026
Solicitante: 
DELICA AG [CH]
Delica AG
EP_4681548_A1

Resumen de: EP4681548A1

Die Erfindung betrifft ein Verfahren zur Beschichtung eines Pulverpresslings, insbesondere zur Herstellung einer Getränkepulver enthaltenen Kapsel. Das Verfahren umfasst die folgenden Schritte:a) Bereitstellen eines Pulverpresslings aus einem wenigstens ein Polysaccharid enthaltenden Pulver,b) Bereitstellen einer Beschichtungslösung aus mindestens einem Polysaccharid zum Beschichten des Pulverpresslingsc) Aufbringen der hochviskosen Beschichtungslösung auf den Pulverpressling,d) Trocknen des beschichteten Pulverpresslings.Die Beschichtungslösung weist eine Viskosität zwischen mindestens 400 mPas und maximal 4000 mPas, bevorzugt zwischen 600 und 2500 mPas und besonders bevorzugt zwischen 800 und 1500 mPas auf, gemessen mit einem Rheometer. Die Erfindung betrifft auch eine Kapsel zur Getränkezubereitung.

MULTILAYER DISPERSIBLE AND BIODEGRADABLE COMPOSITE

NºPublicación:  EP4680461A2 21/01/2026
Solicitante: 
SMARTSOLVE IND LLC [US]
Smartsolve Industries LLC
WO_2024192376_PA

Resumen de: MX2025010710A

A dispersible and biodegradable composite having a dispersible substrate comprising a water-dispersible paper; and a first biodegradable polymeric film, adjacent a first side of the dispersible substrate, comprising at least one biodegradable component. The dispersible and biodegradable composite may have a second biodegradable polymeric film on the second side of the dispersible substrate. The dispersible and biodegradable composite may be used to form a package. A method of making the dispersible and biodegradable composite includes applying the biodegradable polymeric film to the dispersible substrate.

BINDER COMPOSITION

NºPublicación:  EP4680680A1 21/01/2026
Solicitante: 
HARLING STUART ROSS RHIND [GB]
Harling, Stuart Ross Rhind
WO_2024189316_A1

Resumen de: WO2024189316A1

The present invention provides, inter alia, a dry powder binder composition comprising: - a protein; - a mixture of sodium salts comprising: - sodium carboxymethylcellulose, sodium metasilicate, sodium gluconate, sodium metabisulphite and sodium carbonate; - a mixture of starches comprising: - corn starch, cassava starch and rice starch; and - a dextrin.

HIGHLY SOLUBLE PEA STARCH AS REPLACER OF MALTODEXTRIN

NºPublicación:  EP4680652A1 21/01/2026
Solicitante: 
ROQUETTE FRERES [FR]
ROQUETTE FRERES
CN_121241072_PA

Resumen de: WO2024230950A1

The invention is related to a high soluble leguminous starch having a content of oligosaccharides with a Degree of Polymerization (DP) of 1 and 2 of less than 10 % in weight, more preferably less than 6 %, a content of oligosaccharides with a DP of 3 to 20 of more than 50 % in weight, more preferably more than 70 %, a water solubility of more than 90 % in weight, more preferably more than 95 %, a viscosity of less than 500 cP, more preferably of less than 100 cP, and characterized by an α 1,4 / α 1,6 ratio determined by 13C NMR between 23 to 32 %.

ゴム組成物およびそれを用いたスタッドレスタイヤ

NºPublicación:  JP2026007192A 16/01/2026
Solicitante: 
横浜ゴム株式会社
JP_2026007192_A

Resumen de: JP2026007192A

【課題】氷雪路面では、一般路面に比べて摩擦係数が低下し、滑りやすくなる。そこで従来、スタッドレスタイヤの氷上性能を向上させるために数多くの手法が提案されているが、さらに氷上性能を高めることが求められている。また、環境上の負荷を低減することも求められている。【解決手段】ジエン系ゴム100質量部に対し、柑橘類の搾汁残渣パウダーを0.5質量部以上配合したことを特徴とするゴム組成物によって上記課題を解決した。【選択図】なし

水性バリアコーティング及び包装材料のバリア特性を向上させる方法

NºPublicación:  JP2026501517A 16/01/2026
Solicitante: 
ソレニス・テクノロジーズ・ケイマン・エル・ピー
JP_2026501517_A

Resumen de: MX2025006391A

An aqueous paper barrier coating and methods for improving barrier properties of packaging material are described. The packaging material includes a substrate with coatings to provide a packaging material having tailored moisture vapor transmission, oxygen permeation or transmission, oil and grease resistance, and light properties.

BIODEGRADABLE THERMOPLASTIC POLYOXAZOLINE BASED COPOLYMERS

NºPublicación:  WO2026015019A1 15/01/2026
Solicitante: 
INNOCORE TECH HOLDING B V [NL]
INNOCORE TECHNOLOGIES HOLDING B.V
WO_2026015019_A1

Resumen de: WO2026015019A1

The invention is directed to a biodegradable, thermoplastic multiblock copolymer, to a process for preparing a biodegradable, thermoplastic multiblock copolymer, to the use of a biodegradable thermoplastic multiblock copolymer, to a composition for the delivery of at least one pharmacologically active compound to a host, and a medical device comprising a biodegradable, thermoplastic multiblock copolymer. The biodegradable, thermoplastic multiblock copolymers of the invention comprise at least one prepolymer (A) segment and at least one hydrolysable amorphous prepolymer (B) segment, wherein the segments are linked by a multifunctional chain extender, wherein the at least one prepolymer (A) segment comprises: a) one or more hydrolysable linkages, b) a water-soluble polyoxazoline-based polymer, and c) reaction products of one or more cyclic monomers and/or one or more non-cyclic monomers, wherein the water-soluble polyoxazoline-based polymer is a polymer containing a repeating unit of structure −N(COR1)CH2CH2n− where R1 is independently selected for each repeating unit from an alkyl group and n is 3-100, and wherein the multiblock copolymer is amorphous.

BIODEGRADABLE PULP PRODUCTS FROM NATURAL FIBERS

NºPublicación:  WO2026012850A1 15/01/2026
Solicitante: 
PAPACKS SALES GMBH [DE]
PAPACKS SALES GMBH
WO_2026012850_PA

Resumen de: WO2026012850A1

A molded pulp product formed from the molding of a three-dimensional pulp slurry. The pulp slurry comprises a natural fiber composition of virgin fibers which have not been recycled and are derived from plant materials. The natural fiber composition includes hemp fibers which have been micronized to suitable length and combined with pulverized hemp shive to form a fibrous matrix. The molded pulp product is formed from a vacuum molding process, thermoforming process, custom air-burst molding process, or other molding process wherein the slurry is applied to a three-dimensional mold and a three-dimensional product is formed. The resulting packaging product is one hundred percent biodegradable.

PHARMACEUTICAL COMPOSITION BASED ON BIODEGRADABLE POLYMERS COMPRISING POLYOXAZOLINE

NºPublicación:  WO2026013080A1 15/01/2026
Solicitante: 
INNOCORE TECH HOLDING B V [NL]
INNOCORE TECHNOLOGIES HOLDING B.V
WO_2026013080_A1

Resumen de: WO2026013080A1

The invention relates to a pharmaceutical composition comprising: a. 20-75 wt% of a biodegradable polymer according to Formula (1) POZx, y -(B-R)z (1), wherein POZx, y is a polyoxazoline, B = a hydrophobic moiety, R = H, or a C1-C18 alkylgroup, x = the number of chain ends of the POZx, y, and is 2, 3, 4, 5 or 6, y = the number of attachment points for B-R at each chain end of the POZx, y, and is 1 or 2, and z is the number of (B-R) groups per biodegradable polymer, and is 2, 3, 4, 5, 6, 7, 8, 9, 10, 11 or 12; b. 20-79 wt% of a biocompatible organic solvent; and c. 1-40 wt% of an active pharmaceutical ingredient; wherein the weight percentages of (a), (b) and (c) are defined relative to the sum of (a)+(b)+(c); wherein the weight fraction of the POZx, y ranges between 4-40 wt% relative to the total weight of the biodegradable polymer, wherein the weight fraction of the POZx, y is determined by 1H-NMR. The invention also relates to a biodegradable polymer, and to pharmaceutical compositions comprising the biodegradable polymer and an active pharmaceutical ingredient, wherein the pharmaceutical compositions are in the form of microparticles, microgranules, microspheres or an implant.

WATER-SOLUBLE FILM AND WASHING OR CLEANING AGENT PORTION UNIT COMPRISING SUCH FILM

NºPublicación:  WO2026012797A1 15/01/2026
Solicitante: 
HENKEL AG & CO KGAA [DE]
HENKEL AG & CO. KGAA
WO_2026012797_A1

Resumen de: WO2026012797A1

The invention relates to a water-soluble film, in particular water-soluble film for washing and/or cleaning agent portion units, wherein the film comprises, based on the total weight of the film composition, (A) 50 to 80 wt.%, preferably 60 to 75 wt.%, of at least one biopolymer, and (B) 0.2 to 15 wt.%, preferably 0.5 to 10 wt.%, of at least one alkyl polyglycoside, wherein the alkyl polyglycoside has the formula R5O-Gp, in which R5 represents a linear or branched alkyl or alkenyl having 4 to 24, preferably 5 to 20, C atoms, G represents a sugar residue having 5 or 6 C atoms and p represents numbers from 1 to 10. The invention also relates to a pre-portioned washing or cleaning composition comprising at least one receiving chamber with a washing or cleaning composition, in particular a highly concentrated washing or cleaning composition, and a water-soluble film. Furthermore, the invention relates to a method for producing such a water-soluble film and such a washing or cleaning agent portion unit, and to a method for washing textiles and/or for cleaning hard surfaces, in particular dishes, using such a washing or cleaning agent portion unit.

溶融袋、それを用いた塊状体、ホットメルトシート、およびホットメルト積層体

NºPublicación:  JP2026005237A 15/01/2026
Solicitante: 
artience株式会社トーヨーケム株式会社
JP_2026005237_PA

Resumen de: JP2025110407A

To provide a melting bag for a hot melt adhesive, which is superior in workability during packaging such as crushing resistance, and deformation easiness more than before, and which is also superior in compatibility with a content during use, and a hot melt sheet and a hot melt laminate using the same.SOLUTION: A melt bag is formed from a resin composition containing at least a styrene-based elastomer (A) and having a melt viscosity of 30,000 mPa s or less at 160°C.SELECTED DRAWING: Figure 1

WATER-SOLUBLE FILM AND WASHING OR CLEANING AGENT PORTION UNIT COMPRISING SUCH FILM

NºPublicación:  WO2026012796A1 15/01/2026
Solicitante: 
HENKEL AG & CO KGAA [DE]
HENKEL AG & CO. KGAA
WO_2026012796_A1

Resumen de: WO2026012796A1

The invention relates to a water-soluble film, in particular water-soluble film for washing and/or cleaning agent portion units, wherein the film comprises, based on the total weight of the film composition, (A) 50 to 80 wt.%, preferably 60 to 75 wt.%, of at least one PVOH (co-)polymer, wherein the PVOH (co-)polymer is selected from at least one polyvinyl alcohol homopolymer, at least one polyvinyl alcohol copolymer or a mixture thereof, and (B) 0.2 to 15 wt.%, preferably 0.5 to 10 wt.%, of at least one alkyl polyglycoside, wherein the alkyl polyglycoside has the formula R5O-Gp, in which R5 represents a linear or branched alkyl or alkenyl having 4 to 24, preferably 5 to 20, C atoms, G represents a sugar residue having 5 or 6 C atoms and p represents numbers from 1 to 10. The invention also relates to a pre-portioned washing or cleaning composition comprising at least one receiving chamber with a washing or cleaning composition, in particular a highly concentrated washing or cleaning composition, and a water-soluble film. Furthermore, the invention relates to a method for producing such a water-soluble film and such a washing or cleaning agent portion unit, and to a method for washing textiles and/or for cleaning hard surfaces, in particular dishes, using such a washing or cleaning agent portion unit.

FIBER-BASFED MICROWAVABLE BOWLS WITH SELECTIVE SPRAY COATING

NºPublicación:  US20260015800A1 15/01/2026
Solicitante: 
FOOTPRINT INT LLC [US]
FOOTPRINT INTERNATIONAL, LLC
US_20260015800_PA

Resumen de: US20260015800A1

Methods and apparatus for vacuum forming and subsequently applying topical coatings fiber-based food containers. The slurry includes one or more of an embedded moisture barrier, vapor barrier, and oil barrier, and the topical coating comprises one or more of a vapor barrier, a moisture barrier, an oil barrier, and an oxygen barrier. For food containers having deep sidewalls, a spray coating system includes a first nozzle for applying a full cone spray pattern to the bottom surface of the container, and a second nozzle for applying a hollow cone spray pattern to the inside surfaces of the side walls.

BIODEGRADABLE PULP PACKAGING PRODUCTS FROM NATURAL FIBERS

NºPublicación:  US20260015144A1 15/01/2026
Solicitante: 
PAPACKS SALES GMBH [DE]
PAPACKS SALES GMBH
US_20260015144_PA

Resumen de: US20260015144A1

A molded pulp product formed from the molding of a three-dimensional pulp slurry. The pulp slurry comprises a natural fiber composition of virgin fibers which have not been recycled and are derived from plant materials. The natural fiber composition includes hemp fibers which have been micronized to suitable length and combined with pulverized hemp shive to form a fibrous matrix. The molded pulp product is formed from a vacuum molding process, thermoforming process, custom air-burst molding process, or other molding process wherein the slurry is applied to a three-dimensional mold and a three-dimensional product is formed. The resulting packaging product is one hundred percent biodegradable.

COMPOSTABLE SEAWEED-BASED COMPOSITIONS, AND ASSOCIATED SYSTEMS AND METHODS

NºPublicación:  US20260015797A1 15/01/2026
Solicitante: 
SWAY INNOVATION CO [US]
Sway Innovation Co
US_20260015797_PA

Resumen de: US20260015797A1

Compostable seaweed-based compositions, and associated systems and methods are disclosed herein. In some embodiments, the seaweed-based composition comprises (i) a phycocolloid including agar, alginate, carrageenan, and/or unprocessed seaweed, (ii) a polymer comprising thermoplastic starch (TPS), polycaprolactone (PCL), polylactic acid (PLA), polyhydroxyalkanoates (PHA), polyesteramide (PEA), polybutylene adipate terephthalate (PBAT), polybutylene succinate (PBS), and/or polyvinyl alcohol (PVOH), and (iii) an additive, wherein the phycocolloid comprises no more than 90 wt % of the seaweed-based composition, the biopolymer comprises no more than 80 wt % of the seaweed-based composition, and the additive comprises no more than 50 wt % of the seaweed-based composition.

CONTAINER COMPRISING A MOULDED BOTTOM RECEPTACLE

NºPublicación:  WO2026012774A1 15/01/2026
Solicitante: 
EXOTEC PRODUCT FRANCE [FR]
EXOTEC PRODUCT FRANCE
WO_2026012774_PA

Resumen de: WO2026012774A1

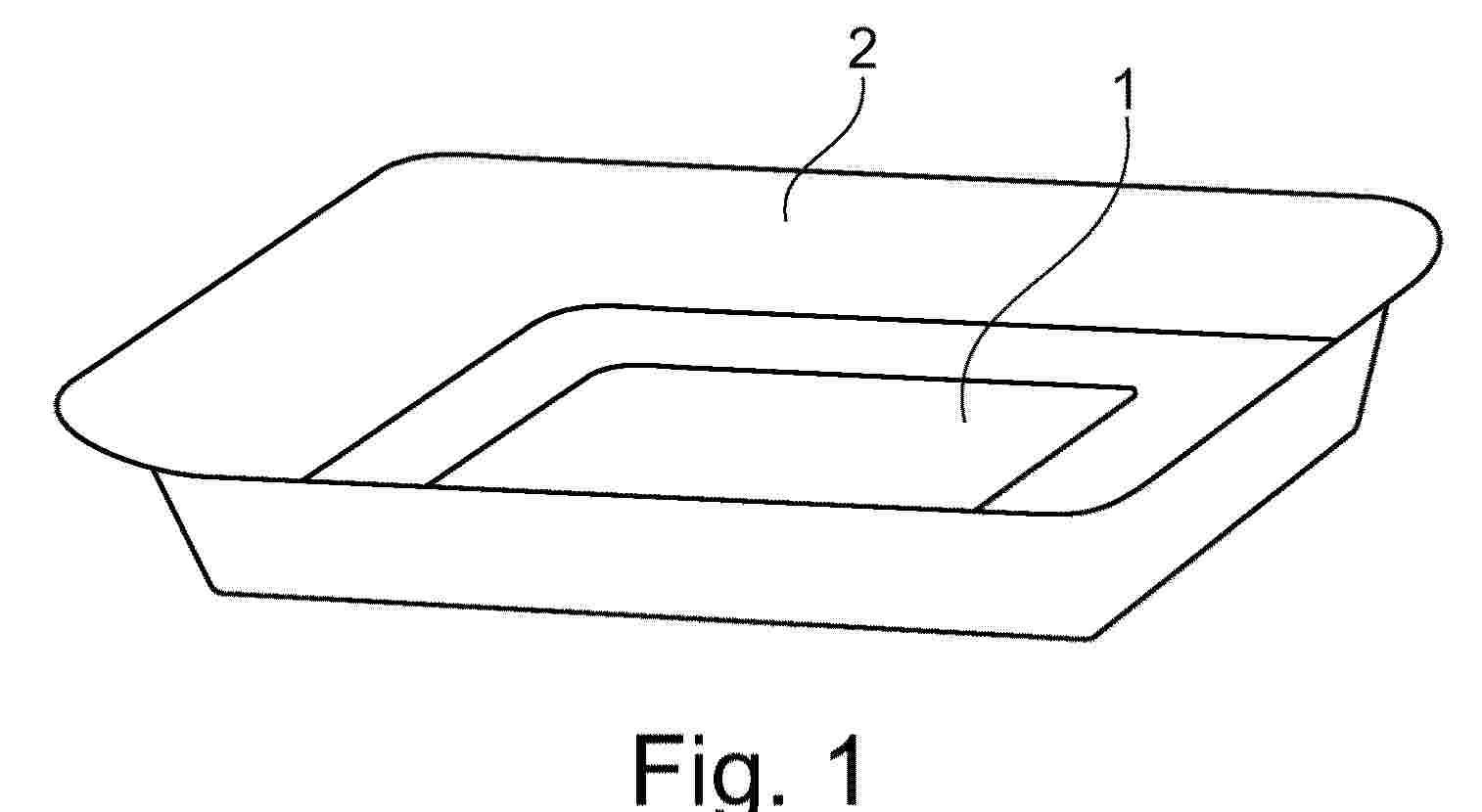
The present disclosure relates to a container (1) for a storage and retrieval system comprising an assembly having, joined to one another: - a lower receptacle (2), comprising a component made of moulded material based on cellulose fibres, which is impermeable to water. - an upper receptacle (3) defining a volume for holding a load, such as articles. The present disclosure also relates to a storage and retrieval system having such a container (1).

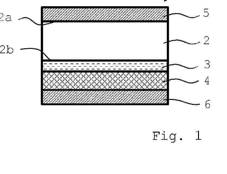
A BIODEGRADABLE LAMINATE FOR ASEPTIC PACKAGING

NºPublicación:  AU2024289574A1 15/01/2026
Solicitante: 
STORA ENSO OYJ
STORA ENSO OYJ
AU_2024289574_PA

Resumen de: SE2330312A1

A B S TR A C TA biodegradable laminate (1) for aseptic packaging comprising a base board (2) with a first side (2a) and a second side (2b). The base board is biodegradable and comprises 0-30 wt% filler, the laminate further comprises a PHA, dispersion coated, primer layer (3) arranged on the second side of the base board, wherein the primer layer has a coat weight of 0.5-15 g/m2, the primer layer comprises a PHA type selected from the group consisting of PHB, PHBV, PHBH, P(3HB4HB), other co-polymers of PHB, other homopolymers such as PHO, PHH, P3HP, and combinations thereof; a vacuum deposited layer (4) coated on the primer layer which vacuum deposited layer has a thickness of 20-500 nm, the vacuum deposited layer comprises material selected from the group consisting of aluminum, magnesium, silicon, copper, aluminum oxides, magnesium oxides, silicon oxides and combinations thereof; and at least one extrusion coated heat-sealable PHA layer (5, 6) which is coated on the first side of the base board and/or on the vacuum deposited layer, wherein the extrusion coated layer has a coat weight of 5-25 g/m2, the layer comprises a PHA type selected from the group consisting of PHB, PHBV, PHBH, P(3HB4HB), other copolymers of PHB, other homopolymers such as PHO, PHH, P3HP, and combinations thereof.

POLYHYDROXYALKANOIC ACID FILM, PACKAGING, INDUSTRIAL MATERIAL FOR AGRICULTURE, FORESTRY, AND FISHERIES, BIODEGRADATION METHOD, AND RAW MATERIAL FOR AGRICULTURE, FORESTRY, AND FISHERIES

NºPublicación:  EP4678686A1 14/01/2026
Solicitante: 
TORAY INDUSTRIES [JP]
Toray Industries, Inc
EP_4678686_PA

Resumen de: EP4678686A1

An object of the present invention is to provide a polyhydroxyalkanoic acid film which has biodegradability and can reduce the number of pinholes that occur after repeated bending. The object is achieved by a polyhydroxyalkanoic acid having a puncture strength (converted into a value at a thickness of 20 µm) of 80 gf or more.

繊維系食品容器を選択的にコーティングするための方法、装置、および化学組成物

NºPublicación:  JP2026004522A 14/01/2026
Solicitante: 
フットプリントインターナショナル,エルエルシー
JP_2026004522_PA

Resumen de: US20260015800A1

Methods and apparatus for vacuum forming and subsequently applying topical coatings fiber-based food containers. The slurry includes one or more of an embedded moisture barrier, vapor barrier, and oil barrier, and the topical coating comprises one or more of a vapor barrier, a moisture barrier, an oil barrier, and an oxygen barrier. For food containers having deep sidewalls, a spray coating system includes a first nozzle for applying a full cone spray pattern to the bottom surface of the container, and a second nozzle for applying a hollow cone spray pattern to the inside surfaces of the side walls.

ALGAL-BASED EXTRUDABLE FORMULATION, BIO-BASED AND COMPOSTABLE MATERIAL AND METHOD OF MANUFACTURING THEREOF

NºPublicación:  EP4677022A1 14/01/2026
Solicitante: 
FLEXSEA LTD [GB]
Flexsea Ltd
WO_2024184824_PA

Resumen de: WO2024184824A1

Disclosed is an algal-based extrudable compostable formulation comprising: at least one hydrocolloid that is extracted from algae, wherein the at least one hydrocolloid is present in a range of 30% to 80% of a total weight of the algal-based extrudable compostable formulation; and at least one plasticizer, wherein the at least one plasticizer is present in a range of 20% to 70% of the total weight of the algal-based extrudable compostable formulation, wherein the algal-based extrudable compostable formulation comprises at least one biobased biodegradable polymer derived from at least one cultivated biomass, and wherein the at least one biobased biodegradable polymer is present in a range of 1% to 80% of a total weight of the algal-based extrudable compostable formulation; and wherein the algal-based extrudable compostable formulation comprises at least one biobased reactor-derived ingredient,wherein the at least one one biobased reactor-derived ingredient is present in a range of 5% to 50% of a total weight of the algal-based extrudable compostable formulation, wherein the at least one biobased reactor-derived ingredient is at least a biosurfactant produced in a reactor.

WATER-SOLUBLE FILM WITH LOW COEFFICIENT OF FRICTION

NºPublicación:  EP4678558A2 14/01/2026
Solicitante: 
MONOSOL LLC [US]
MonoSol, LLC
EP_4678558_PA

Resumen de: EP4678558A2

The disclosure provides a water-soluble film, including a mixture of a water-soluble polyvinyl alcohol, a plasticizer, and a starch, wherein (a) the starch includes a hydroxypropylated starch in an amount of about 5 phr to about 30 phr; (b) the starch includes a modified starch having a degree of modification greater than about 2%, in an amount of about 2.5 phr to about 30 phr; (c) the starch is an unmodified starch having an amylose content of about 20% to about 80%; or (d) the starch includes a hydroxypropylated starch having an amylose content of about 23% to about 95% and the polyvinyl alcohol includes unmodified polyvinyl alcohol or anionic modified polyvinyl alcohol with the proviso that the anionic modifier is not acrylate. The disclosure further provides a sealed article including a water-soluble film in the form of a pouch defining an interior pouch volume.

METHOD FOR PRODUCING THERMALLY MODIFIED STARCH BLENDS

NºPublicación:  ES3052718T3 13/01/2026
Solicitante: 
ROQUETTE FRERES
ROQUETTE FRERES
CA_3253598_PA

Resumen de: CA3253598A1

"The invention relates to a method for preparing a blend of at least two thermally modified starches, in which the starches are granular starches of different botanical origins, and which comprises the steps consisting in: (i) preparing a starch milk containing at least two starches of different botanical origins, having a total dry matter content of between 30 and 40%, preferably between 35 and 37%, by weight; (ii) preparing a citrate buffer at a pH of between 4 and 6, preferably 6, and adding said citrate buffer to the starch milk to obtain a milk pH of between 4 and 6, preferably 6; (iii) providing a contact time of between 0.5 and 5 hours; (iv) drying to an equilibrium moisture content of between 10 and 12%; (v) heating to a temperature of more than 150°C for a residence time of between 10 minutes and 6 hours; (vi) re-suspending, correcting the pH, and optionally washing and again drying the thermally modified starches obtained thereby."

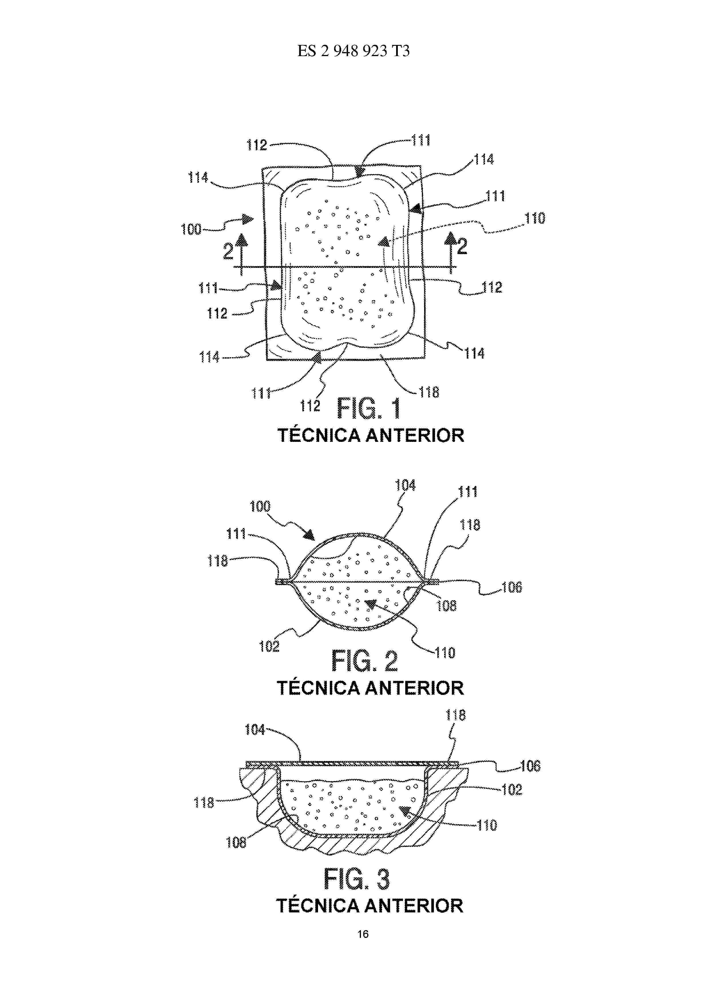
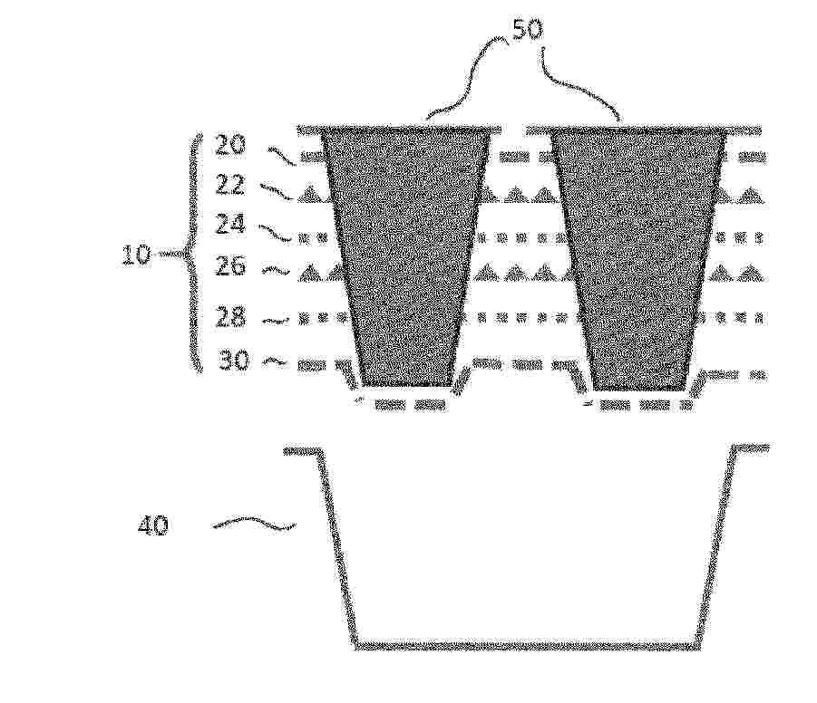
A cellulose-fiber-based capsule with a flange that comprises a radially intermediate ring-shaped liquid-barrier flange region with reduced liquid absorption properties.

NºPublicación:  NL2037941B1 12/01/2026
Solicitante: 
EURO CAPS HOLDING B V [NL]
EURO-CAPS HOLDING B.V
NL_2037941_B1

Resumen de: NL2037941B1

A cellulose-fiber-based capsule has a cup-like capsule body of which a side wall (SW), base wall and flange are integrally made out of a same cellulose-fiber-based material, wherein the cellulose-fiber-based material flange comprises a radially inner ring-shaped sealing flange region (SFR), and a radially outer edge flange region (EFR). According to the invention the cellulose-fiber-based material flange (F) further comprises at least one radially intermediate ring-shaped liquid-barrier flange region (LBFR), wherein the liquid-barrier flange region (LBFR) has lower liquid absorption properties than the sealing flange region (SFR) and edge flange region (EFR). + Fig. 2c

A cellulose-fiber-based capsule with a semi-permeable substantially rigid integrally made cellulose-fiber-based material side wall and base wall act as a porous structure liquid-diffuser.

NºPublicación:  NL2037940B1 12/01/2026
Solicitante: 
EURO CAPS HOLDING B V [NL]
EURO-CAPS HOLDING B.V
NL_2037940_B1

Resumen de: NL2037940B1

A cellulose-fiber—based capsule (C) has a cup-like capsule body (CB) of which a side wall (SW), base wall (BVV) and flange (F) are integrally made out of a same cellulose-fiberbased material, wherein the integrally made cellulose-fiber-based material side wall (SW), base wall (BVV) and flange (F) are substantially rigid in order for the capsule body (CB) to remain shape prior to insertion in the beverage production machine. According to the invention the substantially rigid integrally made cellulose-fiber—based material side wall (SW) and base wall (BVV) are semi-permeable for pressurized liquid to pass through them while retaining substance in order for the side wall (SW) and base wall (BVV) to act as a liquiddiffuser for the pressurized liquid to permeate through the side wall (SW) and base wall (BVV) into the substance in the capsule (C). + Fig. 1a-b

METHOD FOR PRODUCING A LAMINATE, LAMINATE FOR A PIECE OF FURNITURE, AND USE OF A POLYHYDROXYALKANOATE IN THE PRODUCTION OF A LAMINATE

Nº publicación: WO2026009017A1 08/01/2026

Solicitante:

STEELCASE INC [US]
STEELCASE INC

Resumen de: WO2026009017A1

The invention relates to a method for producing a laminate for a piece of furniture, said method comprising the following steps: First, a decorative material is placed on a carrier panel. A composition is applied to the decorative material and/or the carrier panel, wherein the composition comprises a polyhydroxyalkanoate. The composition, the decorative material and the carrier panel are then pressed together to obtain the laminate at a pressing temperature at which the polyhydroxyalkanoate melts at least partially. The invention further relates to a laminate and to the use of a polyhydroxyalkanoate.

traducir