Ministerio de Industria, Turismo y Comercio LogoMinisterior
 

Alerta

Resultados 153 resultados
LastUpdate Última actualización 29/10/2025 [07:09:00]
pdfxls
Solicitudes publicadas en los últimos 15 días / Applications published in the last 15 days
previousPage Resultados 150 a 153 de 153  

GROUNDCOVER FOR ENHANCEMENT OF ALBEDO EFFECT

NºPublicación:  EP4630241A1 15/10/2025
Solicitante: 
THRACE NONWOVENS & GEOSYNTHETICS S A [GR]
Thrace Nonwovens & Geosynthetics S.A
WO_2024121695_PA

Resumen de: WO2024121695A1

A groundcover with two layers, disposed one on the top of the other, with one layer, i.e. the top layer, being a white fabric or a white film configured to reflect light with a wavelength in the range of 400 to 1100 nm and the other layer, i.e. the bottom layer, being a dark color fabric or a dark color film that hinders the transmission of visible light with wavelength at least within the range of 400 to 500 nm or/and 600 nm to 700 nm therethrough. The top layer and the bottom layers are joined together in individual points or along lines or over areas, so that they are areas of loose contact of the layers, where the top layer and the bottom layer are not connected, so as to facilitate separation.

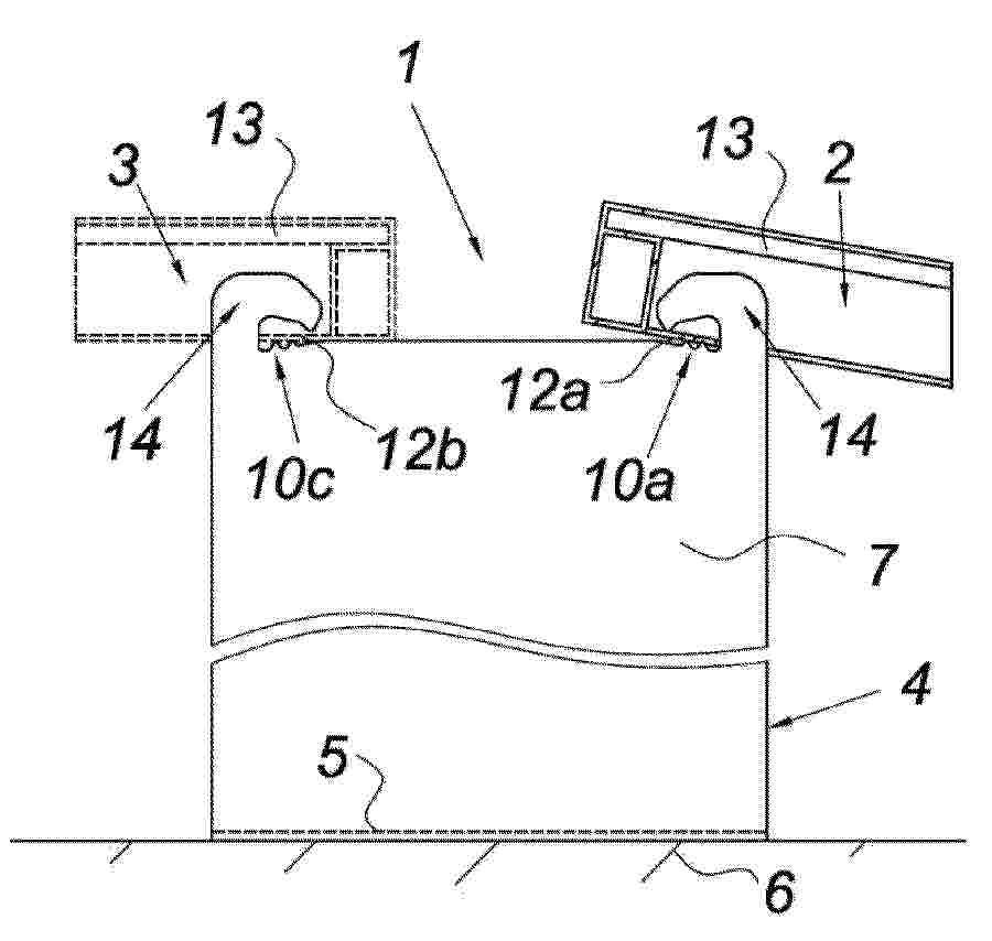
SOLAR INSTALLATION AND SUPPORT ELEMENT THEREFOR

NºPublicación:  EP4630735A1 15/10/2025
Solicitante: 
VOESTALPINE METAL FORMING GMBH [AT]
voestalpine Metal Forming GmbH
CN_120265927_PA

Resumen de: CN120265927A

The invention relates to a solar installation (1) and to this end a metallic support element (4) for at least one solar element (2, 3), in particular a solar module and/or a solar collector. In order to be able to achieve high stability on the support element (4) with a simple structure, it is proposed that the support element (4) consists of a plate-like profile, in particular a steel plate profile, the profile base plate of which forms a base (5) and the profile legs of which form webs (7, 8), which have at least one receptacle (10a, 10b, 10c, 10d) at its free end (9) opposite the base (5), the receptacles (10a, 10b, 10c, 10d) are formed by notches introduced into the sheet material, and the receptacles (10a, 10b, 10c, 10d) are shaped to form frame legs (12a, 12b) for receiving the solar elements (2, 3).

ORGANIC ELECTROLUMINESCENT MATERIALS AND DEVICES

Nº publicación: EP4633344A2 15/10/2025

Solicitante:

UNIVERSAL DISPLAY CORP [US]
Universal Display Corporation

EP_4633344_PA

Resumen de: EP4633344A2

An OLED is disclosed whose emissive layer has a first host and an emitter, where the emitter is a phosphorescent metal complex or a delayed fluorescent emitter, where EH1T, the T1 triplet energy of the first host, is higher than EET, the T1 triplet energy of the emitter, where EET is at least 2.50 eV, where the LUMO energy of the first host is higher than the HOMO energy of the emitter, where the absolute value of the difference between the HOMO energy of the emitter and the LUMO energy of the first host is ΔE1, where a ≤ ΔE1 - EET ≤ b; and where a ≥ 0.05 eV, and b ≤ 0.60 eV.

traducir