Ministerio de Industria, Turismo y Comercio LogoMinisterior
 

Alerta

Resultados 560 resultados
LastUpdate Última actualización 23/11/2025 [06:52:00]
pdfxls
Solicitudes publicadas en los últimos 15 días / Applications published in the last 15 days
previousPage Resultados 550 a 560 de 560  

一种数据推荐方法、装置、电子设备及计算机可读介质

NºPublicación:  CN120929683A 11/11/2025
Solicitante: 
北京京东远升科技有限公司
CN_120929683_PA

Resumen de: CN120929683A

本申请公开了一种数据推荐方法、装置、电子设备及计算机可读介质,涉及计算机技术领域,一具体实施方式包括响应于数据推荐请求,获取对应的路区标识和站点标识;根据路区标识获取对应的路区局部特征;根据站点标识获取对应的站点之间以及站点内路区之间的导航距离,进而基于各导航距离生成距离矩阵;基于距离矩阵构建路网图,进而基于图嵌入的方式将路网图转换为低维稠密向量;基于路区局部特征和低维稠密向量,预测得到目标推荐作业模式。通过引入图嵌入的方法进行路网特征补充,更完整地表达了站点/路区的空间全局/相邻特征,提升了对作业模式进行推荐的准确性。

一种数据处理方法和装置、电子设备及存储介质

NºPublicación:  CN120930841A 11/11/2025
Solicitante: 
顺丰科技有限公司
CN_120930841_PA

Resumen de: CN120930841A

本申请实施例提供了一种数据处理方法和装置、电子设备及存储介质,属于人工智能技术领域。该方法包括:获取待预测包裹处理量的目标日期以及预设时间范围内的历史包裹处理量数据;基于目标日期与预设时间范围内每一历史日期之间的近邻关系,计算每一历史日期与目标日期的关联性;获取目标日期的第一日期类型数据以及每一历史日期的第二日期类型数据,计算日期类型相似度;获取目标日期对应的第一包裹处理量趋势数据以及每一历史日期对应的第二包裹处理量趋势数据计算趋势相似度;基于关联性、日期类型相似度以及趋势相似度确定多个目标历史日期,训练包裹处理量预测模型。本申请实施例能够提高数据处理的准确性,以提高预训练模型的识别准确性。

路径规划方法、装置、电子设备及存储介质

NºPublicación:  CN120931192A 11/11/2025
Solicitante: 
北京京东远升科技有限公司
CN_120931192_PA

Resumen de: CN120931192A

本申请提出一种路径规划方法、装置、电子设备及存储介质。该方法包括:获取待配送的多个订单的订单信息,并从订单信息中获取订单的基础数据信息,其中基础数据信息包括商品信息和位置信息;获取订单配送目标,并基于订单信息确定配送约束条件;根据订单配送目标、基础数据信息以及配送约束条件,对多个订单进行基于遗传算法的多目标路径优化,确定多个订单对应的目标配送信息,其中目标配送信息包括多个订单的配送路径和配送顺序。由此,本方案根据目标配送信息对订单进行配送,既可以满足配送的时效要求,同时可以针对冷链商品进行优先配送,从而提高用户的体验,降低退货率,节约配送成本。

用于智能仓储管理的RFID与视觉识别融合型库存监控组件

NºPublicación:  CN120922511A 11/11/2025
Solicitante: 
青岛沃华软控有限公司
CN_120922511_PA

Resumen de: CN120922511A

本发明涉及仓储管理技术领域,具体为用于智能仓储管理的RFID与视觉识别融合型库存监控组件,包括智能仓储处理器,所述智能仓储处理器顶端设置有操控屏幕,所述智能仓储处理器右侧设置有传送机构,所述传送机构上表面中间位置安装有两个对称放置的支撑机构,每个所述支撑机构内均滑动连接有伸缩杆。本发明设计在货物进入仓储中心储存时,在通过RFID技术识别货物的同时,能够通过视觉识别机构对货物包装的外观状态进行拍摄,记录下进入时的状态,能够对货物的状态留存记录,便于后续货物出现包装问题时进行比对,传送机构上安装的若干机构都能够较为方便的拆卸下来,便于装置整体的运输移动。

一种基于种群扩张的冷链物流配送中心选址方法

NºPublicación:  CN120931330A 11/11/2025
Solicitante: 
南陵县邮政业发展中心
CN_120931330_PA

Resumen de: CN120931330A

本发明公开了一种基于种群扩张的冷链物流配送中心选址方法,基于种群扩张的冷链物流配送中心选址方法基于货品的运输条件,并将配送点与需求点周边的交通状况考虑在内,构建出一个目标为物流总成本最小化的选址模型,使得冷链物流配送中心的选址更为真实合理,有助于为配送中心选择出最优的地址,从而降低整个物流过程的成本。

一种供应链全流程数据优化采集管理方法及系统

NºPublicación:  CN120931201A 11/11/2025
Solicitante: 
北京国科优选科技有限公司
CN_120931201_PA

Resumen de: CN120931201A

本申请公开了一种供应链全流程数据优化采集管理方法及系统,涉及数据处理技术领域。该方法包括:获取供应链全流程数据;基于所述全流程数据,获取各个产品的爆款程度值;基于各个产品的爆款程度值,获取各个产品的共享迫切程度值;基于各个产品的共享迫切程度值,获取各个产品的数据上链优选顺序。本申请首先根据产品的销售量对产品的爆款程度值进行评估,在爆款程度值的基础上分析产品对应数据的共享迫切程度。相较于传统对所有实时供应链数据进行一致性的上链共享,本申请能够结合产品对应数据的共享迫切程度调整产品数据的上链优先级,进而降低了区块链计算资源紧张时,重要数据滞后、共享表现不佳现象的发生概率。

基于AIGC和VMI的医院耗材管理系统

NºPublicación:  CN120932833A 11/11/2025
Solicitante: 
马添
CN_120932833_A

Resumen de: CN120932833A

本发明涉及耗材管理,具体涉及基于AIGC和VMI的医院耗材管理系统,基础信息管理模块,涵盖单位、供应商、医院和仓库在内的基础信息管理,并支持保管账、结账日期、部门、职务和用户在内的关键信息维护,还提供用户密码修改功能,以及数据导入与导出的规则定义;采购方案制定模块,利用AIGC,通过构建采购预测模型,凭借大数据统计,基于院内手术各项指标结合手术方案的选择、手术术式的选择、历史手术记录,以及不同科室和不同医生的使用习惯,对各类耗材的采购型号、数量进行预测,并制定对应的采购方案;本发明提供的技术方案能够有效克服难以对高值耗材的采购型号、数量进行精准预测,以及医院耗材管理可视化程度较低的缺陷。

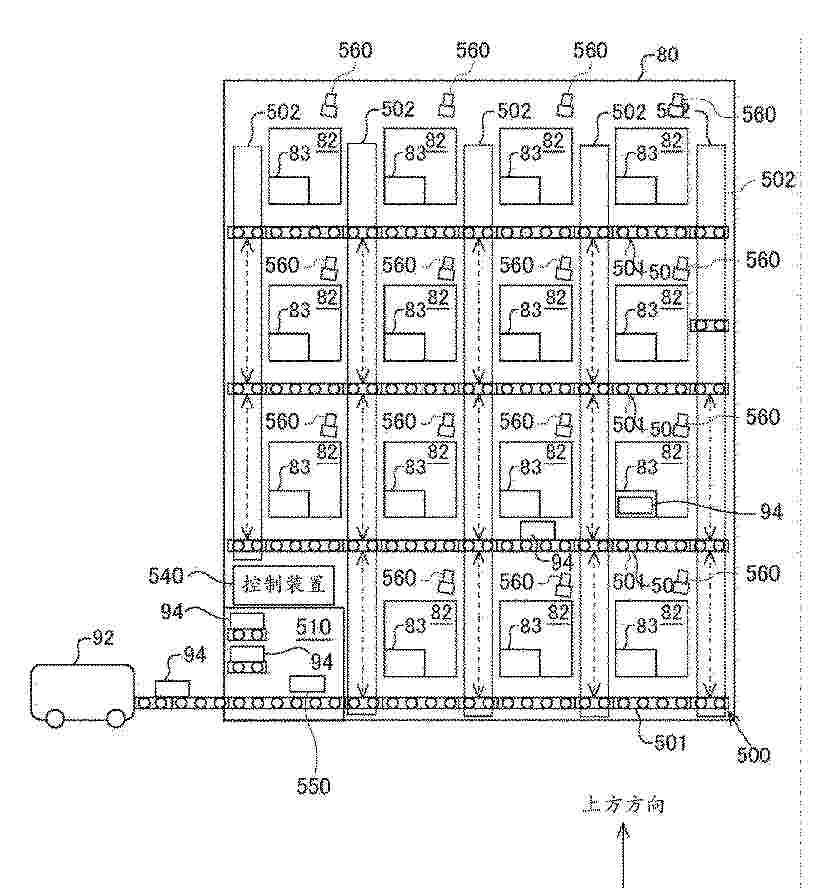
送达系统、建筑物和配送系统

NºPublicación:  CN120936555A 11/11/2025
Solicitante: 
软银集团股份有限公司
CN_120936555_PA

Resumen de: WO2024181057A1

A delivery system according to the present invention automatically delivers delivery items to respective residential units in a building through conveyance lanes that are provided in the building. The delivery system comprises: a control unit that, when a delivery item being delivered through the conveyance lanes is to pass by a delivery item placement spot provided at a residential unit to which the delivery item is to be delivered, moves the delivery item being delivered through the conveyance lanes from the conveyance lane to the delivery item placement spot; and a lock mechanism that performs locking so that the delivery item cannot be detached from the conveyance lane and performs unlocking according to an authentication process. The building comprises the delivery system and the conveyance lanes. The transport system comprises: the delivery system; and a server that manages the transportation of a delivery item from a logistics hub outside of the building to the building by an autonomous-driving vehicle.

一种电力物资作业设备调度方法、系统、设备及介质

NºPublicación:  CN120930985A 11/11/2025
Solicitante: 
国网浙江综合能源服务有限公司
CN_120930985_PA

Resumen de: CN120930985A

本发明涉及电力物资供应链技术领域,公开了一种电力物资作业设备调度方法、系统、设备及介质。其中,该方法包括:基于目标仓库的货流数据计算货物周转频率,并对货物周转频率进行递推分析得到设备负荷分布信息;对设备负荷分布信息进行时序解析得到时段负荷峰谷特征,并对时段负荷峰谷特征进行比率汇总得到设备时段利用比率;对设备时段利用比率进行量比换算得到设备货量时段利用比率,并对设备货量时段利用比率进行阈值比较得到若干低效时段;对每一低效时段内的设备运行数据进行差值分析得到对应低效时段内的负荷失衡设备,并对负荷失衡设备进行任务重分配得到设备负荷均衡调度策略。本发明为电力物资仓储作业的智能精细调度提供了可靠支撑。

双区动态协同的智能仓储货架管理方法及系统

Nº publicación: CN120931202A 11/11/2025

Solicitante:

摩诃科技无锡有限公司

CN_120931202_PA

Resumen de: CN120931202A

本发明提供双区动态协同的智能仓储货架管理方法及系统。涉及智能仓储系统技术领域,包括,S1.设置动态分区模块,所述动态分区模块根据物料四级分类信息及ERP子库数据,实时计算并动态更新每个货架的区域属性,所述区域属性包括快区和慢区;S2.设置协同调度引擎,所述协同调度引擎在入库、出库及补货作业中基于各区剩余库位及作业紧急程度,动态选择搬运策略,并采用任务抢占机制建立自动导引车调度系统。该双区动态协同的智能仓储货架管理方法及系统,显著降低自动导引车空驶率与重复搬运次数,极大提升仓储作业效率和急单响应速度,彻底消除系统间的数据割裂与人工映射维护,提升系统可靠性和可扩展性。

traducir