Ministerio de Industria, Turismo y Comercio LogoMinisterior
 

Alerta

Resultados 490 resultados
LastUpdate Última actualización 05/04/2026 [06:55:00]
pdfxls
Solicitudes publicadas en los últimos 15 días / Applications published in the last 15 days
previousPage Resultados 350 a 375 de 490 nextPage  

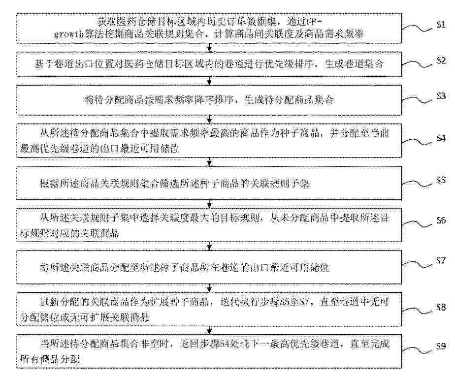
一种基于机车铁水罐位置的调度任务自动跟踪方法及装置

NºPublicación:  CN121745800A 27/03/2026
Solicitante: 
中冶南方工程技术有限公司
CN_121745800_PA

Resumen de: CN121745800A

本发明公开了一种基于机车铁水罐位置的调度任务自动跟踪方法及装置,所述方法包括:采集与调度任务相关的多维度数据;多维度数据至少包含设备状态数据、任务数据、任务拆解数据及位置数据;基于任务数据及任务拆解数据,识别调度任务包含的步骤,以及各步骤对应的动作,根据步骤与动作的前置关联关系,判定步骤及动作的启动状态;针对动作的不同类型,采用预设的差异化完成判定标准,校验动作的完成状态;结合自动跟踪程序与事件触发的人工校验程序,对调度任务的状态进行协同校验。本发明有效提升了调度效率和准确率。

基于虚拟行李的行李码放位置确定方法、设备及存储介质

NºPublicación:  CN121744568A 27/03/2026
Solicitante: 
中航信移动科技股份有限公司
CN_121744568_PA

Resumen de: CN121744568A

本发明提供了一种基于虚拟行李的行李码放位置确定方法、设备及存储介质,涉及行李码放位置确定技术领域,所述方法包括:获取当前行李车对应的三维坐标系QR、待码放行李对应的待码放行李包围盒W;其中,所述虚拟包围盒位于当前行李车的外部,所述虚拟包围盒与当前行李车的四个侧面相邻;相邻的虚拟包围盒的侧面与当前行李车的侧面的尺寸相同;依次遍历QR中每一预设的待确认点;当W在目标待确认点时,若W不与任一三维行李网格重合,W不与虚拟包围盒重合且W满足所有的预设码放条件,则将目标待确认点确定为待码放行李对应的码放位置;从而确保不超出行李车空间范围的前提下,确定出待码放行李对应的码放位置。

一种智慧电商供应链物流追踪分析方法及系统

NºPublicación:  CN121745801A 27/03/2026
Solicitante: 
龙岩市天博信息技术有限公司
CN_121745801_PA

Resumen de: CN121745801A

本申请提供一种智慧电商供应链物流追踪分析方法及系统,属于智慧电商技术领域,包括:根据初始路径优选条件分析得到各路径的时效偏差分布,根据各路径的时效偏差分布确定订单关于中转路径的调整方向,确定碎片化分布优化的节点组合方案;根据路径优选条件识别逐级增加的中转节点,并统计各级停留时长占比分析停留碎片化程度的变化趋势,评估节点组合对时效达成率的提升效果,得到关于节点组合有效性的初步评估结果;根据目标节点组合方案统计优化后各节点的停留时长分布,分析窗口起止时间与停留时长的覆盖范围,根据覆盖范围与承诺窗口的匹配程度确定送达时效。

一种企业全业务碳融合核算方法及系统

NºPublicación:  CN121744191A 27/03/2026
Solicitante: 
国网浙江省电力有限公司经济技术研究院
CN_121744191_A

Resumen de: CN121744191A

本发明涉及碳排放管理技术领域,本发明公开了一种企业全业务碳融合核算方法及系统,包括以物流单证记录和物料清单记录生成物料关联映射表,并据此对供应商碳活动记录与企业内部碳活动记录做字段依赖分析,形成跨环节约束的字段依赖关系表,结合会计凭证记录开展结构一致性检验,输出稳定性分级的结构对齐映射,基于企业内部碳活动记录与预设核算边界表进行多维口径差异筛查,生成企业口径规则表,维持核算口径一致,最终以结构对齐映射和企业口径规则表进行节点邻接拓扑重构,构建嵌入多尺度局部增强模块的图注意力编码器,按统一活动记录流聚合编码,得到全链路融合路径索引,贯通标识断裂与链路缺口,保证产品级碳足迹路径追踪完整性。

一种多模式转换下的共堆场海铁联运集卡路径优化方法

NºPublicación:  CN121745423A 27/03/2026
Solicitante: 
广西沿海铁路股份有限公司中南大学广西交通职业技术学院中国铁路南宁局集团有限公司
CN_121745423_PA

Resumen de: CN121745423A

本公开实施例中提供了一种多模式转换下的共堆场海铁联运集卡路径优化方法,属于计算技术领域,具体包括:步骤1,根据港口集装箱堆场的道路信息构建港口作业区域有向图;步骤2,根据港口待转运集装箱货物信息定义多种运输模式及其对应的决策变量;步骤3,根据多种运输模式及其对应的决策变量建立以集卡总行驶时间最短为目标的目标函数和路径优化约束条件,据此构建集卡路径优化模型;步骤4,采用粒子群算法求解集卡路径优化模型,得到最优粒子;步骤5,将最优粒子映射为有向图的路径与模式组合,得到最优集卡路径方案,并输出所述路径方案。通过本公开的方案,提高了路径优化效率和适应性。

货物清点方法、装置、设备及存储介质

NºPublicación:  CN121745806A 27/03/2026
Solicitante: 
三六零数字安全科技集团有限公司
CN_121745806_PA

Resumen de: CN121745806A

本申请公开了一种货物清点方法、装置、设备及存储介质,涉及人工智能技术领域,公开了货物清点方法,包括:获取目标图像,所述目标图像对应于待清点货物的区域;将所述目标图像输入至预先训练好的货物清点模型中,由所述货物清点模型基于所述目标图像,确定所述目标图像中待清点的目标货物的类别及对应的数量;基于所述目标货物的类别及对应的数量,确定所述待清点货物的区域所对应的货物清点结果。本申请通过获取待清点货物区域的图像,并借助模型即可快速、准确地清点出某一区域的货物类别及对应的数量,无需大量人力投入,能够实现高频率货物清点,可以适用于大规模、实时化管理的需求,有效提高了货物清点的效率和准确率。

面向质量不确定的废旧动力电池回收拆解集成优化方法

NºPublicación:  CN121745928A 27/03/2026
Solicitante: 
西北工业大学
CN_121745928_PA

Resumen de: CN121745928A

本发明提出一种面向质量不确定的废旧动力电池回收拆解集成优化方法,首先以最小化总运营成本为目标函数,考虑耦合约束、可回收包装相关约束、车辆相关约束、需求满足约束、库存相关约束、拆解线相关约束以及决策变量取值范围约束,构建废旧动力电池回收‑拆解集成优化的随机规划模型;采用样本平均近似法将随机模型转化为等价的确定性模型,并对非线性项进行线性化处理以增强求解性能;最后采用两阶段启发式算法对所提出的数学模型进行求解,并可根据实际问题选择所需的最优情景数。本发明实现了质量不确定环境下废旧动力电池的回收、拆解两个阶段问题的集成优化,为废旧动力电池循环利用领域的复杂优化问题提供科学的解决方案。

一种远场阵列与近距融合的航空仓储智能盘点方法及装置

NºPublicación:  CN121745818A 27/03/2026
Solicitante: 
龙兴(杭州)航空电子有限公司
CN_121745818_A

Resumen de: CN121745818A

本发明公开了一种远场阵列与近距融合的航空仓储智能盘点方法及装置。该方法先采集最下面一层的每个货架的货物的RFID标签的RSSI信号,然后逐层向上采集每一层的货物的RFID标签的RSSI信号,在每一层采集时,还采用不同功率覆盖不同货架,并通过与已经确认的RSSI信号进行对比去重,从而对所有货架的每一层的货物进行盘点。通过逐个采集每个货架第1层放置的货物的RSSI标签结合功率天线逐步自动采集,快速、准确、自动化地完成货架的盘点。

自律ロボットの実施効率を改善するためのシステム、装置、および方法

NºPublicación:  JP2026510032A 27/03/2026
Solicitante: 
オカド・イノベーション・リミテッド
JP_2026510032_A

Resumen de: CN121079704A

Systems, devices, and methods for improving execution efficiency of an automated robot are disclosed. An example apparatus includes processor circuitry to: identify a first task and a second task; detecting a first condition associated with the first location, the first condition affecting a first task execution condition associated with execution of the first task of the automated vehicle, the first condition including a congestion at the first location; detecting a second condition associated with the second location, the second condition affecting a second task execution condition associated with execution of a second task of the automated vehicle; selecting one of the first task or the second task for execution based on the first condition and the second condition; and causing the automatic vehicle to travel to the first position or the second position to execute one of the selected first task or the selected second task.

一种保险单证仓库的智能安防系统及方法

NºPublicación:  CN121745814A 27/03/2026
Solicitante: 
中国人寿保险股份有限公司湖南省分公司
CN_121745814_PA

Resumen de: CN121745814A

本发明涉及一种保险单证仓库的智能安防系统和方法,系统包括:多传感器感知网络、安防风险决策模块及安防响应模块;多传感器感知网络采集所在目标保险单证仓库的多传感器数据,并将多传感器数据上传至安防风险决策模块;安防风险决策模块基于预置动态风险决策算法,结合多传感器数据进行计算,得到目标保险单证仓库的综合风险评分值;安防响应模块根据综合风险评分值对目标保险单证仓库进行分级自适应安防响应。通过预置动态风险决策算法对多传感器数据进行综合分析,得到综合风险评分值,综合风险评分值对目标保险单证仓库进行分级自适应安防响应,实现了对保险单证仓库的安防风险的早期、精准及主动的干预。

一种多层库存精细化管理方法及系统

NºPublicación:  CN121745816A 27/03/2026
Solicitante: 
无忧达(宁波)物流科技有限公司
CN_121745816_PA

Resumen de: CN121745816A

本发明涉及一种多层库存精细化管理方法及系统,涉及库存管理的技术领域,其包括:响应于库存请求,采集库存基础信息;根据库存基础信息确定库存所属的逻辑层级;根据逻辑层级对订单库存进行层级划分,并采集各层级库存的库存数据;根据库存数据生成库存数据图和财务数据表;基于库存数据图和财务数据表输出多层库存管理的结果报告,并根据结果报告匹配管理方法,以进行订单库存管理。本申请具有实现数字化管理以提高处理效率的效果。

基于人工智能的跨境电商供应链数据分析方法和系统

NºPublicación:  CN121745812A 27/03/2026
Solicitante: 
杭州恒健供应链科技有限公司
CN_121745812_PA

Resumen de: CN121745812A

本发明涉及电商管理技术领域,具体为基于人工智能的跨境电商供应链数据分析方法和系统,包括:基于跨境电商交易平台在特定销售周期内的商品交易数据,响应于商品交易数据中一商品的第一交易增长率超过预设的增长幅度阈值,基于第一市场区域分布数据,确定商品在目标市场地域中的第一潜在购买热度分布;基于第一潜在购买热度分布,获取对应目标市场地域中商品的历史供应链运作数据,对历史供应链运作数据进行关联规则剖析,得到商品在供应链各环节的关联运作特征模式。本发明通过动态调整库存管控策略,能够根据市场需求变化和商品交易数据实时优化库存分配,从而减少库存积压和缺货现象,提升整体库存周转率。

一种电子仓单大数据管理系统

NºPublicación:  CN121745822A 27/03/2026
Solicitante: 
山东省创犀信息科技有限公司
CN_121745822_PA

Resumen de: CN121745822A

本发明公开了一种电子仓单大数据管理系统,涉及电子仓单数据管理技术领域,包括如下模块:货物验资排序模块,获取验资货物用户信息,获取用户的全部验资银行信息,制定银行验资顺序表,按照银行验资顺序表对用户的全部验资银行信息进行验资排序;通过验资银行在三方交流窗口中关于质押与解押的回复情况对验资银行的验资排序进行重新修订,从而使更配合仓储管理、更愿意信息沟通的验资银行享有优先验资的条件,进而有益于仓储在长期管理过程中避免出现经济纠纷,有益于避免影响仓储信誉。

一种仓储物流自动搬运机器人

NºPublicación:  CN121745591A 27/03/2026
Solicitante: 
山西电子科技学院
CN_121745591_PA

Resumen de: CN121745591A

本发明属于机器人控制技术领域,公开了一种仓储物流自动搬运机器人,包括:数据感知模块,获取待搬运的货物信息和相应的搬运目的地信息;任务调度模块,根据货物信息和搬运目的地信息,智能匹配具有相应承重能力和续航能力的搬运机器人,获取搬运调度方案;机器人路线规划模块,根据搬运调度方案基于仓储三维地图规划第一路径信息和第二路径信息,获取任务指令信息;任务指令优化模块,对任务指令信息进行优先级设置,基于搬运时间模型进行路段重复使用情况的分析检测,获取更新任务指令集合;机器人控制模块,根据更新任务指令集合控制相应的搬运机器人执行搬运任务。本发明实现了仓储物流场景下多机器人的协同控制,提高了仓储物流的搬运效率。

一种基于复合交通网络的港铁公多式联运路径优化方法

NºPublicación:  CN121745422A 27/03/2026
Solicitante: 
广西沿海铁路股份有限公司中南大学广西交通职业技术学院中国铁路南宁局集团有限公司
CN_121745422_PA

Resumen de: CN121745422A

本公开实施例中提供了一种基于复合交通网络的港铁公多式联运路径优化方法,属于运输技术领域,具体包括:步骤1,构建融合真实与虚拟边的复合交通网络拓扑结构模型,整合所有真实节点、真实边与虚拟边,形成完整的多式联运图结构;步骤2,基于多式联运图结构,构建包含运输时效、经济成本、碳排放与换装成本的广义费用函数;步骤3,基于约束条件,建立以最小广义费用为目标的港铁公多式联运路径优化模型;步骤4,基于改进遗传算法设计迭代循环优化求解方法对港铁公多式联运路径优化模型进行迭代寻优,确定满足约束条件以及广义费用目标最优的多式联运运输路径最优方案。通过本公开的方案,提升了路径规划和运输效率。

露天挖机、矿用卡车的协同调度方法、装置及可读存储介质

NºPublicación:  CN121745538A 27/03/2026
Solicitante: 
山西科达自控股份有限公司
CN_121745538_PA

Resumen de: CN121745538A

本申请提供了露天挖机、矿用卡车的协同调度方法、装置及可读存储介质,属于矿用车辆协同调度领域;挖机与卡车之间采用4G/5G专网与小型局域网的双网络自适应切换机制实现协同调度,方法包括以下步骤:通过卡车调度平台配置编组计划,生成动态调度指令,并同步向处于待机状态的挖机和处于空运状态的卡车下发协同调度指令;挖机和卡车接收到调度指令后分别行驶至装载区域,并判断车辆是否进入装载区域;确定车辆进入装载区域后,再判断是否存在排队车辆;然后选择排队卡车,更新卡车状态并判断是否装载完成后进入卸载区域,更新状态后直至卸载完成最终完成卸载和状态更新;可以极大的避免挖机与卡车之间频繁出现通信中断或数据传输延迟的情况。

作業計画支援装置、作業計画支援方法、及び、作業計画支援プログラム

NºPublicación:  JP2026054195A 26/03/2026
Solicitante: 
パナソニックIPマネジメント株式会社
JP_2026054195_A

Resumen de: JP2026054195A

【課題】倉庫内の物品による保管コスト又は管理コストを考慮して、オペレーションの効率化を考慮しつつ、倉庫内における物品の保管場所移動の効率化を向上させる。【解決手段】物流倉庫における作業計画支援装置は、倉庫内の移動候補在庫それぞれについて、現在の在庫位置データと、移動先の位置データと、作業コストに関する評価指標と、保管コストに関する評価指標とを取得し、作業コストに関する評価指標を使って、現在位置と移動先それぞれの作業コストとそれらの差分である作業コスト評価値とを算出し、保管コストに関する評価指標を使って、現在位置と移動先それぞれの保管コストとそれらの差分である保管コスト評価値とを算出し、作業コスト評価値と前記保管コスト評価値とを使って、倉庫内の移動候補在庫から作業計画に含める移動作業候補を選択し、移動作業候補を表示部に出力する。【選択図】図1

METHOD FOR DETERMINING A CONFIGURATION FOR PLACING AT LEAST ONE ITEM WITHIN A CONTAINER

NºPublicación:  WO2026061795A1 26/03/2026
Solicitante: 
EXOTEC PRODUCT FRANCE [FR]
EXOTEC PRODUCT FRANCE
WO_2026061795_A1

Resumen de: WO2026061795A1

The invention relates to a method for determining a configuration for placing at least one item (ART) within a container (CNT), the method being implemented by an electronic device during order preparation, at an order-preparation station, for items to be placed within the container (CNT), the method comprising at least one iteration of the following steps: - capturing (S01) a datum representative of an available volume (VD) within the container (CNT); - obtaining (S04) a list (L1) of items to be placed within the container (CNT); - determining (S05) a volume (V1) of the items to be placed according to the list (L1) of the items to be placed; - depending on the volume (V1) of the items and on the datum representative of an available volume (VD) within the container (CNT), calculating (S06) the configuration (confP) for placing the items of the list (L1) of the items.

運搬車両管理方法

NºPublicación:  JP2026054210A 26/03/2026
Solicitante: 
DOWAエコシステム株式会社
JP_2026054210_A

Resumen de: JP2026054210A

【課題】対策地域内廃棄物または放射性物質によって汚染された産業廃棄物を運搬する運搬車両を効率的に管理する方法を提供する。【解決手段】対策地域内廃棄物または放射性物質によって汚染された産業廃棄物を運搬し位置情報測定システムを搭載する運搬車両の集中管理を行うセンターが、運搬車両とセンターとの通信回線を介して、運搬車両の位置、運搬経路、および、チェックポイント通過時間を含む運搬情報を受信し、運搬情報をセンターの管理モニターに随時表示する、運搬車両管理方法。【選択図】図1

CONTROL DEVICE FOR CONTROLLING DISPLAY DEVICE PROVIDED AT SEAT

NºPublicación:  US20260087569A1 26/03/2026
Solicitante: 
FOOD & LIFE COMPANIES LTD [JP]
FOOD & LIFE COMPANIES LTD
US_20260087569_A1

Resumen de: US20260087569A1

A control device controls a display device provided at a seat, including a processor and memory storing instructions that cause the control device to display an order screen on the display device, which is used by a customer seated in the seat to order items. The order screen includes a moving display area that sequentially displays each of multiple images, including images of items available for ordering, moving in a predetermined direction along a lane. The instructions further cause the control device to accept settings of items subject to discount and the remaining quantity of such discounted items, and display images announcing the discounted items and images indicating the remaining quantity of discounted items as part of the multiple images in the moving display area of the order screen, when settings for the item subject to discount and the remaining quantity of the discounted item are received.

Deep Causal Learning for Continuous Testing, Diagnosis, and Optimization

NºPublicación:  US20260086514A1 26/03/2026
Solicitante: 
3M INNOVATIVE PROPERTIES COMPANY [US]
3M INNOVATIVE PROPERTIES COMPANY
US_20260086514_A1

Resumen de: US20260086514A1

A system and methods for multivariant learning and optimization repeatedly generate self-organized experimental units (SOEUs) based on the one or more assumptions for a randomized multivariate comparison of process decisions to be provided to users of a system. The SOEUs are injected into the system to generate quantified inferences about the process decisions. Responsive to injecting the SOEUs, at least one confidence interval is identified within the quantified inferences, and the SOEUs are iteratively modified based on the at least one confidence interval to identify at least one causal interaction of the process decisions within the system. The causal interaction can be used for testing, diagnosis, and optimization of the system performance.

SELF-POSITIONING OF ELECTRONIC SHELF LABEL (ESL) DEVICES THROUGH INTER-ESL LINKS

NºPublicación:  US20260086186A1 26/03/2026
Solicitante: 
QUALCOMM INCORPORATED [US]
QUALCOMM Incorporated
US_20260086186_A1

Resumen de: US20260086186A1

This disclosure provides systems, methods, and devices for Electronic Shelf Label (ESL) systems that support positioning of ESL devices. In a first aspect, a method includes: determining known positions of a first subset of ESL devices; receiving positioning measurements for each ESL device in a second subset of ESL devices; estimating a first position of each ESL device in the second subset based on the positioning measurements received for that ESL device and the known positions of the first subset; determining a positioning error associated with the first position of each ESL device in the second subset; and estimating a second position of each ESL device in the second subset based on the positioning error and additional positioning measurements received for that ESL device. Other aspects and features are also claimed and described.

ARTIFICIAL INTELLIGENCE AGENT USING LANGUAGE MODEL AND REINFORCEMENT LEARNING MODEL TO GUIDE PICKING PROCESS

NºPublicación:  WO2026064129A1 26/03/2026
Solicitante: 
MAPLEBEAR INC [US]
MAPLEBEAR INC
WO_2026064129_A1

Resumen de: WO2026064129A1

An artificial intelligence (Al) agent is disclosed that assists an entity to complete a task. The entity is assigned to complete a task. The Al agent monitors events to detect an occurrence of an event associated with the task. A machine learning model of the Al agent is prompted to generate a set of candidate actions based in part on the detected event and data about the entity. A reinforcement learning model of the Al agent scores each candidate action from the set to tailor the candidate actions to the entity. A scored action is selected as a recommended response to the event and is communicated to a client device of the entity which causes the entity to perform the selected action.

SYSTEM AND METHODS FOR ASSET TRACKING, ASSET GROUPING, AND ERROR RECOVERY

NºPublicación:  US20260089469A1 26/03/2026
Solicitante: 
ZAINAR INC [US]
ZaiNar, Inc
US_20260089469_A1

Resumen de: US20260089469A1

A method includes, generating a schedule for an asset tag group, the schedule defining: a multicast trigger time for transmission of a multicast trigger to the asset tag group; and for each asset tag in the asset tag group, a transmit time succeeding receipt of the multicast trigger and unique to the asset tag, and a wake window intersecting the transmit time and the receipt of the multiact trigger. The method also includes, at the node network: broadcasting the multicast trigger; and, at an asset tag in the asset tag group, entering a wake mode; receiving the multicast trigger; transmitting a ranging signal; and entering the sleep mode. The method further includes, at the node network: receiving ranging signals from the asset tag group; and deriving locations of the asset tags in the asset tag group based on the ranging signals received by the node network.

USING A MACHINE-LEARNING MODEL TO GENERATE SUBSEQUENT ORDERS FOR PREVIOUSLY UNOBTAINED ITEMS

Nº publicación: US20260087534A1 26/03/2026

Solicitante:

MAPLEBEAR INC [US]
Maplebear Inc

US_20260087534_A1

Resumen de: US20260087534A1

An online system generates subsequent orders for users following failed attempts to purchase items. The online system receives a request to fulfill an order from a user device. The online system determines that an item from the order is unable to be fulfilled and generates a failed fulfillment signal for the item associated with the user. At a later time, the online system automatically generates a set of items for a subsequent order for the user, the set of items including at least one item substantially similar to the item that was unable to be fulfilled and predicted by a machine-learned model to be available. The online system transmits a notification to the user that the set of items is available for fulfillment.

traducir