Ministerio de Industria, Turismo y Comercio LogoMinisterior
 

Alerta

Resultados 179 resultados
LastUpdate Última actualización 22/01/2026 [07:15:00]
pdfxls
Solicitudes publicadas en los últimos 30 días / Applications published in the last 30 days
Resultados 1 a 25 de 179 nextPage  

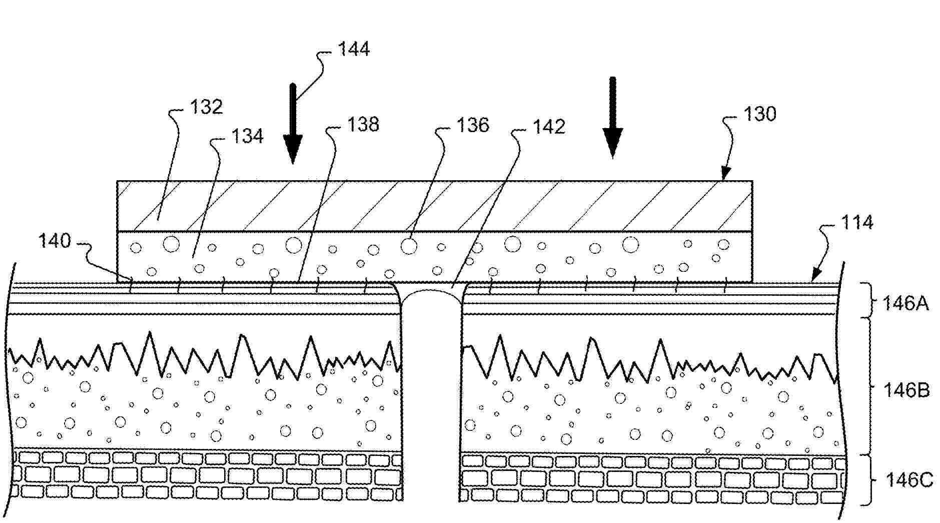
CURABLE COMPOSITION WITH URETHANE (METH)ACRYLATE MONOMER AND ACIDIC COMONOMER

NºPublicación:  EP4680148A2 21/01/2026
Solicitante: 
UNIV COLORADO REGENTS [US]
The Regents of the University of Colorado, a body corporate
WO_2024191748_PA

Resumen de: WO2024191748A2

A curable composition includes a urethane (meth) acrylate monomer and an acidic or latent acidic comonomer. The urethane (meth) acrylate monomer includes 2 to 12 urethane groups and, independently, 2 to 12 (meth)acrylate groups, wherein each of at least two urethane groups is separated from at least one other urethane group or at least one urea group by at most three carbon atoms. The urethane (meth) acrylate monomer has a molecular weight less than or equal to 5,000 grams/mole. In the curable composition, the molar ratio of urethane groups in the urethane (meth) acrylate monomer to carboxylic acid and carboxylic acid anhydride groups in the acidic or latent acidic comonomer is 1:3 to 3:1.

3D BIOPRINTING OF TUMOR TISSUE FOR MECHANISTIC STUDY AND DRUG SCREENING

NºPublicación:  EP4680717A1 21/01/2026
Solicitante: 
UNIV HONG KONG [HK]
The University of Hong Kong
CN_120936704_A

Resumen de: CN120936704A

Three-dimensional (3D) bioprinted cell culture systems of tumor tissue, methods of making and methods of using the same are described. The 3D cell culture system provides a plurality of compartments and vasculature as well as cell interfaces, including a tumor/non-tumor interface, a tumor-vasculature interface, to reconstruct a tumor immune microenvironment. The hardness of the 3D bio-printed stent can be adjusted to reflect different stages of canceration, including fibrosis, cirrhosis and fatty degeneration; and establishing chemical gradients, such as oxygen levels, to simulate oxidation pressure and hypoxic conditions. The manufacture of 3D cell cultures is achieved by bioprinting, such as micro-forming, injection exclusion, and suspension bioprinting techniques.

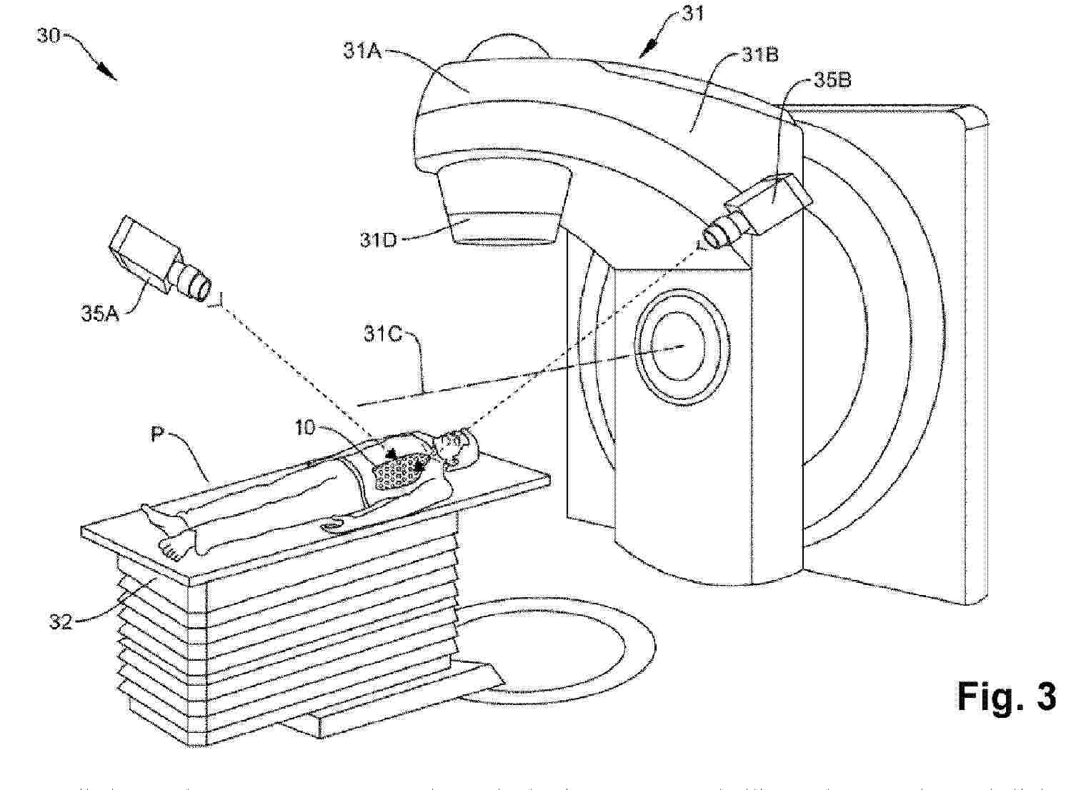
SURGICAL CLAMP

NºPublicación:  EP4680132A1 21/01/2026
Solicitante: 
VIORTEC PTY LTD [AU]
Viortec Pty Ltd
AU_2024235637_PA

Resumen de: AU2024235637A1

A surgical clamp for providing a stable mechanical grasp and stabilisation of bone during an orthopaedic surgical procedure, comprising: a first arm comprising: an extended section comprising a mount at the distal end thereof; and a first jaw portion located at the distal end of the first arm; a second arm comprising: a fastening platform located at the proximal end of the second arm; and a second jaw portion located at the distal end of the second arm; engagement means comprising a bolt to engage the first arm with the second arm about a pivot point formed by the engagement means to provide relative rotation of the first and second arms between: an open configuration whereby first jaw portion and second jaw portion are urged apart; and a clamped configuration whereby first jaw portion and second jaw portion are urged into clamping engagement with the patient's bone in use during the surgical procedure; a fastening component comprising a fastening bolt and a fastening nut, adapted to engage the first and second arm into a locked clamped configuration about the bone of a patient during the surgical procedure; and a handle adapted to be gripped by a surgical assistance for stabilisation of the patient's joint or bone during the surgical procedure.

ANTI-INFECTION CATHETER AND MANUFACTIRUNG METHOD

NºPublicación:  EP4680320A1 21/01/2026
Solicitante: 
CALIFORNIA INST OF TECHN [US]
California Institute of Technology
CN_121335733_PA

Resumen de: US2025128021A1

Systems and methods for altering the geometry of a fluid channel to prevent upstream mobility of bacteria, using angled obstacles on the interior of the channel that among other things creates vortices that restrict the mobility. An optimized geometry can be realized by an artificial intelligence algorithm or similar methods based on performance of various configurations of obstacle parameters.

THIOLATED RECOMBINANT BACTERIAL COLLAGEN-LIKE PROTEINS

NºPublicación:  EP4680621A1 21/01/2026
Solicitante: 
EVONIK OPERATIONS GMBH [DE]
Evonik Operations GmbH
KR_20250158067_PA

Resumen de: CN120917036A

A recombinant bacterial collagen-like protein, preferably having an amino acid sequence at least > = 60% identical to the amino acid sequence of SEQ ID NO: 1, where the amino acid sequence comprises the deletion of at least 38 amino acids at the N-terminus of the amino acid sequence of SEQ ID NO: 1, where the recombinant collagen-like protein is functionalized with at least one thiol group. The present invention relates to a functionalized recombinant bacterial collagen-like protein, a bio-ink comprising the functionalized recombinant bacterial collagen-like protein, at least one solvent, and optionally at least one photoinitiator, a method of producing a hydrogel by cross-linking the functionalized recombinant bacterial protein or the bio-ink, and the hydrogel obtained thereby. In addition, a scaffold for tissue engineering comprising the hydrogel.

PHOTOCURABLE POLYMERS AND COMPOSITIONS FOR 3D PRINTING RESINS

NºPublicación:  EP4680464A1 21/01/2026
Solicitante: 
ALIGN TECHNOLOGY INC [US]
Align Technology, Inc
CN_121127368_PA

Resumen de: US2024400859A1

The present disclosure provides a miktoarm polymer having the following structure:where polymer chain 1, 2, 3, 4, A1 and A2 are as defined herein. These miktoarm polymers can produce desirable polymeric materials and being used as a component in photo-curable resins. Further provided herein are methods of producing miktoarm polymers, as well as compositions, resins, devices, and polymeric materials by use of the same. Also provided herein are methods of using miktoarm polymers, resins, and polymeric materials for the fabrication (e.g., via 3D printing) of medical devices, such as orthodontic appliances.

MIXTURE, POLYMER, DENTAL POLYMER FOR 3D PRINTING AND MEDICAL PRODUCT THEREOF

NºPublicación:  EP4680181A1 21/01/2026
Solicitante: 
PRO3DURE MEDICAL GMBH [DE]
PRO3DURE MEDICAL GMBH
WO_2024189111_A1

Resumen de: WO2024189111A1

The present invention relates to a mixture, for 3D printing, particularly a resin for 3D printing comprising - a monomer, oligomer or polymer, or a mixture thereof, comprising at least one acrylate or methacrylate subunit, and - a lactam, characterized in that the lactam concentration is 0.001 to 0.3 wt%, particularly the lactam concentration is 0.001 to 0.15 wt%, more particularly the lactam concentration is 0.01 to 0.1 wt%. Furthermore, the present invention relates to a polymer, in particular a dental polymer or an otoplastic polymer comprising polymerised monomers and/or oligomers or polymers and a lactam, as well as a medical product comprising said polymer.

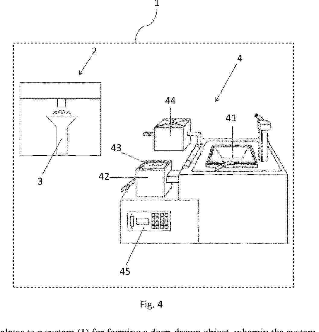
SYSTEM, DEEP-DRAWING DEVICE AND METHOD FOR FORMING A DEEP-DRAWN OBJECT

NºPublicación:  EP4680450A1 21/01/2026
Solicitante: 
PRO3DURE MEDICAL GMBH [DE]
PRO3DURE MEDICAL GMBH
WO_2024189093_PA

Resumen de: WO2024189093A1

The invention relates to a system (1) for forming a deep-drawn object, wherein the system (1) comprises: - a generative manufacturing device (2) configured to generate a three-dimensional (3D) object on a build platform (3) and - a deep-drawing device (4), characterized in that the deep-drawing device (4) comprises a receiving structure (41) configured to receive the build platform (3), particularly the build platform (3) with the 3D object (5) on the build platform (3), such that when the build platform (3) is received by the receiving structure (41), the deep-drawn object can be generated by the deep-drawing device (4) based on the 3D object (5). The invention also relates to a deep-drawing device (4) and a method for forming a deep-drawn object.

FUNCTIONALIZED RECOMBINANT BACTERIAL COLLAGEN-LIKE PROTEINS

NºPublicación:  EP4680622A1 21/01/2026
Solicitante: 
EVONIK OPERATIONS GMBH [DE]
Evonik Operations GmbH
KR_20250158066_PA

Resumen de: CN120882736A

A recombinant bacterial collagen-like protein, preferably having an amino acid sequence at least > = 60% identical to the amino acid sequence of SEQ ID NO: 1, where the amino acid sequence comprises a deletion of at least 38 amino acids at the N-terminus of the amino acid sequence of SEQ ID NO: 1, where the recombinant collagen-like protein is functionalized with at least one non-terminal alkenyl group. The present invention relates to a functionalized recombinant bacterial collagen-like protein, a bio-ink comprising the functionalized recombinant bacterial collagen-like protein, at least one solvent and at least one photoinitiator, a method for producing a hydrogel by crosslinking the functionalized recombinant bacterial protein or the bio-ink and the hydrogel obtained therefrom. In addition, the scaffold for tissue engineering comprises a hydrogel.

CROSSLINKERS AND COMPOSITIONS

NºPublicación:  EP4680180A1 21/01/2026
Solicitante: 
ALIGN TECHNOLOGY INC [US]
Align Technology, Inc
CN_121038767_PA

Resumen de: CN121038767A

The present disclosure provides crosslinker compounds that can produce desired polymeric materials, polymeric compositions, and/or photocurable resins. Further provided herein are methods of producing crosslinker compounds, compositions, resins, devices, and polymeric materials. Also provided herein are methods of making (e.g., by 3D printing) a medical device (e.g., an orthodontic appliance) using a crosslinker compound, a resin, and a polymeric material.

一种聚谷氨酸生物墨水及其制备方法与应用

NºPublicación:  CN121360284A 20/01/2026
Solicitante: 
湖南中科要素生物科技有限公司
CN_121360284_PA

Resumen de: CN121360284A

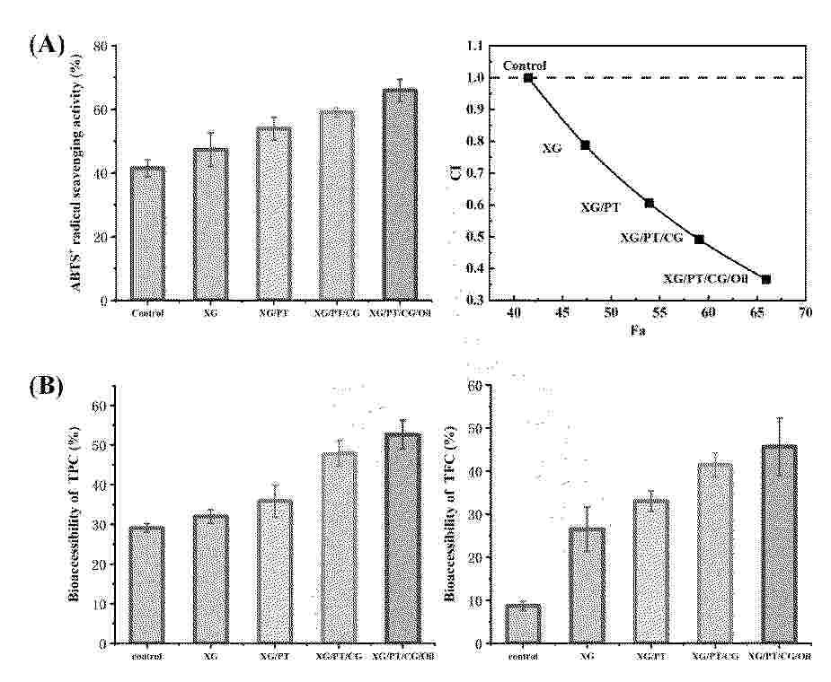
本发明涉及一种兼具抑菌和抗氧化功能的聚谷氨酸生物墨水及其制备方法与应用。该方法首先将高分子量γ‑聚谷氨酸在特定高温下降解,获得低粘度、适于打印的降解γ‑聚谷氨酸(dγ‑PGA);然后将其与甲基丙烯酸酰化试剂反应,制得可光交联的甲基丙烯酰化降解γ‑聚谷氨酸(dγ‑PGAGMA);最后将dγ‑PGAGMA、光引发剂与活细胞混合,即得所述生物墨水。本发明不仅适合3D生物打印可以任意成型,打印成型的水凝胶能兼具抑制细菌存活和具有抗氧化的功效,能促进软骨细胞的生长和软骨组织的再生。

一种面部植入填充材料及其制备方法

NºPublicación:  CN121360283A 20/01/2026
Solicitante: 
湖州市中心医院
CN_121360283_PA

Resumen de: CN121360283A

本发明公开了一种面部植入填充材料及其制备方法,涉及医用材料技术领域;所述面部植入填充材料由3D纤维基复合型微球、凝胶基体组成;将3D纤维基复合型微球深入缠绕、互锁在凝胶基体中,呈现高度均匀分散性,从而更加有效地传递应力,提高了材料的机械强度,有利于抵抗植入后变形,两者构建的仿生复合结构通过抵抗降解、维持体积和促进组织长入的方式,实现主动的组织再生与替代,显著提升了填充作用的有效性和长效性。

一种具有主动收缩功能的智能水凝胶及制备方法与应用

NºPublicación:  CN121360286A 20/01/2026
Solicitante: 
宁波大学
CN_121360286_PA

Resumen de: CN121360286A

本发明属于3D打印材料技术领域,具体公开了一种具有主动收缩功能的智能水凝胶及制备方法与应用,制备方法包括以下步骤:S1、将3‑丙烯酰胺基苯硼酸加入去离子水中,得到3‑丙烯酰胺基苯硼酸溶液;S2、将单宁酸加入3‑丙烯酰胺基苯硼酸溶液中,得到单宁酸3‑丙烯酰胺基苯硼酸溶液;S3、将苯基‑2,4,6‑三甲基苯甲酰基次膦酸锂、瓜尔豆胶依次加入单宁酸3‑丙烯酰胺基苯硼酸溶液中,得到具有主动收缩功能的智能水凝胶。本发明采用上述一种具有主动收缩功能的智能水凝胶及制备方法与应用,解决现有挤出式3D打印技术中成型精度与结构分辨率不足的问题,为毛细血管网络、神经微导管等精细组织的体外仿生构建提供了新的技术路径。

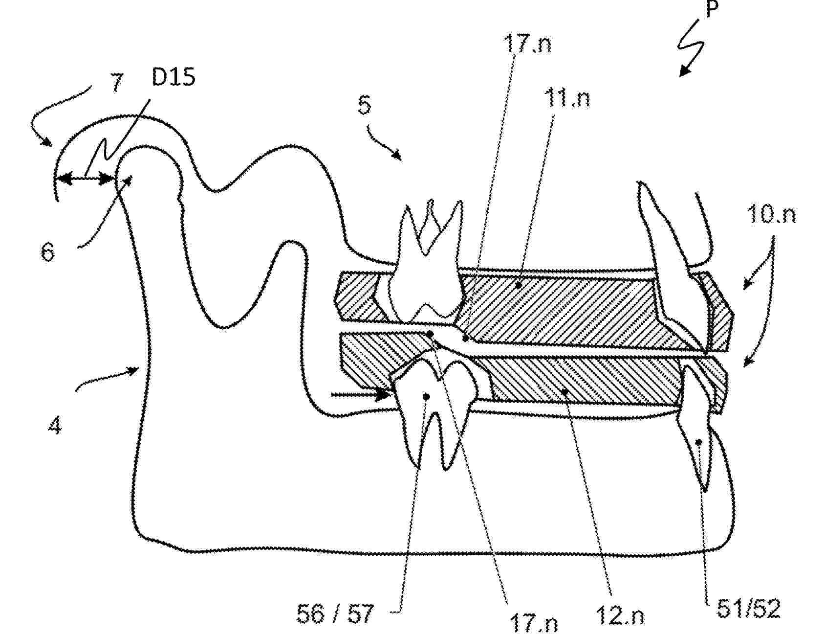
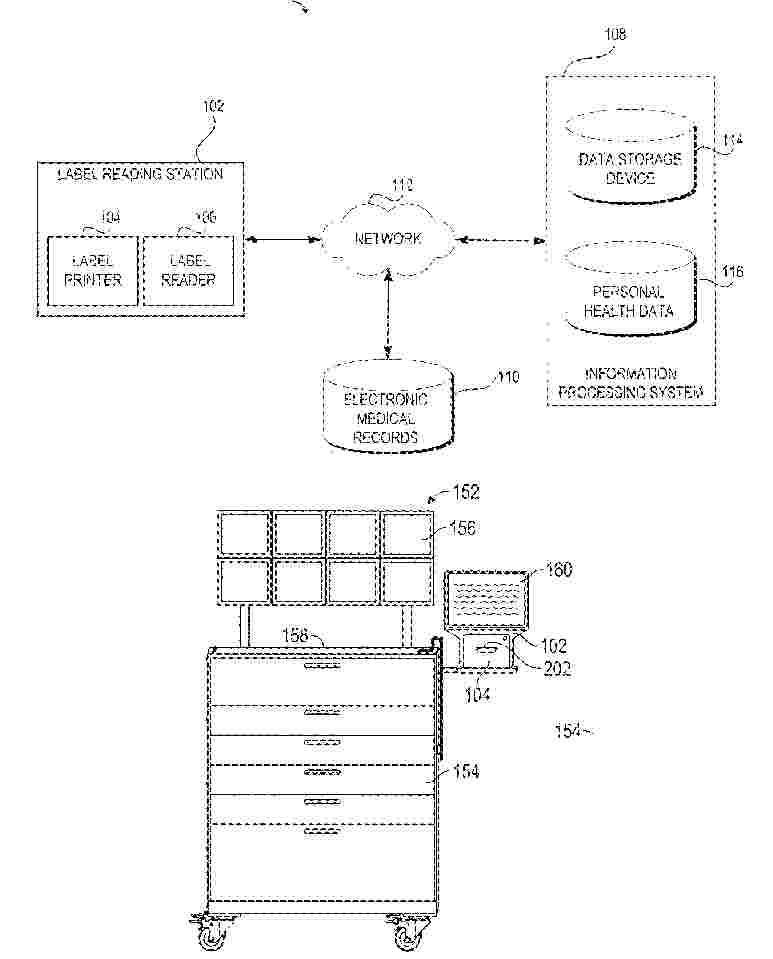
歯冠特徴部を有する歯科インプラント、ならびにこの歯科インプラントを設計および製作するためのシステム、デバイス、および方法

NºPublicación:  JP2026501579A 16/01/2026
Solicitante: 
アイデンティカル,インコーポレイテッド
JP_2026501579_PA

Resumen de: WO2024145635A2

Root-analog dental implants include one or more coronal grooves that are sized, shaped, and/or configured to correspond to a size, shape, and/or position of a bone crest for an extracted tooth a root-analog dental implant is designed and manufactured to replace. The coronal grooves may be configured to engage with bone of an alveolar socket to enhance engagement between the root-analog dental implant and the alveolar socket particularly for the time period following seating the root-analog dental implant within the socket site and prior to osseointegration of the root-analog dental implant with the alveolar socket. This promotes stability of the root-analog dental implant within the socket site immediately following insertion and thereafter, which may decrease movement of the root-analog dental implant within the socket site, decrease a likelihood of foreign material such as bacteria or food entering the socket site, and/or reduce a risk of implant failure and jawbone injury.

用于正畸应用的半结晶含硫聚合物

NºPublicación:  CN121358431A 16/01/2026
Solicitante: 
阿莱恩技术有限公司
CN_121358431_PA

Resumen de: US2025009476A1

The present disclosure provides polymeric materials comprising semicrystalline sulfur-containing polymers, methods and curable compositions for making the same, and orthodontic appliances made from said polymeric materials.

一种亲骨牙种植体及其制备方法

NºPublicación:  CN121338088A 16/01/2026
Solicitante: 
深圳大洲医学科技有限公司
CN_121338088_A

Resumen de: CN121338088A

本发明涉及牙种植体领域,具体涉及一种亲骨牙种植体及其制备方法,包括以下步骤:步骤1、将亲骨活性生物陶瓷、磷酸锶和β‑甘油磷酸镁混合在钽金属粉末中,获得混合原料;步骤2、将所述混合原料经过3D打印,获得种植体基体;步骤3、在所述种植体基体上生成聚多巴胺涂层,获得涂层种植体;步骤4、将水凝胶粘接在所述涂层种植体上,获得亲骨牙种植体。本发明的聚多巴胺涂层一方面通过邻苯二酚基团与钽金属粉末形成共价键,通过醌基与锶/镁离子螯合。另一方面,聚多巴胺涂层的酚羟基与水凝胶极性基团形成氢键网络,还与水凝胶存在阳离子‑π作用和疏水协同。因此,水凝胶能够通过聚多巴胺涂层与种植体基体间接牢固地粘接在一起。

一种多级孔结构钛基生物活性骨植入复合材料的制备方法

NºPublicación:  CN121338090A 16/01/2026
Solicitante: 
昆明理工大学
CN_121338090_PA

Resumen de: CN121338090A

本发明公开一种多级孔结构钛基生物活性骨植入复合材料的制备方法,属于生物医用材料技术领域。本方法将TC4钛合金粉末、ZrO2粉末、羟基磷灰石粉末及NaCl粉末按一定比例混合后,与多组分粘结剂体系密炼造粒,通过3D打印工艺制备生坯;生坯经温水和草酸催化脱脂后,在氩气保护下进行阶梯式热脱脂和低温预烧结‑高温致密化烧结,制备多级孔结构钛基生物活性骨植入复合材料。本发明制备的复合材料具有独特的三级贯通孔隙结构:由3D打印填充路径间隙产生的毫米级孔隙、NaCl造孔剂水脱去除后遗留的亚毫米级孔隙和HA与基体热膨胀系数差异生成的微米级孔隙,该复合材料力学性能与结构仿生设计均符合人体骨组织的适配性要求。

一种实现聚合物增韧陶瓷基骨支架的增材制造方法

NºPublicación:  CN121338092A 16/01/2026
Solicitante: 
山东大学
CN_121338092_PA

Resumen de: CN121338092A

本发明属于3D打印技术领域,公开了一种实现聚合物增韧陶瓷基骨支架的增材制造方法,采用炭黑油墨作为陶瓷油墨挤出细丝的内芯,打印坯体经干燥及烧结去除炭黑组分,形成具有粗糙内壁的中空的细丝孔,将坯体浸入加热的石蜡中,仅填充挤出细丝的丝间隙而不进入细丝孔,为聚合物填充预留通道,坯体被置于聚合物单体溶液中,聚合物单体通过毛细作用进入细丝孔并固化,以超过石蜡熔点小于聚合物熔点的温度加热坯体去除石蜡,得到聚合物增韧陶瓷基骨支架。有效规避聚合物在热处理过程中的熔化或降解风险,确保细丝孔内聚合物的完整,保障骨支架在生物环境中的力学稳定性与长期增韧效果。聚合物逐渐分解,有利于细胞的生长及新陈代谢的物质运输。

一种基于FLYZ的3D打印吞咽友好型凝胶及其制备方法

NºPublicación:  CN121337888A 16/01/2026
Solicitante: 
扬州大学
CN_121337888_PA

Resumen de: CN121337888A

本发明公开了一种基于FLYZ的3D打印吞咽友好型凝胶及其制备方法,制备方法包括如下步骤:S1、将茯苓、杏仁、陈皮按质量比(2‑5):1:(2.5‑5)加水进行提取;S2、将食用胶和核桃油分散在步骤S1获得的提取液,并在60‑70℃下搅拌至完全水合,冷却后得到油墨;S3、将步骤S2得到的油墨用3D打印机打印为基于FLYZ的3D打印吞咽友好型凝胶。本发明通过凝胶组分配比与工艺参数控制,获得既具有显著抗氧化活性又满足吞咽困难者(IDDSI 4级/极浓稠—糊状)口感与安全性的3D打印凝胶,实现可重复、可调的硬度、黏附性等质构指标,满足吞咽困难人群对口腔停留与易下咽的要求。

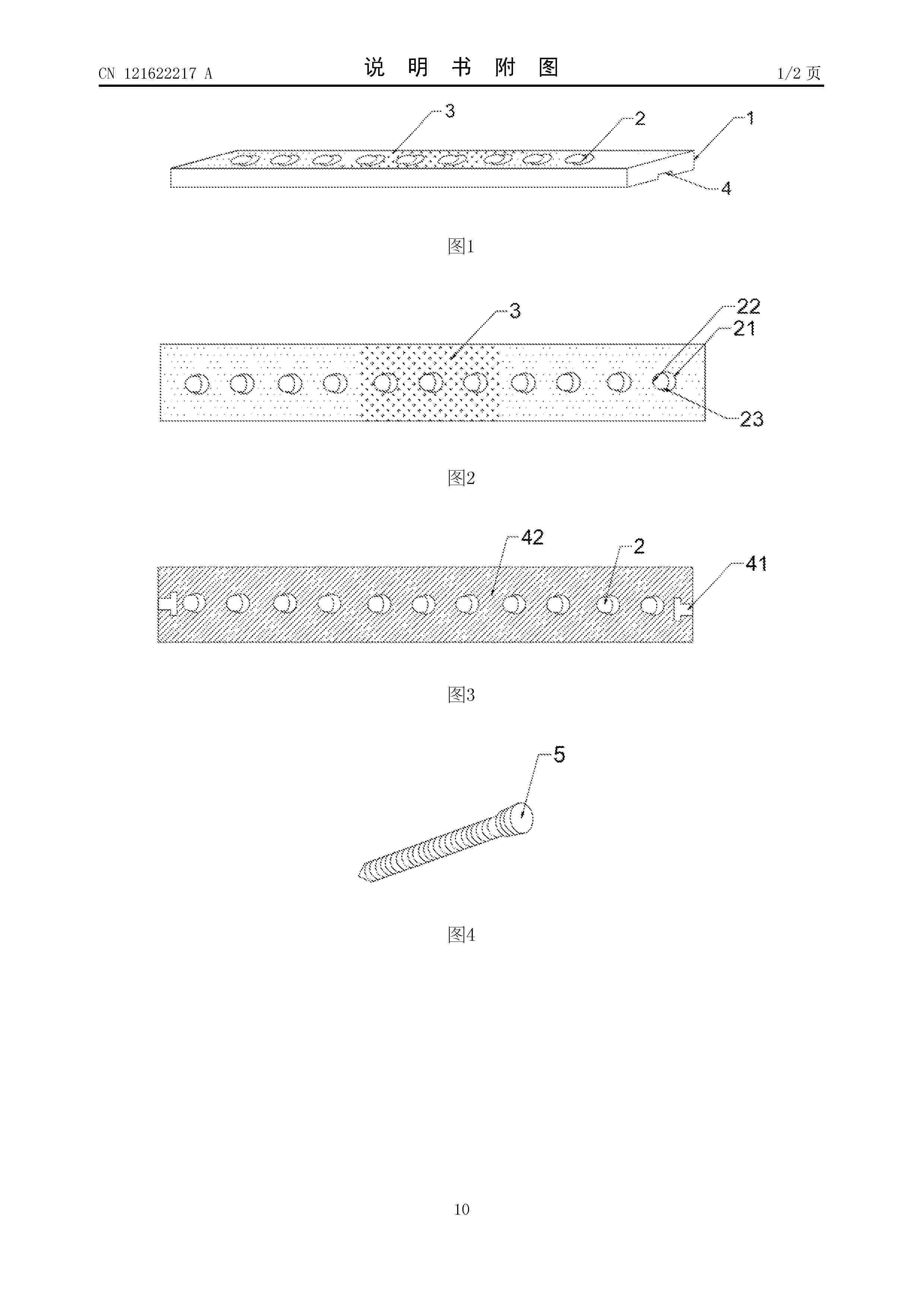
一种双交联3D打印骨修复支架的制备方法

NºPublicación:  CN121338091A 16/01/2026
Solicitante: 
兰州大学第二医院
CN_121338091_PA

Resumen de: CN121338091A

本申请涉及生物医用材料技术领域,具体公开了一种双交联3D打印骨修复支架的制备方法。该支架由双相磷酸钙基体与明胶甲基丙烯酰化物水凝胶外层复合制成。其制备方法为:首先制备双相磷酸钙墨水,通过3D打印构建多孔支架坯体;接着依次进行氯化钙溶液和戊二醛溶液的双重交联处理,得到力学性能增强的支架基体;然后制备负载经修饰的特立帕肽的明胶甲基丙烯酰化物水凝胶,并将其与支架基体复合,经蓝光交联固化后获得最终产品。本申请的骨修复支架具有良好的生物相容性和成骨活性,可有效促进骨缺损修复。另外,本申请的制备方法工艺可控、重复性好,通过3D打印技术实现了支架结构的精准调控,为个性化骨修复材料的制备提供了新途径。

基于3D打印技术的力度传感刮痧板

NºPublicación:  CN121337589A 16/01/2026
Solicitante: 
福州市中医院福建理工大学
CN_121337589_PA

Resumen de: CN121337589A

本发明提出基于3D打印技术的力度传感刮痧板,包括以3D打印方式制备的刮痧头,还包括含握持部的刮痧板壳体,刮痧头、握持部之间以燕尾榫结构体、插销连接为可更换刮痧头的分体式结构,所述刮痧板壳体处设有与信息转化模块相连的压力传感器;所述握持部与信息记录模块紧邻;当刮痧头刮痧端对受术用户刮痧施力时,刮痧头的壳体端与压力传感器接触,信息转化模块经压力传感器采集刮痧头壳体端受力数据,并将受力数据送至信息记录模块;本发明采用3D打印成形的刮痧头,并在刮痧头与壳体结合部嵌入压力传感器,实时采集压力数据并通过随机森林回归模型预测最佳舒适度区间,能突破传统刮痧操作的主观性局限。

超结构玻璃碳及其制备方法和应用

NºPublicación:  CN121358688A 16/01/2026
Solicitante: 
四川华鼎世纪科技有限公司
CN_121358688_PA

Resumen de: CN121358688A

一种超结构玻璃碳及其制备方法和应用,首先提供了一种具有各向应力均匀分布的稳定结构的超结构玻璃碳,其次还提供了这种超结构玻璃碳的制备方法、应用,以及基于这种超结构玻璃碳得到的骨修复材料。

STARCH BASED PRINTABLE MATERIALS

NºPublicación:  ES3052859T3 15/01/2026
Solicitante: 
ROQUETTE FRERES
ROQUETTE FRERES
US_2024226016_PA

Resumen de: US2024226016A1

The instant invention relates to a printable material for Hot Melt Extrusion-based 3D printing (HME-3DP) comprising a pregelatinized cross-linked starch and hydroxypropyl methyl cellulose (HPMC). It also relates to a process for 3D printing using the same. It also relates to products, in particular controlled release solid dosage forms, obtained thereof by 3D printing.

NEW CUTOUT FOR ELASTIC ALIGNERS, METHOD OF MANUFACTURING SAME AND SYSTEM FOR ORTHODONTIC TREATMENT

NºPublicación:  WO2026013591A1 15/01/2026
Solicitante: 
UAB ORDOLINE [LT]
VISNIAUSKIS IGNAS [LT]
UAB ORDOLINE,
VISNIAUSKIS, Ignas
WO_2026013591_A1

Resumen de: WO2026013591A1

This patent description outlines the comprehensive details of the improved elastic cutout in orthodontic aligners, comprising a polymeric material formed with multiple cavities configured to apply a load to at least one tooth to cause movement of said tooth. The integrated cutout for elastics is positioned on the aligner, wherein cutout for elastics is configured to retain an elastic band and wherein cutout for elastics is configured to be connected with the button arranged on the opposite aligner. The cutout for elastic is integrated into aligner and cutting of the cutout for elastic is performed on bubble-like element. This invention also provides a method for manufacturing of the cutout for elastics and the orthodontic treatment system which comprises the aligner with incorporated cutout for elastics, the opposite aligner on which a secure lock-up mechanism is fixed and elastic band which specifically is designed to create an elastic connection between the secure locking mechanism and the cutout for elastics.

Photopolymerizable Compositions Including a Polyurethane Methacrylate Polymer Prepared Using a Polycarbonate Diol, Articles, and Methods

Nº publicación: US20260015438A1 15/01/2026

Solicitante:

SOLVENTUM INTELLECTUAL PROPERTIES COMPANY [US]
Solventum Intellectual Properties Company

US_20260015438_PA

Resumen de: US20260015438A1

The present disclosure provides a photopolymerizable composition. The photopolymerizable composition includes a) 40-60 parts by weight of a monofunctional (meth)acrylate monomer, per 100 parts of the total photopolymerizable composition; b) a photoinitiator; and c) a polymerization reaction product of components. A cured homopolymer of the monofunctional (meth)acrylate monomer has a glass transition temperature of 125 degrees Celsius or greater. The polymerization reaction product of components includes i) a diisocyanate; ii) a hydroxy functional methacrylate; iii) a polycarbonate diol; and iv) a catalyst. The polymerization reaction product includes a polyurethane methacrylate polymer. Often, the polycarbonate diol has a number average molecular weight of greater than 1,000 grams per mole (g/mol) or a weighted average of all polycarbonate diols present in the components has a Mn of greater than 1,000 g/mol; alternatively, the polyurethane methacrylate polymer has a weight average molecular weight of 8,000 g/mol or greater. An article is also provided including the photopolymerizable composition reaction product. Further, the present disclosure provides articles and methods of making articles. Methods are additionally provided, including receiving, by a manufacturing device having one or more processors, a digital object comprising data specifying an article; and generating, with the manufacturing device by an additive manufacturing process, the article based on the digital o

traducir