Ministerio de Industria, Turismo y Comercio LogoMinisterior
 

Alerta

Resultados 60 resultados
LastUpdate Última actualización 23/11/2025 [07:06:00]
pdfxls
Solicitudes publicadas en los últimos 60 dias/ Patent applications published in the last 60 days
previousPage Resultados 50 a 60 de 60  

COVERT MACHINE-READABLE MICRO-OPTIC FEATURE EMBEDDED IN LENS LAYER

NºPublicación:  MX2025010657A 01/10/2025
Solicitante: 
CRANE & CO INC [US]
CRANE & CO., INC
AU_2023437056_PA

Resumen de: MX2025010657A

Micro-optic devices including micro-optic devices which include an optical spacer (110) having a first side and a second side, an icon layer (120) comprising a plurality of image icons of a first color disposed on the first side of the optical spacer, and a focusing layer (105) comprising a plurality of refractive focusing elements (107) disposed on the second side of the optical spacer. The plurality of refractive focusing elements project a synthetically magnified image of the plurality of image icons, and image icons of the first color project a component of the synthetically magnified image that is of the first color. Additionally, the refractive focusing elements are doped with a machine readable taggant which emits a characteristic signal at a first frequency in the ultraviolet spectrum.

SYSTEM FOR TRACKING PRODUCTION WORKFLOW INFORMATION OF DIGITAL PHOTOPOLYMER PRINTING PLATES

NºPublicación:  EP4623340A1 01/10/2025
Solicitante: 
ESKO GRAPHICS IMAGING GMBH [DE]
Esko-Graphics Imaging GmbH
CN_120548506_PA

Resumen de: WO2024110904A1

A process for manufacture of a flexographic printing plate pursuant to a plurality of process steps, including at least an imaging step, a curing step, a washing or other non-cured-polymer-removal step, each step performed by a processing machine having at least one variable operating parameter. The process includes providing a smart plate tracking (SPT) code on each flexographic printing plate, storing in computer memory instructions readable by a computer processor information corresponding to the at least one variable operating parameter for each of the processing machines in association with the SPT code, and in response to receiving the SPT code as an input from a user or machine interface corresponding to one of the processing machines, the computer processor returning instructions corresponding to one of the processing machines.

SECURITY MARKING AND VERIFICATION SYSTEM

NºPublicación:  EP4622804A1 01/10/2025
Solicitante: 
SUN CHEMICAL CORP [US]
Sun Chemical Corporation
WO_2024155729_A1

Resumen de: WO2024155729A1

The present invention provides a method of producing a security mark by printing with a security ink, and an optical detection method to authenticate the security mark. The security ink contains an organic fluorescent molecule in an aggregated state with a highly red-shifted and broadened fluorescence spectrum compared to the monomeric state of the same material, and capable of tuning of the wavelength and intensity of fluorescence as a function of concentration.

DATA CARRIER AND METHOD OF PRODUCING IT

NºPublicación:  EP4624185A1 01/10/2025
Solicitante: 
THALES DIS FRANCE SAS [FR]
THALES DIS FRANCE SAS
EP_4624185_PA

Resumen de: EP4624185A1

A data carrier (1) for a secure article comprises a carrier body (2), and at least one security element (3) being provided on the carrier body (2). The security element (3) comprises at least one image (4) and at least one surface structure (5). The image (4) comprises at least one primary image (6) and at least one secondary image (7) being encoded in the primary image (6). The surface structure (5) comprises at least primary surface structure elements (8) and secondary surface structure elements (9). The image (4) is at least partially printed onto the primary surface structure elements (8). At least the secondary surface structure elements (9) are configured to decode the secondary image (7) when the data carrier (1) is viewed under different viewing angles (α) and/or illuminated under different illumination angles (β), whereby the secondary image (7) becomes observable.

Maskierungsplatte, Anordnung und Verfahren zum Erzeugen mindestens eines taktil erfassbaren Rasterelements eines Rasters an oder in einem Substrat

NºPublicación:  DE102024108177A1 25/09/2025
Solicitante: 
BUNDESDRUCKEREI GMBH [DE]
Bundesdruckerei GmbH
EP_4620697_PA

Resumen de: DE102024108177A1

Die Erfindung betrifft eine für Laserstrahlen resistente Maskierungsplatte, eine Anordnung und ein Verfahren zum Erzeugen mindestens eines taktil erfassbaren Rasterelements (102) eines Rasters (104) an oder in einem Substrat (100). Das Verfahren umfasst die Schritte des Bereitstellens des Substrats (100) aus einem Substratmaterial sowie des lokalen Aufschäumens des Substratmaterials (100) mit einem Laserstrahl (106) einer Laserquelle (108), wodurch das mindestens eine Rasterelement (102) des Rasters (104) erzeugt wird, wobei a) auf das Substrat (100) eine gegenüber dem Laserstrahl (106) resistente Maskierungsplatte (110) aufgebracht wird, bevor das mindestens eine Rasterelement (102) erzeugt wird, welche mindestens ein an das Rasterelement (102) angepasstes Durchgangsloch (112) aufweist, wobei das lokale Aufschäumen des Substratmaterials durch das mindestens eine Durchgangsloch (112) der Maskierungsplatte (110) hindurch erfolgt; oder wobei b) auf das Substrat (100) ein der Strahlführung des Laserstrahls (106) dienendes Führungsrohr aufgesetzt wird, wobei durch das lokale Aufschäumen des Substratmaterials durch das Führungsrohr hindurch das Rasterelement (102) erzeugt wird.

MANUFACTURING LIGHT FIELD PRINTS

NºPublicación:  US2025296316A1 25/09/2025
Solicitante: 
FATHOM OPTICS INC [US]
Fathom Optics Inc
US_2023405988_PA

Resumen de: US2025296316A1

Techniques for manufacturing a light field print using a printing press. The techniques include: identifying at least one characteristic of the printing press at least in part by printing at least one calibration pattern; obtaining content to be rendered using the light field print, the content comprising multiple scene views; generating, based at least in part on the content and the at least one characteristic of the printing press, a front target pattern and a back target pattern; and using the printing press to: print the front target pattern on a first side of a substrate; and print the back target pattern on a second side of the substrate.

ARTICLE WITH ANGLED REFLECTIVE SEGMENTS

NºPublicación:  US2025296380A1 25/09/2025
Solicitante: 
VIAVI SOLUTIONS INC [US]
VIAVI SOLUTIONS INC
EP_4600707_PA

Resumen de: US2025296380A1

According to examples, an article may include a base layer that extends along a first dimension and a second dimension, in which the second dimension is orthogonal to the first dimension. The article may also include reflective ribbons provided on an upper surface of the base layer, in which the reflective ribbons positioned along a common plane extending in the second dimension have dihedral angles that change as a function of distance across the common plane.

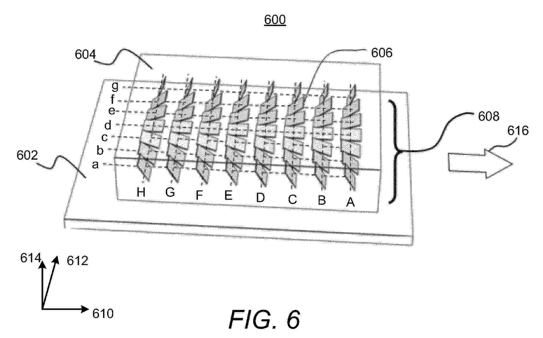
OPTICALLY VARIABLE SECURITY FEATURE

NºPublicación:  WO2025199506A1 25/09/2025
Solicitante: 
CRANE & CO INC [US]
CRANE & CO., INC

Resumen de: WO2025199506A1

A security document includes a printable substrate (105, 301, 401, 501, 601, 701) having a hybrid security feature (320, 400, 510, 600, 700). The hybrid security feature includes a first sub-region (305, 605, 705) comprising a first area of optically variable ink, and a second sub-region (310, 405a-c, 610, 710) comprising a second area of a first fluorescent ink. The first fluorescent ink of the second sub-region glows only under ultraviolet light. The hybrid security feature presents an optically variable effect characterized by, when viewed in natural light, the optically variable ink of the first sub-region presents an optically variable effect, and the first fluorescent ink of the second sub-region does not glow, and when viewed in ultraviolet light, the optically variable ink of the first sub-region appears as one or more solid colors, and the first fluorescent ink of the second sub-region glows.

MAGNETIZING DEVICE, AND ASSOCIATED CYLINDER AND MACHINE

NºPublicación:  EP4619246A1 24/09/2025
Solicitante: 
OBERTHUR FIDUCIAIRE SAS [FR]
Oberthur Fiduciaire SAS
CN_120548253_PA

Resumen de: WO2024104684A1

The present invention relates in particular to a magnetizing device (B) intended to be placed in an exposure and transfer cylinder for orienting particles sensitive to magnetic fields, comprising a main magnet assembly (10) in the form of a plate, a plurality (20) of secondary magnets (20i) forming a two-dimensional array, said secondary magnets (20i) being small relative to the main magnet assembly (10), the poles of the magnets of said plurality (20) of secondary magnets (20i) being oriented in a direction extending in a plane generally parallel to the midplane (P) of the main assembly (10); in said plurality of secondary magnets (20i): each magnet being separated from the neighbouring magnet by a space; said array of secondary magnets (20i) extending along a curved surface; the magnets of the device (B) being shaped so that the magnetic field lines generated by these magnets act at a distance greater than the distance (D) by which they are embedded.

MASKING PLATE, ARRANGEMENT AND METHOD FOR PRODUCING AT LEAST ONE TACTILE GRID ELEMENT OF A GRID ON OR IN A SUBSTRATE

Nº publicación: EP4620697A1 24/09/2025

Solicitante:

BUNDESDRUCKEREI GMBH [DE]
Bundesdruckerei GmbH

EP_4620697_PA

Resumen de: EP4620697A1

Die Erfindung betrifft eine für Laserstrahlen resistente Maskierungsplatte, eine Anordnung und ein Verfahren zum Erzeugen mindestens eines taktil erfassbaren Rasterelements (102) eines Rasters (104) an oder in einem Substrat (100). Das Verfahren umfasst die Schritte des Bereitstellens des Substrats (100) aus einem Substratmaterial sowie des lokalen Aufschäumens des Substratmaterials (100) mit einem Laserstrahl (106) einer Laserquelle (108), wodurch das mindestens eine Rasterelement (102) des Rasters (104) erzeugt wird, wobei a) auf das Substrat (100) eine gegenüber dem Laserstrahl (106) resistente Maskierungsplatte (110) aufgebracht wird, bevor das mindestens eine Rasterelement (102) erzeugt wird, welche mindestens ein an das Rasterelement (102) angepasstes Durchgangsloch (112) aufweist, wobei das lokale Aufschäumen des Substratmaterials durch das mindestens eine Durchgangsloch (112) der Maskierungsplatte (110) hindurch erfolgt; oder wobei b) auf das Substrat (100) ein der Strahlführung des Laserstrahls (106) dienendes Führungsrohr aufgesetzt wird, wobei durch das lokale Aufschäumen des Substratmaterials durch das Führungsrohr hindurch das Rasterelement (102) erzeugt wird.

traducir