Ministerio de Industria, Turismo y Comercio LogoMinisterior
 

Alerta

Resultados 42 resultados
LastUpdate Última actualización 22/01/2026 [07:14:00]
pdfxls
Solicitudes publicadas en los últimos 60 dias/ Patent applications published in the last 60 days
Resultados 1 a 25 de 42 nextPage  

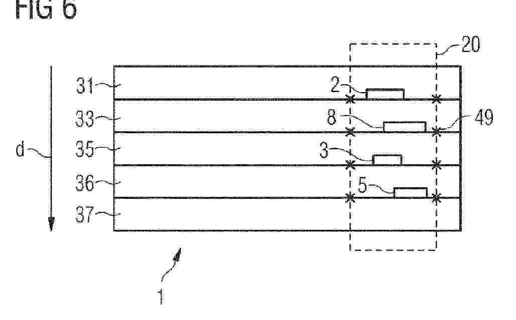
METHOD OF PERSONALIZING A SECURITY DOCUMENT

NºPublicación:  EP4681931A1 21/01/2026
Solicitante: 
TOPPAN SECURITY SAS [FR]
TOPPAN SECURITY IRELAND TEORANTA [IE]
TOPPAN Security SAS,
Toppan Security Ireland Teoranta
EP_4681931_PA

Resumen de: EP4681931A1

A method of personalizing a security document includes a formation of a personalized output image (5) by printing a two-dimensional pattern (6) consisting of a single continuous line (8). In this printing, at least one line parameter of each line unit (10) of the single continuous line (8) is varied in accordance with color values of the image units (9) in the personalized input image (4) to create a personalized output image having a unique appearance. If the printed personalized output image (5), in particular, the single continuous line (8) has an electrical conductivity above a given threshold value, the personalized output image (5) may form part of an RFID antenna (18) of the security document (10).

METHOD FOR CREATING A DIGITALLY PRINTED DÉCOR COMPRISING A CONCEALED CODE

NºPublicación:  AU2024289664A1 15/01/2026
Solicitante: 
UNILIN BV
UNILIN, BV
AU_2024289664_PA

Resumen de: AU2024289664A1

Method for generating a control file for a digital printer, wherein the control file is provided for printing a decorative pattern on a sheet. The decorative pattern is modified such that it comprises a concealed code. The method comprises the steps of - printing a first master decor showing the decorative pattern on a first sample of the sheet, thereby obtaining a first sample sheet comprising the first master decor; - performing a process on the first sample sheet comprising the first master decor, wherein the process causes a deformation of the printed first master decor on this first sample sheet; - measuring this deformation on the first sample sheet; - modifying the first master decor thereby obtaining a second master decor, wherein the second master decor is modified compared to the first master decor such that it compensates for the deformation occurring in said process; - generating a control file for a digital printer for printing the second master decor on a sheet having the same characteristics as the first sample sheet; characterized in that the printed second master decor comprises the concealed code invisible to the human eye but machine readable.

COVERT MACHINE-READABLE MICRO-OPTIC FEATURE EMBEDDED IN LENS LAYER

NºPublicación:  EP4676750A1 14/01/2026
Solicitante: 
CRANE & CO INC [US]
CRANE & CO., INC
KR_20250157387_PA

Resumen de: MX2025010657A

Micro-optic devices including micro-optic devices which include an optical spacer (110) having a first side and a second side, an icon layer (120) comprising a plurality of image icons of a first color disposed on the first side of the optical spacer, and a focusing layer (105) comprising a plurality of refractive focusing elements (107) disposed on the second side of the optical spacer. The plurality of refractive focusing elements project a synthetically magnified image of the plurality of image icons, and image icons of the first color project a component of the synthetically magnified image that is of the first color. Additionally, the refractive focusing elements are doped with a machine readable taggant which emits a characteristic signal at a first frequency in the ultraviolet spectrum.

LIDAR REFLECTIVE MATERIAL AND MARKING SYSTEM

NºPublicación:  EP4676751A1 14/01/2026
Solicitante: 
TOYOTA ENG & MFG NORTH AMERICA [US]
TOYOTA MOTOR ENGINEERING & MANUFACTURING NORTH AMERICA, INC
CN_121001881_PA

Resumen de: US2025354013A1

Disclosed here are a method of marking a dark-colored surface with a dark-colored LiDAR-reflective material and a marking composition comprising the dark-colored LiDAR-reflective material and a marking carrier. Particularly, the dark-colored LiDAR-reflective material comprises has a reflectivity in the visible spectrum of electromagnetic radiation that is ≤10% and a reflectivity in the near-IR and LiDAR spectrum of electromagnetic radiation that is ≥10%.

Sicherheitselement mit Magnetcodierung, Wertdokument, Herstellungsverfahren und Prüfverfahren

NºPublicación:  DE102024119285A1 08/01/2026
Solicitante: 
GIESECKE & DEVRIENT CURRENCY TECHNOLOGY GMBH [DE]
Giesecke+Devrient Currency Technology GmbH

Resumen de: DE102024119285A1

Die Erfindung betriff ein Sicherheitselement (14) zur Absicherung von Wertdokumenten mit einer Magnetcodierung (16) aus einer Mehrzahl von Codezellen (20). Erfindungsgemäß ist dabei vorgesehen, dass zumindest eine der Codezellen (20) der Magnetcodierung (16) einen Teilbereich aus hartmagnetischem Material mit moderater Koerzitivfeldstärke (LoCo-Material) (30) und einen Teilbereich aus einem weichmagnetischen Material (32) enthält, wobei die LoCo-Material (30) enthaltenden Teilbereiche und die weichmagnetisches Material (32) enthaltenden Teilbereiche innerhalb der Codezelle (20) nebeneinander angeordnet sind.

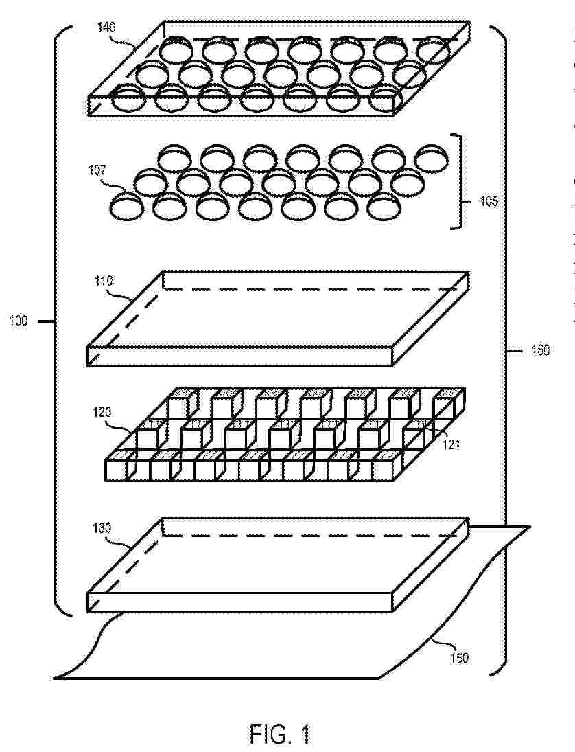
SECURITY DEVICES AND METHODS OF MANUFACTURE THEREOF

NºPublicación:  EP4673318A1 07/01/2026
Solicitante: 
DE LA RUE INT LTD [GB]
De La Rue International Limited
AU_2024230128_PA

Resumen de: MX2025010266A

Optically variable security device comprising: a substrate (10); an array of focussing elements (20, 21) disposed in or on the substrate; and an image array (30) disposed in or on the substrate and overlapping with the array of focussing elements, wherein the image array comprises at least first (11) and second (12) sets of image elements, the first set of image elements and the second set of image elements being interleaved with each other, wherein the image array comprises a first ink and a second ink different from the first ink, one or both of the first and second inks comprising a luminescent material.

ANTI-COUNTERFEIT PACKAGE, AUTHENTICITY DETERMINATION DEVICE, AUTHENTICITY DETERMINATION SYSTEM, AND AUTHENTICITY DETERMINATION METHOD

NºPublicación:  WO2026003934A1 02/01/2026
Solicitante: 
DENSANSHI CO LTD [JP]
\u96FB\u7B97\u7D19\u682A\u5F0F\u4F1A\u793E

Resumen de: WO2026003934A1

A packaging container (PA) comprises: a two-dimensional code (C1) that is printed using a second ink at a location viewable from outside the packaging container (PA) only when the packaging container (PA) is unfolded, the second ink containing a substance for absorbing light of a wavelength band other than the ultraviolet region so as to emit light of a wavelength band in the visible light region; and a QR code (registered trademark) (C2) that is printed using a first ink at a location viewable from outside the packaging container (PA) when the packaging container (PA) is folded, the first ink containing a substance for selectively absorbing or emitting light of a visible-light wavelength band.

INTAGLIO PRINTING PROCESSES FOR PRODUCING SECURITY FEATURES MADE OF OXIDATIVE DRYING INTAGLIO INKS

NºPublicación:  US20260002035A1 01/01/2026
Solicitante: 
SICPA HOLDING SA [CH]
SICPA HOLDING SA
US_20260002035_PA

Resumen de: US20260002035A1

The present invention relates to the field of processes for producing a security feature on a substrate by an intaglio printing process comprising a step a) of inking an intaglio engraved printing plate with an oxidative drying intaglio ink, said intaglio engraved printing plate being at a printing plate temperature between about 45° C. and about 85° C.; a step b) of wiping off any excess the oxidative drying intaglio ink using a paper of a tissue wiping system or using a polymeric wiping cylinder and cleaning said polymeric wiping cylinder with an alkaline aqueous wiping solution in combination with one or more mechanical means; a step c) of transferring said oxidative drying intaglio ink in the form of the security feature on the substrate; and a step d) of drying the oxidative drying intaglio ink in the presence of air so as to form the security feature.

PIGMENT PREPARATIONS FOR USE IN LOW VISCOSITY SECURITY INKS

NºPublicación:  WO2025257227A1 18/12/2025
Solicitante: 
BASF SE [DE]
SICPA HOLDING SA [CH]
BASF SE,
SICPA HOLDING SA
WO_2025257227_A1

Resumen de: WO2025257227A1

The present invention relates to the use of a pigment preparation for security applications, or in low viscosity security inks, said pigment preparation comprises (A) at least one organic pigment, (B) at least one pigment derivative, selected from the group of the sulfonic acid derivatives of quinophtalone pigments; wherein the organic pigment (A) particles have a mean crystallite size in the range of from 15 nm to 28 nm, especially in the range of from 20 nm to 28 nm, wherein the low viscosity security inks are selected from the group of screen printing inks, flexography printing inks, heliogravure printing inks, staining inks, inkjet printing inks, spray coating inks, aerosol jet printing inks, electrohydrodynamic printing inks, slot die coating inks, and Laser Induced Forward Transfer (LIFT) printing inks. The low viscosity security inks, comprising the pigment preparation, having altogether advantageous performance properties, especially high color strength and excellent absorption characteristics paired with good dispersion stability and low sedimentation. A high penetration depth is achieved when used in dyeing paper, cellulose etc.

OPTICALLY VARIABLE SECURITY ELEMENT WITH MACHINE-READABLE FEATURE SUBSTANCE AND OPTICAL FUNCTIONAL LAYER, VALUE DOCUMENT AND EXAMINATION METHOD

NºPublicación:  AU2024313636A1 18/12/2025
Solicitante: 
GIESECKE DEVRIENT CURRENCY TECH GMBH
GIESECKE+DEVRIENT CURRENCY TECHNOLOGY GMBH
AU_2024313636_PA

Resumen de: AU2024313636A1

The invention relates to an optically variable security element (20) for protecting a value document (10), having a first machine-readable feature substance (36) and an optical functional layer (24, 26) which gives the security element (20) an optically variable appearance when viewed. According to the invention, the security element (20) is formed from multiple layers, with an interior film layer (30) which has a first side and an opposite second side, wherein the film layer (30) is provided at least on the first side with an adhesive layer (34) for connecting to the value document (10) and on the second side with the optical functional layer (24, 26), and wherein the first machine-readable feature substance (36) is arranged in the film layer (30) or on the second side of the film layer (30).

POLYMER PARTICLES FOR MARKING OR CODING OBJECTS

NºPublicación:  EP4662071A1 17/12/2025
Solicitante: 
CYPHER SCIENCE [FR]
GLINCS [FR]
UNIV CLAUDE BERNARD LYON [FR]
CENTRE NAT RECH SCIENT [FR]
Cypher Science,
Glincs,
UNIVERSITE CLAUDE BERNARD LYON 1,
Centre National de la Recherche Scientifique
WO_2024165815_A1

Resumen de: WO2024165815A1

The invention relates to providing markers for identifying and/or authenticating objects, in particular valuable objects, and, more specifically, stable, effective, easily synthesised, economical, unforgeable markers that afford multiple, complex coding possibilities. The invention relates to particles (P), in particular particles suitable for marking, identifying and/or authenticating objects, in particular valuable objects, that are: - based on at least one polymer bearing chelating groups; - the largest dimension of which is between 0.1 and 1000 µm, preferably between 1 and 500 µm, even more preferably between 1 and 50 µm; and - to which are bonded at least one mineral marking element (M) and, optionally, at least one organic marking element (O); at least one portion of these one or more mineral marking elements (M) being chelated by the polymer. The invention also relates to a powder, a suspension or a composition comprising these particles P, and to a method for producing these particles.

SECURITY ELEMENT

NºPublicación:  EP4662070A1 17/12/2025
Solicitante: 
FASE S R L [IT]
Fase S.r.l
WO_2024165548_A1

Resumen de: MX2025009293A

There is provided a security element, comprising: an optic layer; a metallic layer; and a printed magnetic ink layer. The security element optionally comprises a photoluminescent layer. Also provided is a security document comprising the security element and a substrate, wherein the security element is surface applied, or partially or wholly embedded in the substrate. The security element may provide enhanced anti-counterfeiting protection to security documents such as banknotes.

METHOD OF FORMING A SECURITY FEATURE FOR A SECURITY DOCUMENT

NºPublicación:  WO2025252916A1 11/12/2025
Solicitante: 
HID GLOBAL CID SAS [FR]
HID GLOBAL CID SAS
WO_2025252916_PA

Resumen de: WO2025252916A1

A plurality of optically variable inks (2, 3, 5, 8) are used to print a multiplexed image (18) that can be observed in at least a first observation mode and a second observation mode on a substrate (1) of a security document (10). The optically variable inks (2, 3, 5, 8) are selected such that, in the first observation mode, first and second optically variable inks have a first color and third and fourth optically variable inks have a second color and, in the second observation mode, the first ink and the third ink have a third color and the second ink and the fourth ink have a fourth color. This allows for displaying different bicolor images in the first and second observation modes, where the appropriately configured inks can be selected from a set of available optically variable inks, or obtained by mixing such inks with one or more additional inks.

SCHALTBARE KAPSELLUMINESZENZPIGMENTE

NºPublicación:  DE102024114179A1 11/12/2025
Solicitante: 
GIESECKE & DEVRIENT CURRENCY TECHNOLOGY GMBH [DE]
Giesecke+Devrient Currency Technology GmbH
DE_102024114179_PA

Resumen de: DE102024114179A1

Die vorliegende Erfindung betrifft ein Kapsel-Lumineszenzpigment umfassend einen Lumineszenzstoff und ein Diarylethen als molekularen Schalter, wobei der Lumineszenzstoff und das Diarylethen als getrennte Moleküle in einem Polymerteilchen gelöst und/oder dispergiert sind, der Lumineszenzstoff ein Emissionsspektrum hat, das Diarylethen in einem ersten Schaltzustand ein erstes Absorptionsspektrum hat und in einem zweiten Schaltzustand ein zweites Absorptionsspektrum hat, das erste Absorptionsspektrum des Diarylethens nicht signifikant mit dem Emissionsspektrum des Lumineszenzstoffs überlappt und das zweite Absorptionsspektrum des Diarylethens signifikant mit dem Emissionsspektrum des Lumineszenzstoffs überlappt, so dass im ersten Schaltzustand deutlich intensivere Lumineszenz des Lumineszenzstoffs auftritt als im zweiten Schaltzustand des Diarylethens. Die vorliegende Erfindung betrifft weiterhin eine schaltbare Lumineszenzdruckfarbe, umfassend ein Kapsel-Lumineszenzpigment wie hierin beschrieben sowie ein Wertdokument, bevorzugt eine Banknote, umfassend einen Aufdruck mit einer ersten, schaltbaren Lumineszenzdruckfarbe wie hierin beschrieben.

System and Method for Production and use of a Photonic Crystal Printing Ink Solution

NºPublicación:  US2025376598A1 11/12/2025
Solicitante: 
CYPRIS MAT INC [US]
Cypris Materials, Inc
US_2025376598_PA

Resumen de: US2025376598A1

Systems and methods used for or in connection to production and printing of a photonic crystal forming ink solution, which involve use of a block polymer mixture and optionally a solvent, wherein the color of the printed ink solution may be set either through a single or multiple block polymer mixtures (i.e. premixed coloring) or through printing multiple layers of distinct single or multiple block polymer mixtures (i.e. post print coloring). The composition(s) used by the systems and methods function as a structural color (i.e., a photonic crystal) precursor, wherein forming, loading, printing, and optional post-print processing of the ink solution on a substrate, function to provide a desired photonic crystal print object possessing reflective coloration properties.

PERSONALIZED SECURITY DOCUMENT, METHOD OF PERSONALIZING A SECURITY DOCUMENT AND A PERSONALIZABLE SECURITS DOCUMENT

NºPublicación:  WO2025252912A1 11/12/2025
Solicitante: 
HID GLOBAL CID SAS [FR]
HID GLOBAL CID SAS
WO_2025252912_PA

Resumen de: WO2025252912A1

A personalized security document (10) includes a first personalized image (4, 4a) laser engraved in at least one layer of laser-engravable material (2, 12) from a first side (S1) of the security document (10), and a second personalized image (5, 5a) laser engraved in the at least one layer of laser-engravable material (2, 12) from a second side (S2) of the security document (10). Both the first personalized image and the second personalized image exhibit a color-change effect when viewed in reflection. In some cases, the two personalized images are engraved in two different layers of laser-engravable material (2, 12).

METHOD FOR ADDITIVELY PRINTING ON A MEDIUM USING FLUORESCENT INVISIBLE INKS

NºPublicación:  WO2025252526A1 11/12/2025
Solicitante: 
IMPRIMERIE NAT [FR]
IMPRIMERIE NATIONALE
WO_2025252526_PA

Resumen de: WO2025252526A1

The invention relates to a method for printing an image on a security document, said method using invisible inks that are fluorescent and visible under ultraviolet radiation, characterised in that it comprises a step of additive colour synthesis, consisting in: - decomposing a visible digital image into three (red, green and blue (R, G, B)) digital image masks (13) such that the superposition of the three masks (13) corresponds to the base image; - applying to each R, G, B digital colour mask (13) computer processing (14) consisting in introducing security patterns into each of the R, G, B digital masks; - printing on a (paper, polycarbonate) physical medium, on top of one another, these three red, green and blue masks provided with their security patterns, using invisible luminescent inks so as to form, on the medium, an invisible image () containing the security patterns () previously introduced into the three RGB digital masks.

FIBERS FOR VERIFYING FABRIC AUTHENTICITY AND SYSTEM FOR VERIFYING FABRIC AUTHENTICITY BY USING SAME

NºPublicación:  US2025377297A1 11/12/2025
Solicitante: 
HYOSUNG TNC CORP [KR]
HYOSUNG TNC CORPORATION
US_2025377297_A1

Resumen de: US2025377297A1

The present invention relates to fibers for verifying fabric authenticity, which exhibit the functionality of verifying fabric authenticity by mixing a special pigment with fibers, and a system for verifying fabric authenticity by using the fibers. The fibers for verifying fabric authenticity of the present invention, which comprise an infrared light-emitting body, are included inside yarn or fabric to provide an effect of verifying authenticity or preventing forgery. For example, analysis for authenticity identification is complicated and impossible for certain functional products after fabric manufacture, but the fabric authenticity verification fibers of the present invention enable rapid and accurate authenticity identification.

A SECURED MULTI-LAYERED AUTHENTICATION LABEL

NºPublicación:  WO2025253361A1 11/12/2025
Solicitante: 
AGARWAL ARUN [IN]
AGARWAL SONIA [IN]
AGARWAL, Arun,
AGARWAL, Sonia
WO_2025253361_PA

Resumen de: WO2025253361A1

The present invention relates to a secured multi-layered authentication label (100), wherein a semi-concealing layer (Ls) disposed over a metallized tamper evident holographic layer (L1) intended to be removed, thereby facilitating a first level and a second level of authentication, a printed layer (L2) positioned beneath the metallized tamper evident holographic layer (L1) and having a first surface (L2a) and a second surface (L2b) and each surface is embedded with a set of information via a plurality of inks, thereby enabling a third level and a fourth level of authentication, a substrate layer (L3) positioned under the second surface of the printed layer (L2) and having a primary surface (L3a) and a secondary surface (L3b) coated with a holographic transfer film and upon tampering, a holographic coating on holographic transfer film is transferred on a target product, thereby providing a fifth level of authentication.

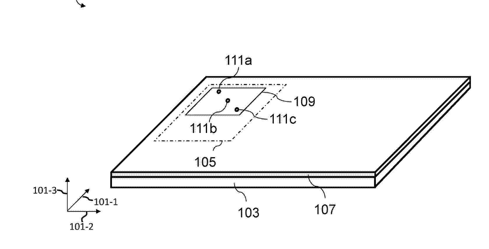
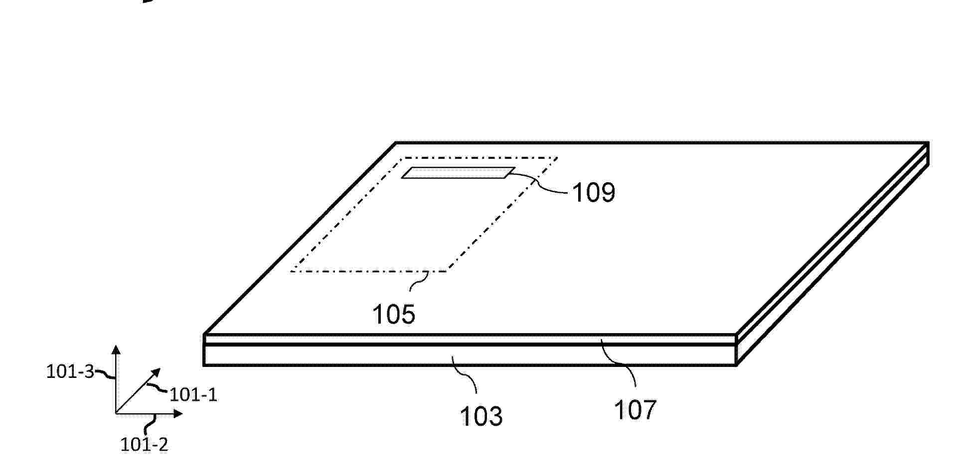
PERSONALIZED SECURITY DOCUMENT AND METHOD OF PERSONALIZING A SECURITY DOCUMENT

NºPublicación:  EP4659964A1 10/12/2025
Solicitante: 
TOPPAN SECURITY SAS [FR]
TOPPAN Security SAS
EP_4659964_PA

Resumen de: EP4659964A1

A personalized security document (10) includes a first personalized image (4, 4a) laser engraved in at least one layer of laser-engravable material (2, 12) from a first side (S1) of the security document (10), and a second personalized image (5, 5a) laser engraved in the at least one layer of laser-engravable material (2, 12) from a second side (S2) of the security document (10). Both the first personalized image and the second personalized image exhibit a color-change effect when viewed in reflection. In some cases, the two personalized images are engraved in two different layers of laser-engravable material (2, 12).

PERSONALIZABLE SECURITY DOCUMENT AND METHOD OF MANUFACTURING THE SAME

NºPublicación:  EP4659966A1 10/12/2025
Solicitante: 
TOPPAN SECURITY SAS [FR]
TOPPAN SECURITY IRELAND TEORANTA [IE]
TOPPAN Security SAS,
Toppan Security Ireland Teoranta
EP_4659966_PA

Resumen de: EP4659966A1

A personalizable security document (10) includes a layer of laser-engravable material (4) embedded in a substrate (1) of the security document (10). The layer of laser-engravable material (4) can be irradiated with laser light of a single wavelength to form a color portrait (5) of a holder of the security document (10), due to the layer of laser-engravable material (4) including thermochromic pigments that change their color in an irreversible manner upon irradiation with laser light. A reproducible result can be obtained by carefully controlling the height of the laser-engravable material layer inside the substrate (1), in particular, during manufacturing of the personalizable security document (10).

METHOD OF FORMING A SECURITY FEATURE FOR A SECURITY DOCUMENT

NºPublicación:  EP4659965A1 10/12/2025
Solicitante: 
TOPPAN SECURITY SAS [FR]
TOPPAN Security SAS
EP_4659965_PA

Resumen de: EP4659965A1

A plurality of optically variable inks (2, 3, 5, 8) are used to print a multiplexed image (18) that can be observed in at least a first observation mode and a second observation mode on a substrate (1) of a security document (10). The optically variable inks (2, 3, 5, 8) are selected such that, in the first observation mode, first and second optically variable inks have a first color and third and fourth optically variable inks have a second color and, in the second observation mode, the first ink and the third ink have a third color and the second ink and the fourth ink have a fourth color. This allows for displaying different bicolor images in the first and second observation modes, where the appropriately configured inks can be selected from a set of available optically variable inks, or obtained by mixing such inks with one or more additional inks.

COMPOSIÇÃO DE TINTA OPTICAMENTE VARIÁVEL NA FAIXA DO ULTRAVIOLETA PARA IMPRESSÕES DE SEGURANÇA E/OU DE VALOR, DOCUMENTO DE SEGURANÇA E/OU DE VALOR E PROCESSOS DE PREPARAÇÃO ASSOCIADOS

NºPublicación:  PT119510A 09/12/2025
Solicitante: 
UNIV NOVA DE LISBOA [PT]
IMPRENSA NAC CASA DA MOEDA SA [PT]
UNIVERSIDADE NOVA DE LISBOA,
IMPRENSA NACIONAL - CASA DA MOEDA, SA
PT_119510_A

Resumen de: PT119510A

A INVENÇÃO REFERE-SE A UMA COMPOSIÇÃO DE TINTA OPTICAMENTE VARIÁVEL NA FAIXA DO ULTRAVIOLETA PARA IMPRESSÕES DE SEGURANÇA E/OU DE VALOR COMPREENDENDO NANOPARTÍCULAS DIELÉTRICAS, UM DISPERGENTE COMPREENDENDO ETANOL, UM CO-DISPERGENTE COMPREENDENDO ETILENOGLICOL E UM DISPERSANTE DAS NANOPARTÍCULAS DIELÉTRICAS COMPREENDENDO POLIVINILPIRROLIDONA. A INVENÇÃO TAMBÉM INCLUI O PROCESSO DE PREPARAÇÃO DA COMPOSIÇÃO DE TINTA E UM DOCUMENTO DE SEGURANÇA E/OU DE VALOR COMPREENDENDO UMA CAMADA REVESTÍVEL (1), REVESTIDA POR UMA CAMADA (2), FEITA DA COMPOSIÇÃO DE TINTA, E OPCIONALMENTE COBERTA POR UMA SEGUNDA CAMADA FLEXÍVEL (2). A COMPOSIÇÃO DE TINTA É COMPATÍVEL COM VÁRIAS TÉCNICAS DE IMPRESSÃO E APRESENTA UMA AGREGAÇÃO MÍNIMA E UMA RESPOSTA ÓTICA INTENSA NA GAMA DO ULTRAVIOLETA UVA, QUE SÃO ATRIBUTOS RELEVANTES PARA A CONCRETIZAÇÃO DE TINTAS DE SEGURANÇA OCULTAS FIÁVEIS E ÚNICAS. ADICIONALMENTE, O TEMPO DE SECAGEM DA COMPOSIÇÃO DE TINTA É CURTO, OQUE É RELEVANTE PARA PROCESSOS DE IMPRESSÃO MAIS RÁPIDOS, TIPICAMENTE AO NÍVEL INDUSTRIAL.

Procédé d’impression additif d’un support utilisant des encres invisibles fluorescentes

NºPublicación:  FR3162673A1 05/12/2025
Solicitante: 
IMPRIMERIE NAT [FR]
IMPRIMERIE NATIONALE
FR_3162673_PA

Resumen de: FR3162673A1

L’invention concerne un procédé d’impression d’une image sur un document de sécurité, ledit procédé utilisant des encres invisibles qui sont fluorescentes et visibles sous un rayonnement ultraviolet, caractérisé en ce qu’il comporte une étape de synthèse additive de couleurs, consistant à : Décomposer une image numérique visible en trois masques d’images numériques Rouge, Vert et Bleu (R, V, B) de façon que la superposition des trois masques corresponde à l’image de base ;appliquer à chaque masque de couleur numérique R, V, B un traitement informatique consistant à introduire des motifs de sécurité dans chacun des masques numériques R,V,B ;imprimer sur un support physique (papier, polycarbonate) ces trois masques Rouge, Vert et Bleu les uns sur les autres, en utilisant des encres invisibles luminescentes de façon à former sur le support une image invisible contenant les motifs de sécurité préalablement introduits dans les trois masques numériques RVB. Figure pour l’Abrégé : figure 2

RECORDING BODY AND ARTICLE

Nº publicación: US2025367958A1 04/12/2025

Solicitante:

SONY GROUP CORP [JP]
SONY GROUP CORPORATION

CN_119212874_PA

Resumen de: US2025367958A1

A recording body that makes it difficult to take out a recording member therefrom. The recording body includes an exterior material covering at least a part of a surface of a laminate. The laminate includes a base material, an intermediate layer having a housing portion, a recording member provided in the housing portion, and an overlay layer. The housing portion is in a part of a plane of the intermediate layer. The housing portion is a through hole penetrating the intermediate layer in a thickness direction thereof or a recess recessed in the thickness direction of the intermediate layer. The recording member includes a color development layer containing a coloring compound having an electron donating property, a developer having an electron accepting property, and a matrix resin. The base material, the intermediate layer, and the overlay layer contain the same type of resin material and are bonded by fusion.

traducir