Ministerio de Industria, Turismo y Comercio LogoMinisterior
 

Alerta

Resultados 143 resultados
LastUpdate Última actualización 12/10/2025 [07:03:00]
pdfxls
Solicitudes publicadas en los últimos 60 días/Published applications in the last 60 days
previousPage Resultados 100 a 125 de 143 nextPage  

COMPOSITIONS COMPRISING ENDOSIDIN 2 FOR REDUCING SARS-COV-2 INFECTION

NºPublicación:  US2025268848A1 28/08/2025
Solicitante: 
HENRY FORD HEALTH SYSTEM [US]
HENRY FORD HEALTH SYSTEM
US_2025268848_PA

Resumen de: US2025268848A1

A composition comprising ES2 prevents ACE2 translocation to the cell surface and susceptibility to SARS-CoV-2 infection. Treating a subject with a composition comprising the compound ES2 may reduce the risk of severe COVID-19. The prognosis of COVID-19 in a subject can be predicted by measuring ACE2 and inflammatory and immunosuppressive phenotypes on isolated peripheral blood mononuclear cells by flow cytometry.

THERAPEUTICS AGAINST PATHOGENIC CORONAVIRUSES

NºPublicación:  US2025268904A1 28/08/2025
Solicitante: 
THE USA AS REPRESENTED BY THE SEC DEP OF HEALTH AND HUMAN SERVICES [US]
UNIV OF MARYLAND BALTIMORE [US]
The USA, as represented by the Secretary, Department of Health and Human Services,
University of Maryland, Baltimore
US_2025268904_PA

Resumen de: US2025268904A1

Compounds for use in treating a coronavirus infection in a subject, particularly an infection caused by SARS-CoV-2, SARS-CoV or MER-CoV.

PHARMACEUTICAL COMPOSITIONS AND METHODS FOR PREVENTION AND/OR TREATMENT OF INFLAMMATION

NºPublicación:  US2025268917A1 28/08/2025
Solicitante: 
REVEN PHARMACEUTICALS INC [US]
REVEN PHARMACEUTICALS INC
US_2025268917_PA

Resumen de: US2025268917A1

The disclosure relates to pharmaceutical compositions and methods for the prevention and/or treatment of inflammation, disease, and disorders. The treatment may include treatment of COVID-19.

BROAD SPECTRUM ANTIVIRAL COMPOUNDS

NºPublicación:  WO2025178933A1 28/08/2025
Solicitante: 
PRESIDENT AND FELLOWS OF HARVARD COLLEGE [US]
PRESIDENT AND FELLOWS OF HARVARD COLLEGE
WO_2025178933_PA

Resumen de: WO2025178933A1

Provided herein are antiviral compounds including compounds of Formulae (I), (II'), (II), and (III), and pharmaceutically acceptable salts, hydrates, solvates, polymorphs, co-crystals, tautomers, stereoisomers, isotopically labeled derivatives, and prodrugs thereof, and pharmaceutical compositions thereof. The compounds provided herein are useful for the treatment and/or prevention of infectious diseases (e.g., viral infections including COVID-19). In other aspects, provided herein are kits comprising compounds and pharmaceutical compositions described herein, methods of synthesizing the compounds provided herein, and intermediates useful in the synthesis of compounds provided herein. Formula (II):

Camelid Antibodies for Use in Therapy and Diagnosis

NºPublicación:  US2025271431A1 28/08/2025
Solicitante: 
NEW/ERA/MABS GMBH [DE]
NEW/ERA/MABS GMBH
US_2025271431_A1

Resumen de: US2025271431A1

The present invention relates to compositions and methods for use of the same for the diagnosis, prevention, treatment and prophylaxis of infections caused by coronavirus. In particular the present invention relates to Camelid heavy chain antibodies and antigen binding portions thereof that specifically bind to the Spike protein of a coronavirus, in particular SARS-CoV-2 virus and its variants.

NUTRACEUTICAL COMPOUNDS USEFUL IN THE TREATMENT OF CORONAVIRUS DISEASE

NºPublicación:  US2025268967A1 28/08/2025
Solicitante: 
SKYMOUNT MEDICAL US INC [US]
THE BOARD OF SUPERVISORS OF LOUISIANA STATE UNIV AND AGRICULTURAL AND MECHANICAL COLLEGE [US]
SKYMOUNT MEDICAL US INC,
THE BOARD OF SUPERVISORS OF LOUISIANA STATE UNIVERSITY AND AGRICULTURAL AND MECHANICAL COLLEGE
US_2025268967_PA

Resumen de: US2025268967A1

The present disclosure relates to use of and a method of administering a formulation that comprises a combination of at least two compounds selected from the group consisting of: levomenol, a ginseng extract, ascorbic acid; adenine derivatives (Adenosine; NAD+/NADH); ginkgolides such as ginkgolide A; and vitamin E; for treating one or more symptoms of a SARS-CoV-2 infection and for ameliorating symptoms that may persist following a SARS-CoV-2 infection.

COMPOSITIONS, KITS AND METHODS FOR DIRECT AMPLIFICATION FROM CRUDE BIOLOGICAL SAMPLES

NºPublicación:  US2025270619A1 28/08/2025
Solicitante: 
LIFE TECH CORPORATION [US]
LIFE TECHNOLOGIES CORPORATION
WO_2022155588_PA

Resumen de: US2025270619A1

Disclosed are compositions, assays, methods, diagnostic methods, kits and diagnostic kits for the detection of target nucleic acids, including those from microbes and/or from infectious agents such as SARS-CoV-2 and other viruses. Embodiments described herein are designed to enable processing and analysis of the sample to detect target nucleic acids within the sample without requiring extraction and/or isolation of nucleic acid from the sample prior to subsequent processing steps. Samples analyzed can thus be “crude” biological samples that do not require pre-processing prior to placement in the workflow.

COMPOSITIONS AND METHODS FOR TREATING POST ACUTE SEQUELAE OF SARS-COV-2 INFECTION (LONG COVID)

NºPublicación:  US2025268948A1 28/08/2025
Solicitante: 
VITRO BIOPHARMA INC [US]
VITRO BIOPHARMA, INC
US_2025268948_A1

Resumen de: US2025268948A1

Disclosed are methods and compositions for treating a subject with Long COVID (e.g., Post-Acute Sequelae of SARS CoV-2 (PASC)).

METHODS FOR TREATING, AMELIORATING OR PREVENTING INFECTIONS USING DRUG AND VACCINATION COMBINATION TREATMENT

NºPublicación:  US2025269005A1 28/08/2025
Solicitante: 
TOPELIA AUST LTD ACN 652 771 670 [AU]
TOPELIA AUST LIMITED (ACN 652 771 670)
US_2025269005_A1

Resumen de: US2025269005A1

In alternative embodiments, provided are methods for treating, ameliorating, decreasing the chances of having any adverse effects from, decreasing the severity of adverse effects from, or preventing an infection, or boosting or enhancing natural immunity acquired by an infected individual, by administration of: an inactivated infectious causative agent of the infection, or an antibiotic and/or an anti-viral drugs and a vaccine directed to a causative agent of the infection and/or an attenuated and/or a live, viable or infectious causative agent of the infection. In alternative embodiments, the infection is bacterial or viral. In alternative embodiments, the viral infection is a coronavirus infection such a Covid-19 infection. In alternative embodiments, methods as provide herein prevent or decrease the prevalence or severity of “vaccine breakthrough infections” after vaccination, where external mutants of COVID-19 infect patients in spite of the fact that they have undergone immunization, for example, to prevent a mutant or variant COVID-19 infection. In alternative embodiments, an antiviral combination administered in coordination with a vaccine comprises PF-07321332 or PAXLOVID™ and/or ritonavir, or ivermectin, doxycycline and a zinc or a zinc salt. In alternative embodiments, methods as provided herein are used to prevent in vivo mutations of such mutant infectious agent to enhance the efficacy of an administered vaccination; in other words, methods as provided herei

POLYSACCHARIDES FOR USE IN TREATING SARS-COV-2 INFECTIONS

NºPublicación:  US2025269014A1 28/08/2025
Solicitante: 
NDPD PHARMA INC [US]
NDPD PHARMA, INC
US_2025269014_A1

Resumen de: US2025269014A1

The invention provides a method for treating SARS-CoV-2 by administering an effective amount of galactomannans to a subject in need thereof.

MODIFIED PIV5 VACCINE VECTORS: METHODS OF MAKING AND USES

NºPublicación:  AU2024219190A1 28/08/2025
Solicitante: 
CYANVAC LLC
CYANVAC LLC
AU_2024219190_PA

Resumen de: AU2024219190A1

A CVB viral expression vector comprising a PIV5 W3A viral genome that contains mutations at amino acid residue S157 or S156 in the P/V gene and a deletion of the small hydrophobic (SH) gene of the PIV5 W3A viral genome, wherein the amino acid substitution at amino acid residue S157 or S156 comprises a substitution of serine (S) to phenylalanine (F) or asparagine (N) and wherein the SH gene has a deletion of the SH open reading frame or a deletion of an entire SH gene transcript unit. The CVB viral expression vector wherein the vector expresses a heterologous polypeptide comprising a SARS-CoV-2 spike (S), and/or nucleocapsid (N) and/or membrane (M) proteins, RSV fusion protein (F) or other antigens.

CORONAVIRUS VACCINE

NºPublicación:  WO2025179238A2 28/08/2025
Solicitante: 
BIONTECH SE [DE]
BIONTECH SE
WO_2025179238_A2

Resumen de: WO2025179238A2

This disclosure relates to the field of RNA to prevent or treat coronavirus infection. In particular, the present disclosure relates to methods and agents for vaccination against coronavirus infection and inducing effective coronavirus antigen-specific immune responses such as antibody and/or T cell responses against various SARS-CoV-2 variants of concern.

ANTIVIRAL ANTIBODY AGAINST SARS-COV2 BINDING TO ACE2, AND USE THEREOF

NºPublicación:  US2025270297A1 28/08/2025
Solicitante: 
DAEGU GYEONGBUK INSTITUTE OF SCIENCE AND TECH [KR]
DAEGU GYEONGBUK INSTITUTE OF SCIENCE AND TECHNOLOGY
EP_4238996_PA

Resumen de: US2025270297A1

The present invention relates to an antiviral antibody against SARS-CoV2 binding to ACE2 and a use thereof. The objective of the present invention is to prepare an antibody which binds to hACE2, and confirm that the antibody exhibits an antiviral effect against SARS-CoV2 by verifying that each antibody inhibits SARS-CoV2 virus entry into cells, thereby providing a composition comprising the antibody as a pharmaceutical composition for preventing or treating infection caused by SARS-CoV2.

POTENT NEUTRALIZING ANTIBODIES FOR PREVENTION AND TREATMENT OF COVID-19

NºPublicación:  US2025270296A1 28/08/2025
Solicitante: 
ACAD SINICA [TW]
Academia Sinica
TW_202229361_A

Resumen de: US2025270296A1

Potent neutralizing antibodies for prevention and treatment of covid-19. Human chimeric antibodies (RBD-chAbs) specifically against SARS-COV-2 Spike(S) receptor-binding domain (RBD) are disclosed. Antibody cocktails or vaccine compositions comprising the RBD-chAbs are also disclosed. The RBD-chAbs, the antibody cocktails, and the vaccine compositions are effective for protection and/or treatment of COVID-19 and are potent against COVID-19 variants including United Kingdom variant B.1.1.7 (Alpha), South African variant B.1.351 (Beta), Brazil variant PI (Gamma), California variant B.1.429 (Epsilon), New York variant B.1.526 (Iota), Indian variants B.1.617.1 (Kappa) and B.1.617.2 (Delta).

DRUG COMBINATION COMPRISING NAFAMOSTAT AND K777 AND USE THEREOF

NºPublicación:  EP4606376A1 27/08/2025
Solicitante: 
UNIV SHANGHAI TECHNOLOGY [CN]
GUANGZHOU LABORATORY [CN]
WUHAN INST VIROLOGY CAS [CN]
ShanghaiTech University,
Guangzhou Laboratory,
Wuhan Institute Of Virology, Chinese Academy of Sciences
EP_4606376_PA

Resumen de: EP4606376A1

The present invention provides a drug combination comprising Nafamostat and K777 and a use thereof. The pharmaceutical composition comprises active ingredients, i.e., Nafamostat and K777. The pharmaceutical composition of the present invention can show a remarkable synergistic effect in related research on anti-coronavirus, and shows improvement of the effectiveness of more than 10 times in an anti-novel coronavirus test.

PLANT-BASED COMPOSITIONS AND METHODS FOR MODULATION OF INFLAMMATORY RESPONSE POST VIRAL INFECTION

NºPublicación:  AU2024223822A1 21/08/2025
Solicitante: 
VDF FUTURECEUTICALS INC
VDF FUTURECEUTICALS, INC
AU_2024223822_PA

Resumen de: AU2024223822A1

A polyphenol-rich composition is orally administered to alleviate a sign or symptom of a post-viral syndrome, and preferably post-COVID syndrome. Most typically, the composition comprises at least 50 wt% total catechins, at least 20 wt% total chlorogenic acids, and optionally up to 30 wt% total supplemental antioxidants. The composition may be formulated from a green coffee bean extract, a green tea extract, a turmeric extract, a tart cherry or extract thereof, a broccoli or extract thereof, and a kale or extract thereof. Notably, such compositions were effective in individuals post SARS-CoV2 infection to reduce proinflammatory cytokines and interleukins, increase NOHb, and to reduce reactive oxygen species due to mitochondrial dysfunction, iNOS activity, and NOX2 activity.

ANTIBODIES AGAINST SARS-COV-2 AND METHODS OF USING THE SAME

NºPublicación:  US2025263466A1 21/08/2025
Solicitante: 
VIR BIOTECHNOLOGY INC [US]
VIR BIOTECHNOLOGY, INC
US_2025263466_PA

Resumen de: US2025263466A1

The instant disclosure provides antibodies and antigen-binding fragments thereof that can bind to a SARS-CoV-2 antigen and, in certain embodiments, are capable of neutralizing a SARS-CoV-2 infection in a subject. Also provided are polynucleotides that encode an antibody or antigen-binding fragment, vectors and host cells that comprise a polynucleotide, pharmaceutical compositions, and methods of using the presently disclosed antibodies, antigen-binding fragments, polynucleotides, vectors, host cells, and compositions to treat or diagnose a sarbecovirus and/or SARS-CoV-2 infection.

COMPOSITION FOR TREATMENT OF COVID-19 COMPRISING TAURODEOXYCHOLIC ACID OR PHARMACEUTICALLY ACCEPTABLE SALT THEREOF AS ACTIVE INGREDIENT

NºPublicación:  US2025262225A1 21/08/2025
Solicitante: 
SHAPERON INC [KR]
SHAPERON INC
US_2025262225_PA

Resumen de: US2025262225A1

The present invention relates to a composition for treatment of coronavirus disease 2019 (COVID-19) containing taurodeoxycholic acid (TDCA) or a pharmaceutically acceptable salt thereof as an active ingredient. Specifically, an early full recovery effect has been confirmed through the efficacy of treating clinical symptoms caused by novel severe acute respiratory syndrome coronavirus 2 (SARS-CoV-2) infection, alleviating inflammation, and inhibiting inflammatory cytokines using a pharmaceutically acceptable salt of taurodeoxycholic acid, and thus the taurodeoxycholic acid or a pharmaceutically acceptable salt thereof can be used as an active ingredient in a composition for prevention or treatment of lower respiratory tract infectious diseases, including coronavirus disease 2019.

Methods and Compositions for Inhibiting Viral Infection

NºPublicación:  US2025262268A1 21/08/2025
Solicitante: 
NEW YORK GENOME CENTER INC [US]
NEW YORK UNIV [US]
New York Genome Center, Inc,
New York University
US_2025262268_PA

Resumen de: US2025262268A1

A method of treating or inhibiting a viral infection in a human subject, such as a SARS-CoV-2 infection, involves inhibiting in vivo the expression or activity of one or a combination of the subject's genes required for viral infection. Single genes or subsets of genes for inhibition of activity or expression are selected from certain identified genes. Methods of administration of certain known small molecules or other therapeutics which mimic loss of function of the identified genes are provided. Similar methods for conducting screens of host genes required for viral infection are shown.

POLYPEPTIDES TARGETING SARS-COV-2 AND RELATED COMPOSITIONS AND METHODS

NºPublicación:  US2025263469A1 21/08/2025
Solicitante: 
THE HOSPITAL FOR SICK CHILDREN [CA]
The Hospital for Sick Children
US_2025263469_PA

Resumen de: US2025263469A1

Provided herein is a fusion protein comprises a nanocage monomer linked to a SARS-CoV-2 binding moiety, wherein a plurality of the fusion proteins self-assemble to form a nanocage. Also provided is a tri-specific antibody construct targeting SARS-CoV-2. Also provided is a fusion polypeptide comprising (1) a fragment crystallizable (Fc) region linked to (2) a nanocage monomer or subunit thereof, wherein the Fc region comprises the I253A mutation, wherein numbering is according to the EU index.

BINDING MOLECULE HAVING NEUTRALIZING ACTIVITY AGAINST CORONAVIRUS SUPERFAMILY

NºPublicación:  US2025263468A1 21/08/2025
Solicitante: 
CELLTRION INC [KR]
KOREA DISEASE CONTROL AND PREVENTION AGENCY [KR]
CELLTRION INC,
KOREA DISEASE CONTROL AND PREVENTION AGENCY
US_2025263468_PA

Resumen de: US2025263468A1

The present invention relates to a binding molecule having neutralizing activity against the coronavirus superfamily. More specifically, the binding molecule of the present invention has excellent binding affinity and excellent neutralizing efficacy against various coronavirus species that may infect humans, including not only wild-type SARS-coronavirus-2 (SARS-CoV-2) and mutant viruses that may occur in the future, but also SARS-coronavirus-1 (SARS-CoV-1), Middle East respiratory syndrome coronavirus (MERS-CoV), etc., which infect humans, causing fatal diseases. Thus, the binding molecule is very useful for the diagnosis, prevention or treatment of diseases caused by coronaviruses.

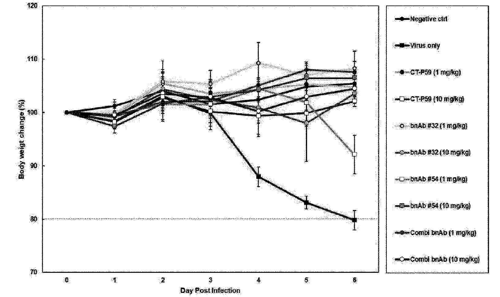
ANTIBODY THERAPIES FOR SARS-COV-2 INFECTION

NºPublicación:  US2025263467A1 21/08/2025
Solicitante: 
VIR BIOTECHNOLOGY INC [US]
VIR BIOTECHNOLOGY, INC
US_2025263467_A1

Resumen de: US2025263467A1

The instant disclosure provides methods of treating or preventing a SARS-CoV-2 infection, e.g., in a subject having or at risk for developing COVID-19, using an antibody (or antigen-binding fragment) compositions. Disclosed methods include prophylaxis against SARS-CoV-2 infection or transmission, as well as treatment of a subject having a SARS-CoV-2 infection. A SARS-CoV-2 infection (e.g., causing COVID-19) to be treated can be at any stage of infection and/or can result in any stage of disease, for example, mild, mild-to-moderate, severe, or critical.

METHODS FOR THE IDENTIFICATION AND TREATMENT OF SEVERE FORMS OF COVID-19

NºPublicación:  US2025263792A1 21/08/2025
Solicitante: 
GENUITY SCIENCE INC [US]
Genuity Science, Inc
US_2025263792_PA

Resumen de: US2025263792A1

Provided herein are method for treating or preventing severe coronavirus disease 2019 (COVID-19) in a subject, comprising administering to the subject a composition comprising a modulating agent that decreases or increases the expression or gene product activity of one or more driver genes.

COMPOSITIONS AND METHODS OF MODULATING RNA AND PROTEIN INTERACTIONS

NºPublicación:  US2025263697A1 21/08/2025
Solicitante: 
THE REGENTS OF THE UNIV OF CALIFORNIA [US]
The Regents of the University of California
US_2025263697_PA

Resumen de: US2025263697A1

Provided are compositions and methods of treating Coronavirus disease 2019 (COVID-19) in a subject, the method including administering to the subject a therapeutically effective amount of a composition comprising an exogenous nucleic acid and delivering the exogenous nucleic acid into a cell, wherein the exogenous nucleic acid comprises an antisense oligonucleotide, a small interfering RNA (siRNA), or locked nucleic acid, and wherein the exogenous nucleic acid binds to a target RNA and modulates gene expression of the target RNA, thereby treating Coronavirus disease 2019 (COVID-19) in the subject.

TREATMENT USING A ONE-TO-STOP ATTENUATED SARS-COV-2 VIRUS

Nº publicación: EP4601689A1 20/08/2025

Solicitante:

UNIV BERN [CH]
INST FUER VIROLOGIE UND IMMUNOLOGIE IVI [CH]
ROCKETVAX AG [CH]
Universit\u00E4t Bern,
Institut f\u00FCr Virologie und Immunologie (IVI),
Rocketvax AG

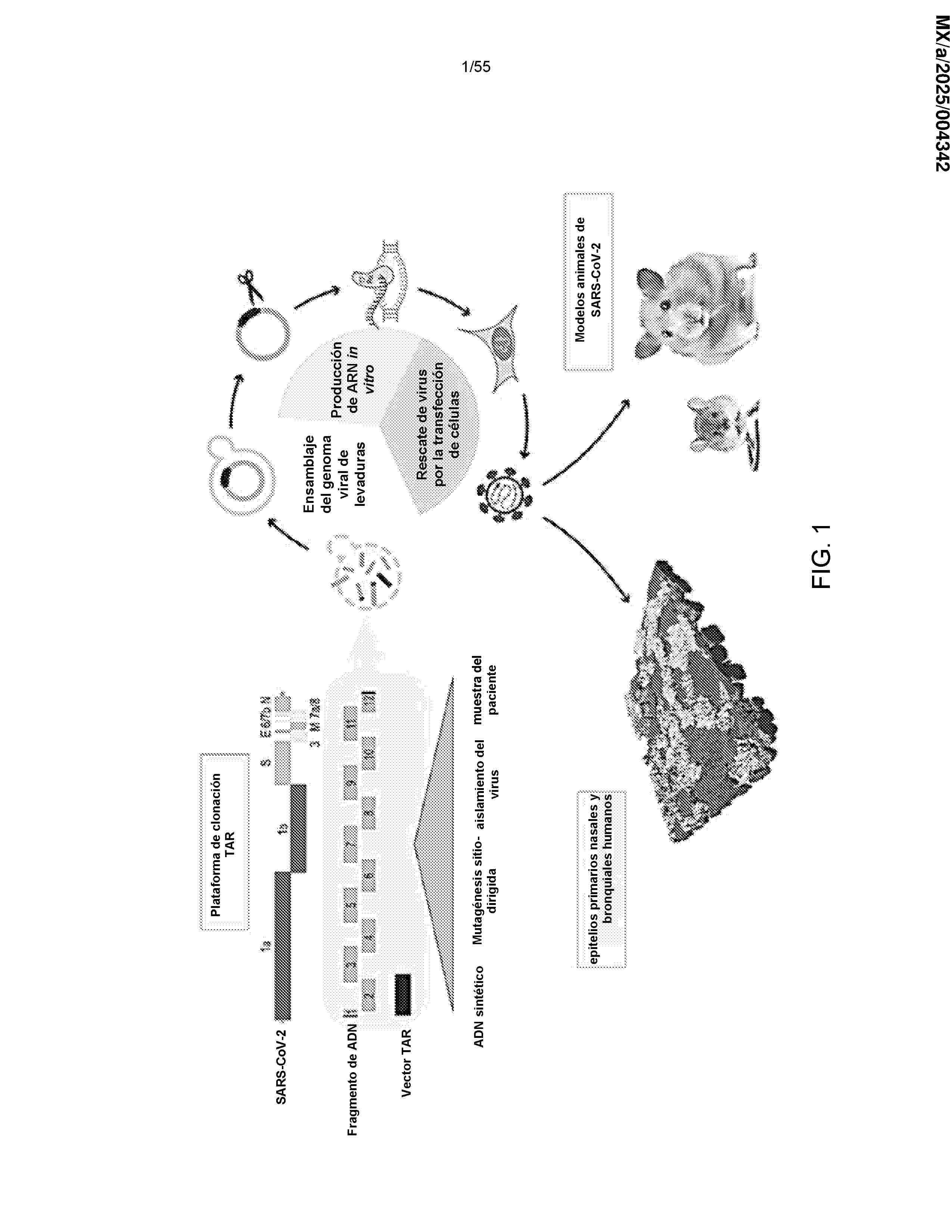
MX_2025004342_A

Resumen de: MX2025004342A

The invention relates to pharmaceutical product comprising a polynucleotide for use in the prevention or treatment of a SARS-CoV-2 virus infection wherein said SARS-CoV-2 virus is not a Wuhan wild-type SARS-CoV-2 virus. The polynucleotide encodes an attenuated human coronavirus or a fragment thereof, wherein the polynucleotide comprises at least 20 one-to-stop codons, wherein a one-to-stop codon is i) a different but synonymous codon compared to the corresponding codon in a natural human coronavirus genome and ii) differs by one nucleotide from a STOP codon.

traducir