Ministerio de Industria, Turismo y Comercio LogoMinisterior
 

Alerta

Resultados 993 resultados
LastUpdate Última actualización 14/03/2026 [07:00:00]
pdfxls
Publicaciones de solicitudes de patente de los últimos 60 días/Applications published in the last 60 days
previousPage Resultados 200 a 225 de 993 nextPage  

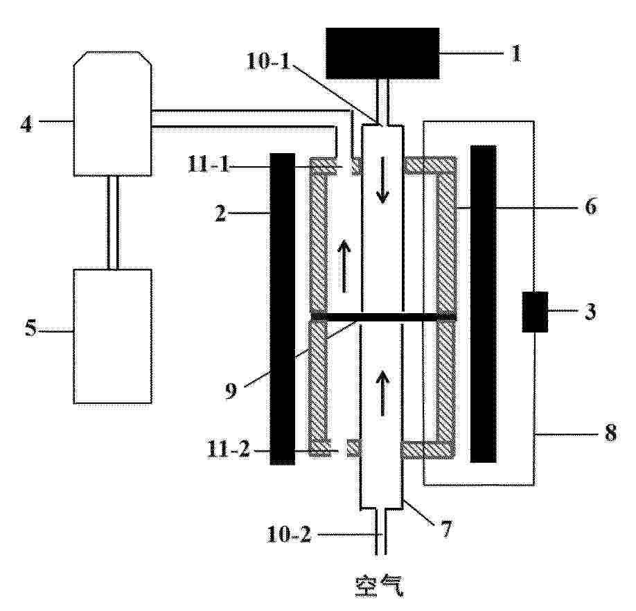
一种制氢行业碱液浓度自动测量与调节系统

NºPublicación:  CN121538664A 17/02/2026
Solicitante: 
南通安思卓新能源有限公司
CN_121538664_PA

Resumen de: CN121538664A

本发明公开一种制氢行业碱液浓度自动测量与调节系统,涉及制氢技术领域,包括测量装置、回收装置、调节装置和PLC控制系统。测量装置通过碱液循环泵出口管道的减压阀、取样电磁阀连接密封耐压的测量容器,容器内的密度、温度、液位变送器实时传信至PLC;回收装置将测量容器内碱液经回收泵、电磁阀及止回阀抽回制氢系统分离器;调节装置通过补碱和补水装置精准补入浓碱与纯水,由PLC控制完成闭环调节。优点:该系统实现不停机带压测量,碱液回收再利用,自动化程度高且调节精准,提升生产效率、节能环保,保障制氢稳定。

一种多孔蜂窝状CTF复合光催化剂及其制备方法和应用

NºPublicación:  CN121534738A 17/02/2026
Solicitante: 
复旦大学
CN_121534738_PA

Resumen de: CN121534738A

本发明属于光催化能源转化技术领域,具体为一种多孔蜂窝状CTF复合光催化剂及其制备方法和应用。本发明复合光催化剂由硫缺陷ZnIn2S4纳米片修饰处理得到;具体通过固相模板法构建吩噻嗪功能化三维有序大孔共价三嗪框架,并原位生长硫缺陷ZnIn2S4纳米片,形成三维有序大孔网络限域二维纳米片多级异质结构;得益于CTF‑PTZBN中吩噻嗪单元通过分子锚定作用诱导ZIS‑Sv定向生长,界面C‑S‑Zn/In键桥接形成稳定电子传输通道,随后骨架内建电场协同硫缺陷态构建电场驱动‑通道传输‑陷阱捕获三元载流子调控体系,实现光生电荷高效分离与定向迁移,成功减少光生载流子的复合。该二元复合材料表现出优秀的制氢以及苯乙烯选择性环氧化反应的性能。

金属型钴-碳化钒异质结构复合材料及其制备方法和应用

NºPublicación:  CN121538675A 17/02/2026
Solicitante: 
怀化学院
CN_121538675_A

Resumen de: CN121538675A

本申请属于电催化析氢技术领域,具体涉及一种金属型钴‑碳化钒异质结构复合材料及其制备方法和应用。该方法先将Zn(NO3)2·6H2O与Co(NO3)2·6H2O溶于甲醇中,然后加入2‑甲基咪唑甲醇溶液,搅拌均匀,继续加入含有MXene溶胶的甲醇/水混合液,搅拌反应,洗涤,干燥,得到前驱体,最后置于混合气氛中进行高温热解,冷却,得到所复合电催化材料。本发明采用MOF在二维V2C MXene表面原位组装,可有效控制前驱体的组成与结构,实现钴‑碳化钒异质结构在介孔碳片中的均匀分散,避免了传统金属纳米颗粒易团聚、分布不均等问题。此外,本发明合成工艺简便可控,无需复杂后处理或多步煅烧过程,适合规模化生产。

一种氢气和有机酸的联产装置及方法

NºPublicación:  CN121538658A 17/02/2026
Solicitante: 
中国天楹股份有限公司江苏天楹等离子体科技有限公司
CN_121538658_PA

Resumen de: CN121538658A

本发明公开了一种氢气和有机酸的联产装置及方法,联产装置包括电解槽,电解槽内设置有析氢电极、氢氧化镍电极与有机物催化氧化电极,电解槽内加注有碱性电解液,析氢电极、氢氧化镍电极与有机物催化氧化电极底部均埋设于碱性电解液内,方法包含两个循环交替进行的阶段:产氢阶段,水在阴极析氢电极的电化学还原生成氢气,同时氢氧化电极被电化学氧化,生成NiOOH;有机物催化氧化阶段,有机醇在阳极有机物催化氧化电极发生电化学氧化生成相应的羧酸,以及NiOOH电化学还原生成Ni(OH)2。本发明的优点在于将具有增值效应的有机醇电氧化反应替代析氧反应,在阳极获得高价值的有机羧酸,进一步提升分步电解体系的经济效益。

一种富含晶界的高熵金属硫化物多孔纳米管阵列催化剂及其制备方法和应用

NºPublicación:  CN121538668A 17/02/2026
Solicitante: 
湖北工程学院
CN_121538668_PA

Resumen de: CN121538668A

本发明公开了一种富含晶界的高熵金属硫化物多孔纳米管阵列催化剂及其制备方法和应用,属于催化剂领域。所述催化剂具有多孔纳米管阵列结构,包括一维多孔纳米管,所述多孔纳米管是由纳米粒子组装而成,若干所述多孔纳米管交错堆叠形成密集的多孔纳米管阵列;所述多孔纳米管尺寸为6~8μm,直径为40~80nm,且富含晶界微区结构。本发明的催化剂具有丰富的晶界结构,使得其能够提供更多高活性反应位点,同时高效催化析氧反应和硫氧化反应。

一种二维闪锌矿结构Zn1-yCdySe纳米片及其制备方法和应用

NºPublicación:  CN121536888A 17/02/2026
Solicitante: 
安徽师范大学
CN_121536888_PA

Resumen de: CN121536888A

本发明涉及纳米材料技术领域,具体地,涉及一种二维闪锌矿结构Zn1‑yCdySe纳米片及其制备方法和应用。所述制备方法包括以下步骤:1)在保护气存在的条件下,将一价铜源溶液与CuSe纳米片溶液反应,制得立方相Cu2‑xSe纳米片;2)将步骤1)中制得的立方相Cu2‑xSe纳米片分散于非极性溶剂与磷系助剂的混合液中得前驱体溶液,将金属盐溶于极性溶剂得金属盐溶液,将前驱体溶液与金属盐溶液混合反应;其中,所述金属盐溶液含锌源与镉源;0≤x≤1;0.05≤y≤0.3。该制备方法原料易得,反应温和,条件可控,适用于工业化大批量生产;同时,制得的纳米片催化性能优异,稳定性强,在光催化水分解领域展现出优异的催化性能。

一种原位生成的碱性电解水隔膜及其制备方法

NºPublicación:  CN121538683A 17/02/2026
Solicitante: 
内蒙古大学
CN_121538683_PA

Resumen de: CN121538683A

本发明涉及复合隔膜技术领域,具体涉及一种原位生成的碱性电解水隔膜及其制备方法。隔膜包括聚合物基体,所述聚合物基体由聚砜和/或聚醚砜构成;所述聚合物基体内部含有原位生成的层状双金属氢氧化物纳米颗粒;其制备方法包括首先将碱性前驱体加入有机极性溶剂中,将溶液pH值控制在8‑11,得到碱性极性溶液,再将聚砜或聚醚砜溶解于碱性极性溶液中,随后将金属盐前驱体加入到聚合物溶液中,使层状双金属氢氧化物在聚合物溶液中原位生成,搅拌使金属盐前驱体和聚合物搅拌混合,最终对聚合物溶液进行流延、相转化、后处理,随后固化成膜。本发明降低了隔膜的面电阻的同时还提升了复合隔膜的化学稳定性与长期运行稳定性,具有规模化生产的前景。

一种水解制氢测试方法、设备及系统

NºPublicación:  CN121538685A 17/02/2026
Solicitante: 
苏州行则兴氢能源科技有限公司
CN_121538685_PA

Resumen de: CN121538685A

本发明涉及材料测试分析技术领域,具体涉及一种水解制氢测试方法、设备及系统,通过获取若干工况下的电解槽工作电压,确定每个工况下的相对可控系数;根据每个工况下的相对可控系数和电解槽工作电压分析水解制氢反应的稳态变动趋势,确定每个工况下的运行稳态程度;通过每个工况下的运行稳态程度动态优化每个类型的运行参数值的调整步长,进而基于调整结果确定水解制氢测试对应的最优运行参数值组。本发明通过多工况数据收集全面了解系统行为,然后通过相对可控系数和运行稳态程度评估参数敏感性和系统稳定性,最后动态调整步长实现高效精确的寻优,其克服了固定步长方法的缺陷,能够快速、精确地确定最优运行参数值组。

一种富含氧空位的Fe掺杂NiO电解水析氧催化剂及其制备方法与应用

NºPublicación:  CN121538677A 17/02/2026
Solicitante: 
中国科学院大连化学物理研究所无锡华光环保能源集团股份有限公司
CN_121538677_PA

Resumen de: CN121538677A

本发明公开了一种富含氧空位的Fe掺杂NiO电解水析氧催化剂及其制备方法与应用,包括:将镍基基底进行酸化预处理;将镍盐、铵盐和尿素溶解于溶剂中,加入预处理后的镍基基底进行水热反应,形成片状纳米阵列结构;将NiO前驱体进行退火处理,通入惰性气体以排空氧气,并在惰性气体保护下升温至退火温度后保温1~3h,在保温阶段开始时,切换为氩氢混合气保持10~30min,随后切换回惰性气体并持续至退火处理结束;将NiOx催化剂前体浸泡于铁源溶液中,经风干处理。本发明通过Fe掺杂与氧空位协同作用,在催化碱性环境中的电化学析氧反应中,表现出较好的催化活性和稳定性,具有很好的工业应用前景和商业价值。

用于可再生能源的AEM电解制氢系统及其动态控制方法

NºPublicación:  CN121538666A 17/02/2026
Solicitante: 
华能伊敏煤电有限责任公司中国华能集团清洁能源技术研究院有限公司
CN_121538666_PA

Resumen de: CN121538666A

本发明公开了一种用于可再生能源的AEM电解制氢系统及其动态控制方法,属于电解制氢技术领域,包括风光波动直连系统、动态响应控制中枢、AEM电解槽电堆以及气液分离纯化系统,通过“三阶变载策略”与“功率预测补偿”的结合,系统实现了冷启动时间小于30秒,功率在0‑100%范围内调节的响应时间小于5秒,完美适应可再生能源的秒级波动,显著提升了系统运行稳定性和寿命:优化的波浪形流场板和膜湿度闭环控制,共同确保了电堆内部反应环境的均匀和稳定,有效防止了变载工况下的膜电极损伤,显著延长了系统使用寿命,实现了与可再生能源的高效直连耦合。

一种活化棉纤维素气凝胶负载Co-B复合材料及其制备方法和应用

NºPublicación:  CN121534788A 17/02/2026
Solicitante: 
桂林电子科技大学
CN_121534788_PA

Resumen de: CN121534788A

本发明公开了一种活化棉纤维素气凝胶负载Co‑B复合材料Co‑B/A‑CC,首先,采用溶剂交换法活化棉纤维素制得活化的棉纤维素A‑CC,然后,将A‑CC在LiCl/DMAc溶剂体系溶解得到活化棉纤维素溶液,再将CoSO4·7H2O置于活化棉纤维素溶液得到Co/A‑CC混合溶液,最后,将Co/A‑CC混合溶液注射到NaBH4水溶液中进行发泡即可得到。Co‑B/A‑CC的微观形貌为三维分层多孔框架结构,多级孔洞分布形态的尺寸涵盖微孔到宏孔;Co‑B纳米粒子作为活性物质。其制备方法包括以下步骤:1,棉纤维素A‑CC的活化;2,Co/A‑CC混合溶液的制备;3,Co‑B/A‑CC的制备。作为硼氢化钠水解制氢催化剂的应用时,在303K条件下最大产氢速率为3800‑4500mL·min‑1·g‑1,放氢量达到理论值的100%;8次回收/重复使用后,保留初始催化活性的71.7‑81.5%;活化能为Ea=45.3‑48.9kJ·mol‑1。

一种煤基碳纤维负载磷化钴自支撑催化剂的制备方法及其在电解水制氢中的应用

NºPublicación:  CN121538670A 17/02/2026
Solicitante: 
新疆大学
CN_121538670_PA

Resumen de: CN121538670A

本发明公开了一种煤基碳纤维负载磷化钴自支撑催化剂的制备方法及其在电解水制氢中的应用,属于电解水催化剂技术领域。该催化剂由煤基碳纤维载体和负载于其上的磷化钴活性组分组成;磷化钴活性组分由钴基层状氢氧化物与ZIF‑67的复合前驱体经磷化处理衍生得到。具体方法为:以静电纺丝法制备的煤基碳纤维为载体,在含有六水合硝酸钴和聚乙烯吡咯烷酮的水溶液中采用电沉积法在其表面生长钴基层状氢氧化物,再通过浸渍法原位生长ZIF‑67,形成钴基层状氢氧化物与ZIF‑67复合的前驱体结构,最后经磷化处理得到煤基碳纤维负载磷化钴自支撑催化剂。该催化剂具有亲水性、电解水催化活性和稳定性。

一种自组装卟啉笼状化合物及其制备方法与应用

NºPublicación:  CN121537394A 17/02/2026
Solicitante: 
东北大学
CN_121537394_PA

Resumen de: CN121537394A

本发明涉及一种自组装卟啉笼状化合物及其制备方法与应用,属于电催化水分解技术领域。一种自组装卟啉笼状化合物,其结构式如下所示。本发明通过对卟啉进行结构修饰,引入吸电子基团硝基(‑NO2),利用非贵金属锌(Zn)来调节催化剂的电子结构和表面活性位点,通过配位作用形成卟啉笼,并将其作为碱性析氧电催化剂进行应用。本发明所述自组装卟啉笼状化合物的分子结构清晰明确,制备过程中无需使用贵金属,大幅降低生产成本,对推动清洁能源技术发展具有重要意义。

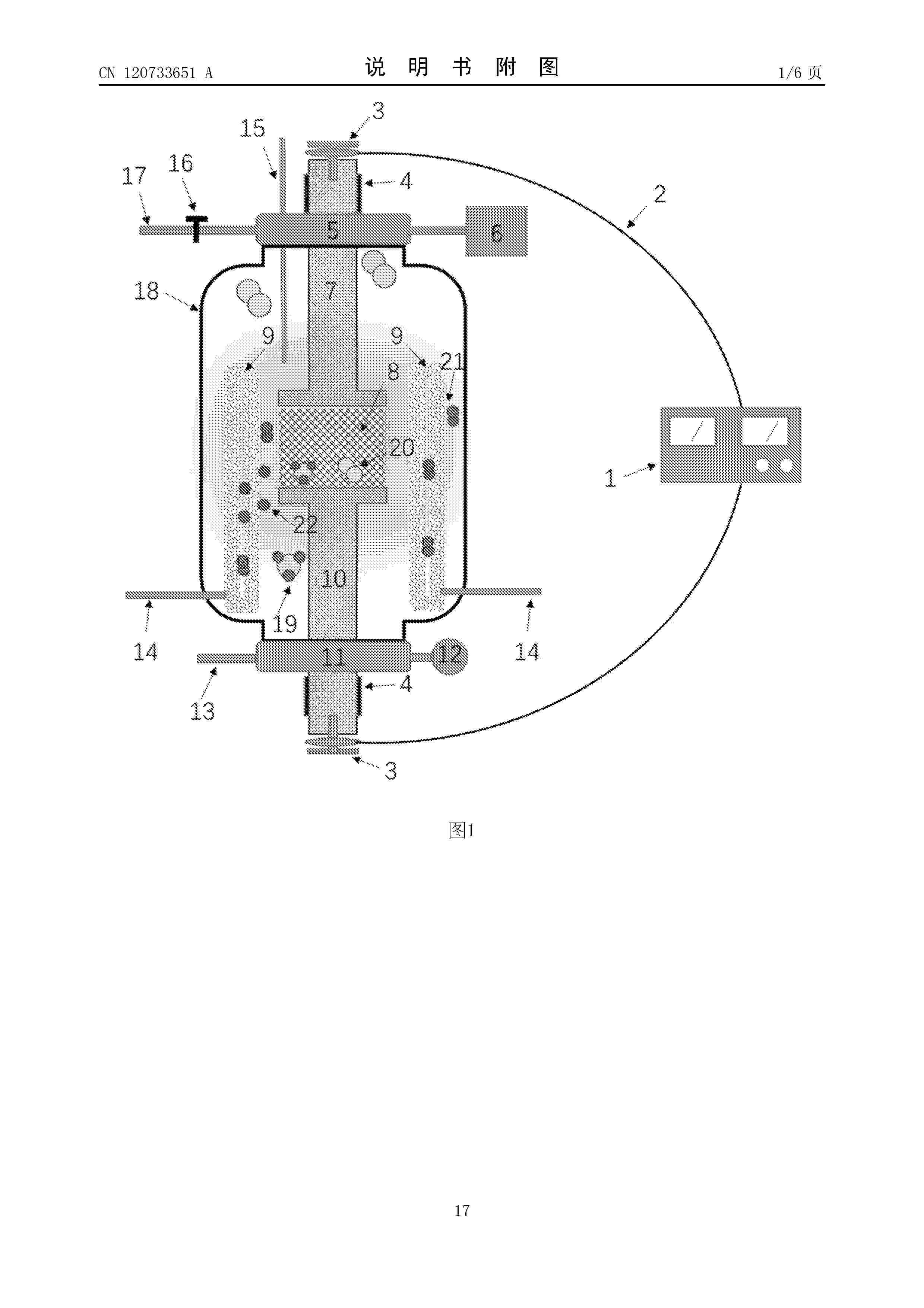
一种多通道电解槽产气质量测量系统及方法

NºPublicación:  CN121540853A 17/02/2026
Solicitante: 
科威尔技术股份有限公司
CN_121540853_PA

Resumen de: CN121540853A

本发明公开了一种多通道电解槽产气质量测量系统及方法,包括电解槽巡检采样模块、气液处理模块、氮气供应模块、产气质量测量模块、回流模块;所述气液处理模块包括气液分离器,所述电解槽巡检采样模块包括若干电解槽,若干电解槽均通过采样管路连接到气液分离器的入口,气液分离器的底部出口通过出液管路连接到回流模块,所述氮气供应模块包括连接到气液分离器入口的氮气吹扫管路。本发明所述的多通道电解槽产气质量巡检测试方法,可实现在线切换不同电解槽产气质量巡检,可满足不同压力下的在线测试,提出了制氢系统尤其多台电解槽并机测试无法检测到单个电解槽的产气质量的解决方案。

一种高熵磷硫化物自支撑电极材料及其制备方法和应用

NºPublicación:  CN121538669A 17/02/2026
Solicitante: 
大连海事大学
CN_121538669_PA

Resumen de: CN121538669A

本发明属于高熵电极材料与电催化技术领域,具体涉及一种高熵磷硫化物自支撑电极材料及其制备方法和应用。所述电极材料包括导电基底和催化活性组分;所述催化活性组分为高熵磷硫化物,其由高熵普鲁士蓝类似物前驱体与磷源、硫源高温热处理制得;其中,所述高熵普鲁士蓝类似物前驱体的化学通式为M(Ⅱ)Fe(CN)6,M(Ⅱ)为Mn、Zn、Co、Fe、Ni、Cu中的至少三种;各M(Ⅱ)金属元素占全部M(Ⅱ)金属元素的摩尔百分比均为5%~35%。本发明高熵普鲁士蓝类似物前驱体与磷源、硫源高温热处理,将磷、硫元素成功引入高熵普鲁士蓝类似物骨架中。这种非金属元素掺杂能有效调节材料电子结构,显著降低析氧反应能垒,从而提升本征催化活性。

一种磺酸化氮化碳纳米片光催化剂及其制备方法和在光催化制氢中的应用

NºPublicación:  CN121534764A 17/02/2026
Solicitante: 
安徽大学
CN_121534764_PA

Resumen de: CN121534764A

本发明涉及光催化制氢技术领域,具体公开了一种磺酸化氮化碳纳米片光催化剂,其是通过将含氮前驱体进行热处理后,得到氮化碳前驱体;再将与硫酸溶液混匀后微波处理,固液分离后得到磺酸化氮化碳纳米片光催化剂;本发明制备的磺酸化氮化碳纳米片光催化剂,具有更高的比表面积,更窄的带隙能量以及更大的光响应范围,并且具有更高的光催化产H2活性,应用前景广泛。

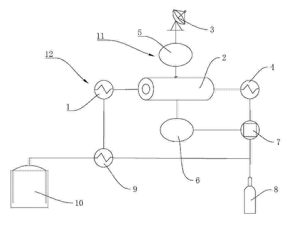
一种基于固体氧化物电解池电解重水制备高纯氘气的系统及方法

NºPublicación:  CN121538660A 17/02/2026
Solicitante: 
中国地质大学(武汉)
CN_121538660_PA

Resumen de: CN121538660A

本发明公开了一种基于固体氧化物电解池电解重水制备高纯氘气的系统及方法。该系统包括重水加热装置、SOEC反应器、立式管式炉、氘气冷凝装置、外加电源和氘气存储罐。SOEC反应器位于立式管式炉中,固体氧化物电解池的两端连接外加电源。重水通过加热装置气化后直接输入到固体氧化物电解池的阴极,通过外加电压,将重水蒸汽电解为氘气,同时产生氧离子,氧离子通过电解质传输到阳极,在阳极氧化为氧气,实现重水电解制备高纯氘气的目的。该系统利用SOEC技术直接将重水蒸汽高温电解,经氘气干燥装置即可得到高纯氘气。该方法操作性强,安全风险低,易于规模化生产,解决了现有技术的重水除杂成本高,低温电解能耗高、效率低的问题。

镍钼多酸-高分子基自支撑电解海水电催化剂的制备方法和应用

NºPublicación:  CN121538674A 17/02/2026
Solicitante: 
青岛滨海学院
CN_121538674_PA

Resumen de: CN121538674A

本发明公开了一种低铂碳载量的镍钼多酸‑高分子基自支撑电催化剂的制备方法和应用,涉及电催化剂技术领域。电催化剂的制备方法,包括以下步骤:称取配制电解质溶液的各原料;包括:硫酸镍、钼酸铵、氯铂酸、硼砂、聚乙烯醇以及壳聚糖;用去离子水分别将原料混合均匀得到镍钼多酸溶液、硼砂溶液和PVA‑CS溶液,得到目标电解质溶液并用碳纸浸泡;冷冻干燥;碳化;以处理后的碳纸作为工作电极,饱和甘汞电极作为参比电极,石墨电极作为辅助电极;采用循环伏安电沉积法在碳纸上电沉积铂制得电催化剂。本发明制备的电催化剂,能够降低成本、改善碱性溶液和碱性海水的反应动力学、降低过电位以及提高稳定性,使碱性海水电解过程更加经济和高效。

一种具有高孔隙率的核壳结构金属气凝胶及其制备方法

NºPublicación:  CN121535202A 17/02/2026
Solicitante: 
宁波裕民机械工业有限公司
CN_121535202_PA

Resumen de: CN121535202A

本发明属于纳米材料制备与催化领域,公开了一种具有高孔隙率的核壳结构金属气凝胶及其制备方法。所述金属气凝胶包括如下成分:还原剂,Ru盐前驱体,配体;所述金属气凝胶中,还原剂、Ru盐前驱体、配体的摩尔比为(2‑4):1:1。本发明系统性调控反应物种类以及反应条件,通过一锅法合成具有高比表面积的单金属钌(Ru)气凝胶。随后通过调控马弗炉中的热处理时间和温度,精确调节核壳组分在气凝胶中的比例(Ru/RuO2),进而成功构建具有高孔隙率、Ru/RuO2核壳结构的金属气凝胶。实验结果表明,所制备的材料在全pH条件下均表现出优异的电催化析氢、析氧性能。本发明为设计具有核壳结构的金属气凝胶电催化剂提供了新策略。

一种Co-Co3B界面双活性位点修饰的木质炭催化剂及其制备方法和应用

NºPublicación:  CN121534765A 17/02/2026
Solicitante: 
河南农业大学
CN_121534765_PA

Resumen de: CN121534765A

本发明属于氨硼烷水解析氢技术领域,公开一种Co‑Co3B界面双活性位点修饰的木质炭催化剂及其制备方法和应用。所述催化剂为核壳结构并且以BNC为壳,以Co‑Co3B异质结构为核;所述催化剂具有双活性位点:Co纳米颗粒和Co3B纳米颗粒,并且Co和Co3B之间存在界面结构;其中,所述BNC为氮化硼改性木质炭且具有多孔结构。本发明创造性地设计了Co‑Co3B界面双活性位点修饰的木质炭催化剂,BNC壳的存在不仅避免了催化剂失活还限制了金属颗粒的团聚,Co3B的引入增加了活性位点,与此同时,Co和Co3B之间还存在界面结构,优化了催化剂的电子结构和配位环境,降低了反应物分子的解离能垒,提高了催化活性,该催化剂在NH3BH3水解反应性能测试中,具有优异的催化性能,其产氢速率达到了10492mL·min‑1·gCo‑1。

一种用于制备不同氘丰度标气的装置

NºPublicación:  CN121538657A 17/02/2026
Solicitante: 
中国原子能科学研究院
CN_121538657_PA

Resumen de: CN121538657A

本申请提供一种用于制备不同氘丰度标气的装置,包括:进料单元,提供天然水,天然水包括氘水和氢水;电解制氢单元,电解天然水生成标气,标气包括氢气和氘气;水氢液相催化交换单元,包括在第一方向上依次连通的第一进料口、催化交换柱和第二进料口,第一进料口用于将标气传输至催化交换柱,第二进料口用于将天然水传输至催化交换柱;催化交换柱中氘气和氢水发生氢同位素交换反应,得到沿第一方向上氘丰度依次减小的标气;催化交换柱包括沿第一方向依次设置的至少两个出料口,任意两个出料口输出的标气的氘丰度不同。本申请的装置通过液相催化交换联合电解的方法,可以同时获得不同氘丰度的标气。

一种分区声场调控的液态金属氨分解反应器及其使用方法

NºPublicación:  CN121534641A 17/02/2026
Solicitante: 
云南师范大学
CN_121534641_PA

Resumen de: CN121534641A

本申请涉及氨分解制氢技术领域,具体提出了一种分区声场调控的液态金属氨分解反应器及其使用方法。反应器包括反应容器、设置在反应容器内的液态金属、设于反应容器底部区域并与液态金属连通的进气口,以及设于反应容器上部并与外部连通的出气口;反应容器底板的外侧设置有第一声场单元,反应容器外壁沿液态金属高度方向的上部区域设置有第二声场单元;第一声场单元为高频声振单元,第二声场单元为低频声振单元。本申请的底部高频声场使氨气气泡在生成阶段发生界面重构与分裂,上部低频声场使其在上浮阶段获得扰动与路径延长,从而提升液态金属体系的界面刷新效率,使气液界面在整个反应过程中保持一致活化水平,提高氨分解反应的整体反应速率。

一种铝灰综合回收利用的方法

NºPublicación:  CN121535023A 17/02/2026
Solicitante: 
昆明理工大学
CN_121535023_PA

Resumen de: CN121535023A

本发明公开了一种铝灰综合回收利用的方法,包括以下步骤:S1、对铝灰进行预处理;S2、向预处理后的铝灰中加入氢氧化钠溶液和添加剂,进行制氢反应,得到氢气、氨气及含氟铝酸钠溶液;S3、向含氟铝酸钠溶液中通入二氧化碳,进行反应,得到冰晶石和滤液;S4、向滤液中加入生石灰,进行反应,得到碳酸钙和氢氧化钠,将碳酸钙经高温烧结得到CaO和二氧化碳。本发明使用危废铝灰与添加剂、氢氧化钠混合反应来制氢,制得的氢气转化率高。本发明使用危废铝灰来制备冰晶石的方法具有成本低廉、反应条件温和、氟利用率高、环保无污染等优点,且制得的冰晶石产品纯度高、性能优良。本发明实现了无害化处理、减量化排放以及经济效益的最大化统一。

一种硫锌镉固溶体负载二硫化钼光催化剂及其制备方法和应用

NºPublicación:  CN121534744A 17/02/2026
Solicitante: 
石河子大学
CN_121534744_PA

Resumen de: CN121534744A

本发明公开了一种硫锌镉固溶体负载二硫化钼光催化剂及其制备方法和应用,属于光催化产氢技术领域。所述光催化剂包括Cd0.7Zn0.3S固溶体及负载在表面的MoS2;光催化剂中,MoS2的含量为5~40wt%。本发明通过采用一步水热法在Cd0.7Zn0.3S表面构筑MoS2二维助催化层,促使二者形成紧密的界面接触与肖特基结,利用这种强界面耦合作用增强相互作用力,加速光生电荷转移,使其既具备高活性又兼顾低成本,能更充分地利用太阳能驱动光催化反应,大幅提升太阳能转化效率,为高效、稳定的光催化产氢技术提供了切实可行的解决途径,具有广阔的应用前景。

一种集成电解水制氢与氢燃气轮机的能源系统

Nº publicación: CN121541725A 17/02/2026

Solicitante:

泰州学院

CN_121541725_PA

Resumen de: CN121541725A

本发明公开了一种集成电解水制氢与氢燃气轮机的能源系统,包括:富氧制备膜分离模块处理空气输出富氧气体,风光预测计算模块分析风速与光照数据生成电能产出曲线,电解功率分配模块据此向电解水制氢单元分配功率,富氧燃烧模拟模块计算燃烧场分布。耦合驱动控制模块采集氢气产量与燃烧效率数据,调节氢燃气轮机转速;参数监测反馈模块采集各模块参数并传输偏差值。同时,系统通过特定模型与算法优化富氧制备、功率分配、风光预测及燃烧模拟,风光预测计算、富氧燃烧模拟、耦合驱动控制模块还包含多个功能单元,运行时按六步启动各模块,该系统保障氢燃气轮机燃烧效率稳定,最终实现对高原缺氧环境下能源利用综合性能的显著提升。

traducir