Ministerio de Industria, Turismo y Comercio LogoMinisterior
 

Alerta

Resultados 947 resultados
LastUpdate Última actualización 29/10/2025 [07:11:00]
pdfxls
Publicaciones de solicitudes de patente de los últimos 60 días/Applications published in the last 60 days
previousPage Resultados 150 a 175 de 947 nextPage  

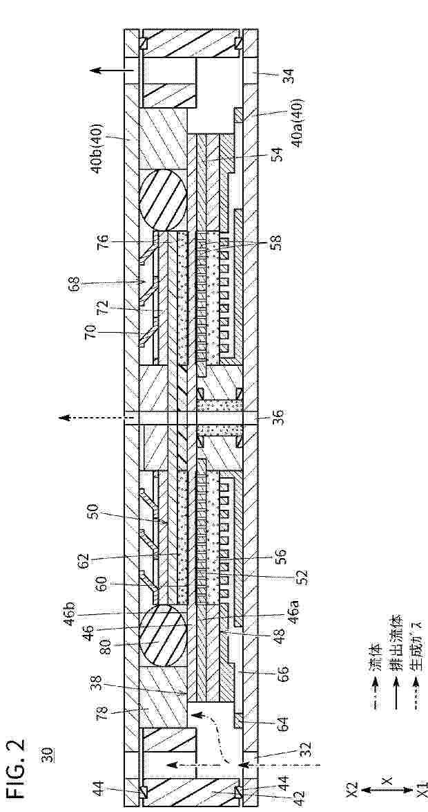
FURNACE, FLUID FEED COMPONENT, FLUID REFORMING SYSTEM AND METHOD OF REFORMING A FLUID

NºPublicación:  US2025314427A1 09/10/2025
Solicitante: 
BURNSTAR TECH PTY LTD [ZA]
BURNSTAR TECHNOLOGIES (PTY) LTD
US_2025314427_PA

Resumen de: US2025314427A1

There is disclosed a furnace, a fluid feed component, a fluid reforming system, and a method of reforming a fluid. The furnace comprises a vessel that defines a chamber for holding a body of liquid. A fluid inlet is provided for introducing a fluid into the chamber below a level of the body of liquid to cause the fluid to interact with the liquid and to migrate therethrough towards an outlet for discharging a product of the interaction from the chamber. A liquid circulation passage is implemented, having a weir which is operatively located near the level of the body of liquid, and a port which is located remote from the weir and in fluid communication with the fluid inlet so as to enable the liquid to flow over the weir through the liquid circulation passage and through the port.

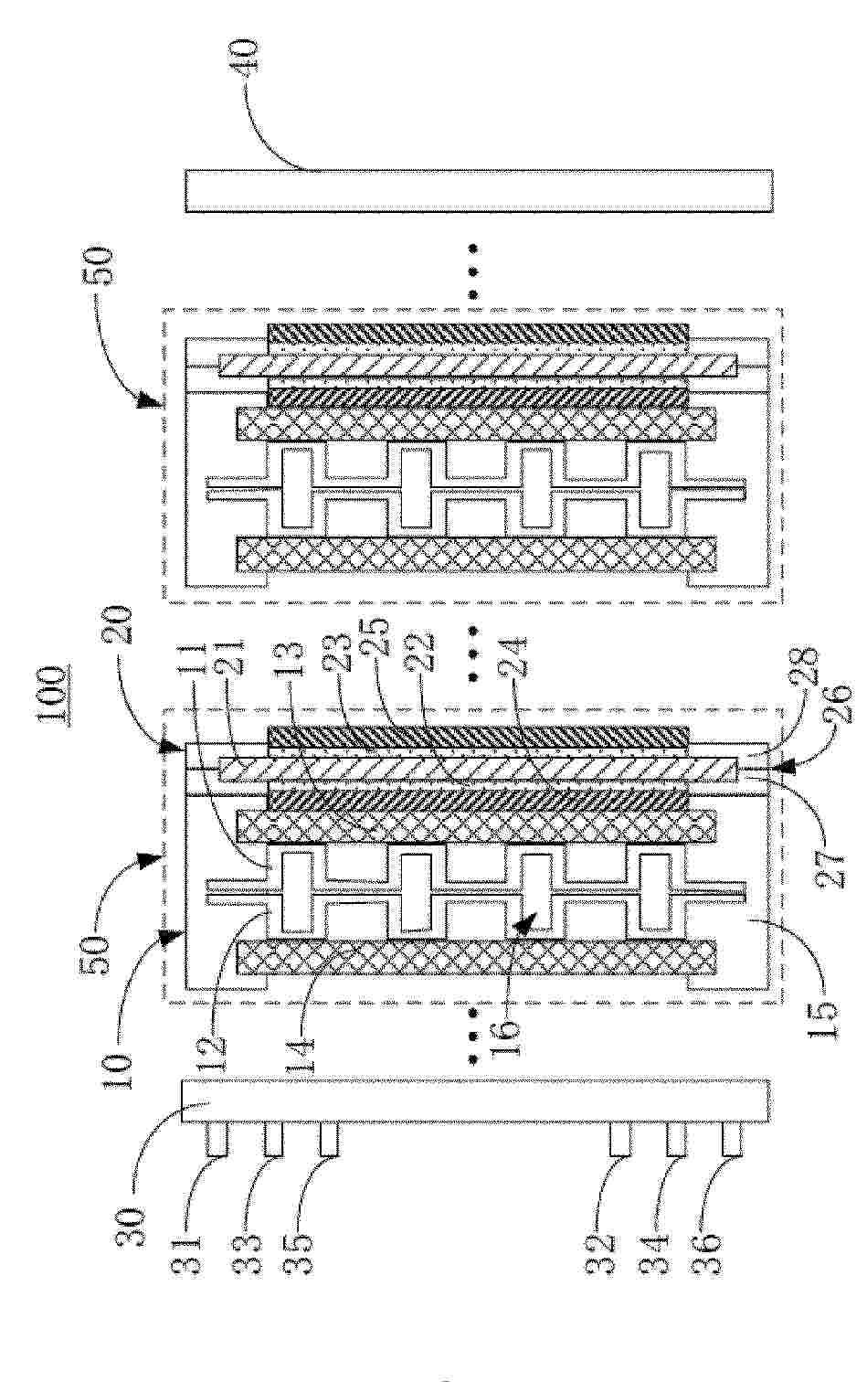
MEMBRANE ELECTRODE ASSEMBLY AND WATER ELECTROLYZER

NºPublicación:  US2025313968A1 09/10/2025
Solicitante: 
TORAY IND INC [JP]
TORAY INDUSTRIES, INC
US_2025313968_PA

Resumen de: US2025313968A1

An object of the present invention is to provide an electrode assembly in which an electrolyte membrane is kept from being deteriorated with durability improved. The present invention provides a membrane electrode assembly including an anode electrode on one surface of an electrolyte membrane and a cathode electrode on the other surface thereof, characterized in that the anode electrode includes a porous substrate (A), the cathode electrode includes a porous substrate (B), and the porous substrate (A) and the porous substrate (B) has a total thickness more than 1,000 μm.

固体酸化物形電解セルおよびその利用

NºPublicación:  JP2025150863A 09/10/2025
Solicitante: 
日本特殊陶業株式会社
JP_2025150863_PA

Resumen de: JP2025150863A

【課題】空気極へのクラックの発生を抑制できる技術を提供する。【解決手段】固体酸化物形電解セルは、一般式A1xA2yBO3-δ(ただし、0.9≦x+y<1、δは酸素欠損量)で表されるペロブスカイト構造を有する複合酸化物を主成分として含有する空気極と、燃料極と、前記空気極と前記燃料極との間に配置された固体電解質層と、を備え、前記空気極は、硫黄を含有する第1の物質と、前記複合酸化物とは異なる物質であって、コバルトと鉄との少なくとも一方を含有する第2の物質と、を含み、前記空気極の断面における前記第1の物質と前記第2の物質との面積占有率の合計は、前記固体電解質層側の界面から10μm以内の界面領域よりも、前記固体電解質層側とは反対の表面から10μm以内の表面領域の方が大きい。【選択図】図2

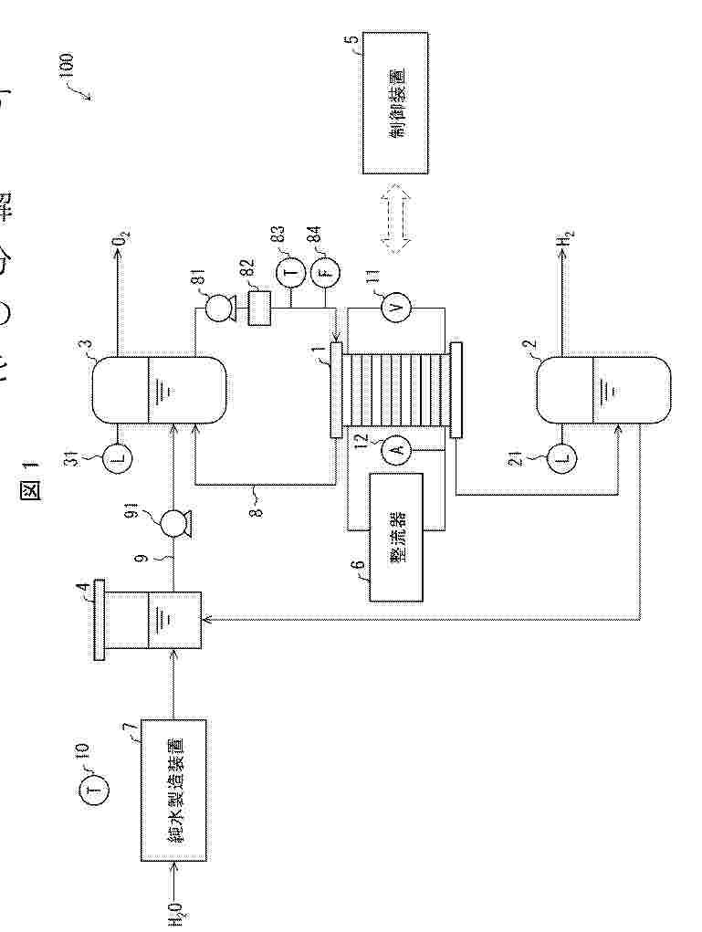
制御装置、水電解システム、制御方法および制御プログラム

NºPublicación:  JP2025150521A 09/10/2025
Solicitante: 
カナデビア株式会社
JP_2025150521_PA

Resumen de: JP2025150521A

【課題】水電解システムにおける循環水を適切に冷却する。【解決手段】制御装置(5)は、水を電気分解する電解槽(1)と当該電解槽(1)で発生した酸素と水とを分離する酸素気液分離器(3)との間を循環する循環水の温度変化を予測し、温度予測結果に基づいて、循環水を冷却する熱交換器(82)を制御する。【選択図】図1

触媒材料およびその利用

NºPublicación:  JP2025151272A 09/10/2025
Solicitante: 
ノリタケ株式会社
JP_2025151272_PA

Resumen de: JP2025151272A

【課題】優れた触媒性能を持つ触媒材料を提供すること。【解決手段】ここに開示される触媒材料は、Ni元素を主体とするNi粒子を含み、上記Ni粒子は、O元素を含有し、不活性ガス融解-非分散型赤外線吸収法による元素分析に基づく、上記触媒材料に含まれる上記Ni粒子全量に対するO元素の含有率は2mass%以上5mass%以下であり、X線光電子分光法により測定される上記Ni粒子表面の光電子スペクトルにおいて、Ni2p軌道を示す領域における金属NiとNiOとNi(OH)2の合計ピーク面積に対する、上記金属Niのピーク面積の比率が20%以上40%以下である。【選択図】図2

触媒材料およびその利用

NºPublicación:  JP2025151271A 09/10/2025
Solicitante: 
ノリタケ株式会社
JP_2025151271_PA

Resumen de: JP2025151271A

【課題】優れた触媒性能を持つ触媒材料を提供する。【解決手段】ニッケル酸化物と、鉄酸化物と、金属ニッケルとを含有する合金粒子1、を含む触媒材料であって、合金粒子1の表面1sから深さ方向に、Feの原子濃度が漸減し且つNiの原子濃度は漸増する傾斜組成を有しており、合金粒子の表面から深さ方向に、SiO2換算でのスパッタ深さ5.5nmまでX線光電子分光法による測定を行ったとき、表面における、FeとNiとの合計に対するFeの原子濃度が10at%以上50at%以下であり、スパッタ深さ5.5nmにおける、FeとNiとの合計に対するFeの原子濃度が3at%以上17at%以下であり、表面からスパッタ深さ5.5nmにかけての、合金粒子のFeの原子濃度の減少割合が0.5at%/nm以上6at%/nm以下である。水電解における酸素発生極として用いられる。【選択図】図1

光触媒装置およびその制御方法

NºPublicación:  JP2025151792A 09/10/2025
Solicitante: 
セイコーエプソン株式会社
JP_2025151792_PA

Resumen de: JP2025151792A

【課題】酸化還元反応の効率を高めることができる光触媒装置を提供する。【解決手段】基板と、前記基板に設けられ、c面および半極性面の少なくとも一方である第1面と、m面である第2面と、を有し、InxGa1-xN(0≦x<1)を含む複数の柱状部と、前記第2面を避けて前記第1面に設けられ、InyGa1-yOz(0≦y<1、0<z)を含む第1酸化物層と、を含む、光触媒装置。【選択図】図1

水電解システムの運用装置及び水電解システムの運用方法

NºPublicación:  JP2025150086A 09/10/2025
Solicitante: 
株式会社日立製作所
JP_2025150086_PA

Resumen de: JP2025150086A

【課題】水電解スタックの劣化状態に応じて、安全性と経済性を考慮した運用条件を策定することができなかった。【解決手段】水電解スタック21と、水電解スタック21に直流電力を供給する直流電源22と、水電解スタックに流れる電流を計測する電流監視装置24と、水電解スタック21に印加される電圧を計測する電圧監視装置23と、を有する水電解システム1の運用装置10において、時系列の電流計測値と電圧計測値を用いて劣化状態に応じて変化する水電解スタック21の電気抵抗を推定し、推定した電気抵抗を閾値と比較して水電解スタック21の劣化状態を判定し、水電解スタック21の劣化状態に応じて水電解スタック21の運用条件を定める演算部13と、演算部13が定めた水電解スタック21の運用条件を表示装置12に出力する表示制御部11と、を備える。【選択図】図4

アンモニアを処理するためのシステム及び方法

NºPublicación:  JP2025533852A 09/10/2025
Solicitante: 
アモジーインコーポレイテッド
JP_2025533852_PA

Resumen de: US2025243053A1

The present disclosure provides systems and methods for processing ammonia (NH3). A heater may heat reformers and NH3 reforming catalysts therein. NH3 may be directed to the reformers from storage tanks, and the NH3 may be decomposed to generate a reformate stream comprising hydrogen (H2) and nitrogen (N2). At least part of the reformate stream may be used to heat the reformers.

METHODS OF FORMING SULFUR AND HYDROGEN FROM HYDROGEN SULFIDE

NºPublicación:  US2025313963A1 09/10/2025
Solicitante: 
SAUDI ARABIAN OIL COMPANY [SA]
Saudi Arabian Oil Company
US_2025313963_PA

Resumen de: US2025313963A1

This disclosure relates to methods of forming elemental sulfur and hydrogen gas from hydrogen sulfide. The disclosed methods include contacting a solution including hydrogen sulfide with an electrode for hydrogen evolution and an electrode for sulfur oxidation.

POLYELECTROLYTE MULTILAYER COATED PROTON EXCHANGE MEMBRANE FOR ELECTROLYSIS AND FUEL CELL APPLICATIONS

NºPublicación:  US2025316736A1 09/10/2025
Solicitante: 
UOP LLC [US]
UOP LLC
US_2025316736_PA

Resumen de: US2025316736A1

A method for preparing a new polyelectrolyte multilayer coated proton-exchange membrane has been developed for electrolysis and fuel cell applications. The method comprises: applying a polyelectrolyte multilayer coating to a surface of a cation exchange membrane, the polyelectrolyte multilayer coating comprising alternating layers of a polycation polymer and a polyanion polymer to form the polyelectrolyte multilayer coated proton-exchange membrane and optionally treating the polyelectrolyte multilayer coated proton-exchange membrane in an acidic solution. The polycation polymer layer is in contact with the cation exchange membrane.

MICROFABRICATED POROUS TRANSPORT LAYER

NºPublicación:  US2025316720A1 09/10/2025
Solicitante: 
BOZORGI PAYAM [US]
BOZORGI Payam
US_2025316720_PA

Resumen de: US2025316720A1

A novel microfabricated Titanium-based porous transport layer (PTL) is described, for use in a hydrogen electrolytic fuel cell. The novel structure may have improved properties and enable improved utilization of the catalyst layer, which is a key metric for hydrogen fuel systems. The structure is intended to be used with a polymeric membrane and is disposed directly adjacent to the catalytic layer on the cathode side of the structure. The improved performance result from is three dimensions microfabricated design, which allows a large number of tightly controlled through hole structure, which increases the surface area available for the electrolytic reaction.

SYSTEMS AND METHODS FOR REMOVAL AND SEQUESTRATION OF ACIDITY FROM SURFACE SEAWATER

NºPublicación:  AU2024262429A1 09/10/2025
Solicitante: 
LONE GULL HOLDINGS LTD
LONE GULL HOLDINGS, LTD
AU_2024262429_A1

Resumen de: AU2024262429A1

A method by which an environmental energy (e.g., wave energy) is harvested, converted into electrical power, and thereafter used to electrolyze seawater into hydrogen and chlorine gases. Those gases are recombined into hydrogen chloride from which is formed hydrochloric acid solution which is diluted and deposited at a depth sufficient to ensure its neutralization and sequestration for a significant period of time (e.g., for over a millennium). By removing chloride ions from a portion of the sea adjacent to its upper surface and depositing them into a portion of the sea more adjacent to its bottom, acidity is shifted from the surface to base of the sea, and the surface ocean is given a greater ability to absorb and buffer atmospheric carbon dioxide without a corresponding increase in acidity.

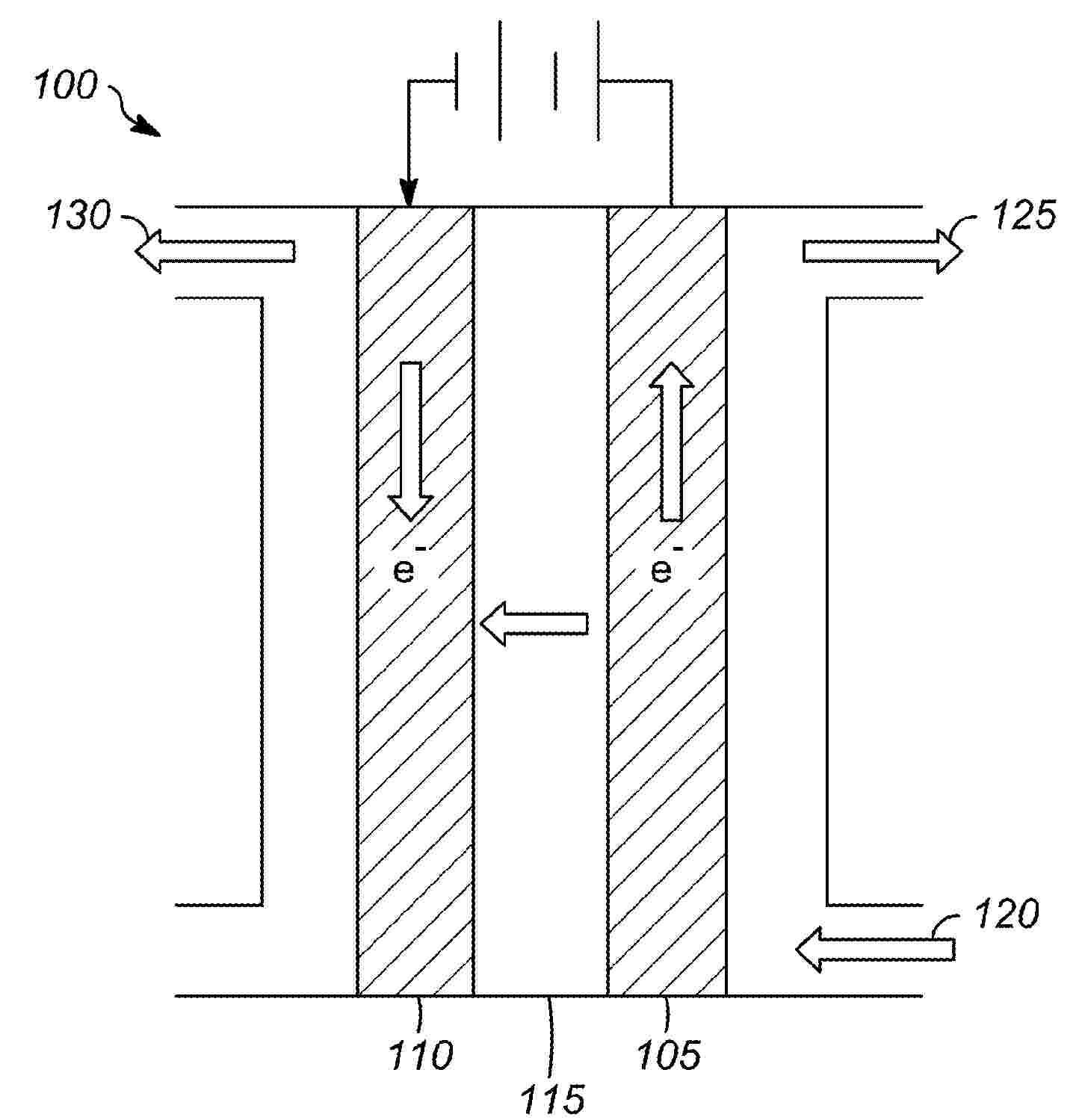
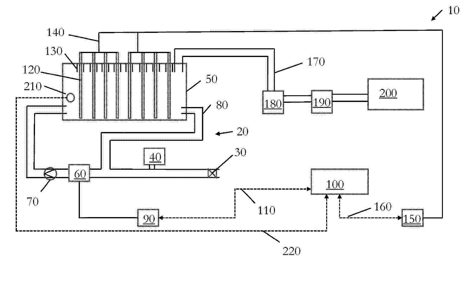
GAS PRESSURE CONTROLS FOR A WATER ELECTROLYZER PLANT

NºPublicación:  US2025313974A1 09/10/2025
Solicitante: 
CUMMINS INC [US]
HYDROGENICS CORP [CA]
CUMMINS INC,
HYDROGENICS CORPORATION
US_2025313974_PA

Resumen de: US2025313974A1

The present disclosure relates to systems and methods for increasing efficiency and performance by balancing pressure in electrolytic cell. The present disclosure relates to systems and methods of utilizing different valves for controlling absolute pressure and differential in the electrolytic cell system based on hydrogen demand and the operating state of the system.

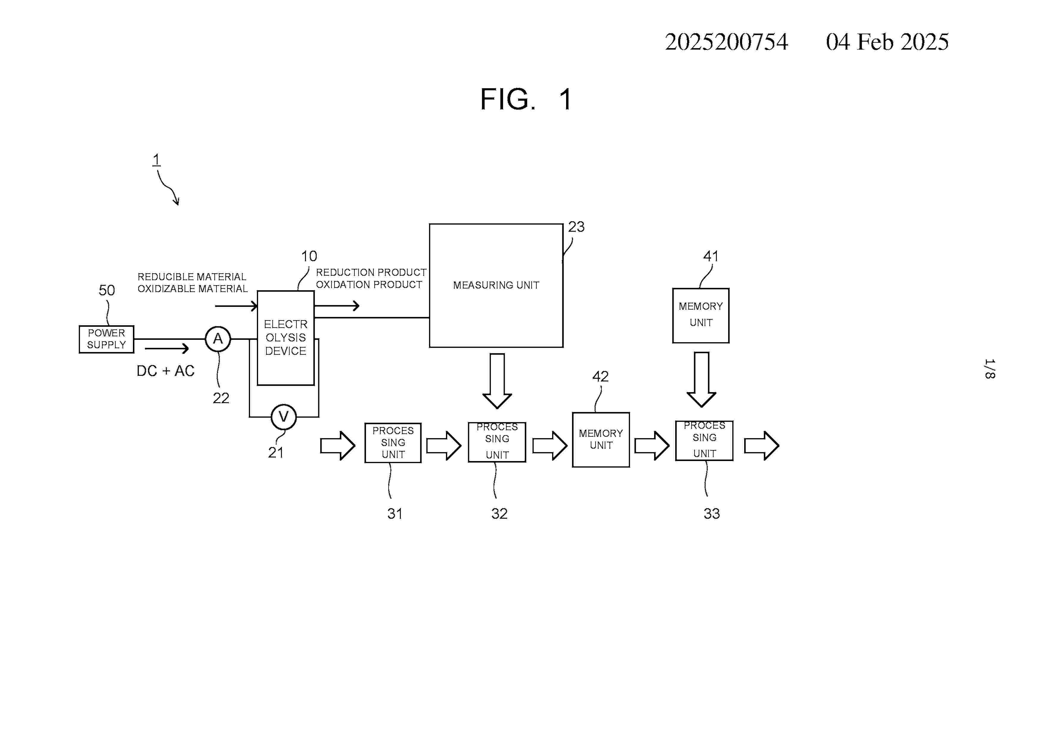
Electrolysis device and electrolysis method

NºPublicación:  AU2025200886A1 09/10/2025
Solicitante: 
KK TOSHIBA
Kabushiki Kaisha Toshiba
AU_2025200886_A1

Resumen de: AU2025200886A1

An electrolysis device includes: an electrolysis cell; a cathode supply flow path; an anode supply flow path; a cathode discharge flow path; an anode discharge flow path; a cathode flow rate regulator to adjust a flow rate A of a cathode supply fluid; an anode flow rate regulator to adjust a flow rate B of a anode supply fluid; a first flowmeter to measure a 5 flow rate C of a cathode discharge fluid; a second flowmeter to measure a flow rate D of a anode discharge fluid; and a control device to estimate a Faraday efficiency according to a relational expression for approximating the Faraday efficiency to a function including the C and D, and control the cathode flow rate regulator according to the estimated Faraday efficiency to control the A. 10 An electrolysis device includes: an electrolysis cell; a cathode supply flow path; an anode supply flow path; a cathode discharge flow path; an anode discharge flow path; a cathode flow rate regulator to adjust a flow rate A of a cathode supply fluid; an anode flow 5 rate regulator to adjust a flow rate B of a anode supply fluid; a first flowmeter to measure a flow rate C of a cathode discharge fluid; a second flowmeter to measure a flow rate D of a anode discharge fluid; and a control device to estimate a Faraday efficiency according to a relational expression for approximating the Faraday efficiency to a function including the C and D, and control the cathode flow rate regulator according to the estimated Faraday 10 efficiency to c

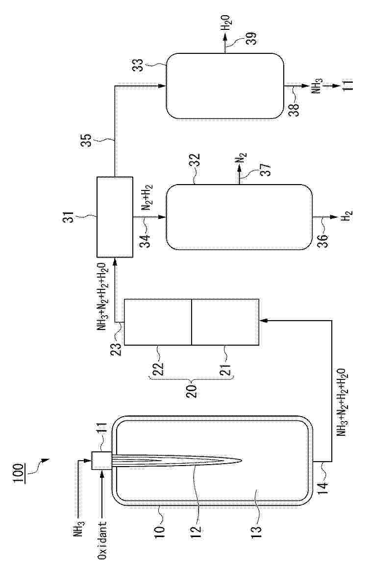
PROCESS AND APPARATUS FOR CRACKING AMMONIA

NºPublicación:  AU2025201947A1 09/10/2025
Solicitante: 
AIR PRODUCTS AND CHEMICALS INC
Air Products and Chemicals, Inc
AU_2025201947_A1

Resumen de: AU2025201947A1

In a process in which ammonia is cracked to form a hydrogen gas product and an offgas comprising nitrogen gas, residual hydrogen gas and residual ammonia gas, residual ammonia is recovered from the offgas from the hydrogen recovery process by partial condensation and phase separation, and hydrogen is recovered from the resultant ammonia-lean offgas by partial condensation and phase separation. The recovered ammonia may be recycled the cracking process and the recovered hydrogen may be recycled to the hydrogen recovery process to improve hydrogen recovery from the cracked gas. Overall hydrogen recovery from the ammonia may thereby be increased to over 99%. In a process in which ammonia is cracked to form a hydrogen gas product and an offgas comprising nitrogen gas, residual hydrogen gas and residual ammonia gas, residual ammonia is recovered from the offgas from the hydrogen recovery process by partial condensation and phase separation, and hydrogen is recovered from the resultant ammonia-lean offgas by partial condensation and phase separation. The recovered ammonia may be recycled the cracking process and the recovered hydrogen may be recycled to the hydrogen recovery process to improve hydrogen recovery from the cracked gas. Overall hydrogen recovery from the ammonia may thereby be increased to over 99%. ar a r n a p r o c e s s i n w h i c h a m m o n i a i s c r a c k e d t o f o r m a h y d r o g e n g a s p r o d u c t a n d a n o f f g a s c o m p r i s i n g n i t r o

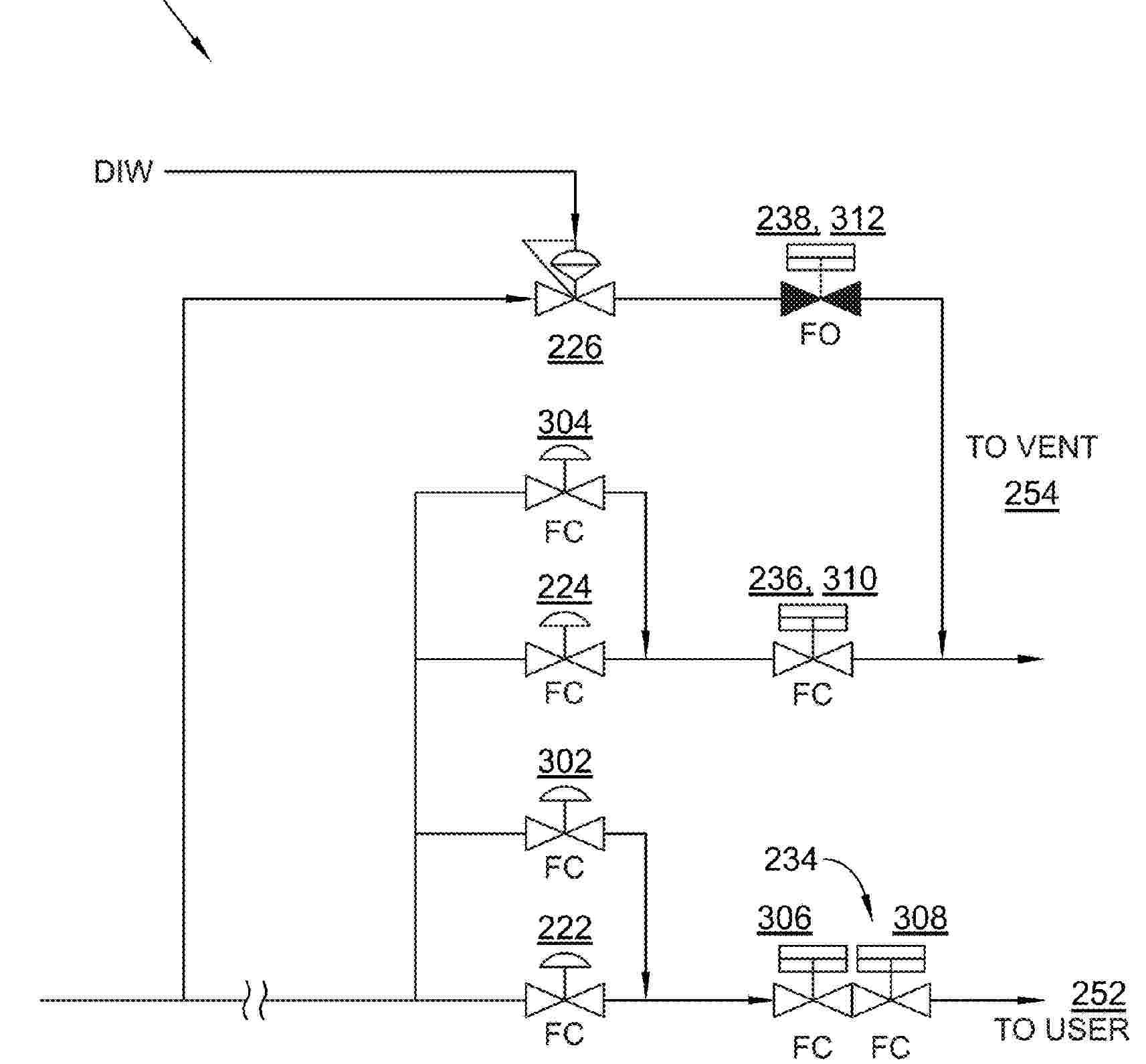
State diagnosis system, state diagnosis method, and electrolysis system

NºPublicación:  AU2025200754A1 09/10/2025
Solicitante: 
TOSHIBA KK
Kabushiki Kaisha Toshiba
AU_2025200754_A1

Resumen de: AU2025200754A1

A diagnosis system of an electrolysis device, includes: a device to output an impedance data indicating a measurement result of a complex impedance; a first memory unit to store prior data including a relation data indicating a relation between state of the device and a diagnosis result of a state of the device; a first processing unit to analyze the 5 impedance data, judge validity of an analysis result, and output an analysis data indicating the analysis result in which data indicating at least a part of a frequency region of the measurement result is determined valid; a second processing unit to output a state data indicating the state based on first data including the analysis data; a second memory unit to store second data including the state data; and a third processing unit to output a diagnosis 10 data based on data including the prior data and the second data. A diagnosis system of an electrolysis device, includes: a device to output an impedance data indicating a measurement result of a complex impedance; a first memory unit to store prior data including a relation data indicating a relation between state of the 5 device and a diagnosis result of a state of the device; a first processing unit to analyze the impedance data, judge validity of an analysis result, and output an analysis data indicating the analysis result in which data indicating at least a part of a frequency region of the measurement result is determined valid; a second processing unit to output a sta

CATALYST-COATED MEMBRANES FOR WATER ELECTROLYSIS

NºPublicación:  WO2025210347A1 09/10/2025
Solicitante: 
JOHNSON MATTHEY HYDROGEN TECHNOLOGIES LTD [GB]
JOHNSON MATTHEY HYDROGEN TECHNOLOGIES LIMITED
WO_2025210347_PA

Resumen de: WO2025210347A1

A catalyst-coated membrane for a water electrolyser is provided. The catalyst-coated membrane comprises a polymer electrolyte membrane with an anode catalyst layer on a first side of the membrane. The anode catalyst layer comprises an oxygen evolution reaction catalyst containing at least one noble metal at a loading of the oxygen evolution reaction catalyst, based on the noble metal content, of less than or equal to 0.6 mg/cm2. The polymer electrolyte membrane comprises a membrane layer comprising dispersed platinum group metal-containing nanoparticles, a nanoparticle stabilising agent and an ion-conducting polymer.

Solid electrochemical device

NºPublicación:  GB2640063A 08/10/2025
Solicitante: 
SUMITOMO ELECTRIC INDUSTRIES [JP]
Sumitomo Electric Industries, Ltd
GB_2640063_PA

Resumen de: GB2640063A

Provided is a solid electrochemical device comprising: a solid electrolyte which has a first main surface and a second main surface that is opposite from the first main surface; a first electrode which has a third main surface and a fourth main surface that is opposite from the third main surface and which is provided such that the third main surface faces the first main surface; a first current collector which has a fifth main surface and a sixth main surface that is opposite from the fifth main surface and which is provided such that the fifth main surface faces the fourth main surface; and a first interconnector which has a seventh main surface and which is provided such that the seventh main surface faces the sixth main surface, wherein the seventh main surface of the first interconnector is a flat surface, the first current collector includes a first porous metal body that has a three-dimensional network structure, and the fifth main surface has a plurality of first through-holes that are formed so as to extend along a first direction from the fifth main surface to the sixth main surface.

METHOD FOR TRANSPORTING HYDROGEN FROM A FLOATING WIND TURBINE TO A WATER VEHICLE

NºPublicación:  EP4627215A1 08/10/2025
Solicitante: 
CRUSE OFFSHORE GMBH [DE]
CRUSE Offshore GmbH
KR_20250099193_PA

Resumen de: WO2024115474A1

The aim of the invention is to transport energy produced in an environmentally friendly manner by means of an offshore wind turbine to land in a simple and reliable manner. This is achieved by a method (100) for transporting hydrogen from a floating wind turbine (10) to a water vehicle (11), wherein hydrogen is provided in a storage tank (31) of a floating wind turbine (10), and a water vehicle (11) with a transport tank (36) is positioned by the floating wind turbine (10). The hydrogen is transported from the storage tank (31) to the transport tank (36) using a line (35) which is designed to transport the hydrogen.

ELECTROLYTIC UNIT AND ELECTROLYTIC STACK

NºPublicación:  EP4628629A2 08/10/2025
Solicitante: 
BOSCH GMBH ROBERT [DE]
Robert Bosch GmbH
EP_4628629_PA

Resumen de: EP4628629A2

The present application provides an electrolytic unit, comprising: a plate having a first side and a second side opposite each other, the first side being an anode side, and the second side being a cathode side; an anode porous transport layer and a cathode porous transport layer respectively disposed at the first side and the second side; an exchange membrane; an anode catalyst layer and a cathode catalyst layer respectively disposed at two sides of the exchange membrane; an anode gas diffusion electrode positioned on the anode catalyst layer; and a cathode gas diffusion electrode positioned on the cathode catalyst layer; wherein the cathode porous transport layer, the plate and the anode porous transport layer are formed as an integral mechanical portion, and the anode gas diffusion electrode, the anode catalyst layer, the exchange membrane, the cathode catalyst layer and the cathode gas diffusion electrode are formed as an integral electrochemical portion. The present application also provides an electrolytic stack comprising the electrolytic unit described above. The technical solutions of the present application facilitate the assembly and maintenance of the electrolytic unit and the electrolytic stack.

Fluid treatment apparatus

NºPublicación:  GB2639995A 08/10/2025
Solicitante: 
CARROLL NOEL [AU]
WILLIAM DOWSON [GB]
Noel Carroll,
William Dowson
GB_2639995_PA

Resumen de: GB2639995A

Fluid treatment apparatus 10 for undertaking electrolysis of a fluid to thereby produce hydrogen gas, and/or undertake electro-coagulation of the fluid to thereby reduce the presence of suspended solids in the fluid, and/or to undertake desalination of the fluid, the apparatus comprises a tank 50 containing water, the tank including electrodes 120 connected to an electrical supply 150, wherein the electrodes include an anode and a cathode. The electrical supply is arranged to supply electricity to the electrodes such that the voltage between the anode and a reference point at a constant electric potential varies as a function of time, wherein the time-dependence of the voltage between the anode and the reference point is described by a function V(), defined for any time as the greatest value of 1(), 2() and 3(), which are defined herein. A waveform of the voltage () that is applied between the anode and a reference point is sinusoidal. A method of treating fluid is also described.

Method of producing hydrogen using aluminium

NºPublicación:  GB2639836A 08/10/2025
Solicitante: 
UNIV BRUNEL [GB]
UNIV OXFORD BROOKES [GB]
UNIV GREENWICH [GB]
Brunel University London,
Oxford Brookes University,
University of Greenwich
GB_2639836_PA

Resumen de: GB2639836A

A method of producing hydrogen is disclosed which comprises providing apparatus including a first container having an inlet and a second container having an outlet, wherein the first container and second container contain liquid aluminium or a liquid aluminium alloy, and wherein said liquid has a first surface proximate the inlet; reacting said liquid in the first container with water vapour supplied to the first container via the inlet in order to generate hydrogen which dissolves in the liquid, wherein said reaction takes place either at the surface or in the liquid; causing the hydrogen dissolved in said liquid to move to the second container; extracting hydrogen in the form of gas from liquid in the second container.

差圧式電解セル、差圧式電解スタックおよび差圧式電解セルの製造方法

NºPublicación:  JP2025149323A 08/10/2025
Solicitante: 
本田技研工業株式会社
JP_2025149323_PA

Resumen de: US2025305161A1

A differential pressure electrolysis cell for producing a gas having a higher pressure than a fluid at the second electrode by applying a voltage between a first electrode and a second electrode to electrolyze the fluid containing water and supplied to the first electrode, wherein an electrolyte membrane of the differential pressure electrolysis cell includes: a first layer facing the first electrode and having a first ion exchange capacity per unit area; and a second layer facing the second electrode and having a second ion exchange capacity per unit area, and the second ion exchange capacity is larger than the first ion exchange capacity.

MEMBRANE SEPARATOR FOR ELECTROLYSIS OF ALKALINE WATER

Nº publicación: EP4627138A1 08/10/2025

Solicitante:

GVS SPA [IT]
GVS S.p.A

KR_20250116003_PA

Resumen de: CN120303449A

The present invention relates to a symmetric separator membrane for electrolyzing alkaline water and having a uniform pore distribution.

traducir