Ministerio de Industria, Turismo y Comercio LogoMinisterior
 

Alerta

Resultados 528 resultados
LastUpdate Última actualización 16/12/2025 [06:59:00]
pdfxls
Publicaciones de solicitudes de patente de los últimos 60 días/Applications published in the last 60 days
previousPage Resultados 125 a 150 de 528 nextPage  

TRANSITION METAL-DOPED OXIDE NANOPARTICLES GROWN ON NICKEL FOAM FOR ELECTROCHEMICAL GENERATION OF HYDROGEN

NºPublicación:  US2025361631A1 27/11/2025
Solicitante: 
KING FAHD UNIV OF PETROLEUM AND MINERALS [SA]
KING FAHD UNIVERSITY OF PETROLEUM AND MINERALS
US_2025361631_PA

Resumen de: US2025361631A1

A method of generating hydrogen using an electrocatalyst including NiMoxCo2-xO4 nanoparticles deposited on a nickel foam substrate, where x>0 and x≤0.06. A first portion of the NiMoxCo2-xO4 nanoparticles have a nano-needle morphology, where the nano-needles assemble to form a sphere in which the nano-needles project horizontally from the sphere, and the sphere has an average diameter of 1-5 micrometers (μm).

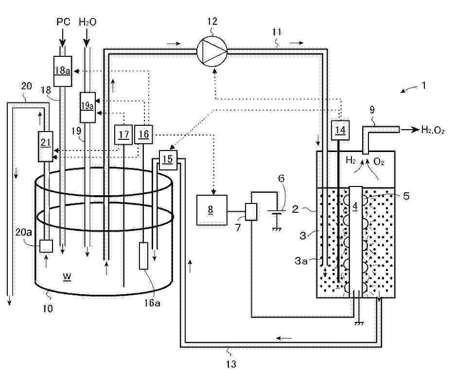
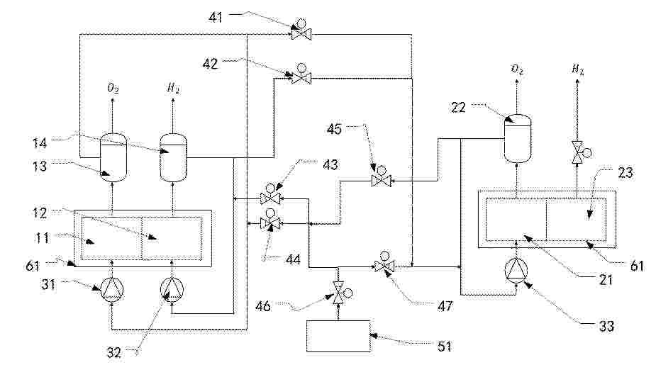
CONTROL DEVICE FOR ELECTROLYSIS SYSTEM AND ELECTROLYSIS SYSTEM

NºPublicación:  US2025361635A1 27/11/2025
Solicitante: 
HONDA MOTOR CO LTD [JP]
HONDA MOTOR CO., LTD
US_2025361635_PA

Resumen de: US2025361635A1

A control device for an electrolysis system includes a deterioration prediction unit that predicts a degree of deterioration of each of a water electrolysis stack and a compression stack, and a supplied electrical current control unit that controls an electrical current that is supplied to the water electrolysis stack and an electrical current that is supplied to the compression stack, wherein the supplied electrical current control unit controls the electrical current that is supplied to the stack having a larger degree of deterioration from among the water electrolysis stack and the compression stack to be constant, and adaptively controls the electrical current that is supplied to the stack having a smaller degree of deterioration from among the water electrolysis stack and the compression stack.

ELECTROLYZER HAVING AN ANODE-SIDE CATALYST AND RELATED METHODS

NºPublicación:  US2025361630A1 27/11/2025
Solicitante: 
GEORGIA TECH RES CORPORATION [US]
Georgia Tech Research Corporation
US_2025361630_PA

Resumen de: US2025361630A1

An electrolyzer system includes a cathode comprising a cathode catalyst: an anode comprising an anode catalyst configured to promote oxidation of water: and a proton exchange membrane (PEM) between the cathode and the anode, wherein the cathode, anode, and proton exchange membrane are configured such that water at the anode reacts to form oxygen and positively charged hydrogen ions, and the positively charged ions react at the cathode to form hydrogen (H2): wherein the catalyst comprises a Y2Ru2O7—NaBH4 catalyst.

PROCESS AND SYSTEM FOR GENERATING HYDROGEN

NºPublicación:  US2025361467A1 27/11/2025
Solicitante: 
HYDROBE PTY LTD [AU]
Hydrobe Pty Ltd
US_2025361467_PA

Resumen de: US2025361467A1

Disclosed is a process and system for generating hydrogen from carbon dioxide. The process and system for generating a hydrogen gas stream from a carbon dioxide gas stream comprises converting a first waste carbon dioxide gas stream to an organic feedstock using an algal source in a photosynthesis step. The organic feedstock is then converted using an organism to the hydrogen gas stream and gaseous by-products in a biodecomposition step. The generated hydrogen gas may then be collected.

RENEWABLE ENERGY FUELED INDUSTRIAL PLANTS WITH INTEGRATED CARBON CAPTURE

NºPublicación:  US2025361178A1 27/11/2025
Solicitante: 
TATA CONSULTANCY SERVICES LTD [IN]
TATA CONSULTANCY SERVICES LIMITED
US_2025361178_PA

Resumen de: US2025361178A1

Providing an implementable renewable fuel gas plant processes with management of greenhouse gases with minimal changes to existing plant set ups is a technical challenge to be addressed. Embodiments herein provide a system for renewable fuel gas generation and utilization in industrial plants with carbon dioxide as heat carrier. The system design integrates renewable fuel gas (H2) which is generated within the system and utilized to meet the thermal energy requirements of the production process. CO2 produced as byproduct of calcination in a process equipment, such as during calcination in cement plant is used as a heat-transferring medium to heat the H2. Further, the system provides recycling of the generated byproducts by separating the exhaust gases, comprised of CO2 and H2O. The H2O is recycled to generate H2 via electrolysis. The separated CO2 again serves as a heat-transferring medium, while the excess CO2 is sequestrated.

SYSTEMS AND METHODS FOR CONTROLLING A POWER-TO-X PROCESS TO REDUCE FEEDSTOCK COSTS

NºPublicación:  US2025360480A1 27/11/2025
Solicitante: 
INFINIUM TECH LLC [US]
Infinium Technology, LLC
US_2025360480_PA

Resumen de: US2025360480A1

Provided herein are systems and methods for controlling production of low-carbon liquid fuels and chemicals. In an aspect, provided herein is a method controlling a process that produces e-fuels. In another aspect, provided herein is a system for producing an e-fuel.

HYDROGEN GENERATING DEVICE PROVIDED WITH SOUND INSULATION COVER AND HYDROGEN GENERATING DEVICE PROVIDED WITH NOVEL POWER MODULE

NºPublicación:  AU2024270923A1 27/11/2025
Solicitante: 
LIN HSIN YUNG
LIN, Hsin-Yung
AU_2024270923_PA

Resumen de: AU2024270923A1

A hydrogen generating device provided with a sound insulation cover and a hydrogen generating device provided with a novel power module. The hydrogen generating device comprises a water tank, an electrolytic cell, a humidifier, a refining device, and a sound insulation cover; the water tank is used for containing electrolyzed water; the electrolytic cell is arranged in the water tank and is used for electrolyzing water to generate hydrogen-containing gas; the humidifier is provided with a humidifying chamber for containing supplementary water; the refining device is arranged in the humidifier and is used for refining the hydrogen-containing gas; the sound insulation cover is arranged in the humidifier and is provided with a sound insulation cavity, a connecting tube connecting the water tank and the refining device, and a gas outlet hole; the hydrogen-containing gas passes through the connecting tube and the refining device and flows into the supplementary water in the sound insulation cavity, and then the hydrogen-containing gas flows into the humidifying chamber through the gas outlet hole. Thus, according to the present invention, sound generated when the hydrogen-containing gas flows in the device can be insulated by means of the sound insulation cover, so as to improve the experience effect, and heat dissipation can be effectively carried out on a circuit board, thereby improving the operation efficiency.

PLANT AND PROCESS COMPRISING AN AUTOTHERMAL REFORMER FOR PRODUCING SYNTHETIC FUELS WITHOUT EMITTING CARBON DIOXIDE

NºPublicación:  WO2025242614A1 27/11/2025
Solicitante: 
EDL ANLAGENBAU GMBH [DE]
EDL ANLAGENBAU GESELLSCHAFT MBH
WO_2025242614_PA

Resumen de: WO2025242614A1

A plant for producing synthetic fuels, in particular aviation turbine fuel (kerosene), crude gasoline and/or diesel, comprises: • a) a synthesis gas production device for production of a crude synthesis gas comprising carbon monoxide, hydrogen and carbon dioxide from i) carbon dioxide, ii) water, iii) methane and/or hydrogen and iv) oxygen, wherein the synthesis gas production device comprises at least one autothermal reformer, wherein the at least one autothermal reformer comprises at least one feed conduit i) for carbon dioxide, ii) for water, iii) for methane and/or for hydrogen and iv) for oxygen, and a discharge conduit for crude synthesis gas, • b) a separation device for separation of carbon dioxide from the crude synthesis gas produced in the synthesis gas production device, having a discharge conduit for carbon dioxide and a discharge conduit for synthesis gas, • c) a Fischer-Tropsch device for production of hydrocarbons by a Fischer-Tropsch process from the synthesis gas from which carbon dioxide has been separated in the separation device, • d) a refining device for refining the hydrocarbons produced in the Fischer-Tropsch device to give the synthetic fuels and e1) an electrolysis device for separating water into hydrogen and oxygen and/or e2) a methane-steam reformer which is electrically heated by induction and comprises at least one feed conduit for methane, for water and for hydrogen, and a discharge conduit for crude synthesis gas, and the plant furthe

HYDROGEN PRODUCTION SYSTEM AND METHOD FOR OPERATING HYDROGEN PRODUCTION SYSTEM

NºPublicación:  EP4653578A1 26/11/2025
Solicitante: 
MITSUBISHI HEAVY IND LTD [JP]
Mitsubishi Heavy Industries, Ltd
EP_4653578_PA

Resumen de: EP4653578A1

A hydrogen production system according to the present invention comprises: a solid oxide electrolysis cell (SOEC) that electrolyzes water vapor; a water vapor supply line for supplying water vapor to a hydrogen electrode of the SOEC; a water vapor discharge line through which water vapor discharged from the hydrogen electrode circulates; a first bypass line that communicates the water vapor supply line with the water vapor discharge line; and a first regulation device for regulating the flow rate of water vapor circulating through the first bypass line.

水素製造制御システムおよび方法

NºPublicación:  JP2025172460A 26/11/2025
Solicitante: 
株式会社日立製作所
JP_2025172460_PA

Resumen de: WO2025239029A1

Provided is a hydrogen production control system for producing hydrogen with different environmental impacts. A hydrogen production control system 20 causes a hydrogen production apparatus 10 to produce hydrogen. The hydrogen production apparatus inputs, to a water electrolysis device 13, a power amount from a renewable energy generation device 12 or a power amount from a power grid 30, and causes the water electrolysis device to electrolyze water to thereby produce hydrogen with different environmental impacts. The hydrogen production apparatus comprises: a renewable energy variation amount prediction unit which predicts variation in the power amount from the renewable energy power generation device; and a type-specific hydrogen production planning unit which creates a type-specific hydrogen production plan for producing hydrogen with different environmental impacts by the hydrogen production apparatus, on the basis of a prediction result from the renewable energy variation amount prediction unit. The type-specific hydrogen production planning unit creates a production plan for producing a first type of hydrogen with a small environmental impact among hydrogen with different environmental impacts by using a power amount in a first case where the power amount from the renewable energy generation device is predicted to be supplied stably.

DUAL H2 PRODUCTION FROM ELECTROCATALYTIC WATER REDUCTION COUPLED WITH FORMALDEHYDE OXIDATION VIA A COPPER-SILVER ELECTROCATALYST

NºPublicación:  EP4652312A2 26/11/2025
Solicitante: 
UNIV CINCINNATI [US]
University of Cincinnati
WO_2024155894_PA

Resumen de: WO2024155894A2

The present disclosure concerns an electrocatalytic system and methods of the use thereof for the generation of hydrogen at both electrodes. In aspects, the present disclosure concerns an anode of a copper-silver bimetallic alloy, Cu3Ag7, and a basic anolyte with an aldehyde therein. The aldehyde reacts with the hydroxyl groups from the catholyte to produce hydrogen and the catholyte reacts water therein with the electrons from the anolyte to also produce hydrogen in a highly Faradaic efficient system. Application of the present disclosure not only provides for production of clean hydrogen, but also offers an approach for aldehyde decontamination.

A ROOM-TEMPERATURE-SOLID METAL ALLOY FOR MAKING WATER-REACTIVE ALUMINUM COMPOSITIONS

NºPublicación:  EP4651991A1 26/11/2025
Solicitante: 
FOUND ENERGY CO [US]
Found Energy Co
KR_20250145019_PA

Resumen de: CN120677016A

Provided herein are water-reactive aluminum compositions comprising aluminum or an alloy thereof and an activating metal alloy (e.g., a non-eutectic activating metal alloy comprising bismuth, tin, indium, and gallium; or an activating metal alloy comprising bismuth, tin and indium). Some water-reactive aluminum compositions provided herein are free of gallium. Also provided herein are methods of activating aluminum to provide a water-reactive aluminum composition. Also provided are fuel mixtures comprising the water-reactive aluminum composition described herein and a water-reactive aluminum composition having an increased gallium content; and methods of providing hydrogen and/or steam using the water-reactive aluminum compositions described herein.

CATALYST FOR AMMONIA DECOMPOSITION REACTION, METHOD FOR PREPARING SAME, AND METHOD FOR PRODUCING HYDROGEN BY USING SAME

NºPublicación:  EP4653091A1 26/11/2025
Solicitante: 
KOREA RES INST CHEMICAL TECH [KR]
Korea Research Institute of Chemical Technology
EP_4653091_PA

Resumen de: EP4653091A1

The present invention relates to a catalyst for an ammonia decomposition reaction, a method for preparing same, and a method for producing hydrogen by using same. More specifically, the present invention relates to a method for preparing a catalyst for an ammonia decomposition reaction, which economically and efficiently supports highly active ruthenium on a lanthanum-cerium composite oxide support, thereby preparing a catalyst that exhibits a higher ammonia conversion rate than conventional catalysts for an ammonia decomposition reaction, to a catalyst for an ammonia decomposition reaction prepared by the same method, and a method for producing hydrogen by using the same.

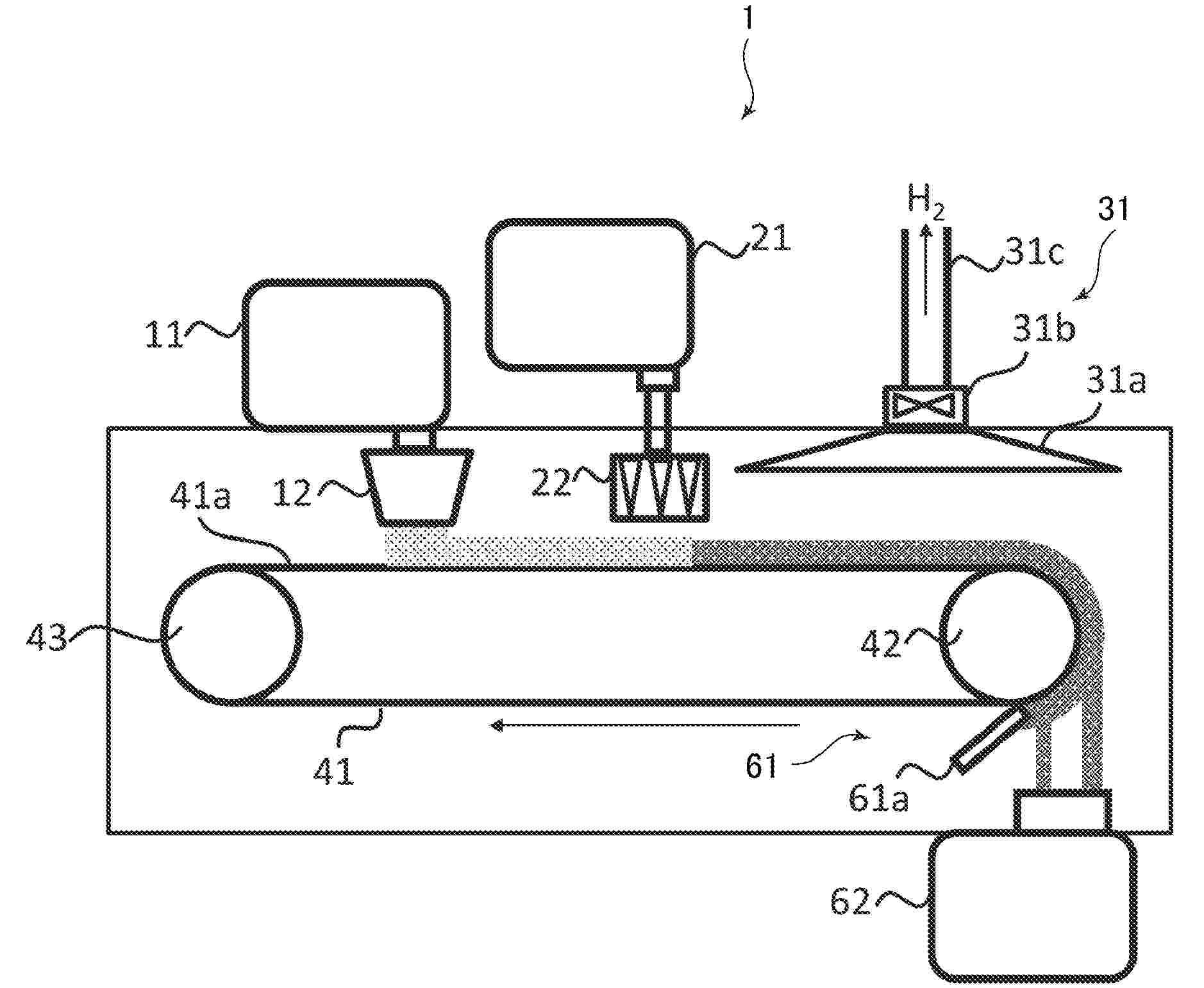
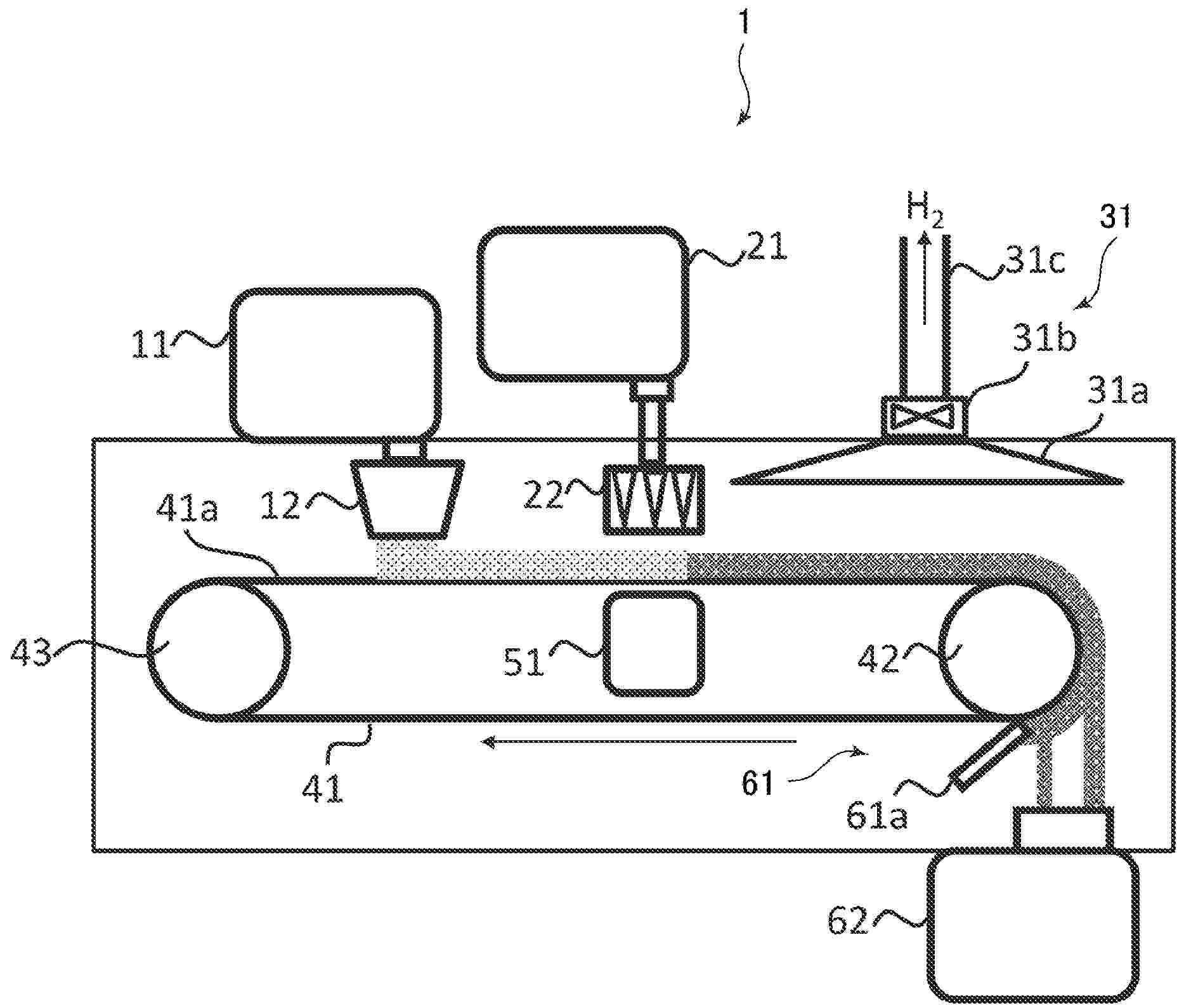
WATER ELECTROLYSIS SYSTEM AND METHOD FOR CONTROLLING SAME

NºPublicación:  EP4653581A1 26/11/2025
Solicitante: 
HITACHI LTD [JP]
Hitachi, Ltd
EP_4653581_PA

Resumen de: EP4653581A1

In a water electrolysis system, an AC-side connection end of a power converter is connected to an AC power grid, a series circuit constituted by at least one electrolysis stack and a circuit breaker connected to the at least one electrolysis stack is connected to a DC-side connection end of the power converter, a controller reduces the power flowing to the DC-side connection end before the electrolysis stack is isolated from the series circuit, while maintaining a speed at which the power converter reduces the power flowing to the DC-side connection end below a speed that allows a difference of an amplitude of a voltage of the AC power grid from a reference value to be less than a predetermined value, and when reaching a power level enabling disconnection of an internal DC circuit by the circuit breaker, disconnects the circuit breaker connected to the DC circuit and isolates the electrolysis stack from the series circuit.

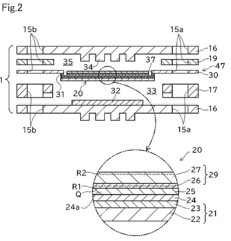
WATER ELECTROLYSIS STACK AND WATER ELECTROLYSIS SYSTEM

NºPublicación:  EP4653583A1 26/11/2025
Solicitante: 
TOYOTA MOTOR CO LTD [JP]
TOYOTA JIDOSHA KABUSHIKI KAISHA
EP_4653583_PA

Resumen de: EP4653583A1

Provided is a water electrolysis stack capable of improving durability. The water electrolysis stack includes a cell stack that is formed by stacking a plurality of water electrolysis cells, an inter-cell space is formed between each adjacent ones of the water electrolysis cells in the cell stack, and gas flows into the inter-cell spaces in water electrolysis.

HYDROGEN GENERATING DEVICE HAVING EXTRACTABLE FILTERING STRUCTURE

NºPublicación:  EP4653577A1 26/11/2025
Solicitante: 
LIN HSIN YUNG [TW]
Lin, Hsin-Yung
EP_4653577_PA

Resumen de: EP4653577A1

A hydrogen generator with detachable filter comprises a water tank, an electrolysis module configured in the water tank, a filter channel device coupled to the water tank, a humidifying module, vertically configured above the water tank, an integrated channel device vertically configured above the humidifying module, and a condenser configured on the integrated channel device. The electrolysis module is configured to electrolyze water contained in the water tank to generate gas comprising hydrogen. The humidifying module includes a humidifying chamber and a gas channel isolated from the humidifying chamber. The filtering device is arranged in the gas channel to receive and filter the gas comprising hydrogen generated by the electrolysis module. The condenser is configured to condense the gas comprising hydrogen outputted by the filtering device. The integrated channel device includes a gas input channel for guiding the gas comprising hydrogen outputted from the condenser into the humidifying chamber.

DEVICES, SYSTEMS, AND METHODS FOR ADMINISTERING HYDROGEN GAS

NºPublicación:  EP4651926A1 26/11/2025
Solicitante: 
H2 WATER TECH LTD [CA]
H2 Water Technologies Ltd
KR_20250156102_PA

Resumen de: MX2025008404A

The invention provides devices, systems, and methods for providing hydrogen gas mixtures to a subject. The invention allows hydrogen gas mixtures to be provided at a rate that does not restrict normal or even elevated breathing.

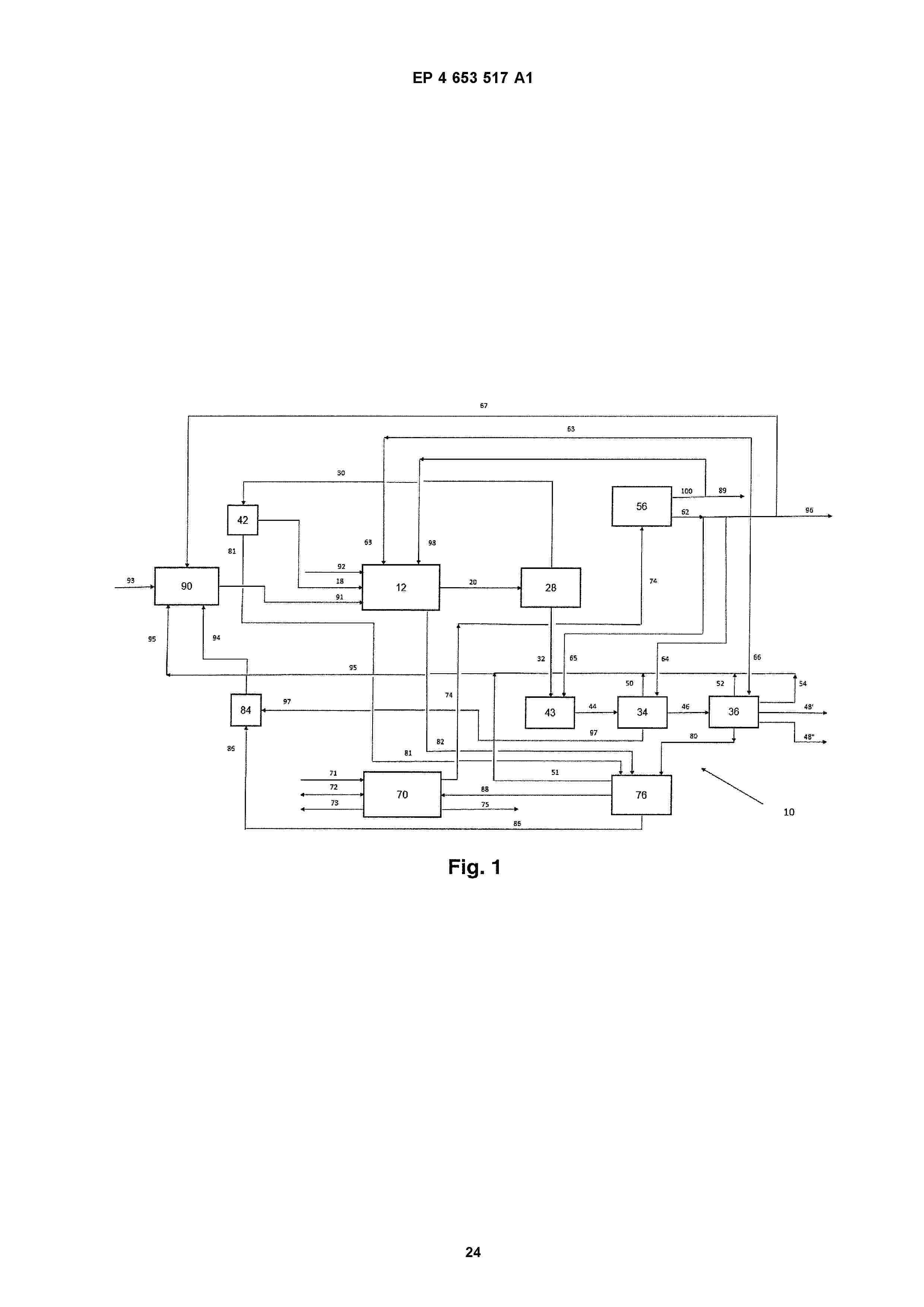
PLANT AND PROCESS COMPRISING AN AUTOTHERMAL REFORMER FOR THE PRODUCTION OF SYNTHETIC FUELS WITHOUT CARBON DIOXIDE EMISSION

NºPublicación:  EP4653517A1 26/11/2025
Solicitante: 
EDL ANLAGENBAU GMBH [DE]
EDL Anlagenbau Gesellschaft mbH
EP_4653517_A1

Resumen de: EP4653517A1

Eine Anlage zur Herstellung von synthetischen Kraftstoffen, insbesondere von Flugturbinenkraftstoff (Kerosin), Rohbenzin und/oder Diesel, umfasst:a) eine Synthesegasherstellungseinrichtung zur Herstellung eines Kohlenmonoxid, Wasserstoff und Kohlendioxid umfassenden Rohsynthesegases aus i) Kohlendioxid, ii) Wasser, iii) Methan und/oder Wasserstoff und iv) Sauerstoff, wobei die Synthesegasherstellungseinrichtung mindestens einen autothermen Reformer umfasst, wobei der mindestens eine autotherme Reformer mindestens eine Zufuhrleitung i) für Kohlendioxid, ii) für Wasser, iii) für Methan und/oder für Wasserstoff und iv) für Sauerstoff sowie eine Abfuhrleitung für Rohsynthesegas umfasst,b) eine Trenneinrichtung zur Abtrennung von Kohlendioxid aus dem in der Synthesegasherstellungseinrichtung hergestellten Rohsynthesegas mit einer Abfuhrleitung für Kohlendioxid und einer Abfuhrleitung für Synthesegas,c) eine Fischer-Tropsch-Einrichtung zur Herstellung von Kohlenwasserstoffen durch ein Fischer-Tropsch-Verfahren aus dem Synthesegas, aus dem in der Trenneinrichtung Kohlendioxid abgetrennt wurde,d) eine Raffinationseinrichtung zur Raffination der in der Fischer-Tropsch-Einrichtung hergestellten Kohlenwasserstoffe zu den synthetischen Kraftstoffen undei) eine Elektrolyseeinrichtung zur Auftrennung von Wasser in Wasserstoff und Sauerstoff umfasst, wobei die Elektrolyseeinrichtung eine Wasserzufuhrleitung, eine Sauerstoff- oder Luftabfuhrleitung und eine Wasserstoffabfuhrleitung a

HYDROGEN PLANT

NºPublicación:  EP4652307A1 26/11/2025
Solicitante: 
GREEN HYDROGEN SYSTEMS AS [DK]
Green Hydrogen Systems A/S
WO_2024153322_PA

Resumen de: WO2024153322A1

A hydrogen plant (1) comprising - an electrolysis unit (10) having a hydrogen outlet (11) and an oxygen outlet (12); and - at least one turboexpander unit (20) connected to the oxygen outlet (12); wherein the at least one turboexpander unit (20) is connected to power a unit of the hydrogen producing plant (1) through a mechanical drive (30) directly connected to an output shaft of the turboexpander (20).

固体酸化物電解セル用カソード材料、ならびにその調製方法およびその使用

NºPublicación:  JP2025538104A 26/11/2025
Solicitante: 
中国石油化工股▲ふん▼有限公司
JP_2025538104_PA

Resumen de: CN118028861A

The invention relates to the technical field of solid oxide electrolytic cells, and discloses a solid oxide electrolytic cell cathode material and a preparation method and application thereof. The molecular formula of the solid oxide electrolytic cell cathode material is La < 0.6 > Sr < 0.4 > Fe < 0.8 > Cu < x > Ni < y > O < 3-delta >, x is greater than or equal to 0.01 and less than or equal to 0.2, y is greater than or equal to 0.01 and less than or equal to 0.2, and x + y is equal to 0.2. According to the electrolytic tank prepared by using the cathode material, the raw material CO2 or H2O can be efficiently converted into synthesis gas through electrochemical catalysis, continuous and stable electrolysis operation on high-temperature water vapor or carbon dioxide can be realized under the conditions that the temperature is 800 DEG C and the electrolysis current density is 0.5 A/cm < 2 > or above, and the cathode material has a relatively good industrial application prospect.

アンモニア分解反応用金属複合触媒及びその製造方法

NºPublicación:  JP2025538136A 26/11/2025
Solicitante: 
コリアインスティテュートオブエナジーリサーチ
JP_2025538136_PA

Resumen de: KR20240063313A

One embodiment of the present invention provides a metal composite catalyst for an ammonia decomposition reaction, which comprises: a metal-containing support; and metal nanoparticles dispersed on the surface of the metal-containing support or inside pores, wherein the particle diameter of the metal nanoparticles is 1.5 to 7 nm. more specifically, the metal composite catalyst according to one embodiment of the present invention is manufactured by a polyol process, and can exhibit a great advantage in ammonia decomposition efficiency.

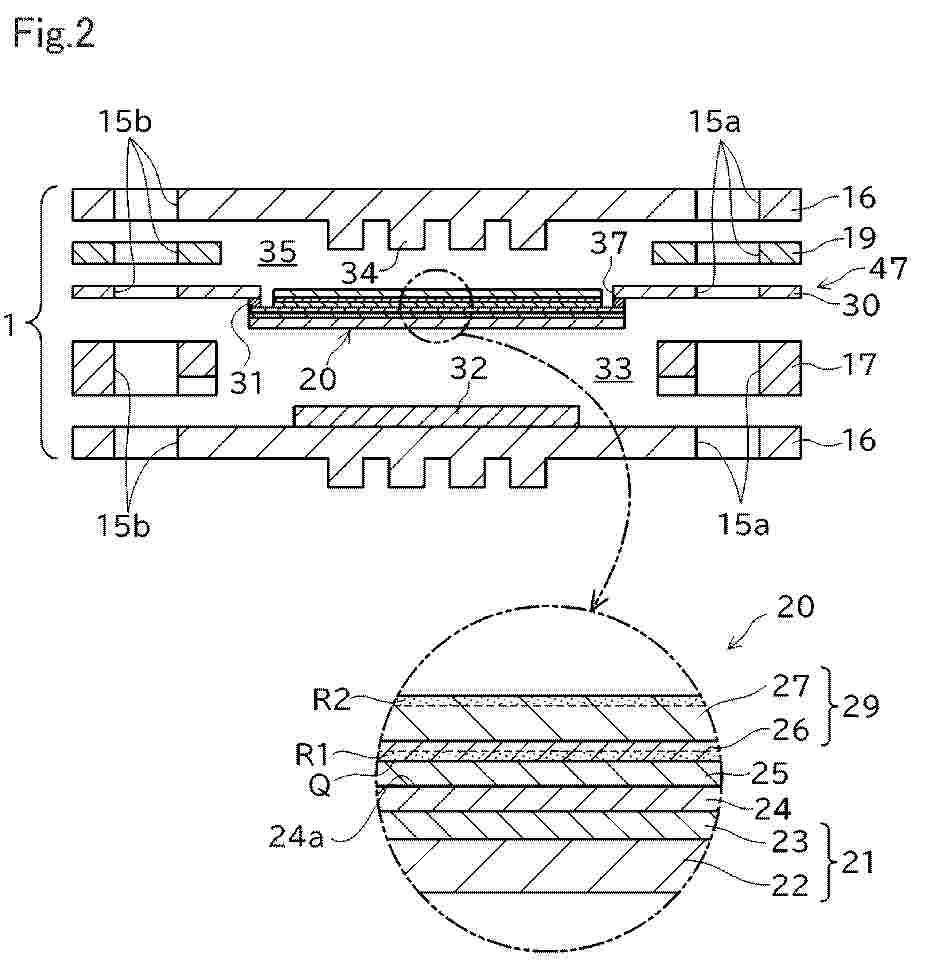
電気化学反応装置の製造方法及び電気化学反応装置

NºPublicación:  JP2025172614A 26/11/2025
Solicitante: 
株式会社デンソー
JP_2025172614_PA

Resumen de: WO2025239002A1

Provided is a method for manufacturing an electrochemical reaction device (1) comprising: an electrochemical cell (2) that includes an electrolyte layer (20), a first electrode (21), and a second electrode (22); a frame (3) that includes a support section (31) and a frame body section (32); and a sealing plate (4) that hermetically separates a second space (122) and an outer peripheral cavity (11) from each other. The sealing plate (4) includes an outer peripheral plate section (42), an inner peripheral plate section (41), and a coupling section (43). The coupling section (43) includes a flexed section (430) flexed so as to protrude in a normal direction Z of the electrolyte layer (20). When forming the flexed section (430), the sealing plate (4), in which the flexed section (430) has not yet been formed, is fixed to the electrochemical cell (2) and the frame (3), and then a buckling step is performed for causing the coupling section (43) to buckle so as to form the flexed section (430) by causing a volume change of at least one of the electrochemical cell (2), the frame (3), or the sealing plate (4).

HYDROGEN PRODUCTION SYSTEM AND METHOD FOR OPERATING HYDROGEN PRODUCTION SYSTEM

NºPublicación:  EP4653579A1 26/11/2025
Solicitante: 
MITSUBISHI HEAVY IND LTD [JP]
Mitsubishi Heavy Industries, Ltd
EP_4653579_PA

Resumen de: EP4653579A1

A hydrogen production system is provided with: a solid oxide electrolysis cell (SOEC) for electrolyzing water vapor; a power supply device for applying a voltage equal to or higher than a thermoneutral voltage to the SOEC; and a water vapor generation device for generating at least part of the water vapor supplied to the SOEC by heating water using surplus heat of the SOEC.

电化学系统和电解器

NºPublicación:  CN121006561A 25/11/2025
Solicitante: 
罗伯特·博世有限公司
CN_121006561_PA

Resumen de: DE102024204777A1

Elektrochemisches System mit einem elektrochemischen Stack (1), wobei der Stack (1) einen Einlass (201; 301) aufweist, über den eine Flüssigkeit eingeleitet werden kann, und einen Auslass (202; 302), über den eine Flüssigkeit ausgeleitet werden kann. Der Einlass (201; 301) ist mit einem ersten Flüssigkeitsbehälter (25) verbindbar und der Auslass (202; 302) mit einem zweiten Flüssigkeitsbehälter (32).

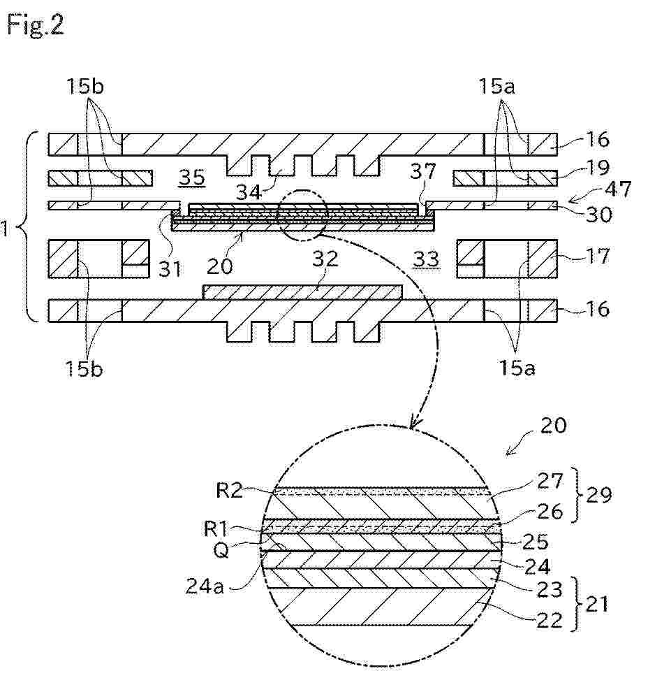
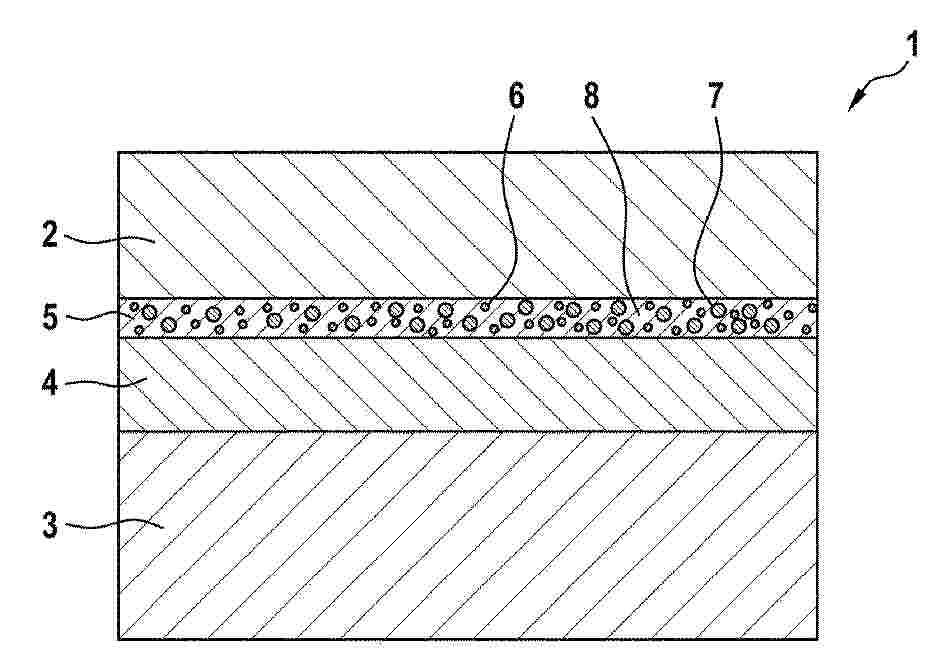
膜电极组件和水电解槽

Nº publicación: CN121013925A 25/11/2025

Solicitante:

格林纳瑞缇有限公司

CN_121013925_PA

Resumen de: WO2024200434A1

The invention relates to a membrane electrode assembly (1) for a water electrolysis cell, comprising an anode (2), a cathode (3) and a hydrocarbon membrane lying between the anode (2) and the cathode (3), further comprising a first gas recombination layer (5) which is arranged between the anode (2) and the hydrocarbon membrane (4), wherein the first gas recombination layer (5) comprises a noble metal (6), a ceramic material (7) and a proton-conductive polymer (8), and wherein a volume portion of proton-conductive polymer (8) is 24 to 84 volume %, in particular 35 to 75 volume % and in particular 46 to 65 volume %, based on the total volume of the gas recombination layer (5).

traducir