Ministerio de Industria, Turismo y Comercio LogoMinisterior
 

Alerta

Resultados 523 resultados
LastUpdate Última actualización 15/12/2025 [06:57:00]
pdfxls
Publicaciones de solicitudes de patente de los últimos 60 días/Applications published in the last 60 days
previousPage Resultados 100 a 125 de 523 nextPage  

アルカリアニオン交換ブレンド膜

NºPublicación:  JP2025538627A 28/11/2025
Solicitante: 
ビーエーエスエフソシエタス・ヨーロピア
JP_2025538627_A

Resumen de: CN120322494A

The present invention relates to a basic anion exchange membrane precursor (pAAEM) comprising a blend of at least one first polymer (P1) comprising recurring units derived from acrylonitrile and at least one second polymer (P2) comprising recurring units derived from vinyl lactam; and to an alkaline anion exchange membrane (AAEM) obtained therefrom.

ELECTROCHEMICAL HYDROGEN PUMPING COUPLED WITH CATALYTIC MEMBRANE REACTOR AND ITS APPLICATIONS

NºPublicación:  WO2025245447A1 27/11/2025
Solicitante: 
MASSACHUSETTS INSTITUTE OF TECH [US]
MASSACHUSETTS INSTITUTE OF TECHNOLOGY
WO_2025245447_A1

Resumen de: WO2025245447A1

Disclosed is a method of dehydrogenation of hydrogen-containing compounds in a reactor comprising a catalytic chamber, an electrochemical chamber, and an H-conductive membrane, comprising dehydrogenating the hydrogen-containing compound to produce hydrogen atom equivalents and oxidizing the hydrogen atom equivalents on the anodic H-conductive membrane. The reaction between the protons and a molten electrolyte in the electrochemical chamber generates water, which is decomposed on a counter electrode producing hydrogen. The hydrogen can be used in hydrogenation reactions. Also disclosed is a method of reducing a substrate, for example, a substrate dissolved or dispersed in the molten electrolyte.

ELECTROLYZER

NºPublicación:  AU2024291248A1 27/11/2025
Solicitante: 
IND DE NORA S P A
INDUSTRIE DE NORA S.P.A
AU_2024291248_PA

Resumen de: AU2024291248A1

The present invention refers to an electrolyzer (1) for the production of hydrogen from an alkaline electrolyte. The electrolyzer (1) comprises a first header (11) and a second header (12) between which a plurality of elementary cells (20) and a plurality of bipolar plates (5, 5', 5'') are stacked. Each bipolar plate (5) separates two adjacent elementary cells. According to the invention, each of said bipolar plates (5, 5',5'') comprises two plate-form components (5A, 5B) coupled together and configured so as to define one or more inner cavities (66) for the circulation of a cooling fluid. Furthermore, each bipolar plate (5, 5', 5'') comprises an inlet section (SI) and an outlet section (SV) respectively for the inlet and outlet of said cooling fluid in said one or more inner cavities (66).

OXYGEN GENERATING ELECTRODE AND WATER ELECTROLYSIS METHOD

NºPublicación:  WO2025243929A1 27/11/2025
Solicitante: 
TOSOH CORP [JP]
RIKEN [JP]
\u6771\u30BD\u30FC\u682A\u5F0F\u4F1A\u793E,
\u56FD\u7ACB\u7814\u7A76\u958B\u767A\u6CD5\u4EBA\u7406\u5316\u5B66\u7814\u7A76\u6240
WO_2025243929_A1

Resumen de: WO2025243929A1

Provided is: an oxygen generating electrode in which a high electrolytic current density can be obtained even with a content of a noble metal within a certain range, the oxygen generating electrode comprising a catalyst containing an iridium-containing manganese oxide combined with a conductive base material containing platinum; and/or a water electrolysis method using the electrode. The oxygen generating electrode comprises a conductive base material and a catalyst containing an iridium-containing manganese oxide. The conductive base material contains platinum, the total of the amount of iridium per geometric area of the oxygen generating electrode and the amount of platinum per geometric area of the oxygen generating electrode is above 0.1 mg/cm2 and 6.1 mg/cm2 or less, and the ratio of the amount of platinum per geometric area of the oxygen generating electrode to the amount of iridium per geometric area of the oxygen generating electrode is 1 or more and less than 600.

ALKALINE ELECTROLYZER

NºPublicación:  WO2025244527A1 27/11/2025
Solicitante: 
AVOXT B V [NL]
AVOXT B.V
WO_2025244527_PA

Resumen de: WO2025244527A1

The invention is directed to a method and electrolytic cell for electrolysis of an alkaline aqueous solution. The method comprises the steps of: - providing an electrolyte (1) chamber comprising an alkaline aqueous solution; - providing a first electrode stack and a second electrode stack, both of which are in fluid contact with the alkaline aqueous solution in the electrolyte chamber and comprise a permeable electrode layer comprising catalytically active electrode material (6, 7), and a permeable non-catalytic layer (8) placed on a first face of the electrode layer facing the electrolyte chamber; - applying a potential difference between the electrode layer of the first electrode stack and the electrode layer of the second electrode stack; - flowing the alkaline aqueous solution from the electrolyte chamber through the first and second electrode stack, thereby causing an oxidation reaction at the electrode layer of one of the electrode stacks and causing a reduction reaction at the electrode layer of the other electrode stack; wherein each non-catalytic layer has a permeability of 1.0 × 10-7 m2 or lower, and/or wherein the flow velocity through the first and second electrode stack is 1.0 × 10-4 m/s or lower.

PLANT AND PROCESS COMPRISING AN AUTOTHERMAL REFORMER FOR PRODUCING SYNTHETIC FUELS WITHOUT EMITTING CARBON DIOXIDE

NºPublicación:  WO2025242614A1 27/11/2025
Solicitante: 
EDL ANLAGENBAU GMBH [DE]
EDL ANLAGENBAU GESELLSCHAFT MBH
WO_2025242614_PA

Resumen de: WO2025242614A1

A plant for producing synthetic fuels, in particular aviation turbine fuel (kerosene), crude gasoline and/or diesel, comprises: • a) a synthesis gas production device for production of a crude synthesis gas comprising carbon monoxide, hydrogen and carbon dioxide from i) carbon dioxide, ii) water, iii) methane and/or hydrogen and iv) oxygen, wherein the synthesis gas production device comprises at least one autothermal reformer, wherein the at least one autothermal reformer comprises at least one feed conduit i) for carbon dioxide, ii) for water, iii) for methane and/or for hydrogen and iv) for oxygen, and a discharge conduit for crude synthesis gas, • b) a separation device for separation of carbon dioxide from the crude synthesis gas produced in the synthesis gas production device, having a discharge conduit for carbon dioxide and a discharge conduit for synthesis gas, • c) a Fischer-Tropsch device for production of hydrocarbons by a Fischer-Tropsch process from the synthesis gas from which carbon dioxide has been separated in the separation device, • d) a refining device for refining the hydrocarbons produced in the Fischer-Tropsch device to give the synthetic fuels and e1) an electrolysis device for separating water into hydrogen and oxygen and/or e2) a methane-steam reformer which is electrically heated by induction and comprises at least one feed conduit for methane, for water and for hydrogen, and a discharge conduit for crude synthesis gas, and the plant furthe

Elektrochemisches System und Elektrolyseur

NºPublicación:  DE102024204777A1 27/11/2025
Solicitante: 
BOSCH GMBH ROBERT [DE]
Robert Bosch Gesellschaft mit beschr\u00E4nkter Haftung
DE_102024204777_PA

Resumen de: DE102024204777A1

Elektrochemisches System mit einem elektrochemischen Stack (1), wobei der Stack (1) einen Einlass (201; 301) aufweist, über den eine Flüssigkeit eingeleitet werden kann, und einen Auslass (202; 302), über den eine Flüssigkeit ausgeleitet werden kann. Der Einlass (201; 301) ist mit einem ersten Flüssigkeitsbehälter (25) verbindbar und der Auslass (202; 302) mit einem zweiten Flüssigkeitsbehälter (32).

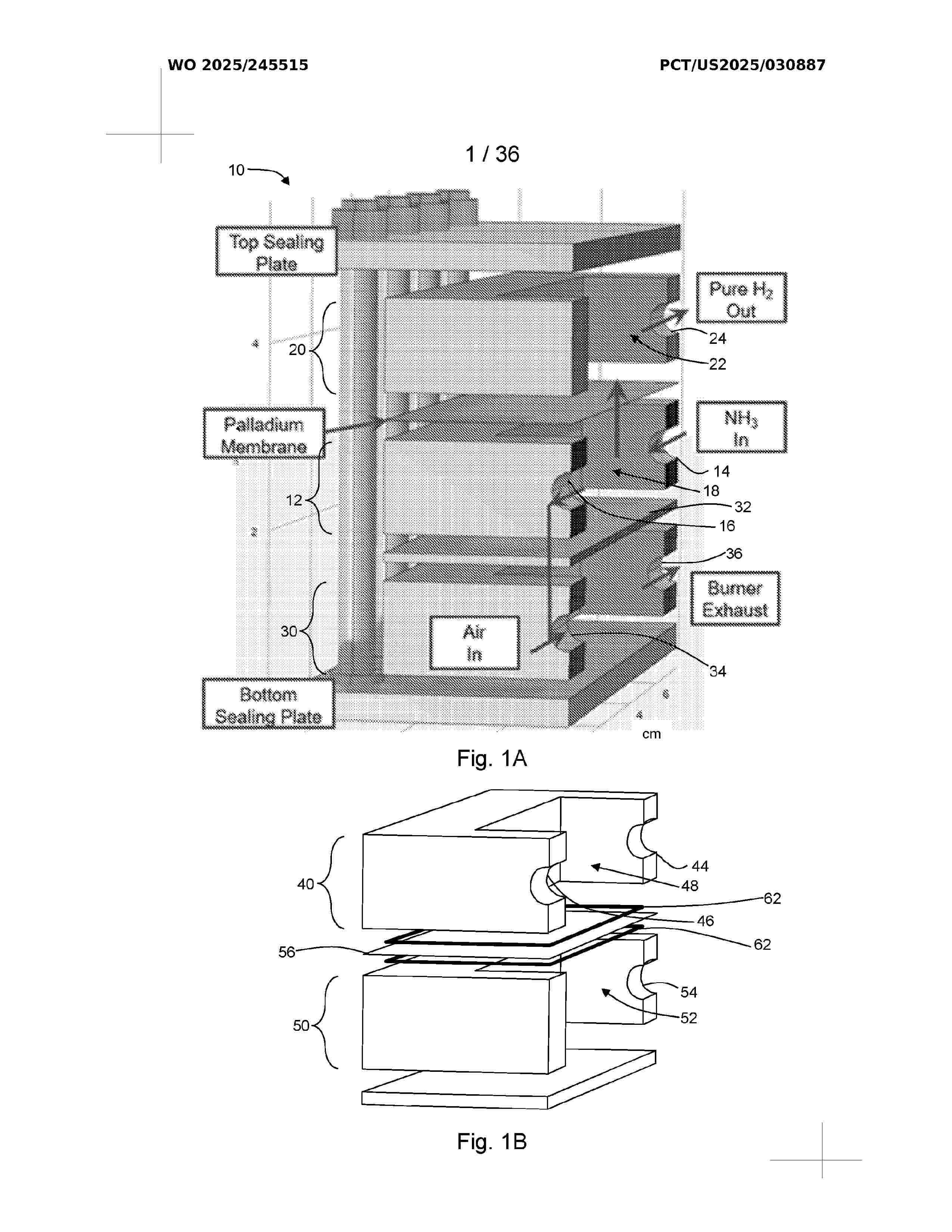
METHODS AND SYSTEMS FOR HYDROGEN PRODUCTION

NºPublicación:  WO2025245515A1 27/11/2025
Solicitante: 
UNIV NEW YORK STATE RES FOUND [US]
THE RESEARCH FOUNDATION FOR THE STATE UNIVERSITY OF NEW YORK
WO_2025245515_A1

Resumen de: WO2025245515A1

A portable device for generating hydrogen from ammonia includes a first reactor layer having an ammonia inlet a retentate port, and a chamber containing an ammonia decomposition catalyst. A first gas-collecting layer has a manifold with a hydrogen outlet. A first hydrogen-selective membrane is disposed between the first reactor layer and the first gas-collecting layer. In this way, hydrogen gas generated in the chamber of the first reactor layer will permeate through the hydrogen-selective membrane into the manifold of the first gas-collecting layer. A burner layer is adjacent to the first reactor layer and separated from the chamber by a first conduction plate. The burner layer includes an intake port and an exhaust port. The intake port is in fluid connection with the retentate port of the first reactor layer.

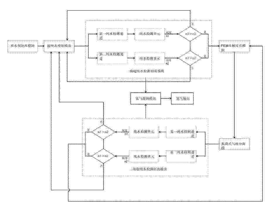
METHOD AND SYSTEM FOR HYDROGEN PRODUCTION FROM ORGANIC WASTEWATER WITH CO-PRODUCTION OF FRESHWATER AND COMPLEX CARBON SOURCE

NºPublicación:  WO2025241834A1 27/11/2025
Solicitante: 
DALIAN INST OF CHEMICAL PHYSICS CHINESE ACADEMY OF SCIENCES [CN]
\u4E2D\u56FD\u79D1\u5B66\u9662\u5927\u8FDE\u5316\u5B66\u7269\u7406\u7814\u7A76\u6240
WO_2025241834_PA

Resumen de: WO2025241834A1

The present invention relates to a method and system for hydrogen production from organic wastewater with co-production of freshwater and a complex carbon source. The system of the present invention comprises an organic-wastewater guiding-out unit, an oxidation treatment unit, and a water electrolysis and low-temperature distillation coupled integrated system, wherein the water electrolysis and low-temperature distillation coupled integrated system comprises an alkaline electrolytic cell unit, an oxygen separation and cooling unit, a hydrogen separation and cooling unit, a hydrogen purification and cooling unit, an alkaline-solution filtration and circulation unit and a wastewater-to-freshwater unit; the organic-wastewater guiding-out unit is used for supplying wastewater into the oxidation treatment unit; the oxidation treatment unit treats the wastewater into wastewater containing carboxylic acid or carboxylate, and the oxidation treatment unit is connected to the wastewater-to-freshwater unit; the wastewater-to-freshwater unit is used for producing freshwater and a complex carbon source; and an output end of the wastewater-to-freshwater unit is connected to the alkaline electrolytic cell unit, and freshwater in the alkaline electrolytic cell unit is decomposed into hydrogen and oxygen under the action of a direct current. The present invention involves a short technological process, occupies a small area and achieves a high product value and resource utilization of wastewa

METHOD AND SYSTEM FOR HYDROGEN PRODUCTION FROM CHEMICAL WASTEWATER WITH CO-PRODUCTION OF FRESHWATER

NºPublicación:  WO2025241835A1 27/11/2025
Solicitante: 
DALIAN INST OF CHEMICAL PHYSICS CHINESE ACADEMY OF SCIENCES [CN]
\u4E2D\u56FD\u79D1\u5B66\u9662\u5927\u8FDE\u5316\u5B66\u7269\u7406\u7814\u7A76\u6240
WO_2025241835_PA

Resumen de: WO2025241835A1

The present invention relates to a method and system for hydrogen production from chemical wastewater with co-production of freshwater. The system of the present invention comprises a wastewater guiding-out unit and a water electrolysis and low-temperature distillation coupled integrated system, wherein the water electrolysis and low-temperature distillation coupled integrated system comprises an alkaline electrolytic cell unit, an oxygen separation and cooling unit, a hydrogen separation and cooling unit, a hydrogen purification and cooling unit, an alkaline-solution filtration and circulation unit and a wastewater-to-freshwater unit; the wastewater guiding-out unit is used for supplying wastewater into the water electrolysis and low-temperature distillation coupled integrated system; the wastewater-to-freshwater unit is used for heating the wastewater into steam, removing purities from the steam and then condensing the steam to produce freshwater; and an output end of the wastewater-to-freshwater unit is connected to the alkaline electrolytic cell unit, and freshwater in the alkaline electrolytic cell unit is decomposed into hydrogen and oxygen under the action of a direct current. The present invention involves a short technological process and occupies a small area, the quality of produced freshwater is much better than that of conventional wastewater that meets discharge standards, and the resource utilization of chemical wastewater is achieved.

SYSTEM AND METHOD FOR HYDROGEN PRODUCTION BY MEANS OF DECOMPOSITION USING ARRAY PLASMA

NºPublicación:  WO2025241418A1 27/11/2025
Solicitante: 
JIANGSU UNIV [CN]
\u6C5F\u82CF\u5927\u5B66
WO_2025241418_PA

Resumen de: WO2025241418A1

A system and method for hydrogen production by means of decomposition using array plasma. The system comprises a reactor group, a high-voltage power supply (3), a waste-liquid recovery device (8), a raw-material reservoir group, a filter (13), a membrane separator (14), a waste-gas recovery device (15) and a hydrogen collector (16), wherein reactors (1, 2) are each internally provided with an array electrode and a ring electrode (20), and the array electrode comprises a plurality of high-voltage electrodes (17) arranged in an array; each high-voltage electrode (17) comprises an insulating sleeve (27) and a metal pin electrode (28); the insulating sleeve (27) is sleeved outside the metal pin electrode (28); and the upper end of the insulating sleeve (27) is provided with a porous medium (29) having catalytic properties. The array electrodes are arranged in the reactors (1, 2), and the porous mediums (29) having catalytic properties are coupled to the tips of the array electrodes, thereby achieving a synergistic enhancement effect of catalysts and plasma, and improving hydrogen selectivity and the energy utilization efficiency of the plasma; and a liquid phase discharges by means of a strong electric field to generate plasma, thereby prompting a liquid fuel to rapidly decompose so as to produce hydrogen.

LAMINATE FOR WATER ELECTROLYSIS DEVICE, MEMBRANE ELECTRODE ASSEMBLY FOR WATER ELECTROLYSIS DEVICE, AND WATER ELECTROLYSIS DEVICE

NºPublicación:  US2025361629A1 27/11/2025
Solicitante: 
TOPPAN HOLDINGS INC [JP]
TOPPAN Holdings Inc
US_2025361629_PA

Resumen de: US2025361629A1

A laminate for a water electrolysis device includes a polymer electrolyte membrane and an electrode catalyst layer provided on one surface of the polymer electrolyte membrane. The electrode catalyst layer includes a catalyst, a polymer electrolyte, and a fibrous material. A membrane electrode assembly for a water electrolysis device includes the laminate for a water electrolysis device and a second electrode catalyst layer, and includes an electrode catalyst layer, a polymer electrolyte membrane, and a second electrode catalyst layer in this order.

A METHOD FOR COATING A COMPONENT OF AN ELECTROLYSER

NºPublicación:  US2025361621A1 27/11/2025
Solicitante: 
OORT ENERGY LTD [GB]
Oort Energy Ltd
US_2025361621_PA

Resumen de: US2025361621A1

A method of coating a component of an electrolyser is provided. The method comprises applying an acidic solution of platinum cations to at least a portion of the component and reducing the applied platinum cations with a reducing agent to form a layer of platinum metal on the component.

ELECTROLYSIS DEVICE

NºPublicación:  US2025361626A1 27/11/2025
Solicitante: 
HONDA MOTOR CO LTD [JP]
HONDA MOTOR CO., LTD
US_2025361626_PA

Resumen de: US2025361626A1

An electrolysis device includes a water electrolysis stack configured to electrolyze water, a gas-liquid separator configured to separate hydrogen gas from water discharged from the water electrolysis stack, and a hydrogen compression stack configured to compress the hydrogen gas separated by the gas-liquid separator. The gas-liquid separator includes a storage tank configured to store water, and a maximum storage water level that is a maximum value of a water level that can be allowed in the storage tank is predetermined, and the hydrogen compression stack is located above the maximum storage water level.

METHANE SYNTHESIS SYSTEM

NºPublicación:  US2025361637A1 27/11/2025
Solicitante: 
MITSUBISHI ELECTRIC CORP [JP]
Mitsubishi Electric Corporation
US_2025361637_PA

Resumen de: US2025361637A1

A methane synthesis system according to the present disclosure includes: a co-electrolysis part that obtains hydrogen and carbon monoxide by electrolyzing water and carbon dioxide, a methanation reaction part that obtains a product gas containing methane by a methanation reaction that uses the hydrogen and the carbon monoxide, and a cooler having a distribution channel in which a refrigerant capable of phase transition, is distributed. The cooler cools the methanation reaction part using heat of vaporization from vaporizing at least a portion of the refrigerant on an inside of the distribution channel.

PORE FILLING MEMBRANE, FUEL CELL, AND ELECTROLYSIS DEVICE

NºPublicación:  US2025361634A1 27/11/2025
Solicitante: 
NIPPON KAYAKU KK [JP]
INST OF SCIENCE TOKYO [JP]
Nippon Kayaku Kabushiki Kaisha,
INSTITUTE OF SCIENCE TOKYO
US_2025361634_PA

Resumen de: US2025361634A1

A pore-filling membrane having excellent chemical durability and mechanical strength, a fuel cell including the pore-filling membrane and having excellent durability, and an electrolysis device are provided. The pore-filling membrane has a porous base material and a polyarylene polymer, in which the polyarylene polymer is filled into pores of the porous base material.

TRANSITION METAL-DOPED OXIDE NANOPARTICLES GROWN ON NICKEL FOAM FOR ELECTROCHEMICAL GENERATION OF HYDROGEN

NºPublicación:  US2025361631A1 27/11/2025
Solicitante: 
KING FAHD UNIV OF PETROLEUM AND MINERALS [SA]
KING FAHD UNIVERSITY OF PETROLEUM AND MINERALS
US_2025361631_PA

Resumen de: US2025361631A1

A method of generating hydrogen using an electrocatalyst including NiMoxCo2-xO4 nanoparticles deposited on a nickel foam substrate, where x>0 and x≤0.06. A first portion of the NiMoxCo2-xO4 nanoparticles have a nano-needle morphology, where the nano-needles assemble to form a sphere in which the nano-needles project horizontally from the sphere, and the sphere has an average diameter of 1-5 micrometers (μm).

CONTROL DEVICE FOR ELECTROLYSIS SYSTEM AND ELECTROLYSIS SYSTEM

NºPublicación:  US2025361635A1 27/11/2025
Solicitante: 
HONDA MOTOR CO LTD [JP]
HONDA MOTOR CO., LTD
US_2025361635_PA

Resumen de: US2025361635A1

A control device for an electrolysis system includes a deterioration prediction unit that predicts a degree of deterioration of each of a water electrolysis stack and a compression stack, and a supplied electrical current control unit that controls an electrical current that is supplied to the water electrolysis stack and an electrical current that is supplied to the compression stack, wherein the supplied electrical current control unit controls the electrical current that is supplied to the stack having a larger degree of deterioration from among the water electrolysis stack and the compression stack to be constant, and adaptively controls the electrical current that is supplied to the stack having a smaller degree of deterioration from among the water electrolysis stack and the compression stack.

ELECTROLYZER HAVING AN ANODE-SIDE CATALYST AND RELATED METHODS

NºPublicación:  US2025361630A1 27/11/2025
Solicitante: 
GEORGIA TECH RES CORPORATION [US]
Georgia Tech Research Corporation
US_2025361630_PA

Resumen de: US2025361630A1

An electrolyzer system includes a cathode comprising a cathode catalyst: an anode comprising an anode catalyst configured to promote oxidation of water: and a proton exchange membrane (PEM) between the cathode and the anode, wherein the cathode, anode, and proton exchange membrane are configured such that water at the anode reacts to form oxygen and positively charged hydrogen ions, and the positively charged ions react at the cathode to form hydrogen (H2): wherein the catalyst comprises a Y2Ru2O7—NaBH4 catalyst.

PROCESS AND SYSTEM FOR GENERATING HYDROGEN

NºPublicación:  US2025361467A1 27/11/2025
Solicitante: 
HYDROBE PTY LTD [AU]
Hydrobe Pty Ltd
US_2025361467_PA

Resumen de: US2025361467A1

Disclosed is a process and system for generating hydrogen from carbon dioxide. The process and system for generating a hydrogen gas stream from a carbon dioxide gas stream comprises converting a first waste carbon dioxide gas stream to an organic feedstock using an algal source in a photosynthesis step. The organic feedstock is then converted using an organism to the hydrogen gas stream and gaseous by-products in a biodecomposition step. The generated hydrogen gas may then be collected.

RENEWABLE ENERGY FUELED INDUSTRIAL PLANTS WITH INTEGRATED CARBON CAPTURE

NºPublicación:  US2025361178A1 27/11/2025
Solicitante: 
TATA CONSULTANCY SERVICES LTD [IN]
TATA CONSULTANCY SERVICES LIMITED
US_2025361178_PA

Resumen de: US2025361178A1

Providing an implementable renewable fuel gas plant processes with management of greenhouse gases with minimal changes to existing plant set ups is a technical challenge to be addressed. Embodiments herein provide a system for renewable fuel gas generation and utilization in industrial plants with carbon dioxide as heat carrier. The system design integrates renewable fuel gas (H2) which is generated within the system and utilized to meet the thermal energy requirements of the production process. CO2 produced as byproduct of calcination in a process equipment, such as during calcination in cement plant is used as a heat-transferring medium to heat the H2. Further, the system provides recycling of the generated byproducts by separating the exhaust gases, comprised of CO2 and H2O. The H2O is recycled to generate H2 via electrolysis. The separated CO2 again serves as a heat-transferring medium, while the excess CO2 is sequestrated.

SYSTEMS AND METHODS FOR CONTROLLING A POWER-TO-X PROCESS TO REDUCE FEEDSTOCK COSTS

NºPublicación:  US2025360480A1 27/11/2025
Solicitante: 
INFINIUM TECH LLC [US]
Infinium Technology, LLC
US_2025360480_PA

Resumen de: US2025360480A1

Provided herein are systems and methods for controlling production of low-carbon liquid fuels and chemicals. In an aspect, provided herein is a method controlling a process that produces e-fuels. In another aspect, provided herein is a system for producing an e-fuel.

HYDROGEN GENERATING DEVICE PROVIDED WITH SOUND INSULATION COVER AND HYDROGEN GENERATING DEVICE PROVIDED WITH NOVEL POWER MODULE

NºPublicación:  AU2024270923A1 27/11/2025
Solicitante: 
LIN HSIN YUNG
LIN, Hsin-Yung
AU_2024270923_PA

Resumen de: AU2024270923A1

A hydrogen generating device provided with a sound insulation cover and a hydrogen generating device provided with a novel power module. The hydrogen generating device comprises a water tank, an electrolytic cell, a humidifier, a refining device, and a sound insulation cover; the water tank is used for containing electrolyzed water; the electrolytic cell is arranged in the water tank and is used for electrolyzing water to generate hydrogen-containing gas; the humidifier is provided with a humidifying chamber for containing supplementary water; the refining device is arranged in the humidifier and is used for refining the hydrogen-containing gas; the sound insulation cover is arranged in the humidifier and is provided with a sound insulation cavity, a connecting tube connecting the water tank and the refining device, and a gas outlet hole; the hydrogen-containing gas passes through the connecting tube and the refining device and flows into the supplementary water in the sound insulation cavity, and then the hydrogen-containing gas flows into the humidifying chamber through the gas outlet hole. Thus, according to the present invention, sound generated when the hydrogen-containing gas flows in the device can be insulated by means of the sound insulation cover, so as to improve the experience effect, and heat dissipation can be effectively carried out on a circuit board, thereby improving the operation efficiency.

ELECTROLYSIS-INDUCED-BUBBLE-BASED CARBON DIOXIDE GAS SENSORS

NºPublicación:  WO2025245064A1 27/11/2025
Solicitante: 
UNIV OF UTAH RESEARCH FOUNDATION [US]
UNIVERSITY OF UTAH RESEARCH FOUNDATION
WO_2025245064_PA

Resumen de: WO2025245064A1

An example carbon dioxide sensor (100) can include a channel (110) capable of containing water having carbon dioxide dissolved therein. A pair of electrodes (130, 132) can be positioned to contact the water. A voltage source (140) can be connected to the pair of electrodes and operable to supply sufficient voltage to convert a portion of the water to hydrogen gas and oxygen gas by electrolysis to form at least one gas bubble (150, 152) in the channel. A bubble size sensor (160) can be operable to measure a size change over time of the at least one gas bubble in the channel.

HYDROGEN PLANT

Nº publicación: EP4652307A1 26/11/2025

Solicitante:

GREEN HYDROGEN SYSTEMS AS [DK]
Green Hydrogen Systems A/S

WO_2024153322_PA

Resumen de: WO2024153322A1

A hydrogen plant (1) comprising - an electrolysis unit (10) having a hydrogen outlet (11) and an oxygen outlet (12); and - at least one turboexpander unit (20) connected to the oxygen outlet (12); wherein the at least one turboexpander unit (20) is connected to power a unit of the hydrogen producing plant (1) through a mechanical drive (30) directly connected to an output shaft of the turboexpander (20).

traducir