Ministerio de Industria, Turismo y Comercio LogoMinisterior
 

Alerta

Resultados 993 resultados
LastUpdate Última actualización 14/03/2026 [07:00:00]
pdfxls
Publicaciones de solicitudes de patente de los últimos 60 días/Applications published in the last 60 days
previousPage Resultados 75 a 100 de 993 nextPage  

Hydrogen Gas Production Assembly and Method for Production of Hydrogen Gas

NºPublicación:  US20260055522A1 26/02/2026
Solicitante: 
RSJ OOSM B V [NL]
RSJ Oosm B.V
US_20260055522_PA

Resumen de: US20260055522A1

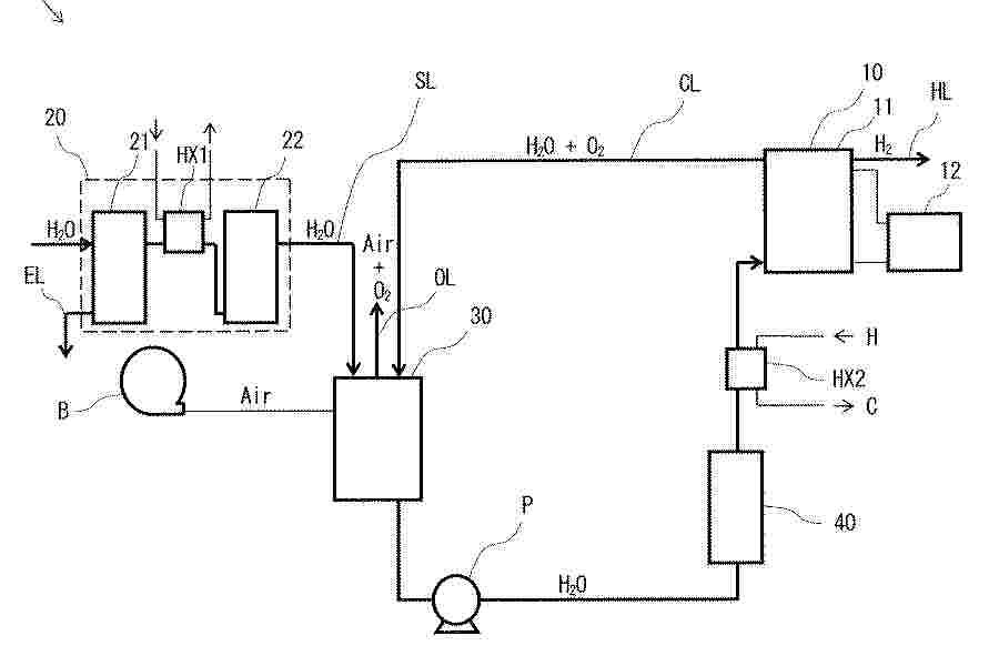
Provided herein is a hydrogen gas production assembly includes a hydrogen gas production device, a container including an aqueous electrolyte solution, a storage container for storing produced hydrogen gas an input providing the aqueous electrolyte solution from the container to the hydrogen gas production device and an output for transferring produced hydrogen gas from the hydrogen gas production device to the storage container.

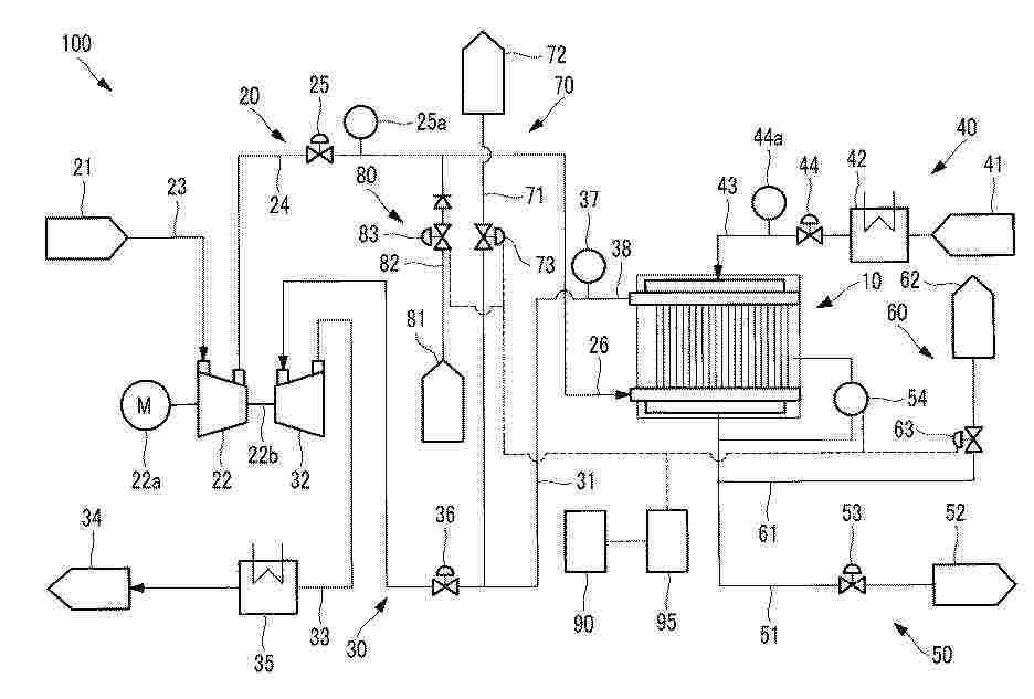
ELECTROLYSIS APPARATUS OPERATION SYSTEM

NºPublicación:  US20260055519A1 26/02/2026
Solicitante: 
DENSO CORP [JP]
DENSO CORPORATION
US_20260055519_PA

Resumen de: US20260055519A1

An electrolysis apparatus operation system includes an electrolysis apparatus, a control unit, a target state-of-health value input unit, and a control parameter calculating unit. The electrolysis apparatus has a plurality of electrolytic stacks in which a plurality of electrolytic cells that produce hydrogen by electrolyzing water are stacked. The control unit controls a controlled subject based on a control parameter that affects state-of-health of the controlled subject. The target state-of-health value input unit allows a system user to input a target state-of-health value that is a target value for state-of-health. The control parameter calculating unit calculates a control parameter of the controlled subject based on the target state-of-health value. The controlled subject is the electrolysis apparatus.

ELECTROCHEMICAL HYDROGEN PRODUCTION UTILIZING AMMONIA WITH OXIDANT INJECTION

NºPublicación:  US20260055518A1 26/02/2026
Solicitante: 
UTILITY GLOBAL INC [US]
Utility Global, Inc
US_20260055518_PA

Resumen de: US20260055518A1

Herein discussed is a method of producing hydrogen comprising: (a) providing an electrochemical reactor having an anode, a cathode, and a membrane between the anode and the cathode, wherein the membrane is both electronically conducting and ionically conducting; (b) introducing a first stream to the anode, wherein the first stream comprises ammonia; (c) introducing an oxidant to the anode; and (d) introducing a second stream to the cathode, wherein the second stream comprises water and provides a reducing environment for the cathode; wherein hydrogen is generated from water electrochemically; wherein the first stream and the second stream are separated by the membrane; and wherein the oxidant and the second stream are separated by the membrane.

MICROORGANISMS AND ARTIFICIAL ECOSYSTEMS FOR THE PRODUCTION OF PROTEIN, FOOD, AND USEFUL CO-PRODUCTS FROM C1 SUBSTRATES

NºPublicación:  US20260055517A1 26/02/2026
Solicitante: 
KIVERDI INC [US]
Kiverdi, Inc
US_20260055517_PA

Resumen de: US20260055517A1

Microorganisms and bioprocesses are provided that convert gaseous C1 containing substrates, such as syngas, producer gas, and renewable H2 combined with CO2, into nutritional and other useful bioproducts.

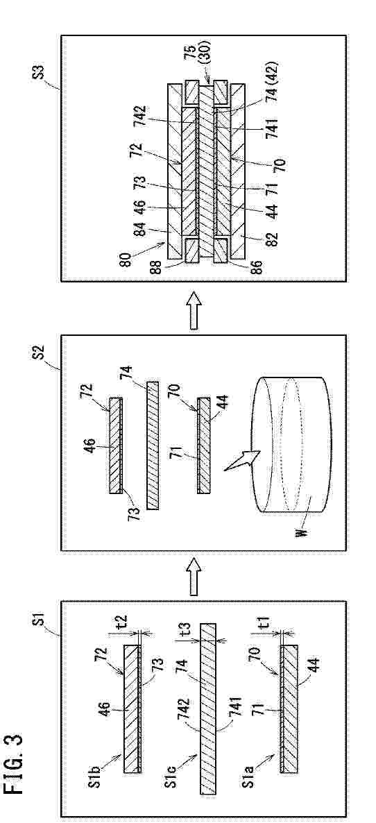
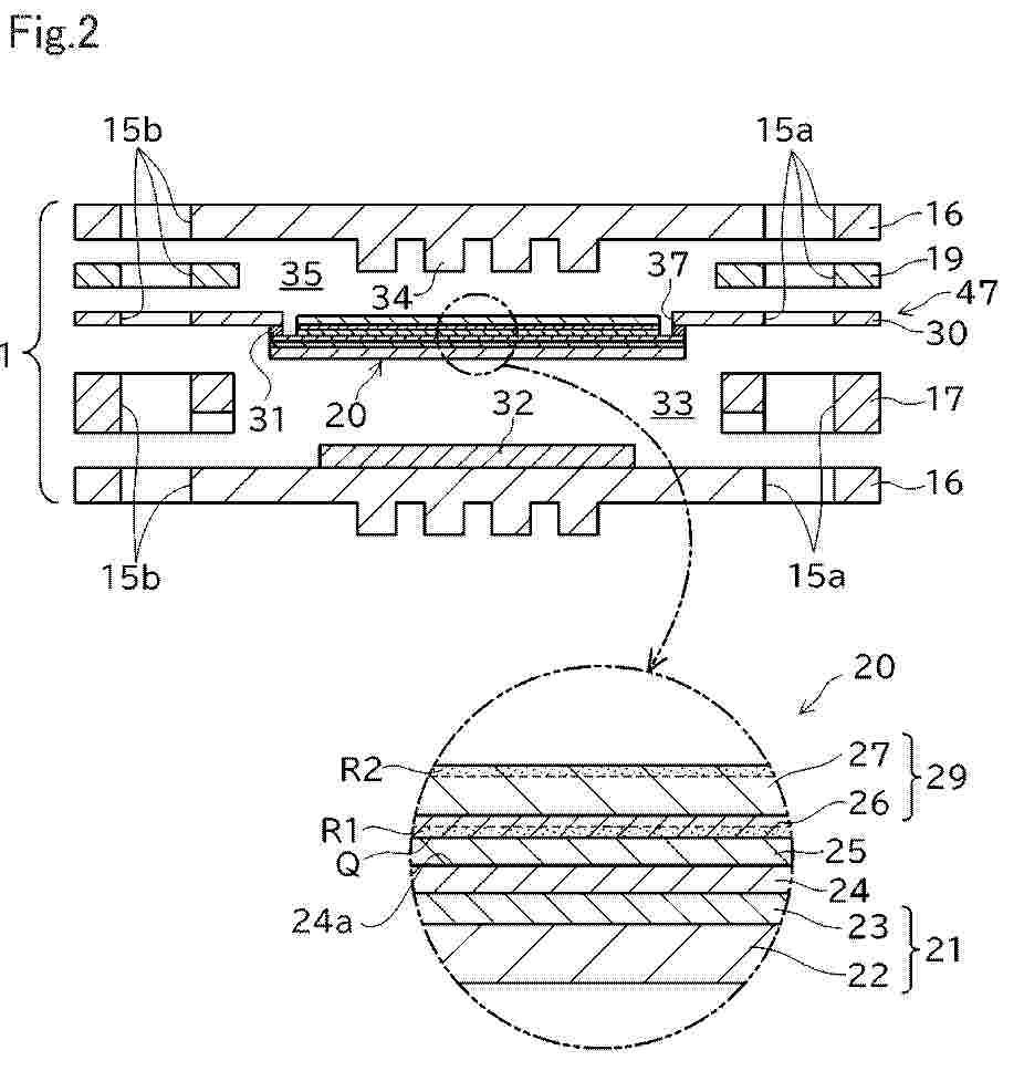
WATER ELECTROLYSIS CELL

NºPublicación:  US20260055516A1 26/02/2026
Solicitante: 
TOYOTA MOTOR CO LTD [JP]
TOYOTA JIDOSHA KABUSHIKI KAISHA
US_20260055516_PA

Resumen de: US20260055516A1

A water electrolysis cell includes a membrane-electrode assembly, a frame body made of resin that is provided along a peripheral edge of the membrane-electrode assembly, and a first separator and a second separator that face each other through the membrane-electrode assembly and the frame body and are joined to each other by the frame body. An outer peripheral portion of the membrane-electrode assembly is extended to between a first face of the frame body and the first separator. A surface of the first face includes an antioxidant.

METHOD AND SYSTEM FOR HYDROGEN PRODUCTION

NºPublicación:  US20260054981A1 26/02/2026
Solicitante: 
SAUDI ARABIAN OIL CO [SA]
SAUDI ARABIAN OIL COMPANY
US_20260054981_PA

Resumen de: US20260054981A1

A method for hydrogen production may comprise: feeding a steam stream and a natural gas stream to a methane reforming unit to produce a gray hydrogen gas and CO2 stream; feeding the gray hydrogen and CO2 stream to a CO2 capture unit to produce blue hydrogen; feeding a water stream and electricity to an electrolyzer unit to produce a green hydrogen gas and oxygen; and collecting the blue hydrogen from the CO2 capture unit and the green hydrogen from the electrolyzer unit. A hydrogen production system may comprise: a methane reforming unit; a CO2 capture unit; and an electrolyzer.

Water electrolyzer

NºPublicación:  AU2026200812A1 26/02/2026
Solicitante: 
EVOLOH INC
EvolOH, Inc
AU_2026200812_A1

Resumen de: AU2026200812A1

22418031_1 (GHMatters) P121123.AU.1 The present application relates to water electrolyzers, including water electrolyzers incorporating anion exchange membranes. The present applications also 5 relates to materials incorporated into water electrolyzers and approaches for manufacturing water electrolyzers, as well as methods of using water electrolyzers. eb e b

ELEKTROLYSEVORRICHTUNGSBETRIEBSSYSTEM

NºPublicación:  DE102025133002A1 26/02/2026
Solicitante: 
DENSO CORP [JP]
DENSO CORPORATION
DE_102025133002_PA

Resumen de: DE102025133002A1

Ein Elektrolysevorrichtungsbetriebssystem beinhaltet eine Elektrolysevorrichtung, eine Steuereinheit, eine Zielgesundheitszustandswerteingabeeinheit und eine Steuerparameterberechnungseinheit. Die Elektrolysevorrichtung weist eine Vielzahl von Elektrolyse-Stacks auf, in denen eine Vielzahl von Elektrolysezellen, die Wasserstoff durch Elektrolyse von Wasser erzeugen, gestapelt sind. Die Steuereinheit steuert ein gesteuertes Objekt basierend auf einem Steuerparameter, der den Gesundheitszustand des gesteuerten Objekts beeinflusst. Die Zielgesundheitszustandswerteingabeeinheit ermöglicht es einem Systembenutzer, einen Zielgesundheitszustandswert einzugeben, der ein Zielwert für den Gesundheitszustand ist. Die Steuerparameterberechnungseinheit berechnet einen Steuerparameter des gesteuerten Objekts basierend auf dem Zielgesundheitszustandswert. Das gesteuerte Objekt ist die Elektrolysevorrichtung.

REDUCTION DEVICE, REDUCTION METHOD, AND PRODUCTION METHOD FOR REDUCTION PRODUCT

NºPublicación:  EP4699691A1 25/02/2026
Solicitante: 
DAICEL CORP [JP]
UNIV NAT CORP KANAZAWA [JP]
Daicel Corporation,
National University Corporation Kanazawa University
EP_4699691_A1

Resumen de: EP4699691A1

Provided is a reduction device that can be manufactured inexpensively and easily, has a wide reaction field, can achieve a reduction reaction even with low energy light such as visible light, and has a long catalyst life. The reduction device of the present disclosure includes diamond particles. It is preferable to contain the diamond particles as a diamond particle dispersion liquid. The diamond particles preferably contain nanodiamond particles having a particle size of 1 µm or less. The diamond particles preferably include detonation nanodiamond particles.

酸化物の製造方法

NºPublicación:  JP2026506497A 25/02/2026
Solicitante: 
エボニックオペレーションズゲーエムベーハー
JP_2026506497_A

Resumen de: WO2024165389A1

The present invention relates to a pyrogenic process for manufacturing metal oxides or metalloid oxides wherein a metal precursor and/or a metalloid precursor is introduced into a flame formed by burning a gas mixture comprising oxygen and hydrogen, wherein at least a part of the hydrogen has been obtained from electrolysis of water or an aqueous solution, using electrical energy, at least a part of which has been obtained from a renewable energy source, and wherein at least a part of the thermal energy of the flame is transferred to a first heat transmission medium by means of at least one exchanger, thereby heating the first heat transmission medium to a maximal temperature in the range between 80 and 150 °C.

SEMICONDUCTOR CATALYST, CATALYST ELECTRODE, METHOD FOR PRODUCING REDUCED PRODUCT, AND DEVICE FOR PRODUCING REDUCED PRODUCT

NºPublicación:  EP4699693A1 25/02/2026
Solicitante: 
DAICEL CORP [JP]
UNIV NAT CORP KANAZAWA [JP]
Daicel Corporation,
National University Corporation Kanazawa University
EP_4699693_A1

Resumen de: EP4699693A1

A semiconductor catalyst is provided, which exhibits an effect of accelerating a reduction reaction by visible light irradiation and is excellent in durability. The semiconductor catalyst of the present disclosure includes thin film containing nitrogen-containing diamond particles in a plane direction and a height direction. The semiconductor catalyst can be produced by, for example, fixing, on a substrate having a positive or negative charge, nitrogen-containing diamond particles having a positive or negative charge, the positive or negative charge of the nitrogen-containing diamond particles being opposite to that of the substrate, and laminating, on the fixed nitrogen-containing diamond particles, nitrogen-containing diamond particles having a positive or negative charge, the positive or negative charge of the laminated nitrogen-containing diamond particles being opposite to that of the fixed nitrogen-containing diamond particles. The step of laminating is performed at least once after the step of fixing.

SYSTEMS AND METHODS FOR WATER ELECTROLYSIS WITH ELECTRODES HAVING NICKEL-COBALT-PHOSPHOROUS-BASED COMPOUNDS

NºPublicación:  EP4700159A1 25/02/2026
Solicitante: 
HONEYWELL INT INC [US]
Honeywell International Inc
EP_4700159_PA

Resumen de: EP4700159A1

Systems and methods are provided for water electrolysis. The system includes an electrolyte material configured for the exchange of anions, a first electrode including a nickel-cobalt-phosphorus-based compound, and a second electrode, wherein the first electrode and the second electrode are configured to exchange the anions through the electrolyte material.

Method and plasma reactor for the production of hydrogen gas

NºPublicación:  GB2643493A 25/02/2026
Solicitante: 
TETRONICS TECH LIMITED [GB]
Tetronics Technologies Limited
GB_2643493_PA

Resumen de: GB2643493A

A method for the production of hydrogen gas comprising (i) providing a DC electrical power supply, (ii) providing a plasma reactor with chamber 105, plasma torch 135 with a plasma cathode extending in to the chamber, a plasma anode extending into the chamber, and first and second spray systems which extend into the chamber, (iii) establishing a DC electric potential between the cathode and anode to generate and sustain a reaction zone about a plasma arc, (iv) providing a spray of hydrogen containing feedstock into the reaction zone from the first spray system whereby a mixture of gases comprising hydrogen gas is formed in the chamber by decomposition of the feedstock, and (v) providing a spray of water into adjacent to the reaction zone from the second spray system, wherein the water spray cools and dilutes the mixture of gases formed in step (iv). A plasma reactor comprising a chamber, plasma torch comprising a plasma cathode extending into the chamber and multi-functional device with plasma anode extending into the chamber, first spray anode with first annual passage surrounding the anode and providing a spray of hydrogen containing feedstock, and a second spray system with second annual passage surrounding the first passage and providing a spray of water.

Hydrogen generation

NºPublicación:  GB2700654A 25/02/2026
Solicitante: 
ORIGIN21 LTD [GB]
Origin21 Limited
WO_2025233484_PA

Resumen de: GB2700654A

An apparatus 1 for generating hydrogen includes a housing 10 containing a cylindrical first electrode 11 surrounding a part-conical or frusto-conical second electrode 12. Each of the first and second electrode is for submersion within water located within the housing. The first electrode may be an anode and the second electrode may be a cathode. The housing may be fabricated from or include glass or a glass body may be provided within the housing. The glass may be a borosilicate glass or heat tempered glass. The housing may be cylindrical or cuiboid. The distance between a lowermost portion of the housing and an uppermost portion of the housing may be at least three times greater than the height of the anode. The anode may be fabricated from a metal such as stainless steel which may have a protective coating. The anode may comprise a mesh, such as an unwelded mesh, for example with a mesh size of 149 to 841 µm. The cathode may be formed of stainless steel coated with a second metal. The surface of the cathode may be patterned or textured. The anode and cathode may be retained away from the walls of the housing. Figure 1

Process and plant

NºPublicación:  GB2700593A 25/02/2026
Solicitante: 
JOHNSON MATTHEY DAVY TECH LIMITED [GB]
Johnson Matthey Davy Technologies Limited
WO_2025215366_PA

Resumen de: GB2700593A

A process for controlling an ammonia cracking plant comprising a fired ammonia cracking reactor 1, may comprise the steps of: decreasing a flow of ammonia feedstock 11 to the catalyst containing reaction tube inlets, and decreasing the heat output of a fuel combustion zone of the reactor. The obtained cracked gas from the outlet of the reaction tubes may be cooled 2, increased in pressure 3, and heated 4 before recirculating the cracked gas to the inlet of the reaction tubes and passing it through the reaction tubes. An ammonia plant in a turn down state may have operated said process. The process is intended to place the ammonia cracking plant into a turndown state which enables it to rapidly return to normal operation without wasting ammonia feedstock or hydrogen. A process may return the plant from turndown by increasing ammonia feedstock flow and heat output and obtaining cracked gas. Figure 2

ELECTROLYZER SYSTEMS AND OPERATION THEREOF

NºPublicación:  EP4698697A1 25/02/2026
Solicitante: 
CAPELLA PARTNERS LLC [US]
Capella Partners, LLC
US_20260028730_PA

Resumen de: US20260028730A1

Conventional control schemes for electrolyzers focus on maximizing electrical efficiency, which describes the relationship between the electrical energy consumed and the gas produced by the electrolyzer. However, the cost associated with high electrical efficiency may be unnecessarily expensive. In one embodiment presented herein, a model is used to determine the cost (or profit) associated with a gas produced by the electrolyzer at each of a plurality of operating conditions. The control system can select the operating condition to use based on which operating condition is associated with the lowest cost (or highest profit), even though that operating condition may not be associated with the highest electrical efficiency.

PROCESS FOR CRACKING AMMONIA

NºPublicación:  EP4698487A1 25/02/2026
Solicitante: 
JOHNSON MATTHEY DAVY TECHNOLOGIES LTD [GB]
Johnson Matthey Davy Technologies Limited
KR_20250166934_PA

Resumen de: CN120813538A

A process for catalytic cracking of ammonia, the process comprising: supplying an ammonia feed gas to one or more heated catalyst-containing reaction vessels disposed within an ammonia cracking reactor; and cracking ammonia in the ammonia feed gas in the one or more catalyst-containing reaction vessels to produce a hydrogen-containing stream wherein the ammonia feed gas is fed to the or each reaction vessel at a pressure of at least 10 bar wherein the or each reaction vessel is heated to a temperature of at least 500 DEG C, and wherein the or each of the reaction vessels has a wall comprising or consisting of an alloy selected to resist both nitriding and creep deformation without failure at said temperature and pressure over an operating period of at least 1000 hours, 5000 hours, 10,000 hours, 50,000 hours or 100,000 hours.

PROCESS FOR CRACKING AMMONIA

NºPublicación:  EP4698486A1 25/02/2026
Solicitante: 
JOHNSON MATTHEY DAVY TECHNOLOGIES LTD [GB]
Johnson Matthey Davy Technologies Limited
CN_120835863_PA

Resumen de: CN120835863A

A process for catalytic cracking of ammonia, the process comprising: supplying an ammonia feed gas to one or more heated catalyst-containing reaction vessels disposed within an ammonia cracking reactor; and cracking ammonia in the ammonia feed gas in the one or more catalyst-containing reaction vessels to produce a hydrogen-containing stream wherein the reaction vessel or each of the reaction vessels has a wall comprised of at least a first alloy and a second alloy wherein the first alloy is more resistant to nitriding than the second alloy, and the second alloy provides mechanical support for the first alloy, and wherein at least a portion of the wall adjacent the catalyst is comprised of the first alloy.

CATALYST MATERIALS

NºPublicación:  EP4698696A1 25/02/2026
Solicitante: 
JOHNSON MATTHEY HYDROGEN TECHNOLOGIES LTD [GB]
Johnson Matthey Hydrogen Technologies Limited
WO_2024218486_PA

Resumen de: WO2024218486A1

Oxygen evolution catalyst materials are provided with a pyrochlore-type structure and with (i) calcium and / or sodium as A-site elements of the pyrochlore-type structure; (ii) iridium and / or ruthenium as first B-site elements of the pyrochlore-type structure; (iii) niobium and / or tantalum as second B-site elements of the pyrochlore-type structure; and (iv) a molar ratio of A-site elements: first and second B-site elements is in the range of and including 0.8: 1 to 1:1.

METHOD AND SYSTEM FOR STORING HYDROGEN

NºPublicación:  EP4698817A1 25/02/2026
Solicitante: 
TECHNIPFMC NORGE AS [NO]
TechnipFMC Norge AS
KR_20260003728_PA

Resumen de: WO2024218273A1

A method for storing hydrogen in a plurality of subsea storages in a system. The system comprising an electrolyser source (100) for producing hydrogen at a source pressure; a downstream compressor (200) for compressing the hydrogen from the source pressure to a compressed higher pressure; and a plurality of storages (300) each for storing compressed hydrogen at the compressed higher pressure and each being subsea. The method comprising at least the steps of: producing hydrogen (1000) by the electrolyser source (100) at the source pressure; passing the hydrogen (2000) to the plurality of storages (300) through a bypass line (210) around the compressor (200); and storing the hydrogen (3000) in at least one of the plurality of storages (300) at a first pressure below the compressed higher pressure. A system for storing hydrogen in a plurality of subsea storages, the system comprising: an electrolyser source (100) for producing hydrogen at a source pressure; a downstream compressor (200) for compressing the hydrogen from the source pressure to a compressed higher pressure; a plurality of storages (300) each for storing compressed hydrogen at the compressed higher pressure and each being subsea; and a controller (400) for controlling the electrolyser source (100), the downstream compressor (200), and valves (310) to the plurality of storages (300). The controller (400) is configured for controlling the system in, at least, two alternative ways: A) passing the hydrogen, produced by

NANOSTRUCTURED ELECTRODE FOR WATER ELECTROLYSIS AND WATER ELECTROLYZER COMPRISING THE SAME

NºPublicación:  EP4698693A1 25/02/2026
Solicitante: 
SMOLTEK AB [SE]
Smoltek AB
SE_2350468_A1

Resumen de: SE2350468A1

An electrode (200) for a proton exchange membrane water electrolyzer, the electrode (200) comprising a plurality of elongated nanostructures (220) arranged on a substrate (210). The elongated nanostructures (220) are attached to the substrate (210) at a respective first end and extend along a direction perpendicular to a plane of extension of the substrate (210). The plurality of elongated nanostructures (220) are coated with a conformal protective layer (230), and a catalyst layer (240) is arranged on the conformal protective layer. The catalyst layer (240) comprises a plurality of nanoparticles (241), the nanoparticles (241) forming a continuous coating on at least a part of the surface of the plurality of elongated nanostructures (220).

PROCESS FOR AMMONIA SYNTHESIS USING GREEN HYDROGEN AND METHOD FOR REVAMPING AN AMMONIA PLANT

NºPublicación:  EP4698485A1 25/02/2026
Solicitante: 
CASALE SA [CH]
CASALE SA
CN_121175264_PA

Resumen de: AU2024257970A1

Process for synthesis of ammonia wherein: ammonia make-up gas (7) containing hydrogen and nitrogen is reacted in an ammonia converter (15) under ammonia forming conditions thus obtaining an ammonia-containing effluent (8); a first hydrogen portion contained in the ammonia make-up gas (7) is produced by reforming a hydrocarbon source (1) in a reforming process (100); a second hydrogen portion (19) contained in the ammonia make-up gas (7) is produced separately from said reforming process (100), by using at least a renewable energy source (SE, WE); a part of said hydrogen (19) produced in step (c) is stored in a hydrogen storage (103); hydrogen (20) from said hydrogen storage (103) is used to fully or partially replace said second hydrogen portion (19) when said renewable energy source (SE, WE) is fully or partially unavailable. Said process comprising the steps of: assessing an expected flow rate of the hydrogen (19) produced in step (c); adjusting a flow rate of the hydrocarbon source (1) so that a flow rate of the first hydrogen portion in said ammonia make- up gas (7) is in a desired ratio with respect to said expected flow rate; detecting an actual amount, e.g., a filling level, of said hydrogen in said hydrogen storage (103); detecting an actual flow rate of hydrogen produced using the renewable energy source (SE, WE), and adjusting a flow rate of the hydrogen (20) from said hydrogen storage (103) depending on said actual amount detected in said hydrogen storage (103) and

METHOD AND PLANT FOR PRODUCING HYDROGEN

NºPublicación:  EP4698692A1 25/02/2026
Solicitante: 
LINDE GMBH [DE]
Linde GmbH
AU_2024256387_PA

Resumen de: AU2024256387A1

The invention relates to a method (100) for producing hydrogen (103), wherein feed water is subjected to electrolysis (10) with a cathode gas (101) being obtained, wherein the cathode gas (101) contains hydrogen, oxygen and some of the feed water, wherein a process gas flow (102) is formed using at least some of the cathode gas (101), wherein the process gas flow (102) contains at least some of the hydrogen, oxygen and feed water contained in the cathode gas (101), and wherein, in the process gas flow (102), at least some of the oxygen is subjected to an oxidative catalytic reaction with some of the hydrogen to form oxidation water, and wherein at least some of the feed water and the oxidation water in the process gas flow (102) are removed from the process gas flow (1029 in a water removal process. The catalytic reaction and the water removal process are carried out using one or more process units (41, 42), wherein the one process unit (41, 42) or each of the plurality of process units (41, 42) has a first adsorptive drying bed (4a), by means of which at least some of the feed water is removed from the process gas flow (102), a catalytic bed (4b) which is arranged downstream of the first drying bed (4a) and by means of which the catalytic reaction is carried out, and a second adsorptive drying bed (4c) which is arranged downstream of the catalytic bed and by means of which at least some of the oxidation water is removed from the process gas flow (102). The invention also pro

A METHOD FOR PRODUCING GREEN HYDROGEN BY ELECTROLYSIS IN A HYBRID POWER PLANT

NºPublicación:  EP4699201A1 25/02/2026
Solicitante: 
CWP H1 ENERGY PTE LTD [SG]
SCHUMACHER GUIDO [DE]
CWP H1 Energy Pte Ltd,
Schumacher, Guido
DE_102023109764_PA

Resumen de: WO2024217840A1

A method for producing green hydrogen by electrolysis in a hybrid power plant (10), which comprises at least: - a wind turbine (11 ) with a rotor (11.1), a drive-train and a generator; multiple photovoltaic modules (12), - an electrolysis unit (15) for producing hydrogen by electrical power generated by the wind turbine (11) and/or the photovoltaic modules (12), an internal electrical power grid interconnecting the generator, the photovoltaic modules (12) and the electrolysis unit (15) within the power plant (10) and - a control unit (16); wherein a) electrical energy is generated by using the photovoltaic modules (12) and/or wind turbines (11 ); b) cloud coverage and/or solar radiation is measured by at least one weather sensor (14) which is located in a windward position remote of the power plant (10) and which is connected to the control unit (16) via a data link; According to a first aspect of the invention the wind turbine (11) is used as kinetic energy storage and according to another aspect of the invention the wind turbine (11) is used as an energy absorber by increasing inertia of the rotor (11.1).

水素の生成方法

Nº publicación: JP2026506737A 25/02/2026

Solicitante:

ハイドロジェネレイトリミテッド

JP_2026506737_PA

Resumen de: CN120897885A

A method for reacting aluminum with water, the method comprising the steps of: adding aluminum metal to an aqueous solution comprising potassium hydroxide at a concentration between 0.1 M and 0.4 M and a surfactant; stirring the mixture of the previous step; and collecting the generated hydrogen. A composition for use in such a method for reacting aluminum with water, the composition comprising potassium hydroxide and a surfactant.

traducir