Ministerio de Industria, Turismo y Comercio LogoMinisterior
 

Alerta

Resultados 947 resultados
LastUpdate Última actualización 18/03/2026 [07:08:00]
pdfxls
Publicaciones de solicitudes de patente de los últimos 60 días/Applications published in the last 60 days
previousPage Resultados 925 a 947 de 947  

一种Janus型异质结材料及其在光催化水分解中的计算方法和应用

NºPublicación:  CN121360593A 20/01/2026
Solicitante: 
重庆邮电大学
CN_121360593_PA

Resumen de: CN121360593A

本发明涉及一种Janus型异质结材料及其在光催化水分解中的计算方法和应用,属于异质结材料技术领域。该材料上层为1T相GeSe单层,下层为1T相SnSSe单层,根据界面原子排列分为GeSe/SSnSe和GeSe/SeSnS两种构型。通过VESTA与VASP软件进行建模与仿真计算,结果表明该材料具备直接Z型异质结特性,能有效促进光生载流子分离并拓宽光吸收范围,显著提升光催化氧化还原能力与太阳能‑氢能转化效率,为开发高效光催化剂提供了新策略。

Photovoltaic water electrolysis hydrogen production system

NºPublicación:  CN121362978A 20/01/2026
Solicitante: 
SOUTHWEST RES & DESIGN INSTITUTE OF CHEMICAL INDUSTRY
SOUTHWEST PETROLEUM UNIV
\u897F\u5357\u5316\u5DE5\u7814\u7A76\u8BBE\u8BA1\u9662\u6709\u9650\u516C\u53F8,
\u897F\u5357\u77F3\u6CB9\u5927\u5B66
CN_121362978_PA

Resumen de: CN121362978A

The invention relates to the technical field of water electrolysis equipment, in particular to a photovoltaic water electrolysis hydrogen production system which comprises a skid-mounted shell, and a photovoltaic power generation unit, a water electrolysis unit, a gas storage unit, a power supply and heat supply unit and a central controller are arranged in the skid-mounted shell; the water electrolysis unit comprises an electrolysis assembly, an airflow purification assembly, a vibration energy storage assembly, a temperature monitoring assembly and an air bag sealing assembly; the gas storage unit is used for storing oxygen and hydrogen electrolyzed by the water electrolysis unit; and the power supply and heat supply unit is used for converting the hydrogen in the gas storage unit into electric energy. The photovoltaic power generation module, the water electrolysis module, the solid-state gas storage module, the hydrogen fuel cell module and the waste heat heat supply module are assembled in a modularized mode, photovoltaic power generation, power supply and electrolysis of water into hydrogen and oxygen for storage can be independently completed, the hydrogen fuel cell is used, hydrogen is converted into electric power, meanwhile, working waste heat of the electrolytic cell and the fuel cell is absorbed, and energy is saved. And combined supply of hydrogen, oxygen, heat and electricity is carried out.

一种CoNiOOH修饰Sr掺杂BiVO4光电极及其制备方法

NºPublicación:  CN121362995A 20/01/2026
Solicitante: 
河北师范大学
CN_121362995_PA

Resumen de: CN121362995A

本申请属于光电极材料制备领域,具体涉及一种CoNiOOH修饰Sr掺杂BiVO4光电极及其制备方法。光电极,包括:导电基底;设置在导电基底上的Sr掺杂BiVO4层;以及设置在Sr掺杂BiVO4层上的CoNiOOH层。制备方法,包括以下步骤:a)在导电基底上通过电沉积方法制备BiOI电极;b)将含有锶源和钒源的溶液施加到所述BiOI电极上,并进行热处理,以形成Sr掺杂BiVO4光电极;c)将所述Sr掺杂BiVO4光电极浸入含有钴源和镍源的溶液中,进行原位生长处理,以在所述Sr掺杂BiVO4光电极表面形成CoNiOOH层,最后得到Sr:BiVO4/CoNiOOH光电极。

一种多尺度电化学微电偶结构的产氢合金及其制备方法

NºPublicación:  CN121362902A 20/01/2026
Solicitante: 
凯鹏新材料科技(宁波)有限公司黄裕洪
CN_121362902_PA

Resumen de: CN121362902A

本发明提供了一种多尺度电化学微电偶结构的产氢合金及其制备方法,该产氢合金包括铝基体、纳米级阴极相与微米级阴极网络;纳米级阴极相为分布于铝基体中的金属间化合物;微米级阴极网络为沿铝基体晶界连续分布的Ga‑In‑Sn共晶合金;铝基体为阳极相;铝基体与纳米级阴极相和微米级阴极网络构成多尺度微电偶结构。通过纳米级阴极相与微米级阴极网络的协同作用,纳米级活性位点负责快速“点火”,启动反应,微米级连续网络则作为“主干道”,负责维持反应的深度和广度,这种多尺度微电偶结构的协同效应,使得作为阳极的铝基体利用率显著提高,接近铝完全反应的理论值。

基于电解槽多状态协同和动态优化的制氢控制方法

NºPublicación:  CN121363001A 20/01/2026
Solicitante: 
中国石化集团新星石油有限责任公司杭州和利时自动化有限公司
CN_121363001_PA

Resumen de: CN121363001A

本申请提出了一种基于电解槽多状态协同和动态优化的制氢控制方法。该方法通过将电解槽分组并实时监测光伏发电功率,自动诊断和分配每台电解槽的状态,实现了电解槽负荷与光伏发电功率的精准匹配。系统采用聚合和分散两种动态调整模式,灵活应对不同天气条件下的光伏发电特性。同时,引入分段计价策略和季节性运行模式,优化经济效益。这种方法提高了新能源利用效率,增强了系统灵活性和稳定性,延长了设备寿命,降低了运维成本。它为大规模绿氢生产提供了技术支持,有助于推动绿氢产业发展。

Hydrogen energy teaching training system

NºPublicación:  CN121366513A 20/01/2026
Solicitante: 
YALONG INTELLIGENT EQUIPMENT GROUP CO LTD
\u4E9A\u9F99\u667A\u80FD\u88C5\u5907\u96C6\u56E2\u80A1\u4EFD\u6709\u9650\u516C\u53F8
CN_121366513_PA

Resumen de: CN121366513A

The invention relates to a hydrogen energy teaching practical training system, which comprises a water electrolysis module, a fuel cell, an electric appliance, a power supply module and a control module, and is characterized in that the water electrolysis module comprises a water tank, an electrolytic cell and a gas-liquid separator, the fuel cell is connected with the electric appliance, and the water tank is provided with a first water outlet and a water oxygen recovery port; a first water outlet of the water tank is communicated with a water inlet of the electrolytic cell, the electrolytic cell is provided with a first hydrogen outlet and an oxygen outlet, the gas-liquid separator is provided with a hydrogen inlet, a second hydrogen outlet and a second water outlet, the first hydrogen outlet is communicated with the hydrogen inlet, and the second hydrogen outlet is communicated with the second water outlet. The second hydrogen outlet is connected with the fuel cell so as to convey hydrogen into the fuel cell, and the second water outlet, the oxygen outlet and the water-oxygen recovery port are connected through a three-way pipe fitting. By adopting the technical scheme, the hydrogen energy teaching practical training system provided by the invention prepares hydrogen through water electrolysis, is high in safety, can show a complete closed loop of hydrogen energy from production to application, and enhances the continuity and practicability of teaching.

一种NiS/CdS异质结材料及其制备方法和应用

NºPublicación:  CN121361843A 20/01/2026
Solicitante: 
武汉纺织大学
CN_121361843_PA

Resumen de: CN121361843A

本发明公开了一种NiS/CdS异质结材料及其制备方法和应用。按摩尔比CdS:Ni:S=1:(0.5~1.5):(0.5~1.5)将暴露(001)晶面的六方相CdS、可溶性镍源和可溶性硫源分散在乙二醇中,于180±10℃恒温反应,得到NiS/CdS异质结材料。该制备方法在单一温和体系中仅通过时间调控,在六方相CdS暴露的(001)晶面上原位实现NiS的相变‑形貌协同调控:首次实现NiS从非晶‑NiS→α‑NiS(六方相)→β‑NiS(菱方相)的梯度相变,并伴随多维形貌演化(量子点→无定形态→晶面暴露型→块状→长杆型)。特别是,反应时间为18~24h时该制备方法成功制备出α‑NiS与β‑NiS双晶相共存的NiS/CdS异质结材料。此外,该制备方法可以制备出NiS沿CdS纳米线轴向延伸的纳米线型NiS/CdS异质结材料,为推动纳米线型NiS/CdS异质结材料从概念走向实用化奠定了基础。

合金材料CePdAl的用途和电解制氢的方法以及储氢的方法

NºPublicación:  CN121362983A 20/01/2026
Solicitante: 
中国科学院物理研究所
CN_121362983_PA

Resumen de: CN121362983A

本发明提供一种合金材料CePdAl在电解制氢的阴极中和/或在储氢材料中的用途。本发明提供了一种电解制氢的方法,其包括以下步骤:(1)将合金材料CePdAl制备成电解制氢的阴极;(2)提供电解液和阳极;(3)向所述阴极、电解液和阳极中通电,以电解制氢。本发明还提供了一种储氢的方法。本发明发现合金材料CePdAl可以作为电解制氢的阴极,在制氢的同时还可以储氢。

水电解用电极、水电解用阳极、水电解用阴极、水电解单元和水电解装置

NºPublicación:  CN121368650A 20/01/2026
Solicitante: 
松下知识产权经营株式会社
CN_121368650_PA

Resumen de: WO2024262441A1

This electrode 1 for water electrolysis comprises a conductive base material 10 and a layered double hydroxide layer 20. The layered double hydroxide layer is provided on the surface of the conductive base material 10. The extinction coefficient k800 of the layered double hydroxide layer 20 at the wavelength of 800 nm is 0.08 or more.

一种电解水制氢耦合氕氘分离的方法

NºPublicación:  CN121362985A 20/01/2026
Solicitante: 
深圳氢致能源有限公司
CN_121362985_PA

Resumen de: CN121362985A

本发明属于电解水技术领域,具体涉及一种电解水制氢耦合氕氘分离的方法。所述方法包括:使用含有铁基催化剂的材料用作析氢反应电极,所述铁基催化剂包含铁元素。本发明发现,采用含铁元素物质作为析氢反应电极用于电解水/海水制氢耦合氕氘分离副产重水,具有优异的性能,分离比可达6以上。铁基催化剂在析氢反应中多为heyrovsky机理,对氕氘吸附选择性强,更容易吸附结合氕生成氢气,从而将氘富集在电解液中,在产氢同时副产重水。

电解系统

NºPublicación:  CN121368648A 20/01/2026
Solicitante: 
DCARB\u6E05\u6D01\u6280\u672F\u89E3\u51B3\u65B9\u6848\u516C\u53F8,
DCARB\u6FB3\u5927\u5229\u4E9A\u6709\u9650\u516C\u53F8
CN_121368648_PA

Resumen de: AU2024312642A1

The present invention relates to an electrolysis system comprising a tank adapted to contain water or an aqueous solution, an electrolytic array comprising electrically conductive plates, a temperature-resistant cathode proximal to, but spaced apart from, a cathodic end of the electrolytic array, a tank anode proximal to, but spaced apart from, an opposing anodic end of the electrolytic array, wherein the cathodic and anodic ends of the electrolytic array are electrically connected to a negative and positive terminal, respectively, of a first power supply adapted to provide direct-current (DC) power thereto, the temperature-resistant cathode and the tank anode are electrically connected to a negative and positive terminal, respectively, of a second power supply adapted to provide DC power thereto and at least the temperature-resistant cathode is adapted to generate a plasma arc within the water or aqueous solution between an end thereof and a closest plate of the electrolytic array.

一种储氢反应器以及储放氢的方法

NºPublicación:  CN121360529A 20/01/2026
Solicitante: 
北京科技大学
CN_121360529_PA

Resumen de: CN121360529A

本申请实施例提供了一种储氢反应器以及储放氢的方法。所述储氢反应器包括:反应容器,以及,设置在反应容器上的进料系统;所述反应容器包括功能上耦合的自热反应区和储氢反应区;所述自热反应区设置有铁粉,所述储氢反应区设置有储氢材料;所述进料系统用于向所述自热反应区输入水和气相氧化剂;所述水、气相氧化剂以及铁粉发生放热反应,放热产生的热量将水气化为高温水蒸气,所述高温水蒸气与储氢材料发生水解反应,产生氢气,同时释放热量。该设计不仅极大地简化了系统结构、实现了装置的轻量化与紧凑化,还利用反应热将水瞬间气化,高温气态水携带大量热量且更均匀的与储氢材料反应,从而显著提升了储氢材料的水解反应速率与放氢效率。

一种低载量贵金属铂镍催化剂的制备方法及其在天然海水制氢中的应用

NºPublicación:  CN121362989A 20/01/2026
Solicitante: 
中国海洋大学
CN_121362989_PA

Resumen de: CN121362989A

本发明公开了一种低载量贵金属铂镍催化剂的制备方法及其在天然海水制氢中的应用,属于贵金属纳米催化材料制备技术领域。该催化剂以泡沫镍为载体,放入氯铂酸钾溶液中进行水热反应,得到所述的低载量贵金属铂镍催化剂。组装流动型电解池,以得到的低载量贵金属铂镍催化剂作为流动型电解池的阴极,以NiFe‑LDH作为流动型电解池的阳极,阴极以天然海水为电解液,阳极以氢氧化钾溶液为电解液,进行电催化反应。本发明提出的镍基催化剂的合成策略具有操作简便、成本低廉、环境友好等优势,所采用的原料易得且符合绿色化学原则,具备规模化生产的可行性,在清洁能源转化等领域具有广阔的应用前景。

一种高熵合金催化剂及其原子级制造方法与应用

NºPublicación:  CN121362984A 20/01/2026
Solicitante: 
北京师范大学
CN_121362984_PA

Resumen de: CN121362984A

本发明属于催化剂技术领域,尤其涉及一种高熵合金催化剂及其原子级制造方法与应用。与现有技术相比,本发明在支撑体表面沉积FeCoNiCrM高熵合金薄膜作为高熵合金催化剂,其中掺入Cr与M,当M包括V时,Cr与V作为牺牲掺杂剂,当M包括Cu时,Cu与其他元素构成多元活性中心,使高熵合金各组分协同整合诱导催化剂配位环境的电子调制,显著提高了析氧反应效率,并且在反应过程中,可控制性浸出Cr与M组分,生成富含氧空位的结构,同时通过熵稳定保持结构完整性,从而使高熵合金催化剂展现出卓越的碱性电解水析氧反应催化性能及出色的稳定性。

一种溶剂热法合成硒化锌/硫化钼铜光催化剂的方法

NºPublicación:  CN121361835A 20/01/2026
Solicitante: 
内蒙古科技大学
CN_121361835_PA

Resumen de: CN121361835A

本发明属于光催化析氢技术领域,更具体的说是涉及一种溶剂热法合成硒化锌/硫化钼铜光催化剂的方法。本发明先合成必需的氧化亚铜,再以氧化亚铜为模板合成硫化钼铜,最后硫化钼铜作为助催化剂用于合成硒化锌/硫化钼铜异质结光催化剂。相比于纯硒化锌,硒化锌/硫化钼铜光催化剂有更丰富的析氢活性位点和较低的析氢过电位;并且硒化锌/硫化钼铜光催化剂的载流子分离效率也明显优于纯硒化锌,所以硫化钼铜的引入可以显著提升硒化锌的光催化析氢活性。实验结果表明,硒化锌/1wt%硫化钼铜展现出最佳的产氢性能,其平均产氢速率是纯硒化锌的4.14倍。

一种具有内建电场复合电催化材料及其制备方法和应用

NºPublicación:  CN121362993A 20/01/2026
Solicitante: 
中国地质大学(武汉)
CN_121362993_PA

Resumen de: CN121362993A

本发明提供了一种具有内建电场复合电催化材料及其制备方法,属于电化学能源材料技术领域,该制备方法包括以下步骤:将镍网浸泡于盐酸溶液中超声处理后使用去离子水和乙醇冲洗,干燥后得到预处理的镍网;将预处理后的镍网浸泡于由硝酸镍、硝酸钴、尿素和氟化铵溶解于去离子水得到的水热溶液中,使用水热法在镍网表面生长均匀的镍钴氢氧化物纳米片阵列结构;再将得到的镍钴纳米片阵列结构置于含有氯铂酸的氢氧化钾溶液中,通过简单的循环伏安法在纳米片表面均匀沉积铂纳米颗粒,干燥后得到该具有内建电场复合电催化材料。本发明的制备方法合成周期短,合成过程工序简单、操作方便、重复性可靠,非常适合于规模化工业生产。

一种铱钌双原子/海绵镍复合材料及其制备方法和碱性电催化析氢中的应用

NºPublicación:  CN121362982A 20/01/2026
Solicitante: 
安庆师范大学
CN_121362982_PA

Resumen de: CN121362982A

本发明公开了一种铱钌双原子/海绵镍复合材料及其制备方法和碱性电催化析氢中的应用。上述的制备方法包括称取醋酸镍和量取水合肼、氯铱酸、三氯化钌水溶液溶解于去离子水配置混合溶液并置于高压反应釜中进行水热反应得到铱钌双原子/海绵镍复合材料电催化剂。本发明制得的铱钌双原子/海绵镍复合材料相较于原始的海绵镍电催化剂具有更好的碱性电催化析氢性能;其优点在于氯铱酸的酸性会使得部分Ni原子溶出产生Ni空位,从而提供铱钌双原子形核位点。复合材料可以协同催化碱性析氢,其机制为镍位点提供碱性H2O的裂解位点,获得活性氢物种,进一步通过铱钌双原子实现氢质子的快速脱附,从而获得更优异的碱性电催化析氢性能。

电解水装置、膜电极及其制备方法

NºPublicación:  CN121362981A 20/01/2026
Solicitante: 
宁德时代新能源科技股份有限公司厦门时代研究院有限公司
CN_121362981_PA

Resumen de: CN121362981A

本发明涉及膜电极技术领域,特别涉及一种电解水装置、膜电极及其制备方法,电解水装置包括膜电极,膜电极包括离子交换膜和设于离子交换膜至少一侧的催化层,催化层包括至少两层活性层;定义相邻的两活性层为第一活性层和第二活性层;第一活性层设于离子交换膜,第二活性层设于第一活性层背离离子交换膜的一侧,第一活性层中的第一催化剂的体积平均粒径D50小于第二活性层中的第二催化剂的体积平均粒径D50。本申请通过设计梯度催化剂颗粒的分布,提高气泡的排出效率,降低催化剂层的物质传输阻力,优化水电解性能以及降低能耗。

Manufacturing method for photoelectrochemical electrode with gradient doping area and the photoelectrochemical electrode manufactured thereby

NºPublicación:  KR20260009676A 20/01/2026
Solicitante: 
UNIV DANKOOK CHEONAN CAMPUS IND ACADEMIC COOPERATION FOUNDATION [KR]
\uB2E8\uAD6D\uB300\uD559\uAD50 \uCC9C\uC548\uCEA0\uD37C\uC2A4 \uC0B0\uD559\uD611\uB825\uB2E8
KR_20260009676_PA

Resumen de: KR20260009676A

경사형 도핑 영역을 갖는 광전기화학 전극의 제조방법 및 이에 의해 제조된 광전기화학 전극이 제공된다. 상기 광전기화학 전극의 제조방법은 P형 실리콘(p-Si) 기판의 표면에 나노 다공성 구조 도입으로 표면 결함 개선과, 광 흡수를 높일 수 있고, 상기 나노 다공성 구조에 경사형 고농도 인(P) 도핑영역을 형성함으로써 캐리어 재결합의 정밀한 제어를 통해 이를 적용한 광전기화학 전지의 성능을 향상시킬 수 있다.

Methods and Systems for the production of Bio-Diesel and Synthetic Fuel Using Combustible Waste

NºPublicación:  KR20260009420A 20/01/2026
Solicitante: 
LEE EUN KWAN [KR]
\uC774\uC740\uAD00
KR_20260009420_PA

Resumen de: KR20260009420A

본 발명은 가연성의 폐기물을 이용한 바이오디젤 및 합성 연료의 생산 방법 및 그 시스템에 관한 것으로서, 보다 구체적으로, 본 발명은 가연성의 폐기물을 소각과 열분해를 병합하여 열분해의 흡열반응에 필요한 열을 소각의 발열반응에서 얻는 열을 사용함으로써, 열분해의 흡열반응에 필요한 열을 별도로 공급하지 않고, 열분해를 실행한다. 이를 위해 소각 장치를 건류장치로 구비하고, 건류장치의 소각은 마이크로웨이브 플라즈마 토치(Microwave Plasma Torch)의 3,000~5,000℃의 화염으로 하며, 건류장치에서 가연성의 폐기물이 열분해 된 건류 가스는 냉각장치로 응축시켜 열분해 오일을 얻고, 이 열분해 오일을 전이에스테르화 반응시킨 후, 고속분리하여 바이오디젤을 생산한다. 또한, 응축되지 않은 미응축 저분자 가스는 스팀 보일러(Steam Boiler)에서 연소시켜 수증기를 생산하고, 수중기의 열을 이용하여 펠티어 소자(Peltier Module)를 통해 전기를 생산하며. 펠티어 소자를 통해 생산된 전기를 수전해 스택에 공급하여 물을 전기 분해함으로써, 그린수소(H2)를 생산한다. 스팀 보일러(Steam Boiler)에서 최종 연소 후, 배출되는 배기가스는 건류장치에 화염을 발생시키는 마이크로웨이브 플라즈마 토치(Microwave Plasma Torch)의 스월가스(Swirl ga

一种分子筛限域氨裂解制氢催化剂及其制备方法

NºPublicación:  CN121360601A 20/01/2026
Solicitante: 
中汽研汽车检验中心(天津)有限公司
CN_121360601_PA

Resumen de: CN121360601A

本申请提供了一种分子筛限域氨裂解制氢催化剂及其制备方法,利用活性组分、碱源、有机配体、模板剂、硅源及铝源将活性组分铆钉在分子筛内部,通过还原气氛焙烧调控活性组分团簇颗粒大小,增加活性组分之间的相互作用,从而有效降低氨裂解制氢催化反应温度。

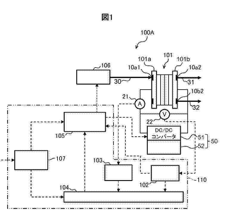
水電解システム及びその制御方法

Nº publicación: JP2026008252A 19/01/2026

Solicitante:

株式会社日立製作所

JP_2026008252_PA

Resumen de: JP2026008252A

【課題】水の電解にともなって水電解セル内に発生した気泡に起因する電解質膜での水枯れをただちに検出し、水電解セルの電解効率の低下や電解質膜の劣化を従来と比べてより確実に防止することができる水電解システムを提供する。【解決手段】水電解システム100Aは、水電解セル200の電圧を、予め設定されたサンプリング時間間隔で断続的に計測する電圧計測部102と、電圧同士の差分をサンプリング時間間隔で除した電圧勾配値に基づいて水電解セル200の水枯れを判定する水枯れ判定部104と、水枯れの判定により、水供給装置106から水電解セル200への給水流速の増加と、電源装置50から水電解セル200に通電する電流値の低減とを行って水電解セル200の電圧を低減させる水枯れ解消部105と、を備える。【選択図】図1

traducir