Ministerio de Industria, Turismo y Comercio LogoMinisterior
 

Alerta

Resultados 879 resultados
LastUpdate Última actualización 06/11/2025 [06:59:00]
pdfxls
Publicaciones de solicitudes de patente de los últimos 60 días/Applications published in the last 60 days
previousPage Resultados 700 a 725 de 879 nextPage  

DEVICE AND METHOD FOR USING AMMONIA SYNTHESIS PLANTS OPERATED USING RENEWABLE ENERGIES

NºPublicación:  WO2025190985A1 18/09/2025
Solicitante: 
THYSSENKRUPP UHDE GMBH [DE]
THYSSENKRUPP AG [DE]
THYSSENKRUPP UHDE GMBH,
THYSSENKRUPP AG
WO_2025190985_PA

Resumen de: WO2025190985A1

The invention relates to a simplified method and to a corresponding device that can be used to supply waste heat from ammonia synthesis plants, in which the hydrogen required to produce the ammonia is produced with the aid of water electrolysis, for further application with the aid of low-pressure steam. In the method and the corresponding device, low-pressure steam at a temperature of less than 200 °C and with a pressure of 5 to 15 bar is generated from the waste heat of the ammonia synthesis plant, said steam being usable for further applications. By using low-pressure steam, significant economical advantages can be achieved in comparison to the conventional use of medium-pressure steam when the method is carried out using discontinuous power sources. The invention further relates to devices which are designed to carry out such methods and to plants which have a part for generating ammonia and a part for utilizing waste heat from the aforementioned part, said second part being formed from the specified device.

A PROCESS AND PLANT FOR CONVERTING CARBON DIOXIDE INTO CARBON MONOXIDE USING IN SITU GENERATED CARBON

NºPublicación:  WO2025190929A1 18/09/2025
Solicitante: 
SULZER MANAGEMENT AG [CH]
SULZER MANAGEMENT AG
WO_2025190929_PA

Resumen de: WO2025190929A1

The present invention relates to a process for converting carbon dioxide into carbon monoxide using in situ generated carbon comprising the step of reacting a starting composition containing carbon dioxide and dibromomethane in a reactor at a temperature of 900 to 2,000°C so as to produce a carbon monoxide and hydrogen bromide containing gaseous reaction mixture.

METHOD OF OPERATING A STORAGE SYSTEM FOR A POWER-TO-X APPLICATION

NºPublicación:  WO2025190595A1 18/09/2025
Solicitante: 
SIEMENS ENERGY GLOBAL GMBH & CO KG [DE]
SIEMENS ENERGY GLOBAL GMBH & CO. KG
WO_2025190595_PA

Resumen de: WO2025190595A1

The invention relates to a method of operating a storage system (10) for a power-to-X application. The storage system (10) comprises a hydrogen storage means (2), wherein the hydrogen storage means (2) is coupled by a compressor (C1) to an electrolysis device (1) set up to produce hydrogen (H2) from renewable energy. The method comprises removing (S1) hydrogen (H2) from the hydrogen storage means (2) when hydrogen production by the electrolysis device (1) falls below a certain level, in particular owing to intermittent supply thereof with renewable energy, (S2) using the removed hydrogen (H2) as synthesis gas balance for a synthesis, and (S3) replenishing the hydrogen storage means (2) with produced hydrogen ((H2) via the compressor (C1) as soon as the hydrogen production exceeds the level.

HYDROGEN AND OXYGEN GAS GENERATION DEVICE

NºPublicación:  US2025290208A1 18/09/2025
Solicitante: 
W J CERVENY DESIGN LLC [US]
W J CERVENY DESIGN LLC
US_2025290208_PA

Resumen de: US2025290208A1

A hydrogen and oxygen gas generation system is provided. The system includes a vessel containing a volume of water and a plurality of electrically conductive electrodes positioned in the volume of water. An ultrasonic unit is positioned in the volume of water and configured to emit sonic waves that inject pulsed energy into the water. The ultrasonic unit can emit square waves and vary both frequency and timing to create complex wave patterns. A baffle structure is positioned between the plurality of electrodes and the ultrasonic unit. The baffle structure prevents direct vertical impact of sonic waves on the electrodes while allowing waves to assist in weakening molecular bonds in the water. The system includes a gas collection unit with separate chambers for collecting hydrogen gas from cathodes and oxygen gas from anodes.

Photocatalytic Water Splitting with Separate H2 and O2 Production

NºPublicación:  US2025290207A1 18/09/2025
Solicitante: 
UNIV MICHIGAN REGENTS [US]
The Regents of the University of Michigan
US_2025290207_PA

Resumen de: US2025290207A1

A water splitting system includes a hydrogen production chamber including a hydrogen production port, an oxygen production chamber including an oxygen collection port, an ion exchange membrane coupling the hydrogen production chamber and the oxygen production chamber, and a photocatalytic structure including a first catalytic portion disposed in the hydrogen production chamber and a second catalytic portion disposed in the oxygen production chamber. The first catalytic portion is configured for production of hydrogen via the hydrogen production port. The second catalytic portion is configured for production of oxygen via the oxygen production port.

Systems And Methods Using In-Situ Hydrogen-Based Fuel For Consistent Production Of A Low- Or Zero-Emission Flame

NºPublicación:  US2025290629A1 18/09/2025
Solicitante: 
KINETIC7 TECH LIMITED [AE]
KINETIC7 TECHNOLOGIES LIMITED
US_2025290629_PA

Resumen de: US2025290629A1

There is provided a system for consistent production of a low-or zero-emission flame comprising an electrolyser, a power assembly, a burner element, and a gas flow control system. There is also provided a device for consistent production of a low-or zero-emission flame using the disclosed systems. There is also provided a method for consistent production of a low-or zero-emission flame. There is further provided a kit for assembling, modifying or retrofitting an apparatus to permit consistent production of low-or zero-emission flame using the disclosed systems and methods.

OXIDIZING SOLUTIONS AND METHODS FOR INCREASING HEAT PRODUCTION IN HYDROGEN-PRODUCING SUBSTANCES REACTING WITH WATER

NºPublicación:  US2025289715A1 18/09/2025
Solicitante: 
U S ARMY DEVCOM ARMY RES LABORATORY [US]
U.S. Army DEVCOM, Army Research Laboratory
US_2025289715_PA

Resumen de: US2025289715A1

Methods, solutions and material systems for increasing the heat yield for a substance which reacts with water to produce hydrogen gas and heat are disclosed herein. The methods include providing a substance which reacts with water to produce hydrogen gas and heat, providing an aqueous solution comprising an oxidizer and an optional salt, and reacting the substance and the composition to generate hydrogen and heat.

CARBON DIOXIDE CAPTURE AND CARBON RESOURCE UTILIZATION SYSTEM, FOR FUEL CELL, USING BOIL-OFF GAS GENERATED FROM LIQUEFIED NATURAL GAS

NºPublicación:  US2025289716A1 18/09/2025
Solicitante: 
LOWCARBON CO LTD [KR]
LOWCARBON CO., LTD
US_2025289716_PA

Resumen de: US2025289716A1

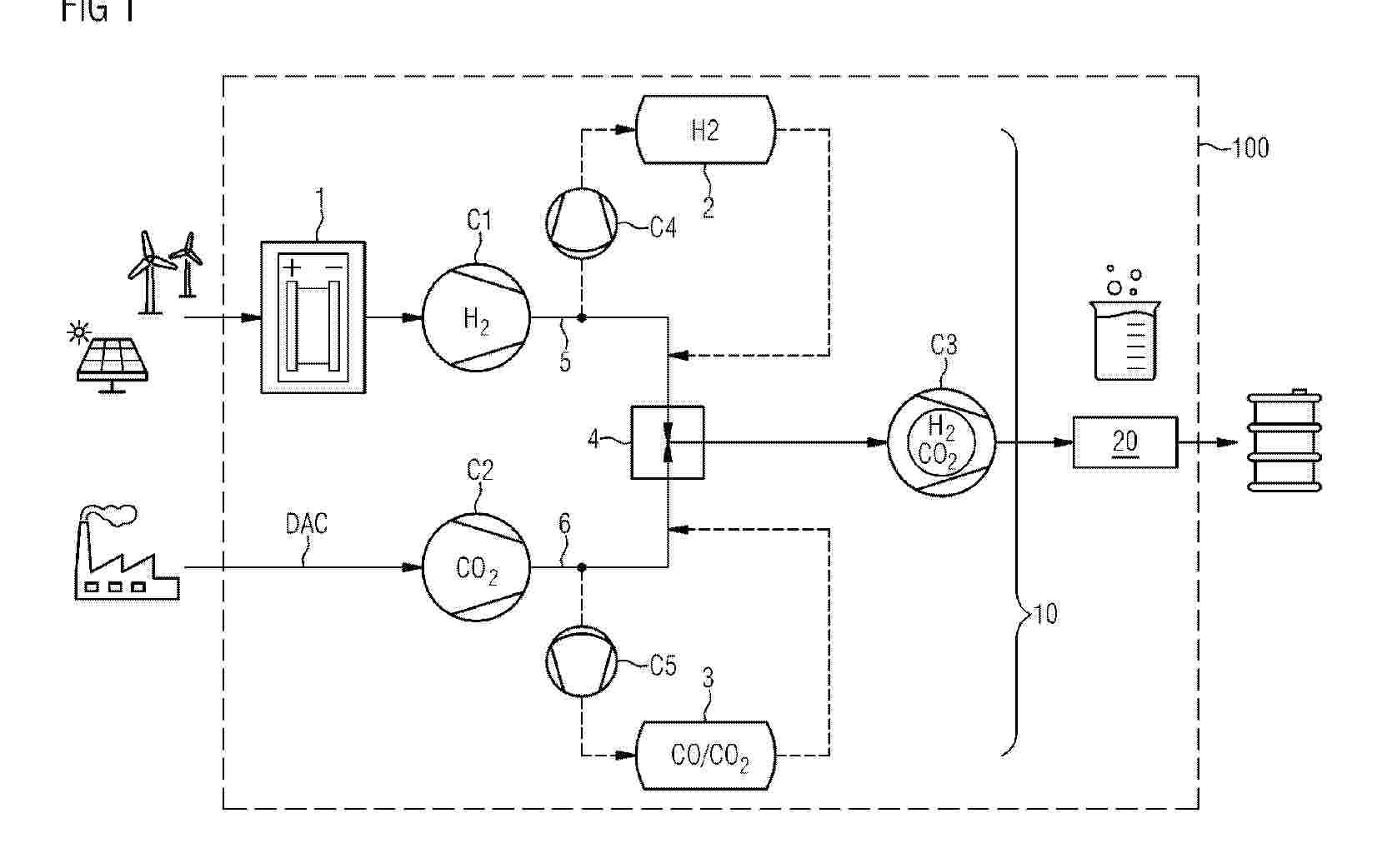
Proposed is a carbon dioxide capture and carbon resource utilization system, for a fuel cell, using boil-off gas (BOG) generated from liquefied natural gas. The system includes a liquefied natural gas storage configured to store liquefied natural gas (LNG), a hydrocarbon reformer configured to react boil-off gas generated from liquefied natural gas storage with water input from outside, thereby generating a gas mixture containing hydrogen and carbon dioxide, a fuel cell configured to generate electric power by receiving hydrogen, a reactor configured to capture carbon dioxide by reacting carbon dioxide with a basic alkali mixture solution and to collect a reaction product containing the captured carbon dioxide and to separate a carbon dioxide reaction product and a waste solution from the reaction product, and a hydrogen generator configured to generate hydrogen and to supply the generated hydrogen to the fuel cell.

MEMBRANE ELECTRODE ASSEMBLY

NºPublicación:  US2025293279A1 18/09/2025
Solicitante: 
GM GLOBAL TECH OPERATIONS LLC [US]
GM Global Technology Operations LLC
CN_120657181_PA

Resumen de: US2025293279A1

A membrane electrode assembly includes a cathode portion including a cathode electrode and an anode portion disposed opposite the cathode portion and including an anode electrode. Additionally, the membrane electrode assembly includes a polymer electrolyte membrane extending between the cathode portion and the anode portion. Moreover, the membrane electrode assembly includes one or more metal oxides disposed therein with the metal oxides configured to react with hydrogen peroxide within the membrane electrode assembly. Additionally, the membrane electrode assembly includes one or more metal cations disposed therein with the metal cations configured to react with hydroxyl radicals disposed within the membrane electrode assembly.

PROCESS AND PLANT FOR OBTAINING HYDROGEN

NºPublicación:  WO2025190563A1 18/09/2025
Solicitante: 
FORSCHUNGSZENTRUM JUELICH GMBH [DE]
FORSCHUNGSZENTRUM J\u00DCLICH GMBH
WO_2025190563_PA

Resumen de: WO2025190563A1

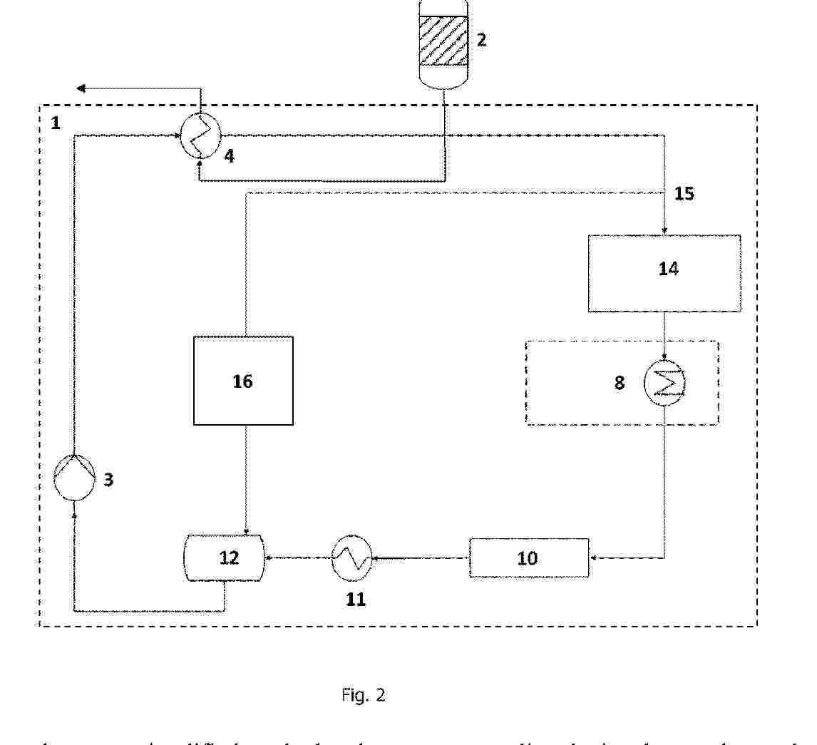
The invention relates to a process for obtaining hydrogen from water, in which an oxidation unit is supplied with a pumpable suspension of zinc particles in alkaline solution, zinc is oxidized electrochemically or thermally to zinc oxide in the oxidation unit (3) with release of hydrogen, the suspension leaving the oxidation unit (3) is fed to a reduction unit (4), and zinc oxides formed in the course of oxidation in the reduction unit (4) are electrochemically reduced to zinc with release of oxygen, and then the suspension leaving the reduction unit (4) is fed back to the at least one oxidation unit (3).

HYDROGEN CARRIER PRODUCTION SYSTEM, CONTROL DEVICE, AND HYDROGEN CARRIER PRODUCTION METHOD

NºPublicación:  AU2024226531A1 18/09/2025
Solicitante: 
ENEOS CORP
ENEOS CORPORATION
AU_2024226531_PA

Resumen de: AU2024226531A1

This hydrogen carrier production system includes: a hydrogen production device which produces hydrogen; a hydrogen tank in which hydrogen produced by the hydrogen production device is stored; and a plurality of hydrogen carrier production devices in which hydrogen stored in the hydrogen tank is converted to different types of hydrogen carriers.

HYDROGEN GENERATION SYSTEM UTILIZING PLASMA CONFINED BY PULSED ELECTROMAGNETIC FIELDS IN A LIQUID ENVIRONMENT

NºPublicación:  AU2024218032A1 18/09/2025
Solicitante: 
KOENEMAN ROBERT L
KOENEMAN, Robert L
AU_2024218032_PA

Resumen de: AU2024218032A1

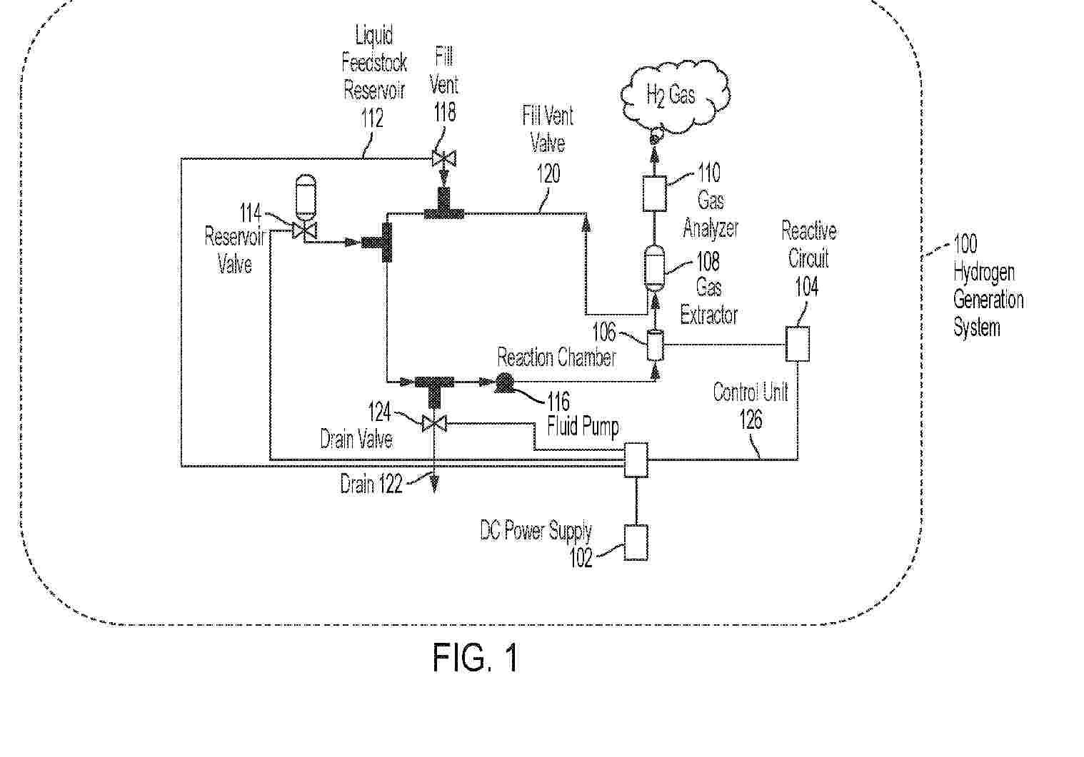
A hydrogen generation system includes: a direct current (DC) power supply providing a driver signal, a reactive circuit coupled to the power supply and configured to generate a pulse drive signal from the driver signal, at least one reaction chamber coupled to the reactive circuit and receiving the pulse drive signal wherein the chamber is configured to generate hydrogen from feedstock material utilizing the pulse drive signal, a gas analyzer coupled to the at least one reaction chamber and configured to detect the generated hydrogen, and a control unit coupled to the reactive circuit and to the gas analyzer and configured to control the reactive circuit based on the detected hydrogen. The reaction chamber includes a plurality of positively charged elements and a plurality of negatively charged elements. The elements are composed of non-dis similar metallic material.

A FEEDWATER PREPARATION METHOD FOR ALKALINE ELETROLYSER SYSTEM AND A FEEDWATER PREPARATION SYSTEM

NºPublicación:  AU2024214359A1 18/09/2025
Solicitante: 
GREEN HYDROGEN SYSTEMS AS
GREEN HYDROGEN SYSTEMS A/S
AU_2024214359_PA

Resumen de: AU2024214359A1

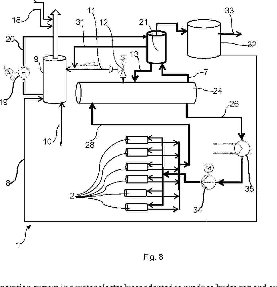
Feedwater preparation system in a water electrolyser adapted to produce hydrogen and oxygen in one or more pressurised electrolyser stacks (2) using alkaline water and comprising a product gas conditioning system that has a safety valve out-blow material stream pipe (11) which is connected to a feedwater vessel (9), and/or has a depressurisation stream pipe (31) from a gas cleaning vessel which is connected to the feedwater vessel (9).

電解装置

NºPublicación:  JP2025135171A 18/09/2025
Solicitante: 
本田技研工業株式会社
JP_2025135171_PA

Resumen de: US2025283232A1

An electrolysis cell of an electrolysis device includes a membrane electrode assembly in which an electrolyte membrane is interposed between a first electrode and a second electrode. The membrane electrode assembly is positioned between a first separator and a second separator. The electrolysis device further includes a seal member and a protection member. The protection member surrounds the outer periphery of the second electrode. The protection member includes a first portion and a second portion. The first portion is interposed between the electrolyte membrane and the seal member. The second portion is interposed between the electrolyte membrane and the second separator.

이산화탄소 전해조 양극성 막용 인터페이스

NºPublicación:  KR20250137113A 17/09/2025
Solicitante: 
트웰브베네핏코포레이션
KR_20250137113_PA

Resumen de: US2024141514A1

Provided herein are membrane electrode assemblies (MEAs) for carbon oxide reduction. According to various embodiments, the MEAs are configured to address challenges particular to COx including mitigating the deleterious effects of electrical current fluctuations on the MEA. Bipolar membrane MEAs equipped with an interface composed of nanoparticles are described.

POROUS LAYER MANUFACTURING METHOD AND APPARATUS

NºPublicación:  KR20250137039A 17/09/2025
Solicitante: 
현대자동차주식회사기아주식회사
KR_20250137039_PA

Resumen de: US2025281936A1

Provided is an apparatus for manufacturing base layer slurry for forming a porous base layer, the apparatus including a base container configured to accommodate base slurry including first slurry particles, and second slurry particles having larger particle sizes than the first slurry particles, and a centrifugation part provided in the base container and configured to centrifuge the base slurry into first base layer slurry including the first slurry particles and second base layer slurry including the second slurry particles, thereby obtaining an advantageous effect of simplifying structure and manufacturing process and improving productivity.

An apparatus and method for the photolysis of a target material

NºPublicación:  GB2639297A 17/09/2025
Solicitante: 
SJP INNOVATION LTD [GB]
SJP Innovation Limited
GB_2639297_PA

Resumen de: GB2639297A

An apparatus for the photolysis of a solid target material comprising a chamber arranged to receive the target material, at least one emitter arranged to emit an electromagnetic radiation signal at or towards the target material, an electric field generator configured to generate an electric field within the chamber and a controller configured to control the electric field such that the EM radiation signal emitted is incident upon the target. Preferably the chamber is a vacuum chamber. Preferably the electric field strength is targeted on the excited bonds present in the target material. Preferably there are a plurality of electromagnetic radiation emitters, more preferably there is a radial array of emitters, alternatively the plurality of emitters may be arranged about the circumference of the chamber.

METHOD OF MANUFACTURING OF A MEMBRANE WITH SURFACE FIBRE STRUCTURE, MEMBRANE MANUFACTURED BY THIS METHOD AND USE OF SUCH MEMBRANE

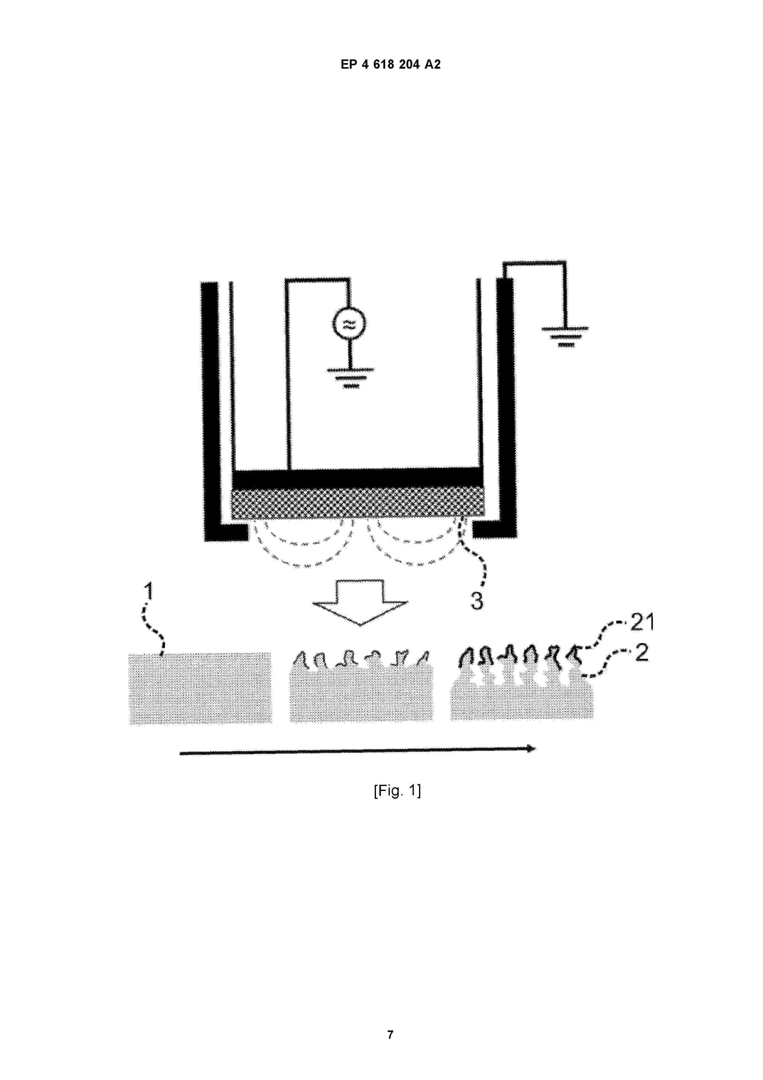
NºPublicación:  EP4618204A2 17/09/2025
Solicitante: 
UNIV KARLOVA [CZ]
Univerzita Karlova
EP_4618204_A2

Resumen de: EP4618204A2

Method of manufacturing of a membrane with surface fiber structure, in particular for use in an electrolyzer or fuel cell, by inserting the polymer membrane into the vacuum chamber equipped with a magnetron sputtering system with a cerium oxide target in which an atmosphere of O2 and inert gas is formed and igniting the plasma which leads to simultaneous plasma etching of the membrane surface and deposition of cerium oxide onto the surface of etched membrane resulting in formation of fibers. The membrane is made of polymer and on at least one of its sides features porous surface made of fibers, the cross-sectional dimensions of which are lower than their length and which are integral and inseparable part of membrane body.

HYDROGEN ABSORPTION/DISCHARGE DEVICE AND HYDROGEN ABSORPTION/DISCHARGE MODULE

NºPublicación:  EP4617231A1 17/09/2025
Solicitante: 
TOSHIBA KK [JP]
Kabushiki Kaisha Toshiba
EP_4617231_PA

Resumen de: EP4617231A1

A hydrogen absorption/discharge device includes an absorption/discharge part, a first electrode located at a first end portion side of the absorption/discharge part, a second electrode located at a second end portion side of the absorption/discharge part, and buffer layers located respectively between the first electrode and the first end portion of the absorption/discharge part and between the second electrode and the second end portion of the absorption/discharge part; the absorption/discharge part includes a material that allows permeation of hydrogen and hydride-ion conduction; and the second end portion faces the first end portion.

FILTER

NºPublicación:  EP4615604A1 17/09/2025
Solicitante: 
HYDAC FILTERTECHNIK GMBH [DE]
Hydac Filtertechnik GmbH
AU_2023379054_PA

Resumen de: AU2023379054A1

2. The invention relates to a filter for treating process fluid such as that which in particular arises during hydrogen electrolysis, preferably for separating hydrogen and/or oxygen from process water, having a first filter element (10) and a second filter element (12), which encloses the first filter element (10) with the formation of a flow space (14) with a predefinable radial spacing, wherein each filter element (10, 12) has a filter medium (16, 18) through which the process fluid can flow in a flow-through direction (24) from the outside to the inside or preferably from the inside to the outside, wherein, seen in the flow-through direction (24), the one filter medium (16) forms a first degassing stage, which is used to enlarge gas bubbles through coalescence and to remove same from the process fluid through separation caused by buoyancy, and the subsequent further filter medium (18) forms a second degassing stage, which is used to remove very finely distributed gas bubbles remaining in the process fluid, again through coalescence and the separation of same through rising caused by buoyancy.

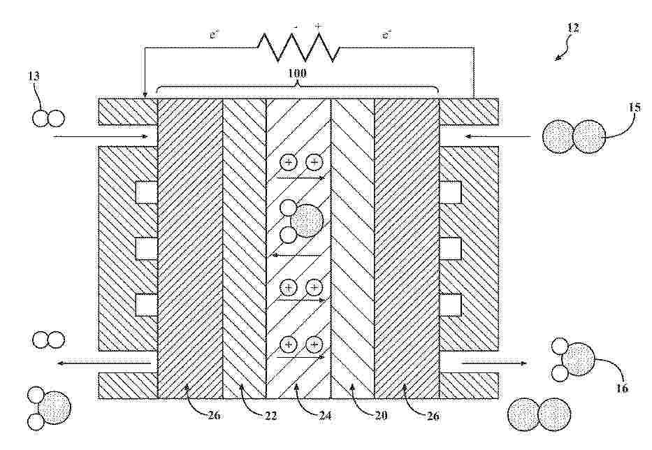
METHOD FOR CONTROL OF THE INDIVIDUAL CATHOLYTE AND ANOLYTE FLOWS THROUGH A MULTITUDE OF ELECTROLYSER STACKS AND ELECTROLYSER SYSTEM COMPRISING A MULTITUDE OF INDIVIDUAL ELECTROLYSER STACKS

NºPublicación:  EP4617402A1 17/09/2025
Solicitante: 
GREEN HYDROGEN SYSTEMS AS [DK]
Green Hydrogen Systems A/S
EP_4617402_PA

Resumen de: EP4617402A1

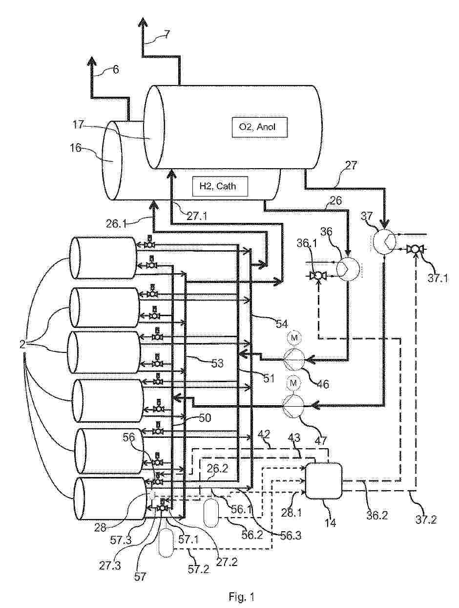
A method for control of the individual catholyte and anolyte flows through a multitude of electrolyser stacks is provided wherein:a. each electrolyser stack (2) is adapted to perform electrolysis of water, andb. all electrolyser stacks (2) are served with an electric current and that,c. all electrolyser stacks (2) are served with anolyte flow (26), andd. all electrolyser stacks (2) are served with catholyte flow (27).It is preferred thate. differential pressure signals (28.1) at each electrolyser stack (2) is provided and,f. that catholyte control signals (43) and anolyte control signals (42) to each of a catholyte stack inflow valve actuator (44) and an anolyte stack inflow valve actuator (45) are provided for the regulation of each of an anolyte stack inflow valve (56) and a catholyte stack inflow valve (57).An electrolyser system is also provided.

PROCESS FOR PRODUCING LIQUEFIED HYDROGEN

NºPublicación:  EP4617596A1 17/09/2025
Solicitante: 
AIR LIQUIDE [FR]
L'AIR LIQUIDE, SOCIETE ANONYME POUR L'ETUDE ET L'EXPLOITATION DES PROCEDES GEORGES CLAUDE
EP_4617596_PA

Resumen de: EP4617596A1

A process for producing and liquefying hydrogen, said process comprising the following steps:- Providing an ammonia feedstock stream,- Producing a hydrogen gas product by a gas conversion,- Wherein at least part of said ammonia feedstock stream is converted by said gas conversion and/or at least part of said ammonia feedstock stream is combusted to bring heat to the process, in particular to said gas conversion,- Liquefying the hydrogen gas product at least by:∘ precooling said hydrogen gas product under conditions to precool said hydrogen gas product at a temperature between 70 kelvin and 100 kelvin, preferably around 80 kelvin and thus obtaining a precooled hydrogen product,∘ cooling the precooled hydrogen gas product under conditions effective for cooling said precooled hydrogen gas product at a temperature between 10 kelvin and 50 kelvin, preferably around 20 kelvin, and thus liquefying the hydrogen gas product to obtain liquid hydrogen,- Cooling the hydrogen gas product by heat exchange with at least part of the ammonia feedstock stream upstream the cooling of the precooled hydrogen gas product.

GAS-LIQUID DIFFUSER FOR HYDROGEN PRODUCTION BY USING ALKALINE ELECTROLYTIC WATER AND USE THEREOF

NºPublicación:  EP4617405A1 17/09/2025
Solicitante: 
HUA XIA HYDROGEN TECH XIAMEN CO LTD [CN]
Hua Xia Hydrogen Technology (Xiamen) Co., Ltd
EP_4617405_PA

Resumen de: EP4617405A1

The present invention provides a gas-liquid diffuser for hydrogen production by alkaline water electrolysis. The gas-liquid diffuser is arranged between an electrode plate and a diaphragm to form a gas-liquid diffusion layer, is made of a woven web or a mesh plate, and is formed to have a plurality of flow channels alternately arranged on both sides of the gas-liquid diffuser; and in a direction perpendicular to the flow channels, the cross section of the gas-liquid diffuser is in a wavy shape formed by the plurality of flow channels. By using the gas-liquid diffuser, contact resistance is effectively reduced, electrolysis efficiency is improved, stress concentration at a contact position is lowered, diaphragm is prevented from being crushed, flow resistance of a fluid is reduced, formation of a retention and backflow in an internal flow field is avoided, the risk of hydrogen and oxygen interpenetration is lowered, and it is useful to increase the contact area between an electrode surface and an alkaline electrolyte.

REINFORCED ION-CONDUCTING MEMBRANE

NºPublicación:  EP4616464A1 17/09/2025
Solicitante: 
JOHNSON MATTHEY HYDROGEN TECHNOLOGIES LTD [GB]
Johnson Matthey Hydrogen Technologies Limited
KR_20250131766_PA

Resumen de: CN119998970A

According to the present invention there is provided an enhanced ion conducting membrane, the enhanced ion conducting membrane comprising: an ion conducting polymer; and a porous mat of nanofibers. The porous mat of nanofibers is impregnated with an ionically conductive polymer. The nanofibers comprise a cross-linked polymer, wherein the cross-linked polymer is ionically non-conductive. The cross-linked polymer comprises a heterocycle-based polymer backbone comprising a basic functional group, and a linking chain linking at least two heterocycle-based polymer backbones via a linking group. The porous mat of nanofibers has a tear index of at least 15 mN m2/g.

ELECTRICAL POWER GENERATION SYSTEMS AND METHODS REGARDING SAME

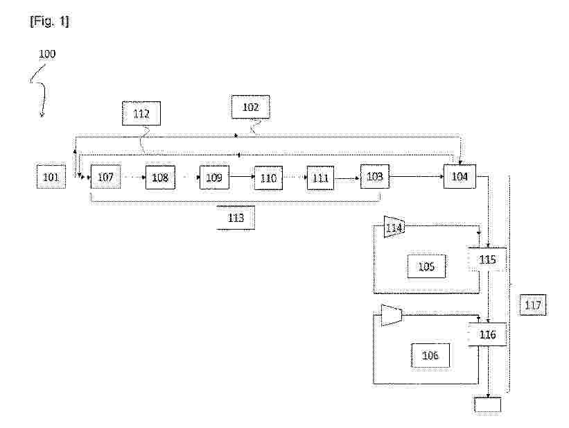
Nº publicación: EP4618104A2 17/09/2025

Solicitante:

BRILLIANT LIGHT POWER INC [US]
Brilliant Light Power, Inc

EP_4618104_A2

Resumen de: EP4618104A2

A solid or liquid fuel to plasma to electricity power source that provides at least one of electrical and thermal power comprising (i) at least one reaction cell for the catalysis of atomic hydrogen to form hydrinos, (ii) a chemical feel mixture comprising at least two components chosen from: a source of H<sub>2</sub>O catalyst or H<sub>2</sub>O catalyst; a source of atomic hydrogen or atomic hydrogen; reactants to form the source of H<sub>2</sub>O catalyst or H<sub>2</sub>O catalyst and a source of atomic hydrogen or atomic hydrogen; one or more reactants to initiate the catalysis of atomic hydrogen; and a material to cause the feel to be highly conductive, (iii) a fuel injection system such as a railgun shot injector, (iv) at least one set of electrodes that confine the fuel and an electrical power source that provides repetitive short bursts of low-voltage, high-current electrical energy to initiate rapid kinetics of the hydrino reaction and an energy gain due to forming hydrinos to form a brilliant-light emitting plasma, (v) a product recovery system such as at least one of an augmented plasma railgun recovery system and a gravity recovery system, (vi) a fuel pelletizer or shot maker comprising a smelter, a source of hydrogen and a source of H<sub>2</sub>O, a dripper and a water bath to form fuel pellets or shot, and an agitator to teed shot into the injector, and (vii) a power converter capable of converting the

traducir