Ministerio de Industria, Turismo y Comercio LogoMinisterior
 

Alerta

Resultados 934 resultados
LastUpdate Última actualización 17/03/2026 [06:59:00]
pdfxls
Publicaciones de solicitudes de patente de los últimos 60 días/Applications published in the last 60 days
previousPage Resultados 450 a 475 de 934 nextPage  

Bipolarplatte für ein Elektrolysesystem

NºPublicación:  DE102024207372A1 05/02/2026
Solicitante: 
BOSCH GMBH ROBERT [DE]
Robert Bosch Gesellschaft mit beschr\u00E4nkter Haftung
DE_102024207372_PA

Resumen de: DE102024207372A1

Die vorgestellte Erfindung betrifft eine Bipolarplatte (100) für ein Elektrolysesystem (300), wobei die Bipolarplatte (100) umfasst:- einen Grundkörper (101) mit einer ersten Seite (103) und einer der ersten Seite (103) gegenüberliegenden zweiten Seite (105),wobei zumindest auf der ersten Seite (103) eine Vielzahl Kanäle (107) von einem ersten Ende zu einem dem ersten Ende gegenüberliegenden zweiten Ende verlaufen,wobei zwischen jeweiligen benachbarten Kanälen (107) Leitpfade (109) ausgebildet sind,wobei die Leitpfade (109) an einem ersten Ende fluiddicht verschlossen und an einem gegenüberliegenden zweiten Ende offen sind, undwobei jeweilige Kanäle (107) eine Anzahl Öffnungen (113) umfassen, die ein Überströmen von durch die Leitpfade (109) strömendem Fluid in die Kanäle (107) ermöglichen.

Method for capturing methane and producing carbon nanotubes from flue gas and biogas through addition of hydrogen and carbon nanotubes produced thereby

NºPublicación:  KR20260017211A 05/02/2026
Solicitante: 
한국생산기술연구원
KR_20260017211_PA

Resumen de: KR20260017211A

본 발명은 수소 첨가를 통해 배가스 및 바이오가스로부터 메탄 분리 및 나노탄소물질 제조방법, 이에 의하여 제조 가능한 탄소나노튜브 및 탄소 코팅된 실리콘 음극재에 관한 것으로, 더욱 상세하게는 (a) 배가스 또는 바이오가스, 또는 이들 모두에 포함된 혼합가스를 포집하고, 혼합가스에 포함된 불순물을 제거하는 단계; (b) 불순물이 제거된 혼합가스의 조성을 분석하여 소정량의 수소를 첨가하는 단계; (c) 수소가 첨가된 혼합가스를 제1 반응기에 투입하고, 상기 제1 반응기에 의하여 반응 후 생성물을 생성하는 단계; (d) 상기 제1 반응기에 의한 반응 후 생성물의 가스 분리를 통해 메탄을 분리하는 단계; (e) 상기 (d) 단계에서 분리된 메탄을 제2 반응기에 투입하여 나노탄소물질을 생성하는 단계; 및 (f) 상기 (c) 단계에서의 일부 생성물과, 상기 (d) 단계에서 메탄을 제외한 분리 가스 및 상기 (e) 단계에서의 제2 반응기에 의한 반응 후 생성된 가스를 선택적으로 재순환시키기 위한 단계;를 포함하여 이루어진다. 본 발명은 전북농기계·부품기술고도화 지원사업(IZ-24-0039)에 의한 위탁 연구를 통해 제안되었음을 밝힌다.

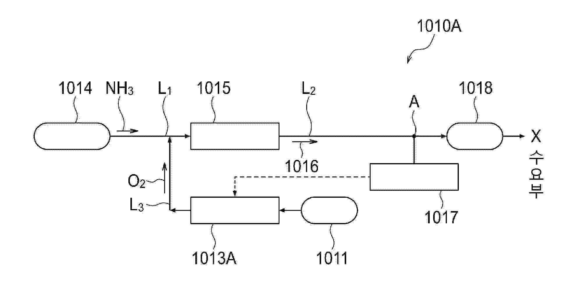
암모니아·수소 혼합연료 제조장치, 연료공급 시스템 및 수소의 제조방법

NºPublicación:  KR20260017497A 05/02/2026
Solicitante: 
미쯔비시가꼬끼가이샤리미티드
KR_20260017497_PA

Resumen de: TW202511178A

To provide: an ammonia-hydrogen mixed fuel production apparatus capable of stably obtaining hydrogen from ammonia even when there is a change in the required ratio of fuel; and a fuel supply system. An ammonia-hydrogen mixed fuel production apparatus 1010A comprises: an oxygen separation device 13 that separates oxygen (O2) 12 at a desired concentration from air 11; a reforming reactor 15 that converts ammonia (NH3) supplied from a raw material supply unit 14 into hydrogen (H2) by using the oxygen having the desired concentration from the oxygen separation device 13; and a gas component analyzer 17 that measures the concentration of one or both of hydrogen and ammonia in a reformed gas 16 from the reforming reactor 15.

DIAPHRAGM FOR ALKALINE WATER ELECTROLYSIS, METHOD FOR PRODUCING SAME, AND ALKALINE WATER ELECTROLYSIS TANK

NºPublicación:  WO2026028789A1 05/02/2026
Solicitante: 
KAWASAKI HEAVY IND LTD [JP]
\u5DDD\u5D0E\u91CD\u5DE5\u696D\u682A\u5F0F\u4F1A\u793E
WO_2026028789_PA

Resumen de: WO2026028789A1

This diaphragm for alkaline water electrolysis separates an anode chamber in which an anode of an alkaline water electrolysis tank is disposed and a cathode chamber in which a cathode is disposed, the diaphragm for alkaline water electrolysis comprising a polymer porous membrane integrally having a seal region, which is sandwiched by a tank-constituting member in the alkaline water electrolysis tank, and a separator region, which is disposed on the inner-peripheral side of the seal region. The separator region has an inter-electrode region that is smaller than the separator region and is sandwiched between the anode and the cathode, and a non-restraint region present between the seal region and the inter-electrode region. The polymer porous membrane has a frame-shaped bulk part that extends across the seal region, the non-restraint region, and the inter-electrode region.

DIAPHRAGM FOR ALKALINE WATER ELECTROLYSIS, METHOD FOR PRODUCING SAME, AND ALKALINE WATER ELECTROLYSIS CELL

NºPublicación:  WO2026028790A1 05/02/2026
Solicitante: 
KAWASAKI HEAVY IND LTD [JP]
\u5DDD\u5D0E\u91CD\u5DE5\u696D\u682A\u5F0F\u4F1A\u793E
WO_2026028790_PA

Resumen de: WO2026028790A1

Disclosed is a diaphragm for alkaline water electrolysis, which separates an anode chamber and a cathode chamber of an alkaline water electrolysis cell. This diaphragm for alkaline water electrolysis is provided with a polymer porous film which integrally has a sealing region that is sandwiched by cell constituent members in the alkaline water electrolysis cell, an edge region that is disposed on the outer peripheral side of the sealing region, and a separator region that is disposed on the inner peripheral side of the sealing region. The sealing region has a shape surrounding the separator region, and has a bulk part for preventing permeation of an electrolyte solution through the pores of the polymer porous film.

METHOD FOR PROMOTING FORMIC ACID SYNTHESIS REACTION, AND IONIC LIQUID

NºPublicación:  WO2026029047A1 05/02/2026
Solicitante: 
TOKUYAMA CORP [JP]
\u682A\u5F0F\u4F1A\u793E\u30C8\u30AF\u30E4\u30DE
WO_2026029047_PA

Resumen de: WO2026029047A1

A method for promoting a formic acid synthesis reaction according to the present invention involves reacting carbon dioxide with hydrogen in an ionic liquid, wherein a substituent in a cation of the ionic liquid is at least an amino group or a carboxyl group.

PROCESS FOR HYDROGENATING A HYROCARBON STREAM WITH ELECTROLYSIS

NºPublicación:  WO2026030458A1 05/02/2026
Solicitante: 
UOP LLC [US]
UOP LLC
WO_2026030458_PA

Resumen de: WO2026030458A1

A process of hydrogenating an unsaturated hydrocarbon is disclosed. The process comprises passing a hydrocarbon feed stream comprising toluene to a hydrogenation reactor. A hydrogen stream is passed to the hydrogenation reactor. In the hydrogenation reactor, the hydrocarbon feed stream is hydrogenated in the presence of hydrogen and a hydrogenation catalyst to produce a hydrogenated effluent stream comprising methylcyclohexane. The hydrogenated effluent stream is indirectly contacted with a water stream to produce a steam stream. The steam stream is taken from the hydrogenation reactor. In an electrolyzer, hydrogen is separated from the steam stream to produce the hydrogen stream which is passed to the hydrogenation reactor.

HYDROGEN BOILER AND MANAGEMENT DEVICE

NºPublicación:  WO2026028848A1 05/02/2026
Solicitante: 
MIURA CO LTD [JP]
\u4E09\u6D66\u5DE5\u696D\u682A\u5F0F\u4F1A\u793E
WO_2026028848_PA

Resumen de: WO2026028848A1

In a hydrogen boiler (3), hydrogen gas and oxygen gas supplied from a water electrolysis device (2), which generates the hydrogen gas and the oxygen gas by electrolyzing water, are combusted in a combustion chamber of the hydrogen boiler (3), and a water pipe of the hydrogen boiler (3) is heated, thus generating water vapor.

A METHOD OF FORMING A HIGH-ENTROPY OXIDE NANOSTRUCTURE

NºPublicación:  WO2026029709A1 05/02/2026
Solicitante: 
NANYANG TECHNOLOGICAL UNIV [SG]
NANYANG TECHNOLOGICAL UNIVERSITY
WO_2026029709_PA

Resumen de: WO2026029709A1

The present disclosure broadly relates to a method of preparing a supported high-entropy oxide nanostructure The method may comprise the step of: irradiating, with a laser, a substrate coated with a hydrogel to form the high-entropy oxide nanostructure, wherein the hydrogel comprises at least five metal salts, a cross-linking agent, a carbonaceous substance and water to form a high-entropy oxide nanostructure. There is also disclosed herein a high- entropy oxide nanostructure produced by the method as well as the use of the high-entropy oxide nanostructure for forming hydrogen.

METHOD FOR CONTROLLING WATER ELECTROLYSIS SYSTEM, AND WATER ELECTROLYSIS SYSTEM

NºPublicación:  AU2025277771A1 05/02/2026
Solicitante: 
HITACHI LTD
HITACHI, LTD
AU_2025277771_PA

Resumen de: AU2025277771A1

Provided is a method for controlling a water electrolysis system with which operation states of a plurality of electrolysis stacks can be independently regulated highly responsively and highly efficiently. This method is for controlling a water electrolysis system which comprises: electrolysis stacks where water is electrolyzed to produce hydrogen and oxygen; a pure water feeder for feeding pure water to the electrolysis stacks; a first regulation part and a second regulation part, which are disposed between each electrolysis stack and the pure water feeder and are capable of regulating the operation state of the electrolysis stack; and an operation state regulation control unit which regulates the first regulation part and the second regulation part to regulate the operation states of the electrolysis stacks. The operation state regulation control unit, after receiving a command to change the operation state of an electrolysis stack, operates the first regulation part on the basis of the operation state and, when a predetermined requirement has been satisfied, operates the second regulation part simultaneously with the first regulation part on the basis of the operation state.

精製プラントおよび精製プラントの制御方法

NºPublicación:  JP2026017818A 05/02/2026
Solicitante: 
三菱重工業株式会社
JP_2026017818_PA

Resumen de: WO2026023164A1

This purification plant comprises: a temperature swing adsorption (TSA) tower in which unreacted ammonia is adsorbed to an adsorbent and removed from a decomposition gas and from which a resulting treated gas is discharged; a gas-purifying device that separately discharges product gas refined from the treated gas and off-gas; an off-gas heating device that heats the off-gas and supplies same to the TSA tower as regeneration gas for regenerating the adsorbent in the TSA tower; a combustion device that supplies, as a heat source for the off-gas heating device, a portion of a combustion gas resulting from combusting the regeneration gas discharged from the TSA tower; an off-gas flow path that circulates the off-gas through the combustion device; and a combustion-gas flow path that circulates the combustion gas through the off-gas heating device.

HYDROGEN GENERATION SYSTEM

NºPublicación:  US20260035242A1 05/02/2026
Solicitante: 
IMAGEN INC [US]
ImaGEN Inc
US_20260035242_PA

Resumen de: US20260035242A1

A hydrogen generation system with controlled water distribution is disclosed. The system comprises a reaction chamber containing a hydrogen-producing fuel, a liquid distribution mechanism, and a control system. The liquid distribution mechanism includes a rotating arm with liquid injection ports that move vertically through the fuel chamber. This allows for precise and efficient liquid delivery to unreacted fuel, optimizing hydrogen production. A proprietary fuel blend utilizes chemicals that store significant amounts of hydrogen in a solid-state form. A feature of the device is the arm's controlled vertical movement, achieved through a screw mechanism that adjusts the arm's height as it rotates, creating a spiral liquid distribution pattern. The control system regulates liquid injection rates, arm rotation speed, and vertical movement to optimize hydrogen production based on demand. The system can also operate at low pressures and be scaled to different sizes in a safer, more efficient, on-demand manner.

ELEKTROLYSEUR-BATTERIEZELLE, EIN HERSTELLUNGSVERFAHREN UND EINE VORRICHTUNG ZUM ERZEUGEN VON WASSERSTOFF AUS ERNEUERBARER ENERGIE

NºPublicación:  DE102025128171A1 05/02/2026
Solicitante: 
BOSCH GMBH ROBERT [DE]
Robert Bosch Gesellschaft mit beschr\u00E4nkter Haftung
DE_102025128171_PA

Resumen de: DE102025128171A1

Die vorliegende Offenbarung betrifft eine Elektrolyseur-Batteriezelle, ein Herstellungsverfahren und eine Vorrichtung zum Erzeugen von Wasserstoffgas aus erneuerbarer Energie. Die Elektrolyseur-Batteriezelle umfasst eine Membranbaugruppe, die im zentralen Bereich der Elektrolyseur-Batteriezelle angeordnet ist; eine Anodenkomponente und eine Kathodenkomponente, die jeweils auf beiden Seiten der Membranbaugruppe angeordnet sind; wobei die Anodenkomponente eine Anodentransportstruktur umfasst, um Fluid innerhalb des Elektrolyseurs bei einer ersten Geschwindigkeit in der Anodentransportstruktur zu transportieren; wobei die Kathodenkomponente eine Kathodentransportstruktur umfasst, um Fluid innerhalb des Elektrolyseurs bei einer zweiten Geschwindigkeit in der Kathodentransportstruktur zu transportieren; wobei die Kathodentransportstruktur sich von der Anodentransportstruktur unterscheidet und der Durchschnittswert der zweiten Geschwindigkeit größer als der Durchschnittswert der ersten Geschwindigkeit ist. Die Lösung der vorliegenden Offenbarung verbessert die Transportrate des Fluids, unterstützt die Entladung der Gasprodukte auf der Kathodenseite und verhindert, dass die Gasprodukte auf der Kathodenseite die Katalysatorschicht bedecken, sodass die Reaktanten schnell die Elektrodenoberfläche erreichen können, wodurch die Reaktionsrate des elektrolysierten Wassers gewährleistet und die Leistung der Elektrolyseur-Batterie verbessert wird.

Verfahren zum Betreiben eines Elektrolysesystems, Steuereinheit

NºPublicación:  DE102024207257A1 05/02/2026
Solicitante: 
BOSCH GMBH ROBERT [DE]
Robert Bosch Gesellschaft mit beschr\u00E4nkter Haftung
DE_102024207257_PA

Resumen de: DE102024207257A1

Die Erfindung betrifft ein Verfahren zum Betreiben eines Elektrolysesystems mit mehreren Stacks, die jeweils eine Vielzahl an Einzelzellen in gestapelter Anordnung umfassen, wobei jede Einzelzelle eine Anode und eine Kathode aufweist, die durch eine Membran getrennt sind. Erfindungsgemäß wird durch Festlegen einer unteren Leistungsschwelle (Pmid,low) und einer oberen Leistungsschwelle (Pmid,high) ein mittlerer Leistungsbereich definiert, in dem die Alterungsrate (AR) der Membranen ein Maximum erreicht, und zur Verringerung der Membranalterung die verfügbare elektrische Leistung (P) so auf einen oder mehrere Stacks aufgeteilt wird, dass ein Betrieb eines einzelnen Stacks im mittleren Leistungsbereich vermieden wird.Die Erfindung betrifft ferner eine Steuereinheit zur Ausführung von Schritten des erfindungsgemäßen Verfahrens.

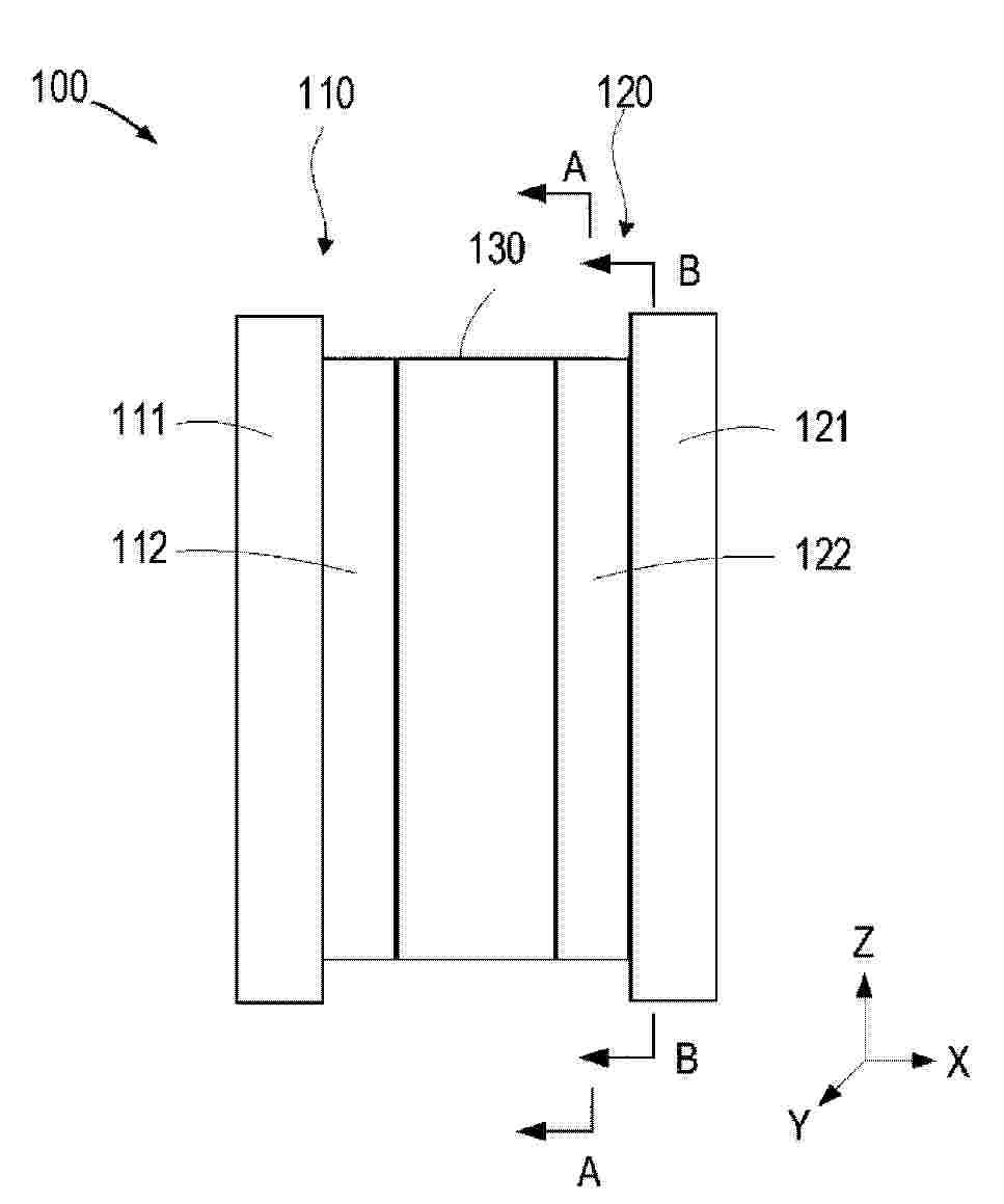
ELECTROCHEMICAL CELL STACK UNIT

NºPublicación:  WO2026027698A1 05/02/2026
Solicitante: 
ROBERT BOSCH GMBH [DE]
ROBERT BOSCH GMBH
WO_2026027698_PA

Resumen de: WO2026027698A1

The invention comprises an electrochemical cell stack unit (10) consisting of electrochemical cells, which can be used, for example, as a fuel cell unit for electrochemically generating electrical energy from hydrogen and/or as an electrolysis cell unit for generating hydrogen and oxygen from electrical energy.

METHOD OF OPERATING AN ELECTROLYSIS SYSTEM, CONTROL UNIT

NºPublicación:  WO2026027570A1 05/02/2026
Solicitante: 
BOSCH GMBH ROBERT [DE]
ROBERT BOSCH GMBH
WO_2026027570_PA

Resumen de: WO2026027570A1

The invention relates to a method of operating an electrolysis system having a plurality of stacks, each of which comprises a plurality of individual cells in a stacked arrangement, where each individual cell has an anode and a cathode that are separated by a membrane. According to the invention, by defining a lower power threshold (Pmid,low) and an upper power threshold (Pmid,high), an average power range in which the ageing rate (AR) of the membranes reaches a maximum is defined, and, in order to reduce membrane ageing, the available electrical power (P) is divided between one or more stacks so as to avoid operation of any individual stack in the average power range. The invention further relates to a control unit for executing steps of the method according to the invention.

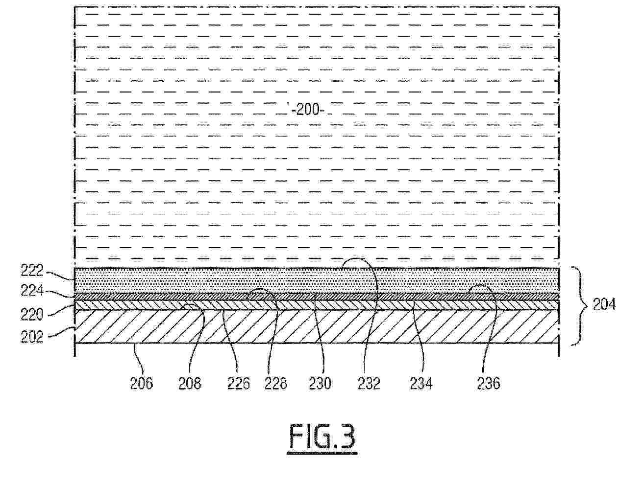
DEVICES FOR PROTECTION SOLUTIONS AGAINST CORROSION OF METAL PARTS WITHIN ALKALINE ELECTROLYZERS

NºPublicación:  WO2026027751A1 05/02/2026
Solicitante: 
TOTALENERGIES ONETECH [FR]
TECHLAM [FR]
TOTALENERGIES ONETECH,
TECHLAM
WO_2026027751_PA

Resumen de: WO2026027751A1

The installation (10), comprises a piece of equipment delimiting an electrolyte storage or/and circulation volume (200), the piece of equipment comprising a metal wall (202) having an inner surface (208) facing the electrolyte storage or/and circulation volume (200). The piece of equipment further comprises: - a polymer adhesive protection layer (220) applied on the inner surface (208) of the metal wall (202); - a polymeric liner (222) positioned between the polymer adhesive protection layer (220) and the electrolyte storage or/and circulation volume (200), the polymeric liner (222) having an electrolyte contact surface (232) delimiting the electrolyte storage or/and circulation volume (200).

ELECTRODE AND METHOD FOR MAKING THE SAME

NºPublicación:  WO2026027565A1 05/02/2026
Solicitante: 
INDUSTRIE DE NORA SPA [IT]
INDUSTRIE DE NORA S.P.A
WO_2026027565_A1

Resumen de: WO2026027565A1

The present invention relates to an electrode, preferably a gas evolution electrode, comprising a substrate, a porous interlayer and a catalytic layer, wherein the porous interlayer comprises nickel and have a surface area of at least 0. 1 m2 /g measured by BET, wherein the catalytic layer comprises at least one catalytically active metal, wherein said porous interlayer has an inner porous surface and an outer surface, wherein the at least one catalytically active metal is a transition metal, a rare earth element or a combination thereof, wherein at least 80% of said at least one catalytically active metal is deposited on the outer surface of said porous interlayer measured by cross-sectional SEM EDAX image analysis, wherein at most 20% of said at least one catalytically active metal is deposited in the inner porous surface measured by cross-sectional SEM EDAX image analysis.

GREEN METHANOL PROCESS AND PLANT

NºPublicación:  WO2026027476A1 05/02/2026
Solicitante: 
CASALE SA [CH]
CASALE SA
WO_2026027476_PA

Resumen de: WO2026027476A1

A process for the synthesis of methanol (MeOH) comprising the following steps: (a) passing a water-containing stream (3) through an electrolysis unit (4) to produce a cathode-side stream (5) comprising hydrogen (H2) and an anode-side stream (6) comprising oxygen (O2); (b) heat-exchanging said cathode-side stream (5) and optionally said anode-side stream (6) in one or more indirect heat exchanger(s) (7, 8, 32, 33) to obtain a cathode-side heat-exchanged stream (9) and optionally an anode-side heat-exchanged stream (10); (c) condensing said cathode-side heat-exchanged stream (9) to separate a liquid condensate product (11) and a syngas (12); said cathode-side stream (5) and/or said syngas (12) comprise carbon dioxide and optional carbon monoxide added through a separate stream (2); (d) compressing said syngas (12) in a compressor (27, 28) and then feeding compressed syngas (13) to a MeOH synthesis loop (14) wherein catalytic conversion of said compressed syngas (13) into MeOH is carried out under methanol synthesis conditions, thus obtaining a crude methanol stream (15); (e) distilling said crude methanol stream (15) in one or more distillation column(s) (16, 17) to give a refined MeOH product (19, 22); (i) recycling as feed to the electrolysis unit (4) at least a portion of at least one of: (A) a portion (31) of said compressed syngas (13); and/or (B) a bottom water stream (20) of a distillation column (16, 17).

GREEN METHANOL PROCESS AND PLANT

NºPublicación:  WO2026027472A1 05/02/2026
Solicitante: 
CASALE SA [CH]
CASALE SA
WO_2026027472_PA

Resumen de: WO2026027472A1

A process or plant for the synthesis of methanol (MeOH). The process comprises: (a) passing a water-containing stream (3) through an electrolysis unit (4) to produce a cathode-side stream (5) comprising hydrogen (H2) and an anode-side stream (6) comprising oxygen (O2); (b) heat-exchanging said cathode-side stream (5) and optionally said anode-side stream (6) in one or more indirect heat exchanger(s) (7, 8, 32, 33) to obtain a cathode-side heat-exchanged stream (9) and optionally an anode-side heat-exchanged stream (10); (c) condensing said cathode-side heat-exchanged stream (9) to separate a liquid condensate product (11) and a syngas (12); said cathode-side stream (5) and/or said syngas (12) comprise carbon dioxide (CO2) and optional carbon monoxide (CO) added through a separate stream (2); (d) compressing said syngas (12) and then feeding compressed syngas (13) to a MeOH synthesis loop (14) wherein catalytic conversion of said compressed syngas (13) into MeOH is carried out under methanol synthesis conditions, thus obtaining a crude methanol stream (15); (e) distilling said crude methanol stream (15) in one or more distillation column(s) (16, 17) to give a refined MeOH product (22); wherein said one or more indirect heat exchanger(s) (7, 8, 32, 33) provide a heat input to said one or more distillation column(s) (16, 17), and/or to said MeOH synthesis loop (14), and/or to said electrolysis unit (4).

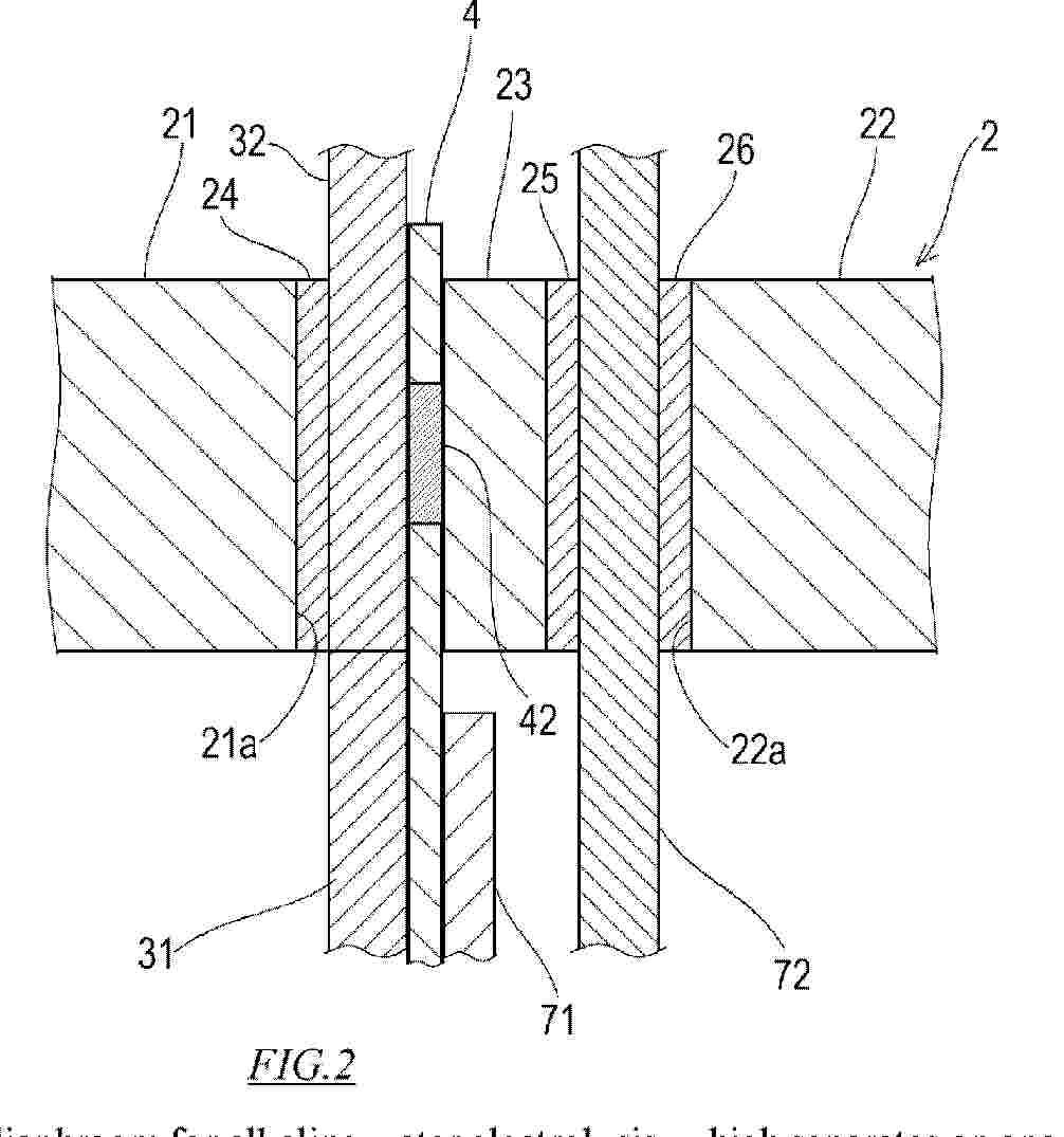
THIN CELL FRAME WITH OPEN CHANNELS FOR A HYDROGEN ELECTROLYZER, STACK OF SUCH CELL FRAME, AND ELECTROLYZER COMPRISING SUCH STACK

NºPublicación:  WO2026027165A1 05/02/2026
Solicitante: 
JOHN COCKERILL HYDROGEN FRANCE [FR]
JOHN COCKERILL HYDROGEN FRANCE
WO_2026027165_PA

Resumen de: WO2026027165A1

A frame assembly (Fr.Ass) comprising a frame (TF) configured to be integrated in a stack of frames of an electrolyzer, the frame comprising a central opening (CentOp), a first through opening (In2, Out2), a top surface (Top) and a bottom surface (Bot) opposed to the top surface (Top), the frame further comprising an open channel (OpCh) on the bottom surface (Bot), the frame assembly comprising a bipolar plate (BP) formed from a polymer material, the bipolar plate being arranged so as to seal the open channel (OpChan), the bipolar plate being welded to the frame (TF).

THIN CELL FRAME FOR A HYDROGEN ELECTROLYZER, STACK OF SUCH CELL FRAME, AND ELECTROLYZER COMPRISING SUCH STACK

NºPublicación:  WO2026027166A1 05/02/2026
Solicitante: 
JOHN COCKERILL HYDROGEN FRANCE [FR]
JOHN COCKERILL HYDROGEN FRANCE
WO_2026027166_PA

Resumen de: WO2026027166A1

A frame assembly (Fr.Ass) comprising a frame (TF) configured to be integrated in a stack of frames of an electrolyzer, the frame comprising a central opening (CentOp), a first through opening (ln2, Out2), a top surface (Top) and a bottom surface (Bot) opposed to the top surface (Top), the frame further comprising an open channel (OpCh) on the bottom surface (Bot), the frame assembly comprising a bipolar plate (BP) formed from a polymer material, the bipolar plate being arranged so as to seal the open channel (OpChan), the bipolar plate being welded to the frame (TF).

MULTI-PHASE REACTOR FOR HYDROGEN PRODUCTION

NºPublicación:  AU2024308720A1 05/02/2026
Solicitante: 
CLEAN HYDROGEN LTD
CLEAN HYDROGEN LIMITED
AU_2024308720_A1

Resumen de: AU2024308720A1

The disclosure provides a method of producing hydrogen. The method comprises conducting a thermochemical reaction by contacting an active reagent and a basic aqueous solution, to thereby cause water from the basic aqueous solution to react with the active reagent and to produce hydrogen and a basic aqueous solution comprising an oxidised product. The method further comprises disposing the basic aqueous solution comprising the oxidised product in an electrochemical cell comprising an anode and a cathode, such that at least a portion of the cathode contacts the solution; and conducting an electrochemical reaction by applying a voltage across the anode and the cathode to produce hydrogen, oxygen and the active reagent. The active reagent comprises a metal or metal ion in a first oxidation state and the oxidised product comprises the metal or metal ion in a second oxidation state which is higher than the first oxidation state.

A PROCESS AND A SYSTEM OF CARBON OXIDES-FREE HYDROGEN PRODUCTION

NºPublicación:  AU2024291792A1 05/02/2026
Solicitante: 
NUOVO PIGNONE TECNOLOGIE S R L
NUOVO PIGNONE TECNOLOGIE - S.R.L
AU_2024291792_PA

Resumen de: AU2024291792A1

The disclosure concerns a process of carbon oxides-free hydrogen production is disclosed. The process comprises the following steps: - heating a gas stream of a reacting compound including hydrogen atoms in absence of oxidizing agents, to thermally decompose the reacting compound into smaller product compounds, including hydrogen molecules, obtaining a stream of decomposition product compounds; - separating hydrogen molecules from other product compounds of the stream of decomposition product compounds; - reacting a portion of the stream of separated hydrogen molecules with a stream of an oxidizing agent, in particular oxygen or air, to obtain combustion product compounds, including steam and heat, in a stream of combustion product compounds; - providing heat obtained in the previous step to the step of heating the reacting compound; and wherein the process can comprise a step of - recovering energy from the stream of decomposition product compounds and/or from the stream of combustion product compounds. Additionally, a system of hydrogen production is also disclosed, the system being configured to operate according to the above process.

METHOD OF SYNTHESIZING ALUMINUM OXIDE FROM GALLIUM-ALUMINUM HYDROGEN EVOLUTION REACTION

Nº publicación: AU2024291778A1 05/02/2026

Solicitante:

THE REGENTS OF THE UNIV OF CALIFORNIA
THE REGENTS OF THE UNIVERSITY OF CALIFORNIA

AU_2024291778_PA

Resumen de: AU2024291778A1

A method of synthesizing aluminum oxide includes reacting a gallium and aluminum composite in a hydrogen evolution reaction with water to form an aluminum byproduct having at least one of aluminum hydroxide or aluminum oxyhydroxide. The method also includes removing the aluminum byproduct and calcinating the aluminum byproduct to form aluminum oxide.

traducir