Resumen de: CN120719328A
本发明属于电催化分解水制氢技术领域,具体涉及一种外场极化处理的氢氧化镍@铁酸铋复合电催化剂(Ni(OH)2@BiFeO3‑P)及其制备方法。所述方法包括:首先通过水热法合成铁酸铋(BiFeO3)粉末;随后以铁酸铋粉末为基底,在含镍前驱体溶液中再次进行水热反应,使Ni(OH)2纳米颗粒在BiFeO3纳米片表面原位生长,形成Ni(OH)2@BiFeO3复合电催化剂;最后,对该复合电催化剂施加高压直流电场(1~10kV,保压20~50min)进行外场极化处理。该极化处理诱导BiFeO3铁电畴定向排列,增强其内置电场强度,驱动电子向Ni(OH)2转移并优化催化剂表面电荷分布状态。本发明提供的方法显著提升复合电催化剂析氧反应(OER)活性和电荷转移效率,为开发高性能电催化剂提供了创新性解决方案。
Resumen de: CN120719329A
本发明涉及一种钌基烧绿石在碱性阴离子交换膜电解槽制氢中的应用,其包括提供钌基烧绿石Pb2M2‑xRuxO7,其中,M为Fe、Co、Ni、Cu或Zn,0
Resumen de: CN120720740A
本申请涉及燃气热水器领域,尤其涉及一种消耗纯水产生含氢水的燃气热水器及其控制方法,包括:溶气罐,用于将氢气溶解于加热水中以产生含氢水;氢气生成系统,氢气生成系统包括电解水装置、增压水泵、纯水箱以及排气组件,纯水箱的出水口与增压水泵的进水口管路连接,增压水泵的出水口与电解水装置的进水口管路连接,电解水装置的排气口与溶气罐的入口管路连接;水加热系统,水加热系统包括燃烧器、热交换器以及控制器,控制器与燃烧器通讯连接,燃烧器与热交换器连接,热交换器外周绕设有待加热水管,待加热水管的出水口与溶气罐的入口管路连接。相比于现有技术,本申请可在单一设备内实现含氢热水的即热即溶,提升健康热水供给的系统能效。
Resumen de: AU2024307301A1
A method and arrangement of performing electrolysis by an electrolyzer includes an operational mode and a partial operational mode. During the operational mode operational power from a main power source (202) to a first (808) and second set of stacks (806). In response to detecting a power insufficient for the first and the second set of stacks (806) to perform electrolysis without impurities, the electrolyzer is set to a partial operational mode, wherein the first set of stacks (808) perform electrolysis without impurities and the second set of stacks (806) do not perform electrolysis.
Resumen de: CN120719338A
本发明涉及电解水制氢技术领域,公开了冷启动控制系统、方法、装置、设备、介质及程序产品。所述系统包括:碱性电解槽,用于对主路水管中的电解液进行电解处理以制氢;主路水管的第一节点处部署有流量分配阀,包括进水口、第一出水口和第二出水口,电解液由进水口流入流量分配阀,从第一出水口或第二出水口流出;第一出水口通过第一水管连接至主路水管的第二节点;第二出水口通过碱性电解槽连接至主路水管的第二节点;加热器,用于加热电解液;第一温度传感器,用于对第一水管中流过的电解液进行温度测量;控制单元,用于根据第一温度传感器的测温结果控制流量分配阀中第一出水口和第二出水口的流量比。上述方案,能够提高冷启动效率。
Resumen de: MA70875A1
An HVDC system comprising an AC/DC converter sub-system electrically connected to a renewable energy equipment and a VSC sub-system is provided. A method comprises operating the renewable energy equipment to function as a voltage source to energize an HVDC link between the AC/DC converter sub-system and the VSC sub-system; operating the VSC sub-system as a voltage source to energize at least one electrical load electrically connected thereto; if it is determined that the power production rate of the renewable energy equipment is not within a designated parameter, operating the equipment to follow the VSC sub-system such that controlling the AC electric power output influences the power production rate. If it is within the designated parameter, operating the VSC sub-system to follow the renewable energy equipment such that the VSC sub-system adjusts the properties of its AC electric output to match the properties of the electric power generated by the renewable energy equipment.
Resumen de: US2025092537A1
In this disclosure, a process of recycling acid, base and the salt reagents required in the Li recovery process is introduced. A membrane electrolysis cell which incorporates an oxygen depolarized cathode is implemented to generate the required chemicals onsite. The system can utilize a portion of the salar brine or other lithium-containing brine or solid waste to generate hydrochloric or sulfuric acid, sodium hydroxide and carbonate salts. Simultaneous generation of acid and base allows for taking advantage of both chemicals during the conventional Li recovery from brines and mineral rocks. The desalinated water can also be used for the washing steps on the recovery process or returned into the evaporation ponds. The method also can be used for the direct conversion of lithium salts to the high value LiOH product. The method does not produce any solid effluent which makes it easy-to-adopt for use in existing industrial Li recovery plants.
Resumen de: AU2024211141A1
The invention provides an electrolyser system (10) comprising a heat storage unit (14) and an electrolyser (16). The heat storage unit (14) comprises at least one heat source infeed. The electrolyser (16) comprises at least one electrolyser cell (20), a steam inlet and at least one off-gas outlet. The off-gas outlet is connected to the heat source infeed to heat the heat storage unit (14). The heat storage unit (14) is configured to use its stored heat to produce steam for feeding into the steam inlet and for generating electrical power, either one at a time or both at the same time. The invention also provides a system comprising an intermittent or variable electricity source (12) and an electrolyser system (10) as defined above. The intermittent or variable electricity source (12) can be configured to power the electrolyser (16) and to heat the heat storage unit (14) via a heating element, either both at the same time or individually.
Resumen de: TW202502644A
A process for the catalytic cracking of ammonia, the process comprising: supplying an ammonia feed gas to one or more heated catalyst containing reaction vessels disposed within an ammonia cracking reactor; and cracking the ammonia in the ammonia feed gas in the one or more catalyst containing reaction vessels to produce a hydrogen containing stream, wherein the or each of the reaction vessels has a wall which is composed of at least a first alloy and a second alloy, wherein the first alloy is more resistant to nitriding than the second alloy and the second alloy provides mechanical support to the first alloy, and wherein at least a portion of the wall adjacent the catalyst is composed of the first alloy.
Resumen de: KR20250142090A
본 발명은, (a) 제1 전이금속 소스, 제2 전이금속 소스 및 금속 소스를 포함하는 혼합 용액을 제조하는 단계; (b) 작업전극(working electrode) 및 상대전극(counter electrode)을 상기 혼합 용액 내에 위치시키는 단계; 및 (c) 상기 작업전극 및 상기 상대전극의 양단에 변화하는 전압을 인가함으로써 상기 작업전극에 변화하는 전위를 순환전압전류법에 따라 인가하는 단계;를 포함하고, 상기 (c) 단계는, 상기 혼합 용액 내 포함된 제1 전이금속, 제2 전이금속 및 금속이 이온화되어, 금속 단일원자가 올라간 전이금속 기반 층상 이중 수산화물(LDH)이 상기 작업전극의 표면에 형성되는 단계인, 수전해용 촉매전극의 제조방법, 이에 의해 제조되는 수전해용 촉매전극, 및 이를 포함하는 수전해 장치가 제공된다.
Resumen de: CN120719315A
本发明涉及电解水制氢的技术领域,公开了一种碳基电极及其制备方法和应用以及电解水制氢气的方法。本发明提供的碳基电极包括碳基底和贵金属;其中,所述碳基底的表面含有官能团,所述官能团与贵金属以配位形式结合。本发明还提供了一种碳基电极的制备方法,包括:(1)将碳材料进行活化,得到活化后的碳基底;(2)将活化后的碳基底放入贵金属溶液中,加热并搅拌,干燥,得到所述碳基电极。从本发明测试数据可以看出,本发明碳基电极中的贵金属具有高的利用效率,应用于电解水制氢气中时,电极的析氢活性得到明显提高。
Resumen de: CN120719332A
本发明涉及催化剂制备技术领域,本发明提供一种Co负载的镍铁基三元催化剂、制备方法及应用,Co负载的镍铁基三元催化剂的制备方法包括以下步骤:S1、在水热釜内衬中加入二价钴化合物溶液;S2、在所述二价钴化合物溶液中加入泡沫镍铁基底进行水热反应,反应结束后进行冲洗、烘干得到Co/NiFe@INF电极;S3、对Co/NiFe@INF电极进行氧化煅烧得到Co/NiFeO@INF电极。与现有技术相比,本发明所述的一种Co负载的镍铁基三元催化剂的制备方法,在高电流密度碱性条件下,展现出卓越的HER活性和优异的稳定性。
Resumen de: CN120714661A
本发明公开了一种硫镉锌铜/氧化钨异质结光催化剂及其制备方法及应用,属于光催化材料技术领域,本发明通过简单的一步水热法和原位生长策略,将硫镉锌铜纳米颗粒负载到氧化钨纳米棒表面,从而得到硫镉锌铜/氧化钨异质结光催化剂。本发明制备的硫镉锌铜/氧化钨异质结光催化剂可用于可见光驱动的光催化全分解水制取氢气和氧气,通过能带的匹配建立阶梯式电子转移通道,通过内置电场促进光生电荷的分离,驱动光生电子和空穴进行氧化与还原反应,实现了从单一制氢到全分解水的功能跨越。
Resumen de: CN120719322A
本申请涉及电催化材料技术领域,公开一种电催化剂及其制备方法和应用。电催化剂具有以下化学通式:SrIrxCo1‑xO3;其中,x为0.5~1,且不为1。本公开提供的电催化剂通过在ABO3型钙钛矿结构材料SrIrO3的B位引入部分钴元素进行掺杂,可有效改善材料的电荷转移性能,促进表面活性位点的生成,并调控Ir位的电子结构,从而在降低贵金属Ir用量的同时实现对酸性条件下析氧反应的高效催化,提升了SrIrO3材料在酸性电解条件下的结构稳定性与催化活性。电催化剂的制备方法采用溶胶‑凝胶法,工艺简单、重复性好,并加入柠檬酸作为金属络合剂,提升了结构稳定性,结合两步煅烧工艺,制备得到具有规整ABO3型钙钛矿结构的Co掺杂SrIrxCo1‑xO3电催化剂,具有显著的成本优势和工业化应用前景。
Resumen de: WO2024162842A1
A method of generating hydrogen and oxygen from a liquid feed stream through an integrated system of forward osmosis and electrolysis, wherein the method comprising the steps of feeding water into an electrolyte solution by means of forward osmosis and applying a voltage across the electrolyte solution to generate hydrogen and oxygen, characterized in that the electrolyte solution comprising an electrolyte, an ionic liquid and a solvent, wherein the electrolyte is used in an amount ranging between 1 wt% to 10 wt% of the electrolyte solution, wherein the ionic liquid is used in an amount ranging between 1 wt% to 5 wt% of the electrolyte solution and wherein the solvent is used in an amount ranging between 75 wt% to 99 wt% of the electrolyte solution.
Resumen de: WO2024162841A1
An electrolyte solution comprising an electrolyte, wherein the electrolyte is used in an amount ranging between 1 wt% to 10 wt% of the electrolyte solution; an ionic liquid, wherein the ionic liquid is used in an amount ranging between 1 wt% to 5 wt% of the electrolyte solution; and a solvent, wherein the solvent is used in an amount ranging between 75 wt% to 99 wt% of the electrolyte solution.
Resumen de: MX2025008965A
The present application relates to a flow field for use in an electrolysis cell comprising one or more sheets of porous material with a corrugated structure. The electrolysis cell comprises a membrane, an anode, a cathode, an anode reinforcement layer, a cathode reinforcement layer, an anode flow field, a cathode flow field, and a bipolar plate assembly comprising an embedded hydrogen seal. The anode flow field comprises one or more porous sheets having at least one straight edge and at least one of the porous sheets has the form of a corrugated pattern with a plurality of peaks and valleys whose axes are generally aligned with one straight edge of the sheet. The anode flow field geometry simultaneously provides resiliency, for efficient mechanical compression of the cell, and well-distributed mechanical support for the anode reinforcement layer adjacent to the anode flow field.
Resumen de: KR20240033364A
The present specification relates to an electrode catalyst for water electrolysis, a water electrolysis battery including the same, and a manufacturing method thereof. A water electrolysis battery including an electrode catalyst for water electrolysis according to an embodiment of the present invention has excellent oxygen generation activity and durability, and a method for manufacturing an electrode catalyst for water electrolysis according to an embodiment of the present invention exhibits an effect of enabling mass production and scale-up.
Resumen de: CN120719334A
本发明属于催化剂技术领域,具体涉及一种桥联榫卯结构的镍铁层状氢氧化物制备及应用。所述复合材料以镍铁层状氢氧化物为基底,通过一步水热法将对氯苯甲酸以桥联的方式,两侧基团榫卯在镍铁层状氢氧化物的层间。本发明所制备的复合材料中,独特的桥联结构稳定了镍铁层状氢氧化物的层状结构,羧酸以及氯原子基团调控了界面电子结构,抑制金属离子的溶出,优化质子转移路径。本发明丰富了镍铁层状氢氧化物电催化剂催化活性的优化策略,拓展了镍铁层状氢氧化物基电催化剂的商业应用价值。
Resumen de: CN120719339A
本申请公开了一种宽负荷碱水电解制氢系统的控制方法及装置、介质、设备,该方法包括:在运行过程中,获取宽负荷碱水电解制氢系统的当前运行功率和当前氧中氢含量占比;将当前运行功率与第一预设功率阈值和第二预设功率阈值进行比较;基于比较结果和/或当前氧中氢含量占比,调整宽负荷碱水电解制氢系统的至少一个运行参数,其中,运行参数包括系统流量、系统运行功率、加热装置温度和系统压力,加热装置包括氢气加热装置和氧气加热装置。通过实时调整运行参数,避免因氧中氢含量过高引发的安全事故的同时,使得制氢系统可以在更宽的功率范围内有效运行,最大限度地提高设备的使用效率,减少频繁的停机事件,从而提高系统的运行时间和生产效率。
Resumen de: CN120719336A
本发明提供一种泡沫镍铁负载LDH/MOF异质电催化剂、制备方法及应用,涉及电解水催化剂技术领域。该催化剂是以导电的泡沫镍铁为自支撑基底,负载外层为层叠交错的褶皱状NiFe‑LDH纳米片包覆二维NiFe‑MOF纳米片阵列,共同构建具有核壳结构的纳米复合材料。本发明还提供一种泡沫镍铁负载LDH/MOF异质电催化剂的制备方法。本发明还提供上述泡沫镍铁负载LDH/MOF异质电催化剂在电解水中的应用。本发明的催化剂不仅有效提升了电解水系统的整体效率,还具有较高的稳定性和较长的使用寿命。
Resumen de: CN120719324A
本发明涉及电解电极技术领域,公开了一种不锈钢基阳极析氧电极的制备方法与应用,包括以下步骤:S1. 对不锈钢网进行喷砂处理并切割成不锈钢网小片,超声洗涤,干燥,作为电极基底;S2. 将S1所得不锈钢网置于氯化铁六水合物和硫代硫酸钠混合液中,磁力搅拌条件下浸泡一段时间后,洗涤、干燥;S3. 在三电极体系中,以碱液和盐水混合液为电解质,以S2所得不锈钢网作为工作电极,对S2所得不锈钢网进行电流脉冲活化。本发明通过喷砂、化学腐蚀结合电流脉冲,协同激活不锈钢电极网,得到具有优异电催化活性和稳定性的低成本电极,在工业化电解水制氢中具有良好的应用前景。
Resumen de: KR20250142089A
본 발명의 무스케일 전극 및 무막 전기분해를 이용한 수소생산장치는 전원부로부터 전원(DC)을 인가받아 여과수 또는 전해질 수용액을 전기분해하여 수소와 산소를 발생시키는 양극플레이트 및 음극플레이트와; 여과수 또는 전해질 수용액을 양극플레이트와 음극플레이트로 공급할 수 있도록 양극플레이트와 음극플레이트의 사이에 설치되는 흡습성플레이트와; 양극플레이트와 음극플레이트의 양측 각각에 설치되는 전극접합체와; 양극플레이트와 음극플레이트, 흡습성플레이트 및 전극접합체의 중앙에 설치되는 공급관과; 양극플레이트, 음극플레이트 및 흡습성플레이트가 결합되는 결합링과; 전기분해에 의해 발생되는 수소와 산소가 배출되며 유입되는 처리수 또는 전해질 수용액의 누출이 방지되게 결합링의 양측단에 각각 결합되는 복수의 고정판과; 공급관의 양측단에 각각 결합되는 복수의 결합관;을 포함하여 구성되는 것을 특징으로 하며, 유격막 방식의 문제점을 해결하고자 격벽을 설치하지 않고 다공성 전극을 사용함으로 유격막 방식의 효과를 발휘되면서 기존의 전기분해에서 대두되는 막(Membranes)을 사용하지 않으면서 수소의 생산에 따른 신뢰도를 높이고, 이산화탄소 무배출로 기후 온난화 문제 해결과 동시
Resumen de: US2025296836A1
In a process in which ammonia is cracked to form a hydrogen gas product and an offgas comprising nitrogen gas, residual hydrogen gas and residual ammonia gas, residual ammonia is recovered from the offgas from the hydrogen recovery process by partial condensation and phase separation, and hydrogen is recovered from the resultant ammonia-lean offgas by partial condensation and phase separation. The recovered ammonia may be recycled the cracking process and the recovered hydrogen may be recycled to the hydrogen recovery process to improve hydrogen recovery from the cracked gas. Overall hydrogen recovery from the ammonia may thereby be increased to over 99%.
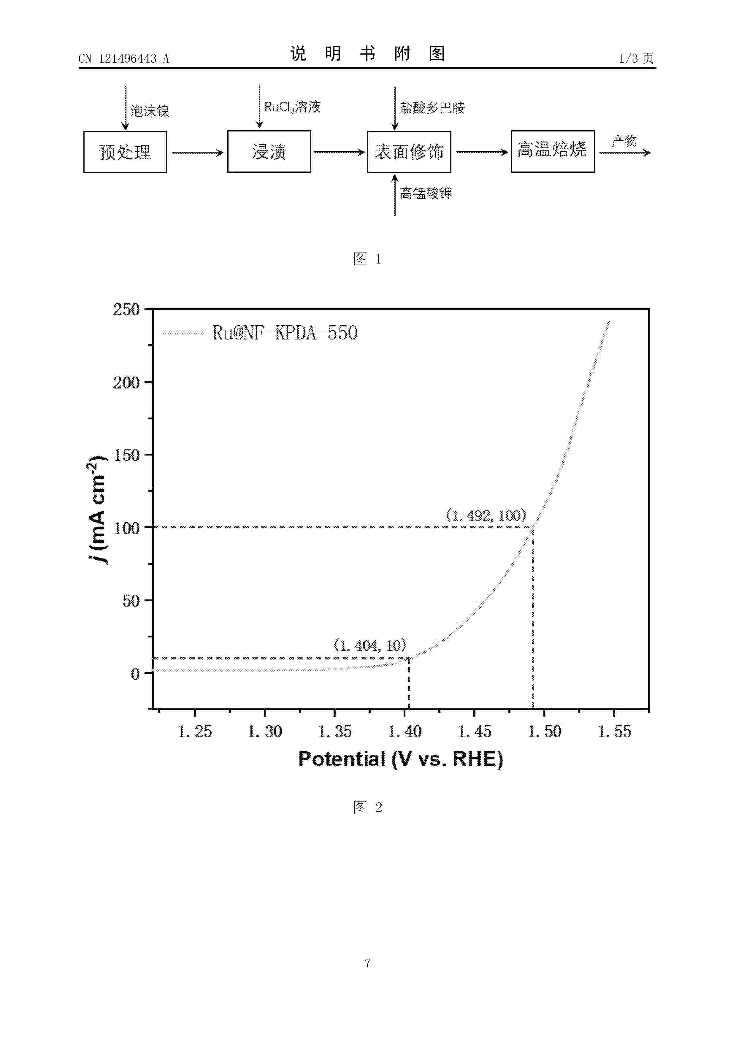
Nº publicación: CN120719314A 30/09/2025
Solicitante:
苏州大学
Resumen de: CN120719314A
本申请公开了丝素基碳气凝胶负载双金属硫化物催化剂的制备方法及其应用,涉及电催化析氢技术领域。制备方法包括:将脱胶丝素溶解于三元体系溶液中,制备获得预混合溶液;将预混合溶液依次经透析处理、冷冻干燥处理,制备获得多孔丝素气凝胶;将多孔丝素气凝胶依次进行预碳化处理、球磨混合处理以及碳化处理,制备获得丝素基碳气凝胶载体;将丝素基气凝胶载体加入至金属硫化溶液中,制备获得丝素基碳气凝胶负载双金属硫化物催化剂。本申请的制备方法制备获得的丝素基碳气凝胶负载双金属硫化物催化剂具有高石墨化程度、均匀分散的纳米针状活性位点及大比表面积,且环保性能优异、电荷转移效率以及催化活性高。
