Ministerio de Industria, Turismo y Comercio LogoMinisterior
 

Alerta

Resultados 26 resultados
LastUpdate Última actualización 22/11/2025 [08:00:00]
pdfxls
Solicitudes publicadas en los últimos 30 días / Applications published in the last 30 days
Resultados 1 a 25 de 26 nextPage  

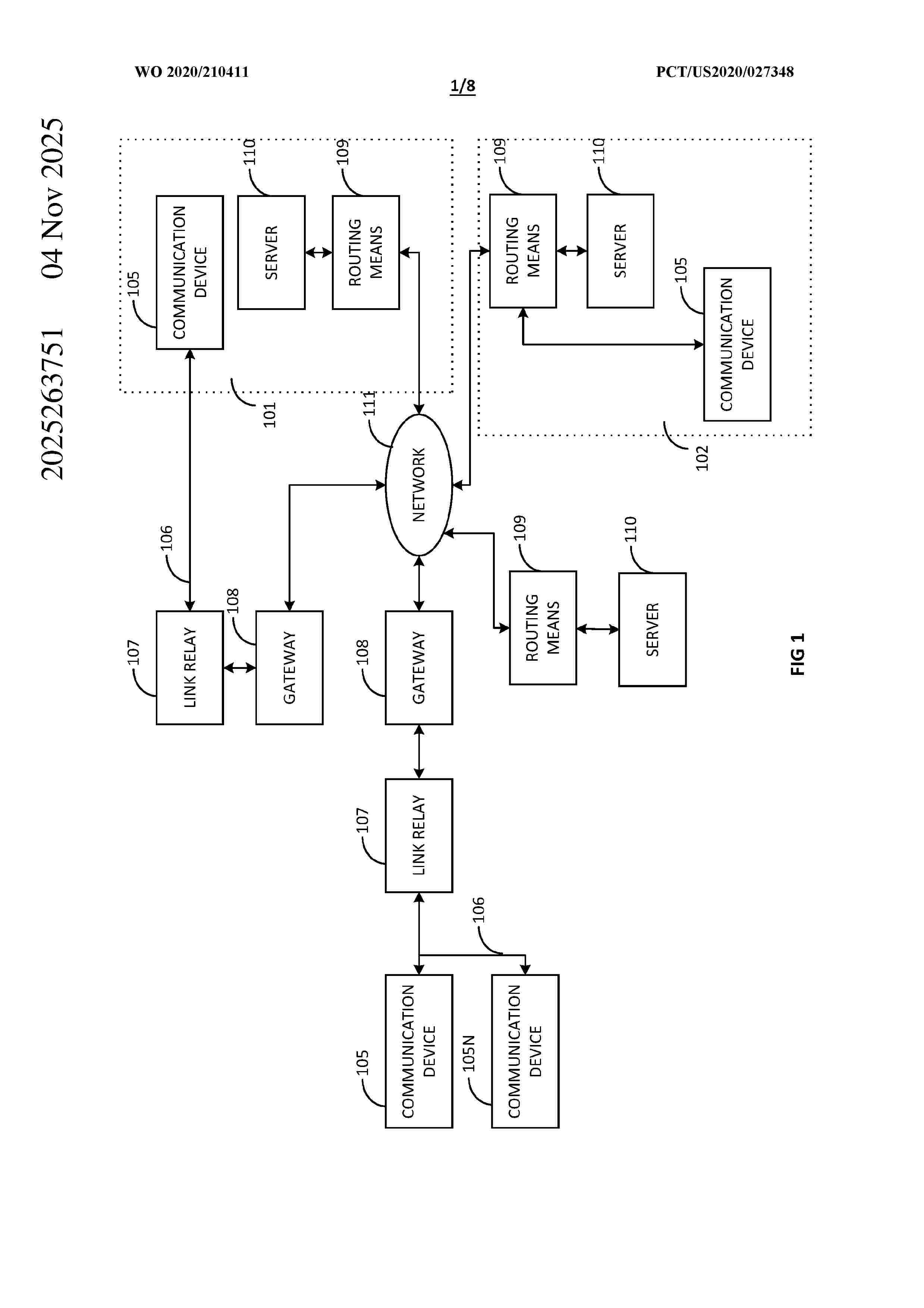
1 SYSTEM AND METHOD FOR CUSTOMER JOURNEY EVENT REPRESENTATION LEARNING AND OUTCOME PREDICTION USING NEURAL SEQUENCE MODELS

NºPublicación:  AU2025263751A1 20/11/2025
Solicitante: 
GENESYS CLOUD SERVICES INC
Genesys Cloud Services, Inc
AU_2025263751_A1

Resumen de: AU2025263751A1

A system and method are presented for customer journey event representation learning and outcome prediction using neural sequence models. A plurality of events are input into a module where each event has a schema comprising characteristics of the events and their modalities (web clicks, calls, emails, chats, etc.). The events of different modalities can be captured using different schemas and therefore embodiments described herein are schema-agnostic. Each event is represented as a vector of some number of numbers by the module with a plurality of vectors being generated in total for each customer visit. The vectors are then used in sequence learning to predict real-time next best actions or outcome probabilities in a customer journey using machine learning algorithms such as recurrent neural networks. A system and method are presented for customer journey event representation learning and outcome prediction using neural sequence models. A plurality of events are input into a module where each event has a schema comprising characteristics of the events and their modalities (web clicks, calls, emails, chats, etc.). The events of different modalities can be captured using different schemas and therefore embodiments described herein are schema-agnostic. Each event is represented as a vector of some number of numbers by the module with a plurality of vectors being generated in total for each customer visit. The vectors are then used in sequence learning to predict real-time next

INFORMATION PROCESSING DEVICE, INFORMATION PROCESSING METHOD, AND PROGRAM

NºPublicación:  WO2025239034A1 20/11/2025
Solicitante: 
SONY GROUP CORP [JP]
\u30BD\u30CB\u30FC\u30B0\u30EB\u30FC\u30D7\u682A\u5F0F\u4F1A\u793E
WO_2025239034_PA

Resumen de: WO2025239034A1

The present invention realizes a process for efficiently constructing an optimal neural network corresponding to a new task by utilizing existing neural network structure information. A new neural network corresponding to a specific task is constructed by analyzing existing neural network structure information and source code, performing module-based segmentation processing and processing for generating a parent hierarchical graph structure, analyzing the generated parent hierarchical graph structure, and generating a new child hierarchical graph structure corresponding to the specific task. Furthermore, an optimal neural network can be constructed by generating a child hierarchical graph structure by referring to a configuration file in which the existing neural network configuration information is recorded, and evaluation information.

METHOD AND APPARATUS FOR GENERATING INSTRUCTION SEQUENCE, ELECTRONIC DEVICE, AND STORAGE MEDIUM

NºPublicación:  EP4650945A1 19/11/2025
Solicitante: 
BEIJING HORIZON INFORMATION TECH CO LTD [CN]
Beijing Horizon Information Technology Co., Ltd
EP_4650945_PA

Resumen de: EP4650945A1

Disclosed are a method and apparatus for generating an instruction sequence, an electronic device, and a storage medium. The method for generating an instruction sequence includes: determining a computation graph corresponding to a neural network model to be compiled and resource status information on hardware executing the instruction sequence; partitioning the computation graph, to determine multiple computation sub-graphs; generating, based on the computation sub-graphs and the resource status information, instruction sub-sequences corresponding respectively to the computation sub-graphs; and determining, based on the instruction sub-sequences, a target instruction sequence corresponding to the neural network model to be compiled.

SENSOR-PROCESSING SYSTEMS INCLUDING NEUROMORPHIC PROCESSING MODULES AND METHODS THEREOF

NºPublicación:  EP4651036A2 19/11/2025
Solicitante: 
SYNTIANT [US]
Syntiant
EP_4651036_PA

Resumen de: EP4651036A2

Disclosed is a sensor-processing system including, in some embodiments, a sensor, one or more sample pre-processing modules, one or more sample-processing modules, one or more neuromorphic integrated circuits ("ICs"), and a microcontroller. The one or more sample pre-processing modules are configured to process raw sensor data for use in the sensor-processing system. The one or more sample-processing modules are configured to process pre-processed sensor data including extracting features from the pre-processed sensor data. Each of the neuromorphic ICs includes at least one neural network configured to arrive at actionable decisions of the neural network from the features extracted from the pre-processed sensor data. The microcontroller includes a CPU along with memory including instructions for operating the sensor-processing system. In some embodiments, the sensor is a pulse-density modulation ("PDM") microphone, and the sensor-processing system is configured for keyword spotting. Also disclosed are methods of such a keyword spotting sensor-processing system.

APPARATUS AND METHOD FOR ACCELERATING NEURAL NETWORK INFERENCE PROCESS BASED ON FEATURE MAP LOCALITY

NºPublicación:  KR20250160561A 14/11/2025
Solicitante: 
한국항공대학교산학협력단
KR_20250160561_PA

Resumen de: KR20250160561A

특징맵의 지역성을 고려한 신경망 추론 고속화 장치 및 방법이 개시되며, 본원의 일 실시예에 따른 특징맵의 지역성을 고려한 신경망 추론 고속화 방법은, (a) 입력 특징맵 및 가중치를 기초로 출력 특징맵을 도출하는 연산을 수행하는 신경망의 블록에 대하여, 상기 입력 특징맵 및 상기 가중치를 이용하여 상기 출력 특징맵의 제1요소를 연산하는 단계 및 (b) 상기 연산된 제1요소를 이용하여 상기 출력 특징맵에서 제2요소를 연산하는 단계를 포함할 수 있다.

METHODS FOR NON-REFERENCE VIDEO-QUALITY PREDICTION

NºPublicación:  US2025350742A1 13/11/2025
Solicitante: 
AVAGO TECH INTERNATIONAL SALES PTE LTD [SG]
Avago Technologies International Sales Pte. Ltd
CN_115700750_PA

Resumen de: US2025350742A1

A system for non-reference video-quality prediction includes a video-processing block to receive an input bitstream and to generate a first vector, and a neural network to provide a predicted-quality vector after being trained using training data. The training data includes the first vector and a second vector, and elements of the first vector include high-level features extracted from a high-level syntax processing of the input bitstream.

METHODS AND SYSTEMS TO DETERMINE SHAPES FOR SEMICONDUCTOR OR FLAT PANEL DISPLAY FABRICATION

NºPublicación:  US2025347990A1 13/11/2025
Solicitante: 
D2S INC [US]
D2S, Inc
JP_2025102930_PA

Resumen de: US2025347990A1

Methods for calculating a pattern to be manufactured on a substrate include inputting a physical design pattern, determining a plurality of possible neighborhoods for the physical design pattern, generating a plurality of possible mask designs for the physical design pattern, calculating a plurality of possible patterns on the substrate, calculating a variation band from the plurality of possible patterns, and modifying the physical design pattern to reduce the variation band. Embodiments also include inputting a set of parameters for a neural network to calculate a pattern to be manufactured on a substrate, calculating a plurality of patterns to be manufactured on the substrate for the physical design in each possible neighborhood of the plurality of possible neighborhoods, training the neural network with the calculated plurality of patterns, and adjusting the set of parameters to reduce the manufacturing variation for the calculated plurality of patterns to be manufactured on a substrate.

SYSTEMS AND METHODS FOR DETERMINING CONTEXT SWITCHING IN CONVERSATION

NºPublicación:  US2025348685A1 13/11/2025
Solicitante: 
ADEIA GUIDES INC [US]
Adeia Guides Inc
JP_2023105206_PA

Resumen de: US2025348685A1

Systems and methods are described to address shortcomings in a conventional conversation system via a novel technique utilizing artificial neural networks to train the conversation system whether or not to continue context. In some aspects, an interactive media guidance application determines a type of conversation continuity in a natural language conversation comprising first and second queries. The interactive media guidance application determines a first token in the first query and a second token in the second query. The interactive media guidance application identifies entity data for the first and second tokens. The interactive media guidance application retrieves, from a knowledge graph, graph connections between the entity data for the first and second tokens. The interactive media guidance application applies this data as inputs to an artificial neural network. The interactive media guidance application determines an output that indicates the type of conversation continuity between the first and second queries.

BUILDING MANAGEMENT SYSTEM WITH SUPERVISORY FAULT DETECTION LAYER

NºPublicación:  US2025348063A1 13/11/2025
Solicitante: 
TYCO FIRE & SECURITY GMBH [CH]
Tyco Fire & Security GmbH
US_2022035357_A1

Resumen de: US2025348063A1

A method for correcting faults in a building management system (BMS) includes receiving time series data characterizing an operating performance of one or more BMS devices, generating a first fault detection result by processing the time series data using a first fault detection technique, generating a second fault detection result that conflicts with the first fault detection result by processing the time series data using a second fault detection technique different than the first fault detection technique, resolving a conflict between the first fault detection result and the second fault detection result by applying both the first and second fault detection results as inputs to a neural network configured to output an indication of whether a fault condition is occurring in the BMS, and initiating an action to resolve the fault condition in response to the indication indicating that the fault condition is occurring in the BMS.

METHOD AND APPARATUS WITH DECODING IN NEURAL NETWORK FOR SPEECH RECOGNITION

NºPublicación:  US2025349311A1 13/11/2025
Solicitante: 
SAMSUNG ELECTRONICS CO LTD [KR]
SAMSUNG ELECTRONICS CO., LTD
JP_2022145608_A

Resumen de: US2025349311A1

A decoding method includes receiving an input sequence corresponding to an input speech at a current time; and in a neural network (NN) for speech recognition, generating an encoded vector sequence by encoding the input sequence, determining reuse tokens from candidate beams of two or more previous times by comparing the candidate beams of the previous times, and decoding one or more tokens subsequent to the reuse tokens based on the reuse tokens and the encoded vector sequence.

DEVICE, METHOD, AND PROGRAM FOR ENHANCING OUTPUT CONTENT THROUGH ITERATIVE GENERATION

NºPublicación:  US2025342836A1 06/11/2025
Solicitante: 
SAMSUNG ELECTRONICS CO LTD [KR]
Samsung Electronics Co., Ltd
US_2025342836_PA

Resumen de: US2025342836A1

A method of improving output content through iterative generation is provided. The method includes receiving a natural language input, obtaining user intention information based on the natural language input by using a natural language understanding (NLU) model, setting a target area in base content based on a first user input, determining input content based on the user intention information or a second user input, generating output content related to the base content based on the input content, the target area, and the user intention information by using a neural network (NN) model, generating a caption for the output content by using an image captioning model, calculating similarity between text of the natural language input and the generated output content, and iterating generation of the output content based on the similarity.

HISTOPATHOLOGY-BASED SOLID TUMOUR ANALYSIS

NºPublicación:  US2025342974A1 06/11/2025
Solicitante: 
OXFORD CANCER BIOMARKERS LTD [GB]
Oxford Cancer Biomarkers Ltd
US_2025342974_PA

Resumen de: US2025342974A1

A computer-implemented method is provided, for predicting a risk factor for a patient based on histopathological image analysis. The method includes: receiving at least one histological image of a solid tumour; converting the histological image into a graph representation; processing the graph representation using a neural network, wherein the neural network comprises a graph isomorphism network and a convolutional neural network; and determining the risk factor based on an output of the neural network. Also provided is a method of training one or more neural networks for use in such a method.

THERMAL OPTIMIZATION AND CONTROL IN OPEN-PLAN SPACES USING PHYSICS-INFORMED GRAPH NEURAL NETWORK BASED OPTIMAL CONTROLLER

NºPublicación:  US2025341329A1 06/11/2025
Solicitante: 
TATA CONSULTANCY SERVICES LTD [IN]
Tata Consultancy Services Limited
US_2025341329_PA

Resumen de: US2025341329A1

Optimal control of multiple heating, ventilation, and air-conditioning units in an open-plan space demands fast and accurate thermodynamic modeling. Prior methods lack scalability required for effective control in large open-plan offices primarily due to air-mixing interactions. The present disclosure describes a physics-informed graph neural network (PI-GNN) to overcome these challenges. Specifically, thermodynamic interactions are modeled as edges between nodes that represent cells. Further, a modeling approach is used that allows explicit modeling of wall and window surface temperatures which are commonly ignored. The method of present disclosure utilizes PI-GNN as a state-estimator that employs a receding-horizon approach for optimal HVAC control. PI-GNNs are adapted for building HVAC control by incorporating a time-resetting strategy to handle time-dependent ambient conditions and therefore set-points. The method of the present disclosure outperforms a regular PINN model and other baseline control strategies on thermal model accuracy, computation time, energy consumption, and user comfort.

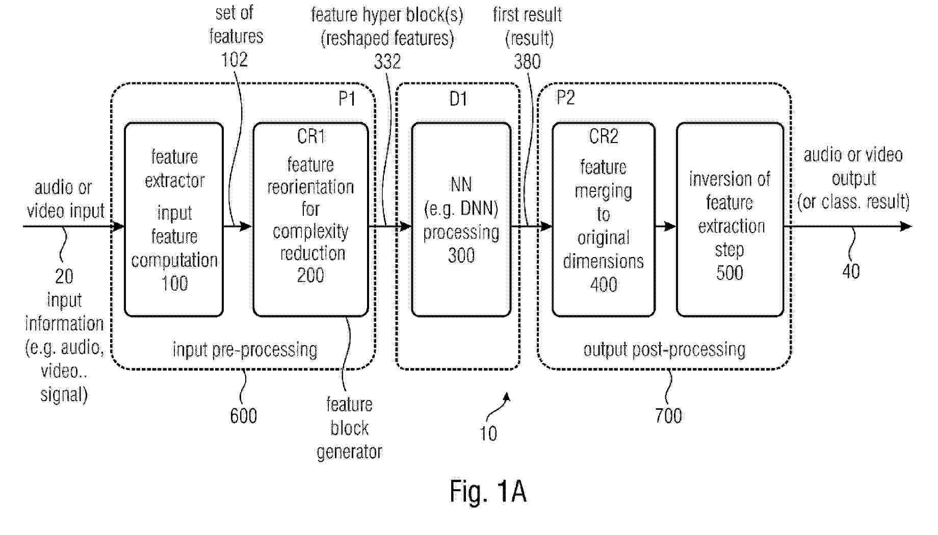
CHANNELWISE FEATURE REORIENTATION AND MERGING WITH NEIGHBOURING FEATURES FOR ROBUST LOW COMPLEXITY DNN BASED AUDIO PROCESSING

NºPublicación:  WO2025228896A1 06/11/2025
Solicitante: 
FRAUNHOFER GES ZUR FOERDERUNG DER ANGEWANDTEN FORSCHUNG E V [DE]
FRIEDRICH ALEXANDER UNIV ERLANGEN NUERNBERG IN VERTRETUNG DES FREISTAATES BAYERN [DE]
FRAUNHOFER-GESELLSCHAFT ZUR F\u00D6RDERUNG DER ANGEWANDTEN FORSCHUNG E.V,
FRIEDRICH-ALEXANDER-UNIVERSIT\u00C4T ERLANGEN-N\u00DCRNBERG, IN VERTRETUNG DES FREISTAATES BAYERN
WO_2025228896_PA

Resumen de: WO2025228896A1

There is disclosed an apparatus (10) for processing an input information signal (20), comprising: * a feature extractor (100) for extracting a set of features (102) from the input information signal (20), the set of features (102) having a first shape, * a feature block generator (200, CR1) configured to reshape the set of features (102) from a first shape to a second shape by: - segmenting (210) the set of features (102) into at least 3 feature subsets (212, 212a-212h), each feature subset (212, 212a-212h) having a specific shape, - performing a subsampling (220, 220a, 220b) of the feature subsets (212) to generate a plurality of feature blocks (222, 222a-222d) by stacking a selected set of the subsampled feature subsets feature subsets (212, 212a-212h) along a first dimension, - creating (230) a feature hyper-block (332) of the second shape by stacking the plurality of feature blocks (222, 222a-222d) along a second dimension, * a neural network processor (300, D1 ) configured to process the feature hyper block (332) to obtain a first result (380); and * an output post-processor (P2, 700) configured to post-process the result (380) to construct an output information signal (40) and/or to output a classification result.

CHANNELWISE FEATURE REORIENTATION AND MERGING WITH NEIGHBOURING FEATURES FOR ROBUST LOW COMPLEXITY DNN BASED AUDIO PROCESSING

NºPublicación:  EP4645165A1 05/11/2025
Solicitante: 
FRAUNHOFER GES FORSCHUNG [DE]
FRIEDRICH ALEXANDER UNIV ERLANGEN NUERNBERG IN VERTRETUNG DES FREISTAATES BAYERN [DE]
Fraunhofer-Gesellschaft zur F\u00F6rderung der angewandten Forschung e.V,
Friedrich-Alexander-Universit\u00E4t Erlangen-N\u00FCrnberg, in Vertretung des Freistaates Bayern
EP_4645165_PA

Resumen de: EP4645165A1

There is disclosed an apparatus (10) for processing an input information signal (20), comprising:a feature extractor (100) for extracting a set of features (102) from the input information signal (20), the set of features (102) having a first shape,a feature block generator (200, CR1) configured to reshape the set of features (102) from a first shape to a second shape by:segmenting (210) the set of features (102) into at least 3 feature subsets (212, 212a-212h), each feature subset (212, 212a-212h) having a specific shape,performing a subsampling (220, 220a, 220b) of the feature subsets (212) to generate a plurality of feature blocks (222, 222a-222d) by stacking a selected set of the subsampled feature subsets feature subsets (212, 212a-212h) along a first dimension,creating (230) a feature hyper-block (332) of the second shape by stacking the plurality of feature blocks (222, 222a-222d) along a second dimension,a neural network processor (300, D1) configured to process the feature hyper block (332) to obtain a first result (380); andan output post-processor (P2, 700) configured to post-process the result (380) to construct an output information signal (40) and/or to output a classification result.

Histopathology-based solid tumour analysis

NºPublicación:  GB2640747A 05/11/2025
Solicitante: 
OXFORD CANCER BIOMARKERS LTD [GB]
Oxford Cancer Biomarkers Ltd
GB_2640747_PA

Resumen de: GB2640747A

The method uses histopathology images preferably of H&E stained tissue samples collected from solid tumours of cancer patients to predict cancer relapse risk levels (known as prognosis) based on artificial intelligence technology. The method is for predicting a risk factor for a patient based on histopathological image analysis. The method includes: receiving 110 at least one histological image of a solid tumour; converting 150 the histological image into a graph representation comprising extracting 120 a region of interest from the histological image and constructing the graph representation based on the region of interest; processing 160 the graph representation using a neural network, wherein the neural network comprises a graph isomorphism network and a convolutional neural network; and determining 162 the risk factor based on an output of the neural network. Also provided is a method of training one or more neural networks for use in such a method. The training relies on a backpropagation algorithm.

HISTOPATHOLOGY-BASED SOLID TUMOUR ANALYSIS

NºPublicación:  EP4645338A1 05/11/2025
Solicitante: 
OXFORD CANCER BIOMARKERS LTD [GB]
Oxford Cancer Biomarkers Ltd
EP_4645338_PA

Resumen de: EP4645338A1

A computer-implemented method is provided, for predicting a risk factor for a patient based on histopathological image analysis. The method includes: receiving (110) at least one histological image of a solid tumour; converting (150) the histological image into a graph representation; processing (160) the graph representation using a neural network, wherein the neural network comprises a graph isomorphism network and a convolutional neural network; and determining (162) the risk factor based on an output of the neural network. Also provided is a method of training one or more neural networks for use in such a method.

METHOD AND SYSTEM FOR PREDICTING HERB PAIRS COMPATIBILITY OF TRADITIONAL CHINESE MEDICINES

NºPublicación:  NL2037986A 03/11/2025
Solicitante: 
INST CHINESE MATERIA MEDICA CHINA ACADEMY OF CMS [CN]
INSTITUTE OF CHINESE MATERIA MEDICA, CHINA ACADEMY OF CHINESE MEDICAL SCIENCES
NL_2037986_PA

Resumen de: NL2037986A

Disclosed is a method and a system for predicting herb pairs compatibility of traditional 5 Chinese medicines, which comprises the following steps: collecting herb pairs of traditional Chinese medicines in ancient books and preprocessing the data of herb pairs of traditional Chinese medicines, and constructing a traditional Chinese medicine database and a herb pair compatibility database meeting the requirements of data mining; the traditional Chinese medicine database and the compatibility database of herb pairs are represented in network form to obtain 10 the graph network of herb pairs nodes; Learn the embedding feature expression of herb pair compatibility dimension and modern biological information dimension through graph-convolution neural network; based on the embedding feature representation, the final node embedding representation of herb pair compatibility samples are obtained, and the probability distribution of efficacy of herb compatibility combinations are obtained by prediction based on the final node 15 embedding representation. According to the invention, the traditional characteristic dimension and the modern credibility dimension are combined, and the ancient and modern multi-dimensional vector characteristics of herb pairs are considered, so that the information of traditional Chinese medicine can be mined, new herb compatibility combinations can be predicted aiming at efficacy, and a scheme is provided for clinical prescription.

SYSTEM AND METHOD FOR PREDICTING FORMATION IN SPORTS

NºPublicación:  US2025336208A1 30/10/2025
Solicitante: 
STATS LLC [US]
Stats LLC
US_2025336208_PA

Resumen de: US2025336208A1

A system and method of predicting a team's formation on a playing surface are disclosed herein. A computing system retrieves one or more sets of event data for a plurality of events. Each set of event data corresponds to a segment of the event. A deep neural network, such as a mixture density network, learns to predict an optimal permutation of players in each segment of the event based on the one or more sets of event data. The deep neural network learns a distribution of players for each segment based on the corresponding event data and optimal permutation of players. The computing system generates a fully trained prediction model based on the learning. The computing system receives target event data corresponding to a target event. The computing system generates, via the trained prediction model, an expected position of each player based on the target event data.

CODING OF AN EVENT IN AN ANALOG DATA FLOW WITH A FIRST EVENT DETECTION SPIKE AND A SECOND DELAYED SPIKE

NºPublicación:  US2025335754A1 30/10/2025
Solicitante: 
STMICROELECTRONICS FRANCE [FR]
STMicroelectronics France
US_2025335754_PA

Resumen de: US2025335754A1

A set of spike pattern data is stored on a set of storage neurons of a neural network. The storing includes storing first parameters indicative of a presence of spikes on respective neurons of the set of storage neurons, and storing, on the set of storage neurons of the neural network, second parameters indicative of a timing of spikes on the respective neurons of the set of storage neurons.

ARTIFICIAL INTELLIGENCE MODELING TO PREDICT ELECTRONIC ACCOUNT DATA

NºPublicación:  US2025335967A1 30/10/2025
Solicitante: 
BANK OF MONTREAL [CA]
BANK OF MONTREAL
US_2025335967_PA

Resumen de: US2025335967A1

Disclosed methods and system describe a server that uses AI modeling to predict negative cash flow at a user level. The server periodically retrieves data associated with the user, the data comprising monetary attributes associated with one or more accounts of the user; executes a deep neural network model trained based upon historical data associated with at least a subset of the users configured to predict a negative cash flow in one or more accounts of the user, a depth of the negative cash flow, and a duration of the negative cash flow; transmits, to a second server, the predicted values, whereby when the second server determines that a likelihood of account needs satisfies a threshold, the second server establishes an electronic communication session with an electronic device of the user; trains the deep neural network when the second server establishes the electronic communication session.

SYSTEMS AND METHODS FOR COMPUTING FEATURING SYNTHETIC COMPUTING OPERATORS AND COLLABORATION

NºPublicación:  WO2025226986A1 30/10/2025
Solicitante: 
SUN & THUNDER LLC [US]
SUN & THUNDER, LLC
WO_2025226986_PA

Resumen de: WO2025226986A1

One embodiment is directed to a synthetic engagement system for process-based problem solving, comprising: a computing system comprising one or more operatively coupled computing resources; and a user interface operated by the computing system and configured to engage a human operator in accordance with a predetermined process configuration toward an established requirement based at least in part upon one or more specific facts; wherein the user interface is configured to allow the human operator to select and interactively engage one or more synthetic operators operated by the computing system to proceed through the predetermined process configuration, and to return result to the human operator selected to at least partially satisfy the established requirement; and wherein each of the one or more synthetic operators is informed by a convolutional neural network informed at least in part by historical actions of a particular actual human operator and a synthetic operator background configuration.

A GEOTECHNICAL ENGINEERING GEOLOGICAL DISASTER PREDICTION METHOD AND SYSTEM BASED ON DEEP LEARNING

NºPublicación:  NL4000175A 28/10/2025
Solicitante: 
CHENGDU VOCATIONAL & TECHNICAL COLLEGE OF IND [CN]
CHENGDU VOCATIONAL & TECHNICAL COLLEGE OF INDUSTRY
NL_4000175_A

Resumen de: NL4000175A

The present invention provides a geotechnical engineering geological disaster prediction method and system based on deep learning. The geotechnical engineering geological disaster prediction method and system based on deep learning include a data acquisition module, a data preprocessing module, a feature extraction module, a deep learning model module, and a prediction output module. The data acquisition module uses remote sensing technology, geological exploration equipment, and sensors to collect multidimensional data such as soil properties, meteorological data, groundwater level, and terrain slope. The geotechnical engineering geological disaster prediction method and system based on deep learning ensure the accuracy and reliability of the original data and improve the quality of model training by adopting multi-source data acquisition as well as optimization of the data preprocessing and feature extraction modules. In particular, the deep learning model module adopts a convolutional neural network structure to capture spatial features in geological data, enabling automatic learning of more complex patterns, thereby improving prediction accuracy.

Method and Apparatus for Inferencing By Fusing Pre-processing into Neural Network

NºPublicación:  KR20250152434A 23/10/2025
Solicitante: 
리벨리온주식회사
KR_20250152434_PA

Resumen de: KR20250152434A

본 실시예는 신경망에 전처리 기능을 융합한 추론방법 및 장치를 개시한다. 본 실시예에서, 추론 장치는, 다수의 레이어들을 포함하는 딥러닝 기반 신경망을 이용하여 입력 영상으로부터 입력 영상의 특징을 생성하고, 입력 영상의 특징에 기초하여 추론 결과를 생성한다. 신경망의 첫 번째 레이어는 신경망의 트레이닝 과정에서 적용된 입력 정규화를 융합하기 위해, 입력 정규화에 사용된 인자들에 기초하여 정규화된 가중치들 및 바이어스를 포함한다. 신경망의 첫 번째 레이어는 정규화된 가중치들 및 바이어스를 이용하여 입력 영상을 처리한다. 이때, 입력 정규화를 인자들은, 스케일링 인자, 평균 및 표준편차를 포함하고, 트레이닝 과정에서 활용되는 영상 데이터 전체로부터 산정된다.

AI-BASED SMART HEALTH SCREENING SYSTEM FOR IDENTIFYING INDIVIDUALS AT RISK OF DEVELOPING CANCERS, CARDIOVASCULAR DISEASE AND TYPE 2 DIABETES

Nº publicación: WO2025219769A1 23/10/2025

Solicitante:

AVAN AMIR [IR]
AVAN, Amir

WO_2025219769_A1

Resumen de: WO2025219769A1

The invention is an AI-driven health screening system for early detection of cancers, cardiovascular diseases, and type 2 diabetes. It integrates multiple screening methods, using machine learning, deep learning, and natural language processing to analyze genetic and health data. A federated learning framework ensures high prediction accuracy while maintaining data privacy. The system also employs a blockchain-based electronic health record (EHR) for secure data management. AI models, including neural networks and support vector machines, assess risk factors and provide personalized healthcare recommendations. Designed with a three-tier architecture, it supports deployment as a web service, software, or integration into existing programs. The system enhances early disease detection, optimizes healthcare resources, and improves patient outcomes by offering a scalable, efficient, and non-invasive screening solution.

traducir