Ministerio de Industria, Turismo y Comercio LogoMinisterior
 

Alerta

Resultados 97 resultados
LastUpdate Última actualización 07/11/2025 [07:09:00]
pdfxls
Solicitudes publicadas en los últimos 30 días / Applications published in the last 30 days
previousPage Resultados 75 a 97 de 97  

SYSTEM AND METHOD FOR GENERATING A PATH LOSS PROPAGATION MODEL THROUGH MACHINE LEARNING

NºPublicación:  US2025317224A1 09/10/2025
Solicitante: 
JIO PLATFORMS LTD [IN]
JIO PLATFORMS LIMITED
US_2025317224_PA

Resumen de: US2025317224A1

The present disclosure provides a system and a method for generating a path loss propagation model through machine learning. The system generates a path loss propagation model for fifth generation (5G) networks for network planning. The path loss model predicts a reference signal received power/signal to noise interference ratio (RSRP/SINR) by leveraging a fourth generation (4G) user data.

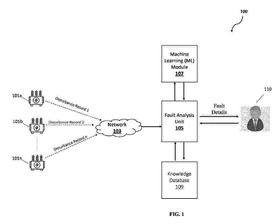
System and Method for Performing Fault and Event Analysis in Electrical Substations

NºPublicación:  US2025315339A1 09/10/2025
Solicitante: 
ABB SCHWEIZ AG [CH]
ABB Schweiz AG
US_2025315339_PA

Resumen de: US2025315339A1

A system and method performing fault and event analysis in electrical substations comprises receiving a disturbance record triggered by an intelligent electronic device (IED) at an electrical substation, pre-processing the received disturbance record to extract at least one variable time series data of plurality of electrical parameters, generating a causality matrix based on the extracted at least one variable time series data by applying causal analysis, predicting, using a Machine learning (ML) module, a fault type at least based on the causality matrix, retrieving, from a knowledge database, a plurality of probable causes corresponding to the predicted fault type, determining at least one exact cause from the plurality of probable causes based on the causal pattern, and providing the fault type, the plurality of probable causes, and the at least one exact cause to a user.

MACHINE-LEARNING MODEL(S) FOR ESTIMATING RAN FUNCTIONALITY MACHINE LEARNING MODEL IMPACT ON PERFORMANCE MEASUREMENT COUNTERS

NºPublicación:  WO2025210109A1 09/10/2025
Solicitante: 
NOKIA TECH OY [FI]
NOKIA TECHNOLOGIES OY

Resumen de: WO2025210109A1

This specification relates to the execution of machine-learning models on user devices. According to a first aspect of this specification, there is described apparatus comprising: means for receiving a network configuration derived from a plurality of machine-learning models, each machine-learning model directed towards a respective one or more radio access network functionalities; means for receiving a plurality of predicted performance measurement counters output from a plurality of machine-learning performance measurement models, each machine-learning prediction measurement model corresponding to one of the plurality of machine-learning models; and means for processing, using a common machine-learning performance measurement counter model, the network configuration and the plurality of predicted performance measurement counters to determine a model output comprising, for one or more performance measurement counters, a respective plurality of impact scores. Each impact score is indicative of a predicted impact of a corresponding machine-learning model in the plurality of machine-learning models on the respective performance measurement counter of said impact score for the network configuration.

SIMULATION-DATA BASED PREDICTIVE MODELS FOR GAS SEPARATION PLANTS

NºPublicación:  WO2025209965A1 09/10/2025
Solicitante: 
EVONIK OPERATIONS GMBH [DE]
EVONIK OPERATIONS GMBH

Resumen de: WO2025209965A1

The invention concerns a computer-implemented method for predicting performance parameter values of at least one individual gas separation stage, the method comprising: - receiving (162) a set of data points (21), each data point comprising operating parameter values indicative of a configuration or state of a separation stage of a gas separation plant (1800) and comprising performance parameter values obtained by simulating the operation of said separation stage given the operating parameter values of said data point; - using (164) the received set of data points as a training data set in a machine learning process for generating a trained predictive model (1704-1708, 2304); - receiving (166) input parameter values being indicative of one or more operation parameter values for the at least one separation stage; - using (168) the trained model for predicting performance parameter values of the at least one individual separation stage as a function of the input parameter values; and - outputting (170) the predicted performance parameter values for use in the design or control of the single separation stage or of the plant comprising the same.

MACHINE LEARNING-BASED THERAPY DEVICE RESUPPLY PREDICTIONS

NºPublicación:  WO2025212863A1 09/10/2025
Solicitante: 
RESMED DIGITAL HEALTH INC [US]
RESMED DIGITAL HEALTH INC
WO_2025212863_PA

Resumen de: WO2025212863A1

Techniques for improved machine learning are provided. Forecasted acquisitions data indicating predicted future acquisitions of one or more respiratory therapy systems is determined. An active devices prediction is generated based on processing at least a subset of the forecasted acquisitions data using a first trained machine learning model trained based on historical acquisitions of one or more respiratory therapy systems. A resupply effectiveness prediction is generated using a second trained machine learning model trained based on historical consumption of one or more consumables for the one or more respiratory therapy systems. A consumables prediction is generated based on the active devices prediction and the resupply effectiveness prediction.

AN INTELLIGENT CENTRALIZED AGENT FOR AUTONOMOUSLY ORCHESTRATING MULTIPLE DATA TOOLS

NºPublicación:  WO2025212608A1 09/10/2025
Solicitante: 
THE DUN & BRADSTREET CORP [US]
THE DUN & BRADSTREET CORPORATION
US_2025231801_PA

Resumen de: WO2025212608A1

An intelligent centralized agent comprising: a dynamic planner; a context short-term memory specific to an interaction session; and at least one data tool that enables the intelligent centralized agent to interact with the application programming interface, the external long-term memory, the machine learning model, and the user interface; wherein the dynamic planner receives input from the application programming interface to make decisions regarding subsequent actions based on the interaction session from the context short term memory, the data tool, and the machine learning model. This unique system provides the intelligent centralized agent with vast access to externally stored data which enables users to resolve questions or queries quickly and reliably in milliseconds.

METHODS AND SYSTEMS FOR MITIGATING ERRORS IN A CAUSAL INFERENCE PROCESS

NºPublicación:  WO2025209635A1 09/10/2025
Solicitante: 
MAERSK AS [DK]
MAERSK A/S
WO_2025209635_PA

Resumen de: WO2025209635A1

Methods and server systems for mitigating errors in a causal inference process are described herein. The method performed by a server system includes accessing, for each of target and control entity, pre-treatment time series information and post-treatment time series information. Then, generating, by Machine Learning (ML) model, pre-treatment prediction time series information for target entity based on pre-treatment time series information of control entity. Then, computing a set of prediction error values by comparing pre-treatment prediction time series information and pre-treatment time series information of target entity. Then, generating, by ML model, post-treatment prediction time series information for target entity based on pre-treatment time series information of target entity and post-treatment time series information of control entity. Then, generating prediction range information based on post-treatment prediction time series information and set of prediction error values.

REPORTING OF INFERENCE ACCURACIES OF QUANTIZED MODELS FOR ARTIFICIAL INTELLIGENCE OR MACHINE LEARNING PERFORMANCE MONITORING

NºPublicación:  WO2025208320A1 09/10/2025
Solicitante: 
QUALCOMM INC [US]
LI QIAOYU [CN]
TAHERZADEH BOROUJENI MAHMOUD [US]
YOO TAESANG [US]
QUALCOMM INCORPORATED,
LI, Qiaoyu,
TAHERZADEH BOROUJENI, Mahmoud,
YOO, Taesang
WO_2025208320_PA

Resumen de: WO2025208320A1

Various aspects of the present disclosure generally relate to wireless communication. In some aspects, a user equipment (UE) may transmit, to a network node, an indication of an inference accuracy level associated with a quantized artificial intelligence or machine learning (AI/ML) model for an AI/ML task, wherein the inference accuracy level is indicative of a relative accuracy of the quantized AI/ML model with respect to a floating-point AI/ML model for the AI/ML task. The UE may receive, from the network node, signaling associated with AI/ML performance monitoring based at least in part on the indication of the inference accuracy level. Numerous other aspects are described.

CANCER CLASSIFIER MODELS, MACHINE LEARNING SYSTEMS AND METHODS OF USE

NºPublicación:  US2025316339A1 09/10/2025
Solicitante: 
COHEN JONATHAN [US]
DOSEEVA VICTORIA [US]
SHI PEICHANG [US]
Cohen Jonathan,
Doseeva Victoria,
Shi Peichang
US_2025316339_PA

Resumen de: US2025316339A1

Disclosed herein are classifier models, computer implemented systems, machine learning systems and methods thereof for classifying asymptomatic patients into a risk category for having or developing cancer and/or classifying a patient with an increased risk of having or developing cancer into an organ system-based malignancy class membership and/or into a specific cancer class membership.

SYSTEMS AND METHODS FOR AUGMENTING FEATURE SELECTION USING FEATURE INTERACTIONS FROM A PRELIMINARY FEATURE SET

NºPublicación:  US2025315722A1 09/10/2025
Solicitante: 
CAPITAL ONE SERVICES LLC [US]
Capital One Services, LLC
US_2025315722_PA

Resumen de: US2025315722A1

Systems and methods for augmenting feature selection for a first machine learning model using feature interactions from a preliminary feature set used for a second model. In some aspects, the system receives a first candidate set of features to train a machine learning model. The system also receives a precursor feature set used to train a precursor machine learning model in preparation for the machine learning model. Using the first candidate set of features and the precursor feature set, the system trains an algorithm to produce an interaction matrix, wherein the interaction matrix indicates an explanative power of each feature when combined with other features. Based on the interaction matrix, the system generates a subset of features from the first candidate set of features and the precursor feature set using a selection program. The system thus trains the machine learning model to use the subset of features as input.

AI-POWERED ADAPTIVE PERFORMANCE

NºPublicación:  US2025315723A1 09/10/2025
Solicitante: 
DELL PRODUCTS L P [US]
Dell Products L.P
US_2025315723_PA

Resumen de: US2025315723A1

Methods and systems for federated caching with intelligent content delivery network (CDN) optimization are disclosed. A caching system collects data relating to one or more user's interactions with an application. Machine learning (M/L) models analyze and train on the usage data to predict user behavior patterns, application performance trends and potential data roadblocks. The predicted outputs may be used to generate an adaptive performance policy configured to enable proactive caching decisions and system performance optimizations.

Topic Identification Based on Virtual Space Machine Learning Models

NºPublicación:  US2025315628A1 09/10/2025
Solicitante: 
SALESFORCE INC [US]
Salesforce, Inc
US_2025315628_PA

Resumen de: US2025315628A1

Techniques for displaying workflow responses based on determining topics associated with user requests are discussed herein. In some examples, a user may post a request (e.g., question) to a virtual space (e.g., a channel, thread, board, etc.) of a communication platform. The communication platform may input the request into a machine learning model trained to identify topics associated with the request and confidence levels associated with topics. In such examples, the communication platform may associate a topic with the user request based on the confidence level of the topic. In some examples, the communication platform may determine that the topic is associated with a graphical identifier (e.g., emoji). The communication platform may cause the graphical identifier to be displayed to the virtual space within which the user request was posted. In response to displaying the graphical identifier, the communication platform may display a workflow response to the virtual space.

Method, System, and Computer Program Product for Ensemble Learning With Rejection

NºPublicación:  US2025315740A1 09/10/2025
Solicitante: 
VISA INT SERVICE ASSOCIATION [US]
Visa International Service Association
US_2025315740_PA

Resumen de: US2025315740A1

Methods, systems, and computer program products are provided for ensemble learning. An example system includes at least one processor configured to: (i) generate a rejection region for each baseline model of a set of baseline models (ii) generate a global rejection region based on the rejection regions of each baseline model; (iii) train an ensemble machine learning model; (iv) update, based on a baseline model predictive performance metric for each baseline machine learning model, the set of baseline machine learning models; and (iv) repeat (i)-(iv) until there is a single baseline model in the set of baseline models or a predictive performance or global acceptance ratio of the ensemble model satisfies a threshold.

MACHINE-LEARNING-BASED IDENTIFICATION OF USER INTERESTS

NºPublicación:  US2025315627A1 09/10/2025
Solicitante: 
MODULEQ INC [US]
ModuleQ, Inc
US_2025315627_PA

Resumen de: US2025315627A1

A method for providing user-specific content recommendations to a user may comprise selecting a user interest from a plurality of predefined user interests, extracting user activity data associated with the selected user interest, constructing a context data structure associated with the selected user interest based on a predefined knowledge graph data structure associated with the plurality of predefined user interests, generating one or more new user interests by providing the constructed context data structure and the user activity data to a trained machine learning model, generating a user-specific content recommendation based on the one or more new user interests, and providing the user-specific content recommendation to the user.

TECHNIQUES FOR PROVIDING SYNCHRONOUS AND ASYNCHRONOUS DATA PROCESSING

NºPublicación:  US2025315437A1 09/10/2025
Solicitante: 
ORACLE INT CORPORATION [US]
Oracle International Corporation
US_2025315437_PA

Resumen de: US2025315437A1

Techniques discussed herein include dynamically providing synchronous and/or asynchronous data processing by a machine-learning model service. The machine-learning model service (“the service”) executes a stream manager application, a web interface, and a machine-learning model via a common container. The stream manager application can obtain input data (e.g., from an input data stream, a partition of an input data stream, etc.) and provide the data to the machine-learning model through the web interface using a local communication channel (e.g., a loopback interface that bypasses local network interface hardware of the computing device on which the model executes). Prediction results from the model may be provided as output data (e.g., to an output data stream, to a partition of an output data stream, etc.).

EVALUATING EXPLAINABLE ARTIFICIAL INTELLIGENCE MODELS AND AN ARCHITECTURE FOR AN ENSEMBLE EXPLAINABLE MODEL SELECTION

NºPublicación:  US2025315448A1 09/10/2025
Solicitante: 
U S BANCORP NAT ASSOCIATION [US]
U.S. Bancorp, National Association
US_2025315448_PA

Resumen de: US2025315448A1

A system includes one or more processors to store a first explanatory model (e.g., a SHAP model or a LIME model) and a second explanatory model; execute the machine learning model (e.g., a neural network) using a first set of data to generate a first classification data point; generate a first plurality of explanatory evaluation metrics for the first explanatory model by applying the first explanatory model to the first classification data point; and responsive to the first plurality of explanatory evaluation metrics satisfying an explanatory model selection policy, apply the first explanatory model and the second explanatory model to a second classification data point output by the machine learning model based on a second set of transaction data.

PROCESSING SYSTEM HAVING A MACHINE LEARNING ENGINE FOR PROVIDING A SURFACE DIMENSION OUTPUT

NºPublicación:  US2025315868A1 09/10/2025
Solicitante: 
ALLSTATE INSURANCE COMPANY [US]
Allstate Insurance Company
US_2025315868_PA

Resumen de: US2025315868A1

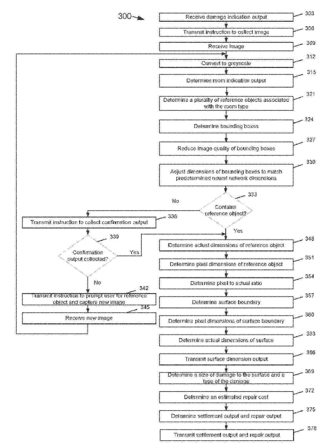
Systems and apparatuses for generating surface dimension outputs are provided. The system may collect an image from a mobile device. The system may analyze the image to determine whether they comprise one or more standardized reference objects. Based on analysis of the image and the one or more standardized reference objects, the system may determine a surface dimension output. The system may determine one or more settlement outputs and one or more repair outputs for the driver based on the surface dimension output.

MACHINE LEARNING POWERED ANOMALY DETECTION FOR MAINTENANCE WORK ORDERS

NºPublicación:  US2025315798A1 09/10/2025
Solicitante: 
FIIX INC [CA]
FIIX INC
US_2025315798_PA

Resumen de: US2025315798A1

An industrial work order analysis system applies statistical and machine learning analytics to both open and closed work orders to identify problems and abnormalities that could impact manufacturing and maintenance operations. The analysis system applies algorithms to learn normal maintenance behaviors or characteristics for different types of maintenance tasks and to flag abnormal maintenance behaviors that deviate significantly from normal maintenance procedures. Based on this analysis, embodiments of the work order analysis system can identify unnecessarily costly maintenance procedures or practices, as well as predict asset failures and offer enterprise-specific recommendations intended to reduce machine downtime and optimize the maintenance process.

CHANNEL RECOMMENDATIONS USING MACHINE LEARNING

NºPublicación:  EP4627477A1 08/10/2025
Solicitante: 
SALESFORCE INC [US]
Salesforce, Inc
CN_120283235_PA

Resumen de: CN120283235A

Techniques are discussed herein for generating user profile data, including one or more frequent channels, related users, and/or related topics within a communication platform. In some examples, a machine learning model may receive user interaction data (sent messages, read messages, channel publication, shared documents, frequent keywords used, etc.) associated with a communication platform, and output one or more frequent channels, related users, and/or related topics. The communication platform may then associate the one or more frequent channels, related users, and/or related topics with profile data for the users. In some examples, a communication platform may present different frequent channels, related users, and/or related topics associated with a profile page based on interaction actions associated with a user account viewing the profile page.

PREDICTION DEVICE, PREDICTION METHOD, AND PREDICTION PROGRAM

NºPublicación:  EP4629144A1 08/10/2025
Solicitante: 
TRES ALCHEMIX CO LTD [JP]
Tres Alchemix Co., Ltd
EP_4629144_PA

Resumen de: EP4629144A1

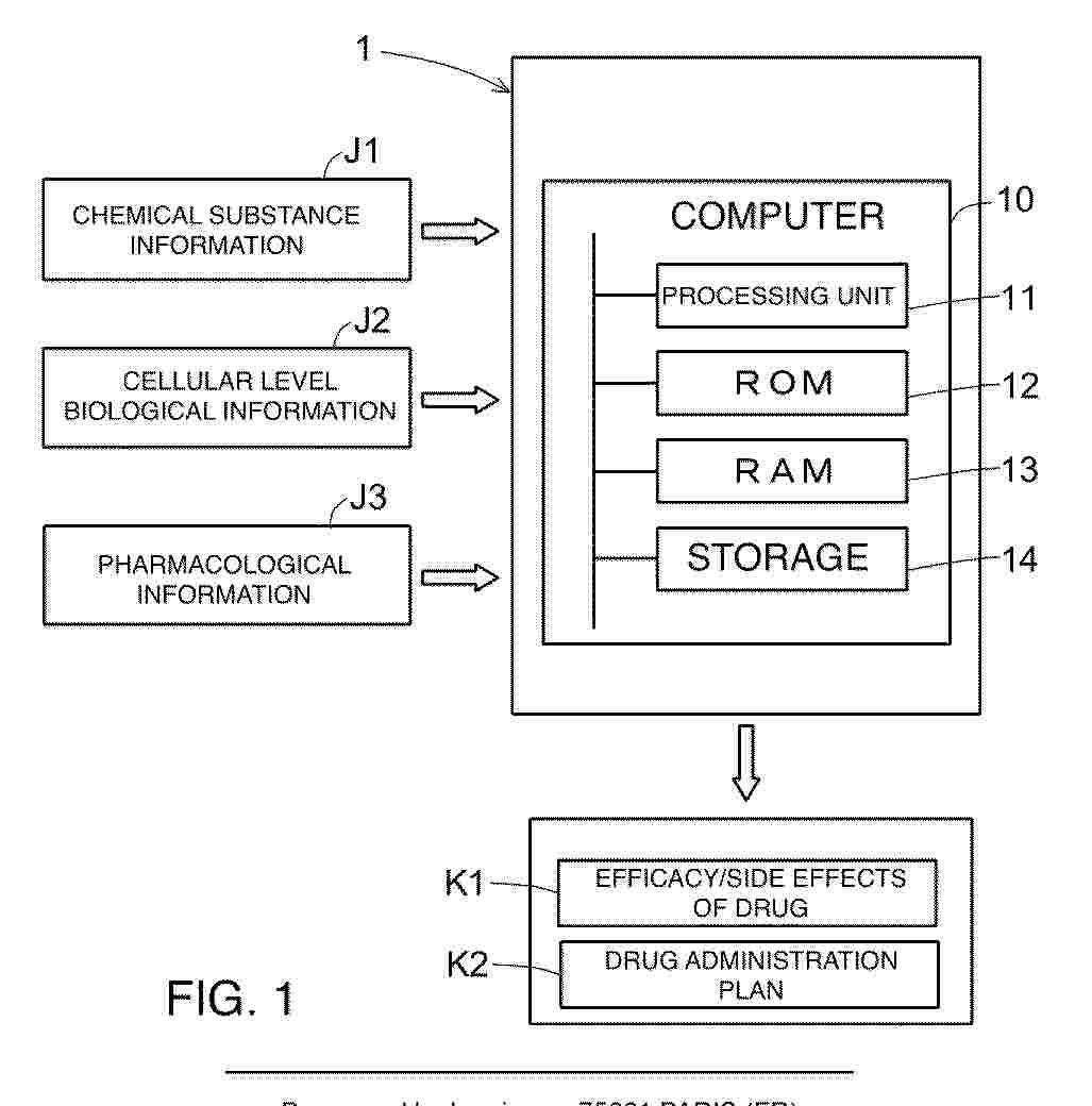
A prediction device that accurately and efficiently predicts drug discovery of desired drugs as well as efficacy and side effects of drugs by integrating chemical substance information of compounds, information acquired at the time of administration to the cells, and biological or clinical information. The prediction device has an acquisition unit that acquires chemical substance information and pharmacological information of the drug; an estimation unit that estimates estimated information of the drug by performing machine learning using the chemical substance information and pharmacological information; and an output unit that predicts and output both efficacy and side effects of the drug on an organism by retraining a model of the machine learning on the basis of the estimated information.

SYSTEMS AND METHODS FOR MACHINE LEARNING FEATURE GENERATION

NºPublicación:  EP4627492A1 08/10/2025
Solicitante: 
STRIPE INC [US]
Stripe, Inc
WO_2024119010_PA

Resumen de: WO2024119010A1

A method and apparatus for generating an ML model may include: generating an ML feature template comprising a first grouping of first ML feature variables and a second grouping of second ML feature variables; generating ML features by combining a respective one of each of the first ML feature variables with a respective one of each of the second ML feature variables; training a first ML model utilizing the ML features and first training data to generate an ML output; analyzing the ML output to determine a prediction accuracy of the ML features; based on the prediction accuracy of the ML features, selecting a subset of the ML features; training a second ML model based on the subset of the ML features and the first training data; and providing a network transaction to the second ML model to generate a classification of the network transaction.

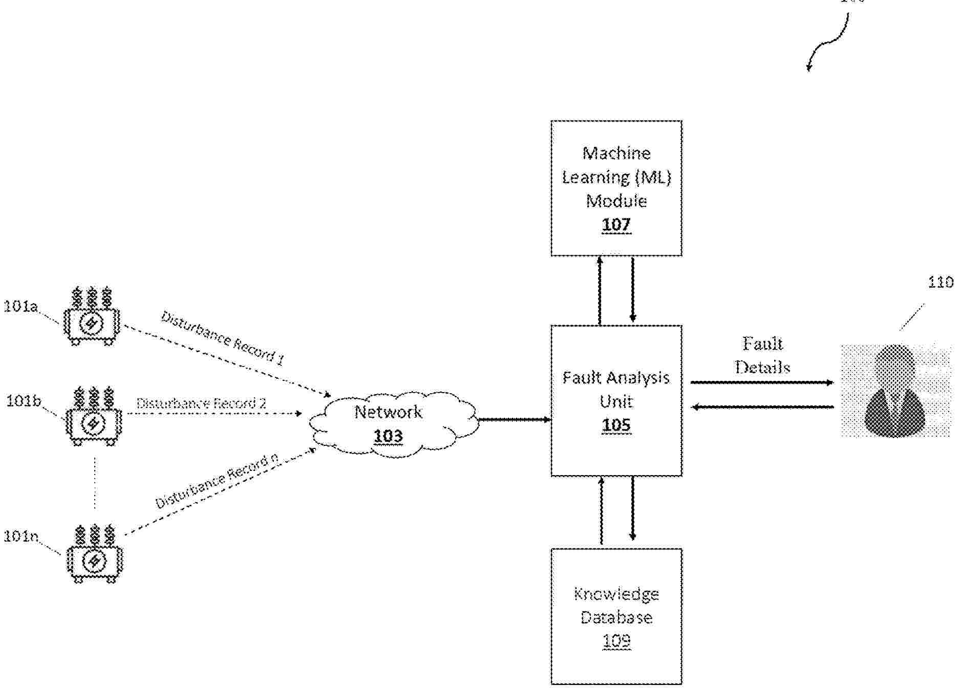
SYSTEM AND METHOD FOR PERFORMING FAULT AND EVENT ANALYSIS IN ELECTRICAL SUBSTATIONS

Nº publicación: EP4629009A1 08/10/2025

Solicitante:

ABB SCHWEIZ AG [CH]
ABB SCHWEIZ AG

EP_4629009_PA

Resumen de: EP4629009A1

The present disclosure describes a system and method performing fault and event analysis in electrical substations is disclosed. The method comprises the step of receiving a disturbance record triggered by an intelligent electronic device (IED) at an electrical substation, preprocessing the received disturbance record to extract at least one variable time series data of plurality of electrical parameters, generating a causality matrix based on the extracted at least one variable time series data by applying causal analysis, predicting, using a Machine learning (ML) module, a fault type at least based on the causality matrix, retrieving, from a knowledge database, a plurality of probable causes corresponding to the predicted fault type, determining at least one exact cause from the plurality of probable causes based on the causal pattern, and providing the fault type, the plurality of probable causes, and the at least one exact cause to a user.

traducir