Ministerio de Industria, Turismo y Comercio LogoMinisterior
 

Alerta

Resultados 97 resultados
LastUpdate Última actualización 07/11/2025 [07:09:00]
pdfxls
Solicitudes publicadas en los últimos 30 días / Applications published in the last 30 days
previousPage Resultados 50 a 75 de 97 nextPage  

SYSTEMS AND METHODS FOR MACHINE LEARNING CONTROL OF A SURGICAL DEVICE

NºPublicación:  US2025322952A1 16/10/2025
Solicitante: 
COVIDIEN LP [US]
Covidien LP
CN_119255757_PA

Resumen de: US2025322952A1

A computer-implemented method for control of a surgical device includes accessing raw data captured by a sensor of the surgical device during a procedure, filtering the raw data with a filter, generating a difference data based on a difference between the raw data and the filtered data, generating zero-crossing data based on determining a point in time where an amplitude of the difference data last crossed from a non-zero amplitude value through a zero amplitude value to a non-zero amplitude value of the opposite sign, providing the zero-crossing data as an input to a machine learning classifier, and predicting a probability of an end stop point based on the machine learning classifier. The end stop point includes a point in time where a knife of the surgical device ceases to cut tissue.

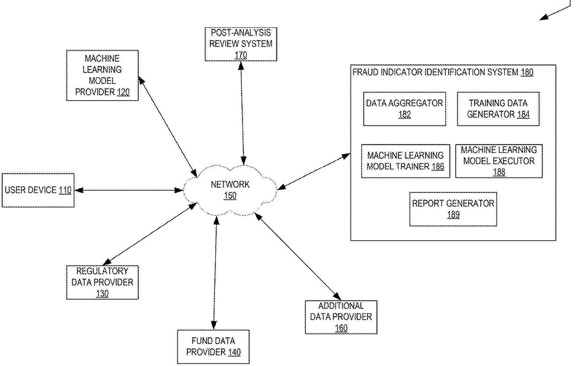
MACHINE LEARNING OPTIMIZATION OF A PROCESS IN VIEW OF PREDICTED SUSTAINABILITY

NºPublicación:  US2025322210A1 16/10/2025
Solicitante: 
SCHNEIDER ELECTRIC USA INC [US]
Schneider Electric USA, Inc
EP_4632619_A1

Resumen de: US2025322210A1

A method of performing sustainability optimization includes processing a set of inputs using a trained machine learning model to generate a set of outputs, wherein the set of inputs correspond to configuration parameters of a process configured to be performed on a physical machine, and wherein the set of outputs includes a plurality of predicted waste metrics resulting from performance of the process on the physical machine. The method further includes optimizing the set of inputs and the set of outputs for meeting sustainability constraints in view of process constraints and outputting a recommendation for operating the process on the physical machine based on the optimized set of inputs and set of outputs, for avoiding a risk of failure to operate the process, while meeting the sustainability constraints and the process constraints.

AUGMENTING MACHINE LEARNING LANGUAGE MODELS USING SEARCH ENGINE RESULTS

NºPublicación:  US2025322236A1 16/10/2025
Solicitante: 
GDM HOLDING LLC [US]
GDM Holding LLC
JP_2025505979_PA

Resumen de: US2025322236A1

Methods, systems, and apparatus, including computer programs encoded on computer storage media, for augmenting machine learning language models using search engine results. One of the methods includes obtaining question data representing a question; generating, from the question data, a search engine query for a search engine; obtaining a plurality of documents identified by the search engine in response to processing the search engine query; generating, from the plurality of documents, a plurality of conditioning inputs each representing at least a portion of one or more of the obtained documents; for each of a plurality of the generated conditioning inputs, processing a network input generated from (i) the question data and (ii) the conditioning input using a neural network to generate a network output representing a candidate answer to the question; and generating, from the network outputs representing respective candidate answers, answer data representing a final answer to the question.

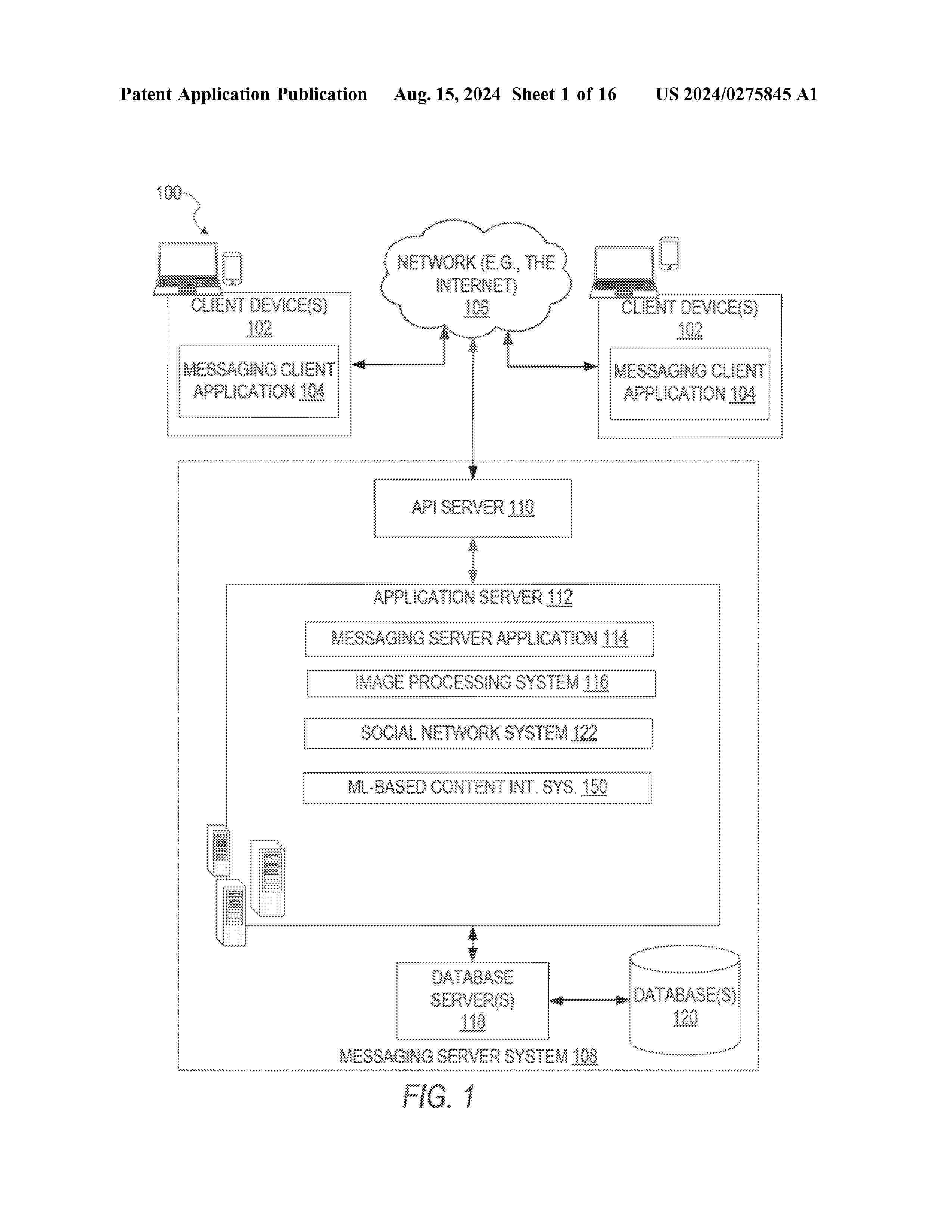
REAL-TIME CONTENT INTEGRATION BASED ON MACHINE LEARNED SELECTIONS

NºPublicación:  US2025322316A1 16/10/2025
Solicitante: 
SNAP INC [US]
Snap Inc
US_2024275845_A1

Resumen de: US2025322316A1

A candidate content item is identified for integration into a content collection. The candidate content item is associated with a first value. Using at least one machine learning model, a select value and a skip value are automatically generated for the candidate content item. The select value indicates a likelihood that the user will select the candidate content item, and the skip value indicates a likelihood that the user will bypass the candidate content item. A second value is generated for the candidate content item based on the first value, the select value, and the skip value. The candidate content item is automatically selected from a plurality of candidate content items based on the second value meeting at least one predetermined criterion. The selected candidate content item is then automatically integrated into the content collection, which is caused to be presented on a device of a user.

Automated Data Hierarchy Extraction And Prediction Using A Machine Learning Model

NºPublicación:  US2025322312A1 16/10/2025
Solicitante: 
ORACLE INT CORPORATION [US]
Oracle International Corporation
CN_117546160_PA

Resumen de: US2025322312A1

Techniques are disclosed for revising training data used for training a machine learning model to exclude categories that are associated with an insufficient number of data items in the training data set. The system then merges any data items associated with a removed category into a parent category in a hierarchy of classifications. The revised training data set, which includes the recategorized data items and lacks the removed categories, is then used to train a machine learning model in a way that avoids recognizing the removed categories.

TECHNIQUES FOR GENERATING SYNTHETIC DATA

NºPublicación:  US2025322027A1 16/10/2025
Solicitante: 
SAS INST INC [US]
SAS Institute Inc
US_2025322027_PA

Resumen de: US2025322027A1

A system and method include generating synthetic data by generating a first set of hyperparameters for a first trained machine learning model and a second set of hyperparameters for a second trained machine learning model, generating a plurality of synthetic data vectors using the first and second trained machine learning models, computing an error function for the first and second set of hyperparameters using a third machine learning model, computing an objective function value, responsive to determining that the objective function value is not an optimal value, updating the first set of hyperparameters and the second set of hyperparameters or responsive to determining that the objective function value is an optimal value outputting the plurality of synthetic data vectors as a set of synthetic data.

TECHNIQUES FOR GENERATING SYNTHETIC DATA

NºPublicación:  US2025322026A1 16/10/2025
Solicitante: 
SAS INST INC [US]
SAS Institute Inc
US_2025322026_PA

Resumen de: US2025322026A1

A system and method include generating synthetic data by generating a first set of hyperparameters for a first trained machine learning model and a second set of hyperparameters for a second trained machine learning model, generating a plurality of synthetic data vectors using the first and second trained machine learning models, computing an error function for the first and second set of hyperparameters using a third machine learning model, computing an objective function value, responsive to determining that the objective function value is not an optimal value, updating the first set of hyperparameters and the second set of hyperparameters or responsive to determining that the objective function value is an optimal value outputting the plurality of synthetic data vectors as a set of synthetic data.

MITIGATING TEMPORAL GENERALIZATION FOR A MACHINE LEARNING MODEL

NºPublicación:  US2025322342A1 16/10/2025
Solicitante: 
AT&T INTELLECTUAL PROPERTY I L P [US]
AT&T Intellectual Property I, L.P
US_2023401512_PA

Resumen de: US2025322342A1

Mitigation of temporal generalization losses a target machine learning model is disclosed. Mitigation can be based on identifying, removing, modifying, transforming, etc., features, explanatory variables, models, etc., that can have an unstable relationship with a target outcome over time. Implementation of a more stable representation can be initiated. Temporal stability measures (TSMs) for one or more model feature(s) can be determined based on one or more variable performance metrics (VPMs). A group of one or more VPMs can be selected based on features of a model in either a development or production environment. Model feature modification can be recommended based on a TSM, which can prune a feature, transform a feature, add a feature, etc. Temporal stability information can be presented, e.g., via a dashboard-type user interface. Models can be updated based on mutations of a model comprising a feature modification(s), including competitive champion/challenger model updating.

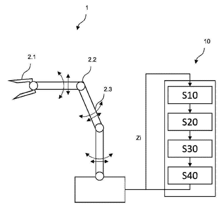
Monitoring a Multi-Axis Machine Using Interpretable Time Series Classification

NºPublicación:  US2025322037A1 16/10/2025
Solicitante: 
KUKA DEUTSCHLAND GMBH [DE]
KUKA Deutschland GmbH
CN_119301533_PA

Resumen de: US2025322037A1

A method for assessing and/or monitoring a process and/or a multi-axis machine includes recording at least one data time series, wherein the at least one data time series includes at least one channel describing at least one parameter of the process and/or of the multi-axis machine, and wherein the data time series is caused by the process. An interpretable result is determined by a machine learning algorithm based on the at least one data time series, wherein the result describes a classification value of a state in the process and/or of a state of the multi-axis machine. A warning is output when determining the result if the classification value of the state in the process and/or of the state of the multi-axis machine is assigned to a value of an error class that is in a warning range or corresponds to a warning range, and an all-clear signal is output if the classification value of the state in the process and/or of the state of the multi-axis machine is assigned to a value of an error class that is in an all-clear range or corresponds to an all-clear range.

INFORMATION PROCESSING APPARATUS, INFORMATION PROCESSING METHOD, AND PROGRAM

NºPublicación:  US2025322302A1 16/10/2025
Solicitante: 
NEC CORP [JP]
NEC Corporation
US_2025322302_PA

Resumen de: US2025322302A1

An information processing apparatus 100 of the present invention includes: an explanation generating unit 121 that generates explanatory data explaining a prediction value output by a machine learning model as a response to an input of training data; and a parameter calculating unit 122 that calculates a parameter of the machine learning model so as to reduce a prediction loss representing a degree of difference between a preset ground truth value and a prediction value output by the machine learning model as a response to the input of the training data, and to reduce an explanation loss representing a degree of unsatisfaction, by the explanatory data, of a preset criterion that the explanatory data should satisfy.

SYSTEM AND METHOD OF DYNAMICALLY RECOMMENDING ONLINE ACTIONS

NºPublicación:  US2025322366A1 16/10/2025
Solicitante: 
THE TORONTO DOMINION BANK [CA]
THE TORONTO-DOMINION BANK
US_2023259883_PA

Resumen de: US2025322366A1

The present disclosure generally relates to a computer device, method and system utilizing machine learning for capturing and analyzing profile data communicated across a computing environment including but not limited to: each user's profile, online behaviors and career progression path and provides dynamic recommendations of online actions to be performed to reach a desired target state.

SYSTEMS AND METHODS FOR PROACTIVELY PROVIDING EMOTIONALLY INTELLIGENT INTERACTION GUIDANCE USING A MACHINE LEARNING FRAMEWORK

NºPublicación:  US2025322407A1 16/10/2025
Solicitante: 
WELLS FARGO BANK NA [US]
Wells Fargo Bank, N.A
US_2025322407_PA

Resumen de: US2025322407A1

Systems, apparatuses, methods, and computer program products are disclosed for providing emotionally intelligent interaction guidance. An example method includes detecting a user interaction event for a user within an environment and receiving media pertaining to the user. The example method further includes determining an inferred emotional classification for the user based on the received media. The example method further includes generating the emotionally intelligent interaction guidance based on the inferred emotional classification using a guidance machine learning model and providing the emotionally intelligent interaction guidance to an entity device.

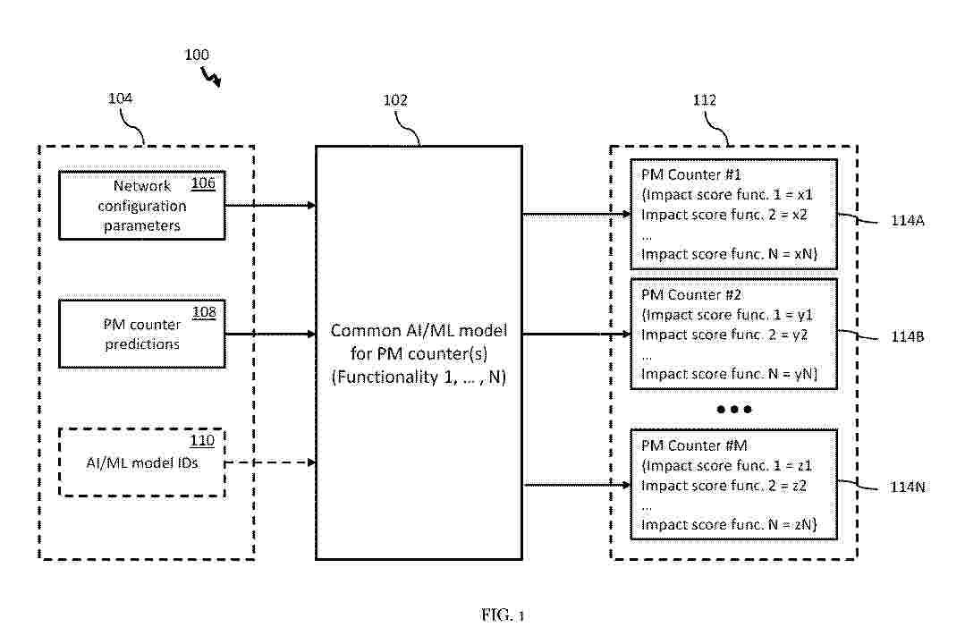
Machine-learning model(s) for estimating ran functionality machine learning model impact on performance measurement counters

NºPublicación:  GB2640229A 15/10/2025
Solicitante: 
NOKIA TECHNOLOGIES OY [FI]
Nokia Technologies Oy
GB_2640229_PA

Resumen de: GB2640229A

An apparatus 100 comprising: means for receiving a network configuration 106 derived from a plurality of machine-learning, ML models, each ML model directed towards a respective one or more radio access network, RAN functionalities; means for receiving a plurality of predicted performance, PM measurement counters output 108 from a plurality of ML performance measurement models, each ML prediction measurement model corresponding to one of the plurality of ML models; and means for processing, using a common ML performance measurement counter model 102, the network configuration and the plurality of predicted performance measurement counters to determine a model output comprising, for one or more performance measurement counters, a respective plurality of impact scores 112, wherein each impact score is indicative of a predicted impact of a corresponding ML model in the plurality of ML models on the respective performance measurement counter of said impact score for the network configuration. The apparatus may further comprise means for executing the plurality of ML models on respective measurement data to generate a plurality of respective RAN functionality predictions; and means for generating, from the plurality of respective RAN functionality predictions, the network configuration.

MACHINE LEARNING OPTIMIZATION OF A PROCESS IN VIEW OF PREDICTED SUSTAINABILITY

NºPublicación:  EP4632619A1 15/10/2025
Solicitante: 
SCHNEIDER ELECTRIC USA INC [US]
Schneider Electric USA, Inc
EP_4632619_A1

Resumen de: EP4632619A1

A method of performing sustainability optimization includes processing a set of inputs using a trained machine learning model to generate a set of outputs, wherein the set of inputs correspond to configuration parameters of a process configured to be performed on a physical machine, and wherein the set of outputs includes a plurality of predicted waste metrics resulting from performance of the process on the physical machine. The method further includes optimizing the set of inputs and the set of outputs for meeting sustainability constraints in view of prospcess constraints and outputting a recommendation for operating the process on the physical machine based on the optimized set of inputs and set of outputs, for avoiding a risk of failure to operate the process, while meeting the sustainability constraints and the process constraints.

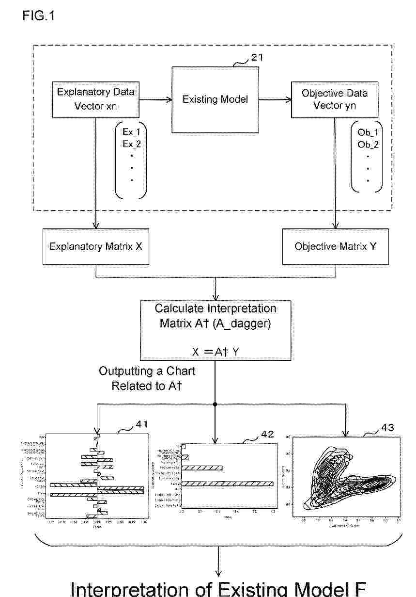
INFORMATION PROCESSING METHOD, PROGRAM, AND INFORMATION PROCESSING DEVICE

NºPublicación:  EP4632637A1 15/10/2025
Solicitante: 
EIGENBEATS LLC [JP]
Eigenbeats LLC
EP_4632637_PA

Resumen de: EP4632637A1

Provided is an information processing method, etc. that assists a user in interpreting behavior of a generated machine learning model. In the information processing method, a computer executes processing of recording a plurality of sets of an explanatory data vector xn input to an existing machine learning model (21) and an objective data vector yn output from the machine learning model (21) in association with each other, calculating an interpretation matrix A† which is a vector product of an explanatory matrix X in which a plurality of sets of the explanatory data vector xn is arranged and a generalized inverse matrix of an objective matrix Y in which the objective data vector yn is arranged in an order corresponding to the explanatory data vector X, and outputting a chart (41, 42, and 43) related to the interpretation matrix A†.

METHOD FOR TRAINING DEEP LEARNING MODEL FOR GENERATIVE RETRIEVAL AND APPARATUS FOR PERFORMING QUERY INFERENCE USING PRE-TRAINED DEEP LEARNING MODEL

NºPublicación:  KR20250144672A 13/10/2025
Solicitante: 
성균관대학교산학협력단
KR_20250144672_PA

Resumen de: US2025307630A1

In accordance with an embodiment of the present invention, there is provided a method for training a deep learning model for generative retrieval, the method comprising: performing a first training step of the deep learning model to generate vocabulary identifiers for each of at least two documents by receiving the at least two documents as input; and performing a second training step of the deep learning model to determine weights for the vocabulary identifiers by receiving a query, a relevant document associated with the query, and an irrelevant document not associated with the query as input.

SYSTEMS AND METHODS FOR EMOTIONALLY ADAPTIVE FINANCIAL CHATBOT

NºPublicación:  US2025315824A1 09/10/2025
Solicitante: 
WELLS FARGO BANK NA [US]
Wells Fargo Bank, N.A
US_2025315824_PA

Resumen de: US2025315824A1

Various examples are directed to systems and methods for emotionally adaptive financial chatbots. A method includes receiving authentication information from a user of the computer system, authenticating the user for a transaction based on the received authentication information, and detecting an abnormal aspect of the transaction based on parameters of the transaction. Upon detecting the abnormal aspect, the method includes determining, using machine learning, an emotional state of the user. The method further includes adapting an interaction style with the user based on the determined emotional state of the user, receiving an input from the user after adapting the interaction style, and implementing additional security requirements for the transaction based on the detected abnormal aspect, the input from the user, and the determined emotional state.

METHOD AND SYSTEM FOR IMPROVING MACHINE LEARNING OPERATION BY REDUCING MACHINE LEARNING BIAS

NºPublicación:  US2025315738A1 09/10/2025
Solicitante: 
BANK OF MONTREAL [CA]
Bank of Montreal
US_2025315738_PA

Resumen de: US2025315738A1

A network operation system and method accesses a training dataset for a network operation predictive model including historical network operation records and historical decision records, generates an inferred protected class dataset by executing a protected class demographic model, executes an algorithmic bias model using as input the historical decision records and the inferred protected class dataset to generate one or more fairness metrics, executes, based on the fairness metrics, a bias adjustment model using as input the historical decision records and the inferred protected class dataset to generate an adjusted training dataset, trains the network operation predictive model using as input the adjusted training dataset, receives an electronic request for a network operation, executes the network operation predictive model using as input at least one attribute of the electronic request for the network operation, and executes the network operation based on a prediction of the network operation predictive model.

PROACTIVE DEFENSE OF UNTRUSTWORTHY MACHINE LEARNING SYSTEM

NºPublicación:  US2025315674A1 09/10/2025
Solicitante: 
VISA INT SERVICE ASSOCIATION [US]
Visa International Service Association
US_2025315674_PA

Resumen de: US2025315674A1

Methods and systems for inducing model shift in a malicious computer's machine learning model is disclosed. A data processor can determine that a malicious computer uses a machine learning model with a boundary function to determine outcomes. The data processor can then generate transition data intended to shift the boundary function and then provide the transition data to the malicious computer. The data processor can repeat generating and providing the transition data, thereby causing the boundary function to shift over time.

MACHINE LEARNING NETWORKS, ARCHITECTURES AND TECHNIQUES FOR DETERMINING OR PREDICTING DEMAND METRICS IN ONE OR MORE CHANNELS

NºPublicación:  US2025315681A1 09/10/2025
Solicitante: 
SURGETECH M LLC [PT]
SURGETECH M LLC
US_2025315681_PA

Resumen de: US2025315681A1

This disclosure relates to artificial intelligence (AI) and machine learning networks for predicting or determining demand metrics across multiple channels. An analytics platform can receive channel events from multiple channels corresponding to geographic areas, and channel features related to demand conditions in the channels can be extracted from the channel events. During a training phase, the channel features can be accumulated into one or more training datasets for training one or more demand prediction models. The one or more demand prediction models can be trained to predict or determine demand metrics for each of the channels. The demand metrics can indicate or predict demand conditions based on the current conditions in the channels and/or based on future, predicted conditions in the channels. Other embodiments are disclosed herein as well.

ML MODEL PIPELINE FOR QUBO-BASED ANNEALING WORKLOADS

NºPublicación:  US2025315705A1 09/10/2025
Solicitante: 
DELL PRODUCTS LP [US]
Dell Products L.P
US_2025315705_PA

Resumen de: US2025315705A1

One example method includes using a first machine learning (ML) model L to select a set of Lagrangian weights λi for each constraint i defined in a given Hamiltonian function, using λi for every constraint i to compile the Hamiltonian function to a matrix, using a second ML model, trained with λi and hardware telemetry, to make a best hardware Ω selection, selecting a set of hyperparameters Ψi for a given QUBO, λi, and Ω, and solving the given QUBO using the best hardware Ω and the set of hyperparameters Ψi.

ANALYSIS OF STRUCTURED DATA IN CHAINS OF REPEATABLE ACTIONS WITHIN AN ARTIFICIAL INTELLIGENCE-BASED AGENT ENVIRONMENT

NºPublicación:  US2025315683A1 09/10/2025
Solicitante: 
AGBLOX INC [US]
AGBLOX, INC
US_2025315683_PA

Resumen de: US2025315683A1

A framework for machine learning modeling of structured data that includes one or more artificial intelligence-based agents. These artificial intelligence-based agents are configured to create and execute chains of repeatable actions to perform user-driven and user-defined workflows with a given problem set and identified outcomes. Structured data that has been processed is fed by the artificial intelligence-based agents to language models to formulate actions operate as tools for analyzing a problem set that can be chained together to address a given workflow, in one or more prompts for constructing and delivering the identified outcomes. Chains of repeatable actions for saved and utilized for additional workflows having similar problem sets, and executed based on pre-identified triggers.

METHOD AND SYSTEM FOR ENABLING CONTINUOUS MACHINE LEARNING USING DOMAIN-SPECIFIC LEARNING PROCESSES

NºPublicación:  US2025315692A1 09/10/2025
Solicitante: 
PATEPOJAT OY [FI]
Patepojat Oy
US_2025315692_PA

Resumen de: US2025315692A1

A method and system for continuous machine learning is disclosed. A set of domain-specific learning processes (LPs) from an external repository are obtained. Each LP of the domain-specific LPs is associated with at least one domain-specific knowledge graph representing learned parameters, patterns, and processing capabilities. Operational data from multiple sources is received and pattern representation is generated. One or more relevant LPs from the set of domain-specific LPs are identified by matching the pattern representation with at least one knowledge graph. The identified one or more LPs are executed to generate execution results and are validated through a contradiction resolution upon detecting the existence of contradictions between execution results and existing domain knowledge during the execution. The one or more LPs and their associated domain-specific knowledge graphs, trust relationships between LPs are updated based on validation outcomes and are submitted to the external repository.

Techniques For Using Machine Learning To Test Integrated Circuit Dies

NºPublicación:  US2025315583A1 09/10/2025
Solicitante: 
ALTERA CORP [US]
Altera Corporation
US_2025315583_A1

Resumen de: US2025315583A1

A computing system includes a processor circuit configured to receive test data generated from testing integrated circuit dies in a test flow. The computing system includes a machine learning model that uses the test data generated from the test flow to predict bench results that are indicative of which ones of the integrated circuit dies fail to satisfy a manufacturing protocol when the integrated circuit dies are coupled to circuit boards.

PREDICTING ALBUMINURIA USING MACHINE LEARNING

Nº publicación: US2025316377A1 09/10/2025

Solicitante:

ASTRAZENECA AB [SE]
ASTRAZENECA AB

US_2025316377_PA

Resumen de: US2025316377A1

An example embodiment may involve obtaining, by a computing system, an observation of demographic values of an individual, vital sign values of the individual, and blood test values of the individual: applying, by the computing system, a machine learning model to the observation, wherein the machine learning model was trained with a training data set, wherein the training data set contained observations of corresponding demographic values, vital sign values, blood test values, and either urine albumin-to-creatinine ratio (UACR) values or urine protein-to-creatinine ratio (UPR) values for a plurality of individuals, and wherein the machine learning model is configured to provide predictions of whether further observations are indicative of undiagnosed albuminuria or proteinuria; and providing, by the computing system, a prediction of whether the individual exhibits undiagnosed albuminuria or proteinuria based on the observation.

traducir