Ministerio de Industria, Turismo y Comercio LogoMinisterior
 

Alerta

Resultados 98 resultados
LastUpdate Última actualización 06/11/2025 [07:10:00]
pdfxls
Solicitudes publicadas en los últimos 30 días / Applications published in the last 30 days
previousPage Resultados 25 a 50 de 98 nextPage  

SYSTEMS AND METHODS FOR SELF-LEARNING ARTIFICIAL INTELLIGENCE OF THINGS (AIOT) DEVICES AND SERVICES

NºPublicación:  US2025328785A1 23/10/2025
Solicitante: 
SHORELINE IOT INC [US]
SHORELINE IOT, INC
US_2025328785_PA

Resumen de: US2025328785A1

The invention is generally directed to systems and methods of monitoring or predicting a service event for an industrial asset using an artificial intelligence of things (AIoT) system including an AIoT device, AIoT cloud, and a self-learning AI classification and analytics engine. The device may include one or more sensors and an inference engine for reducing power consumption and detecting anomalies at the edge and sending data associated with anomalies to a signal processor for classification and AI-driven automatic configuration. Classification may be based on narrow-band analysis and/or machine learning models. If an anomaly is detected power may be provided to a communication module to send sensor data to the signal processor for classification and/or further processing. Classifications or determinations made by the signal processor or detected through a work-order system may be used to automatically retrain the inference model on the edge, so that the system is self-learning.

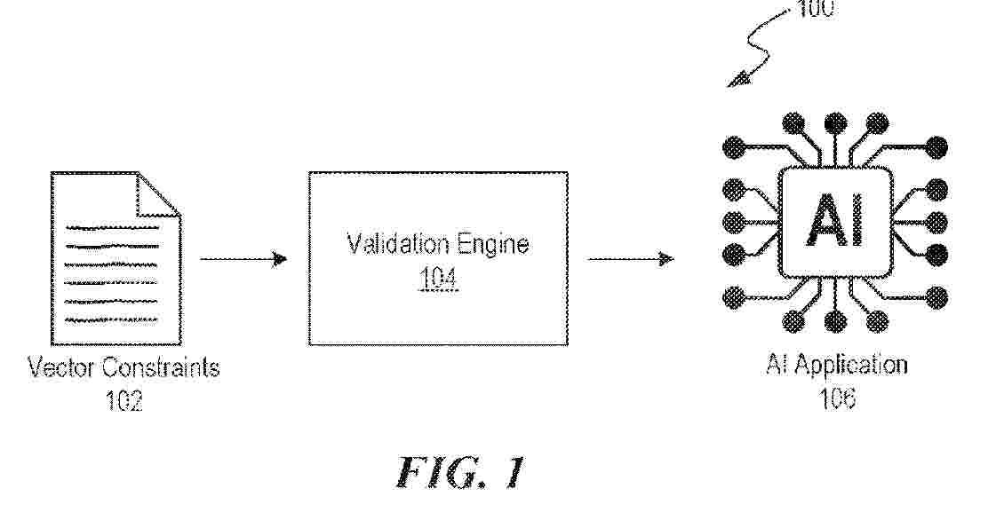
VALIDATING VECTOR CONSTRAINTS OF OUTPUTS GENERATED BY MACHINE LEARNING MODELS

NºPublicación:  WO2025221872A1 23/10/2025
Solicitante: 
CITIBANK N A [US]
CITIBANK, N.A
WO_2025221872_PA

Resumen de: WO2025221872A1

The technology evaluates the compliance of an AI application with predefined vector constraints. The technology employs multiple specialized models trained to identify specific types of non-compliance with the vector constraints within AI-generated responses. One or more models evaluate the existence of certain patterns within responses generated by an AI model by analyzing the representation of the attributes within the responses. Additionally, one or more models can identify vector representations of alphanumeric characters in the AI model's response by assessing the alphanumeric character's proximate locations, frequency, and/or associations with other alphanumeric characters. Moreover, one or more models can determine indicators of vector alignment between the vector representations of the AI model's response and the vector representations of the predetermined characters by measuring differences in the direction or magnitude of the vector representations.

SYSTEMS AND METHODS FOR BATTERY PERFORMANCE PREDICTION

NºPublicación:  WO2025221413A1 23/10/2025
Solicitante: 
SB TECH INC [US]
SB TECHNOLOGY, INC
WO_2025221413_PA

Resumen de: WO2025221413A1

Methods, systems, and apparatus, including computer programs encoded on computer storage media, for battery performance prediction. One of the methods includes actions of receiving battery test data of a battery cell. The battery test data includes data of at least one battery cell property of at least two battery tests. Each battery test includes applying pulses on the battery cell during a battery cycle. The battery test data is provided as input to a machine learning system to predict battery cell performance. The machine learning system includes a machine learning model that has been trained using training data includes test data of battery cells that reached respective end of life (EOL) cycles. In response, a prediction result for the battery cell is automatically generated by the machine learning model. The prediction result indicates an EOL cycle of the battery cell. An action is taken based on the prediction result.

SYSTEMS AND METHODS FOR PREEMPTIVE COMMUNICATION OF ROAD CONDITION DATA

NºPublicación:  US2025329252A1 23/10/2025
Solicitante: 
KONEKX [US]
KONEKX
US_2025329252_PA

Resumen de: US2025329252A1

A system and method for communicating road condition data. The system and method includes a plurality of inter-changeable housings, including a sensor housing comprising a sensor configured to generate sensor data; a data processing housing comprising a processor configured to receive the sensor data and vehicle-originated data, and apply one or more layers of a machine learning architecture to the sensor data and the vehicle-originated data to generate at least a portion of vehicle instruction data; and a wireless communication housing comprising a wireless interface circuit configured to receive the vehicle-originated data and to transmit the vehicle instruction data generated by the processor.

MACHINE LEARNING MODEL ADMINISTRATION AND OPTIMIZATION

NºPublicación:  EP4634837A1 22/10/2025
Solicitante: 
C3 AI INC [US]
C3.ai, Inc
CN_120770033_PA

Resumen de: US2025190475A1

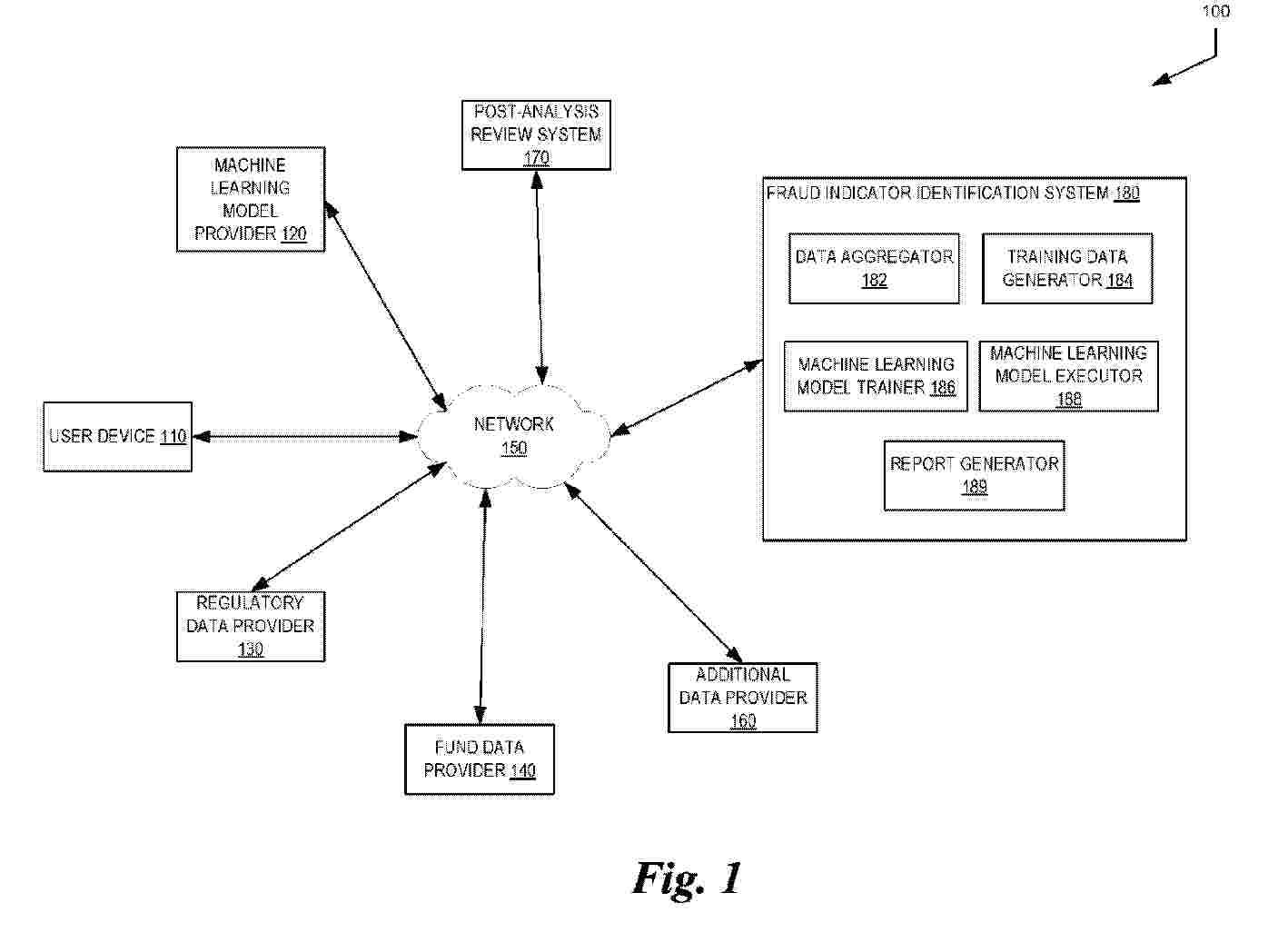
Systems and methods are configured to generate a set of potential responses to a prompt using one or more data models with data from at least a plurality of data domains of an enterprise information environment that includes access controls. A deterministic response is selected from the set of potential responses based on scoring of the validation data and restricting based on access controls in view profile information associated with the prompt. These enterprise generative AI systems and methods support granular enterprise access controls, privacy, and security requirements. enterprise generative AI providing traceable references and links to source information underlying the generative AI insights. These systems and methods enable dramatically increased utility for enterprise users to information, analyses, and predictive analytics associated with and derived from a combination of enterprise and external information systems.

METHOD FOR DISPLACING DEFECT CENTERS IN A SUBSTRATE FOR QUANTUM APPLICATIONS IN A DEFINED DIRECTION

NºPublicación:  WO2025215207A1 16/10/2025
Solicitante: 
DEUTSCHES ZENTRUM FUER LUFT UND RAUMFAHRT E V [DE]
DEUTSCHES ZENTRUM F\u00DCR LUFT- UND RAUMFAHRT E. V
WO_2025215207_PA

Resumen de: WO2025215207A1

Method of automated spatial patterning of defect centers (6) in a substrate, particularly a diamond crystal lattice (50), comprising the following steps: - providing a defect center (6) distribution to a machine-learning model, the machine-learning model being particularly trained to determine an output for displacement of at least one defect center (6) based on the provided defect center (6) distribution, the machine learning model providing an output for displacement of individual defect centers (6), - particularly providing a substrate, particularly diamond, comprising defect centers (6) in a bulk structure of the substrate, particularly a bulk diamond crystal lattice (50), - detecting the position of at least one defect center (6) in the bulk structure of the substrate, particularly the bulk diamond crystal lattice (50), and - displacing (61) the at least one defect center (6) in the bulk structure of the substrate, particularly the bulk diamond crystal lattice (50), particularly site-specific, in a defined direction.

METHOD OF AUTOMATED SPATIAL PATTERNING OF DEFECT CENTERS IN A SUBSTRATE

NºPublicación:  WO2025215209A1 16/10/2025
Solicitante: 
DEUTSCHES ZENTRUM FUER LUFT UND RAUMFAHRT E V [DE]
DEUTSCHES ZENTRUM F\u00DCR LUFT- UND RAUMFAHRT E. V
WO_2025215209_PA

Resumen de: WO2025215209A1

Method of automated spatial patterning of defect centers (6) in a substrate, particularly a diamond crystal lattice (50), comprising the following steps: - providing a defect center (6) distribution to a machine-learning model, the machine- learning model being particularly trained to determine an output for displacement of at least one defect center (6) based on the provided defect center (6) distribution, the machine learning model providing an output for displacement of individual defect centers (6), - particularly providing a substrate, particularly diamond, comprising defect centers (6) in a bulk structure of the substrate, particularly a bulk diamond crystal lattice (50), - detecting the position of at least one defect center (6) in the bulk structure of the substrate, particularly the bulk diamond crystal lattice (50), and - displacing (61) the at least one defect center (6) in the bulk structure of the substrate, particularly the bulk diamond crystal lattice (50), particularly site-specific.

SYSTEMS AND METHODS FOR LEAKAGE DETECTION, PREVENTION, AND MITIGATION

NºPublicación:  WO2025215513A2 16/10/2025
Solicitante: 
KOTLEAK LTD [IL]
EDLITZ YOCHAI [IL]
KOTLER IDO [IL]
SWED ELI [IL]
KOTLEAK LTD,
EDLITZ, Yochai,
KOTLER, Ido,
SWED, Eli
WO_2025215513_PA

Resumen de: WO2025215513A2

Disclosed embodiments relate to systems and methods for acoustically detecting leakage of a fluid using one or more acoustic sensors. Techniques include receiving a signal from the one or more acoustic sensors; performing pre-processing on the signal; inputting the pre-processed signal to a machine learning algorithm; receiving, based on the pre-processed signal and the machine learning algorithm, a classification of the pre- processed signal, the classification being associated with an acoustic profile of leakage of a fluid; and providing a prompt associated with the classification to a user device.

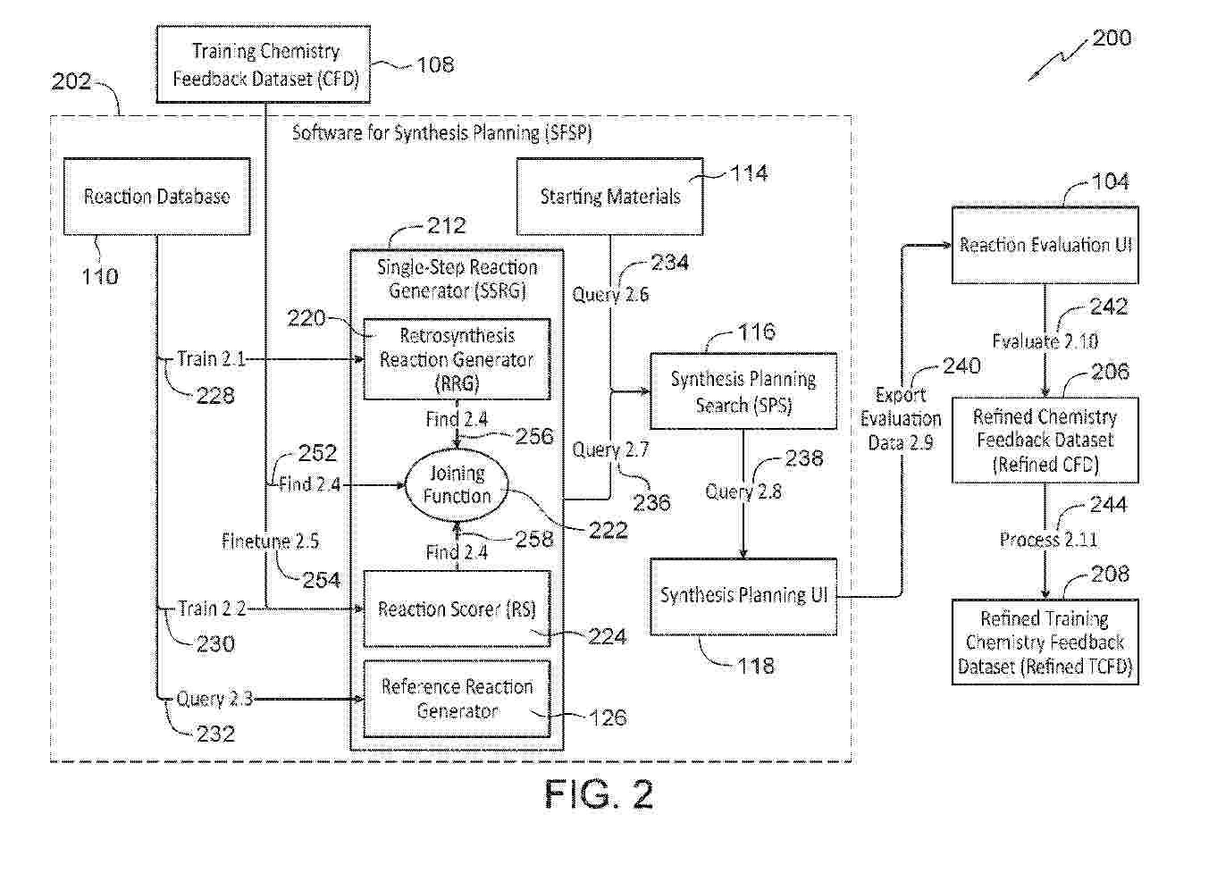
SYSTEMS FOR CHEMISTRY TASKS BASED ON ARTIFICIAL INTELLIGENCE METHODS WITH IMPROVED REASONING USING CHEMISTRY FEEDBACK

NºPublicación:  WO2025215117A1 16/10/2025
Solicitante: 
MOLECULE ONE SP Z O O [PL]
MOLECULE ONE SP. Z O.O
WO_2025215117_PA

Resumen de: WO2025215117A1

Methods and systems are disclosed in which the trustworthiness of predictive models, e.g., machine learning models, is enhanced by incorporating feedback regarding training set reactions is used to train the model so that the model is adapted so that subsequent predictions align with or account for the feedback. The feedback may include, e.g., process level reasoning, mechanism level reasoning, outlines of mechanistic reasoning, suggestions of reference reactions, or estimates of a probability of success of a given reaction. The feedback may itself be generated or proposed by a machine learning model. The model may direct an automated laboratory to perform reactions from which feedback is extracted and used to train the model.

ITEM WEIGHT PREDICTION WITH MACHINE LEARNING

NºPublicación:  WO2025216929A1 16/10/2025
Solicitante: 
MAPLEBEAR INC [US]
MAPLEBEAR INC
WO_2025216929_PA

Resumen de: WO2025216929A1

A smart shopping cart includes a load sensor to measure the weight of items added to the cart. To avoid waiting for the load sensor to converge, a detection system predicts the weight of items added to the storage area of a smart shopping cart based on the shape of a load curve output by the load sensor when an item is added to the cart. The detection system receives load data from the load sensor, detects that an item was added to the storage area of the shopping cart during a time period and identifies a set of load measurements captured by the load sensor during the time period. The set of load measurements comprise a load curve, to which the detection system applies a weight prediction model to generate a predicted weight of the added item.

USING MACHINE LEARNING TO PREDICT CELL THERAPY CHARACTERISTICS

NºPublicación:  WO2025217397A1 16/10/2025
Solicitante: 
AICELLA INC [US]
AICELLA, INC
WO_2025217397_PA

Resumen de: WO2025217397A1

Disclosed are systems and methods for improving processes for developing cell therapies by applying machine learning to data including manufacturing process data and clinical measurements (e.g., patient response and treatment data) to determine parameters and settings for a manufacturing process for engineering cells for use in cell therapy. Parameters and settings for a manufacturing process for genetically engineered T-cells including, but not limited to, Chimeric Antigen Receptor (CAR) T cells can be determined. A method can include receiving a set of process parameters of a cell engineering process, predicting a clinical response associated with an output of the cell engineering process by applying a machine learning model on the received set of process parameters, where the machine learning model is trained on process parameter data and clinical response data, and generating a visualization for use in a graphical user interface of the predicted clinical response.

METHOD, SYSTEM, AND COMPUTER PROGRAM PRODUCT FOR GLOBAL PERSONALIZED RECOMMENDATION

NºPublicación:  WO2025217351A1 16/10/2025
Solicitante: 
VISA INT SERVICE ASS [US]
VISA INTERNATIONAL SERVICE ASSOCIATION
WO_2025217351_PA

Resumen de: WO2025217351A1

Methods, systems, and computer program products for providing global personalized recommendations are provided. An example method may include generating embeddings for a first plurality of entities based on a first dataset, determining first identifiers of the first plurality of entities included in the first dataset that corresponds to second identifiers of a second plurality of entities included in a second dataset to provide a matched set of entities, wherein the second dataset includes attribute data associated with each entity of the second plurality of entities, generating a graph representation of the second plurality of entities, and wherein the graph includes nodes and each node represents an entity of the second plurality of entities, determining one or more first nodes that lacks data associated with a node embedding, and generating data associated with the node embedding for the one or more first nodes using a graph neural network (GNN) machine learning model.

MACHINE LEARNING BASED QUESTION AND ANSWER (Q&A) ASSISTANT

NºPublicación:  WO2025216752A1 16/10/2025
Solicitante: 
NOTION LABS INC [US]
NOTION LABS, INC
WO_2025216752_PA

Resumen de: WO2025216752A1

A multimodal content management system having a block-based data structure can include an artificial intelligence (AI)-based embeddings generator and indexer. After receiving an item update instruction that includes an object (e.g., a block content, a block property, or a block schema) identifier and an update payload, the system can transform the update payload—for example, by generating a chunk to capture at least a portion of the update payload. The chunk can correspond to a particular content modality included in the update payload. The system can generate and retrievably store a vector comprising a set of embeddings corresponding to the chunk, where the embeddings represent a vectorized portion of block content, block property, or block schema.

SYSTEM FOR OPTIMAL DECISION-MAKING AND METHODS THEREOF

NºPublicación:  WO2025215419A1 16/10/2025
Solicitante: 
KUDUVA JANARTHANAN SOWMIYA NARAYANAN [IN]
KUDUVA JANARTHANAN, Sowmiya Narayanan
WO_2025215419_PA

Resumen de: WO2025215419A1

The present disclosure provides a system and method for optimal decision-making in multi-criteria decision-making (MCDM) problems. The invention addresses limitations of conventional approaches, which rely heavily on subjective expert inputs and biased preprocessing techniques, by introducing a statistically driven framework based on distribution normalization and data-driven weight assignment. The system comprises modules for preprocessing, evaluation, assessment, and output generation, wherein input data is normalized, criteria constraints inverted where necessary, and statistical weights optimally assigned. Decision alternatives are then computed, evaluated, and ranked to derive one or more optimal decisions. This framework ensures unbiased, efficient, and replicable outcomes across applications including Geographic Information Systems (GIS), Data Analysis, Artificial Intelligence, and Machine Learning.

TECHNIQUES FOR ADJUSTING MIXED REALITY GRAPHICAL ENVIRONMENTS USING MACHINE LEARNING

NºPublicación:  US2025322297A1 16/10/2025
Solicitante: 
NEUREALITIES INC [US]
NEUREALITIES, INC
US_2025322297_PA

Resumen de: US2025322297A1

Techniques are described for training a machine learning model on parameters calculated from usage parameters of a plurality of training instances of a mixed reality graphical environment (MRGE) to determine usage scenarios using a supervisory signal and then using the trained machine learning model to ascertain usage scenarios for non-training instances of the MRGE to determine usage scenarios. The ascertained usage scenarios may then be used to dynamically adjust features of the non-training instances of an MRGE.

SYSTEMS AND METHODS FOR MACHINE LEARNING-BASED SITE-SPECIFIC THREAT MODELING AND THREAT DETECTION

NºPublicación:  US2025322269A1 16/10/2025
Solicitante: 
AMBIENT AI INC [US]
Ambient AI, Inc
US_2022343665_PA

Resumen de: US2025322269A1

Systems and methods for implementing a threat model that classifies contextual events as threats. The method can include: accessing a threat model; identifying a set of contextual events, wherein each contextual event comprises a set of semantic primitives predicted from a plurality of sensor streams; and determining a threat level for each contextual event based on threat probabilities.

TECHNIQUES FOR GENERATING SYNTHETIC DATA

NºPublicación:  US2025322262A1 16/10/2025
Solicitante: 
SAS INST INC [US]
SAS Institute Inc
US_2025322262_PA

Resumen de: US2025322262A1

A system and method include generating synthetic data by generating a first set of hyperparameters for a first trained machine learning model and a second set of hyperparameters for a second trained machine learning model, generating a plurality of synthetic data vectors using the first and second trained machine learning models, computing an error function for the first and second set of hyperparameters using a third machine learning model, computing an objective function value, responsive to determining that the objective function value is not an optimal value, updating the first set of hyperparameters and the second set of hyperparameters or responsive to determining that the objective function value is an optimal value outputting the plurality of synthetic data vectors as a set of synthetic data.

RESULT SET RANKING ENGINE FOR A MACHINE LEARNING BASED QUESTION AND ANSWER (Q&A) ASSISTANT

NºPublicación:  US2025322272A1 16/10/2025
Solicitante: 
NOTION LABS INC [US]
Notion Labs, Inc

Resumen de: US2025322272A1

A multimodal content management system having a block-based data structure can include a question and answer (Q&A) assistant (e.g., a chatbot). The system can receive a natural language prompt and generate a result set. The result set can include blocks (e.g., blocks that include responsive content, including content in different modalities). The system can apply a set of authority signals to items in the result set to generate a ranked result set. The authority signals can be generated using aspects of the block-based data structure, such as block properties. The system can cause the Q&A assistant to return a set of hyperlinks to the ranked result set items. The hyperlinks can be operable to enable navigation to block content without closing the Q&A assistant.

Item Weight Prediction with Machine Learning

NºPublicación:  US2025322289A1 16/10/2025
Solicitante: 
MAPLEBEAR INC [US]
Maplebear Inc

Resumen de: US2025322289A1

A smart shopping cart includes a load sensor to measure the weight of items added to the cart. To avoid waiting for the load sensor to converge, a detection system predicts the weight of items added to the storage area of a smart shopping cart based on the shape of a load curve output by the load sensor when an item is added to the cart. The detection system receives load data from the load sensor, detects that an item was added to the storage area of the shopping cart during a time period and identifies a set of load measurements captured by the load sensor during the time period. The set of load measurements comprise a load curve, to which the detection system applies a weight prediction model to generate a predicted weight of the added item.

TECHNIQUES FOR OPTIMIZING PROJECT DATA STORAGE

NºPublicación:  US2025321930A1 16/10/2025
Solicitante: 
NORTHSPYRE INC [US]
Northspyre, Inc
US_2025321930_PA

Resumen de: US2025321930A1

Techniques for optimizing project data storage are disclosed. An example system includes processors and memories communicatively coupled with the processors storing a trained machine learning (ML) model, a data inbox, a project database associated with a project, and instructions that cause the processors to: receive, at the data inbox, an input including data corresponding to the project, wherein the data is formatted in accordance with a non-standardized format; execute the trained ML model to: extract the data from the input, and analyze the data to output (i) a predicted classification and (ii) a predicted impact associated with the project; convert the data to a standardized format based on the predicted classification; store (i) the data and (ii) the predicted impact in the project database; and generate an indication of the data and the predicted impact for display to a user as part of the data inbox.

TECHNIQUES FOR GENERATING SYNTHETIC DATA

NºPublicación:  US2025322260A1 16/10/2025
Solicitante: 
SAS INST INC [US]
SAS Institute Inc
US_2025322260_PA

Resumen de: US2025322260A1

A system and method include generating synthetic data by generating a first set of hyperparameters for a first trained machine learning model and a second set of hyperparameters for a second trained machine learning model, generating a plurality of synthetic data vectors using the first and second trained machine learning models, computing an error function for the first and second set of hyperparameters using a third machine learning model, computing an objective function value, responsive to determining that the objective function value is not an optimal value, updating the first set of hyperparameters and the second set of hyperparameters or responsive to determining that the objective function value is an optimal value outputting the plurality of synthetic data vectors as a set of synthetic data.

SYSTEMS AND METHODS TO EXTRACT SEMANTIC INFORMATION FROM DOCUMENTS

NºPublicación:  US2025322167A1 16/10/2025
Solicitante: 
INSTABASE INC [US]
Instabase, Inc
US_2025322167_PA

Resumen de: US2025322167A1

Systems and methods to use one or more machine learning models to summarize a set of one or more documents are disclosed. Exemplary implementations may obtain one or more documents including divisions and organized into individual hierarchies; identify the divisions using at least one of the one or more machine learning models, wherein individual sets of sections and sets of subsections are identified; create sets of semantic vectors characterizing semantic meaning of individual divisions organized at the bottom level of individual hierarchies using at least one of the one or more machine learning models, wherein semantic vectors for individual subsections are created; and recursively generate summary vectors summarizing semantic meaning of individual divisions using at least one of the one or more machine learning models, wherein summary vectors are generated for subsections based on the semantic vectors, sections based on subsection summary vectors, and documents based on section summary vectors.

SYSTEMS AND METHODS FOR MACHINE LEARNING CONTROL OF A SURGICAL DEVICE

NºPublicación:  US2025322952A1 16/10/2025
Solicitante: 
COVIDIEN LP [US]
Covidien LP
CN_119255757_PA

Resumen de: US2025322952A1

A computer-implemented method for control of a surgical device includes accessing raw data captured by a sensor of the surgical device during a procedure, filtering the raw data with a filter, generating a difference data based on a difference between the raw data and the filtered data, generating zero-crossing data based on determining a point in time where an amplitude of the difference data last crossed from a non-zero amplitude value through a zero amplitude value to a non-zero amplitude value of the opposite sign, providing the zero-crossing data as an input to a machine learning classifier, and predicting a probability of an end stop point based on the machine learning classifier. The end stop point includes a point in time where a knife of the surgical device ceases to cut tissue.

MACHINE LEARNING OPTIMIZATION OF A PROCESS IN VIEW OF PREDICTED SUSTAINABILITY

NºPublicación:  US2025322210A1 16/10/2025
Solicitante: 
SCHNEIDER ELECTRIC USA INC [US]
Schneider Electric USA, Inc
EP_4632619_A1

Resumen de: US2025322210A1

A method of performing sustainability optimization includes processing a set of inputs using a trained machine learning model to generate a set of outputs, wherein the set of inputs correspond to configuration parameters of a process configured to be performed on a physical machine, and wherein the set of outputs includes a plurality of predicted waste metrics resulting from performance of the process on the physical machine. The method further includes optimizing the set of inputs and the set of outputs for meeting sustainability constraints in view of process constraints and outputting a recommendation for operating the process on the physical machine based on the optimized set of inputs and set of outputs, for avoiding a risk of failure to operate the process, while meeting the sustainability constraints and the process constraints.

AUGMENTING MACHINE LEARNING LANGUAGE MODELS USING SEARCH ENGINE RESULTS

Nº publicación: US2025322236A1 16/10/2025

Solicitante:

GDM HOLDING LLC [US]
GDM Holding LLC

JP_2025505979_PA

Resumen de: US2025322236A1

Methods, systems, and apparatus, including computer programs encoded on computer storage media, for augmenting machine learning language models using search engine results. One of the methods includes obtaining question data representing a question; generating, from the question data, a search engine query for a search engine; obtaining a plurality of documents identified by the search engine in response to processing the search engine query; generating, from the plurality of documents, a plurality of conditioning inputs each representing at least a portion of one or more of the obtained documents; for each of a plurality of the generated conditioning inputs, processing a network input generated from (i) the question data and (ii) the conditioning input using a neural network to generate a network output representing a candidate answer to the question; and generating, from the network outputs representing respective candidate answers, answer data representing a final answer to the question.

traducir