Ministerio de Industria, Turismo y Comercio LogoMinisterior
 

Alerta

Resultados 120 resultados
LastUpdate Última actualización 04/03/2026 [07:44:00]
pdfxls
Solicitudes publicadas en los últimos 30 días / Applications published in the last 30 days
Resultados 1 a 25 de 120 nextPage  

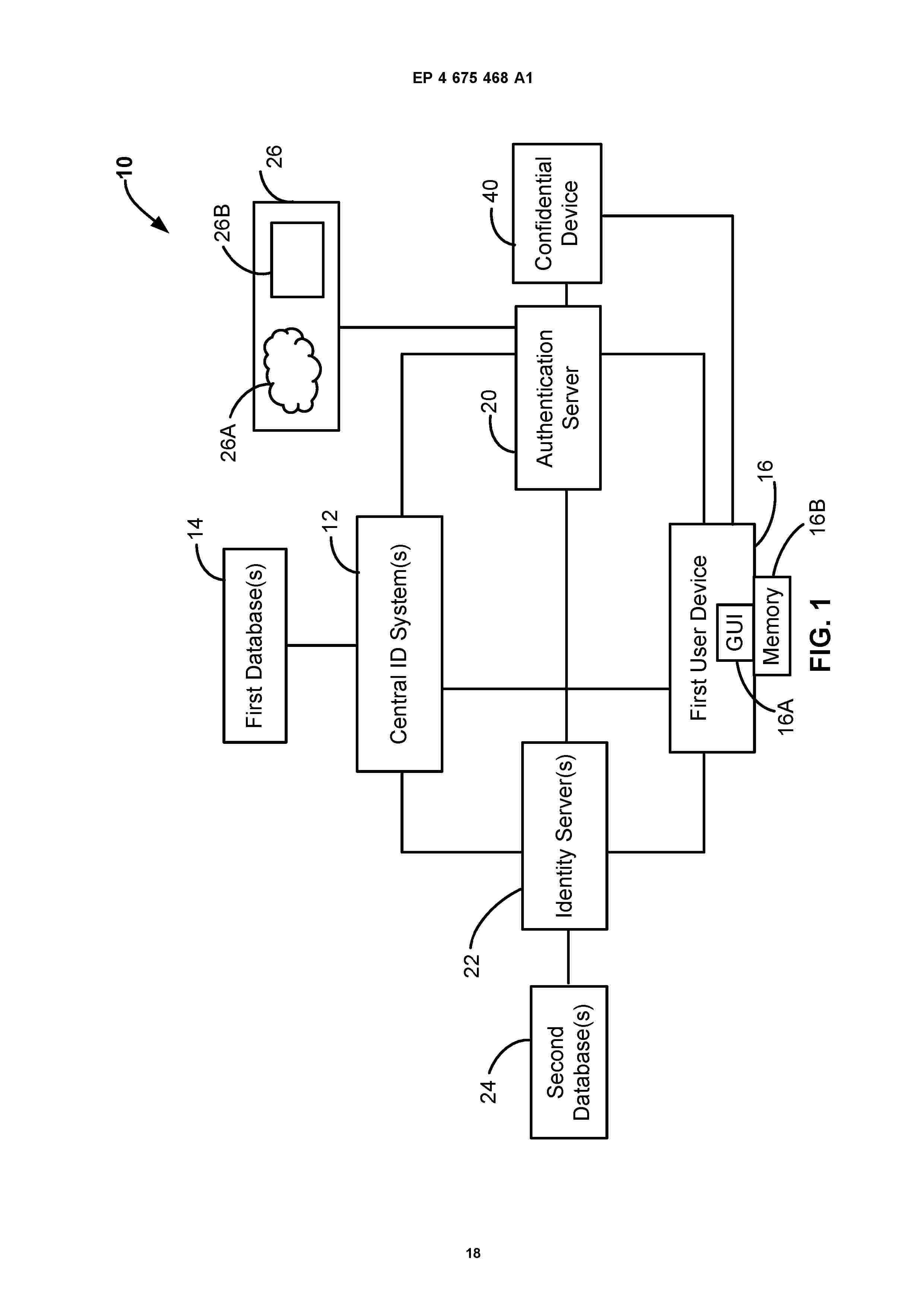
CONTROL METHOD, DEVICE, AND PROGRAM

NºPublicación:  WO2026042725A1 26/02/2026
Solicitante: 
PANASONIC INTELLECTUAL PROPERTY MAN CO LTD [JP]
\u30D1\u30CA\u30BD\u30CB\u30C3\u30AF\uFF29\uFF30\u30DE\u30CD\u30B8\u30E1\u30F3\u30C8\u682A\u5F0F\u4F1A\u793E
WO_2026042725_PA

Resumen de: WO2026042725A1

This control method is executed by a node (200a) among a plurality of nodes (200a to 200c) that manage a blockchain, the control method comprising: updating, on the basis of training data, parameters of a first layer assigned to a first node among a plurality of layers included in a learning model (S21); generating a commitment to the parameters, and a proof of processing using a zero-knowledge proof method that indicates that the update has been executed legitimately (S22); sharing the commitment and the proof of processing with nodes (200b, 200c) among the plurality of nodes (S23); acquiring a verification result, which is the result of verifying, by means of a verification device, a plurality of commitments and a plurality of proofs of processing shared by the plurality of nodes (S24); reaching a consensus with one or more second nodes on the basis of the verification result (S25); and, if consensus is reached, (Yes in S26), updating the blockchain (S27).

SYSTEM AND METHOD FOR ENHANCING BLOCKCHAIN NODE SECURITY BY KEY ROTATION

NºPublicación:  WO2026043647A1 26/02/2026
Solicitante: 
THALES DIS CPL USA INC [US]
THALES DIS CPL USA, INC
WO_2026043647_PA

Resumen de: WO2026043647A1

A system or method for enhancing blockchain node security in a computing environment can include one or more processors and memory having computer instructions which when executed causes the one or more processors to perform certain operations. The operations can include providing a protection key pair for each blockchain node in the nodal network, providing a keys blockchain for recording nodal-transaction keys and a protection key of the protection key pair, and recording a blockchain transaction that uses an additional signature of a transaction by the protection key.

CONTROL METHOD, DEVICE, AND PROGRAM

NºPublicación:  WO2026042324A1 26/02/2026
Solicitante: 
PANASONIC INTELLECTUAL PROPERTY MAN CO LTD [JP]
\u30D1\u30CA\u30BD\u30CB\u30C3\u30AF\uFF29\uFF30\u30DE\u30CD\u30B8\u30E1\u30F3\u30C8\u682A\u5F0F\u4F1A\u793E
WO_2026042324_PA

Resumen de: WO2026042324A1

This control method is executed by one of a plurality of nodes managing a first blockchain, and comprises: determining whether or not fraud has been committed against the first blockchain; and if it is determined that fraud has been committed against the first blockchain, imposing a penalty on a first user among a plurality of users using the first blockchain who has committed the fraud. The fraud is the act of not responding to a request to process the first blockchain, the first blockchain stores penalty information for imposing penalties on each of the plurality of users, and said imposition of said penalty is carried out on the basis of penalty information corresponding to the first user stored in the first blockchain.

CREDIT DATA PROCESSING

NºPublicación:  WO2026040801A1 26/02/2026
Solicitante: 
CHONGQING ANT CONSUMER FINANCE CO LTD [CN]
\u91CD\u5E86\u8682\u8681\u6D88\u8D39\u91D1\u878D\u6709\u9650\u516C\u53F8
WO_2026040801_PA

Resumen de: WO2026040801A1

Provided in the embodiments of the present disclosure are a credit data processing method and apparatus. The credit data processing method comprises: after acquiring a transaction for performing data correction on disputed data in each piece of credit data stored in a consortium blockchain, performing transaction verification on the transaction; after the transaction verification is passed, generating a data correction message on the basis of the disputed data and a proof material of the disputed data; distributing the data correction message to a trusted node of a trusted institution that has established a trusted relationship with an institution to which a consortium blockchain node belongs, so as to perform consensus processing between the consortium blockchain node and the trusted node on the basis of the data correction message; and after the consensus processing succeeds, on the basis of the proof material, performing data correction processing on the disputed data, so as to obtain each piece of target credit data.

CARBON ACCOUNT DATA MANAGEMENT SYSTEM, METHOD AND APPARATUS, DEVICE AND MEDIUM

NºPublicación:  WO2026040277A1 26/02/2026
Solicitante: 
CHINA UNIONPAY CO LTD [CN]
\u4E2D\u56FD\u94F6\u8054\u80A1\u4EFD\u6709\u9650\u516C\u53F8
WO_2026040277_A1

Resumen de: WO2026040277A1

Disclosed in the present application are a carbon account data management system, method and apparatus, a device, and a medium. The method comprises: a carbon account management device creating a carbon account, determining, on the basis of an accumulated carbon emission reduction value, a first triplet comprising a read hash, a write hash, and a counter, and then sending the first triplet to a blockchain management device; the blockchain management device updating a triplet on a blockchain on the basis of the first triplet; the carbon account management device acquiring a transaction carbon emission reduction value carried in transaction information of the carbon account, determining a second triplet on the basis of the transaction carbon emission reduction value, and then sending the second triplet to the blockchain management device; the blockchain management device updating the triplet on the blockchain on the basis of the second triplet; the carbon account management device sending to an audit device a ledger carrying a carbon emission reduction value obtained after a carbon account transaction; and the audit device determining an audit result of the ledger. Provided is a high-security carbon account data management and carbon account ledger auditing method.

METHOD FOR THE INTEGRATION OF REAL-TIME DIGITAL TRACEABILITY, MARKING, AND BLOCKCHAIN-INDEXED UNAMBIGUOUS ORIGIN IDENTIFICATION

NºPublicación:  WO2026039881A1 26/02/2026
Solicitante: 
FRANCA FILHO ANTONIO REBOUCAS DE [BR]
REBOUCAS SHEILA NOGUEIRA [BR]
FRAN\u00C7A FILHO, Antonio Rebou\u00E7as De,
REBOU\u00C7AS, Sheila Nogueira
WO_2026039881_PA

Resumen de: WO2026039881A1

The traceability method comprises the integration of traceability software, blockchain, and physical marking at origin using inert nanomarkers that are visible only when excited by a laser of a specific frequency. This integration ensures immutable and robust information in the process of tracing products and raw materials, as well as their production processes, since the nanomarker is not destroyed. In dielectric products/raw materials, integrity analysis equipment is used which, through readings of the reflection of the electromagnetic waves resulting from the interaction thereof with the material, determines its characteristic and unique dielectric profile - since each product has a dielectric constant for each wave frequency - resulting in a reflection-versus-frequency graph that is characteristic of the material. This profile is linked, by the user owner, in the traceability method, to the code corresponding to that product. The method is capable of managing the geolocation of each action on a product or raw material, generating unique and random two-dimensional alphanumeric codes, recording each action in the chain via smartphones or two-dimensional optical readers, linking these codes to tax documents and nanomarkers, as well as generating reports for decision-making.

BLOCKCHAIN-BASED DATA STATISTICS SYSTEM, METHODS AND APPARATUSES, DEVICE, AND MEDIUM

NºPublicación:  WO2026040278A1 26/02/2026
Solicitante: 
CHINA UNIONPAY CO LTD [CN]
\u4E2D\u56FD\u94F6\u8054\u80A1\u4EFD\u6709\u9650\u516C\u53F8
WO_2026040278_PA

Resumen de: WO2026040278A1

Disclosed in the present application are a blockchain-based data statistics system, methods and apparatuses, a device, and a medium. In the present application, a task scheduler specifies each institution participant, and configures a data statistics task for each institution participant via a blockchain node; each institution participant constructs a corresponding polynomial on the basis of the data statistics task, determines a secret fragment corresponding to each institution participant itself on the basis of the polynomial, and then shares the secret fragment to the corresponding institution participant; in this way, each institution participant shares its own secret fragment with other institution participants, and each institution participant also receives shared secret fragments from other institution participants; each institution participant determines a secret fragment sum value on the basis of the secret fragment corresponding to itself and the secret fragments obtained by means of the sharing, and sends to the blockchain node the secret fragment sum value; the blockchain node determines a final data statistical result on the basis of each secret fragment sum value. Provided is a secure data statistics solution.

BLOCKCHAIN-BASED TOKEN PROTOCOL

NºPublicación:  US20260058815A1 26/02/2026
Solicitante: 
NCHAIN LICENSING AG [CH]
nChain Licensing AG
US_20260058815_PA

Resumen de: US20260058815A1

A computer-implemented method of validating a token transaction as part of a token protocol using a blockchain, comprising: obtaining a candidate token transaction; obtaining, for each respective input of the candidate token transaction that references a respective token transaction, a respective list of transactions tracing back to a respective token mint transaction linking the candidate token transfer transaction to the respective token mint transaction; and validating the candidate token transfer transaction by: verifying that each respective input of the candidate token transaction references a respective token mint transaction or can be traced back, using the respective list of transactions, to a respective token mint transaction; and verifying that a sum of the respective token amounts comprised by the respective outputs of the candidate transaction is equal to a sum of the respective token amounts comprised by the one or more respective outputs referenced by the candidate transaction.

Social Networking Content Supplemented Web Page Linker

NºPublicación:  US20260058958A1 26/02/2026
Solicitante: 
TORRES TERRY LEE [US]
Torres Terry Lee
US_20260058958_PA

Resumen de: US20260058958A1

A modular system designed for privacy-preserving content recognition and supplemental content delivery across web and mobile environments. The system employs lightweight character sampling and vision-based recognition to generate unique content fingerprints without storing or replicating original data. It features a hybrid processing architecture, using local computing resources for intensive tasks while optimizing performance on resource-constrained devices. Core functionalities include multi-method content fingerprinting, real-time monitoring with adaptive sampling, and secure supplemental content association. Operating entirely on the client-side, it complies with website terms of service and privacy regulations. Advanced features include AI-driven content recognition, blockchain-based verification, and granular content targeting through resizable selection interfaces. This technology enables seamless delivery of supplemental content while preserving privacy, reducing resource usage, and ensuring scalability across browsers, mobile applications, and edge devices. It is particularly applicable in industries such as education, retail, and secure data sharing.

RIGHTS BOUND TOKENS, AND ASSOCIATED METHODS, APPARATUS, AND ARTICLES

NºPublicación:  US20260058814A1 26/02/2026
Solicitante: 
MINTANGIBLE INC [US]
MINTANGIBLE, INC
US_20260058814_PA

Resumen de: US20260058814A1

A rights bound token (RBT) creation and management engine (C&ME) generates and manages RBTs, in a distributed, immutable, permanent, decentralized, verifiable, secure, permissionless, trustless form and/or evolvable. RBTs constitute a new asset class, and are digitally native, decentralized assets that evidence rights to other assets, employing blockchain technology using distributed ledgers and that are advantageously blockchain agnostic and enhance security. RBTs employ an on chain token and a rights package inextricably bound by at least one external binding. Rights packages are comprised of a rights manifest and a rights storage mechanism, selected from various rights manifests and rights storage mechanisms. Treating the token, rights package (rights manifests, rights storage) and bindings as distinct objects advantageously allows customization for various technical and non-technical criteria, and facilitates operation is across a wide range of different blockchain services, accommodating heterogeneous protocols, heterogeneous file types and even heterogeneous storage mechanisms.

IMPROVED BLOCKCHAIN SYSTEM AND METHOD

NºPublicación:  US20260058829A1 26/02/2026
Solicitante: 
BTQ AG [LI]
BTQ AG
US_20260058829_PA

Resumen de: US20260058829A1

Systems and methods are provided for collecting anonymized drive information. A processing device may be configured to receive outputs from one or more sensors; determine at least one motion representation for the host vehicle based on the outputs; receive at least one image representative of an environment of the host vehicle; analyze the at least one image to determine at least one road characteristic associated with a road section; assemble first road segment information relative to a first portion of the road section, wherein the first portion of the road section is separated from a starting point associated with a route traveled by the host vehicle; assemble second road segment information relative to a second portion of the road section; and cause transmission of the first road segment information and the second road segment information to a server for assembly of an autonomous vehicle road navigation model.

Secure, Robust, and Efficient Blockchain Management Using Large Codeword Models

NºPublicación:  US20260058833A1 26/02/2026
Solicitante: 
ATOMBEAM TECH INC [US]
AtomBeam Technologies Inc
US_20260058833_PA

Resumen de: US20260058833A1

Compressing and re-securing blockchain data using a large codeword model (LCM) with deep learning. The LCM tokenizes the blockchain into sourceblocks, assigns unique codewords to each sourceblock, and processes the codewords through a deep learning core, enabling efficient compression, semantic understanding, and generation of blockchain data. In the event of a compromised block, the system re-encodes and rehashes the entire compressed chain, generating a new secured chain while preserving the original chain as metadata for backward compatibility. The LCM-based approach enhances security, efficiency, and resilience of blockchain networks, offering significant advantages over existing techniques.

INFORMATION PROCESSING SYSTEM, INFORMATION PROCESSING METHOD, AND PROGRAM

NºPublicación:  US20260058025A1 26/02/2026
Solicitante: 
NEC CORP [JP]
NEC Corporation
US_20260058025_PA

Resumen de: US20260058025A1

An information processing system comprising a first terminal, a second terminal, and a management system, in which the first terminal outputs a first hash value from data including at least target content, and transmits first verification data including either the first hash value or information based on the first hash value, the management system records the first verification data received from the first terminal in a blockchain, the management system reads the first verification data recorded in the blockchain and transmits the data to the second terminal, and the second terminal acquires a first hash value included in the first verification data received from the management system, acquires target content, generates a second hash value from the target content, and determines whether the first hash value matches the second hash value.

GENERATIONAL WEALTH TRANSFER SIMULATION GAME

NºPublicación:  US20260057465A1 26/02/2026
Solicitante: 
WELLS FARGO BANK N A [US]
Wells Fargo Bank, N.A
US_20260057465_PA

Resumen de: US20260057465A1

Computer-implemented systems and methods for a generational wealth transfer simulation game are provided. A method includes receiving data related to a wealth transfer of a user of a group of users, and presenting, on a user interface of a device operated by at least one user of the group of users, an interactive gaming element to obtain a user input regarding the wealth transfer. The user input is received using the interactive gaming element, an entry is generated for a blockchain based on the user input and at least some of the data, the entry including an asset for distribution for at least part of the wealth transfer and a condition for asset transfer, and the entry is stored on the blockchain at a server. In response to satisfaction of the condition, the asset is automatically distributed to at least one user of the group of users.

SUPPLY CHAIN TRACKING AND DELIVERY SYSTEM AND METHOD

NºPublicación:  US20260057336A1 26/02/2026
Solicitante: 
MROCZEK KENNETH [US]
MROCZEK Kenneth
US_20260057336_PA

Resumen de: US20260057336A1

A system that monitors supply chain inventory includes at least one computing device that receives sensor data from a sensor apparatus on a transport, where the sensor data indicates real-time information associated with a cargo on the transport. The at least one computing device also encrypts the sensor data on a blockchain ledger, or stores the sensor data in a hash table. The at least one computing device also maintains a database of stored credentials associated with the sensor data or information associated with the sensor data. The at least one computing device also receives entered credentials from a user interface, and indicates the sensor data or information associated with the sensor data through the user interface based on the entered credentials matching at least one of the stored credentials.

BLOCKCHAIN TRANSACTIONS BASED ON PARTICIPANT RANKING

NºPublicación:  US20260057332A1 26/02/2026
Solicitante: 
THE CURATORS OF THE UNIV OF MISSOURI [US]
THE CURATORS OF THE UNIVERSITY OF MISSOURI
US_20260057332_PA

Resumen de: US20260057332A1

The present invention involves ranking participants, which determines participation in transactions that affects the processing of transactions and recording of the transactions in block computation. A new element in a block is called integrity rank, and every transaction is processed and recorded based on the rules of the integrity rank. Every transaction also has a ranking element, which is made operational through a smart contract that governs the participation of participants. Transactions will only be considered valid and persistent on-chain if the participants of that transaction conform to the ranking logic set by the smart contract. The logic for such transactions is encoded in smart contracts.

GLOBAL RESOURCE LOCATOR TAG WITH BLOCKCHAIN

NºPublicación:  US20260056284A1 26/02/2026
Solicitante: 
LOCATORX INC [US]
LocatorX, Inc
US_20260056284_PA

Resumen de: US20260056284A1

The present disclosure relates to a global resource locator tag for tracking and managing assets. A semiconductor chip can include a processor and a micro sized timing device. The semiconductor chip can generate a timing signal. The global resource locator tag can include a blockchain and a memory in logical communication with the processor. The processor can determine a cryptographic hash of a previous block of events in the blockchain and determine a respective inventory status of nearby labels. A data set may be compiled with the respective inventory status of nearby labels and a cryptographic hash of a previous block.

Geolocation Verification of Humanitarian Aid Token Distribution

NºPublicación:  US20260057466A1 26/02/2026
Solicitante: 
LAKE JUSTIN [US]
Lake Justin
US_20260057466_PA

Resumen de: US20260057466A1

A blockchain-based smart contract system for decentralized humanitarian aid distribution implementing multi-stage verification protocols, government database integration, and emergency protocol switching capabilities. The Global Positioning Satellite Food (GPSF) Token Protocol comprises specialized hardware and software systems for zone-locked token distribution with geolocation-enforced access controls and adaptive verification algorithms that switch between comprehensive community aid verification and expedited emergency aid verification based on real-time disaster declarations and conflict zone detection. The system establishes multi-layered fraud prevention architecture combining biometric liveness detection, cross-document correlation algorithms, anti-spoofing detection systems, and real-time government database verification to prevent fraudulent aid claims while ensuring legitimate beneficiaries receive assistance within minutes. The protocol implements atomic cross-chain protocols with multi-signature escrow mechanisms and threshold-signature authentication requiring consensus from multiple authorized entities, creating a trustless environment for humanitarian aid across routine aid programs, emergency disaster response, and active conflict zone operations.

SYSTEM AND METHOD FOR ENABLING AUTONOMOUS ARTIFICIAL INTELLIGENCE-ENABLED SKILLS EXCHANGES BETWEEN AGENTS OVER A NETWORK

NºPublicación:  US20260057378A1 26/02/2026
Solicitante: 
ENTEFY INC [US]
Entefy Inc
US_20260057378_PA

Resumen de: US20260057378A1

An improved decentralized, blockchain-driven network for artificial intelligence (AI)-enabled skills exchange between Intelligent Personal Assistants (IPAs) in a network is disclosed that is configured to perform computational tasks or services (also referred to herein as “skills”) in an optimally-efficient fashion. In some embodiments, this may comprise a first IPA paying an agreed cost to a second IPA to perform a particular skill in a more optimally-efficient fashion. In some embodiments, a skills registry is published, comprising benchmark analyses and costs for the skills offered by the various nodes on the skills exchange network. In other embodiments, a transaction ledger is maintained that provides a record of all transactions performed across the network in a tamper-proof and auditable fashion, e.g., via the use of blockchain technology. Over time, the AI-enabled nodes in the system may learn to scale, replicate, and transact with each other in an optimized—and fully autonomous—fashion.

SYSTEMS AND METHODS FOR A PERMISSIONLESS DECENTRALIZED VIRTUAL ASSET NETWORK

NºPublicación:  US20260057382A1 26/02/2026
Solicitante: 
PYLONS INC [US]
Pylons, Inc
US_20260057382_PA

Resumen de: US20260057382A1

A blockchain system for containing authority within a distributed consensual system includes a blockchain network of participating user devices. A participating user device, having a memory and a processor, is configured to create an account linking blockchain transaction to link a developer account with an external authority account of a user of the device. The user device is further configured to publish a recipe associated with the user's developer account, receive, from an external authority, a receipt indicating purchase of the recipe by another user connected to the distributed consensual system, create a recipe blockchain transaction including data identifying the recipe and the receipt, and broadcast the recipe blockchain transaction on the blockchain network. Upon validation, the user receives payment via one or more additional blockchain transactions.

PAYMENT INSTRUMENT ADAPTABLE FOR DIGITAL CURRENCIES

NºPublicación:  US20260057357A1 26/02/2026
Solicitante: 
AMERICAN EXPRESS TRAVEL RELATED SERVICES COMPANY INC [US]
American Express Travel Related Services Company, Inc
US_20260057357_PA

Resumen de: US20260057357A1

Disclosed are various embodiments for a payment instrument, such as a payment card or a client device, that interfaces with multiple digital currency networks associated with different countries and territories. In one non-limiting example, the system comprises a client device that is configured to detect that the client device is outside of a first territorial area for a first digital currency for a blockchain network. An intent to execute a purchase in a second digital currency is transmitted to an authentication service. The client device is configured to receive a software update for wallet functionality associated with the second digital currency. A client application is updated with the software update for the wallet functionality associated with the second digital currency.

COMPUTER-IMPLEMENTED AUTHENTICATION PLATFORM

NºPublicación:  US20260057383A1 26/02/2026
Solicitante: 
BANQU INC [US]
BanQu, Inc
US_20260057383_PA

Resumen de: US20260057383A1

Systems, methods, and computer-readable media for computer-implemented authentication platforms are described herein. In an example approach, a user is enrolled in a computer-implemented authentication platform. The enrollment process includes digitally encrypting an image of a user, storing the digitally encrypted image of the user in a blockchain as part of a user profile of the user, generating (using the digitally encrypted image of the user) an identifier of the user, and storing the identifier of the user in the blockchain as part of the user profile of the user. Subsequently, the user is authenticated. The authentication process includes retrieving the digitally encrypted image of the user from the blockchain (using the identifier of the user to retrieve the digitally encrypted image of the user) and decrypting the digitally encrypted image of the user using a decryption token.

Blockchain-Integrated Solar-Powered Digital Asset Storage Device with Bluetooth Functionality and Power Bank. The present invention provides a digital asset storage device that integrates blockchain technology, solar power capabilities, Bluetooth functionality, and a power bank. The device ensures secure, sustainable, and versatile storage of digital assets, offering a comprehensive solution to modern storage needs.

NºPublicación:  AU2025248714A1 26/02/2026
Solicitante: 
HBZ META ARTECH PTY LTD
HBZ META ARTECH PTY LTD
AU_2025248714_A1

Resumen de: AU2025248714A1

Abstract With the increasing popularity of digital assets, such as cryptocurrencies and sensitive digital data, there is a growing need for secure and reliable storage solutions. Traditional storage devices often rely on external power sources and lack integrated security measures, making them vulnerable to power outages and cyber-attacks. Therefore, there is a need for a device that can securely store digital assets, harness renewable energy, and offer wireless connectivity. The present invention relates to the field of digital asset storage devices. More particularly, the invention provides a digital asset storage device that integrates blockchain technology, solar power capabilities, Bluetooth functionality, and a power bank. The device ensures secure, sustainable, and versatile storage of digital assets, offering a comprehensive solution to modern storage needs. Blockchain-Integrated Solar-Powered Digital Asset Storage Device with Bluetooth Functionality and Power Bank Drawings: 10cm 6cm 2cm k Bluetooth Apple usb charger typec Android

BACKING ASSET ALLOCATION AND MANAGEMENT IN BLOCKCHAIN SYSTEMS

NºPublicación:  WO2026043695A1 26/02/2026
Solicitante: 
CIRCLE INTERNET GROUP INC [US]
CIRCLE INTERNET GROUP, INC
WO_2026043695_PA

Resumen de: WO2026043695A1

Certain embodiments of the present disclosure provide techniques for allocating resources associated with tokens on a blockchain across resource providers in a distributed computing environment. An example method generally includes partitioning a total resource pool into a plurality of resource pools. Generally, each respective resource pool of the plurality of resource pools is associated with a respective resource provider. For each respective resource pool of the plurality of resource pools, the respective resource pool is partitioned into a reserve pool and an active pool based on an on-blockchain transaction history associated with tokens backed by the total resource pool. Transactions associated with the tokens are processed using one or more resource pools from the plurality of resource pools.

METHOD FOR SECURELY REMOVING BLOCKS FROM AN EXISTING BLOCKCHAIN

Nº publicación: WO2026041593A1 26/02/2026

Solicitante:

EAGLE PMX AG [CH]
EAGLE PMX AG

WO_2026041593_PA

Resumen de: WO2026041593A1

The present invention relates to a method for securely removing blocks from an existing blockchain in a closed infrastructure such as a corporate network. The proposed method provides the advantage that entries can be removed from the linked list without jeopardising the continued integrity of the chain. In principle, blockchains do not permit blocks to be removed from the data structure; this is prevented by redundant storage. The present invention overcomes this disadvantage and additionally provides a mechanism that allows the data records to be restored at a later time, if required. The invention is also directed to a correspondingly configured system arrangement. The invention also relates to a computer program product comprising control commands which implement the proposed method and/or operate the proposed apparatus and arrangement.

traducir