Ministerio de Industria, Turismo y Comercio LogoMinisterior
 

Alerta

Resultados 136 resultados
LastUpdate Última actualización 01/05/2026 [09:08:00]
pdfxls
Solicitudes publicadas en los últimos 30 días / Applications published in the last 30 days
Resultados 1 a 25 de 136 nextPage  

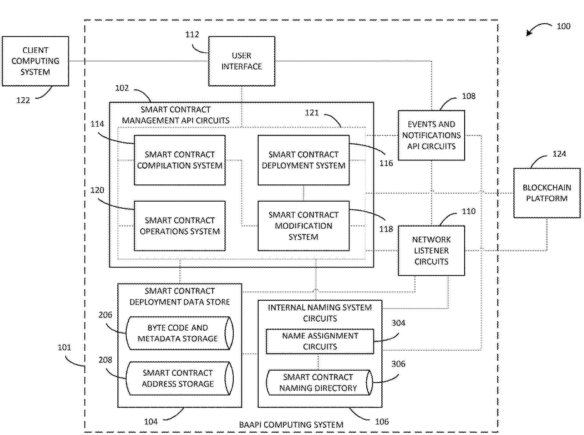
EFFICIENT AND SECURE BLOCKCHAINS USING CLOUD RESOURCE PRIMITIVES

NºPublicación:  US20260120089A1 30/04/2026
Solicitante: 
VENDIA INC [CA]
Vendia, Inc.
US_20260120089_A1

Resumen de: US20260120089A1

Systems and methods are disclosed for efficient creation of blocks on a blockchain by utilization of trusted cloud primitives. As opposed to inefficient mechanisms like proof-of-work or application-limited mechanisms like proof-of-stake, embodiments of the present disclosure implement a consensus algorithm by execution of verifiably immutable code on one or more hosted computing environments that are mutually trusted by participants to the blockchain. The code can be designated within a block of the blockchain, such that participants mutually trust the code, when executed, to properly implement the agreed-upon consensus algorithm. The consensus algorithm can operate to select transactions for inclusion in each block, and notify participants of the selection, removing a need for participants to trust one another with respect to block creation.

BLOCKCHAIN PRESCRIPTION MANAGEMENT SYSTEM

NºPublicación:  US20260120840A1 30/04/2026
Solicitante: 
PRESCRYPTIVE HEALTH INC [US]
PRESCRYPTIVE HEALTH, INC.
US_20260120840_A1

Resumen de: US20260120840A1

A system for managing prescriptions via a blockchain is provided. Prescription information relating to a the prescription is displayed. Submission information for the pharmacy relating to dispensing the prescription is displayed for each of a plurality of pharmacies. Selection of a pharmacy to dispense the prescription is received, where a prescription transaction relating to the prescription is recorded in a blockchain. An indication that a dose was taken is received from the patient after the prescription is dispensed by the selected pharmacy selected. A dose token transaction is recorded in the blockchain.

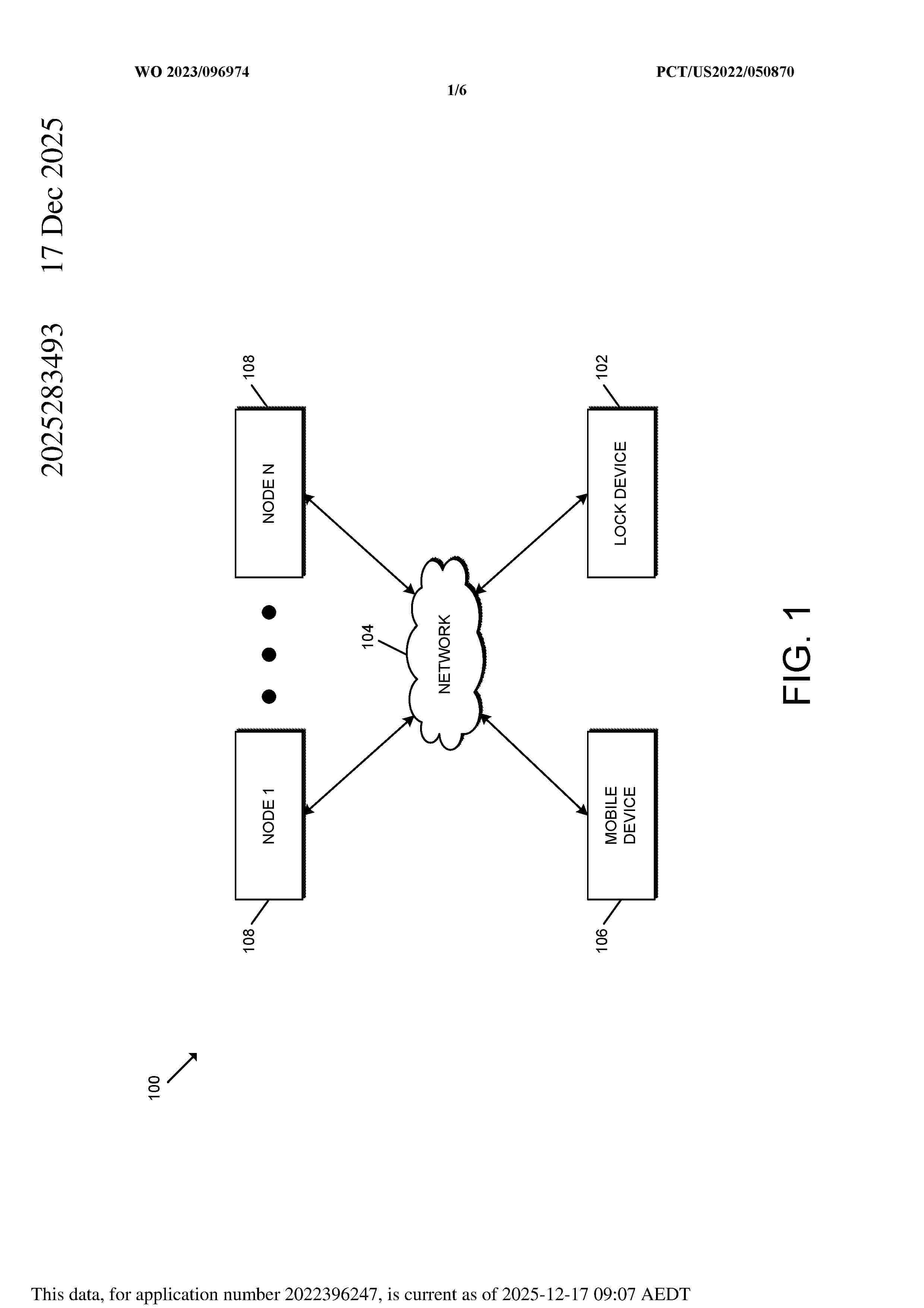
PHYSICAL UNCLONABLE FUNCTION IDENTIFIABLE PEER TO PEER NETWORK AS A RELIABLE DATA SUPPLIER TO A BLOCKCHAIN

NºPublicación:  US20260121873A1 30/04/2026
Solicitante: 
CROSSBAR INC [US]
Crossbar, Inc.
US_20260121873_A1

Resumen de: US20260121873A1

A secure peer-to-peer network is implemented with computing devices over unsecure network connections. Each computing device can include or be coupled to a proof of origin hardware. The proof of origin hardware can be validated by publicly available data, such as a trusted server or by secure storage of valid proof of origin data, or other modality. Once validated on the peer-to-peer network, peer nodes can provide or can receive network services, such as blockchain services, off-chain data oracle services, smart contract-enabled services, distributed data oracle services, distributed network gateway services, among others.

BLOCK CHAIN BASED ASYNCHRONOUS EDGE DEVICE ACTIVATION AND CLOUD REGISTRATION

NºPublicación:  US20260121839A1 30/04/2026
Solicitante: 
LENOVO ENTPR SOLUTIONS SINGAPORE PTE LTD [SG]
Lenovo Enterprise Solutions (Singapore) Pte. Ltd.
US_20260121839_A1

Resumen de: US20260121839A1

A method for activation of a remote server using activation information stored as transactions in a blockchain ledger is disclosed. The method includes activating an agent on a server in response to the server being powered on for activation by an end user of the server. The agent includes a private key where the private key is paired with a public key by a manufacturer of the server. The public key is entered in a transaction of a ledger of a blockchain corresponding to the server. The ledger includes activation information for the server and the activation information is encrypted using the public key. The method includes accessing the ledger by the agent and decrypting, by the agent, the activation information using the private key. The method includes using, by the agent, the activation information to activate the server.

ENFORCING CONDITIONS ON BLOCKCHAIN TRANSACTIONS

NºPublicación:  US20260121854A1 30/04/2026
Solicitante: 
NCHAIN LICENSING AG [CH]
nChain Licensing AG
US_20260121854_A1

Resumen de: US20260121854A1

A computer-implemented method of enforcing conditions on a second blockchain transaction using a first blockchain transaction, wherein a first one of the conditions is that, when a first unlocking script of the second transaction is executed alongside a first locking script of the first transaction, a representation of the second transaction is output to memory, wherein the representation is based on a plurality of fields of the second transaction and a first output of the first transaction, and wherein the method comprises: generating the first transaction, wherein the first transaction comprises a first output, wherein the first output comprises the first locking script, and wherein the first locking script comprises: a message sub-script; a signature sub-script; a public key corresponding to a private key; and a verification sub-script.

VERIFICATION USING BLOCKCHAIN SMART CONTRACT

NºPublicación:  US20260120081A1 30/04/2026
Solicitante: 
VISA INT SERVICE ASSOCIATION [US]
Visa International Service Association
US_20260120081_A1

Resumen de: US20260120081A1

A method is disclosed. The method includes transmitting a verification request comprising a wallet account identifier associated with a digital wallet to a smart contract on a blockchain network or a smart contract application associated with the smart contract. The smart contract or the smart contract application verifies the wallet account identifier using a blockchain on the blockchain network. The method also includes receiving from the smart contract on the blockchain network or the smart contract application, a verification response verifying the wallet account. The method further includes initiating transmitting to an authorizing entity computer, an authorization request message comprising a credential associated with the wallet account identifier.

CONSENSUS METHOD AND APPARATUS FOR BLOCKCHAIN SYSTEM

NºPublicación:  US20260121878A1 30/04/2026
Solicitante: 
HANGZHOU HIGH TECH ZONE BINJIANG INST OF BLOCKCHAIN AND DATA SECURITY [CN]
HANGZHOU HIGH-TECH ZONE (BINJIANG) INSTITUTE OF BLOCKCHAIN AND DATA SECURITY
US_20260121878_A1

Resumen de: US20260121878A1

The present disclosure provides a consensus method and a consensus apparatus for a blockchain system. The consensus method includes: generating a subsequent proposal block by referencing a plurality of proposal blocks and combining current transactions from clients in an (n+x2)-th consensus round; and achieving consensus on the preceding proposal block by using the subsequent proposal block as a certificate for the preceding proposal block. The plurality of proposal blocks are correspondingly generated by the plurality of validation nodes referencing a preceding proposal block in an n-th consensus round, and the preceding proposal block is generated in an (n−x1)-th consensus round. In the consensus method of the present disclosure, there is no need to transmit a large amount of signature messages in the consensus process, and consensus on a specific block is achieved by establishing reference relationships between blocks generated in different consensus rounds.

SYSTEM AND METHOD FOR PROVIDING PERSISTENT AUTHENTICATABLE NON-FUNGIBLE TOKEN

NºPublicación:  EP4734433A2 29/04/2026
Solicitante: 
WISEKEY SA [CH]
WISeKey SA
EP_4734433_PA

Resumen de: EP4734433A2

The present invention concerns a method and system for long-term authentication of non-fungible tokens (306, 424). In various embodiments the system (400) includes an off-chain storage system (321) having one or more elements of identifying information (325, 326, 327, 328, 329) for an object (307) including at least one element that authenticates the object. In various embodiments the system (400) further includes a blockchain network adapted for recording a non-fungible token (306) located at a public address (312) on a blockchain (304). In embodiments the minted non-fungible token (306) includes at least an identification manifest (322) and/or a hash (404, 370, 372, 374, 376, 378) of all or part of the elements of identifying information and/or a digital NFT certificate (412) including a digital signature from a certifying authority (414) and the hash (404) of at least one of said elements of identifying information (325, 326, 327, 328, 329) and/or of the identification manifest (322), such that the non-fungible token (306) is independently authenticatable against said certifying authority (414) and/or a corresponding validating authority (416) and/or against the off-chain storage system (321).

METHOD AND SYSTEM FOR NET SETTLEMENT BY USE OF CRYPTOGRAPHIC PROMISSORY NOTES ISSUED ON A BLOCKCHAIN

NºPublicación:  EP4734031A2 29/04/2026
Solicitante: 
MASTERCARD INTERNATIONAL INC [US]
Mastercard International, Inc.
EP_4734031_PA

Resumen de: EP4734031A2

A method for generating a cryptographic promissory note for posting to a blockchain includes: receiving an authorization request for a payment transaction, the authorization request being a transaction message formatted based on one or more standards that includes a plurality of data elements including a first data element configured to store a blockchain address and a second data element configured to store a transaction amount; generating a promissory note including the transaction amount; digitally signing the generated promissory note with a private key; encrypting the signed promissory note with a symmetric key; wrapping the symmetric key with a public key corresponding to the private key and a public key associated with an acquirer involved in the payment transaction; and electronically transmitting a blockchain transaction to a blockchain network that includes the encrypted promissory note, each symmetric key, and the blockchain address.

TRANSFERRING BLOCKCHAIN-BASED TOKENS REPRESENTING BIOSPECIMENS

NºPublicación:  EP4732288A1 29/04/2026
Solicitante: 
AMINOCHAIN INC [US]
Aminochain Inc.
WO_2024263958_PA

Resumen de: WO2024263958A1

A method, a system, and computer program product for managing tokenized biospecimen transfers are provided. A file including private data associated with one or more donors is retrieved by a biobank node connected to a blockchain network and from a database of a data provider. The file is processed to generate tokens corresponding to the private data, each token representing a biospecimen and being assigned to a respective donor. An inventory is updated by adding identifiers of the plurality of tokens to the inventory. A request to transfer one or more tokens corresponding to a portion of the private data is received. An authorization to transfer the one or more tokens to a target entity is received. The token is transferred to the target entity with a consent to perform one or more operations using the token.

SYSTEM AND METHOD FOR SECURELY SHARING CRYPTOGRAPHIC MATERIAL

NºPublicación:  US20260113182A1 23/04/2026
Solicitante: 
NCHAIN LICENSING AG [CH]
US_20260113182_A1

Resumen de: US20260113182A1

0000 Systems and methods described herein relate to techniques in which multiple parties each generate and exchange quantities that are based on a shared secret (e.g., powers of the shared secret) without exposing the shared secret. According to a protocol, two or more parties may exchange sets of elliptic curve points generated over polynomials that can be used, by each of the two or more parties, to determine a power of a shared secret. The protocol may be utilized as part of determining parameters for a smart contract that is broadcast to a blockchain network (e.g., Bitcoin). Based on the protocol, an additional party (e.g., a third party different from the two or more parties) may perform a computational task such as execution of the smart contract.

DECENTRALIZED CONTENT FABRIC

NºPublicación:  US20260113368A1 23/04/2026
Solicitante: 
ELUVIO INC [US]
US_20260113368_A1

Resumen de: US20260113368A1

Disclosed are examples of systems, apparatus, devices, computer program products, and methods implementing aspects of a decentralized content fabric. In some implementations, one or more processors are configured to execute a software stack to define a fabric node of a plurality of fabric nodes of an overlay network situated in an application layer differentiated from an internet protocol layer. The defined fabric node is configured to: obtain a request for digital content from a client device; obtain, from one or more of the plurality of fabric nodes, a plurality of content object parts of a content object representing, in the overlay network, at least a portion of the digital content; generate consumable media using: raw data stored in the content object parts, metadata stored in the content object parts, and build instructions stored in the content object parts; and provide the consumable media to the client device. In some instances, the consumable media is further generated using a digital contract stored in a blockchain.

Method for Improving AI Systems

NºPublicación:  US20260113203A1 23/04/2026
Solicitante: 
TRAN BAO [US]
US_20260113203_A1

Resumen de: US20260113203A1

0000 The present embodiment discloses a novel process and system for storing versioned data on the Bitcoin blockchain network. This process involves generating derived public keys linked to specific versions and data parts using a key tweaking method, and storing each data part on the blockchain using its associated derived public key. Information about versions and parts are stored in root transactions. An API is provided for managing the stored data, with options for encryption, checksums, data anchoring, timestamping, segmentation, and digital signatures. AIDIOS, a data protocol designed for direct storage and retrieval on the Bitcoin blockchain, is also included. This system allows for significant amounts of data to be stored directly on the blockchain.

SYSTEMS AND METHODS FOR BLOCKCHAIN DISTRIBUTED LEDGER-BASED TRANSACTIONS USING UTXO MERKLE TREE DATA STRUCTURES

NºPublicación:  US20260111876A1 23/04/2026
Solicitante: 
HSBC SOFTWARE DEVELOPMENT GUANGDONG LTD [CN]
US_20260111876_A1

Resumen de: US20260111876A1

An improved computational privacy based approach is proposed to allow for a blockchain privacy enabled transaction protocol for processing distributed ledger transactions of a specially configured blockchain smart contract, the approach describing a cryptographic process, along with a corresponding apparatus and computer program products using a pair of specialized UTXO merkle tree data structures, authentication nullifiers based on zero-knowledge proofs and sets of public-private key pairs. The process includes storing a transaction amount as UTXOs into a first merkle tree data structure and confirming the transaction by claiming ownership using private tokens over the UTXOs in the first merkle tree data structure and moving the UTXOs to a second merkle tree data structure for redemption.

UTILISE 5G MOBILE HANDSET AS DAO AND NODE IN LAYER 1 PROOF OF AUTHORITY BLOCKCHAIN

NºPublicación:  US20260113629A1 23/04/2026
Solicitante: 
LAAK FRODE VAN DER [NO]
US_20260113629_A1

Resumen de: US20260113629A1

0000 As the demand for real-time, secure, and scalable transactions continues to grow, the convergence of 5G mobile connectivity and blockchain technology emerges as a promising solution. The present invention depicts an innovative approach to harness the high-speed and low-latency capabilities of 5G mobile networks by integrating them as nodes within a Layer 1 Proof of Authority (PoA) blockchain architecture tailored for microtransactions. This integration yields several advantages. Firstly, the ultra-fast data transmission speeds and minimal network latency of 5G networks enhance the efficiency of blockchain transactions, facilitating near-instantaneous settlement of microtransactions. Secondly, the distributed nature of the blockchain, coupled with the security features inherent in 5G networks, ensures a resilient and tamper-proof transactional environment.

ENCRYPTED ACCESS LAYER SYSTEMS OF PEER DATA PROCESSING NODES PROVIDING A SECURITY FRAMEWORK AND TRUST CONTROLS FOR NODE-BASED CORE OPERATIONS AND TRUST DATA ASSET MANAGEMENT

NºPublicación:  US20260113187A1 23/04/2026
Solicitante: 
TRUIST BANK [US]
US_20260113187_A1

Resumen de: US20260113187A1

0000 A strategic master data management blockchain computing platform includes virtual machine(s) configured and deployed to execute an operating system of the blockchain computing platform across a virtual network, and a plurality of interconnected data processing nodes each comprising a plurality of functional layers, where the plurality of functional layers comprises an identity management access layer that is configured to establish a blockchain computing function. The blockchain computing function includes defining (a) role-based access control (RBAC) policies for access to node-based core operations and trust data asset management blockchain services, and (b) attribute-based access control (ABAC) time-based rules restricting access to portions of master data and reference data for trust data assets. The blockchain computing function also maintains a security framework that controls access to processing node resources and trust data asset results available across the enterprise virtual network.

SECURE DATA SECURITY SYSTEMS USING A CRYPTOGRAPHIC BLOCKCHAIN COMPUTING PLATFORM FACILITATING ENCRYPTED NODE-BASED CORE OPERATIONS AND TRUST DATA ASSET MANAGEMENT INCORPORATING TRUST CONTROLS FOR DATA INTEGRITY PRESERVATION

NºPublicación:  US20260111898A1 23/04/2026
Solicitante: 
TRUIST BANK [US]
US_20260111898_A1

Resumen de: US20260111898A1

0000 A platform for node-based core operations and trust data asset management incorporates data integrity preservation via trust controls and includes virtual machine(s) configured and deployed to execute an operating system to access the computing platform via a virtual network. The computing platform includes a blockchain and interconnected data processing nodes each including functional layers with an asset management service layer to establish a blockchain computing function that preserves data integrity by defining a single view of trust data assets referenced in transaction(s) from authoritative source(s). The preserving applies identification, standardization, and normalization rules in validation smart contracts of an ingestion preprocessor to establish the single view and executes registration and certification processes that incorporate smart contract trust controls to enhance data integrity. An API framework is maintained to support master and reference data management data processing to establish node-based core operations and trust data asset management under trust control.

SYSTEM AND METHOD FOR DYNAMIC REDUNDANCY-AWARE BLOCKCHAIN-BASED PARTIAL COMPUTATION OFFLOADING FOR METAVERSE WITHIN COMPUTING ENVIRIONMENT IN NETWORK

NºPublicación:  US20260113388A1 23/04/2026
Solicitante: 
INDUSTRY FOUNDATION OF CHONNAM NATIONAL UNIV [KR]
US_20260113388_A1

Resumen de: US20260113388A1

Provided is a system and a method for a dynamic redundancy-aware blockchain-based PCO for Metaverse within a COIN environment. The system includes user equipment that transmits a request for a task of the Metaverse, and a COIN device that operates a service of the Metaverse service. The COIN device includes a plurality of layers, and a controller that calculates a PCO and sends a request for determining a layer that performs a Metaverse task requested by the user equipment.

URBAN TRANSFORMATION SMART CONTRACT SYSTEM

NºPublicación:  WO2026084659A1 23/04/2026
Solicitante: 
TURKIYE GARANTI BANKASI ANONIM SIRKETI [TR]
WO_2026084659_A1

Resumen de: WO2026084659A1

The present invention relates to a system (1) which enables the conditions of the building to be included in the urban transformation to be written into smart contracts through a blockchain network and payment of the amount of the delay to be made to the homeowners by the company carrying out the transformation through the blockchain network in case of delay.

ENCRYPTED DATA SECURITY SYSTEMS PROVIDING DIGITAL SIGNATURE VERIFICATION PROTECTING NETWORK-BASED ASYMMETRIC KEY CRYPTOGRAPHIC BLOCKCHAIN DISTRIBUTED SECURITY FRAMEWORK FOR PROTECTIVE TRUST CONTROL AND VALIDATION OF NODE-BASED CORE OPERATIONS AND TRUST DATA ASSET MANAGEMENT FOR AUTHENTICATION

NºPublicación:  US20260111881A1 23/04/2026
Solicitante: 
TRUIST BANK [US]
US_20260111881_A1

Resumen de: US20260111881A1

0000 Systems and methods configure a blockchain framework that includes a master data asset ledger and peer nodes, the master data asset ledger being configured to autonomously maintain current values of a set of ledger states and includes object codes overlaying a coordination protocol of the peer nodes that are collectively configured to maintain distributed ledger copies with a set of shared smart contracts applicable to predetermined event(s) to provide trust control across virtual services. Service level access to the blockchain framework is provided through each smart contract to facilitate coordinated data asset management in accordance with the coordination protocol, the coordinated data asset management including obtaining endorsement of transaction(s) through peer consensus of the peer nodes, and instructing peer node(s) to apply a trust control maintained by the master data asset ledger, the trust control being based on the endorsement of the transaction(s).

CONSENSUS DIGITAL SIGNATURE AUTHENTICATION AND SECURITY THROUGH NODE-BASED TRUSTED DATA MANAGEMENT APPLICATIONS USING DISTRIBUTED CRYPTOGRAPHIC BLOCKCHAIN THROUGH ENCRYPTED VIRTUAL MACHINES FOR DATA ACCESS CONTROL

NºPublicación:  US20260113197A1 23/04/2026
Solicitante: 
TRUIST BANK [US]
US_20260113197_A1

Resumen de: US20260113197A1

0000 Systems provide a blockchain strategic node-based core operations and trust data application computing environment for master and reference data management, where the strategic node-based core operations and trust data asset application computing environment includes a peer-to-peer computing network comprising interconnected master and peer nodes collectively programmed to interoperate based at least in part on an application computing environment trust coordination protocol, a portion or all of the plurality of master and peer nodes being configured to maintain a distributed and immutable master ledger storing data asset records of decentralized applications and collectively execute a set of trust protocols to securely write to the master ledger, where the trust protocols include a peer node interacting with other peer nodes to achieve consensus on identity of data assets referenced in a transaction and to endorse disposition of the transaction in the master ledge that stores trust data assets according to smart contracts.

ENCRYPTED DATA SECURITY PROVIDING DIGITAL SIGNATURE VERIFICATION PROTECTING CRYPTOGRAPHIC BLOCKCHAIN SERVICES FOR PROTECTIVE TRUST CONTROL AND VALIDATION OF NODE-BASED CORE OPERATIONS AND TRUST DATA ASSET MANAGEMENT FOR VIRTUAL MACHINE PROCESSING

NºPublicación:  US20260111882A1 23/04/2026
Solicitante: 
TRUIST BANK [US]
US_20260111882_A1

Resumen de: US20260111882A1

Systems and methods call a portion of an API to access a portion of a current state data server of a blockchain computing platform (BCP) configured to perform virtual machine processing, the BCP includes interconnected data processing nodes including: a master ledger configured to store trust data asset records for master data and reference data received from decentralized application transactions performed via the processing nodes, and peer nodes configured to provide cryptographic algorithmic trust control for node-based core operations and trust data asset management. An API call to the current state data server obtains current state results of certified transaction(s) in the master ledger that have been certified at least in part via an endorsement protocol. Current state results of the certified transaction(s) are received from the current state server and displayed via a user interface, thereby rendering a world state representation of trust data asset results.

Trust-Based Reputation Scoring System for Verified Influence Networks

NºPublicación:  US20260113196A1 23/04/2026
Solicitante: 
BICKERSTAFF GEORGE WILLIAM [US]
US_20260113196_A1

Resumen de: US20260113196A1

A trust-based reputation scoring system and method are provided for verified influence networks, such as social media platforms or organizational networks. The system integrates a computer-implemented framework that authenticates multi-source data using consensus corroboration and Z-score anomaly detection, calculates adaptive trust scores with exponential averaging and moving-average forecasting, and generates governance outputs via coalition alignment analysis using Balance, Centrality, and Cohesion Indices. Privacy is ensured through SHA-256 hashing and basic differential privacy. An interactive dashboard delivers secure, auditable insights. The architecture employs distributed storage with optional blockchain and federated learning, offering compliance-ready outputs with minimal complexity for applications in social influence or organizational trust.

SYSTEM AND METHOD FOR LIVING INFLUENCE BONDS

NºPublicación:  US20260111959A1 23/04/2026
Solicitante: 
BICKERSTAFF III GEORGE WILLIAM [US]
US_20260111959_A1

Resumen de: US20260111959A1

0000 A computer-implemented system converts verified digital influence data into blockchain tokens containing cryptographic proofs of authenticity. Each trade executes an atomic royalty payment distributing preset percentages to creators, platforms, and verification oracles. Verified datasets pass through a tokenization module and are listed on decentralized exchanges. All transactions and royalty allocations occur within a single blockchain block for transparency and efficiency. Optional embodiments enable vaulting and fractionalization of tokens into compliant investment instruments, connecting creators, advertisers, and investors in one programmable, auditable ecosystem.

SYSTEM AND METHOD OF CHIPPLYA ELECTRONIC WALLET

Nº publicación: US20260111874A1 23/04/2026

Solicitante:

THOMAS PRESKA [US]

US_20260111874_A1

Resumen de: US20260111874A1

A system for managing digital assets held by digital wallets is provided. The system comprises an electronic device and an electronic wallet application stored at least in the device that when executed enables minting of at least one customer logo or facial recognition Non-fungible Token (NFT) as directed by user entries. The system lists the NFT on a DebitMyData platform, receives a message that the NFT has been sold in a transaction, and validates and logs the transaction on a blockchain. The platform integrates facial recognition technology with a blockchain-based NFT advertising model to allow users to place logos on NFTs and videos for sharing on social media and mobile devices. The platform pays users a percentage of advertising dollars spent by corporate sponsors and advertisers who use logos placed on NFTs by the users. The application tokenizes personal data into NFTs which are manageable and tradeable on the blockchain.

traducir