Ministerio de Industria, Turismo y Comercio LogoMinisterior
 

Alerta

Resultados 57 resultados
LastUpdate Última actualización 25/04/2026 [07:27:00]
pdfxls
Solicitudes publicadas en los últimos 30 días / Applications published in the last 30 days
previousPage Resultados 50 a 57 de 57  

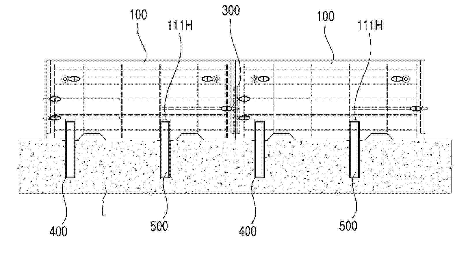
CROSSWALK AND CROSSING PEDESTRIAN PROTECTION SYSTEM LINKED TO TRAFFIC LIGHTS

NºPublicación:  WO2026063634A1 26/03/2026
Solicitante: 
SB SECURITY LTD [KR]
(\uC8FC)\uC5D0\uC2A4\uBE44\uC548\uC804
WO_2026063634_A1

Resumen de: WO2026063634A1

The present invention relates to a crosswalk pedestrian protection system linked to traffic lights. The crosswalk pedestrian protection system linked to traffic lights, according to one aspect of the present invention, comprises: a camera unit provided to photograph a crosswalk and a pedestrian path or road adjacent to the crosswalk so as to acquire a crosswalk image by photographing the crosswalk and the pedestrian path or road; a control server which receives, from a plurality of traffic lights or a plurality of traffic light controllers, traffic light control signals for causing the traffic lights to display a blinking indication according to traffic signals including a red light, a yellow light, a green light, a U-turn signal, a left-turn signal, and a right-turn signal, and which generates and outputs a control signal for controlling road signs according to the traffic light control signals; and the road signs which are provided along the crosswalk and the pedestrian path or road adjacent to the crosswalk and blink according to the control signal output from the control server.

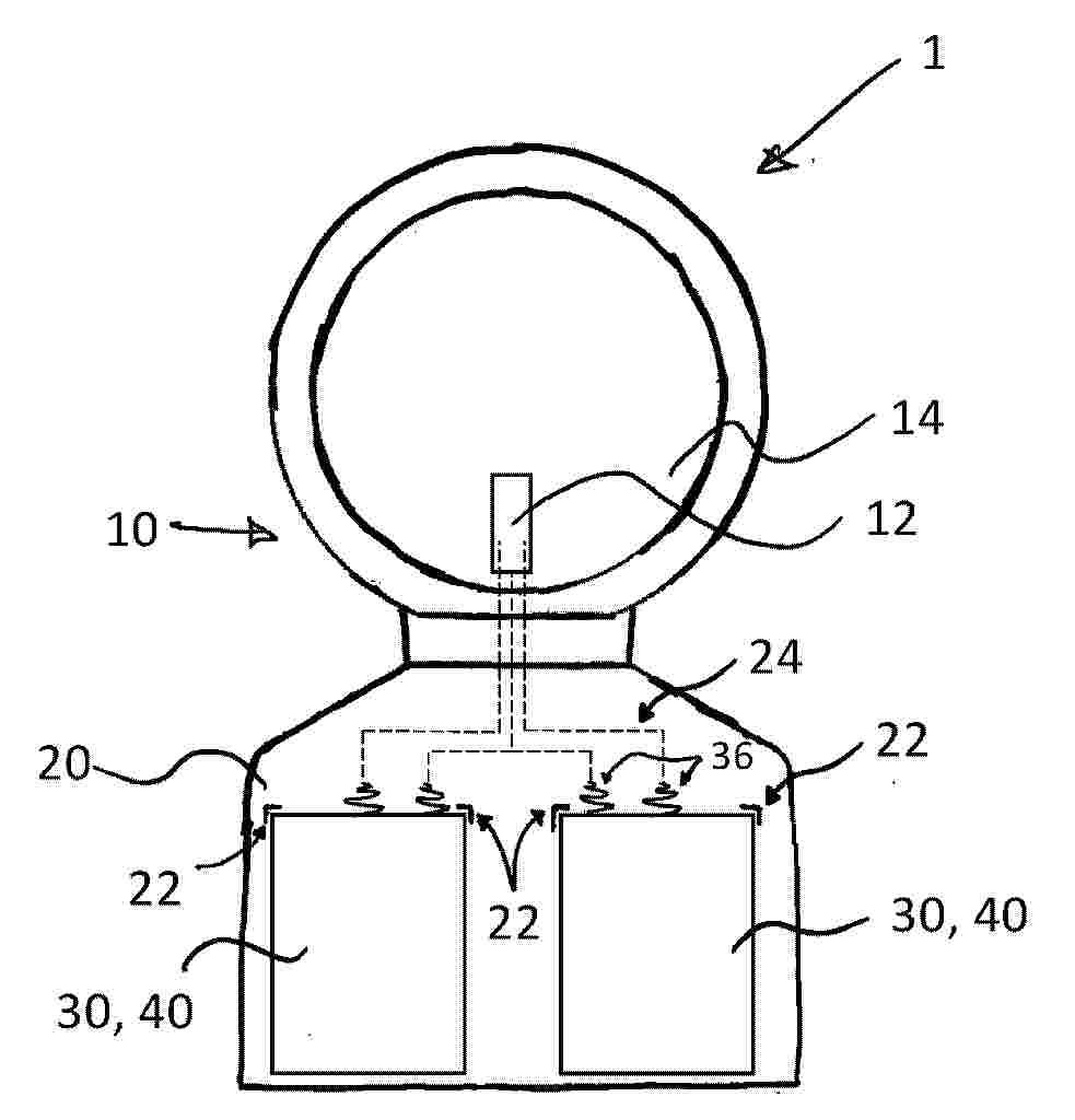
SUSTAINABLE CRASH CUSHIONS

NºPublicación:  WO2026064430A1 26/03/2026
Solicitante: 
PRETRED INC [US]
PRETRED, INC
WO_2026064430_A1

Resumen de: WO2026064430A1

A crash cushion is provided. The crash cushion includes a rigid structure and a pod. The pod is positioned within the rigid structure. The pod includes a waste material and a binder. The binder is mixed with the waste material and configured to bind the waste material to form the pod.

SYSTEM AND METHOD FOR AUTOMATICALLY TRANSMITTING ALERT MESSAGES BASED ON TIME AND LOCATION MONITORING IN VEHICLE JOURNEY SUPERVISION

NºPublicación:  WO2026064569A1 26/03/2026
Solicitante: 
SAUDI ARABIAN OIL COMPANY [SA]
ARAMCO SERVICES COMPANY [US]
SAUDI ARABIAN OIL COMPANY,
ARAMCO SERVICES COMPANY
WO_2026064569_A1

Resumen de: WO2026064569A1

System and method adapted to: obtain a plurality of parameters for a planned journey of a vehicle associated with a computing device; determine, based on the plurality of parameters, whether the planned journey includes at least one special condition; when the planned journey includes at least one special condition, activating journey monitoring; the journey monitoring including: obtaining a location of the vehicle; comparing the obtained location to an expected location; when the obtained location exceeds a predetermined distance from the expected location, determining, in an iterative or recursive manner, whether an updated arrival time has been received from the computing device or the vehicle, when the updated arrival time has not been received after a predetermined time period, transmitting an alert to another computing device associated with an operator; and transmitting a request for emergency services when an iteration count for the determining is exceeded.

VEHICLE BEHAVIOR REPRODUCTION DEVICE AND VEHICLE BEHAVIOR REPRODUCTION METHOD

NºPublicación:  WO2026062852A1 26/03/2026
Solicitante: 
NISSAN MOTOR CO LTD [JP]
\u65E5\u7523\u81EA\u52D5\u8ECA\u682A\u5F0F\u4F1A\u793E
WO_2026062852_A1

Resumen de: WO2026062852A1

A vehicle behavior reproduction device (10) causes a model (20) to execute an action corresponding to a behavior of a vehicle (40) on the basis of acquired behavior information of the vehicle (40). A control unit (16) of the vehicle behavior reproduction device (10) includes a start notification unit (163) and a stop notification unit (164). If the acquired behavior information indicates that a drive unit (46) of the vehicle (40) has started, the start notification unit (163) executes a start notification process to notify of the starting. If the acquired behavior information indicates that the drive unit (46) of the vehicle (40) has stopped, the stop notification unit (164) executes a stop notification process to notify of the stopping.

COMMUNICATION SYSTEM, COMMUNICATION METHOD, ROADSIDE DEVICE, AND ON-BOARD EQUIPMENT

NºPublicación:  WO2026062823A1 26/03/2026
Solicitante: 
MITSUBISHI HEAVY IND MACHINERY SYSTEMS LTD [JP]
\u4E09\u83F1\u91CD\u5DE5\u6A5F\u68B0\u30B7\u30B9\u30C6\u30E0\u682A\u5F0F\u4F1A\u793E
WO_2026062823_A1

Resumen de: WO2026062823A1

This communication system comprises: a roadside device that transmits a response request signal and receives a response signal; and on-board equipment that transmits the response signal in response to the response request signal received from the roadside device. The roadside device transmits, as the response request signal, a first response request signal including information defining a plurality of regions set in the communication area, an existing vehicle list recording, as existing vehicles for each region, vehicles identified in terms of located region from the received response signal, information indicating a communicable time for each region of the existing vehicles, and information indicating a communicable time for each region of newly entered vehicles newly entering the communication area. The on-board equipment, if a host vehicle is included in the existing vehicle list, transmits the response signal within the communicable time of the existing vehicles allocated to the region in which the host vehicle is located and, if the host vehicle is not included in the existing vehicle list, transmits the response signal within the communicable time of the newly entered vehicles allocated to the region in which the host vehicle is located.

TRAVEL DATA PROCESSING SYSTEM, DRIVING DIAGNOSIS SYSTEM, AND DATA STRUCTURE

NºPublicación:  WO2026063140A1 26/03/2026
Solicitante: 
SUMITOMO ELECTRIC IND LTD [JP]
\u4F4F\u53CB\u96FB\u6C17\u5DE5\u696D\u682A\u5F0F\u4F1A\u793E
WO_2026063140_A1

Resumen de: WO2026063140A1

This travel data processing system comprises: a travel data acquisition unit that acquires travel data about a travel state of a vehicle traveling on a travel route including a plurality of road links; a detection unit that detects an event related to the vehicle, for each of the road links, on the basis of the travel data; a creation unit that creates event data indicating the detection result of the event for each of the road links; and a travel result acquisition unit that acquires travel result data indicating the travel result of the vehicle on the travel route. The creation unit associates the travel result data with the event data.

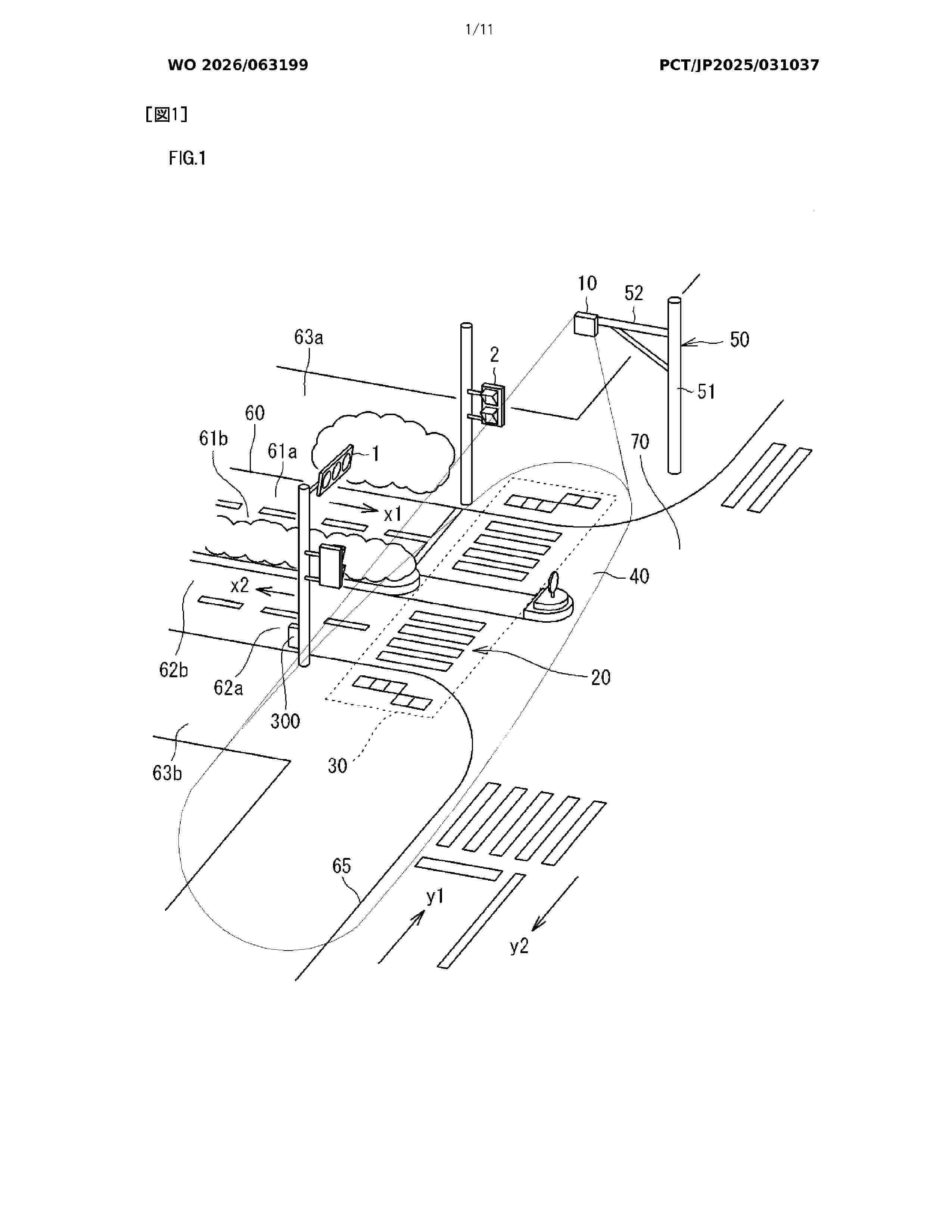
RADIO WAVE SENSOR, MANAGEMENT TERMINAL, SENSING METHOD, AND COMPUTER PROGRAM

Nº publicación: WO2026063199A1 26/03/2026

Solicitante:

SUMITOMO ELECTRIC IND LTD [JP]
\u4F4F\u53CB\u96FB\u6C17\u5DE5\u696D\u682A\u5F0F\u4F1A\u793E

WO_2026063199_A1

Resumen de: WO2026063199A1

The radio wave sensor of the present disclosure performs sensing using radio waves. This radio wave sensor is provided with: a transmission/reception unit that transmits radio waves and receives radio waves; and a processor that, on the basis of the transmitted radio waves and the received radio waves, generates sensing results that include the position and the velocity of a target and outputs communication frames that include a storage field for the sensing results. The storage field includes a field that stores reliability data indicating the probability of the target being a pedestrian crossing a crosswalk.

traducir