Ministerio de Industria, Turismo y Comercio LogoMinisterior
 

Alerta

Resultados 54 resultados
LastUpdate Última actualización 24/12/2025 [07:09:00]
pdfxls
Solicitudes publicadas en los últimos 30 días / Applications published in the last 30 days
previousPage Resultados 25 a 50 de 54 nextPage  

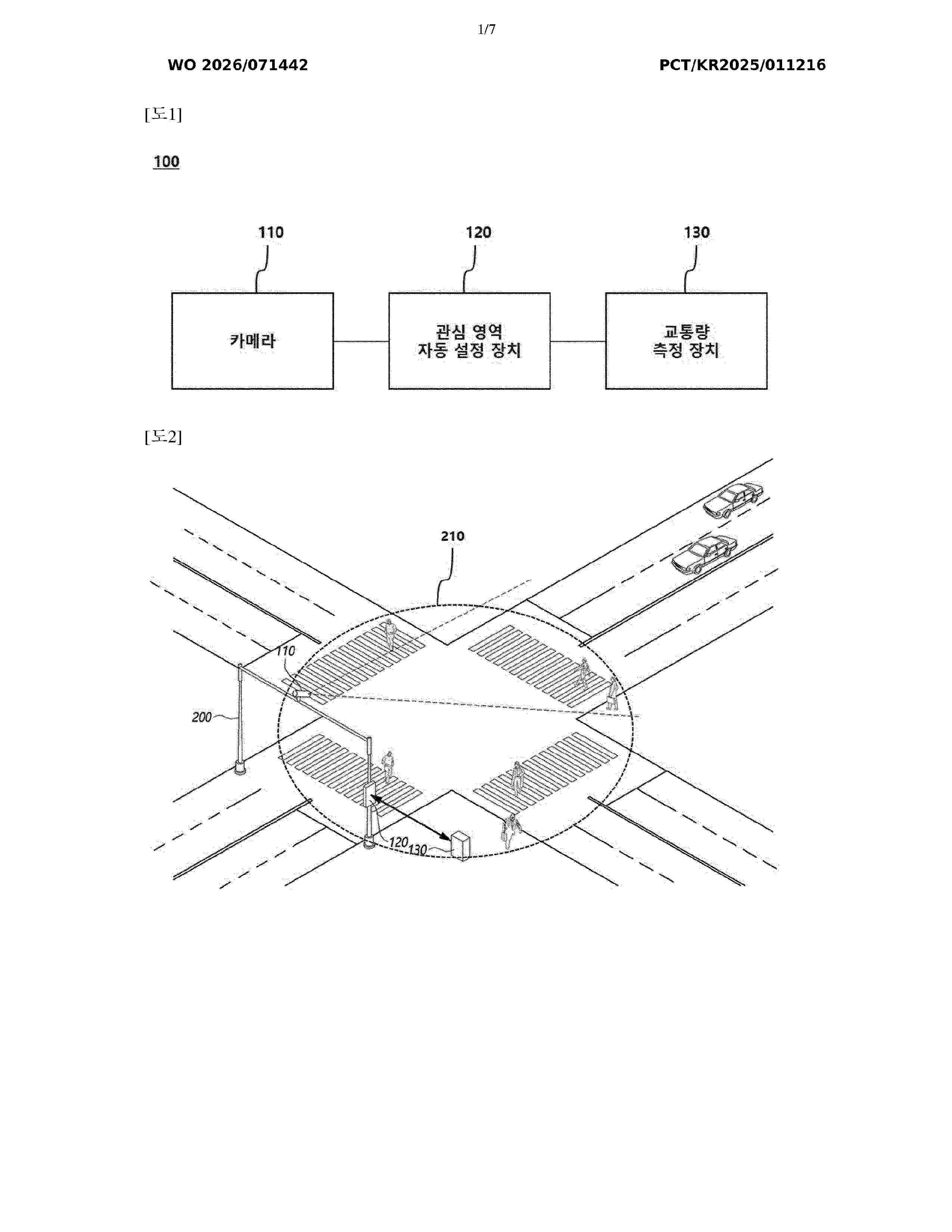
IMAGE ACQUISITION SYSTEM FOR A ROAD CONTROL AUTOMAT

NºPublicación:  EP4660965A1 10/12/2025
Solicitante: 
IDEMIA ROAD SAFETY FRANCE [FR]
IDEMIA Road Safety France
EP_4660965_PA

Resumen de: EP4660965A1

Système (2000) d'acquisition d'images pour automate (1001) de contrôle routier configuré pour :(a) mesurer (3001) la trajectoire (TRJ), la position (POS) et la vitesse (VIT) d'au moins un véhicule (1003) à l'aide d'un dispositif (2003) de pistage de véhicules routiers ;(b) illuminer (3002) le véhicule (1003) à l'aide d'un dispositif (2001) d'illumination infrarouge ;(c) acquérir (3003), à l'aide d'une caméra (2002) sensible aux rayonnements infrarouges, au moins une image infrarouge (IM-IR) du véhicule (1003) illuminé par le dispositif (2001) d'illumination infrarouge ;(d) traiter (3004) l'image infrarouge (IM-IR) dudit véhicule (1003) à l'aide d'un dispositif (2006) de traitement de données ;lorsque la vitesse (VIT) du véhicule, la position (POS) du véhicule, la catégorie (CAT) du véhicule, et/ou un comportement (COMP) du conducteur satisfait à au moins un critère (CR-INF) d'infraction :(e) illuminer (3005) le véhicule à l'aide d'un dispositif d'éclairage en lumière visible ;(f) acquérir (3006) une image en couleur (IM-VIS) du véhicule (1003) illuminé à l'aide d'un dispositif photographique (2005) en couleurs

NOVEL STK2025 COMPOSITIONS

NºPublicación:  WO2025247467A1 04/12/2025
Solicitante: 
IND ST INNOVA S A [EC]
INDUSTRIA ST-INNOVA S.A
WO_2025247467_A1

Resumen de: WO2025247467A1

The main objective of the present invention is to protect novel granular thermoplastic compositions for road signalling that comply with all the aforementioned requirements. The thermoplastic compositions for road signalling are stable, visible, durable, reflective in dry, wet and continuous rain conditions, resistant to wear from vehicle tyres and stable in very cold (-9°C) or very hot (60°C) weather. These temperatures can vary on the same day. These compositions can also be used for flat and convex lines.

TRAVELING STATE DETECTION METHOD AND APPARATUS, AND DEVICE

NºPublicación:  WO2025246473A1 04/12/2025
Solicitante: 
BEIJING AUTONAVI YUNMAP TECH CO LTD [CN]
\u5317\u4EAC\u9AD8\u5FB7\u4E91\u56FE\u79D1\u6280\u6709\u9650\u516C\u53F8
WO_2025246473_PA

Resumen de: WO2025246473A1

A traveling state detection method and apparatus, and a device. The method comprises: acquiring real-time position information of a mobile device in a vehicle; performing map matching on the basis of the real-time position information of the mobile device, and when it is determined that the vehicle is located in a target geographic area, acquiring geomagnetic intensity values on the basis of measurement data, which is output by a magnetometer mounted on the mobile device; determining a geomagnetic intensity change value on the basis of the geomagnetic intensity values; and if the geomagnetic intensity change value is less than a preset value, determining that the traveling state of the vehicle in the target geographic area is a parked state. By means of the method, whether the traveling state of a vehicle in a target geographic area is a parked state can be accurately detected.

METHOD FOR CONDUCTING AN EMERGENCY COMMUNICATION INVOLVING BOTH AN IN-VEHICLE SYSTEM OF A VEHICLE AND AT LEAST ONE USER EQUIPMENT ASSOCIATED WITH THE IN-VEHICLE SYSTEM, IN-VEHICLE SYSTEM, USER EQUIPMENT, SYSTEM COMPRISING AN IN-VEHICLE SYSTEM AND AT LEAST ONE USER EQUIPMENT, PROGRAM AND COMPUTER PROGRAM PRODUCT

NºPublicación:  WO2025247678A1 04/12/2025
Solicitante: 
DEUTSCHE TELEKOM AG [DE]
DEUTSCHE TELEKOM AG
WO_2025247678_PA

Resumen de: WO2025247678A1

The present invention relates to a method for conducting an emergency communication involving both an in-vehicle system of a vehicle and at least one user equipment associated with the in-vehicle system, wherein the in-vehicle system and the user equipment are involved for conducting the emergency communication as a first and a second device, respectively, wherein the first device has or is assigned to at least one piece of identifier information, wherein the first and second device are configured to be paired with one another and/or the first device to be registered with the second device in a manner such that the at least one piece of identifier information is transmitted to or, at least, stored in the second device, wherein, in order to conduct the emergency communication involving both the first and the second device, the method comprises the following steps: -- in a first step, the first device is paired with and/or registered to the second device resulting in storing the at least one piece of identifier information in the second device, -- in a second step, subsequent to the first step, and in case of a situation resulting in the second device being triggered to perform an emergency communication to either a public safety answering point or to a private safety answering point, the at least one identifier information of or associated or assigned to the first device is transmitted, by the second device and as part of the emergency communication, to the public safety answe

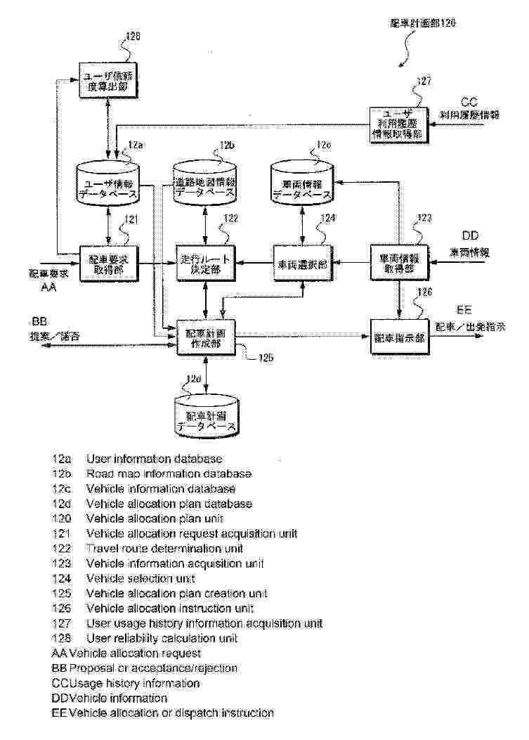
VEHICLE ALLOCATION MANAGEMENT DEVICE AND VEHICLE ALLOCATION MANAGEMENT METHOD

NºPublicación:  WO2025248767A1 04/12/2025
Solicitante: 
NISSAN MOTOR CO LTD [JP]
\u65E5\u7523\u81EA\u52D5\u8ECA\u682A\u5F0F\u4F1A\u793E
WO_2025248767_PA

Resumen de: WO2025248767A1

The present invention provides a vehicle allocation management device that manages vehicle allocation in response to a vehicle allocation request from a user. The device comprises: a user information database for managing user information including user usage history information relating to a usage history for the user with respect to the vehicle allocation; a vehicle allocation plan creation unit for creating a vehicle allocation plan pertaining to a vehicle selected on the basis of the vehicle allocation request; a vehicle allocation instruction unit for issuing a vehicle allocation instruction to the vehicle on the basis of the vehicle allocation plan; and a user reliability calculation unit for calculating a user reliability on the basis of the user usage history information. The vehicle allocation plan creation unit creates the vehicle allocation plan in accordance with the user reliability of the user who made the vehicle allocation request.

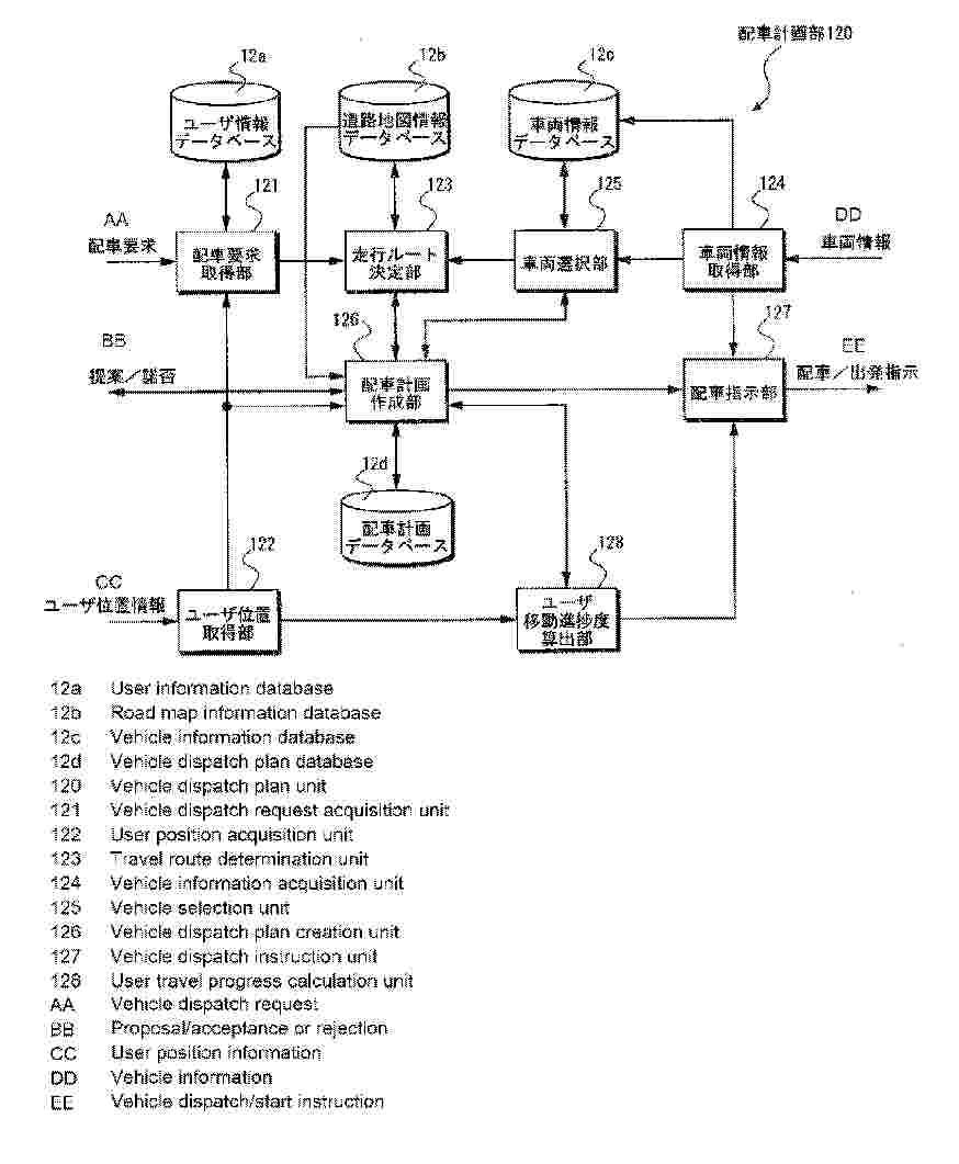
VEHICLE DISPATCH MANAGEMENT DEVICE AND VEHICLE DISPATCH MANAGEMENT METHOD

NºPublicación:  WO2025248766A1 04/12/2025
Solicitante: 
NISSAN MOTOR CO LTD [JP]
\u65E5\u7523\u81EA\u52D5\u8ECA\u682A\u5F0F\u4F1A\u793E
WO_2025248766_PA

Resumen de: WO2025248766A1

The present invention provides a vehicle dispatch management device that performs vehicle dispatch in response to a user's vehicle dispatch request. The device comprises: a vehicle dispatch plan creation unit that creates a vehicle dispatch plan of a vehicle selected on the basis of a vehicle dispatch request; a vehicle dispatch instruction unit that issues a vehicle dispatch instruction to the vehicle on the basis of the vehicle dispatch plan; a user position acquisition unit that acquires a user position related to the user; and a user travel progress calculation unit that calculates, on the basis of the user position and a stop where the user takes a ride indicated by the vehicle dispatch request, a user travel progress related to the travel of the user to the stop. The vehicle dispatch plan creation unit determines at least one intermediate point at which the vehicle can stand by between a departure point of the vehicle and the stop, and creates the vehicle dispatch plan of the vehicle so that the vehicle stands by at the intermediate point. The vehicle dispatch instruction unit instructs the vehicle, which is temporarily standing by at the intermediate point, to start in accordance with the user travel progress.

VEHICLE DISPATCH MANAGEMENT DEVICE AND VEHICLE DISPATCH MANAGEMENT METHOD

NºPublicación:  WO2025248765A1 04/12/2025
Solicitante: 
NISSAN MOTOR CO LTD [JP]
\u65E5\u7523\u81EA\u52D5\u8ECA\u682A\u5F0F\u4F1A\u793E
WO_2025248765_PA

Resumen de: WO2025248765A1

The present invention is a vehicle dispatch management device that performs dispatch of a vehicle in response to a vehicle dispatch request from a user. The device comprises: a vehicle dispatch result information database which stores vehicle dispatch result information regarding the vehicle; a demand prediction unit which predicts, on the basis of the vehicle dispatch result information, a demand for the vehicle based on the vehicle dispatch request in a prescribed period of time for each area including a route point at which the vehicle can wait temporarily; a vehicle dispatch plan creation unit which creates a vehicle dispatch plan of the vehicle on the basis of the vehicle dispatch request from the user; and a vehicle dispatch instruction unit which gives a vehicle dispatch instruction to the vehicle on the basis of the vehicle dispatch plan. The vehicle dispatch plan creation unit determines at least one route point between a departing point of the vehicle and a stopping point at which the user boards the vehicle, and creates, on the basis of the predicted demand, the vehicle dispatch plan so that the vehicle waits temporality at the determined route point.

INFORMATION PROCESSING METHOD, INFORMATION PROCESSING DEVICE, AND PROGRAM

NºPublicación:  WO2025248882A1 04/12/2025
Solicitante: 
PANASONIC INTELLECTUAL PROPERTY MAN CO LTD [JP]
\u30D1\u30CA\u30BD\u30CB\u30C3\u30AF\uFF29\uFF30\u30DE\u30CD\u30B8\u30E1\u30F3\u30C8\u682A\u5F0F\u4F1A\u793E
WO_2025248882_PA

Resumen de: WO2025248882A1

An information processing method according to the present disclosure is executed by an information processing system that manages the operation of at least one autonomous vehicle that travels in a specific area in which at least one target object is present. In this information processing method, operation information pertaining to autonomous vehicles in a specific area is acquired, a reference distance that changes on the basis of the operation information is defined for each of the autonomous vehicles, position information of a traveling autonomous vehicle is acquired, and, when the distance between the autonomous vehicle and a target object is equal to or less than the reference distance, the autonomous vehicle and the target object are coordinated.

ROAD DETERIORATION DETERMINATION SYSTEM AND ROAD DETERIORATION DETERMINATION METHOD

NºPublicación:  WO2025248575A1 04/12/2025
Solicitante: 
MITSUBISHI ELECTRIC CORP [JP]
\u4E09\u83F1\u96FB\u6A5F\u682A\u5F0F\u4F1A\u793E
WO_2025248575_PA

Resumen de: WO2025248575A1

In a road deterioration determination system according to the present invention, a position information acquisition unit (1) acquires position information about a vehicle (100). A video acquisition unit (2) acquires road surface video, which is video taken of the road surface around the vehicle (100). A water immersion detection unit (3) detects partially water-immersed road surfaces from the road surface video. A road surface deterioration determination unit (4) determines a deterioration level of the road surface on the basis of the shape and the degree of water immersion of the water-immersed portions of the road surface, and also identifies a road surface deterioration point, which is a point where the road surface has deteriorated, on the basis of the position information about the vehicle (100) when the road surface video of the road surface with detected deterioration was taken. A road surface deterioration information storage unit (8) stores road surface deterioration information including the road surface deterioration point and information about the deterioration level.

MOBILE BODY AND METHOD FOR CONTROLLING MOBILE BODY

NºPublicación:  WO2025248757A1 04/12/2025
Solicitante: 
MITSUBISHI ELECTRIC CORP [JP]
\u4E09\u83F1\u96FB\u6A5F\u682A\u5F0F\u4F1A\u793E
WO_2025248757_PA

Resumen de: WO2025248757A1

In the present invention, even if a group of mobile bodies are divided by a disturbance, the group is suitably re-formed. This mobile body is one of a plurality of mobile bodies that form a group, the mobile body comprising: a sensor that detects, as detection information, information pertaining to at least one of the interior of the mobile body and the exterior of the mobile body; a communicator that transmits and receives physical information including relative information between the plurality of mobile bodies; a trajectory generator that sequentially generates trajectory commands indicating the trajectory of the mobile body on the basis of the detection information, the physical information, and map information; and a controller that controls the operation of the mobile body on the basis of the trajectory command.

INFORMATION PROCESSING METHOD, INFORMATION PROCESSING DEVICE, AND PROGRAM

NºPublicación:  WO2025249011A1 04/12/2025
Solicitante: 
SONY GROUP CORP [JP]
\u30BD\u30CB\u30FC\u30B0\u30EB\u30FC\u30D7\u682A\u5F0F\u4F1A\u793E
WO_2025249011_PA

Resumen de: WO2025249011A1

Problem To automatically recognize connections between lanes. Solution An information processing method executed by a computer, the method including generating, on the basis of learning that uses a dataset including sensing data, which is data sensed by a vehicle, and a first topology map, which is of lanes corresponding to the position where the sensing data is acquired, a recognizer that outputs a second topology map to be used as a travel trajectory of the traveling vehicle.

SYSTEMS AND METHODS FOR AIR QUALITY IMPACT MONITORING IN TRAFFIC MONITORING SYSTEMS

NºPublicación:  WO2025250764A1 04/12/2025
Solicitante: 
REKOR SYSTEMS INC [US]
REKOR SYSTEMS, INC
WO_2025250764_PA

Resumen de: WO2025250764A1

A traffic monitoring system includes one or more traffic sensors configured to: capture images of vehicles on a road segment, generate traffic related data from the captured images, and transmit the traffic related data to a server. The server is configured to: receive the traffic related data from the one or more traffic sensors, analyze the traffic related data so as to generate an air quality index impact metric quantifying a change to an air quality index as indicated by the traffic related data.

METHOD AND APPARATUS FOR DISPLAYING EGO VEHICLE, MEDIUM, AND ELECTRONIC DEVICE

NºPublicación:  EP4657405A2 03/12/2025
Solicitante: 
BEIJING HORIZON INFORMATION TECH CO LTD [CN]
Beijing Horizon Information Technology Co., Ltd
EP_4657405_PA

Resumen de: EP4657405A2

Disclosed are a method and apparatus for displaying ego vehicle, a medium, and an electronic device. The method includes: determining respective target collision points of ego vehicle and a target obstacle; determining a target observation point based on the respective target collision points; determining a target observation angle of view based on the target observation point; and displaying, based on the target observation angle of view, a three-dimensional image containing the ego vehicle and the target obstacle. With the solution, as it is enabled to determine in real time a best observation angle of view for observing the ego vehicle and a closest obstacle, a real-time case between the ego vehicle and the target obstacle is observed through the best observation angle of view with a greater range of angles of view, and thereby the three-dimensional image of the ego vehicle and the closest obstacle displayed based on the best observation angle of view is enabled to show information on a distance between the ego vehicle and the closest obstacle more intuitively and accurately, to facilitate a reminder enabling the driver to adjust the vehicle in time to avoid a risk of collision of the vehicle due to a blind spot problem, and then improving vehicle driving safety.

METHOD AND APPARATUS FOR TRANSFERRING MESSAGES TO VEHICLES USING MESSAGE QUEUES

NºPublicación:  EP4657834A1 03/12/2025
Solicitante: 
NOKIA SOLUTIONS & NETWORKS OY [FI]
Nokia Solutions and Networks Oy
EP_4657834_PA

Resumen de: EP4657834A1

An apparatus comprises means for: storing a plurality of message queues associated with respective priorities in a scale of priorities assigned locally by the apparatus; receiving a message to be transmitted to one or more destination vehicles in a vehicle formation; determining, from the scale of priorities, a priority for the received message by applying a priority assignment algorithm based at least on vehicle formation information related to the vehicle formation; storing the received message in the message queue corresponding to the priority determined for the received message; controlling extraction of messages from the plurality of message queues for transmission to one or more vehicles in the vehicle formation according to an extraction order based at least on the respective priorities of the plurality of message queues.

MEASURE EXECUTION PROGRAM, MEASURE EXECUTION METHOD, AND INFORMATION PROCESSING DEVICE

NºPublicación:  EP4657900A1 03/12/2025
Solicitante: 
FUJITSU LTD [JP]
FUJITSU LIMITED
EP_4657900_PA

Resumen de: EP4657900A1

An information processing device (10) generates a digital twin that reproduces the real world in a virtual space and acquires information regarding a person present in a predetermined area of the real world. The information processing device (10) performs a simulation of the movement of the person in the generated digital twin using the acquired information regarding the person. The information processing device (10) generates information indicating a result of verification of a measure to be applied to the predetermined area based on the result of the performed simulation, and outputs the generated information indicating the verification result to a display screen.

METHOD FOR CONDUCTING AN EMERGENCY COMMUNICATION INVOLVING BOTH AN IN-VEHICLE SYSTEM OF A VEHICLE AND AT LEAST ONE USER EQUIPMENT ASSOCIATED WITH THE IN-VEHICLE SYSTEM, IN-VEHICLE SYSTEM, USER EQUIPMENT, SYSTEM COMPRISING AN IN-VEHICLE SYSTEM AND AT LEAST ONE USER EQUIPMENT, PROGRAM AND COMPUTER PROGRAM PRODUCT

NºPublicación:  EP4657903A1 03/12/2025
Solicitante: 
DEUTSCHE TELEKOM AG [DE]
Deutsche Telekom AG
EP_4657903_PA

Resumen de: EP4657903A1

The present invention relates to a method for conducting an emergency communication involving both an in-vehicle system of a vehicle and at least one user equipment associated with the in-vehicle system, wherein the in-vehicle system and the user equipment are involved for conducting the emergency communication as a first and a second device, respectively, wherein the first device has or is assigned to at least one piece of identifier information,wherein the first and second device are configured to be paired with one another and/or the first device to be registered with the second device in a manner such that the at least one piece of identifier information is transmitted to or, at least, stored in the second device,wherein, in order to conduct the emergency communication involving both the first and the second device, the method comprises the following steps:-- in a first step, the first device is paired with and/or registered to the second device resulting in storing the at least one piece of identifier information in the second device,-- in a second step, subsequent to the first step, and in case of a situation resulting in the second device being triggered to perform an emergency communication to either a public safety answering point or to a private safety answering point, the at least one identifier information of or associated or assigned to the first device is transmitted, by the second device and as part of the emergency communication, to the public safety answering

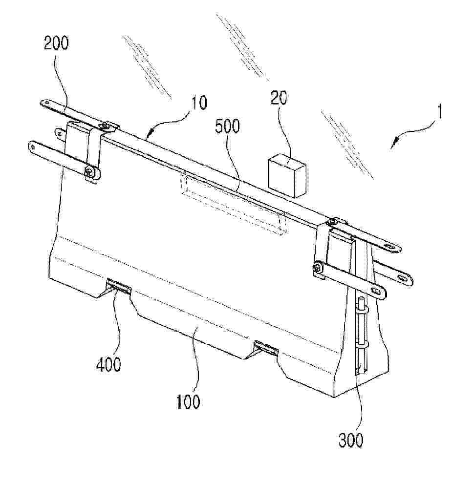
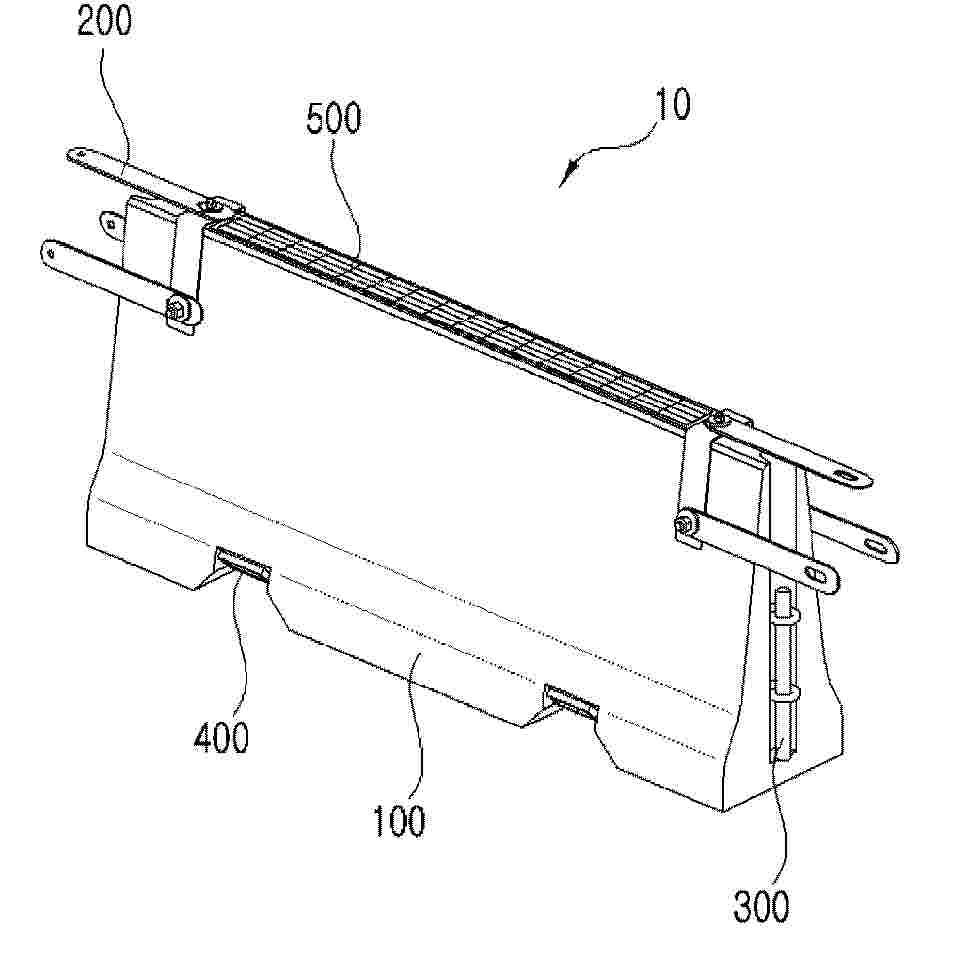
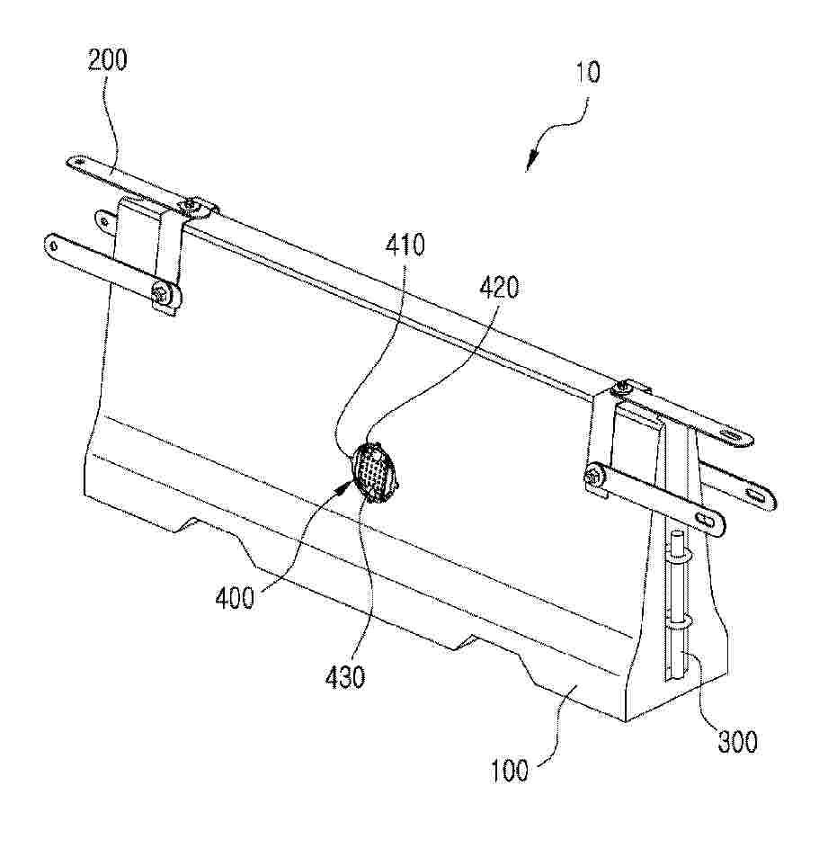
BALIZA Y EQUIPAMIENTO DISUASORIO DE FAUNA

NºPublicación:  ES3046553A1 02/12/2025
Solicitante: 
VISEVER S L [ES]
VISEVER, S.L

A METHOD FOR EVALUATING OCCLUDED AREAS FROM A VEHICLE, VEHICLE, AND VEHICLE CONTROL UNIT

NºPublicación:  WO2025244562A1 27/11/2025
Solicitante: 
SCANIA CV AB [SE]
SCANIA CV AB
WO_2025244562_PA

Resumen de: WO2025244562A1

A method for evaluating occluded areas from a vehicle having a first sensor. The method includes receiving a message from the remote sensor unit being configured to detect objects and free space regions within a detection region, wherein the message relates to a free space region within the detection region occluded from the first sensor, obtaining a time delay between a first time when the remote sensor unit generates the message and a second time when a vehicle control unit of the vehicle processes the message, obtaining parameter information relating to the detection region, and obtaining an updated free space region within the detection region based on the obtained time delay and the parameter information of the detection region.

BUFFERING COMPRESSION-RESISTANT PROTRUDING REFLECTIVE ROAD STUD

NºPublicación:  WO2025241653A1 27/11/2025
Solicitante: 
LONGLOW TRAFFIC SAFETY DEVICE CO LTD [CN]
\u6D59\u6C5F\u957F\u8F89\u4EA4\u901A\u5B89\u5168\u79D1\u6280\u6709\u9650\u516C\u53F8
WO_2025241653_PA

Resumen de: WO2025241653A1

A buffering compression-resistant protruding reflective road stud. The main body structure of a road stud base body is similar to a frustum structure having a large bottom part and a small top part. The front side part and/or the rear side part of the main body structure of the road stud base body is provided with a plurality of laterally outward-opening accommodating cavities having cylindrical main bodies. Retroreflective bodies are each a retroreflective body which has a cylindrical main body and a bottom coated with a reflective coating layer and satisfies a retroreflection condition, are implanted into the accommodating cavities, and are structurally fixed by means of adhesive layers. The position of the road stud base body beneath the accommodating cavities is provided with an outward-extending base plate extending outwards. Between the outward-extending base plate and left and right side parts of the main body structure of the road stud base body, ramp bodies I are provided which start from the outward-extending base plate and have lower outsides and higher insides. The positions of the outward-extending base plate between adjacent accommodating cavities are provided with ramp bodies II which start from the outward-extending base plate and have lower outsides and higher insides. Lengths, widths and heights can be matched and combined, so as to have a gentle ramp transition effect and disperse an impact force from vehicle tires to withstand vehicle rolling, reducing jol

CONTROL SYSTEM

NºPublicación:  WO2025243857A1 27/11/2025
Solicitante: 
ASTEMO LTD [JP]
\uFF21\uFF53\uFF54\uFF45\uFF4D\uFF4F\u682A\u5F0F\u4F1A\u793E
WO_2025243857_PA

Resumen de: WO2025243857A1

The purpose of the present invention is to suppress a drop in productivity of an entire automatic driving system introduced in an area where automatic driving vehicles and workers coexist, and to ensure the safety of the workers. A control system according to the present invention comprises: a vehicle section setting unit that sets a vehicle blocked section indicating a section that has been set exclusively for a vehicle; a worker section setting unit that sets a first blocked section into which a worker can enter and a second blocked section that includes the first blocked section and into which the vehicle cannot enter; a buffer necessity determination unit that determines whether a buffer section must be set around the first blocked section; a vehicle communication unit that transmits, to the vehicle, a travel instruction within the vehicle blocked section; and a worker communication unit that transmits an instruction to allow the worker to work or move within the first blocked section. The vehicle section setting unit sets the vehicle blocked section while avoiding the second blocked section.

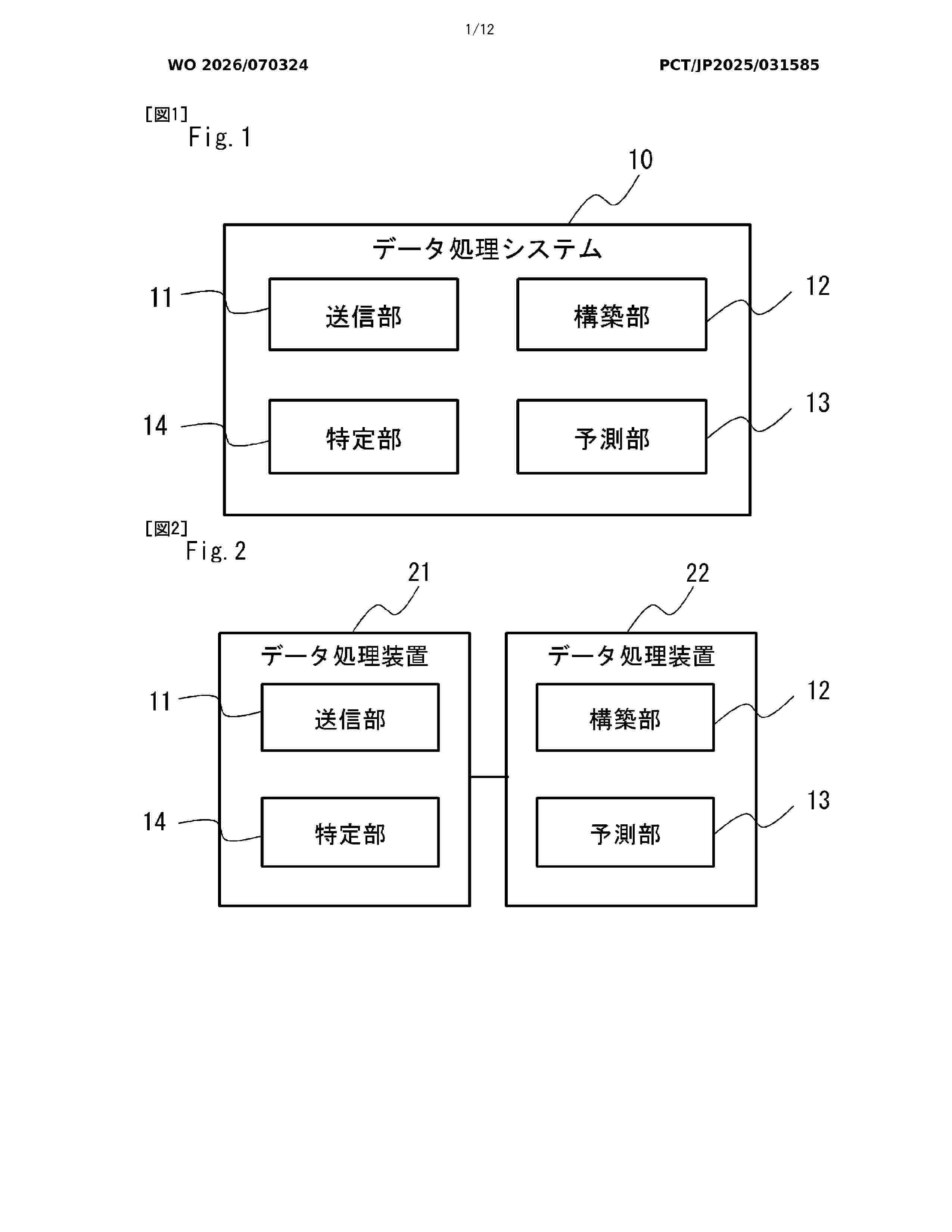
DATA PROCESSING DEVICE, DATA PROCESSING METHOD, AND PROGRAM

NºPublicación:  WO2025243821A1 27/11/2025
Solicitante: 
NEC CORP [JP]
\u65E5\u672C\u96FB\u6C17\u682A\u5F0F\u4F1A\u793E
WO_2025243821_PA

Resumen de: WO2025243821A1

The present invention performs more accurate agent simulation. A data processing device according to the present invention comprises: a first data acquiring means for acquiring three-dimensional data of a city; a second data acquiring means for acquiring route data including at least road data; an area information calculating means for calculating movement possible/not-possible area information indicating areas in which it is possible for an agent to move and areas in which it is not possible for the agent to move, on the basis of the three-dimensional data acquired by the first data acquisition means; a consistency evaluating means for evaluating consistency between the movement possible/not-possible area information calculated by the area information calculating means and the route data acquired by the second data acquiring means; and a correcting means for correcting the movement possible/not-possible area information by comparison with the route data on the basis of the evaluation results obtained by the consistency evaluating means.

OSC MODULAR MOVABLE RIGID PROTECTIVE BARRIER INTEGRATED WITH SAFETY GUIDANCE SYSTEM

NºPublicación:  WO2025244447A1 27/11/2025
Solicitante: 
GLOBALSTEC CORP [KR]
(\uC8FC)\uAE00\uB85C\uBC8C\uC5D0\uC2A4\uD14D
WO_2025244447_PA

Resumen de: WO2025244447A1

The present invention relates to an OSC modular movable rigid protective barrier integrated with a safety guidance system, comprising: a plurality of protective blocks of which at least two are arranged in the forward-backward longitudinal direction; and a light-emitting module provided at one side of the protective block so as to output and provide a light source when operated, wherein the protective block includes: a protective block body provided in a tapered shape in which the horizontal width thereof narrows toward the upper side; and a reinforcing structure which is buried in the protective block body, and which includes a plurality of first reinforcing parts provided as an "inverted-U" structure using a reinforcing bar and disposed to be spaced apart from each other in the forward-backward direction, and second reinforcing parts provided as a "straight-line" structure using a reinforcing bar and spaced from each other in the vertical direction and orthogonally connected to both the left and right sides of the plurality of first reinforcing parts so as to form a latticed reinforcing structure on both the left and right sides inside the protective block body, and the light-emitting module includes: a module body part provided at one side of at least one of both the left and right surfaces of the protective block body in the width direction; a light-emitting part provided in the module body part so as to output a light source; and an independent power generation part whic

OSC MODULAR RIGID PROTECTIVE FENCE WITH SELF-POWER GENERATION AND LIGHT-EMITTING FUNCTIONS INSTALLED ON ROAD

NºPublicación:  WO2025244446A1 27/11/2025
Solicitante: 
GLOBALSTEC CORP [KR]
(\uC8FC)\uAE00\uB85C\uBC8C\uC5D0\uC2A4\uD14D
WO_2025244446_PA

Resumen de: WO2025244446A1

The present invention relates to an OSC modular rigid protective fence with self-power generation and light-emitting functions installed on roads, the OSC modular rigid protective fence comprising: multiple protective blocks, at least two of which are arranged along the forward/backward longitudinal direction; light-emitting modules installed at the lower end of at least one of both leftward/rightward transverse side surfaces of the protections block to output/provide light sources during operation; and solar power generation modules installed on the upper part of the protective blocks to generate power by performing self-power generation through sunlight, and supply the generated power to the light-emitting modules as operating power for operation. Each protective block comprises: a protective block body configured in a tapered shape such that the leftward/rightward width thereof decreases toward the upper side; and a reinforcement structure comprising multiple first reinforcement parts embedded inside the protective block body, provided in a "┌┐" structure using rebars, and arranged to be spaced apart from each other along the forward/backward direction, and second reinforcement parts provided in a "-" structure using rebars and orthogonally connected to both left and right sides of the first reinforcement parts along the upward/downward directions, thereby forming a lattice-shaped reinforcement structure inside both left and right sides of the protective block body.

OSC MODULAR MOVABLE RIGID PROTECTIVE BARRIER SYSTEM FOR UNDERGROUND ROAD

NºPublicación:  WO2025244445A1 27/11/2025
Solicitante: 
GLOBALSTEC CORP [KR]
(\uC8FC)\uAE00\uB85C\uBC8C\uC5D0\uC2A4\uD14D
WO_2025244445_PA

Resumen de: WO2025244445A1

The present invention relates to an OSC modular movable rigid protective barrier system for an underground road, the barrier system comprising: a movable rigid protective barrier provided inside a tunnel, the barrier including a plurality of protective blocks of which at least two are arranged in the forward-backward longitudinal direction of a tunnel between a roadway and a wall inside the tunnel, and connecting devices each having one end connected to one protective block of the front from among the plurality of protective blocks disposed to be adjacent to each other at the front and rear, and having the other end connected to the other protective block of the rear; and a plurality of power transmission modules which are embedded and provided in the inner wall of the tunnel at predetermined intervals in the forward-backward longitudinal direction of the tunnel, and which receive power from an external power supply means electrically wired thereto. The movable rigid protective barrier provided inside the tunnel includes: a light-emitting module provided at one side of at least one of both the left and right surfaces of the protective block in the width direction so as to output and provide a light source when operated; and a power reception module which is embedded and provided in the protective block, and which is electrically and wirelessly connected to an adjacent power transmission module from among the plurality of power transmission modules so as to receive power and s

AUXILIARY TRAFFIC LIGHT DEVICE USING BOLLARD, AND CONTROL METHOD

Nº publicación: WO2025244214A1 27/11/2025

Solicitante:

KOREA PHOTONICS TECH INSTITUTE [KR]
\uD55C\uAD6D\uAD11\uAE30\uC220\uC6D0

WO_2025244214_PA

Resumen de: WO2025244214A1

An auxiliary traffic light device using a bollard, and control method are disclosed. The present invention is provided at a crosswalk so as to output a pedestrian signal in synchronization with pedestrian detection results and a crosswalk pedestrian signal, and thus can provide safe crossing of a pedestrian at the crosswalk.

traducir