Ministerio de Industria, Turismo y Comercio LogoMinisterior
 

Alerta

Resultados 57 resultados
LastUpdate Última actualización 25/04/2026 [07:27:00]
pdfxls
Solicitudes publicadas en los últimos 30 días / Applications published in the last 30 days
Resultados 1 a 25 de 57 nextPage  

A REINFORCED WIRE NETTING

NºPublicación:  WO2026084578A1 23/04/2026
Solicitante: 
ECOSOUTH SDN BHD [MY]
WO_2026084578_A1

Resumen de: WO2026084578A1

The present invention discloses a reinforced wire netting comprising a plurality of metal wires (1a, 1b) including a first metal wire (1a) and a second metal wire (1b), each being arranged in a side-by-side relationship to one another to form a plurality of polygonal meshes (4), in which the metal wires (1a, 1b) are intertwined to form a plurality of spiral twisted structures; at least one longitudinal wire (2) intertwined with the first metal wire (1a) at opposing ends of the reinforced metal wire netting; and a plurality of reinforcement wires (3) being transversely inserted through a space within the spiral twisted structure, in which the reinforcement wires (3) are arranged in a position that is perpendicular relative to the metal wires (1a, 1b) and the longitudinal wires (2); wherein the reinforcement wires (3) are equidistantly spaced from one another at a distance of less than one polygonal mesh (4) apart, with each reinforcement wire (3) having a diameter greater than the longitudinal wire (2) and the metal wires (1a, 1b).

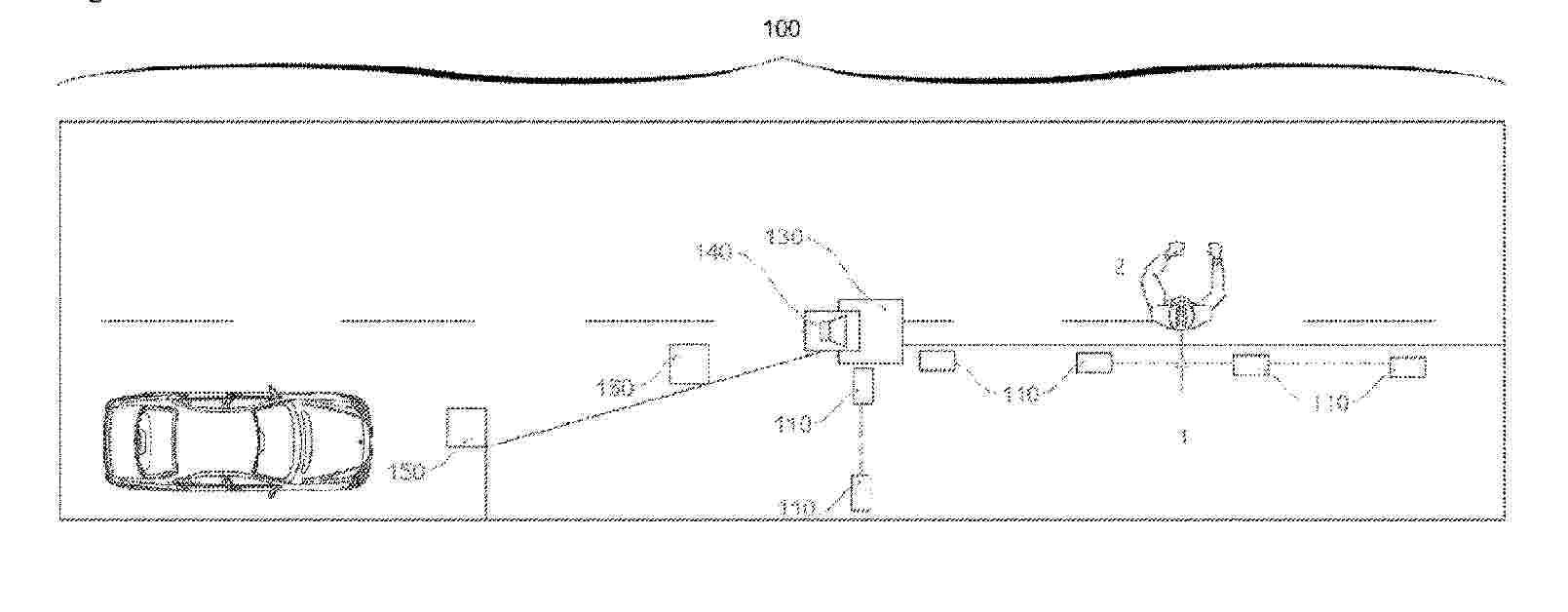
MONITORING SYSTEM FOR DETECTING MOTOR VEHICLES IN PARKING BAYS AND METHOD THEREOF

NºPublicación:  WO2026083138A1 23/04/2026
Solicitante: 
CITYZ S R L [IT]
WO_2026083138_A1

Resumen de: WO2026083138A1

Described herein is a monitoring system (100) for detecting motor vehicles in a plurality of parking bays, said system comprising at least one inductive type sensor device (130) comprising an electronic circuit suitable for detecting an inductance value associated with the presence or absence of a motor vehicle (110) in a parking bay (120) of said plurality of parking bays, said sensor device (130) being coupled to a paving of said parking bay (120); a gateway (150) suitable for managing an occupation state of said plurality of parking bays and an operating state of said at least one sensor device (130), and for storing them into a database, said gateway (150) being connected to said at least one sensor device (130) via a first data exchange network; wherein said at least one sensor device (130) is configured for: - transmitting a first status message representative of said state of occupation, comprising at least one binary piece of information representative of said presence or absence of said motor vehicle (110) in said parking bay (120); - transmitting to said gateway (150), at predetermined time intervals, a second status message representative of said operating state of said at least one sensor device (130); - receiving a configuration message from said gateway (150), and transmitting a confirmation message in reply to said configuration message, said configuration message comprising at least one operating parameter for said at least one sensor device (130); and wherein

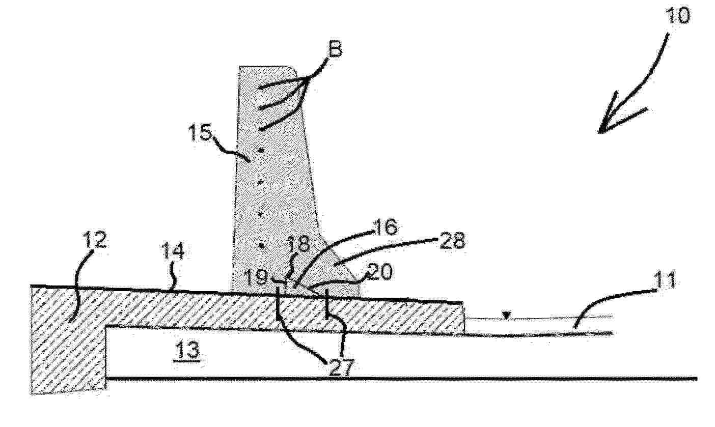
ENGINEERING STRUCTURE FOR TRANSPORT FACILITIES

NºPublicación:  EP4729694A1 22/04/2026
Solicitante: 
LINETECH GMBH & CO KG [DE]
EP_4729694_PA

Resumen de: EP4729694A1

0001 Die Erfindung hat ein Ingenieurbauwerk für Verkehrsanlagen, insbesondere Brückenbauwerk (10), mit einer Oberseite (14) und einer auf der Oberseite im Wesentlichen parallel zu einem Verkehrsweg (11) verlaufend angeordneten Betonschutzwand (15), die in Ortbetonbauweise auf der Oberseite (14) errichtet ist, sowie ein Verfahren zum Herstellen einer Schutzeinrichtung in Form einer Betonschutzwand (15) auf einem eine Oberseite (14) aufweisenden Ingenieurbauwerk, insbesondere einem Brückenbauwerk (10) zum Gegenstand. Um zuverlässig zu gewährleisten, dass die auf dem Bauwerk errichtete Ortbetonwand ihre Position zuverlässig auf der Oberseite (14) beibehält, schlägt die Erfindung mindestens ein an der Oberseite (14) des Bauwerks (10) aufragend angeordnetes, fest mit dem Bauwerk (10) verbundenes Verankerungselement (16) vor, das von der Betonschutzwand (15) mit deren auf der Oberseite (14) aufstehenden Sockelteil (28) form-, stoff- und/oder kraftschlüssig umschlossen wird.

IMPACT DAMPER OR TERMINAL

NºPublicación:  EP4729695A1 22/04/2026
Solicitante: 
VOESTALPINE KREMS FINALTECHNIK GMBH [AT]
EP_4729695_PA

Resumen de: EP4729695A1

0001 Es wird ein Anpralldämpfer (1) oder Terminal für ein Fahrzeugrückhaltesystem (2) oder für ein Hindernis gezeigt mit einer in einem ersten vorderen Endbereich (1a) des Anpralldämpfers (1) oder Terminals angeordneten Bodenstütze (4) an einer Aufstellfläche des Anpralldämpfers (1) oder Terminals und mit einem dem ersten Endbereich (1a) gegenüberliegenden zweiten hinteren Endbereich (1b), der einen Montagebereich (5) für eine Befestigung an dem Fahrzeugrückhaltesystem (2) oder Hindernis aufweist. Weiterhin ist eine Linearführung (6), insbesondere Lineargleitführung vorgesehen, mit mehreren in Reihe nacheinander angeordneten Dämpferelementen (7a bis 7d), die an der ihnen gemeinsamen Linearführung (6) beweglich gelagert sind. Um bei vereinfachten Montagebedingungen eine hohe Sicherheit zu gewährleisten, wird vorgeschlagen, dass die mit der Linearführung (6) fest verbundene Bodenstütze (4) eine bodenseitige Aufstandsplatte (8) für ein loses Aufliegen an der, insbesondere von einer Fahrbahn (20a) ausgebildeten, Aufstellfläche (20) aufweist.

MODULAR SYSTEM OF LASER BARRIERS FOR CONSTRUCTION SITES

NºPublicación:  EP4728141A1 22/04/2026
Solicitante: 
ISTITUTO NAZ PER LASSICURAZIONE CONTRO GLI INFORTUNI SUL LAVORO INAIL [IT]
WO_2024256921_PA

Resumen de: WO2024256921A1

According to the present invention, a system of immaterial laser barriers is created which is capable of: - delimiting "construction site-road interface" areas near pedestrians, mechanical means, or vehicles in transit; - generating an acoustic signal for pedestrians and an optical signal for vehicles at each crossing of the barrier. A laser barrier consists of at least two transceivers arranged along the construction site - road interface, mounted on a stable physical support. A microprocessor inside each transceiver detects the crossing of the barrier and activates an acoustic signal, which prescribes the return of workers to the safe area, and an optical signal (such as a traffic light), which prescribes the stopping of vehicles in transit toward the construction site. The immaterial laser barriers are modular, combinable, easily transportable and adapt to the shape of the construction site with minimal encumbrance.

CROWDSOURCED RADAR MAP GENERATION

NºPublicación:  EP4728297A1 22/04/2026
Solicitante: 
QUALCOMM INC [US]
WO_2024258568_PA

Resumen de: WO2024258568A1

Crowdsourced radar map generation techniques are disclosed. The techniques can include collecting a set of localized observation data for a map region of a radar reference map, the set of localized observation data including respective data received from each of a plurality of vehicles, dividing the set of localized observation data for the map region into a first observation data subset and a second observation data subset, determining occupancy probability parameters for the map region based on the first observation data subset, validating the occupancy probability parameters based on the second observation data subset, and updating the radar reference map according to the occupancy probability parameters.

SPEEDING ON DEVICE

NºPublicación:  EP4728497A1 22/04/2026
Solicitante: 
NETRADYNE INC [US]
WO_2024258926_PA

Resumen de: WO2024258926A1

Methods and systems for scheduling a query to an external server to retrieve data are provided where the query is transmitted from a device installed in a vehicle. The methods and systems include scheduling a query to a remote database based on a previously received at the requesting device, and more specifically, a comparison of the previously retrieved data and a measurement of the vehicle. Methods further include predicting and retrieving speed limit data along a probable path of travel, monitoring whether the vehicle is traveling along the probable path, and assessing speeding behavior against speed limit data for validly predicted paths.

BASE MEMBER AND IMPACT ABSORBING POST FOR IMPACT AT LOW HEIGHT

NºPublicación:  EP4728140A1 22/04/2026
Solicitante: 
BOPLAN BV [BE]
BE_1031696_PA

Resumen de: WO2024256044A1

The current invention relates to a base member (2) for mounting an impact absorbing post (1) on a surface, comprising a bottom plate (6) and a hollow connection profile (5) for connecting a primary impact member (4) to the base member (2), wherein the connection profile (5) is firmly fixed to the bottom plate (6) and extends substantially perpendicular to the bottom plate (6), wherein the connection profile (5) comprises at the free end lips (14), wherein the lips (14) extend substantially perpendicular to the bottom plate (6) and wherein the lips (14) are spaced around a circumference of the free end (8). The invention also relates to an impact absorbing post (1), a kit and a method for assembling the impact absorbing post (1).

COMPUTER-IMPLEMENTED METHOD FOR MINIMIZING NEGATIVE EXTERNALITIES IN ROAD TRAFFIC NETWORK SEGMENTS AND ASSOCIATED SYSTEM, COMPUTER PROGRAMS AND READING MEDIUM

NºPublicación:  EP4730297A1 22/04/2026
Solicitante: 
UNIV AVEIRO [PT]
EP_4730297_PA

Resumen de: EP4730297A1

A computer-implemented method is disclosed comprising data collection steps, by means of environmental sensors (20) and traffic sensors (21) relating to a traffic segment (10), to identify vulnerabilities and negative externalities by first training a model for applying adaptive behaviors. The method includes sending recommendations to connected automated vehicles (CAVs) (60) circulating in an area (11) upstream of the segment (10), with the adaptive behaviors that minimize negative externalities, e.g., pollution or noise for pedestrians (80) or critical buildings (A), considering the non-autonomous conventional vehicles (CVs) (70) present on the road. The previously trained model continues to be trained during the application of the invention on a segment (10). The system that implements the method comprises computational modules for control and evaluation (30) and decision, selection and transmission (40), which through transmission units (50) launch recommendations to the CAVs (60) with adaptive behaviors.

FLEET ROUTING SYSTEM AND METHOD

NºPublicación:  EP4728463A1 22/04/2026
Solicitante: 
ZUM SERVICES INC [US]
US_12072198_PA

Resumen de: US12072198B1

0000 A system and method that includes a ride requestor device, a driver device, a server device, and a user device is disclosed. The ride requestor device provides rider information and stop location information for a plurality of riders. The driver device provides location information, navigation information, and stop timing information for a particular vehicle in a fleet of vehicles. The server device includes an artificial intelligence engine which generates and optimizes a plurality of routes for service by the fleet of vehicles to provide a ride to each one of the plurality of riders.

CLIMBING AID FOR GUARDRAIL ASSEMBLIES

NºPublicación:  EP4729740A1 22/04/2026
Solicitante: 
GERLAND DENNIS [DE]
EP_4729740_PA

Resumen de: EP4729740A1

Die Erfindung betrifft eine Übersteighilfe für Schutzplankenanordnungen mit einem Leiterkörper enthaltend eine Trittstufe und einen Handlauf, wobei der Leiterkörper ein erstes Körperteil und ein zweites Körperteil aufweist, wobei der Leiterkörper in einer Montagestellung des ersten Körperteils und des zweiten Körperteils unter Bildung eines U-förmigen Profils auf einer Oberseite einer Schutzplanke der Schutzplankenanordnung absetzbar ist.

MODULAR POST

NºPublicación:  ES3064025T3 22/04/2026
Solicitante: 
BRADY CORP LTD
GB_2595220_PA

Resumen de: GB2595220A

The modular post, particularly for use in temporary barriers, comprises a post component and a base 110, wherein the post component is configured to be attached or attachable on, to or in the base in a deployed configuration, and configured to be housed within the base in a stored configuration. The post preferably comprises a number of segments 106 that are separable from one another. Each segment is preferably configured to be received with the base separately in the stored configuration. The base preferably comprises at least one recess with a shape substantially corresponding to at least a part of the shape of the post component. The post may comprise at least one retractable barrier unit, preferably a retractable tape unit. The base preferably comprises one or more handles and an securing element to retain the post components within the base in the stored configuration. Also claimed is a method of using a modular post.

VEHICLE EXIT IDENTIFICATION METHOD AND APPARATUS, ELECTRONIC DEVICE AND STORAGE MEDIUM

NºPublicación:  WO2026076957A1 16/04/2026
Solicitante: 
HUAWEI TECH CO LTD [CN]
\u534E\u4E3A\u6280\u672F\u6709\u9650\u516C\u53F8
WO_2026076957_A1

Resumen de: WO2026076957A1

The present application applies to the technical field of data processing. Provided are a vehicle exit identification method and apparatus, an electronic device, and a storage medium. The method comprises: acquiring first motion data of an electronic device and geomagnetic data; and on the basis of the first motion data and the geomagnetic data, identifying whether a vehicle exit event occurs to the electronic device, so as to determine whether to execute a vehicle exit operation. In the embodiments of the present application, an electronic device held by a user is not required to establish a bluetooth connection with a vehicle-mounted terminal on a vehicle, such that required operations by the user can be reduced when parking management is achieved. Whether the user has exited the vehicle can also be accurately identified by means of geomagnetic data while the operation efficiency of parking management is improved, improving the accuracy of vehicle exit identification.

POWER STORAGE DEVICE AND COMPUTER PROGRAM

NºPublicación:  WO2026079310A1 16/04/2026
Solicitante: 
GS YUASA INT LTD [JP]
\u682A\u5F0F\u4F1A\u793E\uFF27\uFF33\u30E6\u30A2\u30B5
WO_2026079310_A1

Resumen de: WO2026079310A1

This power storage device comprises a power storage element, a control unit, and a recording unit, and supplies power from the power storage element to a mobility by being mounted on the mobility. The power storage device further comprises a position detection unit that detects the position of the device. The control unit determines whether or not the mobility is in a traveling state, and when the mobility is in the traveling state, records, in the recording unit and in association with time data, data on positions detected by the position detection unit at a plurality of time points.

SMART ROAD STUDS

NºPublicación:  WO2026080186A1 16/04/2026
Solicitante: 
ITRON INC [US]
WO_2026080186_A1

Resumen de: WO2026080186A1

Techniques for determining information about an event by one or more devices proximate to a roadway are described herein. For example, a device (e.g., a smart road stud) may include an integrated proximity sensor which can detect a static vehicle or a static object on the road. The device may process the sensor data to determine an event type and an event location for events. In some examples, the device can identify other devices in a vicinity of the event (e.g., other smart road studs located on the road), and select devices for performing actions, such as re-routing traffic. In some examples, the device can send sensor data and/or other types of data to other devices, such as an adjacent smart road stud, an edge device, and/or a remote computing device.

SIGN RECOGNITION DEVICE, SIGN RECOGNITION METHOD, AND STORAGE MEDIUM

NºPublicación:  WO2026078821A1 16/04/2026
Solicitante: 
HONDA MOTOR CO LTD [JP]
\u672C\u7530\u6280\u7814\u5DE5\u696D\u682A\u5F0F\u4F1A\u793E
WO_2026078821_A1

Resumen de: WO2026078821A1

A sign recognition device recognizes a prescribed sign drawn so as to extend in a fixed direction on a movement path of a moving body that is capable of moving on both a roadway and a prescribed region different from the roadway. The sign recognition device extracts individual contour points positioned in a contour part of the region of the sign captured in a two-dimensional image which is captured by an imaging device that images at least the movement path, projects the position of each contour point extracted in the image into a two-dimensional projection space, detects the direction in which the sign is drawn on the basis of the direction of a contour line segment between two adjacent contour points, and outputs end point information indicating an end point of the region in which the sign is drawn.

SYNCHRONIZED AUTONOMOUS VEHICLE MOTORCADE FOR GROUP TRANSPORTATION

NºPublicación:  WO2026080542A1 16/04/2026
Solicitante: 
HYPRLABS INC [US]
WO_2026080542_A1

Resumen de: WO2026080542A1

Systems and methods are disclosed for coordinating multiple autonomous vehicles for group transportation, including a server initializing a motorcade session based on a motorcade formation request and starting a motorcade session, wherein the motorcade session includes coordination of integrated functionality across the autonomous vehicles within the motorcade via communication with a server or via vehicle-to-vehicle communication channels.

SECURITY BARRIER SYSTEM

NºPublicación:  WO2026080763A1 16/04/2026
Solicitante: 
MERIDIAN RAPID DEFENSE GROUP LLC [US]
WO_2026080763_A1

Resumen de: WO2026080763A1

The present disclosure describes a computer system that generates security barrier configurations for locations. According to an embodiment, a computer system includes one or more memories and one or more processors communicatively coupled to the one or more memories. The one or more processors, individually or collectively, receive a first set of user input indicating an address of an event, retrieve a map showing an area indicated by the address, receive a second set of user input indicating a location in the area to be closed for the event, determine, based on the second set of user input and the map, a size of the location, determine, based on the size, a security barrier configuration for closing the location, and adjust an image of the location by adding an image of the security barrier configuration to the image.

SYSTEMS AND METHODS FOR GENERATING A SYNTHETIC DATASET FROM ROAD VEHICLE POSITIONING DATA

NºPublicación:  EP4726592A1 15/04/2026
Solicitante: 
MEDIDATA SOLUTIONS INC [US]
EP_4726592_PA

Resumen de: EP4726592A1

Generating a synthetic dataset from road vehicle positioning data. The method involves iteratively selecting a seed record and determining a set of candidate partner records based on matching bigrams between the selected seed record and potential partner records. The method further includes determining subsequences for the candidate partner records and selected seed record based on locations of the matching bigrams. A candidate partner record is selected based on whether a length difference, in terms of time, distance, or number of road events, between the subsequences is less than a defined threshold. The subsequence of the selected seed record is replaced with the subsequence of the selected candidate partner record to produce a mutated seed record. The mutated seed records to produce a synthetic dataset.

Sistema y procedimiento de alertas anticipadas de incidentes viales con zona de aviso adaptativa, selección por sentido y operación en modo reducido

NºPublicación:  ES3062427A1 10/04/2026
Solicitante: 
BURGOS ENRIQUEZ ENRIQUE [ES]
WO_2026063564_A1

Resumen de: WO2022101865A1

"Smart bracelet device containing glucose and/or glucagon" Ergonomic, wearable smart device, containing predetermined quantities of glucose and/or glucagon adapted to restore the concentration of glucose in the blood comprising: - a body of the device (1) with tubular shape containing predetermined quantities of glucose and/or glucagon; - a reload valve (4) housing at least a lip (6.1) of a reload cartridge (6), adapted to restore the reserves of glucose and/or glucagon; - a straw (3), a nasal spray (11) or both adapted for the consumption of a predetermined quantity of glucose and/or glucagon; - a smart valve (2) adapted to receive information regarding the exact quantity to be administered; - a magnetic closure (5); - a reload cartridge (6) comprising a tank (6.2) and a lip (6.1); - a display (7); - a glycemia detector (8) adapted to check the quantity of glucose in the blood, adapted to interact with said display (7) with latest-generation cellular device, CGM, insulin pumps.

BARRIER USABLE AS TERROR BARRIER

NºPublicación:  ES3062375T3 10/04/2026
Solicitante: 
OSWALD MATT GROUP
WO_2022101865_A1

Resumen de: WO2026063564A1

An automated device for cross-border e-commerce and a method for controlling same are disclosed. The automated device according to one embodiment of the present invention comprises: a database that stores data; and a processor that controls the automated device, wherein the processor may, when a preset word representing a popular search term is identified while scraping a web page, extract keywords searched at a preset frequency or higher and store the keywords in the database, search a shopping platform using the extracted and stored keywords, store a shopping mall URL address searched on the shopping platform in the database, and store product data of the shopping mall in the database using the stored shopping mall URL address.

GROUND EMBEDDED IMAGING DEVICE

NºPublicación:  EP4722803A1 08/04/2026
Solicitante: 
LIU CHE AN [TW]
EP_4722803_PA

Resumen de: EP4722803A1

A ground embedded imaging device includes a barrel housing unit (200), an electronic element unit (6) and an automatic draining unit (7). The barrel housing unit (200) has a water collecting chamber (241, 20), a translucent window portion (245, 342) at an upper end of the barrel housing unit, a water conducting hole (443, 412) to conduct water from outside to the water collecting chamber, and a water deflecting recess portion (444, 411) in spatial communication with the water conducting hole and disposed below the ground surface. The electronic element unit (6) includes an imaging module (8) oriented toward the window portion (245, 342). The automatic draining unit (7) includes a water expelling driver (71) which is actuated to expel water from the water collecting chamber (241, 20). Water is prevented from accumulating around the window portion so that the imaging module operates correctly.

VEHICLE TRACKING METHOD AND SYSTEM, STORAGE MEDIUM AND SERVER

NºPublicación:  EP4723061A1 08/04/2026
Solicitante: 
ZHEJIANG UNIVIEW TECH CO LTD [CN]
EP_4723061_PA

Resumen de: EP4723061A1

Provided are a vehicle tracking method and system, a storage medium, and a server. The vehicle tracking method includes: recording vehicle feature information of a target vehicle when the target vehicle enters; performing multi-frame license plate recognition based on the vehicle feature information; if the target license plate number first satisfies a recognition threshold, taking the target license plate number as the final license plate number of the target vehicle, and adding the final license plate number as an entry license plate number of a parking region corresponding to the target vehicle; and when an exit vehicle in the parking region cannot be recognized, matching the exit vehicle by using the entry license plate number of the parking region to determine the vehicle information of the exit vehicle.

TRAFFIC CONDITION PREDICTION METHOD, CLASSIFICATION MODEL TRAINING METHOD, AND MEDIUM

NºPublicación:  EP4723077A1 08/04/2026
Solicitante: 
ZTE CORP [CN]
EP_4723077_PA

Resumen de: EP4723077A1

The present application discloses a traffic condition prediction method, a classification model training method, and a computer-readable storage medium. The method includes: (S10), obtaining cell load data and user terminal handover data of a target cell during a target time period, the target cell is a cell where a signal covers the target road segment; (S20), constructing a target feature vector based on the cell load data and the user terminal handover data; and (S30), inputting the target feature vector into a preset classification model for identification to obtain the congestion level of the target road segment during the target time period. The preset classification model is obtained by training using the feature vectors constructed from the cell load data and the user terminal handover data as input data and label data constructed from the actual congestion level of the road segments covered by the cell as training labels.

SYSTEM AND PROCESS FOR RECORDING EVIDENTIARY DATA

Nº publicación: EP4723065A2 08/04/2026

Solicitante:

SMART AI SRL [IT]

EP_4723065_A2

Resumen de: EP4723065A2

0001 A computer-implemented process of recording evidentiary data is provided, comprising: allocating a storage space for digital evidentiary data within a physical memory present on a recording device and isolated from the outside of the device; acquiring the evidentiary data following the detection of a predetermined event; recording the evidentiary data in the storage space; associating with the evidentiary data digital certification data including at least a date and a time of acquisition corresponding to the date and time of the acquisition of the evidentiary data, that is, the date and time of the occurrence of the predetermined event; sending via encrypted communication means exclusively the certification data to a storage environment external to the device and accessible by at least one user external to the device; and storing the certification data in the storage environment in such a way as to enable at least said external user to view the certification data subsequent to the acquisition of the evidentiary data.

traducir