Ministerio de Industria, Turismo y Comercio LogoMinisterior
 

Alerta

Resultados 57 resultados
LastUpdate Última actualización 22/01/2026 [06:49:00]
pdfxls
Solicitudes publicadas en los últimos 30 días / Applications published in the last 30 days
Resultados 1 a 25 de 57 nextPage  

ROAD MARKING ROBOT

NºPublicación:  EP4680809A1 21/01/2026
Solicitante: 
AIROAD OY [FI]
Airoad Oy
WO_2024189268_PA

Resumen de: WO2024189268A1

The invention relates to road marking robot (100) which is autonomous and is arranged to move on a road, and comprises a mass container (105) for storing thermoplastic road marking mass and for keeping it warm, and a print head (106) for printing out thermoplastic mass. The road marking robot (100) also comprises communication means (111) arranged to receive, as a result of analysis of sensor data captured from the road, a location control signal for guiding the road marking robot (100) to move to the correct location for printing out, and a printing control signal for controlling the printing out of a road marking. The print head comprises hatches (105) which are opened at different times during movement of the road marking robot (100) to make the road marking as a pattern of thermoplastic mass flowing out of the hatches (105). The invention also relates to a method for printing out road markings by a road marking robot (100), and to a computer program product.

INFORMATION PROCESSING DEVICE, INFORMATION PROCESSING METHOD, AND INFORMATION PROCESSING PROGRAM

NºPublicación:  EP4682470A1 21/01/2026
Solicitante: 
PIONEER CORP [JP]
Pioneer Corporation
EP_4682470_PA

Resumen de: EP4682470A1

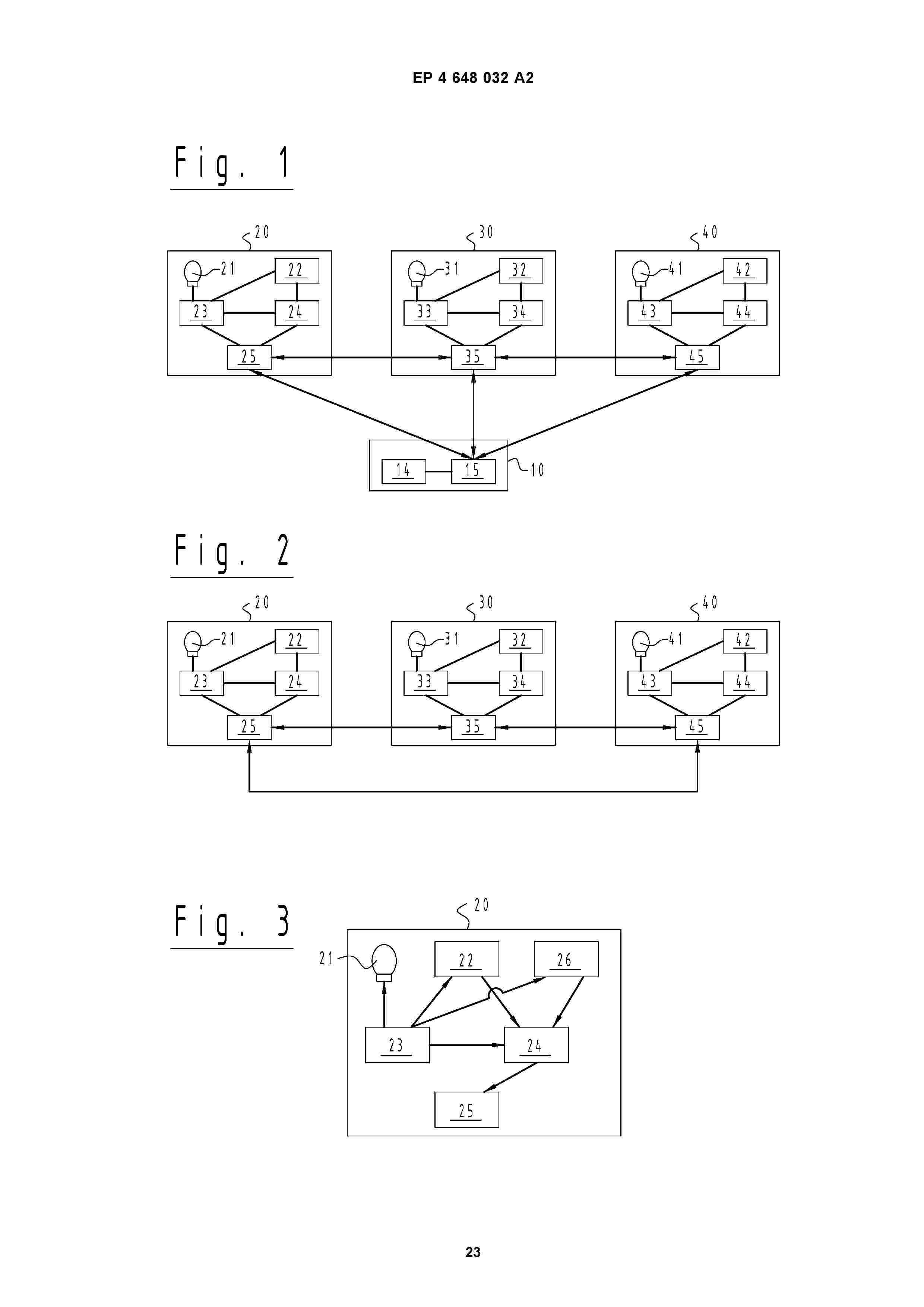
An information processing device (100) includes: an acquisition unit (121) that acquires information on a traveling track from a plurality of terminals; and a determination unit (124) that determines that some of the plurality of terminals have moved in the same moving object based on the correspondence between information on a stop time point and a stop place included in information on a traveling track acquired by the acquisition unit (121) and information on a stop time point and a stop place included in information on another traveling track.

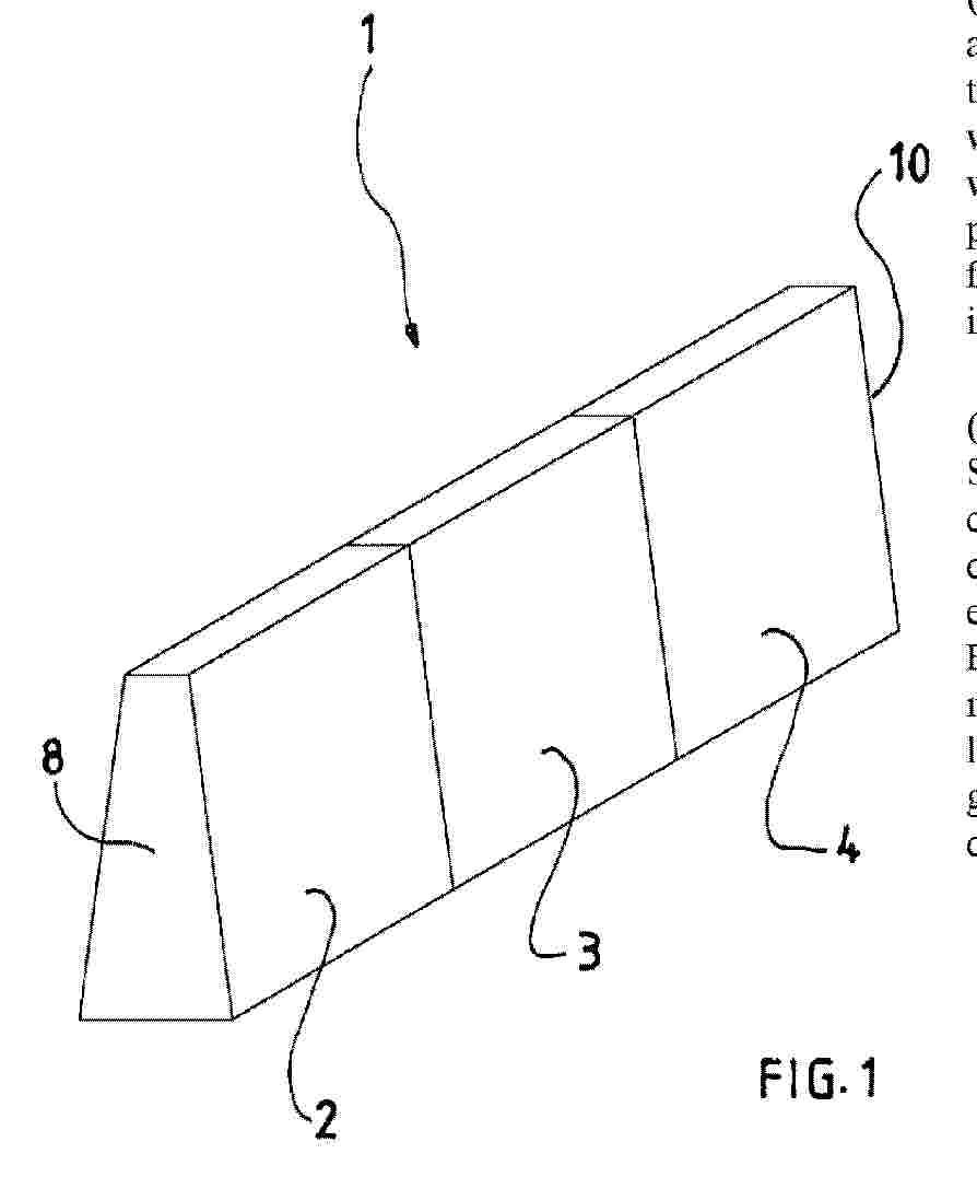
MOTORWAY CRASH BARRIER STRUCTURE OF THE GUARDRAIL TYPE

NºPublicación:  WO2026013429A1 15/01/2026
Solicitante: 
CAR SEGNALETICA STRADALE S R L [IT]
CAR SEGNALETICA STRADALE S.R.L
WO_2026013429_PA

Resumen de: WO2026013429A1

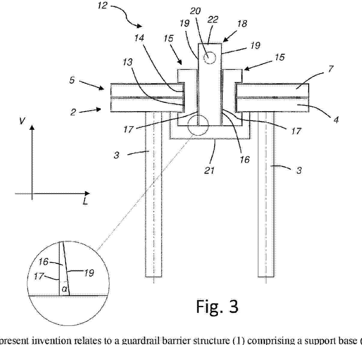
The present invention relates to a guardrail barrier structure (1) comprising a support base (2) suitable to be fixed to the ground, comprising a base plate (4) having at least one coupling opening (13), a barrier element (5) configured for supporting at least one portion of a guardrail (6), comprising a barrier plate (7) having at least one coupling opening (14) at least partially overlapping the coupling opening (13) of the base plate (4) and at least one connecting device (12) configured for reversibly connecting the barrier element (5) and the support base (2). The at least one connecting device (12) comprises two opposite grouping elements (15) insertable at a distance in the coupling openings (13, 14) to partially envelope the base plate (4) and the barrier plate (7) at two opposite sides of the coupling openings (13, 14) and to delimit a through passage (16) and a wedge-shaped locking element (18) insertable into said through passage (16) to be locked therein.

LOW ODOR REACTIVE RESIN COMPOSITION

NºPublicación:  WO2026015292A1 15/01/2026
Solicitante: 
DOW GLOBAL TECH LLC [US]
ROHM AND HAAS COMPANY [US]
DOW GLOBAL TECHNOLOGIES LLC,
ROHM AND HAAS COMPANY
WO_2026015292_PA

Resumen de: WO2026015292A1

The present invention is a composition comprising a) an acrylic or styrene-acrylic resin having a Tg in the range of from 30 °C to 120 °C; and b) one or more monomers of Formula 1: Formula 1 where R is:; where R1 is C1-C4-alkyl; x is from 1 to 200; and the dashed line is the point of attachment to the oxymethylene group of Formula 1; wherein, based on the weight of the composition, the combined concentrations of the one or more monomers of Formula 1 are in the range of from 50 to 85 weight percent, and the concentration of the resin is in the range of from 5 to 40 weight percent; with the proviso that when the one or more monomers of Formula 1 is solely the monomer of Formula 1b, the composition further comprises from 5 to 15 weight percent of a plasticizer. The composition of the present invention is useful in 2K cold plastic traffic formulations.

TRAVEL DETERMINATION DEVICE

NºPublicación:  WO2026013829A1 15/01/2026
Solicitante: 
SUBARU CORP [JP]
\u682A\u5F0F\u4F1A\u793E\uFF33\uFF35\uFF22\uFF21\uFF32\uFF35
WO_2026013829_PA

Resumen de: WO2026013829A1

This travel determination device comprises a processor and a storage medium on which a program to be executed by the processor is stored. The processor comprises: an environment information acquisition unit that acquires environment information on a travel route of a vehicle; a vehicle information acquisition unit that acquires ego vehicle information of the vehicle; and a travel determination unit that executes a simulation of the vehicle traveling on the travel route on the basis of the environment information and the own vehicle information.

COMMUNICATION DEVICE, COMMUNICATION SYSTEM, CONTROL CIRCUIT, STORAGE MEDIUM, AND COMMUNICATION METHOD

NºPublicación:  WO2026013930A1 15/01/2026
Solicitante: 
MITSUBISHI ELECTRIC CORP [JP]
\u4E09\u83F1\u96FB\u6A5F\u682A\u5F0F\u4F1A\u793E
WO_2026013930_PA

Resumen de: WO2026013930A1

The present invention addresses the problem of providing a communication device (101) that is mounted on a vehicle and can share free space information indicating places where no vehicles or obstacles exist with communication devices mounted on other vehicles. This communication device (101) is provided with: a free space information sharing unit (103) that collects self-location information and other-object location information including location information of other vehicles and obstacles, and generates host vehicle free space information indicating a place where a vehicle (1), other vehicles, or obstacles do not exist; and a wireless communication unit (104) that receives other-vehicle free space information generated by other vehicles, and transmits the host vehicle free space information to other vehicles.

PROCESSING DEVICE, PROCESSING METHOD, AND COMPUTER PROGRAM

NºPublicación:  WO2026014111A1 15/01/2026
Solicitante: 
SUMITOMO ELECTRIC IND LTD [JP]
\u4F4F\u53CB\u96FB\u6C17\u5DE5\u696D\u682A\u5F0F\u4F1A\u793E
WO_2026014111_PA

Resumen de: WO2026014111A1

This processing device is provided with a control unit that performs information processing according to input data entered by a user, wherein the input data includes a node extraction condition for extracting, from among a plurality of nodes included in map data, a plurality of intersection nodes that are to be evaluated to determine whether or not the intersection node is a target intersection that requires an adjustment of a constant of a traffic signal controller, and an index condition for specifying a traffic index used for the evaluation from among a plurality of traffic indices, and wherein the information processing includes: processing for extracting one or more intersection nodes that meet the node extraction condition; processing for calculating, for each extracted intersection node or a route connecting to the intersection node, a traffic index specified by the index condition, on the basis of time-series data of traffic information; processing for extracting one or more target intersections from among the extracted one or more intersection nodes on the basis of the calculated traffic index; and processing for outputting the extracted one or more target intersections to a display unit.

MANAGEMENT SYSTEM, DEVICE, MANAGEMENT SERVER, AND VEHICLE

NºPublicación:  WO2026014082A1 15/01/2026
Solicitante: 
TOYOTA JIDOSHA KK [JP]
\u30C8\u30E8\u30BF\u81EA\u52D5\u8ECA\u682A\u5F0F\u4F1A\u793E
WO_2026014082_PA

Resumen de: WO2026014082A1

A management system (10) is provided with a vehicle (20), a plurality of devices (30), and a management server (70). The vehicle (20) is configured to store key-related information, which is information relating to each of a plurality of digital keys. The management server (70) is configured to manage registration of a plurality of digital keys for the vehicle (20). The plurality of devices (30) include a share device (50) that does not belong to the owner of the vehicle (20). The plurality of digital keys include a share key (KS) registered with respect to the share device (50). The share device (50) is configured to limit the request for registration of a new share key (KS) to the management server (70) when the difference (DF) between the maximum number of digital keys that can be registered for the vehicle (20) and the number of pieces of key-related information that the vehicle (20) stores is equal to or less than a predetermined number (PN).

INFORMATION PROCESSING DEVICE, INFORMATION PROCESSING SYSTEM, INFORMATION PROCESSING METHOD AND RECORDING MEDIUM

NºPublicación:  WO2026014328A1 15/01/2026
Solicitante: 
NEC CORP [JP]
\u65E5\u672C\u96FB\u6C17\u682A\u5F0F\u4F1A\u793E
WO_2026014328_PA

Resumen de: WO2026014328A1

An information processing device is provided with an analysis unit, a reference acquisition unit, and an evaluation unit. The analysis unit acquires a relationship between a state of an object based on sensor information including an object outside or inside a vehicle and a state of the vehicle. The reference acquisition unit acquires a driving standard, which is a standard related to vehicle driving and produced through information processing by using, as an input, information on rules for the vehicle driving. The evaluation unit calculates a driving evaluation score obtained by evaluating the vehicle driving on the basis of the driving standard and the relationship.

INFORMATION PROCESSING DEVICE, INFORMATION PROCESSING METHOD, AND COMPUTER PROGRAM

NºPublicación:  WO2026014347A1 15/01/2026
Solicitante: 
SUMITOMO ELECTRIC IND LTD [JP]
\u4F4F\u53CB\u96FB\u6C17\u5DE5\u696D\u682A\u5F0F\u4F1A\u793E
WO_2026014347_PA

Resumen de: WO2026014347A1

This information processing device comprises a control unit that, on the basis of displacement information relating to ground surface displacement analyzed on the basis of a synthetic aperture radar image and traffic information relating to a region in which the ground surface displacement has occurred, calculates an impact degree indicating the magnitude of impact of the ground surface displacement on a traffic network.

STEEL GUARD FENCE, BEAM FOR STEEL GUARD FENCE, AND METHOD OF SELECTING BEAM MATERIAL FOR STEEL GUARD FENCE

NºPublicación:  WO2026014551A1 15/01/2026
Solicitante: 
NIPPON STEEL CORP [JP]
\u65E5\u672C\u88FD\u9244\u682A\u5F0F\u4F1A\u793E
WO_2026014551_PA

Resumen de: WO2026014551A1

A beam for a steel guard fence according to the present invention is formed from a plated steel material comprising: a steel base material having a sheet thickness of 3.2 mm or less and a yield stress of greater than 400 MPa but not greater than 800 MPa; and a plating layer that covers the surface of the base material and is composed of a Zn-Al-Mg plating. The beam for a steel guard fence has a cut end surface formed on at least one end surface of the plated steel material, and the plated steel material has a sheet thickness of not less than 2.0 mm but less than 4.0 mm.

LIGHT-EMITTING SIGN BOARD HAVING IMPROVED FRAME

NºPublicación:  WO2026014686A1 15/01/2026
Solicitante: 
EZ GROUP INC [KR]
\uC774\uC9C0\uADF8\uB8F9 \uC8FC\uC2DD\uD68C\uC0AC
WO_2026014686_PA

Resumen de: WO2026014686A1

The purpose of the present invention is to provide a light-emitting sign board having an improved frame, the light-emitting sign board comprising: a panel part for displaying road sign information through an LED light source; and a housing installed on the panel part and fixed to a support, wherein the housing comprises: a first polygonal frame installed in front of the panel part and comprising a plurality of subframes; a second polygonal frame which is installed behind the panel part, comprises a plurality of subframes, and is coupled to the first frame; and a frame connection member inserted into each corner portion of the first frame and the second frame to reinforce same.

METHOD AND DEVICE FOR ADJUSTING RESOLUTION RELATED TO OCCUPANCY PREDICTION

NºPublicación:  WO2026014956A1 15/01/2026
Solicitante: 
LG ELECTRONICS INC [KR]
\uC5D8\uC9C0\uC804\uC790 \uC8FC\uC2DD\uD68C\uC0AC
WO_2026014956_PA

Resumen de: WO2026014956A1

Provided are a method by which a first device performs wireless communication and a device supporting same. The method may comprise: a step for performing a first occupancy prediction on at least one object; a step in which a first device receives a message including information related to a state; a step for changing a first resolution related to the first occupancy prediction to a second resolution on the basis of the information related to the state; and a step for performing a second occupancy prediction on the at least one object on the basis of the second resolution.

HIERARCHICAL OPTIMIZATION-BASED COORDINATED CONTROL OF TRAFFIC RULES AND MIXED TRAFFIC IN MULTI-INTERSECTION ENVIRONMENTS

NºPublicación:  EP4677579A1 14/01/2026
Solicitante: 
MITSUBISHI ELECTRIC CORP [JP]
Mitsubishi Electric Corporation
CN_120826726_PA

Resumen de: CN120826726A

The present disclosure provides a system and method for jointly controlling one or more networked automated vehicles (CAVs) and one or more human driven vehicles (HDVs) subject to integer constraints for crossing each of a plurality of intersections on a road. The method includes collecting a digital representation of a state of each of CAV, HDV, and traffic signs, solving an optimization problem of joint optimization of traffic flow based on a macroscopic traffic flow model in a convex relaxation centralized traffic controller (CTC) subject to integer constraints, solving a multivariable mixed integer programming (MIP) problem in each of a plurality of intersection traffic controllers (ITCs) that optimizes a cost function and minimizes tracking errors of traffic flow values of the microscopic traffic flow model with respect to relaxed traffic flow values from the CTCs, and transmitting optimized values of the control commands to corresponding CAVs and corresponding traffic signs.

TRAFFIC MONITORING DEVICE, TRAFFIC MONITORING SYSTEM AND METHOD

NºPublicación:  EP4679399A1 14/01/2026
Solicitante: 
KISTLER HOLDING AG [CH]
Kistler Holding AG
EP_4679399_PA

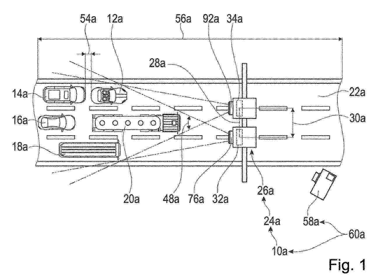
Resumen de: EP4679399A1

Die Erfindung betrifft eine Verkehrsüberwachungsvorrichtung (10a; 10b) zur Erfassung von Fahrzeugen (12a, 14a, 16a, 18a, 20a; 12b, 14b) auf einer Fahrbahn (22a; 22b), mit einer Erfassungseinheit (24a; 24b) umfassend zumindest eine Stereokamera (26a; 26b) mit zwei entlang einer Grundlinie (28a; 28b) in einem vordefinierten Abstand (30a; 30b) zueinander angeordneten Bildsensoren (32a, 34a; 32b, 34b), welche auf sich zumindest teilweise überschneidende Teilabschnitte der Fahrbahn (22a; 22b) ausgerichtet sind, und mit einer Auswertungseinheit (36a) zur Auswertung von durch die Bildsensoren (32a, 34a; 32b, 34b) erfassten Daten.Um eine Effizienz zu erhöhen, wird vorgeschlagen, dass die Bildsensoren (32a, 34a; 32b, 34b) der Stereokamera (26a; 26b) als ereignisbasierte Bildsensoren (32a, 34a; 32b, 34b) ausgebildet sind und jeweils eine Pixelmatrix (38a) mit einer Vielzahl von Pixeln (40a, 42a) umfassen, wobei die Pixel (40a, 42a) jeweils dazu ausgebildet sind, relative Änderungen einer Lichtintensität voneinander unabhängig und asynchron als Ereignisse (44a, 46a) zu erfassen, wobei die Erfassungseinheit (24a; 24b) dazu konfiguriert ist, in identischen Objektpunkten in einem Überschneidungsbereich (48a; 48b) der Teilabschnitte zeitgleich auftretende Ereignisse (44a, 46a, 44a', 46a') mittels beiden ereignisbasierten Bildsensoren (32a, 34a; 32b, 34b) der Stereokamera (26a; 26b) zu erfassen und als korrespondierende Ereignisse (44a, 46a, 44a', 46a') eines Ereignisdatensatzes (50a,

HIGH-STRENGTH METAL GRID FOR CONTAINMENT AND PROTECTION AND MACHINE FOR THE PRODUCTION THEREOF

NºPublicación:  EP4677154A1 14/01/2026
Solicitante: 
MACCAFERRI OFF SPA [IT]
Officine Maccaferri S.p.A
KR_20250163346_PA

Resumen de: MX2025010649A

A high-strength protection grid is produced with a plurality of metal wires which are intercalated with metal ropes. The metal wires are interlaced with each other in interlacing portions, or are twisted in twists around the ropes in twisting portions. The interlacings between the wires and the twists of the wires with the ropes define the mesh of the grid. The interlacings and the twists are each unidirectional. The ropes have an external diameter which is greater than the wires and greater than 8 mm, preferably between 9 and 12 mm, even more preferably approximately of 10 mm. The grid is produced with a machine which is provided for the passage of ropes with such an increased diameter with respect to the ropes of the protection grids of the prior art.

SYSTEM AND METHOD FOR AUTOMATIC GENERATION OF GEOFENCED EQUIPMENT GROUPINGS

NºPublicación:  EP4677508A1 14/01/2026
Solicitante: 
OSHKOSH CORP [US]
Oshkosh Corporation
US_2025116994_PA

Resumen de: US2025116994A1

A system may include a connectivity module communicatively and physically coupled to a work machine and a processing circuit configured to generate a profile corresponding to the connectivity module and the work machine. The processing circuit may include memory devices configured to store instructions that cause the one or more processors to: generate the profile corresponding to the work machine and the connectivity module, the profile initially comprising a base state; receive data indicative of one or more functionalities of the work machine; populate, after receiving the data indicative of the one or more functionalities of the work machine, the profile with entries that define a machine-specific state of the profile that facilitates data interpretation and collection related to the one or more functionalities of the work machine; and send the profile comprising the machine-specific state to the connectivity module.

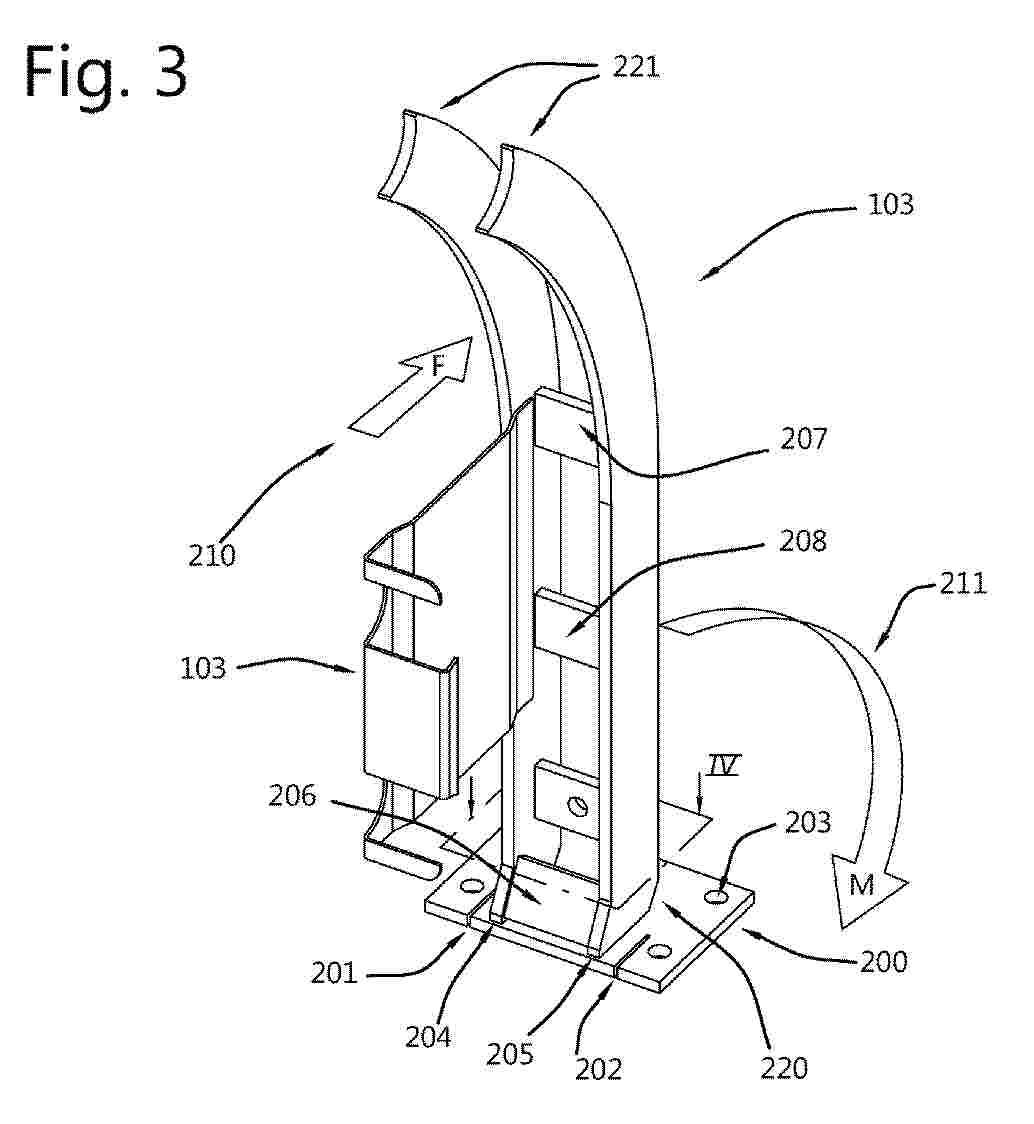
ROAD IMPACT ATTENUATOR

NºPublicación:  WO2026009022A1 08/01/2026
Solicitante: 
CAR SEGNALETICA STRADALE S R L [IT]
CAR SEGNALETICA STRADALE S.R.L

Resumen de: WO2026009022A1

The present invention relates to a road impact attenuator (1) for absorbing energy from a frontal impact of a vehicle, comprising: - a first guardrail (9) supported at its proximal end (10) by a first post (8); - a second guardrail (11) supported at its proximal end (12) by a second post (13), wherein the first guardrail (9) and the second guardrail (11) are arranged in series and coupled in slidable manner along a longitudinal direction (L); - a connector (15) rigidly connecting the first guardrail (9) at its distal end (14) and the second guardrail (11) at its proximal end (12), wherein said connector (15) comprises a portion (16) rigidly connected to the first guardrail (9) and crossing the second guardrail (11) in a direction transversal to the longitudinal direction (L), such that, as a consequence of said vehicle frontal impact against the road impact attenuator (1), the first guardrail (9) tends to slide relative to the second guardrail (11) along the longitudinal direction (L) and said crossing portion (16) cuts the second guardrail (11).

A SOLAR POWERED TRAFFIC ENFORCEMENT AND MONITORING SYSTEM AND METHOD OF OPERATION THEREOF

NºPublicación:  WO2026009012A1 08/01/2026
Solicitante: 
ABU DHABI POLICE GHQ [AE]
ALLIANCE TRAFFIC SYSTEMS L L C [AE]
ABU DHABI POLICE GHQ,
ALLIANCE TRAFFIC SYSTEMS L.L.C

Resumen de: WO2026009012A1

A solar-powered traffic enforcement and monitoring system comprising, a GPS module, one or more solar panels, one or more sensors including Doppler radar unit and one or more cameras, one or more communication modules and a processing module. The GPS module is configured to track the one or more vehicle. The one or more solar panels for providing electrical power to the system. The one or more sensors including a Doppler radar unit and one or more cameras. The one or more sensors adapted for detecting unauthorized entry or vehicles traveling in the wrong direction at exits or chevron areas using artificial intelligence. The Doppler radar unit configured to measure the speed of vehicles passing through an enforcement zone with an accuracy of ± 1 km/hr. across up to 8 lanes. Real-time alerts and warnings are duly sent to one or more concerned authorities upon detecting violations.

INFORMATION PROCESSING DEVICE AND METHOD

NºPublicación:  WO2026009311A1 08/01/2026
Solicitante: 
NTT DOCOMO INC [JP]
\u682A\u5F0F\u4F1A\u793E\uFF2E\uFF34\uFF34\u30C9\u30B3\u30E2

Resumen de: WO2026009311A1

A server device 20 comprises: an acquisition unit 21 that acquires information relating to a required time required for each of a plurality of vehicles to move from a start point to an end point in a unit section of a road; a calculation unit 23 that, in regard to the information acquired for each of the plurality of vehicles, calculates an estimated time estimated to be required for the vehicles to pass through the unit section by excluding at least part of the required time for the vehicles that have turned left or right in the unit section from among the vehicles that have moved from the start point to the end point in the unit section; and a specification unit 24 that specifies the time estimated to be required for the vehicles to pass through a target road, which is a target of analysis, by using the sum of the estimated times calculated for each of a plurality of unit sections constituting the target road.

INFORMATION PROCESSING DEVICE AND METHOD

NºPublicación:  WO2026009396A1 08/01/2026
Solicitante: 
NTT DOCOMO INC [JP]
\u682A\u5F0F\u4F1A\u793E\uFF2E\uFF34\uFF34\u30C9\u30B3\u30E2

Resumen de: WO2026009396A1

According to the present invention, a setting unit 24 sets, in accordance with an administrator instruction, a plurality of increase/decrease conditions pertaining to the degree to which there is an increase or a decrease in traffic demand in discrete time periods and on a certain road constituting a prediction target. An input unit 25 inputs the respective traffic demand corresponding to the plurality of increase/decrease conditions, set by the setting unit 24 for the prediction target road, to a required time prediction model corresponding to the prediction target road. Due to this configuration, a required time corresponding to each increase/decrease condition is obtained for the prediction target road. An output unit 26 outputs a plurality of required times respectively obtained by the input of the traffic demand according to the plurality of increase/decrease conditions.

WARNING LIGHT SYSTEM AND A METHOD OF OPERATION THEREOF

NºPublicación:  WO2026009013A1 08/01/2026
Solicitante: 
ABU DHABI POLICE GHQ [AE]
ALLIANCE TRAFFIC SYSTEMS L L C [AE]
ABU DHABI POLICE GHQ,
ALLIANCE TRAFFIC SYSTEMS L.L.C

Resumen de: WO2026009013A1

A warning light system for enhancing road safety, the system comprising plurality of sensors, GPS module, an infrared camera (IR camera), a solar panel, a pair of antennas, vibration sensor, a warning information display using LED hazard light, and a processor. A method for enhancing road safety, the method involving steps of receiving real-time data of a road condition using plurality of sensors and an infrared camera, analysing the received data of the road conditions to determine appropriate warning signals and alerts for drivers, transmit the processed warning information to a warning information display for visual indication to drivers via one or more LED hazard lights, and utilizing one or more colours of the LED hazard light to signify varying levels of congestion and speed ahead of the vehicle.

METHOD AND APPARATUS FOR IDENTIFYING SPEED MEASUREMENT POINTS ALONG WAY, AND ELECTRONIC DEVICE AND STORAGE MEDIUM

NºPublicación:  WO2026007553A1 08/01/2026
Solicitante: 
ECARX HUBEI TECH CO LTD [CN]
\u4EBF\u5496\u901A\uFF08\u6E56\u5317\uFF09\u6280\u672F\u6709\u9650\u516C\u53F8
CN_118644996_PA

Resumen de: WO2026007553A1

A method and apparatus for identifying speed measurement points along the way, and an electronic device and a storage medium. The method comprises: acquiring from a server a speed measurement point set corresponding to a travel route generated by navigation, wherein the speed measurement point set comprises identification strategy information for a plurality of speed measurement points, and the identification strategy information comprises target location information, a speed measurement road section range, and a target radar band (110); when a vehicle arrives at the speed measurement road section range, identifying a target image acquired by a camera, to obtain a speed measurement point device identification result and a flash effect identification result (120); determining a radar band identification result of a speed measurement point on the basis of the speed measurement point device identification result, radar band information sensed by a radar wave sensing apparatus, and the target radar band (130); and taking the speed measurement point device identification result, the flash effect identification result, and the radar band identification result as identification result data of the speed measurement point (140).

MACHINE FOR THE TRANSPORT AND PLACEMENT OF POLES ON THE GROUND

NºPublicación:  EP4673609A1 07/01/2026
Solicitante: 
ORTECO S R L [IT]
Orteco - S.r.l
AU_2024230850_PA

Resumen de: AU2024230850A1

The machine (1) comprises: - movement means (3) adapted to move the machine (1) within a work area (A); - holding means (4) adapted to support a plurality of poles (P) intended to be placed where relevant positioning areas (Z) are located in the work area (A); self-driving means (5); - one processing and control unit (6) configured to operate said self-driving means (5) depending on a map of the positioning areas (Z); - automatic gripping and positioning means (10) adapted to grasp one of the poles (P) and to position it where the relevant positioning area (Z) is located; - scanning means (19) configured to detect at least one datum representative of the number of poles (P) and at least one datum of position of each of the poles (P) on the holding means (4), the processing and control unit (6) being configured to process the data and to operate the automatic gripping and positioning means (10) depending on the data.

REMOTELY CONTROLLING A MOTOR VEHICLE

Nº publicación: EP4674731A1 07/01/2026

Solicitante:

BAYERISCHE MOTOREN WERKE AG [DE]
Bayerische Motoren Werke Aktiengesellschaft

EP_4674731_PA

Resumen de: EP4674731A1

A control device (110) for a motor vehicle (105) is proposed, the control device (110) comprising a radio beacon (150) that is disposed at a fixed location outside the motor vehicle (105); and a control unit (140) with a storage (145) for holding a digital car key for said motor vehicle (105). The control unit is adapted to determine a position (165) of the vehicle (105) relative to said radio beacon (150); to determine a destination (155) for said vehicle (105); to authenticate against the motor vehicle (105) using said digital car key; to determine a movement control signal such that the vehicle (105) may move itself from the determined position (165) to the destination (155); and to transmit said movement control signal to said motor vehicle (105).

traducir