Ministerio de Industria, Turismo y Comercio LogoMinisterior
 

Alerta

Resultados 25 resultados
LastUpdate Última actualización 02/01/2026 [07:16:00]
pdfxls
Solicitudes publicadas en los últimos 45 días / Applications published in the last 45 days
Resultados 1 a 25  

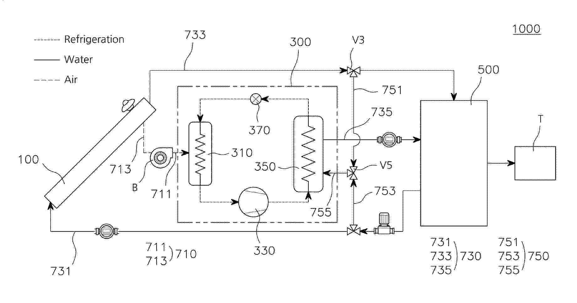
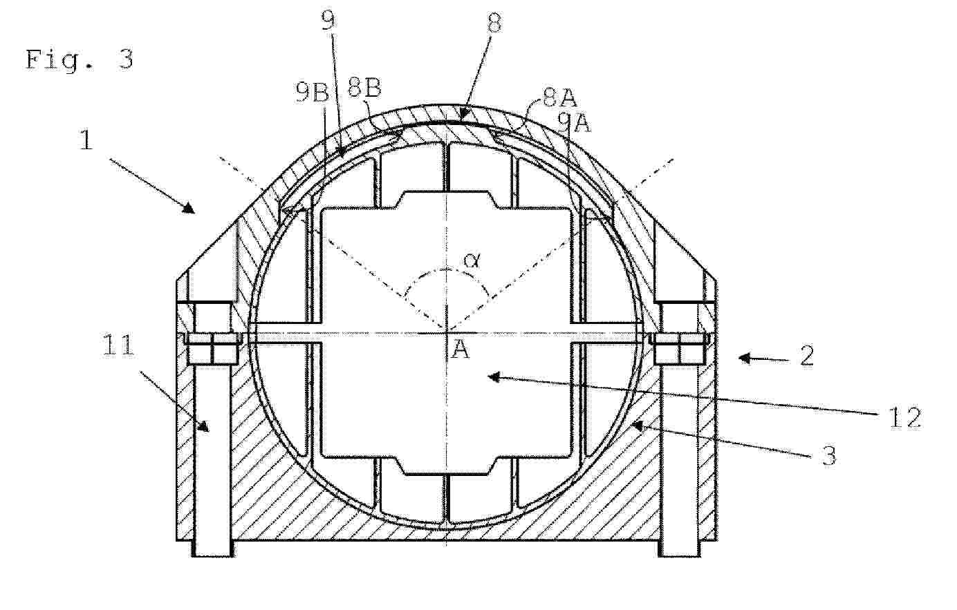
Calentador solar cuatricapa de conservación térmica optimizada y resistencia mecánica mejorada

NºPublicación:  CO2025013262A2 19/12/2025
Solicitante: 
ROMAN RUIZ JOSE MARIA DE JESUS [MX]
ROM\u00C1N RU\u00CDZ, Jos\u00E9 Mar\u00EDa de Jes\u00FAs
MX_2024001848_A

Resumen de: MX2024001848A

The present invention relates to a four-layer solar heater in which the first layer is an internal tank (20) made of surgical stainless steel and having circumferential channels (23), the second layer is a plastic film (30) which is adhered to the outer surface of the internal tank (20), the plastic film (30) consisting of sheets of polyethylene (PE) or polypropylene (PP), the third layer is a thermal insulator (40) made of high-density polyurethane (PU) injected between the two tanks, the thickness of the thermal insulator (40) being between 31 mm and 39 mm, and the fourth layer is an external tank (10) made of linear medium-density polyethylene (LMDPE) with UV stabiliser additives, hexene and azodicarbonamide. The plastic film reduces the expansion and contraction of the internal tank (20), thereby reducing the formation of spaces and cavities between the layer of thermal insulator (40) and the internal tank (20). The layer of plastic film (30) allows better heat conservation in the water located inside the four-layer solar heater (1). In addition to the additives of the layer of the external tank (10) allowing the UV stabilisers to improve the resistance to UV protection, the hexene improves the impact resistance, and the azodicarbonamide acts as an expansion or foaming agent that causes the expansion of the polyethylene (PE) in order to improve the heat conservation in the water located inside the four-layer solar heater (1).

A PHOTOTHERMAL MATERIAL

NºPublicación:  WO2025259186A1 18/12/2025
Solicitante: 
SINGAPORE UNIV OF TECHNOLOGY AND DESIGN [SG]
SINGAPORE UNIVERSITY OF TECHNOLOGY AND DESIGN
WO_2025259186_A1

Resumen de: WO2025259186A1

There is provided a photothermal material, comprising a plurality of layers of two-dimensional phyllosilicate intercalated with a liquid metal. In a particular embodiment, the phyllosilicate is mica and the liquid metal is gallium.

SOLAR PANEL CLIP AND TOOL

NºPublicación:  WO2025260094A1 18/12/2025
Solicitante: 
A K STAMPING COMPANY INC [US]
A.K. STAMPING COMPANY, INC
WO_2025260094_A1

Resumen de: WO2025260094A1

A solar clip is provided having a body with an upstanding surface above the body and depending surfaces below the body. Stops extend between the upstanding surface and the depending surfaces, and an engagement arm extends from the body to above the upstanding surface. The solar clip is formed by stamping. The solar clip includes first and second long edges, and first and second short edges, and the first and second long edges may be hemmed or curled; one upwardly and the other downwardly. A solar clip tool includes a handle, removable attachable guide rods at one side of the handle, a removably attachable prong at the same side of the handle, and a tool interface at the opposite side of the handle. The guide rods can be removed and replaced with grips.

SYSTEM AND METHOD FOR THERMAL ENERGY STORAGE

NºPublicación:  US2025382902A1 18/12/2025
Solicitante: 
NOOTER/ERIKSEN INC [US]
NOOTER/ERIKSEN, INC
MX_2024012257_A

Resumen de: US2025382902A1

A system and method for efficiency and revitalization of power plant assets allows for existing fossil fuel burning power plants to operate in tandem with renewable power sources and to operate at a consistent base load. The system and method reduce fossil fuel burning power plant power/load cycling and improve efficiency, increase power plant useful lifetime, and reduce emissions. The system and method allow for substantially consistent power output regardless of power demand and power supply generation from existing fossil fuel burning power plants and renewable energy sources supplying a common grid.

Selbstfahrende Reinigungsvorrichtung

NºPublicación:  DE102024117145A1 18/12/2025
Solicitante: 
JAEGER ANTON [DE]
J\u00E4ger, Anton

Resumen de: DE102024117145A1

Die Erfindung betrifft eine selbstfahrende Reinigungsvorrichtung zum Reinigen von Flächen, umfassend zwei in einer Längsrichtung voneinander beabstandete und in einer Querrichtung parallel zueinander verlaufende Reinigungseinheiten, die jeweils zumindest ein langgestrecktes Reinigungsorgan umfassen, zwischen den Reinigungseinheiten zwei parallel zu den Reinigungseinheiten verlaufende, in Längsrichtung voneinander und von den Reinigungseinheiten beabstandete Tragstangen, die jeweils einteilig oder segmentiert ausgebildet sind, vier Haltearme, die jeweils eines der Reinigungsorgane und die nächstliegende Tragstange an deren freien Endbereichen miteinander verbinden, zumindest drei Funktionsmodule, nämlich zumindest zwei Fahrmodule und zumindest ein Steuermodul, die auf die Tragstangen aufgeschoben sind, wobei die Fahrmodule dazu ausgebildet sind, die Reinigungsvorrichtung auf einer zu reinigenden Fläche zu bewegen, und wobei das Steuermodul dazu ausgebildet ist, die Fahrmodule zu steuern.

Dachkonstruktion, erstes Dachkonstruktionspaar, Konstruktionsausbau und Bausystem

NºPublicación:  DE102024117129A1 18/12/2025
Solicitante: 
FREE E GMBH & CO KG [DE]
Free-e GmbH & Co. KG

Resumen de: DE102024117129A1

Die vorliegende Erfindung betrifft eine Dachkonstruktion, umfassend eine im wesentlichen rechteckrahmenförmige Trägereinheit und zwei Stützgruppen, ein erstes Dachkonstruktionspaar, umfassend eine erfindungsgemäße Dachkonstruktion und eine weitere erfindungsgemäße Dachkonstruktion, ein Konstruktionsanbau und ein Bausystem, umfassend mindestens eine erfindungsgemäße Dachkonstruktion und/oder mindestens ein erfindungsgemäßes erstes Dachkonstruktionspaar.Die Erfindung stellt damit eine optimierte Kombination von Solarenergienutzung und der Funktion als Gebäude dar.

SOLAR THERMAL PROCESSING OF AGRICULTURAL PRODUCTS

NºPublicación:  EP4662449A1 17/12/2025
Solicitante: 
LIGHTMANUFACTURING INC [US]
Lightmanufacturing, Inc
AU_2024225419_PA

Resumen de: MX2025009945A

An agricultural product processing (roasting) system that uses solar power as the primary heat source. An embodiment includes two rotating hollow chambers for containing agricultural products, such as beans or nuts, during a roasting session. An array of heliostats concentrates reflected solar radiation onto the surface of each hollow chamber, typically one chamber at a time, while the other chamber is cooling or being serviced. The rotational velocity is controlled to ensure even heating from the solar heliostat array, and temperature and humidity sensors may be used to monitor and control the system. Various actuators control the rotational velocity, the opening or closing of vents or perhaps louvers, the directional pointing of the heliostat array, and the opening of a door to empty the hollow chamber after processing.

Terrasse mobile pour bassin, équipée pour contrôler des caractéristiques de l’eau du bassin

NºPublicación:  FR3162776A1 05/12/2025
Solicitante: 
MERICAN FRANCK [FR]
MERICAN Franck
FR_3162776_PA

Resumen de: FR3162776A1

Un dispositif mobile de couverture pour bassin, configuré pour prendre une position fermée selon laquelle une surface du bassin est recouverte par le dispositif et une position ouverte selon laquelle la surface du bassin n’est pas recouverte par le dispositif, le dispositif comprenant des moyens de déplacement (200, 205) configurés pour déplacer ledit dispositif de l’une des positions ouverte et fermée à l’autre des positions ouverte et fermée, des moyens de contrôle (210) d’au moins une caractéristique d’eau contenu dans le bassin et des moyens de transfert (215, 225) configurés pour transférer de l’eau entre le bassin et les moyens de contrôle lorsque le dispositif est dans la position fermée. Figure pour l’abrégé : Figure 2

THERMAL ENERGY STORAGE BIN FOR A HIGH TEMPERATURE, PARTICLE-BASED SOLAR POWER PLANT

NºPublicación:  WO2025250053A1 04/12/2025
Solicitante: 
KING SAUD UNIV [SA]
KING SAUD UNIVERSITY
WO_2025250053_PA

Resumen de: WO2025250053A1

A thermal energy storage (TES) bin assembly for a high temperature, particle-based solar power plant, the TES bin assembly including a TES bin for storing hot particles therein and a feeder assembly configured to insert the hot particles inside of the TES bin. The TES bin has a base, a lid separated from the base, and a hollow body extending between the base and the lid. The hollow body is made of a plurality of cylindrically shaped structures. The innermost cylindrically shaped structure defines an interior of the TES bin together with the lid and the base. The innermost cylindrically shaped structure is made with abrasion resistant bricks. A second cylindrically shaped structure is made of an insulating material and surrounds the second structure. A third cylindrically shaped structure surrounds the second structure and includes expansion joints. The base has a funnel shape and the lid has a removable component.

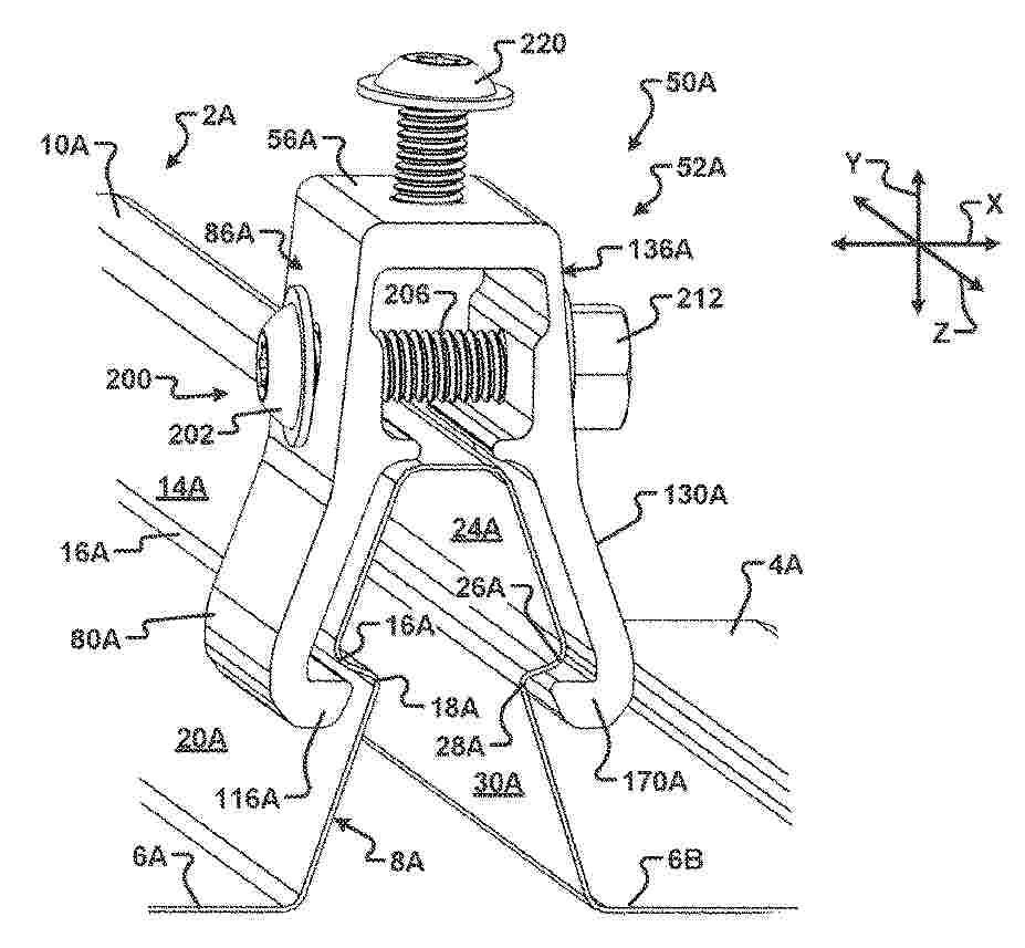
CLAMPING ELEMENT FOR SOLAR PANELS

NºPublicación:  EP4655539A1 03/12/2025
Solicitante: 
ENSTALL EUROPE B V [NL]
Enstall Europe B.V
WO_2024158283_PA

Resumen de: WO2024158283A1

The invention relates to a clamping element (101, 201) configured engaging at least part of an edge of a solar panel and a system comprising such clamping element (101, 201) and at least one support structure (20) for supporting at least part of at least one solar panel.

STRUCTURE SYSTEMS, FRAME SYSTEMS, POST AND FRAME COMPONENTS, AND RELATED METHODS

NºPublicación:  EP4655538A1 03/12/2025
Solicitante: 
INFINITY RACK LLC [US]
Infinity Rack LLC
WO_2024159230_A1

Resumen de: WO2024159230A1

The present subject matter relates to structure systems, including structures with integrated solar racking systems, frame systems, post and frame components, and related methods. In particular, the present subject matter relates to posts and frame components that form a frame system that can be used to support a roofing system. The frame system and roofing system can forma structure system. The roofing systems can include integrated solar panels in the roofing structure and/or support the use of insulated roofing panels for non-solar applications to form a roofing system for a building, a structure, or a canopy.

RAMMED SOLAR TRACKER FOUNDATIONS

NºPublicación:  WO2025244831A1 27/11/2025
Solicitante: 
NEXTRACKER LLC [US]
NEXTRACKER LLC
WO_2025244831_PA

Resumen de: WO2025244831A1

A method for installing a solar tracker A-frame foundation includes: placing a first pile at a first location along a ground surface; placing a second pile at a second location along the ground surface, the second location spaced apart from the first location; simultaneously ramming the first pile into the ground surface at the first location and ramming the second pile into the ground surface at the second location; and after simultaneously ramming the first and second piles into the ground surface, coupling a first leg of a solar tracker A-frame support to the first pile and coupling a second leg of the solar tracker A-frame support to the second pile.

THERMAL ENERGY STORAGE

NºPublicación:  AU2024271974A1 27/11/2025
Solicitante: 
MAGALDI POWER S P A
MAGALDI POWER S.P.A
AU_2024271974_PA

Resumen de: AU2024271974A1

A thermal energy storage and exchange device (100) comprising: - an external casing made of metal carpentry (1), - a fluidizable bed of particles (4), - metal separation means (3), peripheral to the bed of particles, and distant from 5 the walls of the external casing so as to create a hollow volume (20), - an amount of stationary particles (2) filling-in said hollow volume, - means (5) for heating the fluidized bed, in configuration so that the metal separation means allows the tightness of the fluidization air and the section of stationary particles, nor fluidized nor aerated, acts as thermal insulation.

Carbon dioxide engine by utilising ambient heat and high-pressure sink

NºPublicación:  GB2641224A 26/11/2025
Solicitante: 
VINOD KIZHAKETHALACKAL RAJAN [GB]
Vinod Kizhakethalackal Rajan
GB_2641224_PA

Resumen de: GB2641224A

A Carbon dioxide (CO2) engine used to generate energy comprising: a piston 7 in a piston chamber 22 driven via the expansion of carbon dioxide 21 when it changes phase from a liquid to a gas using ambient air as a heat source; and conduits 25 for transferring the gaseous carbon dioxide to a heat exchanger 16 to transform the carbon dioxide back into a gas via condensation. The heat exchanger can be used for energy generation by using the vacuum created by the change in fluid from a gas to a liquid. The absorbed heat from the sink can be amplified by using a refrigerator 12 and fed to the heat source.

BALLASTED STRUCTURE FOR SOLAR PANELS

NºPublicación:  EP4652413A1 26/11/2025
Solicitante: 
HELIOSLITE [FR]
Helioslite
WO_2024153706_PA

Resumen de: WO2024153706A1

The invention relates to a system and facility for collecting solar energy, this system and facility being versatile which means that it can be installed, in particular, on flat roofs without mounts or adhesives, or heavy lifting equipment. According to the invention, each system comprises two rigid-frame solar panels and two cylindrical support members each having: - an elongate hollow body (210) intended to receive a ballast; and - two end caps (220) of the hollow body, each comprising a vertical rigid wall capable of supporting the weight of the solar panels and a portion for the attachment of the solar panels, such that the solar panels are supported on the ground (S) by the end caps.

CLAMP ASSEMBLY USING PINS

NºPublicación:  US2025354649A1 20/11/2025
Solicitante: 
PMC IND INC [US]
PMC Industries, Inc
US_2025354649_PA

Resumen de: US2025354649A1

A clamp assembly includes a mounting body with a slot configured to receive a standing seam used in metal wall panel, cladding, and roof systems and a pin-based fastening system. The fastening system includes push pins that translate through pin openings to engage the standing seam when force is applied by a fastening element through a washer. The translational movement of the pins creates secure clamping force while distributing loads across the seam profile. The clamp assembly may accommodate various standing seam configurations and may resist loosening due to thermal cycling and vibration.

MOUNTING DEVICE FOR A METAL PANEL

NºPublicación:  AU2024255300A1 20/11/2025
Solicitante: 
RMH TECH LLC
RMH TECH LLC
AU_2024255300_PA

Resumen de: AU2024255300A1

A mounting system selectively engageable to a panel projection extending from a metal panel defining a surface of a building. The mounting system comprises a mounting device with a body with a wall. First and second legs extend from the wall and are flexible with respect to the wall. The first leg comprises a first aperture that is unthreaded and which has a first interior diameter. The second leg comprises a second aperture which has a second interior diameter that is less than the first interior diameter. The second aperture may optionally be threaded. The mounting system further comprises a clamping fastener with a shaft that may extend into the first aperture and out of the second aperture. The clamping fastener may be tightened to draw the first and second legs together to engage the panel projection and removably secure the mounting device to the panel projection.

GROUND SCREW ADAPTOR FOR SOLAR PANEL SUPPORT STRUCTURE

NºPublicación:  US2025354723A1 20/11/2025
Solicitante: 
FLEXRACK BY QCELLS LLC [US]
FLEXRACK by Qcells LLC
US_2023012937_PA

Resumen de: US2025354723A1

An adaptor for connecting a ground screw to an upright beam of a solar panel support assembly includes (a) a cylindrical connector having an open ground-screw receiving bottom end and a top end, the cylindrical connector having an inner circumferential surface with a diameter slightly larger than that of the ground screw and at least two sets of bolt holes, each set of bolt holes including at least three bolt holes uniformly distributed circumferentially about the cylindrical connector at an axial level, and the at least two sets of bolt holes being axially distanced from one another; (b) an intermediate plate having a top surface and a bottom surface fixed to the top end of the cylindrical connector; and (c) an upright beam connector fixed to the top surface of the intermediate plate and extending upward from the intermediate plate.

ENERGY STORAGE SYSTEM AND METHOD OF OPERATING SAME

NºPublicación:  US2025347427A1 13/11/2025
Solicitante: 
BOOY DANIEL JAMES [CA]
BOOY Daniel James
WO_2023235990_PA

Resumen de: US2025347427A1

An energy storage system and method for operating same are provided. The system comprises a first heat exchanger for heating a first heat transfer fluid in fluid communication with a ground heat exchanger and a heat pump; and a first circulation device for circulating the first heat transfer fluid. An energy collector is in fluid communication with the first heat exchanger for transferring energy collected by an energy collector to the first heat exchanger with a second heat transfer fluid circulate by a second circulation device. A controller actuates the first and second circulation devices to circulate the first and second heat transfer fluids. If temperature sensor data of the first and second heat transfer fluids entering the first heat exchanger is above a threshold valve, the controller continues to actuate first and second circulation devices to circulate the first and second heat transfer fluids.

ΡΟΜΠΟΤΙΚΗ ΜΕΘΟΔΟΣ ΚΑΘΑΡΙΣΜΟΥ ΣΕΙΡΑΣ ΦΩΤΟΒΟΛΤΑΪΚΩΝ ΠΑΝΕΛ

NºPublicación:  GR20240200470U 12/11/2025
Solicitante: 
ALATSATHIANOS ALEXANDROS STAMATI [GR]
\u0391\u039B\u0391\u03A4\u03A3\u0391\u0398\u0399\u0391\u039D\u039F\u03A3, \u0391\u039B\u0395\u039E\u0391\u039D\u0394\u03A1\u039F\u03A3 \u03A3\u03A4\u0391\u039C\u0391\u03A4\u0397

Resumen de: GR20240200470U

Η εφεύρεση αφορά σε οικολογική μέθοδο καθαρισμού σειράς φωτοβολταϊκών πάνελ ενός πάρκου παραγωγής ενέργειας χρησιμοποιώντας ρομποτικό σύστημα κυρίως με νερό της βροχής. Κινείται αυτόνομα καθοδηγούμενο από πληθώρα αισθητηρίων στηριζόμενο πάνω στα μεταλλικά άκρα των πάνελ στη διεύθυνση του άξονα Χ, ενώ μια περιστρεφόμενη βούρτσα καθαρίζει τις γυάλινες επιφάνειες στη διεύθυνση του άξονα Υ κάθετα προς τον άξονα Χ. Όταν καθαρίσει όλα τα πάνελ επιστρέφει και παρκάρει σε μόνιμη σταθερή βάση στην αφετηρία παραπλεύρως των πάνελ. Σύμφωνα με τη μέθοδο ενσωματωμένο ρολόι πραγματικού χρόνου φροντίζει για την αυτόματη λήψη χρονικών αποφάσεων εκκίνησης υγρού καθαρισμού, ή εκκίνησης στεγνού καθαρισμού κατά τη διάρκεια της νύχτας για μη παρακώλυση της παραγωγής. Σύμφωνα με την ως άνω μέθοδο ενσωματώνεται επιπρόσθετα

SYSTEM FOR TRACKING SOLAR PANELS TO A POSITION OF THE SUN, AND METHOD FOR PRODUCING THE SYSTEM

NºPublicación:  WO2025228484A1 06/11/2025
Solicitante: 
STABILUS GMBH [DE]
ACE STOSSDAEMPFER GMBH [DE]
STABILUS GMBH,
ACE STOSSD\u00C4MPFER GMBH
WO_2025228484_PA

Resumen de: WO2025228484A1

The invention relates to a system (100) for tracking solar panels with respect to the position of the sun, the system (100) comprising a support surface (110) for the solar panels; a column (120) for supporting the support surface (110); an axis of rotation (130), wherein the support surface (110) is mounted on the column (120) so as to be rotatable about the axis of rotation (130); and two hydraulic dampers (140), each acting linearly along a stroke axis, for damping a rotation of the support surface (110) relative to the column (120) about the axis of rotation (130), wherein the dampers (140) are connected to the support surface (110) and to the column (120) such that, when the support surface (110) rotates in a first direction of rotation, a first damper (140a) of the dampers (140) is compressed along the stroke axis thereof, while a second damper (140b) of the dampers (140) is elongated along its stroke axis. The dampers (140) damp a compression of the dampers (140) along their stroke axis with a compressive damping force and an elongation of the dampers (140) along the stroke axis thereof with a tensile damping force, wherein the compressive damping force is negligibly small compared to the tensile damping force. The invention also relates to a method for producing the system (100).

SYSTEM AND METHOD OF AGROPONIC CULTIVATION

NºPublicación:  US2025338804A1 06/11/2025
Solicitante: 
AL TAMIMI & COMPANY [AE]
AL TAMIMI & COMPANY
US_2025338804_PA

Resumen de: US2025338804A1

A grow field configured to support plant or crop cultivation, the grow field having a first end, a second end, a bottom surface and a boundary wall, a first reservoir proximate to the first end of the grow field, wherein the first reservoir is configured to produce a waste nutrient stream, a second reservoir proximate to the second end of the grow field, wherein the second reservoir is configured to act as a settling tank for the produced waste nutrient stream; an Artificial Intelligence (AI) unit in connection with the grow field, reservoirs for providing a feedback for improving a growth rate of the cultivated plants or crops; and a controller in communication with the AI unit for receiving and processing output signals from at least one sensor and sending an assessment of a plurality of monitored parameters to the AI unit, based on the processed output signals.

TOWER-TYPE SOLAR HEAT UTILIZATION SYSTEM

NºPublicación:  WO2025228272A1 06/11/2025
Solicitante: 
COSIN SOLAR TECH CO LTD [CN]
\u6D59\u6C5F\u53EF\u80DC\u6280\u672F\u80A1\u4EFD\u6709\u9650\u516C\u53F8
WO_2025228272_PA

Resumen de: WO2025228272A1

The present application provides a tower-type solar heat utilization system, comprising a heat utilization system and at least two tower-type solar heat collection systems, wherein at least one tower-type solar heat collection system is a characteristic tower-type solar heat collection system; each characteristic tower-type solar heat collection system further comprises a first low-temperature unit and a first low-temperature medium conveying module, and the first low-temperature unit receives, by means of a seventh pipe, a low-temperature heat storage medium outputted by a low-temperature heat storage medium output end of the heat utilization system. By using the design, the low-temperature heat storage medium outputted by the heat utilization system is conveyed in a segmented mode, so that the requirement on a driving capability of a driving device for driving the low-temperature heat storage medium in each seventh pipe to flow is reduced, and the cost is reduced.

TOWER SOLAR HEAT UTILIZATION SYSTEM

NºPublicación:  WO2025228265A1 06/11/2025
Solicitante: 
COSIN SOLAR TECH CO LTD [CN]
\u6D59\u6C5F\u53EF\u80DC\u6280\u672F\u80A1\u4EFD\u6709\u9650\u516C\u53F8
WO_2025228265_PA

Resumen de: WO2025228265A1

A tower solar heat utilization system, comprising a heat utilization system, a primary heat collection system, and at least one secondary heat collection system. The primary heat collection system and each secondary heat collection system each comprise a heat collection module; each heat collection module comprises a heliostat field module (201), a heat absorption module (3), a first high-temperature heat storage unit (6), and a first high-temperature heat storage medium conveying pump module (7); a high-temperature heat storage medium outputted by the heat absorption module (3) is conveyed to the first high-temperature heat storage unit (6) through a first pipe (24); a high-temperature heat storage medium outputted by the first high-temperature heat storage unit (6) is conveyed to the heat utilization system through a second pipe (25); the distance between a high-temperature heat storage medium output end of the first high-temperature heat storage unit (6) of the primary heat collection system and a high-temperature heat storage medium input end of the heat utilization system is smaller than the distance between the high-temperature heat storage medium output end of the first high-temperature heat storage unit (6) of any secondary heat collection system and the high-temperature heat storage medium input end of the heat utilization system; and in each secondary heat collection system, when the flow rates of the high-temperature heat storage media in the first pipe (24) and th

SOLAR POWERED OUTDOOR HEATER

Nº publicación: WO2025229353A1 06/11/2025

Solicitante:

SOLAR POLAR LTD [GB]
SOLAR POLAR LIMITED

WO_2025229353_PA

Resumen de: WO2025229353A1

A solar powered outdoor heater (100) comprises: a heat-collection apparatus configured to collect solar thermal energy and to heat a heat transfer liquid using the collected solar thermal energy; one or more heat-emitters, the one or more heat-emitters containing a conduit for the passage of the heat transfer liquid therethrough, and a heat-emitting surface configured to radiate thermal energy; a frame configured to support the one or more heat-emitters with the heat- emitting surface facing a heat-receiving area; and a pump (P1l, P2) which is operable to pump the heat transfer liquid through the one or more heat-emitters, so that heat is transferred from the heat transfer liquid to the heat-emitters, and the heat-emitters radiate thermal energy towards the heat-receiving area.

traducir