Ministerio de Industria, Turismo y Comercio LogoMinisterior
 

Alerta

Resultados 78 resultados
LastUpdate Última actualización 01/05/2026 [06:46:00]
pdfxls
Solicitudes publicadas en los últimos 30 días / Applications published in the last 30 days
previousPage Resultados 50 a 75 de 78 nextPage  

ENHANCEMENT OF CAR-T CELL EFFICACY BY INHIBITING NR2F6

NºPublicación:  AU2024339935A1 09/04/2026
Solicitante: 
MEDIZINISCHE UNIV INNSBRUCK
AU_2024339935_A1

Resumen de: AU2024339935A1

The invention relates to a modified immune cells for use in the treatment of a solid tumor in a subject, wherein the modified immune cell comprises one or more exogenous nucleic acid molecules encoding a transgenic construct targeting an antigen expressed in a cancerous cell of said solid tumor, in said immune cell, Nuclear Receptor Subfamily 2 Group F Member 6 (NR2F6) activity is inhibited (in comparison to a control immune cell), and binding of the immune cell to the antigen is associated with death of said cancerous cell expressing the antigen, and inducing a secondary immune reaction in the subject against cancerous cells of the solid tumor, wherein said secondary immune reaction is non-specific to the antigen targeted by the transgenic construct (epitope spreading). The invention relates further to a modified immune cell comprising one or more exogenous nucleic acid molecules encoding a transgenic construct targeting an antigen expressed in a cancerous cell of a solid tumor, wherein in said cell, NR2F6 activity and Casitas B-lineage lymphoma proto-oncogene-b (CBLB) activity is inhibited (compared to a control immune cell). The invention relates further to a pharmaceutical composition comprising the modified immune, suitable for the treatment of a solid tumor, comprising additionally a pharmaceutically acceptable carrier, and to an in vitro method for enhancing the cytolytic activity of a modified immune cell.

IMMUNOTOXIN-BASED TARGETED THERAPY FOR CANCER

NºPublicación:  US20260098097A1 09/04/2026
Solicitante: 
THE REGENTS OF THE UNIV OF COLORADO A BODY CORPORATE [US]
US_20260098097_A1

Resumen de: US20260098097A1

0000 Methods of treating various types of cancer, including cutaneous T-cell lymphoma, involve administering a therapeutically effective amount of a pharmaceutical composition containing a genetically engineered C-C motif chemokine receptor 4 bispecific immunotoxin, alone, or in combination with one or more additional therapeutic agents, such as a pharmaceutical composition containing an antibody-drug conjugate.

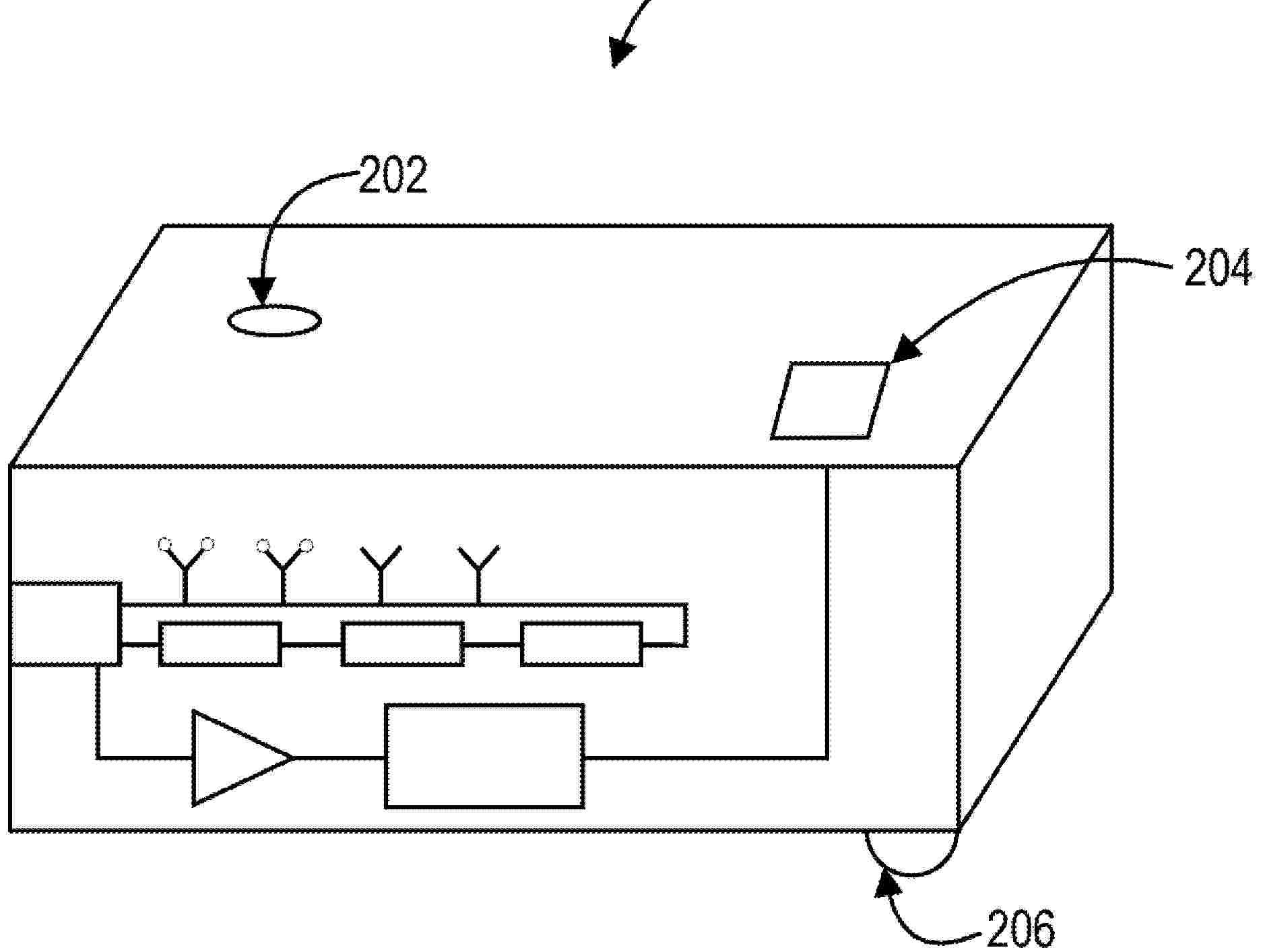
CD19/C22 CAR T-CELL TREATMENT OF HIGH RISK OR RELAPSED PEDIATRIC ACUTE LYMPHOBLASTIC LEUKEMIA

NºPublicación:  US20260097122A1 09/04/2026
Solicitante: 
AUTOLUS LTD [GB]
US_20260097122_A1

Resumen de: US20260097122A1

The present disclosure relates to CD19/22 CAR T-cell products and methods for treating high risk or relapsed CD19+ or CD22+ haematological malignancies.

TREATMENT OF LYMPHOMAS USING AN EZH2 INHIBITOR

NºPublicación:  WO2026076264A1 09/04/2026
Solicitante: 
TREELINE BIOSCIENCES INC [US]
WO_2026076264_A1

Resumen de: WO2026076264A1

Provided here are methods of treating lymphomas for example, peripheral T-cell lymphomas (PTCLs) (e.g., nodal Tfh cell lymphomas) and/or cutaneous T-cell lymphomas (CTCLs) in a subject, by administering to the subject Compound A, or a pharmaceutically acceptable salt thereof. In some cases, the lymphomas are BCL6 positive. In some cases, the lymphomas are relapsed or refractory. In some cases, the subjects are treatment-naïve (i.e., previously untreated).

METHOD FOR ASSESSING CLINICAL STAGE OR PREDICTING PROGNOSIS FOR CHEMOTHERAPY IN DOG WITH LYMPHOMA

NºPublicación:  WO2026075450A1 09/04/2026
Solicitante: 
INDUSTRY ACADEMIC COOPERATION FOUNDATION GYEONGSANG NATIONAL UNIV [KR]
\uACBD\uC0C1\uAD6D\uB9BD\uB300\uD559\uAD50\uC0B0\uD559\uD611\uB825\uB2E8
WO_2026075450_A1

Resumen de: WO2026075450A1

The present invention relates to a method for assessing disease severity or a clinical stage of, or predicting prognosis for chemotherapy in, dogs suffering from lymphoma. According to the present invention, in dogs suffering from lymphoma, it has been confirmed that CD34-positive expression is associated with a higher risk of cranial mediastinal lymph node metastasis and fever compared to CD34-negative expression; and since the CD34-positive expression is classifiable as a clinical disease within the WHO clinical substages, CD34 positivity can serve as an indicator of poor prognosis. In addition, it has been confirmed that MHC class II (MHCII)-positive expression is associated with a higher risk of fever and adverse effects from chemotherapy compared to MHCII-negative expression, and thus can serve as an indicator of favorable prognosis. Accordingly, the present invention may contribute not only to preserving companion dog health and reducing medical expenses for pet owners, but also to improving the quality of veterinary consultations.

USE OF INHIBITORS OF THE N-ACETYLASPARTATE SYNTHETASE FOR THE TREATMENT OF ACUTE MYELOID LEUKEMIAS

NºPublicación:  WO2026074142A1 09/04/2026
Solicitante: 
INSTITUT NATIONAL DE LA SANTE ET DE LA RECH MEDICALE [FR]
CENTRE HOSPITALIER UNIV DE BORDEAUX [FR]
UNIV DE BORDEAUX [FR]
WO_2026074142_A1

Resumen de: WO2026074142A1

OF THE INVENTION USE OF INHIBITORS OF THE N-ACETYLASPARTATE SYNTHETASE FOR THE TREATMENT OF ACUTE MYELOID LEUKEMIAS Acute Myeloid Leukemias (AML) are characterized by the proliferation of immature blood cells, leading to suppression of normal hematopoiesis. Despite existing treatments, resistance and relapse are common. A metabolomic analysis revealed increased N-Acetyl-Aspartate (NAA) levels in leukemic cells compared to normal HSCs, with high NAA levels linked to poor prognosis. The inventors studied the gene NAT8L, responsible for NAA synthesis, and found correlations with patient survival. Using CRISPR-cas9, the inventors targeted NAT8L in AML cell lines and observed that NAA depletion improved response to treatments and increased survival in vivo. Inhibiting NAA synthetase thus represents a therapeutic strategy to enhance chemotherapy efficacy and prevent relapse in AML patients.

IMMUNOTHERAPY

NºPublicación:  WO2026074291A1 09/04/2026
Solicitante: 
THE CHANCELLOR MASTERS AND SCHOLARS OF THE UNIV OF OXFORD [GB]
WO_2026074291_A1

Resumen de: WO2026074291A1

The invention relates to immunotherapy, and to invariant natural killer T (iNKT) cells, and iNKT cell immunotherapy. The invention concerns CAR-iNKT cell immunotherapy, in particular, mono- and bi-specific CAR-iNKT cell immunotherapy, as well as pharmaceutical compositions comprising these iNKT cells, and to their use in therapy, as well as therapies and methods for treating, preventing, or ameliorating cancer or infection. The invention also concerns the treatment of various leukaemias, such as acute lymphoblastic leukaemia (ALL), including infant ALL.

Cancer antigen targets and uses thereof

NºPublicación:  AU2026202107A1 09/04/2026
Solicitante: 
MEMORIAL SLOAN KETTERING CANCER CENTER
AU_2026202107_A1

Resumen de: AU2026202107A1

The presently disclosed subject matter provides methods and compositions for treating myeloid disorders (e.g., acute myeloid leukemia (AML)). It relates to immunoresponsive cells bearing antigen recognizing receptors (e.g., chimeric antigen receptors (CARs)) targeting AML-specific antigens. 5 ar a r

PREDICTION OF AN OUTCOME OF A SUBJECT SUFFERING FROM ACUTE MYOLOID LEUKEMIA

NºPublicación:  EP4722388A1 08/04/2026
Solicitante: 
KONINKLIJKE PHILIPS NV [NL]
EP_4722388_PA

Resumen de: EP4722388A1

The invention relates to a method of predicting an outcome of a subject having AML, the method comprising determining or receiving the result of a determination of six or more gene expression levels selected from a gene signature, and, optionally, providing the prediction to a medical caregiver or the subject. The invention further describes an apparatus and a computer program product configured to prediction outcome of a subject having AML. In addition the invention described the use of a kit in prediction outcome of a subject having AML, and describes a therapy for use in the treatment of AML, the use comprising predicting an outcome of a subject having AML and providing a therapy adapted to the outcome.

USE OF PHARMACEUTICAL COMPOSITION COMPRISING MITOXANTRONE LIPOSOME AND CYTARABINE IN THE TREATMENT OF ACUTE MYELOID LEUKEMIA

NºPublicación:  EP4721734A1 08/04/2026
Solicitante: 
CSPC ZHONGQI PHARMACEUTICAL TECH SHIJIAZHUANG CO LTD [CN]
EP_4721734_A1

Resumen de: EP4721734A1

0001 The use of mitoxantrone liposome combined with cytarabine, or further combined with other drugs, such as homoharringtonine or venetoclax, in the preparation of drugs used for treating acute myeloid leukemia (AML). Provided is a method of treating AML, the method comprising administering to an AML patient a pharmaceutical composition comprising mitoxantrone liposome and cytarabine, wherein the pharmaceutical composition may also comprise homoharringtonine or venetoclax.

USE OF PHARMACEUTICAL COMPOSITION COMPRISING COMPOUND HAVING BIS(AZANYLYLIDENE) SULFONYL STRUCTURE FOR TREATING ANEMIA-RELATED DISEASES

NºPublicación:  EP4721737A1 08/04/2026
Solicitante: 
SCINNOHUB PHARMACEUTICAL CO LTD [CN]
EP_4721737_A1

Resumen de: EP4721737A1

Use of a pharmaceutical composition comprising a new compound comprising diazanylidenesulfonyl structure in the preparation of a medicament for treating anemia-related disease. The anemia-related disease can involve myelodysplastic syndrome (MDS), hemoglobinopathy, sickle cell anemia (SCD), β-thalassemia, hereditary non-spherocytic hemolytic anemia, hemolytic anemia, hereditary spherocytosis, hereditary elliptocytosis, abetalipoproteinemia, paroxysmal nocturnal hemoglobinuria, acquired hemolytic anemia, congenital anemia or anemia of chronic disease.

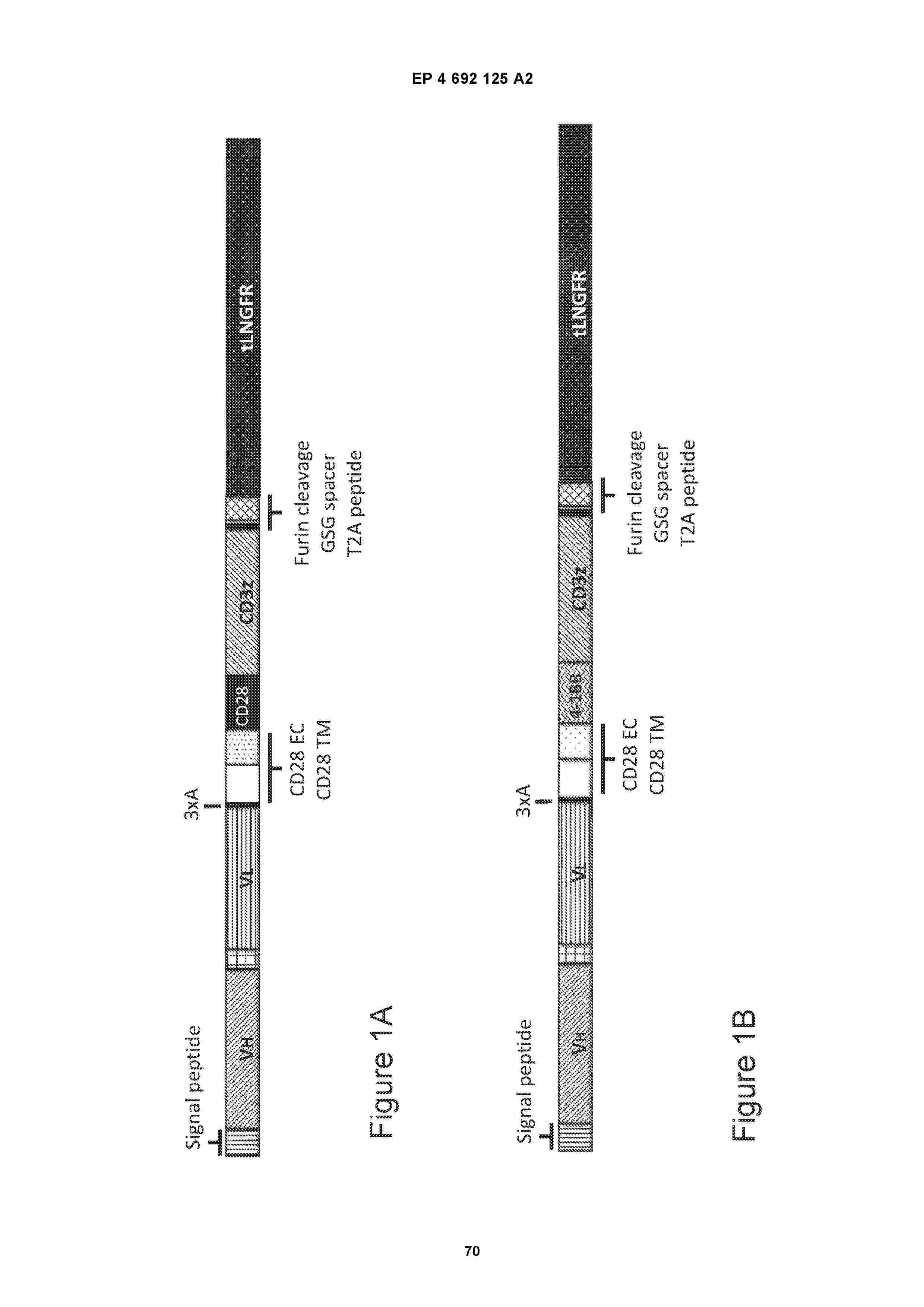
CD19CAR T-CELL TREATMENT OF RELAPSED/REFRACTORY B-CELL ACUTE LYMPHOBLASTIC LEUKAEMIA

NºPublicación:  EP4719463A1 08/04/2026
Solicitante: 
AUTOLUS LTD [GB]
EP_1000000_PA

Resumen de: EP1000000A1

The invention relates to an apparatus (1) for manufacturing green bricks from clay for the brick manufacturing industry, comprising a circulating conveyor (3) carrying mould containers combined to mould container parts (4), a reservoir (5) for clay arranged above the mould containers, means for carrying clay out of the reservoir (5) into the mould containers, means (9) for pressing and trimming clay in the mould containers, means (11) for supplying and placing take-off plates for the green bricks (13) and means for discharging green bricks released from the mould containers, characterized in that the apparatus further comprises means (22) for moving the mould container parts (4) filled with green bricks such that a protruding edge is formed on at least one side of the green bricks.

METHODS FOR TREATING MULTIPLE MYELOMA

NºPublicación:  EP4719604A1 08/04/2026
Solicitante: 
JANSSEN BIOTECH INC [US]
EP_1000000_PA

Resumen de: EP1000000A1

The invention relates to an apparatus (1) for manufacturing green bricks from clay for the brick manufacturing industry, comprising a circulating conveyor (3) carrying mould containers combined to mould container parts (4), a reservoir (5) for clay arranged above the mould containers, means for carrying clay out of the reservoir (5) into the mould containers, means (9) for pressing and trimming clay in the mould containers, means (11) for supplying and placing take-off plates for the green bricks (13) and means for discharging green bricks released from the mould containers, characterized in that the apparatus further comprises means (22) for moving the mould container parts (4) filled with green bricks such that a protruding edge is formed on at least one side of the green bricks.

METHODS FOR THE TREATMENT OF MULTIPLE MYELOMA

NºPublicación:  AU2024390850A1 02/04/2026
Solicitante: 
TENEOONE INC
TENEOONE, INC
AU_2024390850_PA

Resumen de: AU2024390850A1

Methods of treating multiple myeloma by administering a bispecific antibody that binds to CD3 and BCMA to a patient in need are provided.

METHODS FOR TREATING MULTIPLE MYELOMA COMPRISING AN ANTI-CD38 ANTIBODY COMBINED WITH BORTEZOMIB, LENALIDOMIDE AND DEXAMETHASONE

NºPublicación:  AU2024360739A1 02/04/2026
Solicitante: 
JANSSEN BIOTECH INC
JANSSEN BIOTECH, INC
AU_2024360739_PA

Resumen de: AU2024360739A1

The present disclosure is directed to methods of treating multiple myeloma. The present disclosure is directed to methods of treating newly diagnosed multiple myeloma in a subject in need thereof, for example, by subcutaneously administering to the subject a pharmaceutical composition comprising an anti-CD38 antibody in combination with bortezomib, lenalidomide, and dexamethasone.

CULTURE MEDIUM FOR INDUCED HYPOBLAST STEM CELLS AND USE THEREOF

NºPublicación:  WO2026067824A1 02/04/2026
Solicitante: 
NOVAREACH INC [CN]
\u73E0\u6D77\u5E02\u6A2A\u7434\u661F\u6E90\u62D3\u754C\u751F\u7269\u6280\u672F\u6709\u9650\u516C\u53F8
WO_2026067824_A1

Resumen de: WO2026067824A1

The present invention belongs to the technical field of stem cells. Provided are a culture medium for induced hypoblast stem cells and the use thereof. Provided is a culture medium for induced hypoblast stem cells. The components of the culture medium comprise platelet-derived growth factor AA, a leukemia inhibitory factor, fibroblast growth factor 4, GSK-3α/β inhibitor CHIR99021, TGF-β type I receptor inhibitor A83-01, and bone morphogenetic protein 4. The culture medium for induced hypoblast stem cells can accurately regulate the activity of key signaling pathways such as NODAL, BMP, WNT, FGF, and JAK/STAT in the process of somatic cell reprogramming, and ensure that the properties of hypoblast stem cells are maintained in the process of somatic cell reprogramming to support the self-renewal and hypoblast lineage induction of somatic cells in the reprogramming process, thereby realizing the fate transition of somatic cells to hypoblast stem cells.

PROGNOSTIC AND TREATMENT RESPONSE PREDICTIVE METHOD

NºPublicación:  WO2026068605A1 02/04/2026
Solicitante: 
NATIONAL UNIV OF SINGAPORE [SG]
CLEGG RICHARD IAN [GB]
WO_2026068605_A1

Resumen de: WO2026068605A1

The present disclosure provides methods of predicting whether a subject is at risk of developing resistance to a treatment for chronic myelogenous leukaemia (CML) and/or progressing to blast crisis phase, wherein the subject has CML or has been diagnosed with CML. The present disclosure also provides methods of selecting a subject for treatment with a given therapy, wherein the subject has chronic myelogenous leukaemia (CML) or has been diagnosed with CML. The present disclosure also provides kits useful for performing said methods.

IMMUNE MODULATING THERAPY USING UC-MSC-CM TO INHIBIT TUMOR GROWTH

NºPublicación:  WO2026069350A2 02/04/2026
Solicitante: 
ADVANCED CENTRE FOR TREAT RESEARCH & EDUCATION IN CANCER ACTREC [IN]
OCT THERAPIES AND RES PVT LTD [IN]
WO_2026069350_A2

Resumen de: WO2026069350A2

An Umbilical cord derived mesenchymal stem cell (UC-MSC) conditioned media (UC- MSC-CM) composition of the range from 5%-100% possessing immunomodulatory effect inhibiting tumour growth when administered intraperitoneally and intravenously. MSC- CM arrests cell cycle in leukaemia cells (K-562 and HL-60), lung cancer cells (A549 and HOP-62), breast cancer cells (MDA-MB-231 and MCF-7) and cervical cancer cells (HeLa). Elevated levels of IL-6, TIM3 and TIMP2 in MSC-CM confer to its immunomodulatory function by leading to an increase in expression of activation markers, cytotoxic granules, mucosal associated invariant T cells and decreasing the inflammasome pathway activation, consequently decreasing the levels of innate immune inflammasome pathway molecules in treated xenograft tumor tissues. MSC-CM as an adjunct with IL-12 augments cytotoxic potential against cancer cell lines. Tumor inhibition effect of MSC-CM is shown by significant reduction of relative tumor volume which is expressed by fold change of genes involved in various pathways affecting xenograft tumor growth.

METHODS OF TREATING T-CELL LARGE GRANULAR LYMPHOCYTIC LEUKEMIA

NºPublicación:  WO2026072990A1 02/04/2026
Solicitante: 
ABCURO INC [US]
WO_2026072990_A1

Resumen de: WO2026072990A1

The present disclosure relates to methods of treating T-cell large granular lymphocytic leukemia (T-LGLL) with antibodies, or antigen-binding fragments thereof, that specifically bind to killer cell lectin-like receptor G1 (KLRG1), and methods for maintaining remission of T-cell large granular lymphocytic leukemia in a patient.

ANTIBODIES FOR MULTIPLE MYELOMA TREATMENT

NºPublicación:  WO2026072888A1 02/04/2026
Solicitante: 
THE TRUSTEES OF INDIANA UNIV [US]
LONZA WALKERSVILLE INC [US]
WO_2026072888_A1

Resumen de: WO2026072888A1

Cell surface polypeptides SEMA-4A and FCRL3 have been identified as being associated with multiple myeloma. Accordingly, these peptides represent targets for immuno-based therapeutic strategies for treating multiple myeloma. Antibodies that specifically binds to one of these polypeptides can be used to treat multiple myeloma. Accordingly, new compositions and methods utilizing novel antibodies that target SEMA-4A and FCRL3 are described.

MULTIMERIC IL-15 SOLUBLE FUSION MOLECULES AND METHODS OF MAKING AND USING SAME

NºPublicación:  US20260092097A1 02/04/2026
Solicitante: 
ALTOR BIOSCIENCE LLC [US]
Altor BioScience, LLC
US_20260092097_A1

Resumen de: US20260092097A1

The present invention features compositions and methods featuring ALT-803, a complex of an interleukin-15 (IL-15) superagonist mutant and a dimeric IL-15 receptor α/Fc fusion protein useful for enhancing an immune response against a neoplasia (e.g., multiple myeloma, melanoma, lymphoma) or a viral infection (e.g., human immunodeficiency virus).

FBXO21 MEDIATED P85a UBIQUITYLATION AS A THERAPEUTIC TARGET IN CANCER

NºPublicación:  WO2026072967A1 02/04/2026
Solicitante: 
UNIV OF UTAH RESEARCH FOUNDATION [US]
NATARAJAN AMAR [US]
WO_2026072967_A1

Resumen de: WO2026072967A1

The present disclosure is concerned with compounds and compositions for use in the prevention and treatment of cancer associated with FBOX21 mediated p85a ubiquitination such as, for example, cancer (e.g., sarcoma, a carcinoma, a hematological cancer, a solid tumor, breast cancer, cervical cancer, gastrointestinal cancer, colorectal cancer, brain cancer, skin cancer, prostate cancer, ovarian cancer, thyroid cancer, testicular cancer, pancreatic cancer, liver cancer, endometrial cancer, melanoma, a glioma, leukemia, lymphoma, chronic myeloproliferative disorder, myelodysplastic syndrome, myeloproliferative neoplasm, non-small cell lung carcinoma, renal cancer, lung cancer, colon cancer, cervical cancer, and plasma cell neoplasm (myeloma)). This abstract is intended as a scanning tool for purposes of searching in the particular art and is not intended to be limiting of the present invention.

SYNTHETIC TRIPLEX PEPTIDE NUCLEIC ACID-BASED INHIBITORS FOR CANCER THERAPY

NºPublicación:  US20260092085A1 02/04/2026
Solicitante: 
UNIV OF CONNECTICUT [US]
BETH ISRAEL DEACONESS MEDICAL CENTER INC [US]
University of Connecticut,
Beth Israel Deaconess Medical Center, Inc
US_20260092085_A1

Resumen de: US20260092085A1

A novel peptide nucleic acid (PNA) oligomer capable of forming a PNA/RNA/PNA triplex when binding to its target RNA is described. An anti-micro RNA (miRNA) capable of binding miR-155 was designed based on the novel PNA oligomer and was shown to significantly decrease miR-155 expression in vitro in lymphoma cell lines. In vivo testing in xenograft mouse models resulted in reduced miR-155 expression followed by reduced tumor growth. Methods of making and using the novel PNA oligomer for targeting other coding and noncoding RNAs are described.

SOS1 INHIBITORS FOR USE IN THE TREATMENT OF PHILADELPHIA CHROMOSOME POSITIVE BLOOD CANCERS

NºPublicación:  MX2026002575A 01/04/2026
Solicitante: 
KUMQUAT BIOSCIENCES INC [US]
KUMQUAT BIOSCIENCES INC.
WO_2025059046_PA

Resumen de: MX2026002575A

The present disclosure provides SOS-1 inhibitors, such as bicyclic compounds or macrocyclic compounds, alone or in combination with TKI - resitant to BCR-ABL tyrosine kinase, such as dasatinib or imatinib, for use in the treatment of philadelphia chromosome positive (Ph+) blood cancer, such as CML (chronic myelogenous leukemia, also named chronic myeloid leukemia), Ph+ALL (acute lymphoblastic leukemia) and Ph+AML (acute lymphoblastic lymphoma).

COMPOSITIONS CONTAINING IBRUTINIB

Nº publicación: MX2024010837A 01/04/2026

Solicitante:

JANSSEN PHARMACEUTICA NV [BE]
JANSSEN PHARMACEUTICA NV

Resumen de: MX2024010837A

Discussed herein are pharmaceutical compositions containing Ibrutinib and processes for preparing them. The compositions may be utilized in the treatment of a variety of conditions including, without limitation, B-cell proliferative disorders such as non-Hodgkin lymphoma (diffuse large B cell lymphoma, follicular lymphoma, mantle cell lymphoma or burkitt lymphoma), Waldenstrom macroglobulinemia, plasma cell myeloma, chronic lymphocytic leukemia, lymphoma, or leukemia. These compositions are designed for oral ingestion. The compositions are contained within a capsule such as a standard or sprinkle or in a liquid formulation such as a suspension. In one embodiment, the pharmaceutical composition contains Ibrutinib, a salt, prodmg, or metabolite thereof, microcrystalline cellulose, croscamieliose sodium, sodium lauryi sulfate, and magnesium stearate. In another embodiment, the pharmaceutical composition contains Ibrutinib, a salt, prodrug, or metabolite thereof, microcrystalline cellulose, carboxymethylcellulose sodium, hydroxypropylmethylcellulose, citric acid monohydrate, disodium hy drogen phosphate, sucralose, sodium methyl parahydroxybenzoate, sodium ethyl parahydroxybenzoate, concentrated hydrochloric acid, sodium hydroxide, and water.

traducir