Ministerio de Industria, Turismo y Comercio LogoMinisterior
 

Alerta

Resultados 62 resultados
LastUpdate Última actualización 12/10/2025 [06:45:00]
pdfxls
Solicitudes publicadas en los últimos 30 días / Applications published in the last 30 days
previousPage Resultados 25 a 50 de 62 nextPage  

Uses of Bcl-2 Antagonists for Treating Cancer and Diagnostics Related Thereto

NºPublicación:  US2025302827A1 02/10/2025
Solicitante: 
EMORY UNIV [US]
Emory University
US_2025302827_A1

Resumen de: US2025302827A1

In certain embodiments, this disclosure relates to method of treating and diagnosing cancer by administering a Bcl-2 inhibitor optionally in combination with a mitochondrial complex II inhibitor. In certain embodiments, a subject is diagnosed with, exhibiting symptoms of, or at risk of cancer wherein the cancer is a hematological malignancy such as multiple myeloma, leukemia, or lymphoma.

HETEROCYCLIC COMPOUNDS USEFUL FOR TREATMENT OF CANCERS

NºPublicación:  US2025302842A1 02/10/2025
Solicitante: 
JUBILANT EPIPAD LLC [US]
JUBILANT EPIPAD LLC
US_2025302842_A1

Resumen de: US2025302842A1

Heterocyclic compounds, their stereoisomers and their pharmaceutically acceptable salts are useful in the treatment of many types of cancers, such as cancers of the breast, prostate, pancreatic, gastric, lung, colon, rectum, esophagus cancer, duodenum, tongue, pharynx, liver, kidney, bile duct, uterine body, cervix, ovaries, urinary bladder, and skin. Other cancers to be treated include brain tumor, neurinoma, clear cell carcinoma, non-small cell lung cancer, small cell lung cancer, hemangioma, malignant lymphoma, malignant melanoma, thyroid cancer, bone tumor, vascular fibroma, glioblastoma, Neuroblastoma, sarcoma, neuroendocrine tumors, retinoblastoma, penile cancer, pediatric solid cancer, renal cell carcinoma, lymphoma, myeloma, leukemia, acute myelogenous leukemia (AML), chronic myelogenous leukemia (CML), chronic neutrophilic leukemia (CNL), chronic eosinophilic leukemia (CEL), chronic lymphocytic leukemia (CLL), acute lymphoblastic leukemia (ALL), hairy cell leukemia, cutaneous T-cell lymphoma (CTCL), multiple myeloma (MM), myeloproliferative neoplasms (MPN), Myelodysplastic syndrome (MDS), polycythemia vera (PV), essential thrombocythemia, essential thrombocytosis (ET), and myelofibrosis (MF), and also including their metastases.

POSTBIOTIC-BASED COMPOSITION FOR THE TREATMENT OF TUMORS

NºPublicación:  US2025302895A1 02/10/2025
Solicitante: 
POSTBIOTICA S R L [IT]
HUMANITAS MIRASOLE S P A [IT]
POSTBIOTICA S.R.L,
HUMANITAS MIRASOLE S.P.A
US_2025302895_A1

Resumen de: US2025302895A1

Methods of treatment and/or prevention of tumours, preferably of solid tumours, more preferably of breast cancer, melanoma, bladder cancer, head and neck cancer, Hodgkin's lymphoma, kidney cancer, non-small cell lung cancer using fermented supernatant, or fractions thereof, of the Lactobacillus casei or paracasei species are disclosed. The species is the strain deposited according to the Budapest Treaty with No. CNCM I-5220 and/or includes in its DNA genome a DNA sequence essentially identical to one of: SEQ ID No 1 to 5.

METHODS AND SYSTEMS FOR DETECTING SKIN CONDITIONS

NºPublicación:  WO2025208087A1 02/10/2025
Solicitante: 
DERMTECH LLC [US]
DERMTECH, LLC

Resumen de: WO2025208087A1

Disclosed herein, in certain embodiments, are systems and methods of detecting the presence of a skin condition using a machine learning model based on molecular risk factors. In some instances, the skin condition is cancer, such as cutaneous T cell lymphoma (CTCL). In some cases, the skin cancer can be mycosis fungoides (MF) or Sézary syndrome (SS).

CHOLESTEROL-MODIFIED CATIONIC LIPOSOME TUMOR VACCINE, PREPARATION METHOD THEREFOR, AND USE THEREOF

NºPublicación:  WO2025199993A1 02/10/2025
Solicitante: 
SICHUAN UNIV [CN]
\u56DB\u5DDD\u5927\u5B66

Resumen de: WO2025199993A1

The present invention belongs to the technical field of cancer immunotherapy, and particularly relates to a cholesterol-modified cationic liposome tumor vaccine, a preparation method therefor, and use thereof. In order to solve the problems of poor targeting and strong side effects of TLR agonists in anti-tumor treatment, the present invention provides a cationic liposome prepared from a cholesterol-modified 1V209 molecule, a cationic lipid component, cholesterol, and DSPE-PEG2000, and then the cationic liposome and ovalbumin 5 form the tumor vaccine by electrostatic adsorption. Animal experiments show that the vaccine can induce antigen-specific CD8+ T cells, activate lymphocytes, and generate stronger antigen cross-presentation, more memory T cells, antibodies, and cytokines. Prophylactic inoculation with the vaccine can significantly delay the progression of mouse melanoma and lymphoma and prolong the survival of mice. The combination use of the vaccine and a PD-1 checkpoint inhibitor can further enhance the anti-tumor effect. Therefore, the vaccine is a promising cancer vaccine.

USE OF ABAMETAPIR IN PREPARING ANTITUMOR DRUG

NºPublicación:  WO2025201464A1 02/10/2025
Solicitante: 
CHONGQING CITY MAN COLLEGE [CN]
\u91CD\u5E86\u57CE\u5E02\u7BA1\u7406\u804C\u4E1A\u5B66\u9662
CN_118141815_PA

Resumen de: WO2025201464A1

Abametapir or a pharmaceutically acceptable salt thereof has antitumor activity and significant antitumor effects on gynecological tumors, digestive tract tumors, lung tumors, lymphomas, and the like. Abametapir has a significant inhibitory effect on the growth and development of various human tumor cells and tumors in tumor-bearing mice, and especially has a good inhibitory effect on triple-negative breast cancer. Abametapir or the pharmaceutically acceptable salt thereof has an effective antitumor effect by means of oral administration.

COVALENT INHIBITION OF SARS-COV-2 RNA METHYLATION FOR TREATMENT OF PAN-CORONAVIRAL INFECTIONS

NºPublicación:  WO2025207791A1 02/10/2025
Solicitante: 
BOARD OF REGENTS THE UNIV OF TEXAS SYSTEM [US]
BOARD OF REGENTS, THE UNIVERSITY OF TEXAS SYSTEM

Resumen de: WO2025207791A1

Aspects are directed to a novel small molecule inhibitor of Nsp16 having a chemical formula of (N-9-(2R,3R,4S,5S)-5-(chloromethyl)-3,4-dihydroxy-tetrahydrofuran-2-ylpurin-6-ylprop-2-enamide) (AT501) or analogs thereof. Other aspects are directed to a therapeutic composition comprising AT501 or analogs thereof, further including antiviral compounds or anticancer compounds. Certain aspects are directed to a method of treating Coronavirus infection by administering AT501 or a composition thereof to a subject having or at risk of obtaining a Coronavirus infection caused by SARS-CoV-1 or SARS-CoV-2 virus. Certain aspects are directed to methods of treating cancer by administering AT501 or a composition thereof to a subject having or at risk of developing cancer, such as leukemia.

CDK4 INHIBITORS FOR USE IN THE TREATMENT OF MANTLE CELL LYMPHOMA

NºPublicación:  WO2025202900A1 02/10/2025
Solicitante: 
PFIZER INC [US]
PFIZER INC

Resumen de: WO2025202900A1

This invention relates to therapies for treating mantle cell lymphoma comprising a cyclin dependent kinase 4 (CDK4) inhibitor or a pharmaceutically acceptable salt thereof, and associated methods of treatment, pharmaceutical compositions, and uses thereof.

METHODS FOR PREDICTING ACTIVE DISEASE OR PROGRESSIVE DISEASE UNDER THERAPY IN A SUBJECT SUFFERING FROM CHRONIC LYMPHOCYTIC LEUKEMIA

NºPublicación:  WO2025202279A1 02/10/2025
Solicitante: 
INSTITUT NATIONAL DE LA SANTE ET DE LA RECH MEDICALE [FR]
CENTRE NATIONAL DE LA RECHERCHE SCIENT [FR]
CENTRE HOSPITALIER UNIV DE TOULOUSE [FR]
UNIV PAUL SABATIER TOULOUSE III [FR]
INSTITUT NATIONAL DE LA SANT\u00C9 ET DE LA RECHERCHE M\u00C9DICALE,
CENTRE NATIONAL DE LA RECHERCHE SCIENTIFIQUE,
CENTRE HOSPITALIER UNIVERSITAIRE DE TOULOUSE,
UNIVERSIT\u00C9 PAUL SABATIER - TOULOUSE III

Resumen de: WO2025202279A1

Monitoring active disease or progressive disease under therapy in chronic lymphocytic leukemia (CLL) represents a challenge to earlier and better adapt therapeutic strategy, notably in the era of targeted therapies in which minimal residual detection or mutations are sometimes not associated to poor clinical outcome. By following CLL patients before treatment (Binet stages A and B/C) or during targeted therapy, the Inventors developed a new flow cytometric method, based on CD69, CD49d, CD20 and CD279 expression at the surface of CD19+/CD5+ B leukemic cells. Analyses of these markers alone or in combination show that CD69/CD49d/CD20/CD279 co-expression (quadruple population, QP) > 0.5% is the best criterion predicting CLL active disease or progression under therapy. This new flow cytometry immunophenotyping could help clinicians to monitor CLL evolution and quickly adapt their therapeutic strategy. Accordingly, the present invention relates to an ex vivo method for predicting active Chronic Lymphocytic Leukemia (CLL) or progressive CLL under therapy in a subject suffering from CLL, comprising the step of quantifying a population of CD69+/CD49d+/CD20+/CD279+ cells in a sample obtained from the subject.

METHODS OF CANCER DETECTION BY DISCORDANT METHYLATION IN CFDNA

NºPublicación:  WO2025203031A2 02/10/2025
Solicitante: 
YISSUM RESEARCH DEVELOPMENT COMPANY OF THE HEBREW UNIV OF JERUSALEM LTD [IL]
HADASIT MEDICAL RES SERVICES & DEVELOPMENT LTD [IL]
YISSUM RESEARCH DEVELOPMENT COMPANY OF THE HEBREW UNIVERSITY OF JERUSALEM LTD,
HADASIT MEDICAL RESEARCH SERVICES & DEVELOPMENT LTD

Resumen de: WO2025203031A2

Methods of detecting cancer in a subject in need thereof, comprising ascertaining the methylation status of at least four methylation sites in the same double-stranded cell-free DNA (cfDNA) molecule and detecting the presence of at least two sites that are methylated and at least two sites that are unmethylated in the at least four methylation sites indicating that the subject suffers from cancer are provided. Methods of quantifying molecules of cfDNA and also provided, as are methods of detecting and quantifying plasma cell DNA. Methods of diagnosing multiple myeloma or predicting progression of smoldering multiple myeloma (SMM) or monoclonal gammopathy of undetermined significance (MGUS) to multiple myeloma in a subject are also provided.

LIPID NANOPARTICLE LOADED WITH ANTITUMORAL AGENT AND FUNCTIONNALIZED TO TARGET IMMOSUPPRESSIVE CELLS

NºPublicación:  WO2025202213A1 02/10/2025
Solicitante: 
INSTITUT NATIONAL DE LA SANTE ET DE LA RECH MEDICALE [FR]
UNIV DE BOURGOGNE EUROPE [FR]
INSTITUT NATIONAL DE LA SANT\u00C9 ET DE LA RECHERCHE M\u00C9DICALE,
UNIVERSIT\u00C9 DE BOURGOGNE EUROPE

Resumen de: WO2025202213A1

The present invention relates to lipid nanoparticle loaded with antitumoral agent and functionalized to target immunosuppressive cells. Inventors developpe valrubicin-loaded immunoliposomes (Val-ILs). A small amount of valrubicin incorporated into Val-ILs induces leukemia cell death in vivo, suggesting that Val-ILs could be used to treat acute leukemia cells. Inventors also demonstrated that Val-ILs could reduce the risk of contamination of CD34+ hematopoietic stem cells by acute leukemia cells during autologous peripheral blood stem cell transplantation. They also highlighted the potential of Val-ILs to target immunosuppressive cell populations in the spleen. The most efficient Val-ILs were found to be those loaded with CD11b,CD223, CD64, TIM1, CD200R3, CD204, CD49b, VEGFR2 and SIGLECF antibodies. This study provides the effectiveness and ease of preparation of Val-ILs as a novel nanoparticle technology. In the context of cancers, Val-ILs have the potential to be used as a precise and effective therapy based on targeted vesicle-mediated cell death.

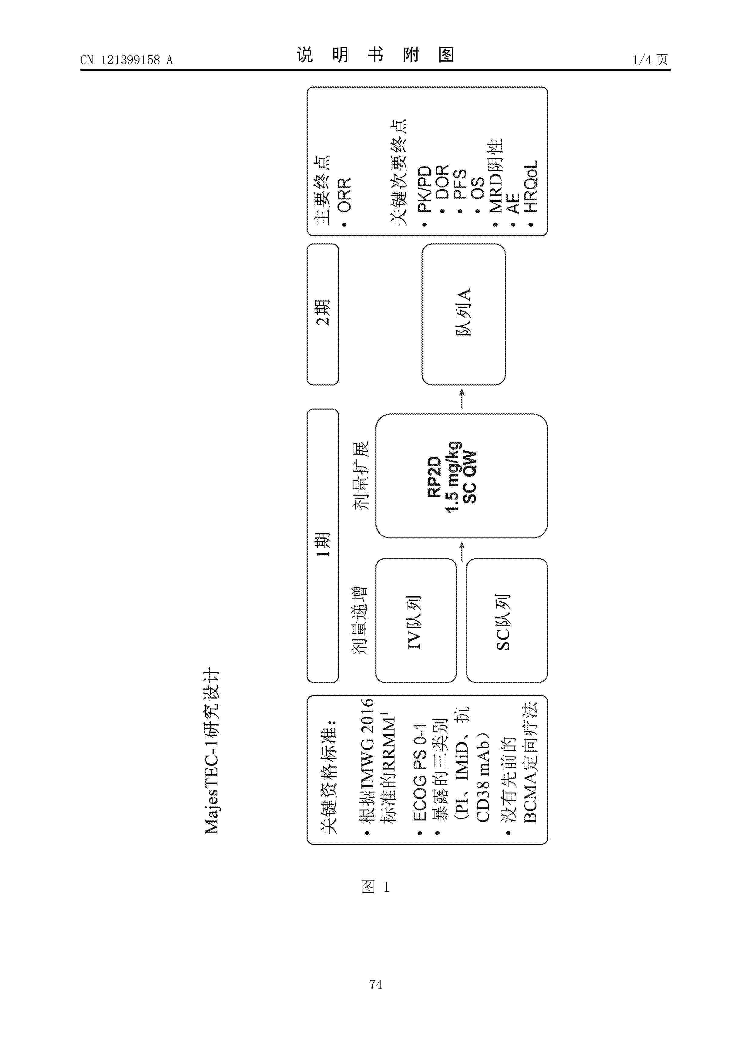
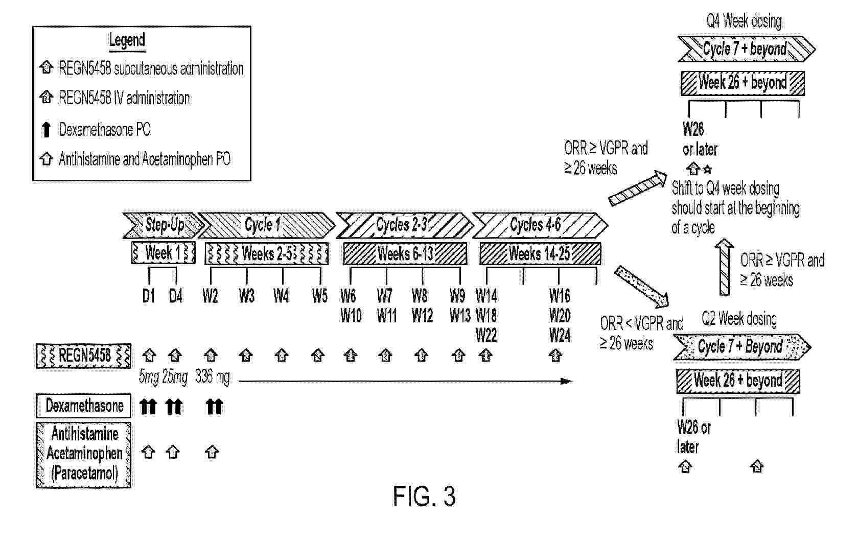
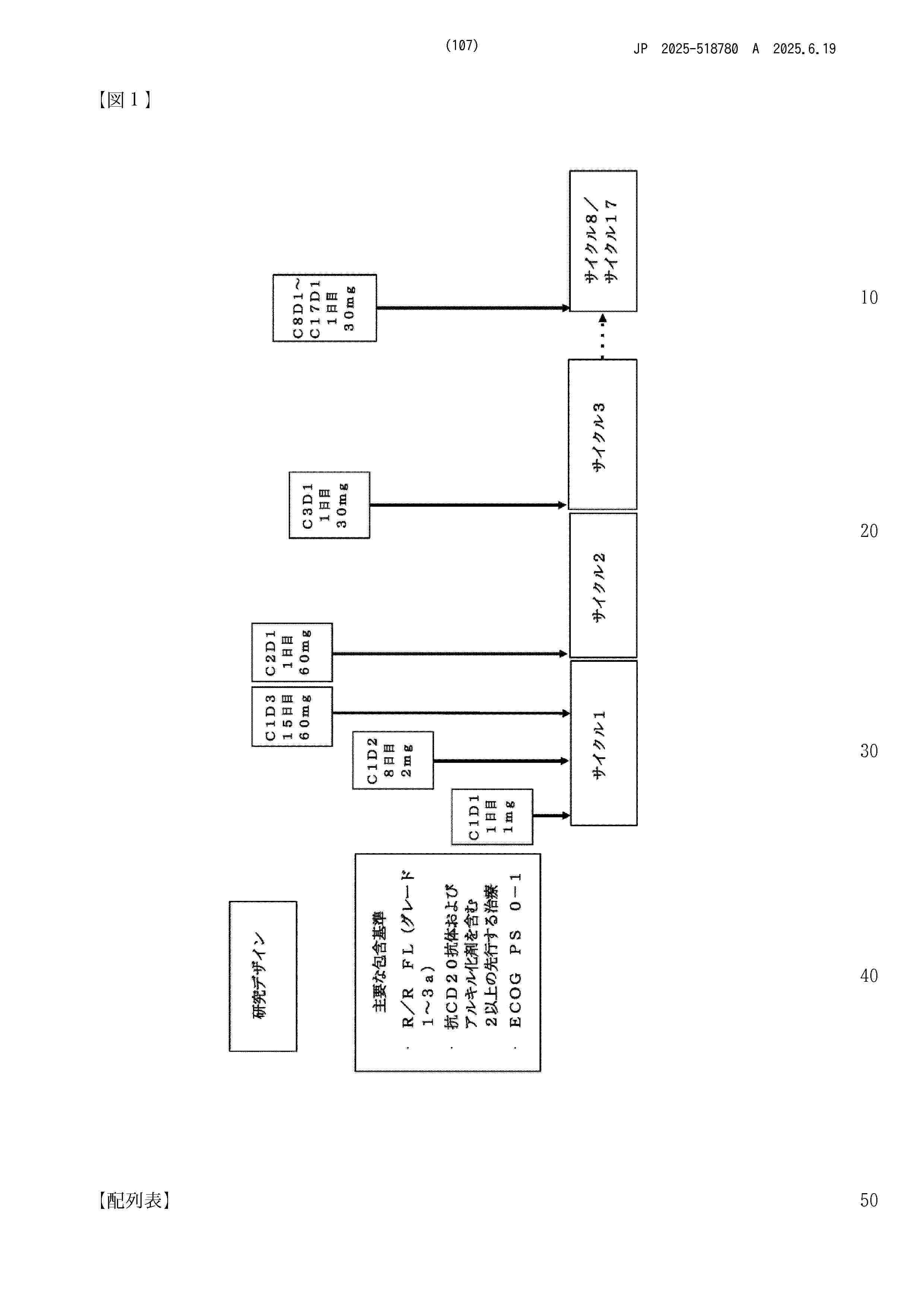
DOSING FOR TREATMENT WITH ANTI-CD20/ANTI-CD3 BISPECIFIC ANTIBODIES IN ELDERLY PATIENTS

NºPublicación:  MX2024014736A 01/10/2025
Solicitante: 
GENENTECH INC [US]
F HOFFMANN LA ROCHE AG [CH]
GENENTECH, INC,
F. HOFFMANN- LA ROCHE AG
JP_2025518780_A

Resumen de: MX2024014736A

The present invention relates to the treatment of elderly subjects (e.g., subjects aged 65 years or older) having relapsed and/or refractory (R/R) non-Hodgkin's lymphoma (NHL). More specifically, the invention pertains to the treatment of subjects having an R/R NHL by intravenous administration of mosunetuzumab.

METHODS OF TREATING MYELODYSPLASTIC SYNDROME AND MONITORING THE TREATMENT

NºPublicación:  MX2025007460A 01/10/2025
Solicitante: 
GERON CORP [US]
GERON CORPORATION
KR_20250131783_PA

Resumen de: MX2025007460A

Methods of monitoring therapeutic efficacy in a subject with myelodysplastic syndrome (MDS) are provided. Also provided is a method of identifying a subject with MDS for treatment with a telomerase inhibitor, and methods of treating MDS. The methods include administering to the subject a telomerase inhibitor and assessing variant allele frequency (VAF) for one or more of the following genes: SF3B1, TET2, DNMT3A, ASXL1, and CUX1 in a biological sample obtained from the subject after administration of the telomerase inhibitor. In some cases, a 25% or more reduction in VAF identifies a subject who has an increased likelihood of benefiting from treatment with a telomerase inhibitor. In some instances, the telomerase inhibitor is imetelstat or imetelstat sodium.

FORMULATIONS AND DOSAGES FOR ADMINISTERING A COMPOUND THAT INHIBITS MCL1 PROTEIN

NºPublicación:  MX2025010313A 01/10/2025
Solicitante: 
AMGEN INC [US]
AMGEN INC
JP_2024112842_A

Resumen de: MX2025010313A

Formulations of compounds of Formula I are provided as are doses and dosing regimens useful in methods of treating cancer including hematological malignances such as acute myelogenous leukemia, multiple myeloma, and non-Hodgkin's lymphoma.

USE OF IL-27 ANTAGONISTS FOR THE TREATMENT OF EBV-DRIVEN B LYMPHOPROLIFERATIVE DISEASES

NºPublicación:  EP4623000A1 01/10/2025
Solicitante: 
INST NAT SANTE RECH MED [FR]
UNIV PARIS CITE [FR]
ASSIST PUBLIQUE HOPITAUX PARIS APHP [FR]
FOND IMAGINE [FR]
CENTRE NAT RECH SCIENT [FR]
Institut National de la Sant\u00E9 et de la Recherche M\u00E9dicale,
Universit\u00E9 Paris Cit\u00E9,
Assistance Publique-H\u00F4pitaux de Paris (APHP),
Fondation Imagine,
Centre National de la Recherche Scientifique
WO_2024110405_A1

Resumen de: WO2024110405A1

Upon EBV infection, the inventors found that IL-27 is produced by infected B lymphocytes and IL27RAIL-27 interaction is required for in vitro maintenance and expansion of EBV-transformed B cells, potentially explaining the favorable outcome of the EBV viral disease in IL27RA-deficient patients. In addition, the inventors identified neutralizing anti-IL27 autoantibodies in individuals who developed sporadic infectious mononucleosis, thus possibly phenocopying the IL27RA deficiency. Collectively, these results demonstrate the critical role of IL27-IL27RA axis in immunity to EBV, but also the hijacking of this defense by EBV to promote expansion of infected cells. The IL27-IL27RA could therefore represent a novel therapeutic target to inhibit EBV-driven B lymphoproliferative diseases.

NOVEL TUMOR-SPECIFIC ANTIGENS FOR LYMPHOID LEUKEMIA AND USES THEREOF

NºPublicación:  EP4623085A1 01/10/2025
Solicitante: 
UNIV MONTREAL [CA]
Universit\u00E9 de Montr\u00E9al
WO_2024108303_A1

Resumen de: WO2024108303A1

Lymphoid leukemia such as acute lymphoblastic leukemia (ALL) represents a devastating disease especially when it occurs in adults. While dose-intensification strategies have led to a significant improvement in outcomes for pediatric patients, prognosis for the elderly remains very poor, with only 30-40% of adult patients with ALL achieving long-term remission. Novel tumor-specific antigens (TSAs) shared by a large proportion of lymphoid leukemia cells are described herein. Most of the TSAs described herein derives from aberrantly expressed unmutated genomic sequences, such as intronic and intergenic sequences, which are not expressed in normal tissues. Nucleic acids, compositions, cells and vaccines derived from these TSAs are described. The use of the TSAs, nucleic acids, compositions, cells and vaccines for the treatment of leukemia such as lymphoid leukemia is also described.

SMALL MOLECULE CEREBLON BINDERS THAT INDUCE THE DEGRADATION OF PROTEINS (KDM4B, VCL) RELEVANT TO CANCER

NºPublicación:  WO2025199151A1 25/09/2025
Solicitante: 
ST JUDE CHILDRENS RES HOSPITAL INC [US]
NEOSPHERE BIOTECHNOLOGIES GMBH [DE]
ST.JUDE CHILDREN'S RESEARCH HOSPITAL, INC,
NEOSPHERE BIOTECHNOLOGIES GMBH

Resumen de: WO2025199151A1

The present disclosure relates to compounds and compositions, and methods of uing the compounds and compositions for inducing the degradation of proteins that are relevant to cancer such as. for example. KDM4B and VCL. Also described are methods of treating cancer (e.g, a sarcoma, a carcinoma, a hematological cancer, a solid tumor, breast cancer, cervical cancer, gastrointestinal cancer, colorectal cancer, brain cancer, skin cancer, prostate cancer, ovarian cancer, non-small cell lung carcinoma, thyroid cancer, testicular cancer, pancreatic cancer, liver cancer, endometrial cancer, melanoma, glioma, leukemia, lymphoma, chronic myeloproliferative disorder, myelodysplastic syndrome, myeloproliferative neoplasm, plasma cell neoplasm (myeloma)) using the disclosed compounds and compositions. This abstract is intended as a scanning tool for purposes of searching in the particular art and is not intended to be limiting of the present disclosure.

DENOSUMAB FORMULATION

NºPublicación:  AU2024232412A1 25/09/2025
Solicitante: 
ALVOTECH HF
ALVOTECH HF
AU_2024232412_A1

Resumen de: AU2024232412A1

An aqueous pharmaceutical formulation having improved stability includes denosumab and a poloxamer, and preferably a histidine buffer and/or sugar or sugar alcohol. The formulation is for use in treating or preventing osteoporosis, loss of bone mass, skeletal-related events associated with multiple myeloma, solid tumor bone metastases, giant cell tumors of the bone or hypercalcemia.

Transmembrane protease, serine 6 (TMPRSS6) iRNA compositions and methods of use thereof

NºPublicación:  AU2025230652A1 25/09/2025
Solicitante: 
ALNYLAM PHARMACEUTICALS INC
ALNYLAM PHARMACEUTICALS, INC
AU_2025230652_A1

Resumen de: AU2025230652A1

22046882_1 (GHMatters) P122730.AU.1 The present invention relates to RNAi agents, e.g., double stranded RNA (dsRNA) agents, targeting the Transmembrane protease, serine 6 (TMPRSS6) gene. The invention also relates to methods of using such RNAi agents to inhibit expression of a TMPRSS6 gene and to methods of preventing and treating a TMPRSS6-associated disorder, e.g., a disorder associated with iron overload and/or a disorder of ineffective erythropoiesis, e.g., hereditary hemochromatosis, β- thalassemia (e.g., β-thalassemia major and β-thalassemia intermedia), polycythemia vera, myelodysplastic syndrome, congenital dyserythropoietic anemias, pyruvate kinase deficiency, erythropoietic porphyria, parkinson’s Disease, Alzheimer’s Disease or Friedreich’s Ataxia. The present invention relates to RNAi agents, e.g., double stranded RNA (dsRNA) agents, targeting the Transmembrane protease, serine 6 (TMPRSS6) gene. The invention also relates to methods of using such RNAi agents to inhibit expression of a TMPRSS6 gene and to methods of preventing and treating a TMPRSS6-associated disorder, e.g., a disorder associated with iron overload and/or a disorder of ineffective erythropoiesis, e.g., hereditary hemochromatosis, ß- thalassemia (e.g., ß-thalassemia major and ß-thalassemia intermedia), polycythemia vera, myelodysplastic syndrome, congenital dyserythropoietic anemias, pyruvate kinase deficiency, erythropoietic porphyria, parkinson's Disease, Alzheimer's Disease or Friedre

METHODS AND USES RELATED TO T CELL THERAPY AND PRODUCTION OF SAME

NºPublicación:  US2025295771A1 25/09/2025
Solicitante: 
CELGENE CORP [US]
Celgene Corporation
JP_2025516629_A

Resumen de: US2025295771A1

Provided herein are uses of T cells, e.g., chimeric antigen receptor (CAR) T cells, for treating a tumor or a cancer (such as B cell related cancer, e.g., multiple myeloma) wherein the subject being treated has previously received a topoisomerase inhibitor, a proteasome inhibitor, an anti-CD38 agent, an immunomodulatory agent, or an anti-SLAMF agent therapy.

COMPOSITIONS AND METHODS FOR TREATING AND/OR CHARACTERIZING HEMATOLOGICAL MALIGNANCIES AND PRECURSOR CONDITIONS

NºPublicación:  US2025299796A1 25/09/2025
Solicitante: 
DANA FARBER CANCER INST INC [US]
THE GENERAL HOSPITAL CORP [US]
Dana-Farber Cancer Institute, Inc,
The General Hospital Corporation
WO_2023019204_PA

Resumen de: US2025299796A1

Provided herein are methods and immune biomarkers that identify progression and treatment options for hematological malignancies (e.g., smoldering multiple myeloma (SMM), monoclonal gammopathy of undetermined significance (MGUS), or multiple myeloma (MM)). Also provided are materials and methods for the prognosis, staging, and monitoring of SMM, MGUS, or MM based on the presence of the immune biomarkers in a sample (e.g., a blood sample or a bone marrow sample), as well as methods for monitoring the progression of SMM, MGUS, or MM, determining the efficacy of a therapeutic agent, determining a treatment for SMM, MGUS (e.g., before progression to MM), or MM, and/or treating SMM, MGUS, or MM. The methods provided herein provide several advantages over invasive biopsies.

MITOCHONDRIOTROPIC HETEROARYL BENZAMIDE POTASSIUM CHANNEL KV1.3 INHIBITORS

NºPublicación:  US2025289837A1 18/09/2025
Solicitante: 
UNIV LJUBLJANI [SI]
MAX PLANCK GESELLSCHAFT [DE]
UNIVERZA V LJUBLJANI,
Max-Planck-Gesellschaft zur F\u00F6rderung der Wissenschaften e.V
US_2025289837_PA

Resumen de: US2025289837A1

The present invention relates to compounds of formula (I), processes for their preparation, and pharmaceutical compositions containing them as the active ingredient. Compounds of the present invention may be useful as mitochondrial KV1.3 inhibitors (mitoKV1.3) to treat cancer diseases and the like, including breast, colon, and prostate tumors, melanoma, smooth muscle, and skeletal muscle cancer, chronic lymphocytic leukemia, glioblastoma, and pancreatic ductal adenocarcinoma.

BCMA-TARGETED CAR-T CELL THERAPY FOR MULTIPLE MYELOMA

NºPublicación:  WO2025193685A1 18/09/2025
Solicitante: 
LEGEND BIOTECH USA INC [US]
JANSSEN BIOTECH INC [US]
LEGEND BIOTECH USA INC,
JANSSEN BIOTECH, INC
WO_2025193685_PA

Resumen de: WO2025193685A1

Provided herein are methods of treating a subject who has multiple myeloma and has received one to three prior treatment(s). Infusions of chimeric antigen receptor (CAR)-T cells comprising a CAR capable of specifically binding to an epitope of BCMA are administered to the subject.

ANTI-TMPRSS6 ANTIBODIES AND USES THEREOF

NºPublicación:  AU2024253832A1 18/09/2025
Solicitante: 
DISC MEDICINE INC
DISC MEDICINE, INC
AU_2024253832_PA

Resumen de: AU2024253832A1

Aspects of the disclosure provide anti-TMPRSS6 antibodies and methods of using the same for promoting hepcidin expression, and treating iron overload associated conditions, such as hemochromatosis, sickle cell disease, thalassemia, hemolysis, Diamond-Blackfan anemia, myelodysplastic syndrome (MDS), blood transfusion.

DIFFERENTIAL ALTERNATIVE SPLICING IN RELAPSED AND REFRACTORY DIFFUSE LARGE-B CELL LYMPHOMA PATIENTS RECEIVING CAR-T THERAPY

Nº publicación: US2025290148A1 18/09/2025

Solicitante:

H LEE MOFFITT CANCER CT & RES [US]
H. LEE MOFFITT CANCER CENTER AND RESEARCH INSTITUTE INC

US_2025290148_PA

Resumen de: US2025290148A1

Disclosed herein is a method for preventing or reversing CAR-T cell resistance and/or radioresistance in a relapsed and refractory diffuse large B-cell lymphoma (R/R DLBCL) of a subject, that involves assaying a sample from the subject for mRNA sequences of genes with roles in DNA damage, apoptosis, immune activation, and/or c-MYC signaling; detecting aberrant splicing in one or more of the mRNA sequences; and administering to the subject an antisense oligonucleotide (ASO) that prevents the aberrant splicing.

traducir