Ministerio de Industria, Turismo y Comercio LogoMinisterior
 

Alerta

Resultados 61 resultados
LastUpdate Última actualización 12/03/2026 [06:45:00]
pdfxls
Solicitudes publicadas en los últimos 30 días / Applications published in the last 30 days
Resultados 1 a 25 de 61 nextPage  

ANTI-TUMOR COMBINATION THERAPY COMPRISING ANTI-CD19 ANTIBODY AND GAMMA DELTA T-CELLS

NºPublicación:  EP4706673A2 11/03/2026
Solicitante: 
INCYTE CORP [US]
Incyte Corporation
EP_4706673_PA

Resumen de: EP4706673A2

The present disclosure is directed to a combination therapy comprising an anti-CD19 antibody or antibody fragment thereof and gamma delta T-cells (γδ T-cells) for use in the treatment of leukemia or lymphoma.

ANAPLASTIC LYMPHOMA KINASE (ALK) SPECIFIC T CELL RECEPTORS AND METHODS OF USE THEREOF

NºPublicación:  EP4704864A2 11/03/2026
Solicitante: 
CHILDRENS MEDICAL CT CORP [US]
The Children's Medical Center Corporation
US_20260049279_PA

Resumen de: US20260049279A1

The invention features polypeptides and/or transgenic effector cells including T cell receptors (TCRs) which specifically bind anaplastic lymphoma kinase (ALK) antigens or peptide sequences, and the use of such polypeptides and/or transgenic effector cells and TCRs specific to anaplastic lymphoma kinase (ALK) antigens or peptide sequences in compositions and methods for treating ALK-positive neoplasias such as Non-Small Cell Lung Cancers (NSCLCs).

SMALL MOLECULE TRAIL GENE INDUCTION BY NORMAL AND TUMOR CELLS AS AN ANTICANCER THERAPY

NºPublicación:  EP4706682A2 11/03/2026
Solicitante: 
PENN STATE RES FOUND [US]
The Penn State Research Foundation
EP_4706682_PA

Resumen de: EP4706682A2

A pharmaceutical composition, comprising the compound NSC350625, or a pharmaceutically acceptable salt thereof, and a pharmaceutically acceptable carrier, for use in a method of treating CNS cancer, lung cancer or lymphoma in a subject.

ANTI-SLC3A2-APIS ANTIGEN-BINDING PROTEINS AND METHODS OF USE THEREOF

NºPublicación:  WO2026050255A2 05/03/2026
Solicitante: 
REGENERON PHARMACEUTICALS INC [US]
REGENERON PHARMACEUTICALS, INC
WO_2026050255_PA

Resumen de: WO2026050255A2

The present disclosure provides monospecific antigen-binding proteins that bind human SLC3A2-APIS and bispecific antigen-binding proteins that bind to SLC3A2-APIS and CDS (SLC3A2-APISxCD3). In certain embodiments, the disclosed bispecific antigen-binding proteins include a first antigen-binding domain that binds SLC3A2-APIS and a second antigen-binding domain that binds CDS. In some embodiments, the disclosed antigen-binding proteins inhibit tumor growth. In some embodiments, the disclosed antigen-binding proteins ameliorate one or more symptoms of a myelodysplastic syndrome.

SUBCUTANEOUS DOSING OF MOSUNETUZUMAB IN COMBINATION WITH POLATUZUMAB VEDOTIN FOR USE IN TREATING NON-HODGKIN'S LYMPHOMA

NºPublicación:  WO2026050474A1 05/03/2026
Solicitante: 
GENENTECH INC [US]
F HOFFMANN LA ROCHE AG [CH]
HOFFMANN LA ROCHE INC [US]
GENENTECH, INC,
F. HOFFMANN-LA ROCHE AG,
HOFFMANN-LA ROCHE INC
WO_2026050474_PA

Resumen de: WO2026050474A1

The present invention relates to the treatment of subjects having a CD20-positive cell proliferative disorder (e.g., B cell proliferative disorders, such as a non-Hodgkin's lymphoma (NHL); e.g., an aggressive NHL or a relapsed and/or refractory NHL). More specifically, the invention pertains to the treatment of subjects having a B cell proliferative disorder by administering a combination of mosunetuzumab and polatuzumab vedotin.

METHODS FOR THE TREATMENT OF LYMPHOPROLIFERATIVE DISORDERS

NºPublicación:  US20260060969A1 05/03/2026
Solicitante: 
INSTITUT NATIONAL DE LA SANTE ET DE LA RECH MEDICALE [FR]
ASSIST PUBLIQUE HOPITAUX DE PARIS APHP [FR]
CENTRE NATIONAL DE LA RECHERCHE SCIENT [FR]
UNIV PARIS CITE [FR]
INSTITUT NATIONAL DE LA SANT\u00C9 ET DE LA RECHERCHE M\u00C9DICALE,
ASSISTANCE PUBLIQUE-H\u00D4PITAUX DE PARIS (APHP),
CENTRE NATIONAL DE LA RECHERCHE SCIENTIFIQUE,
UNIVERSIT\u00C9 PARIS CIT\u00C9
US_20260060969_PA

Resumen de: US20260060969A1

Inventors have first investigated the impact of PIK3CA inhibition in NZBWF1/J mice a model of lymphoproliferative disorders. They randomly assigned 30 females aged of 24 weeks to receive either vehicle (n=15) or alpelisib (n=15) during 4 weeks. At the time of sacrifice, alpelisib treated mice demonstrated significantly reduced spleen size. Flow cytometry analysis revealed that B cells were significantly reduced in alpelisib treated mice and CD8 cells count corrected. They then decided to explore the relevance of alpelisib in MRL/MpJ-Faslpr/J mice (referred here as MRL-lpr), another mouse model of lymphoproliferative disorder. These mice with homozygous Fas mutation usually develop severe lymphadenoproliferation. At the time of sacrifice. MRL-lpr mice treated with alpelisib demonstrated a reduction on their spleen and lymph node sizes. Flow cytometry analysis showed correction of B cells. T cells and other immune cells in peripheral blood mononuclear cells (PBMC), lymph nodes and spleen. The invention relates to a method for treating lymphoproliferative disorder in a subject in need thereof comprising a step of administering the subject with a therapeutically effective amount of a PIK3CA inhibitor.

METHODS FOR TREATING MULTIPLE MYELOMA

NºPublicación:  AU2024294756A1 05/03/2026
Solicitante: 
JANSSEN BIOTECH INC
JANSSEN BIOTECH, INC
AU_2024294756_A1

Resumen de: AU2024294756A1

Embodiments of the present invention relate to methods of reducing oral toxicities, such as taste impairment, in subjects that undergo treatment with a GPRC5D- targeted therapeutic.

Compositions containing Ibrutinib

NºPublicación:  AU2026200996A1 05/03/2026
Solicitante: 
JANSSEN PHARMACEUTICA NV
Janssen Pharmaceutica NV
AU_2026200996_A1

Resumen de: AU2026200996A1

Discussed herein are pharmaceutical compositions containing Ibrutinib and processes for preparing them. The compositions may be utilized in the treatment of a variety of conditions including, without limitation, B-cell proliferative disorders such as non-Hodgkin lymphoma (diffuse large B cell lymphoma, follicular lymphoma, mantle cell lymphoma or burkitt lymphoma), Waldenstrom macroglobulinemia, plasma cell myeloma, chronic lymphocytic leukemia, lymphoma, or leukemia. These compositions are designed for oral ingestion. The compositions are contained within a capsule such as a standard or sprinkle or in a liquid formulation such as a suspension. In one embodiment, the pharmaceutical composition contains Ibrutinib, a salt, prodrug, or metabolite thereof, microcrystalline cellulose, croscarmellose sodium, sodium lauryl sulfate, and magnesium stearate. In another embodiment, the pharmaceutical composition contains Ibrutinib, a salt, prodrug, or metabolite thereof, microcrystalline cellulose, carboxymethylcellulose sodium, hydroxypropylmethylcellulose, citric acid monohydrate, disodium hydrogen phosphate, sucralose, sodium methyl parahydroxybenzoate, sodium ethyl parahydroxybenzoate, concentrated hydrochloric acid, sodium hydroxide, and water. eb e b

P21 Expressing Monocytes for Cancer Cell Therapy

NºPublicación:  US20260061029A1 05/03/2026
Solicitante: 
INST GUSTAVE ROUSSY [FR]
Institut Gustave-Roussy
US_20260061029_PA

Resumen de: US20260061029A1

Identification of effective targets alleviating the programmed cell removal (PrCR) of tumor cells by macrophages is of very high interest. The present inventors have identified that the cyclin-dependent kinase inhibitor p21 protein is a strong regulator of the macrophage-mediated PrCR. Also, they showed that the adoptive transfer of p21 overexpressing monocytes induces macrophage PrCR and transition from an anti-inflammatory to a pro-inflammatory phenotype in vivo, delays cancer progression and increases significantly the overall survival of mice engrafted with cancer cells. The present invention therefore concerns therapeutic compositions comprising monocytes that over-express the cyclin-dependent kinase inhibitor p21 protein, and their use for treating mammals suffering from cancer, especially leukemia.

Genetically Modified Mice and Engraftment

NºPublicación:  US20260060222A1 05/03/2026
Solicitante: 
REGENERON PHARMACEUTICALS INC [US]
YALE UNIV [US]
INSTITUTE FOR RES IN BIOMEDICINE IRB [CH]
Regeneron Pharmaceuticals, Inc,
Yale University,
Institute for Research in Biomedicine (IRB)
US_20260060222_A1

Resumen de: US20260060222A1

A mouse with a humanization of the mIL-3 gene and the mGM-CSF gene, a knockout of a mRAG gene, and a knockout of a mIl2rg subunit gene; and optionally a humanization of the TPO gene is described. A RAG/Il2rg KO/hTPO knock-in mouse is described. A mouse engrafted with human hematopoietic stem cells (HSCs) that maintains a human immune cell (HIC) population derived from the HSCs and that is infectable by a human pathogen, e.g., S. typhi or M. tuberculosis is described. A mouse that models a human pathogen infection that is poorly modeled in mice is described, e.g., a mouse that models a human mycobacterial infection, wherein the mouse develops one or more granulomas comprising human immune cells. A mouse that comprises a human hematopoietic malignancy that originates from an early human hematopoietic cells is described, e.g., a myeloid leukemia or a myeloproliferative neoplasia.

METHODS AND COMPOSITIONS FOR INHIBITING CLONAL HEMATOPOIESIS

NºPublicación:  US20260060991A1 05/03/2026
Solicitante: 
THE JACKSON LABORATORY [US]
The Jackson Laboratory
US_20260060991_PA

Resumen de: US20260060991A1

Clonal hematopoiesis is an age-related condition caused by somatic mutations that give a hematopoietic stem cell a clonal selective advantage. While clonal hematopoiesis is a benign condition, individuals affected by it have an increased risk of developing blood cancers, such as acute myeloid leukemia (AML). The present disclosure provides, in some aspects, methods for inhibiting clonal hematopoiesis using a senolytic agent to target senescence of bone marrow stromal cells.

CRYSTALLINE FORMS OF A BRUTONS TYROSINE KINASE INHIBITOR

NºPublicación:  US20260062417A1 05/03/2026
Solicitante: 
PHARMACYCLICS LLC [US]
Pharmacyclics LLC
US_20260062417_A1

Resumen de: US20260062417A1

Described herein is the Bruton's tyrosine kinase (Btk) inhibitor 1-((R)-3-(4-amino-3-(4-phenoxyphenyl)-1H-pyrazolo3,4-dpyrimidin-1-yl)piperidin-1-yl)prop-2-en-1-one, including crystalline forms, solvates and pharmaceutically acceptable salts thereof. Also disclosed are pharmaceutical compositions that include the Btk inhibitor, as well as methods of using the Btk inhibitor, alone or in combination with other therapeutic agents, for the treatment of autoimmune diseases or conditions, heteroimmune diseases or conditions, cancer, including lymphoma, and inflammatory diseases or conditions.

METHODS OF TREATMENT AND DIAGNOSIS OF MULTIPLE MYELOMA PROGRESSION

NºPublicación:  US20260062760A1 05/03/2026
Solicitante: 
MOREHOUSE SCHOOL OF MEDICINE [US]
Morehouse School of Medicine
US_20260062760_A1

Resumen de: US20260062760A1

A method of treating multiple myeloma, comprising administering one or more agents increasing or inhibiting the expression or activity of one or more MM biomarkers to inhibit the progression of multiple myeloma, wherein the one or more MM biomarkers correspond to gene products from one or more of GABRA3, CTAG2, MAGEA6, SOHLH1, MAGEA1, AFAP1-AS1; CBX2, LINC00484, KIF7, TMSB15A, NEK2, NTRK1, CCND2, NES, PKP2, C1orf226, IFITM1, CDH23, AGRN, DHX58, and LINC02576. A method of diagnosing and treating multiple myeloma in a subject comprises, (a) measuring the level of one or more biomarkers in a sample; (b) comparing the level of the one or more biomarkers to a reference level of the one or more biomarkers; (c) making a diagnosis based on the result of the comparing step; and (d) treating the subject with one or more active agents where the subject is diagnosed with multiple myeloma.

REAL-TIME GENOMIC CHARACTERIZATION OF CANCER

NºPublicación:  WO2026050126A1 05/03/2026
Solicitante: 
THE UNIV OF NORTH CAROLINA AT CHAPEL HILL [US]
THE UNIVERSITY OF NORTH CAROLINA AT CHAPEL HILL
WO_2026050126_PA

Resumen de: WO2026050126A1

Methods for classifying cancers to aid in diagnosis and treatment of the cancer, in particular acute leukemia and solid tumors such as pediatric sarcomas, in a rapid manner (less than 24 hours). Methods comprising the use of long-read whole genome sequencing of libraries comprising high molecular weight DNA to identify copy number variations and/or presence or absence of a mutation such as a karyotype abnormality or translocation/gene fusion in a panel of targets and treatment of patients based upon cancer classification.

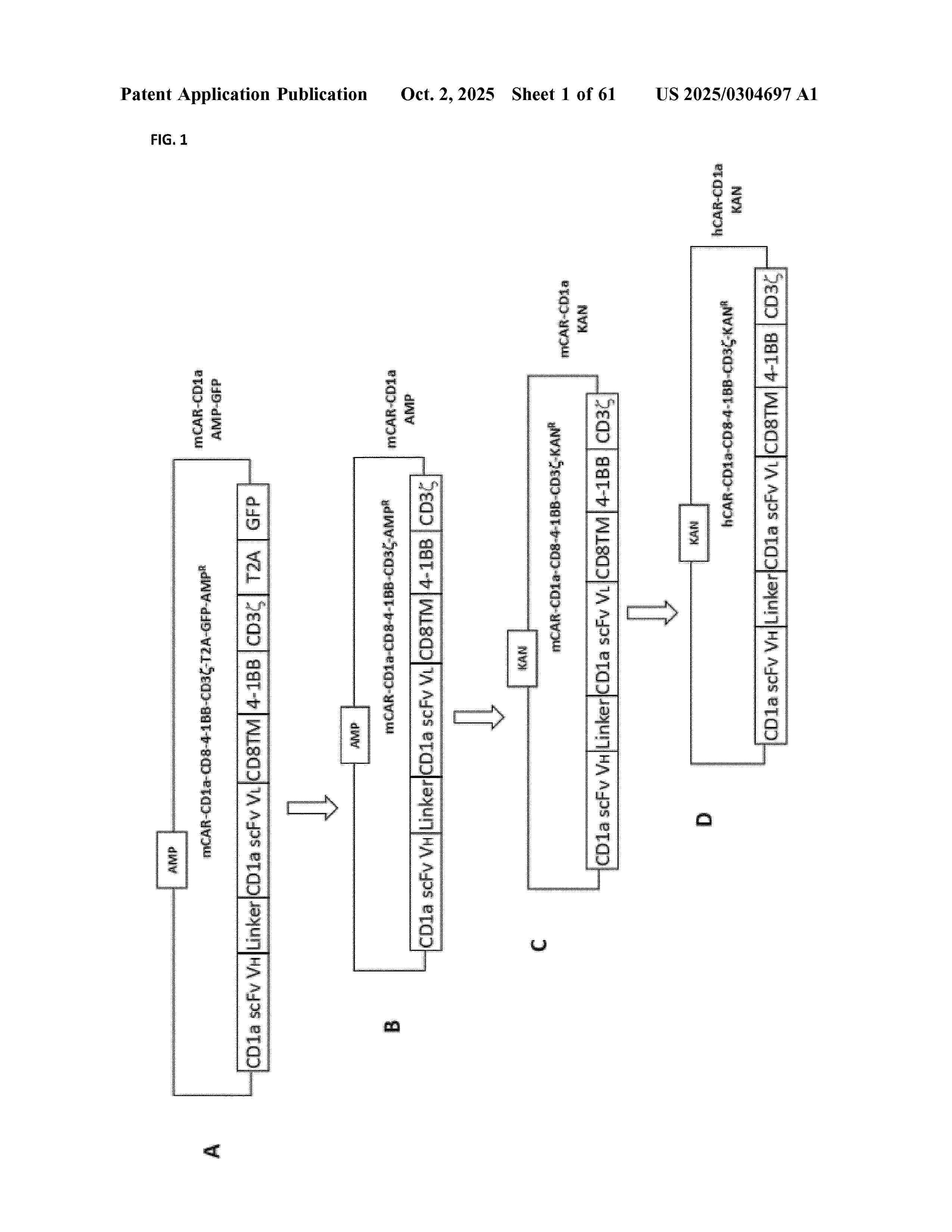
CHIMERIC ANTIGEN RECEPTOR

NºPublicación:  US20260062458A1 05/03/2026
Solicitante: 
AUTOLUS LTD [GB]
AUTOLUS LIMITED
US_20260062458_A1

Resumen de: US20260062458A1

The present invention provides a chimeric antigen receptor (CAR) comprising: (i) a B cell maturation antigen (BCMA)-binding domain which comprises at least part of a proliferation-inducing ligand (APRIL); (ii) a spacer domain (iii) a transmembrane domain; and (iv) an intracellular T cell signaling domain. The invention also provides the use of such a T-cell expressing such a CAR in the treatment of plasma-cell mediated diseases, such as multiple myeloma.

BIOMARKERS FOR PREDICTING, DIAGNOSING AND DIFFERENTIATING OF POSTTRANSPLANT LYMPHOPROLIFERATIVE DISORDERS, USE THEREOF, AND ASSOCIATED COMPUTER-IMPLEMENTED METHOD, SYSTEM AND RELATED COMPUTER PROGRAM PRODUCT FOR PREDICTING AND DIFFERENTIATING OF POSTTRANSPLANT LYMPHOPROLIFERATIVE DISORDERS

NºPublicación:  WO2026047495A1 05/03/2026
Solicitante: 
MUCHA KRZYSZTOF [PL]
FORONCEWICZ BARTOSZ [PL]
UNIV W BIALYMSTOKU [PL]
MUCHA, Krzysztof,
FORONCEWICZ, Bartosz,
UNIWERSYTET W BIA\u0141YMSTOKU
WO_2026047495_PA

Resumen de: WO2026047495A1

The present invention provides a computer implemented method for predicting the risk of posttransplant lymphoproliferative disorder as well as a computer implemented method for simultaneous predicting the risk of posttransplant lymphoproliferative disorder and differentiation of Epstein Barr Virus (EBV)-positive from EBV-negative patients in posttransplant lymphoproliferative disorder and associated systems. The method for predicting the risk of posttransplant lymphoproliferative disorder PTLD, comprises the following steps: receiving information representative for expression level of biomarkers, acquired from a sample to be assessed, said biomarkers being at least three selected from the group comprising HSPA6, CD300A, IFITM1, SHFL, HMGB1, TMEM163, ELL3, GRHPR, GMDS, GALNT10, IRF1-AS1, IFIT5, MLLT3, KIR2DL4, CD1C, SP3, SLC6A16, COP1, classifying said information representative for expression level of said at least three biomarkers, outputting the classification results, said results being indicative of whether the assessed sample belongs to one of two classes: PTLD or non-PTLD patient. The present invention provides further biomarkers for predicting, diagnosing and differentiating of posttransplant lymphoproliferative disorders and use thereof.

METHODS RELATED TO MULTIPLE MYELOMA AND PRECURSORS THEREOF

NºPublicación:  WO2026047608A1 05/03/2026
Solicitante: 
DANA FARBER CANCER INST INC [US]
THE GENERAL HOSPITAL CORP [US]
DANA-FARBER CANCER INSTITUTE, INC,
THE GENERAL HOSPITAL CORPORATION
WO_2026047608_A1

Resumen de: WO2026047608A1

Disclosed herein are differences in the features of immune cell populations in subjects with monoclonal gammopathy of unknown significance (MGUS) or smoldering myeloma (SMM), compared to subjects with multiple myeloma (MM). These features are useful in methods for monitoring progression from MGUS or SMM to MM in a subject. In some instances, certain features are also useful in methods for predicting the response of a subject's MM to therapy.

BCMA-TARGETED CAR-T CELL THERAPY FOR MULTIPLE MYELOMA

NºPublicación:  HRP20251441A1 27/02/2026
Solicitante: 
LEGEND BIOTECH USA INC [US]
JANSSEN BIOTECH INC [US]
Legend Biotech USA INC.,
Janssen Biotech INC.
HR_P20251441_A1

Resumen de: HRP20251441A1

Provided herein are methods of treating a subject who has multiple myeloma and has received one to three prior treatment(s). Infusions of chimeric antigen receptor (CAR)-T cells comprising a CAR capable of specifically binding to an epitope of BCMA are administered to the subject.

Combination Therapy for Cancer

NºPublicación:  US20260053939A1 26/02/2026
Solicitante: 
GLAXOSMITHKLINE INTELLECTUAL PROPERTY DEVELOPMENT LTD [GB]
GlaxoSmithKline Intellectual Property Development Limited
US_20260053939_A1

Resumen de: US20260053939A1

This disclosure provides combination therapies comprising an anti-BCMA antigen binding protein, such as belantamab mafodotin; an immunomodulatory imide drug (IMiD); a proteasome inhibitor; and a corticosteroid. This disclosure also provides combination therapies for treating newly diagnosed multiple myeloma.

DOSING FOR TREATMENT WITH ANTI-CD20/ANTI-CD3 BISPECIFIC ANTIBODIES

NºPublicación:  US20260055203A1 26/02/2026
Solicitante: 
GENENTECH INC [US]
Genentech, Inc
US_20260055203_PA

Resumen de: US20260055203A1

The present invention relates to the treatment of subjects having CD20-positive cell proliferative disorders (e.g., B cell proliferative disorders, such as non-Hodgkin's lymphomas). More specifically, the invention pertains to the treatment of subjects having a B cell proliferative disorder by intravenous administration of an anti-CD20/anti-CD3 bispecific antibody (e.g., mosunetuzumab).

CHICKEN-DERIVED CD20 ANTIBODIES WITH POTENT B CELL DEPLETION ACTIVITY

NºPublicación:  US20260055202A1 26/02/2026
Solicitante: 
THE TEXAS A&M UNIV SYSTEM [US]
THE TEXAS A&M UNIVERSITY SYSTEM
US_20260055202_PA

Resumen de: US20260055202A1

The present disclosure provides multiple anti-hCD20 mAbs as well as humanization of antibodies. The antibodies described herein are chicken-derived and exhibit significantly enhanced B-cell-specific antibody-dependent cellular cytotoxicity (ADCC) and complement-dependent cytotoxicity (CDC) potency as well as improved depletion of B lymphoma cells in vivo relative to Rituximab.

COMPOSITION FOR TREATING CANCER IN TUMOR-AFFECTED DOGS COMPRISING RECOMBINANT CANINE INTERLEUKIN-15

NºPublicación:  WO2026042913A1 26/02/2026
Solicitante: 
VAXCELL BIO CO LTD [KR]
\uC8FC\uC2DD\uD68C\uC0AC \uBC15\uC140\uBC14\uC774\uC624
WO_2026042913_PA

Resumen de: WO2026042913A1

The objective of the present invention is to treat cancer in affected dogs by using interleukin-15, which plays a pivotal role in both innate immunity and acquired immunity. Specifically, the present invention relates to a composition for treating cancer in mammary tumor- or lymphoma-affected dogs, or an anticancer immune enhancer, comprising recombinant canine interleukin-15. The present invention also relates to the dosage and use of recombinant canine interleukin-15 in the treatment of cancer in mammary tumor- or lymphoma-affected dogs. The present invention can exhibit therapeutically effective anticancer- or anticancer immunity-enhancing efficacy by minimizing harmful effects or side effects after standard treatment in mammary tumor- or lymphoma-affected dogs by using recombinant canine interleukin-15.

USE OF BISPECIFIC ANTI-CD3/CD20 POLYPEPTIDE COMPLEX

NºPublicación:  WO2026040955A1 26/02/2026
Solicitante: 
SHANGHAI CHIA TAI TIANQING PHARMACEUTICAL TECH DEVELOPMENT CO LTD [CN]
CHIA TAI TIANQING PHARMACEUTICAL GROUP CO LTD [CN]
\u4E0A\u6D77\u6B63\u5927\u5929\u6674\u533B\u836F\u79D1\u6280\u5F00\u53D1\u6709\u9650\u516C\u53F8,
\u6B63\u5927\u5929\u6674\u836F\u4E1A\u96C6\u56E2\u80A1\u4EFD\u6709\u9650\u516C\u53F8
WO_2026040955_PA

Resumen de: WO2026040955A1

The present application discloses a pharmaceutical combination comprising a bispecific anti-CD3/CD20 polypeptide complex and a second therapeutic agent, and use thereof in the preparation of a drug for treating non-Hodgkin lymphoma.

KIT AND DIAGNOSIS ASSISTANCE METHOD

NºPublicación:  WO2026042623A1 26/02/2026
Solicitante: 
HOSHIDA YOSHIHIKO [JP]
MIYAMOTO TSUJII ATSUKO [JP]
JAPAN INST FOR HEALTH SECURITY [JP]
\u661F\u7530\u3000\u7FA9\u5F66,
\u5BAE\u672C\u3000\u8FBB\u4E95\u3000\u6566\u5B50,
\u56FD\u7ACB\u5065\u5EB7\u5371\u6A5F\u7BA1\u7406\u7814\u7A76\u6A5F\u69CB
WO_2026042623_PA

Resumen de: WO2026042623A1

Provided is a method for diagnosing the prognosis and therapeutic effect for chemotherapy in patients with rheumatoid arthritis-associated lymphoproliferative disorder (RA-LPD), who have developed a lymphoproliferative disorder (LPD) during the treatment of rheumatoid arthritis (RA). This is a kit for diagnosing the prognosis and therapeutic effect for chemotherapy in rheumatic arthritis-associated lymphoproliferative disorder (RA-LPD) patients, who have developed LPD during RA treatment. The kit comprises: means for detecting an inositol 1,4,5-triphosphate receptor (ITPR) type 2 (ITPR2) gene mutation in a biological sample from a patient; and instructions for determining that the prognosis and therapeutic effect for chemotherapy are poor when an ITPR2 gene mutation is present in the biological sample from the patient. The LPD is diffuse large B-cell lymphoma (DLBCL). For the ITPR2 gene mutation, Chr12:rs26744460 is GT or GG. Use for the diagnosis of non-RA lymphoma patients is also possible.

METHODS OF TREATMENT AND DIAGNOSIS OF MULTIPLE MYELOMA PROGRESSION

Nº publicación: US20260055473A1 26/02/2026

Solicitante:

MOREHOUSE SCHOOL OF MEDICINE [US]
Morehouse School of Medicine

US_20260055473_A1

Resumen de: US20260055473A1

A method of treating multiple myeloma, comprising administering one or more agents increasing or inhibiting the expression or activity of one or more MM biomarkers to inhibit the progression of multiple myeloma, wherein the one or more MM biomarkers correspond to gene products from one or more of GABRA3, CTAG2, MAGEA6, SOHLH1, MAGEA1, AFAP1-AS1; CBX2, LINC00484, KIF7, TMSB15A, NEK2, NTRK1, CCND2, NES, PKP2, C1orf226, IFITM1, CDH23, AGRN, DHX58, and LINC02576. A method of diagnosing and treating multiple myeloma in a subject comprises, (a) measuring the level of one or more biomarkers in a sample; (b) comparing the level of the one or more biomarkers to a reference level of the one or more biomarkers; (c) making a diagnosis based on the result of the comparing step; and (d) treating the subject with one or more active agents where the subject is diagnosed with multiple myeloma.

traducir