Ministerio de Industria, Turismo y Comercio LogoMinisterior
 

Alerta

Resultados 213 resultados
LastUpdate Última actualización 16/12/2025 [06:51:00]
pdfxls
Solicitudes publicadas en los últimos 15 días / Applications published in the last 15 days
previousPage Resultados 175 a 200 de 213 nextPage  

MOBILE SOLAR POWER UNIT CONTROL SYSTEM

NºPublicación:  US2025373043A1 04/12/2025
Solicitante: 
ECOQUIP AUSTRALIA PTY LTD [AU]
Ecoquip Australia Pty Ltd
PE_20231778_PA

Resumen de: US2025373043A1

A mobile solar power unit control system providing power to an associated equipment item comprising: at least one mobile solar power unit comprising an assembly of inter-connected solar collector panels; an energy storage module connected to receive power from the assembly of inter-connected solar panels; and a control system for controlling operation of both the energy storage module and associated equipment item. The control system comprises a local controller onboard or proximate the at least one mobile solar power unit and a remote controller, communicable with the local controller, located remotely from said at least one mobile solar power unit. The mobile solar power unit conveniently provides power for an associated equipment item and any selected auxiliary loads located in an off-grid location.

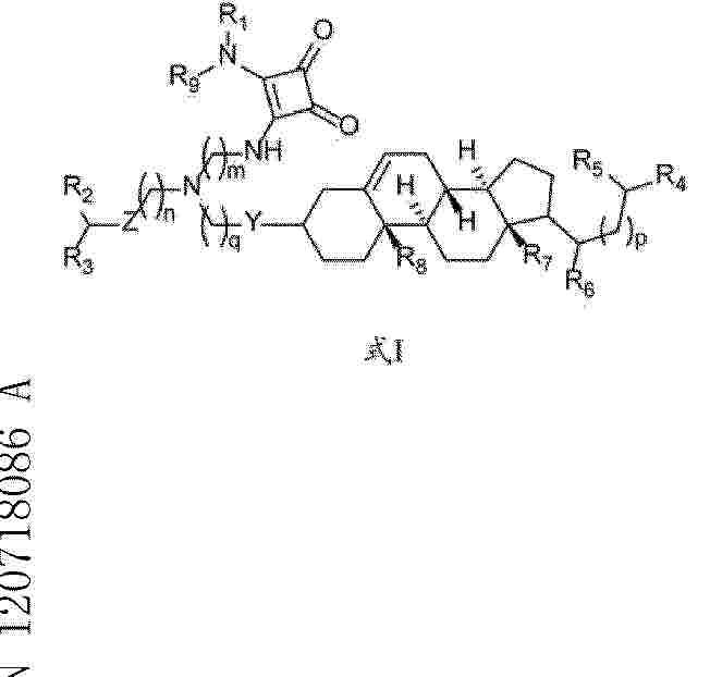
COMPOUND, ORGANIC HOLE TRANSPORT LAYER MATERIAL, AND PEROVSKITE SOLAR CELL

NºPublicación:  WO2025246991A1 04/12/2025
Solicitante: 
CHANGCHUN INST OF APPLIED CHEMISTRY CHINESE ACADEMY OF SCIENCE [CN]
\u4E2D\u56FD\u79D1\u5B66\u9662\u957F\u6625\u5E94\u7528\u5316\u5B66\u7814\u7A76\u6240
WO_2025246991_PA

Resumen de: WO2025246991A1

Disclosed are a compound, an organic hole transport layer material, and a perovskite solar cell, relating to the technical field of perovskite solar cells. The compound has a structure represented by formula I, uses a carboxyl group, a sulfonic acid group, and a phosphoric acid group as anchor groups, and is connected to a carbon position at an active reaction site in an N-containing fused ring (the number of rings is greater than or equal to 3) by means of a double bond, thereby maintaining the long-axis rigidity of a molecule, so that the compound can be more effectively conjugated, and a functional group is introduced on the short axis of the molecule, thereby improving the overall rigidity and functionality of the compound. The use of the compound as an organic hole transport material can improve the extraction and transport of holes. The introduction of the functional group on the short axis of the molecule further improves perovskite thin film crystallization and passivates interface defects. The design of the structure of the compound in the organic hole transport material achieves more excellent HOMO energy level and valence band energy level matching between the organic hole transport material and an active layer material, thereby further improving the device efficiency and stability of perovskite cells.

BATTERY STRING AND PHOTOVOLTAIC MODULE

NºPublicación:  WO2025246741A1 04/12/2025
Solicitante: 
LONGI PHOTOVOLTAIC TECH JIAXING CO LTD [CN]
\u5609\u5174\u9686\u57FA\u5149\u4F0F\u79D1\u6280\u6709\u9650\u516C\u53F8
WO_2025246741_PA

Resumen de: WO2025246741A1

The present application provides a battery string and a photovoltaic module. The battery string comprises battery cells and conductive members. Each battery cell comprises a first connecting member and a plurality of first fine grid electrodes which are arranged on a first surface of the battery cell; the first connecting member is arranged close to the edge of the battery cell and is electrically connected to at least one first fine grid electrode; and the side edge of the first connecting member is provided with a first protruding portion connected to the first connecting member, and the first protruding portion protrudes from the first connecting member towards the edge of the battery cell in a first direction. Each conductive member extends in the first direction and is connected to the corresponding first connecting member; and the conductive member is provided with an extension end, the extension end is the part of the conductive member extending out of the side edge of the first connecting member close to the battery cell, and the length of the extension end in the first direction is greater than that of the first protruding portion in the first direction. The first protruding portions isolate the conductive members from the battery cells, to prevent the fine grid electrodes near a pad from breaking due to a high welding temperature, thereby reducing damage to the battery cells caused by the high welding temperature.

PHOTOVOLTAIC SUNSHADE

NºPublicación:  WO2025246396A1 04/12/2025
Solicitante: 
SHENZHEN HELLO TECH ENERGY CO LTD [CN]
\u6DF1\u5733\u5E02\u534E\u5B9D\u65B0\u80FD\u6E90\u80A1\u4EFD\u6709\u9650\u516C\u53F8
WO_2025246396_PA

Resumen de: WO2025246396A1

A photovoltaic sunshade. The photovoltaic sunshade (100) comprises a support (10), a photovoltaic panel (20), an electrical device (30), and a first wire (40). The photovoltaic panel (20) is arranged on the support (10). The electrical device (30) is arranged on the support (10) and is spaced apart from the photovoltaic panel (20). The first wire (40) is connected to the photovoltaic panel (20) and the electrical device (30), and the first wire (40) is at least partially arranged in the support (10). The first wire (40) is at least partially arranged in the support (10), so that the part of the wire directly exposed to the external environment can be reduced, thereby reducing the damage to the first wire (40) caused by external environmental factors, prolonging the service life of the first wire (40), and improving the durability and reliability of the photovoltaic sunshade (100). In addition, since the first wire (40) is at least partially arranged in the support (10), the exposed wiring is reduced, so that the photovoltaic sunshade (100) has a neater and more attractive appearance, and utilizes the space of the support (10) more effectively, enabling the structure of the entire photovoltaic sunshade (100) to be more compact.

PHOTOVOLTAIC ASSEMBLIES WITH CURRENT PROBES

NºPublicación:  US2025373199A1 04/12/2025
Solicitante: 
SOLARGIK LTD [IL]
SOLARGIK LTD

Resumen de: US2025373199A1

A solar energy system comprises an inverter, an array of PV assemblies, and a set of current-probe assemblies installed in PV assemblies. Each PV assembly comprises a pivotable group of PV panels, a drive system comprising an electric motor and a gearing arrangement, and electronic circuitry comprising a communications arrangement and operative to regulate operation of the electric motor. The PV panels are connected electrically to form a plurality of strings in at least indirect electrical communication with the inverter. At least one string comprises PV panels of different PV assemblies. At least one current-probe assembly is placed in each of the plurality of strings, and each current-probe assembly is operative to measure a direct current value in a respective string.

SHEET METAL SOLAR MODULE FRAMES

NºPublicación:  US2025373196A1 04/12/2025
Solicitante: 
NEXTRACKER LLC [US]
Nextracker LLC
WO_2025250418_PA

Resumen de: US2025373196A1

A solar module frame assembly includes first and longitudinal frame portions and first and second lateral frame portions. The first and second longitudinal frame portions can include an intermediate wall, a photovoltaic receptacle at one end portion of the intermediate wall, and a lower wall potion at another, opposite end portion of the intermediate wall. The lower wall portion of each of the first and second longitudinal frame portions can include one or more connecting tabs. The first and second lateral frame portions can include a vertical or skewed intermediate wall, a photovoltaic receptacle at one end portion of the vertical or skewed intermediate wall, and a base at another, opposite end portion of the vertical or skewed intermediate wall. The vertical or skewed intermediate wall can include one or more connecting tabs that are configured to engage with corresponding aperture(s) at the adjacent first and second longitudinal frame portions.

SOLAR MODULE FRAME COUPLING ASSEMBLIES

NºPublicación:  US2025373195A1 04/12/2025
Solicitante: 
NEXTRACKER LLC [US]
Nextracker LLC
WO_2025250417_PA

Resumen de: US2025373195A1

A method for coupling a solar module frame to a torque tube of a solar tracker using a hooked flange solar module frame coupling apparatus includes: positioning a hook portion the of frame component relative to a frame receiving receptacle at a rail; moving the hook portion of the frame from a biased, coupling configuration to a receptacle entry configuration via contact between the hook portion and the rail; and moving the hook portion from the receptacle entry configuration to the biased, coupling configuration to couple the frame to the rail.

Portable Solar Power Generation System

NºPublicación:  US2025373197A1 04/12/2025
Solicitante: 
SHEESLEY JOHN [US]
Sheesley John

Resumen de: US2025373197A1

A portable solar power generation system comprising solar panels and batteries is fitted with a combiner box, charge controller, and an inverter and uses intermodal frame racks configured to be compatible with ISO shipping container conventions to provide a base load, average daily demand, or peak load when combined with an integrated power storage system for residential, commercial and power utility use to allow for flexibility in transportation from one location to another. In use, the power generation system continuously adjusts in real time to capture the sun's radiance throughout the day. Stacking of multiple power generation systems facilitates transporting several systems simultaneously. Receptacle outlets within the power generation system allow for instant power upon delivery. The present invention offers a “move in” or “move out” power generation system within days and is simply scalable from one to thousands.

APPARATUS, SYSTEM, AND METHODS FOR SOLAR MOUNTING CLAMP AND/OR MOUNTING HOOK IN SOLAR RACKING SYSTEMS

NºPublicación:  US2025373192A1 04/12/2025
Solicitante: 
BUDGE PAUL W [US]
Budge Paul W
WO_2025251086_PA

Resumen de: US2025373192A1

An apparatus, system, and method of mounting a solar panel using a mounting clamp are described herein. A mounting clamp for mounting a structural member to a solar panel, the mounting clamp includes a body, at least one receiving slot in the body for receiving a flange of a solar panel, and a fastener attached to the body for connecting the mounting clamp, the solar panel, and the structural member. A system includes a structural member having at least one vertical component, at least one solar panel, and at least one mounting clamp for mounting the structural member to a solar panel. The mounting clamp includes a body, at least one receiving slot in the body for receiving a flange of a solar panel, and a fastener attached to the body for connecting the mounting clamp, the solar panel, and the structural member.

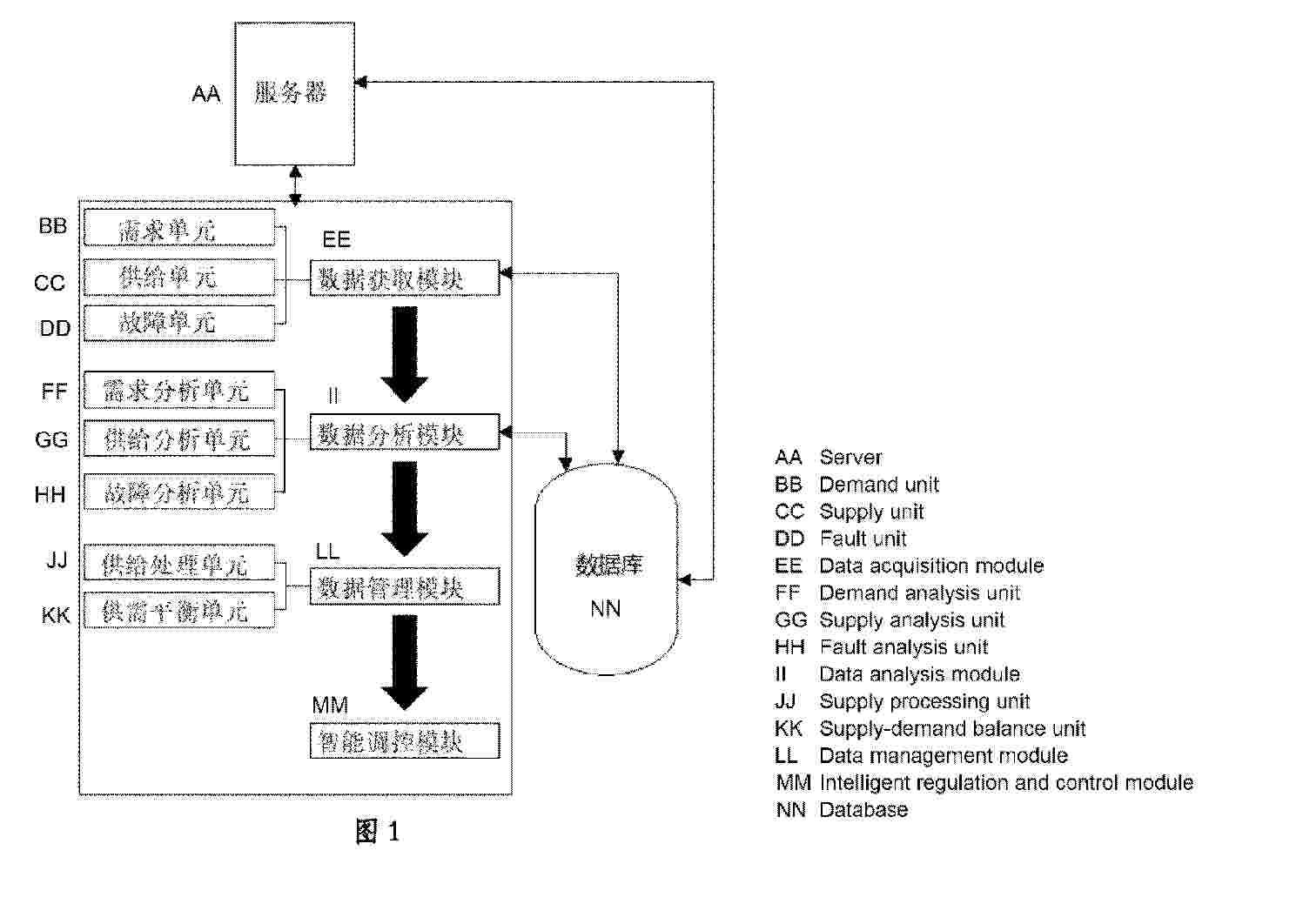
INTELLIGENT REGULATION AND CONTROL SYSTEM AND METHOD FOR DISTRIBUTED PHOTOVOLTAIC POWER GENERATION CLUSTER

NºPublicación:  WO2025246246A1 04/12/2025
Solicitante: 
GUIZHOU POWER GRID CO LTD [CN]
\u8D35\u5DDE\u7535\u7F51\u6709\u9650\u8D23\u4EFB\u516C\u53F8
WO_2025246246_PA

Resumen de: WO2025246246A1

Disclosed is an intelligent regulation and control system for a distributed photovoltaic power generation cluster, relating to the technical field of distributed energy, and configured to solve the problem of low accuracy in power generation regulation and control of current photovoltaic power generation clusters. The system comprises: a data acquisition module, configured to separately acquire demand basic data, supply basic data, and fault basic data to obtain regulation and control basic data; a data analysis module, configured to analyze the regulation and control basic data to obtain regulation and control analysis data; a data processing module, configured to process the regulation and control analysis data to obtain a supply-demand balance reference value; and, an intelligent regulation and control module, configured to perform intelligent regulation and control of the photovoltaic power generation cluster on the basis of the supply-demand balance reference value. In the present invention, supply and demand for the photovoltaic power generation cluster are determined on the basis of the area value of faulty solar panels to accurately adjust the generated power of the photovoltaic power generation cluster, thereby improving energy utilization efficiency.

PHOTOVOLTAIC MOUNTING STRUCTURE AND PHOTOVOLTAIC POWER STATION

NºPublicación:  WO2025246465A1 04/12/2025
Solicitante: 
JIANG DONG FITTINGS EQUIPMENT CO LTD [CN]
JIANGSU ZHONGTIAN TECH CO LTD [CN]
\u6C5F\u4E1C\u91D1\u5177\u8BBE\u5907\u6709\u9650\u516C\u53F8,
\u6C5F\u82CF\u4E2D\u5929\u79D1\u6280\u80A1\u4EFD\u6709\u9650\u516C\u53F8
WO_2025246465_PA

Resumen de: WO2025246465A1

The present application provides a photovoltaic mounting structure and a photovoltaic power station. The photovoltaic mounting structure comprises: an embedded structure, comprising a mounting cavity and a stop structure; and a mounting assembly, the mounting assembly comprising a driving structure and support arms, wherein when the support arms extend, the support arms can match the stop structure, and when the support arms retract, the mounting assembly can be separated from the embedded structure. The mounting assembly further comprises an outer cylinder and an adjustment structure, the support arms are connected between the adjustment structure and the driving structure, and the driving structure can move toward or away from the adjustment structure relative to the outer cylinder. The driving structure comprises a first cylinder and a second cylinder, a first end of the first cylinder is threadedly engaged with the inner wall of the outer cylinder, a second end of the first cylinder is rotatably engaged with a first end of the second cylinder, and the second end of the first cylinder and the first end of the second cylinder form axial limiting. The photovoltaic mounting structure in the technical solution of the present application can solve the problem of mounting and dismounting inconvenience caused by mounting using existing mounting structures.

POWER CONVERSION APPARATUS, UNINTERRUPTIBLE POWER SUPPLY, AND PHOTOVOLTAIC INVERTER

NºPublicación:  WO2025246371A1 04/12/2025
Solicitante: 
HUAWEI DIGITAL POWER TECH CO LTD [CN]
\u534E\u4E3A\u6570\u5B57\u80FD\u6E90\u6280\u672F\u6709\u9650\u516C\u53F8
WO_2025246371_PA

Resumen de: WO2025246371A1

The embodiments of the present application relate to the technical field of power electronics. Disclosed are a power conversion apparatus, an uninterruptible power supply and a photovoltaic inverter, which solve the problems of low efficiency and high device costs of existing inverters. The specific solution comprises: providing a power conversion apparatus, the power conversion apparatus comprising at least one inverter circuit, which inverter circuit comprises a switch tube bridge arm, a first switch tube and an inductor, wherein the switch tube bridge arm comprises at least three switch tubes connected in series between a positive direct-current bus and a negative direct-current bus, the first switch tube is connected between a first node of the switch tube bridge arm and a connection point of positive and negative bus capacitors, the inductor is connected to a second node of the switch tube bridge arm, and the first node and the second node are located at different positions in the switch tube bridge arm.

Solaranlage und Verfahren zur Verschattung

NºPublicación:  DE102024001774A1 04/12/2025
Solicitante: 
SBP SONNE GMBH [DE]
sbp sonne gmbh

Resumen de: DE102024001774A1

Die Erfindung betrifft eine Solaranlage (1) für eine Pflanzen-Kultivierungseinrichtung (3), mit zumindest einem Solarpaneel (5), das zwischen zwei Endstützen (13, 15) an einer zwischen den Endstützen (13, 15) in Längsrichtung (L) verlaufenden Trägervorrichtung (11) gehalten ist, wobei das Solarpaneel (5) in Längsrichtung (L) entlang der Trägervorrichtung (11) verlagerbar eingerichtet ist.

Trägersystem mit einem optoelektronischen Bauelement

NºPublicación:  DE102024001886A1 04/12/2025
Solicitante: 
HELIATEK GMBH [DE]
Heliatek GmbH

Resumen de: DE102024001886A1

Die Erfindung betrifft ein Trägersystem (100), aufweisend mindestens ein optoelektronisches Bauelement (10) mit einer Vorderseite und einer Rückseite, eine Gitter- oder Netzstruktur (20) mit mindestens einer Auslassung (21), und ein Flächenelement (30) mit einer Vorderseite und einer Rückseite, wobei die Gitter- oder Netzstruktur (20) zwischen der Rückseite des optoelektronischen Bauelements (10) und der Vorderseite des Flächenelements (30) angeordnet ist, wobei das optoelektronische Bauelement (10) auf der Rückseite eine vordere Klebeschicht (41) und/oder das Flächenelement (30) auf der Vorderseite eine hintere Klebeschicht (42) aufweist, und das optoelektronische Bauelement (10) zumindest im Bereich der mindestens einen Auslassung (21) der Gitter- oder Netzstruktur (20) mit dem Flächenelement (30) mittels der vorderen Klebeschicht (41) und/oder der hinteren Klebeschicht (42) über die mindestens eine Auslassung (21) stoffschlüssig verbunden ist.

GROUNDING SYSTEM

NºPublicación:  US2025372990A1 04/12/2025
Solicitante: 
CAMBRIA COUNTY ASS FOR THE BLIND & HANDICAPPED [US]
Cambria County Association for the Blind & Handicapped
US_2024421577_PA

Resumen de: US2025372990A1

A grounding system for a solar power generation facility includes a number of conductive mounting assemblies and a tension member in the form of a cable. A cable coupling of each of the conductive mounting assemblies is structured to engage and clamp the cable. The cable and each of the cable couplings has a conductivity level that is greater than a conductivity level of steel or galvanized steel, and the cable alone and respective combinations of the cable and each one of the cable couplings are each structured to provide at least a portion of a respective grounded current path of the grounding system that will be coupled to current wires and cable hangers that are supported by the cable.

APPARATUS, SYSTEM, AND METHODS FOR SOLAR MOUNTING CLAMP AND/OR AND MOUNTING HOOK IN SOLAR RACKING SYSTEMS

NºPublicación:  WO2025251086A1 04/12/2025
Solicitante: 
BUDGE PAUL W [US]
BUDGE, Paul W
WO_2025251086_PA

Resumen de: WO2025251086A1

An apparatus, system, and method of mounting a solar panel using a mounting clamp are described herein. A mounting clamp for mounting a structural member to a solar panel, the mounting clamp includes a body, at least one receiving slot in the body for receiving a flange of a solar panel, and a fastener attached to the body for connecting the mounting clamp, the solar panel, and the structural member. A system includes a structural member having at least one vertical component, at least one solar panel, and at least one mounting clamp for mounting the structural member to a solar panel. The mounting clamp includes a body, at least one receiving slot in the body for receiving a flange of a solar panel, and a fastener attached to the body for connecting the mounting clamp, the solar panel, and the structural member.

ABNORMAL POWER GENERATION DETECTION SYSTEM USING SOLAR POWER GENERATION TRACKING BASED ON SIMILAR PAST DATA AND METHOD THEREFOR

NºPublicación:  WO2025249941A1 04/12/2025
Solicitante: 
H ENERGY CO LTD [KR]
\uC8FC\uC2DD\uD68C\uC0AC \uC5D0\uC774\uCE58\uC5D0\uB108\uC9C0
WO_2025249941_PA

Resumen de: WO2025249941A1

The present invention relates to an abnormality detection method using solar power generation tracking based on similar past data. More particularly, the abnormality detection method using solar power generation tracking based on similar past data comprises the steps of: on the basis of past data including actually measured weather data and solar position data, extracting variable importance affecting a solar power generation amount; collecting, for an abnormal power generation detection target time point, target data including actually measured weather data, solar position data, and an actually measured power generation amount; calculating a weight for each variable on the basis of the extracted variable importance and calculating a similarity between the target data and the past data by considering the weight for each variable; predicting a power generation amount for the target data by extracting a preset number of pieces of past data in order of highest calculated similarity; and detecting abnormal power generation on the basis of an actually measured power generation amount at the abnormal power generation detection target time point and a power generation amount predicted for target data at a predicted abnormal power generation detection target time point.

BIPV MODULE

NºPublicación:  WO2025249647A1 04/12/2025
Solicitante: 
BUKWANG SOLAR CO LTD [KR]
\uC8FC\uC2DD\uD68C\uC0AC \uBD80\uAD11\uC194\uB77C
WO_2025249647_PA

Resumen de: WO2025249647A1

The present invention relates to a BIPV module in which a plurality of solar modules are provided in a checkerboard shape on the outside of a roof or a wall, the BIPV module comprising: an outer frame of which the long axis length is in the vertical direction between the plurality of solar modules and which is provided on the outside of the roof or the wall; and a module frame which is coupled to four surfaces of the solar module, and which moves the solar modules to the front side by means of bolt fastening, wherein the module frame moves the solar modules to the front side such that the module frame comes into close contact with the outer frame.

PHOTOVOLTAIC POWER STATION AND FLOATING PHOTOVOLTAIC POWER GENERATION SYSTEM THEREOF

NºPublicación:  WO2025246382A1 04/12/2025
Solicitante: 
DAS SOLAR CO LTD [CN]
\u4E00\u9053\u65B0\u80FD\u6E90\u79D1\u6280\u80A1\u4EFD\u6709\u9650\u516C\u53F8
WO_2025246382_PA

Resumen de: WO2025246382A1

A photovoltaic power station and a floating photovoltaic power generation system (1000) thereof, relating to the field of floating photovoltaic power generation. The floating photovoltaic power generation system comprises: a support unit (1100), a connection unit (1200), and a plurality of float units (1300) arranged in a preset manner. A reinforcement member (1800) is arranged among the float units. The support unit is provided on a bearing surface of the float units and is used to mount a photovoltaic assembly (1700), and at least part of the support unit is integrally formed with the float units. The connection unit comprises a first connection member (1210). The first connection member is disposed on the float units, and the first connection member connects two adjacent float units, so that the two adjacent float units are elastically connected along a first preset direction and a second preset direction, the first preset direction being perpendicular to the second preset direction. The elastic connection between two adjacent float units can cushion the impact of the water surface on the float units and enhance the stability of the connection between the two adjacent float units, thereby facilitating continuous and stable operation of the floating photovoltaic power generation system.

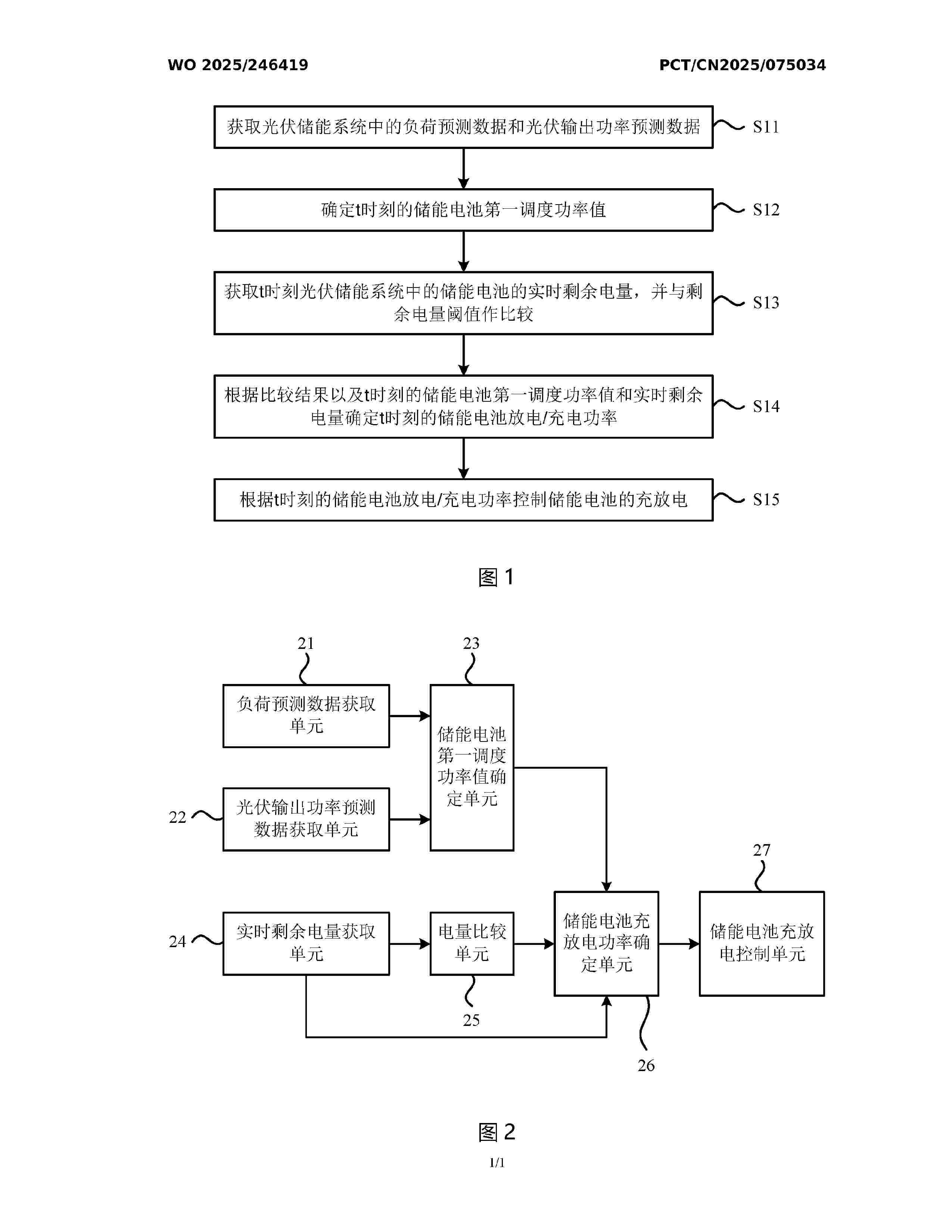
PHOTOVOLTAIC ENERGY STORAGE SYSTEM, AND ENERGY STORAGE CONTROL METHOD AND CONTROL DEVICE THEREOF

NºPublicación:  WO2025246419A1 04/12/2025
Solicitante: 
QINGDAO HAIER AIR CONDITIONER GENERAL CORP LTD [CN]
QINGDAO HAIER AIR CONDITIONING ELECTRONIC CO LTD [CN]
QINGDAO HAIER SMART TECH R & D CO LTD [CN]
HAIER SMART HOME CO LTD [CN]
\u9752\u5C9B\u6D77\u5C14\u7A7A\u8C03\u5668\u6709\u9650\u603B\u516C\u53F8,
\u9752\u5C9B\u6D77\u5C14\u7A7A\u8C03\u7535\u5B50\u6709\u9650\u516C\u53F8,
\u9752\u5C9B\u6D77\u5C14\u667A\u80FD\u6280\u672F\u7814\u53D1\u6709\u9650\u516C\u53F8,
\u6D77\u5C14\u667A\u5BB6\u80A1\u4EFD\u6709\u9650\u516C\u53F8
WO_2025246419_A1

Resumen de: WO2025246419A1

Disclosed in the present invention are a photovoltaic energy storage system, and an energy storage control method and control device thereof. The control method comprises: acquiring load prediction data and photovoltaic output power prediction data; determining a first scheduling power value of an energy storage battery; acquiring a real-time residual power level of the energy storage battery in the photovoltaic energy storage system, and comparing the real-time residual power level with a residual power level threshold; when the real-time residual power level is not lower than the residual power level threshold and the energy storage battery is in a discharging process, determining a discharging power of the energy storage battery on the basis of the first scheduling power value and the real-time residual power level of the energy storage battery; when the real-time residual power level is lower than the residual power level threshold and the energy storage battery is in a charging process, determining a charging power of the energy storage battery on the basis of the first scheduling power value and the real-time residual power level of the energy storage battery; and controlling charging and discharging of the energy storage battery on the basis of the discharging power of the energy storage battery or the charging power of the energy storage battery. By applying the present invention, efficient operation performance of the photovoltaic energy storage system can be improve

SOLAR PANEL ARRAY

NºPublicación:  US2025369580A1 04/12/2025
Solicitante: 
GAMA SONIC USA INC [US]
Gama Sonic USA, Inc
US_2025369580_PA

Resumen de: US2025369580A1

A solar energy device includes a solar panel array including a plurality of solar panels, each of the solar panels being divided into solar sub-panels. The solar sub-panels have unequal shapes but equal areas. Wires electrically connect the solar sub-panels and connect the solar panels. The solar panels are secured on a base which is formed with cutouts to receive the wires. The wires are fixed to the solar sub-panels but are free to move with respect to the base.

SOLAR CELL, SOLAR CELL MODULE AND ELECTRICAL DEVICE

NºPublicación:  US2025374742A1 04/12/2025
Solicitante: 
CONTEMPORARY AMPEREX TECH CO LIMITED [CN]
CONTEMPORARY AMPEREX TECHNOLOGY CO., LIMITED
KR_20250110912_PA

Resumen de: US2025374742A1

A solar cell, a solar cell module and an electrical device are disclosed. The solar cell includes a light absorption layer containing a plurality of perovskite compound grains. In at least one cross section of the light absorption layer perpendicular to a layer thickness direction, a number-based cumulative distribution rate of perovskite compound grains with a long diameter D of 1 μm to 6 μm is ≥90%. The light absorption layer of the present application contains perovskite compound grains with a long grain diameter of 1 μm to 6 μm in at least one cross section perpendicular to the layer thickness direction, with the number-based cumulative distribution rate of the perovskite compound grains being ≥90%.

ENCAPSULANT FILM BASED ON FUNCTIONALIZED POLYOLEFINS

NºPublicación:  US2025374687A1 04/12/2025
Solicitante: 
SABIC GLOBAL TECHNOLOGIES BV [NL]
SABIC GLOBAL TECHNOLOGIES B.V
US_2025374687_A1

Resumen de: US2025374687A1

The invention relates to a film comprising a functionalized polyolefin polymer and to the use of the film as an encapsulant film for a photovoltaic module. The functionalized polyolefin polymer is a polymer selected from: (a) a propylene copolymer, (b) a propylene terpolymer, (c) an ethylene terpolymer, and (d) a polymer mixture comprising any combination of polymers (a) to (c). Further, the functionalized polyolefin polymer comprises <0.8 wt %, of an inorganic metal oxide such as alumina, based on the total weight of the functionalized polyolefin polymer. The invention further relates to an encapsulated solar cell comprising encapsulant layers comprising the film. The invention further relates to a photovoltaic module comprising the encapsulated solar cell and to a process for making the photovoltaic module.

DOCKING CONNECTOR PLATFORM FOR MOBILE ELECTRONIC DEVICES

NºPublicación:  US2025370503A1 04/12/2025
Solicitante: 
POPSOCKETS LLC [US]
PopSockets LLC

Resumen de: US2025370503A1

A docking-accessory platform is configured to couple to a mobile electronic device. The platform includes a front surface and a back surface opposite the front surface of the platform. The back surface of the platform faces a back of the mobile electronic device when the platform is coupled to the mobile electronic device. The platform also includes a docking connector that comprises a cavity, where the docking connector comprises an annular magnetic attachment system formed beneath the front surface of the platform. The annular magnetic attachment system comprises a magnet and is (i) centered laterally on the platform and (ii) configured to form detachable magnetic attachments to compatible docking accessories.

SEGMENTED WIRE HARNESSES FOR BUILDING-INTEGRATED PHOTOVOLTAICS, AND ASSOCIATED SYSTEMS AND METHODS

Nº publicación: US2025369224A1 04/12/2025

Solicitante:

ENERGY FACADE SYSTEMS LLC [US]
Energy Facade Systems LLC

Resumen de: US2025369224A1

A wall system for a building (such as an exterior façade for a building) may include a frame structure configured for attachment to the building. The frame structure may include a plurality of horizontal frame elements, a plurality of vertical frame elements, and an energy distribution system at least partially positionable within at least one of the horizontal frame elements or at least one of the vertical frame elements. The energy distribution system may include a plurality of conductive harness segments and a plurality of terminal connectors. Each terminal connector may releasably interconnect adjacent conductive harness segments to each other or a conductive harness segment to an infill supported in the wall system. The infill may use energy (e.g., a display) or it may produce electricity (e.g., a photovoltaic panel). The energy distribution system may be grounded with grounding wires attached to portions of the frame structure.

traducir