Ministerio de Industria, Turismo y Comercio LogoMinisterior
 

Alerta

Resultados 1317 resultados
LastUpdate Última actualización 26/04/2026 [07:23:00]
pdfxls
Publicaciones de los últimos 15 días/Last 15 days publications (excluidas pubs. CN y JP /CN and JP pubs. excluded)
previousPage Resultados 550 a 575 de 1317 nextPage  

SECONDARY BATTERY AND MANUFACTURING METHOD OF THE SAME

NºPublicación:  EP4730551A2 22/04/2026
Solicitante: 
LG ENERGY SOLUTION LTD [KR]
EP_4730551_PA

Resumen de: EP4730551A2

A secondary battery according to an embodiment of the present disclosure includes an electrode assembly; a battery case that houses the electrode assembly and has an opened upper part; and a cap assembly that is coupled to the opened upper part of the battery case, wherein the cap assembly comprises a safety vent formed with a notch portion, and wherein a gap formed by the notch portion is closed.

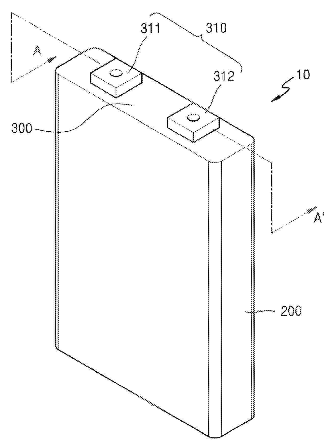
BATTERY MODULE CAPABLE OF PREVENTING MOVEMENT OF GAS TO ADJACENT MODULE

NºPublicación:  EP4730518A2 22/04/2026
Solicitante: 
LG ENERGY SOLUTION LTD [KR]
EP_4730518_A2

Resumen de: EP4730518A2

0001 Disclosed is a battery module capable of preventing the movement of gas to an adjacent module, and more particularly a battery module capable of preventing the movement of gas to an adjacent module, the battery module including a module case (100) and a unit module (200), wherein the module case (100) is made of an insulative material, two or more unit modules (200) are received in the module case, the two or more unit modules (200) are located spaced apart from each other by a predetermined distance, and each of the unit modules (200) includes one or more battery cells (230) stacked in a vertical direction.

METHOD FOR MANUFACTURING BATTERY MODULE, BATTERY MODULE, BATTERY PACK, AND UNMANNED AERIAL VEHICLE

NºPublicación:  EP4730527A2 22/04/2026
Solicitante: 
NINGDE AMPEREX TECHNOLOGY LTD [CN]
EP_4730527_A2

Resumen de: EP4730527A2

0001 This application discloses a method for manufacturing a battery module, including: disposing an adapting plate on a battery cell assembly, and connecting the adapting plate to tabs of the battery cell assembly; providing a fastening frame, where the fastening frame is provided with an accommodating cavity, and the accommodating cavity accommodates the adapting plate and at least part of the battery cell assembly; and providing a filler in a gap between the inner side of the accommodating cavity and the battery cell assembly and a gap between the inner side of the accommodating cavity and the adapting plate. This application further discloses a battery module, and a battery pack and an unmanned aerial vehicle that include the battery module.

CURRENT COLLECTOR, ELECTRODE PLATE AND ELECTROCHEMICAL DEVICE

NºPublicación:  EP4730445A2 22/04/2026
Solicitante: 
CONTEMPORARY AMPEREX TECHNOLOGY HONG KONG LTD [HK]
EP_4730445_PA

Resumen de: EP4730445A2

0001 The present disclosure relates to the technical field of battery, and in particular, relates to a current collector, an electrode plate and an electrochemical device. The current collector includes an insulation layer; a conductive layer at least located on at least one surface of the insulation layer; and a first protective layer provided on a surface of the conductive layer facing away from the insulation layer. The first protective layer is made of a metal. The current collector is provided with a plurality of holes penetrating through the insulation layer, the conductive layer and the first protective layer. The current collector according to the present disclosure is a light-weight current collector, which has good mechanical strength and conductivity, so that the current collector has a good mechanical stability, a good long-term reliability, and a good service life.

BATTERY MODULE, BATTERY PACK INCLUDING BATTERY MODULE, AND VEHICLE INCLUDING BATTERY PACK

NºPublicación:  EP4730514A1 22/04/2026
Solicitante: 
LG ENERGY SOLUTION LTD [KR]
EP_4730514_A1

Resumen de: EP4730514A1

0001 Disclosed is a battery module, which includes a plurality of battery cells stacked on one another and respectively having electrode leads protruding on at least one side thereof, and a bus bar assembly configured to electrically connect the electrode leads of the plurality of battery cells and having at least one lead slot through which electrode leads of two battery cells adjacent to each other pass in common.

FILM COATING DEVICE AND FILM COATING METHOD

NºPublicación:  EP4729426A1 22/04/2026
Solicitante: 
EVE POWER CO LTD [CN]
EP_4729426_PA

Resumen de: EP4729426A1

0001 The present application provides a film coating device and a film coating method. The film coating device comprises a conveying mechanism, a film coating mechanism and a guide mechanism. The conveying mechanism is configured to convey a battery in a first direction; the film coating mechanism comprises a driving assembly, two supports arranged at an interval and two pressing members arranged in parallel, and the supports are connected to the driving assembly; and the film coating mechanism is mounted on the guide mechanism.

BATTERY CELL, BATTERY, AND ELECTRIC DEVICE

NºPublicación:  EP4730533A1 22/04/2026
Solicitante: 
CONTEMPORARY AMPEREX TECHNOLOGY CO LTD [CN]
EP_4730533_PA

Resumen de: EP4730533A1

0001 This application provides a battery cell, a battery, and an electric device, relating to the field of batteries. The battery cell includes a housing, a pressure relief mechanism, and a reinforcement member. The housing has a wall portion, where the wall portion has an inner surface facing an interior of the housing, and the inner surface is provided with a groove. The pressure relief mechanism is disposed on the wall portion. The reinforcement member is at least partially accommodated in the groove, and the reinforcement member is disposed around the pressure relief mechanism. Since the reinforcement member is accommodated in the groove, a height by which the reinforcement member protrudes from the wall portion can be reduced. The provision of the groove can reduce a weight of the wall portion. Accommodating at least a portion of the reinforcement member in the groove can enhance rigidity and strength at a position where the groove is provided, improving strength and rigidity of the wall portion without significantly increasing the weight of the wall portion. When the wall portion is subjected to external impact, the reinforcement member can absorb energy of the external impact, reducing a risk of damage to the pressure relief mechanism due to the external impact, enabling the pressure relief mechanism to achieve normal pressure relief function.

BATTERY CONTAINER

NºPublicación:  EP4730546A2 22/04/2026
Solicitante: 
LG ENERGY SOLUTION LTD [KR]
EP_4730546_A2

Resumen de: EP4730546A2

Disclosed is a battery container excellent in workability, assembly, expandability, and safety. The battery container includes at least one battery rack including a plurality of battery modules; a container housing having an empty space formed therein to accommodate the battery rack; a plurality of main connectors located on at least one side of the container housing and configured to be electrically connected to the outside; and a main bus bar connected between the plurality of main connectors to transmit power.

BATTERY CELL, BATTERY, AND ELECTRICAL DEVICE

NºPublicación:  EP4730541A1 22/04/2026
Solicitante: 
NINGDE AMPEREX TECHNOLOGY LTD [CN]
EP_4730541_PA

Resumen de: EP4730541A1

0001 This application discloses a cell, a battery, and an electric device. The cell includes an electrode assembly and an electrode terminal. The electrode assembly comprises a top and a bottom arranged along a first direction. The electrode terminal is configured to connect to the top. The electrode assembly is formed by winding or stacking, and the electrode assembly includes N layers of separators, N being a natural number greater than or equal to 3. Each layer of separator includes a first extension portion extending out of the bottom along the first direction. The N layers of first extension portions are arranged along a second direction. Along the second direction, the first extension portion of the first layer to the first extension portion of the (N-1)-th layer are bent, with adjacent ones of the first extension portions connected. The separator includes a second extension portion extending out of the top. The second extension portion is configured to connect to the electrode terminal. This application is conducive to increasing the energy density of the cell and the tensile strength of the electrode terminal.

BATTERY UNIT, IN PARTICULAR FOR A WATERCRAFT, BATTERY SYSTEM, AND WATERCRAFT

NºPublicación:  EP4728587A1 22/04/2026
Solicitante: 
LEHMANN MARINE GMBH [DE]
DE_202023103337_PA

Resumen de: WO2024256464A1

The aim of the invention is to provide a battery unit, in particular for a watercraft, in which the battery cells provided in the battery unit are cooled in a thermally uniform way. This aim is achieved by a battery unit (100) comprising a housing (10) and at least one battery cell block (11a, 11b) that is located in the housing (10) and has at least one battery cell, wherein: the battery cell block (11a, 11b) comprises a sealed battery cell block housing (38); the at least one battery cell (12) is located in the battery cell block housing (38); the battery unit comprises at least one cooling channel (15, 15a, 15b) for air, which extends from a first side (13) of the housing (10) to a second side (14) of the housing (10) opposite the first side (13) and which has an inlet opening (16) located in the first side (13) and an outlet opening (17) located in the second side (14); the cooling channel (15, 15a, 15b) is arranged and designed for cooling the at least one battery cell (12) of the battery cell block (11a, 11b); the at least one cooling channel (15, 15a, 15b) has, along its extension between the inlet opening (16) and the outlet opening (17), at least one additional inlet opening (20) for the additional supply of air.

BATTERY CELL, BATTERY, POWER CONSUMPTION APPARATUS, AND METHOD AND APPARATUS FOR MANUFACTURING BATTERY CELL

NºPublicación:  EP4730499A2 22/04/2026
Solicitante: 
CONTEMPORARY AMPEREX TECHNOLOGY HONG KONG LTD [HK]
EP_4730499_PA

Resumen de: EP4730499A2

0001 The embodiment of the present application relates to the technical field of batteries. Provided are a battery cell, a battery, a power consumption apparatus, and a method and an apparatus for manufacturing the battery cell. The battery cell comprises a shell, an electrode assembly, an end cover and a current collecting member. The electrode assembly is accommodated in the shell, and the electrode assembly comprises a main body part and a first lug. The end cover covers an opening of the shell, and the end cover is provided with a liquid injection hole. The current collecting member is accommodated in the shell and located on the side of the end cover facing the main body part, and the current collecting member is configured to connect the first lug and the end cover so as to achieve electric connection between the end cover and the lug. The current collecting member is provided with a first center hole and a flow guide channel, the first center hole and the liquid injection hole are oppositely arranged, and the flow guide channel is configured to allow at least part of electrolyte entering the battery cell from the liquid injection hole to enter the main body part. The electrolyte entering the battery cell from the liquid injection hole can more easily permeate into the electrode assembly, thereby improving the liquid injection efficiency and improving the permeation effect of the electrolyte on the electrode assembly.

FLAME-RETARDANT NON-AQUEOUS ELECTROLYTIC SOLUTION AND SECONDARY BATTERY USING SAME

NºPublicación:  EP4730479A2 22/04/2026
Solicitante: 
UNIV KYOTO [JP]
STELLA CHEMIFA CORP [JP]
EP_4730479_PA

Resumen de: EP4730479A2

0001 A flame-retardant non-aqueous electrolytic solution comprising at least a non-aqueous solvent and an electrolyte dissolved in the non-aqueous solvent, wherein the non-aqueous solvent contains a phosphoric acid ester, the phosphoric acid ester is at least one of compounds of chemical formulae (1) to (3) below, the electrolyte contains at least one difluorophosphoric acid salt, and a content of the phosphoric acid ester is 20 mass% or more with respect to a total mass of the flame-retardant non-aqueous electrolytic solution: wherein X<1> to X<3> each independently represent a hydrocarbon group having 1 to 20 carbon atoms and at least one of a halogen atom and a heteroatom, or each of X<1> to X<3> is the hydrocarbon group having 1 to 20 carbon atoms and at least one of a halogen atom and a heteroatom, and arbitrarily selected combinations thereof are bonded to one another to form a cyclic structure, and wherein Y<1> and Y<2> each independently represent a halogen atom.

ENERGY-STORAGE APPARATUS AND ELECTRICITY-CONSUMPTION DEVICE

NºPublicación:  EP4730498A2 22/04/2026
Solicitante: 
HITHIUM TECH HK LTD [HK]
EP_4730498_PA

Resumen de: EP4730498A2

0001 An energy-storage apparatus and an electricity-consumption device are disclosed in the present disclosure. The energy-storage apparatus includes a housing having an opening, an electrode assembly, an end cover assembly sealing the opening, and a first connector. The housing defines an accommodating cavity. The end cover assembly includes a top cover and a lower plastic assembly. The lower plastic assembly is disposed between the top cover and the electrode assembly. The lower plastic assembly is located between the top cover and the first connector. The top cover includes a first stimulus-response member. The lower plastic assembly includes a first-lower-plastic-member body, a first recess, and a first vent hole. The first-lower-plastic-member body has a first surface and a second bottom surface. The first recess is recessed from the second surface to the first surface. The first vent hole is defined in a recess bottom-wall of the first recess and penetrates through the recess bottom-wall and the first surface. The first vent hole is opposite to the first stimulus-response member in a thickness direction of the end cover assembly. The first connector is connected between the end cover assembly and the electrode assembly. A part of the first recess is blocked by the first connector, and the rest of the first recess exposed beyond the first connector forms a vent passage. The vent passage is in communication with the first vent hole.

BATTERY MANAGEMENT SYSTEM AND METHOD

NºPublicación:  US12606050B1 21/04/2026
Solicitante: 
GM GLOBAL TECH OPERATIONS LLC [US]
US_12606050_B1

Resumen de: US12606050B1

According to several aspects, a battery management method may include adjusting an operation of a battery cell based at least in part on a plurality of battery metrics including a first battery metric, a second battery metric, a third battery metric, and a fourth battery metric. The operation of the battery cell is adjusted to maintain at least a first battery metric within a first predetermined range, a second battery metric within a second predetermined range, a third battery metric within a third predetermined range, and a fourth battery metric within a fourth predetermined range.

Connecteur pour la circulation en fluide caloporteur d’un dispositif de régulation thermique

NºPublicación:  FR3167437A1 17/04/2026
Solicitante: 
VALEO SYSTEMES THERMIQUES [FR]
FR_3167437_A1

Resumen de: FR3167437A1

Titre de l’invention : Connecteur pour la circulation en fluide caloporteur d’un dispositif de régulation thermique La présente invention concerne un connecteur (14) pour la circulation en fluide caloporteur d’un dispositif de régulation thermique (1) d’organes de stockage d’énergie électrique (3), comprenant un premier conduit (28) de circulation de fluide caloporteur et un deuxième conduit (30) de circulation de fluide caloporteur disposé autour du premier conduit (28), le premier conduit (28) présentant une encoche (42) et le deuxième conduit (30) présentant une première fente (44) et une deuxième fente (46), le connecteur (14) comprenant un moyen d’obstruction partielle (36) partielle du deuxième conduit (30), l’encoche (42) du premier conduit (28) et la première fente (44) du deuxième conduit (30) communiquant via un corps creux du moyen d’obstruction partielle (36). Figure de l’abrégé : Figure 2

DISPOSITIF POUR LA THERMOREGULATION DE BATTERIE DE VEHICULE ELECTRIQUE OU HYBRIDE ET PROCEDE METTANT EN ŒUVRE UN TEL DISPOSITIF

NºPublicación:  FR3167479A1 17/04/2026
Solicitante: 
STELLANTIS AUTO SAS [FR]
FCA US LLC [US]
FR_3167479_A1

Resumen de: FR3167479A1

L’invention concerne un dispositif pour la thermorégulation de batterie (1) de véhicule électrique ou hybride et un procédé mettant en œuvre le dispositif. Le dispositif comporte :- une cellule de batterie (10) ;- un pulvérisateur (20) configuré pour pulvériser un fluide sur la cellule de batterie (10), le pulvérisateur (20) étant raccordé à un circuit de fluide (10) comprenant un premier raccord et un deuxième raccord, le circuit de fluide (10) comprenant un capteur de pression configuré pour mesurer la pression du fluide dans le circuit de fluide (10), le premier raccord comprenant un filtre, le deuxième raccord comprenant une vanne configurée pour être dans un état fermé et pour être dans un état ouvert, la vanne étant par défaut dans l’état fermé. Figure 1

DISPOSITIF POUR LE REFROIDISSEMENT D’UNE BATTERIE D’UN VEHICULE ELECTRIQUE OU HYBRIDE, ET PROCEDE METTANT EN ŒUVRE LE DISPOSITIF

NºPublicación:  FR3167478A1 17/04/2026
Solicitante: 
STELLANTIS AUTO SAS [FR]
FCA US LLC [US]
FR_3167478_A1

Resumen de: FR3167478A1

L’invention concerne un dispositif (100) pour le refroidissement d’une batterie d’un véhicule électrique ou hybride et un procédé mettant en œuvre le dispositif (100). Le dispositif (100) comprend un réservoir (110) comportant un conteneur (111). Le dispositif (100) comprend par ailleurs un circuit caloporteur (120) comportant une partie du circuit caloporteur (130) passant par le conteneur et un échangeur de chaleur (170). Le circuit caloporteur (120) comprend deux vannes (161, 162) configurées pour basculer dans un état ouvert ou un état fermé de manière à fournir un fluide caloporteur à la batterie (200) à une température comprise dans un intervalle de valeurs de température prédéterminées. Figure 3

BATTERIE DE TRACTION DE VEHICULE AUTOMOBILE AVEC MARQUAGES D’ENTREE D’EAU DE REFROIDISSEMENT

NºPublicación:  FR3167310A1 17/04/2026
Solicitante: 
STELLANTIS AUTO SAS [FR]
FR_3167310_A1

Resumen de: FR3167310A1

Batterie de traction de véhicule automobile électrique ou hybride, comportant un bac fermé contenant des cellules électrochimiques (30), et sur ce bac des emplacements d’ouverture permettant d'injecter une eau de refroidissement, le bac présentant des formes extérieures particulières (16) constituant un marquage désignant les emplacements d’ouverture prévus pour être percés, chaque emplacement d’ouverture étant disposé en face d’une zone intérieure de ce bac (34) qui est libre de cellules électrochimiques (30). Figure 2

Ensemble de détection d’échauffement d’une batterie de traction d’un véhicule électrique et procédé de détection d’échauffement mis en œuvre par ledit ensemble

NºPublicación:  FR3167482A1 17/04/2026
Solicitante: 
COLOMBO TECH [FR]
FR_3167482_A1

Resumen de: FR3167482A1

Ensemble de détection d’échauffement d’une batterie de traction d’un véhicule électrique et procédé de détection d’échauffement mis en œuvre par un tel ensemble. L’invention concerne un ensemble (1) de détection d’échauffement d’une batterie de traction d’un véhicule électrique (3), comprenant :- un dispositif d’acquisition de données (7) représentatives de températures d’une batterie de traction, comprenant un boîtier (9) présentant une résistance à l’écrasement supérieure à une tonne agencé sur un sol (11) et une caméra thermique montée dans ledit boîtier pour acquérir des données d’images thermiques de ladite batterie,- un contrôleur, adapté pour collecter lesdites données,- une centrale de supervision (15), pour récupérer lesdites données, programmée pour envoyer un signal (17) de déclenchement d’alerte lorsque lesdites données sont représentatives d’une élévation de la température de ladite batterie au-delà d’une valeur seuil ou d’une différence de température dans un intervalle de temps supérieure à une valeur seuil. Figure 1

Procédé de fabrication par voie sèche d’électrodes et ensemble associé

NºPublicación:  FR3167480A1 17/04/2026
Solicitante: 
AUTOMOTIVE CELLS COMPANY SE [FR]
FR_3167480_A1

Resumen de: FR3167480A1

L'invention concerne un procédé de fabrication par voie sèche d’électrodes (90) pour des cellules d’une batterie, le procédé de fabrication étant caractérisé en ce qu’il comprend au moins : (i) une étape de découpage de bordures latérales (51) d’un film (50) de matériau actif d’électrode de manière à obtenir un film prédécoupé (60) de largeur prédéterminée mesurée entre ses bordures latérales (51) ; (ii) une étape de découpage du film prédécoupé (60) de matériau actif d’électrode de sorte à diviser le film prédécoupé (60) en une pluralité de bandes découpées (70) de matériau actif d’électrode, chacune desdites bandes découpées (70) de matériau actif d’électrode étant configurée pour équiper une ou deux électrodes (90), la largeur prédéterminée du film prédécoupé (60) étant égale à la somme des largeurs de chacune des bandes découpées (70) dans le film prédécoupé (60) ; (iii) une étape de laminage d’au moins une bande découpée (70) de matériau actif d’électrode de la pluralité de bandes découpées (70) sur au moins une face d’un feuillard collecteur de courant (75), pour former une bande d’électrode laminée (80). (Fig. 1)

PROCEDE POUR LA THERMOREGULATION D’UNE BATTERIE DE VEHICULE ELECTRIQUE OU HYBRIDE, COMPRENANT UN CYCLE DE TENSION ALTERNEE

NºPublicación:  FR3167348A1 17/04/2026
Solicitante: 
STELLANTIS AUTO SAS [FR]
FCA US LLC [US]
FR_3167348_A1

Resumen de: FR3167348A1

L’invention concerne un procédé de thermorégulation d’une batterie de véhicule électrique ou hybride. La batterie comprend une sonde de température. Le procédé comprend les étapes suivantes pour un cycle de tension alternée :- une étape de mesure (E1) de la température de la batterie par la sonde de température ;- une première étape (E2) et une deuxième étape (E3) de mise en tension de la batterie respectivement à une première valeur de tension électrique et à une deuxième valeur de tension électrique respectivement pendant une première durée prédéterminée et pendant une deuxième durée prédéterminée respectivement comprises pendant le cycle de tension alternée lorsque la valeur de température mesurée est inférieure à une valeur de température prédéterminée.Ainsi, la batterie peut être réchauffée. Figure 1

Method For Synthesising A Material For A Lithium-Ion Battery Consisting Of Nanoporous Lithium Iron Phosphate Particles

NºPublicación:  US20260103380A1 16/04/2026
Solicitante: 
OCP SA [MA]
UNIV MOHAMMED VI POLYTECHNIQUE [MA]
US_20260103380_A1

Resumen de: US20260103380A1

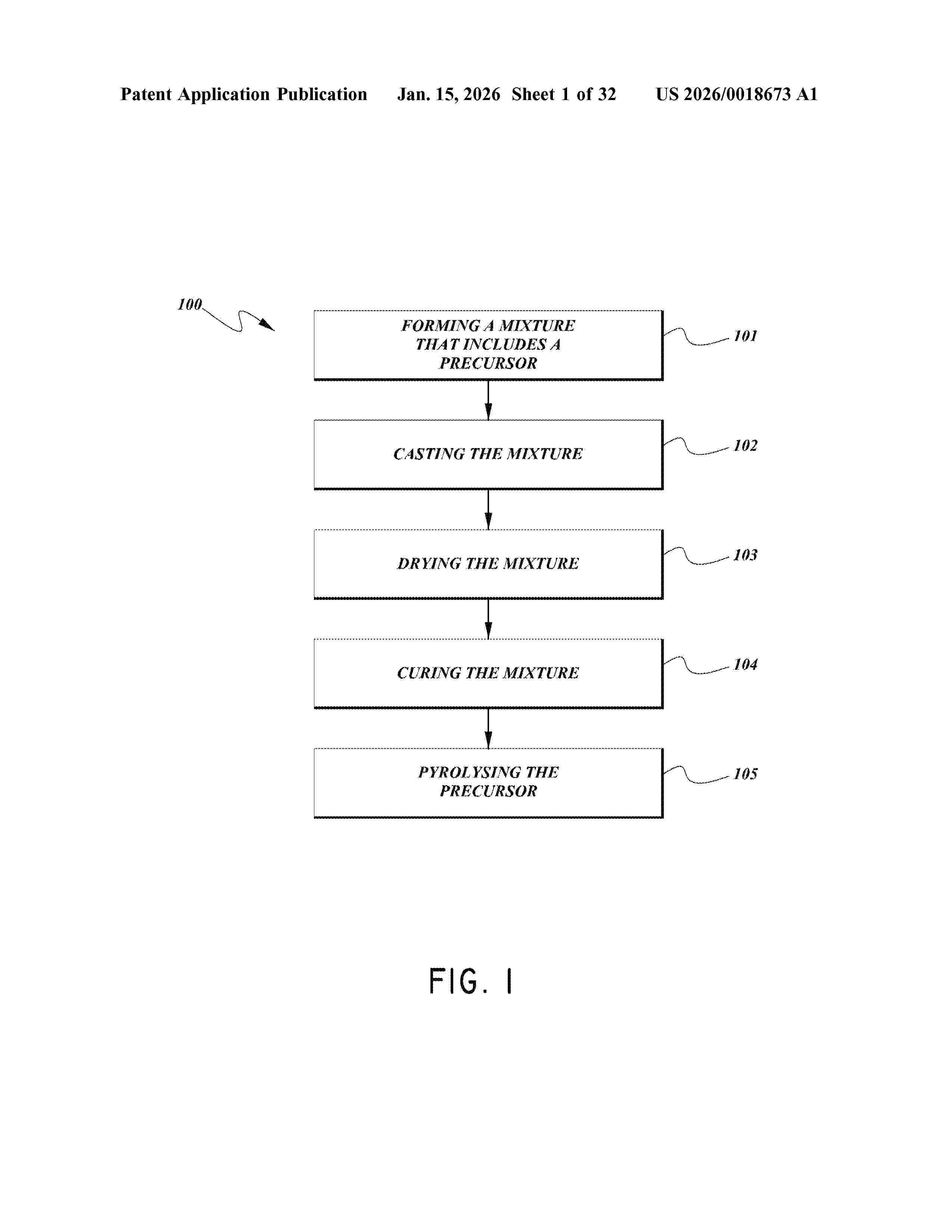
0000 The invention concerns a method for synthesizing a lithium-ion battery material consisting of nanoporous lithium iron phosphate particles (1), the method comprising the following steps: (E1) forming a precipitation solution by mixing a lithium source (4), an iron(II) source (5), a phosphorus source (6), a reducing agent (8) and carbon nano-objects (7) in a solvent so as to coprecipitate lithium, iron and phosphorus around the carbon nano-objects in the form of particles, referred to as LFP/C (9), lithium iron phosphate particles incorporating the carbon nano-objects; (E2) separating the LFP/C (9) particles from the precipitation solution; (E3) drying the LFP/C particles (9); (E4) calcining the LFP/C particles (9) so as to decompose the carbon nano-objects (7) incorporated in the particles, the decomposition of the nano-objects (7) generating nanopores (3) within the lithium iron phosphate particles.

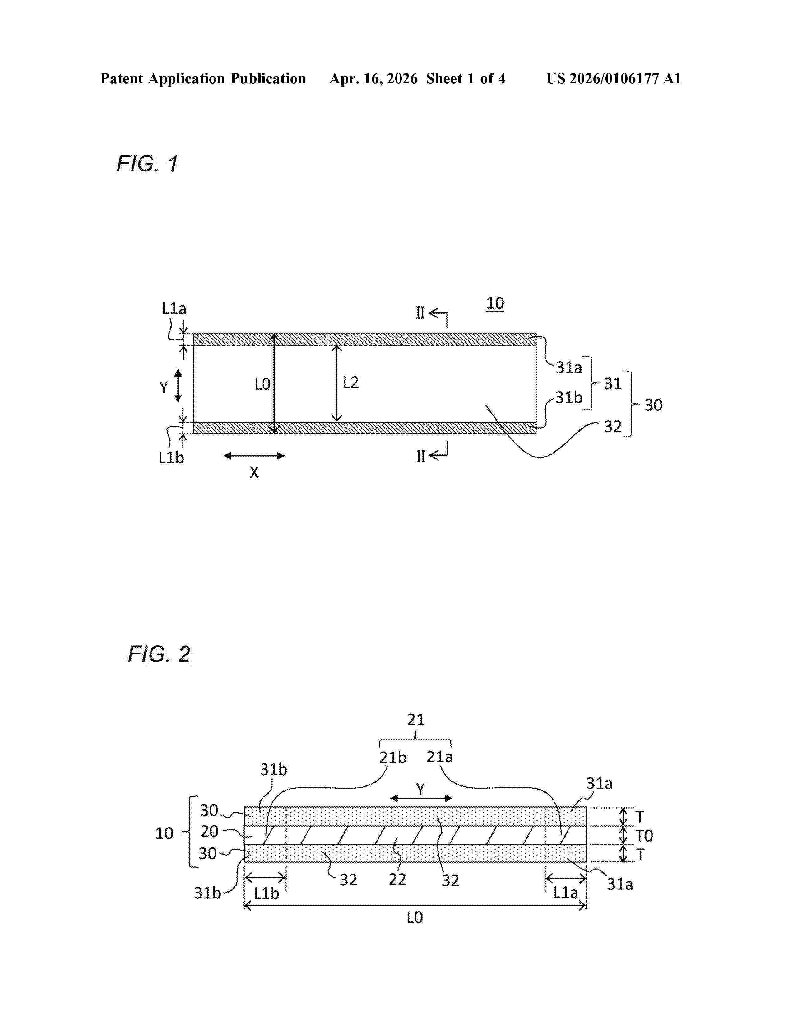
SECONDARY BATTERY POSITIVE ELECTRODE, SECONDARY BATTERY, AND PRODUCTION METHOD FOR SECONDARY BATTERY POSITIVE ELECTRODE

NºPublicación:  US20260106177A1 16/04/2026
Solicitante: 
PANASONIC ENERGY CO LTD [JP]
US_20260106177_A1

Resumen de: US20260106177A1

A secondary battery positive electrode includes a belt-shaped positive electrode current collector with two regions and a positive electrode mixture thereon. The first region being at both ends and the second region is a central area. The positive electrode mixture layer includes a first positive electrode mixture layer carried on the first region and a second positive electrode mixture layer carried on the second region. The positive electrode mixture layer includes a first positive electrode mixture layer on the first region and a second positive electrode mixture layer on the second region. An average particle diameter D1 of a first positive electrode active material of the first positive electrode mixture layer is 1 μm or more and 7 μm or less. An average particle diameter D2 of a second positive electrode active material of the second positive electrode material layer is 9 μm or more and 30 μm or less.

ELECTRODE MANUFACTURING

NºPublicación:  US20260106130A1 16/04/2026
Solicitante: 
ZAF ENERGY SYSTEMS INCORPORATED [US]
US_20260106130_A1

Resumen de: US20260106130A1

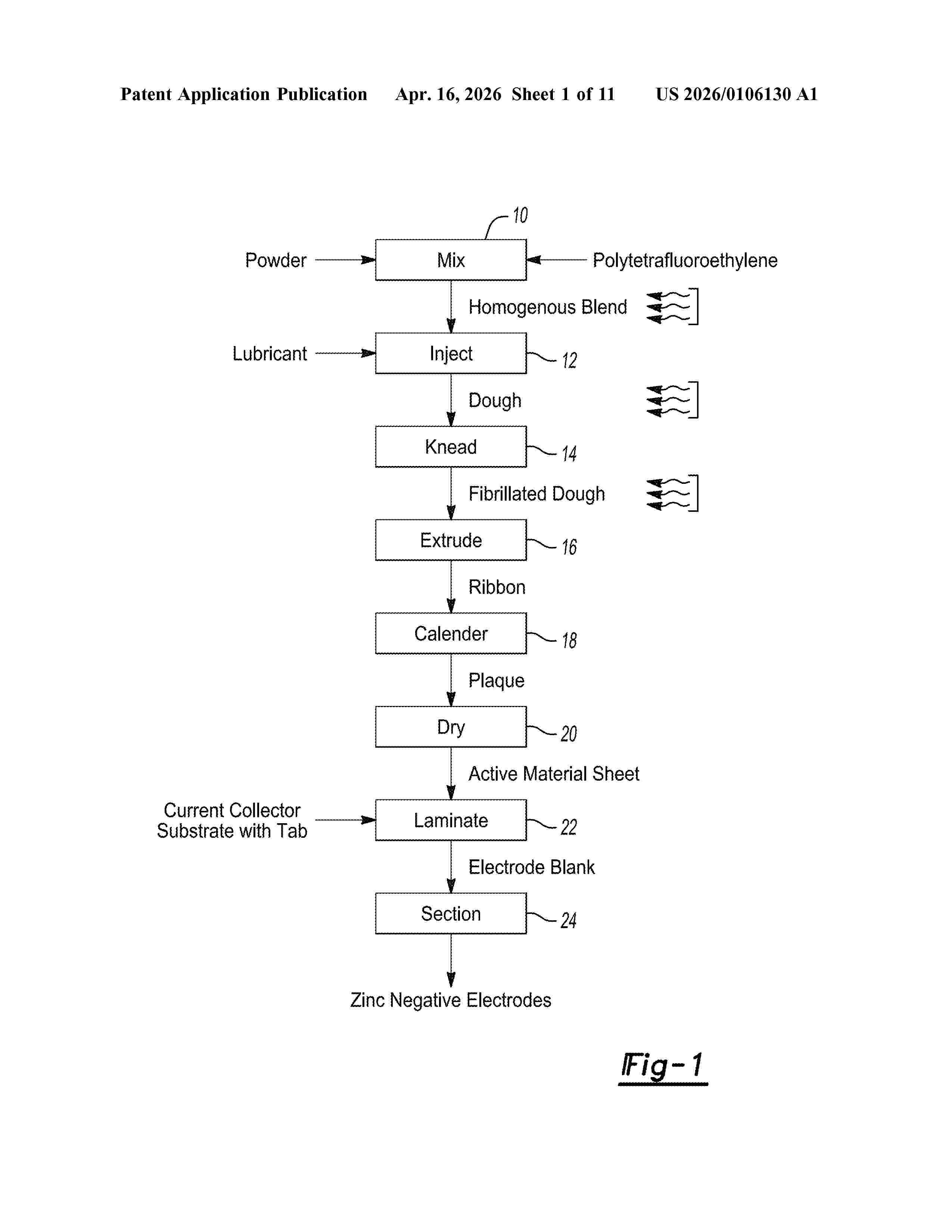
A method for manufacturing electrodes includes, by an extruder that receives powder, mixing the powder to form a homogenous blend, injecting a lubricant into the homogenous blend to form a dough, and kneading the dough to form a fibrillated dough. The method further includes, by calender rollers, calendering chunks of the fibrillated dough to a target thickness to form a continuous plaque, by a laminating machine, laminating the plaque to opposite sides of a metal substrate to form a continuous electrode preform, by a dryer, drying the continuous electrode preform to form a dry continuous electrode preform, and by a cutting machine, sectioning the dry continuous electrode preform into electrodes.

ELECTROLYTE ADDITIVE, BATTERY ELECTROLYTE AND APPLICATION THEREOF

Nº publicación: US20260106219A1 16/04/2026

Solicitante:

SHENZHEN INNOVAZONE TECH CO LTD [CN]
QUJING INNOVAZONE TECH CO LTD [CN]
FOSHAN INNOVAZONE TECH CO LTD [CN]

US_20260106219_A1

Resumen de: US20260106219A1

An electrolyte additive, including a radical trapping agent, which includes at least one of a structural formula I and a structural formula II. The radical trapping agent of the provided structural formulas I-II can stably carry nitrogen free radicals or oxygen free radicals. Therefore, when used in the electrolyte, the electrolyte additive can consume harmful groups, such as CH3· free radicals, acyl free radicals, and CH3O· free radicals, generated during the charging and discharging process of the secondary battery, and can effectively inhibit the generation of active oxygen in the cathode additive of the secondary battery. In this way, the gas production phenomenon of the secondary battery during the charging and discharging process is effectively inhibited, the gas production volume is significantly reduced, and the volume expansion of the secondary battery is reduced, thereby effective improving the stability and safety of the charging and discharging of the secondary battery.

traducir