Ministerio de Industria, Turismo y Comercio LogoMinisterior
 

Alerta

Resultados 1316 resultados
LastUpdate Última actualización 02/11/2025 [07:11:00]
pdfxls
Publicaciones de los últimos 15 días/Last 15 days publications (excluidas pubs. CN y JP /CN and JP pubs. excluded)
previousPage Resultados 300 a 325 de 1316 nextPage  

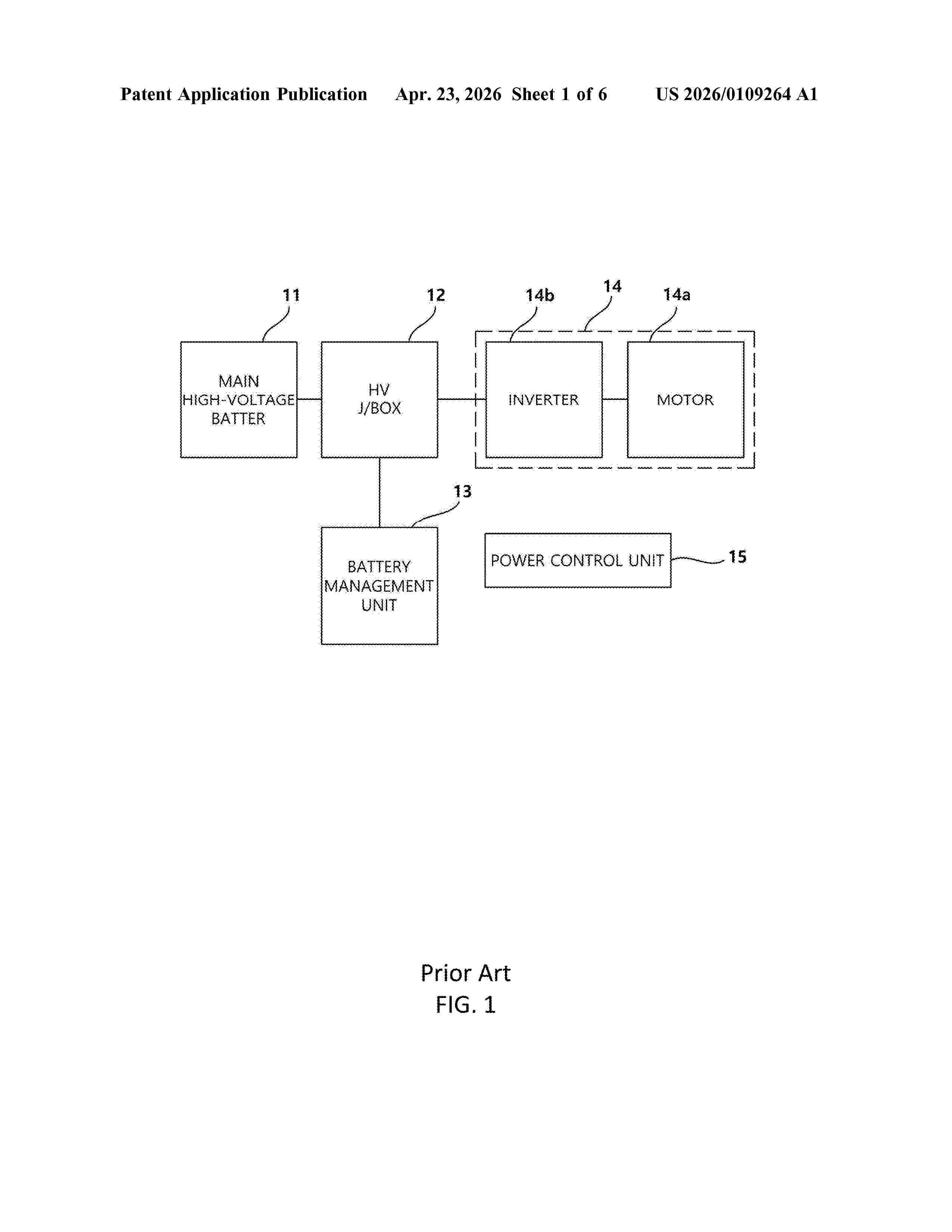
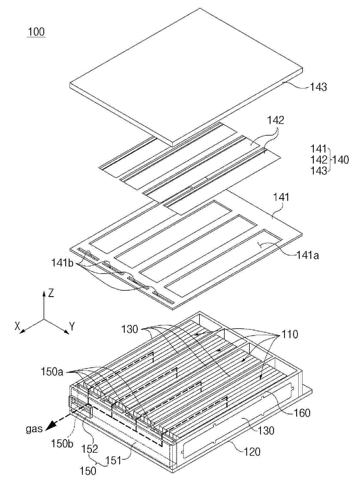
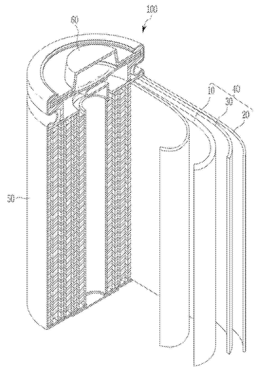
BATTERY MODULE COMPRISING BARRIER AND BATTERY PACK COMPRISING THE SAME

NºPublicación:  US2025337100A1 30/10/2025
Solicitante: 
SK ON CO LTD [KR]
SK On Co., Ltd
US_2025337100_PA

Resumen de: US2025337100A1

A battery module includes a cell assembly including a plurality of battery cells; a module housing accommodating the cell assembly and including a plurality of venting holes; a first barrier disposed on an inner surface of the module housing and including a plurality of first venting portions configured to deform based on pressure inside the module housing; and a second barrier disposed on an outer surface of the module housing and including a plurality of through-holes. At least a portion 10 of gas generated in the cell assembly is configured to be discharged to an outside of the module housing through the plurality of first venting portions, the plurality of venting holes, and the plurality of through-holes.

TRACTION BATTERY PACK IMMERSION THERMAL MANAGEMENT SYSTEM WITH MULTIPLE OUTLET PORTS

NºPublicación:  US2025337048A1 30/10/2025
Solicitante: 
FORD GLOBAL TECH LLC [US]
Ford Global Technologies, LLC
US_2025337048_PA

Resumen de: US2025337048A1

A traction battery pack immersion thermal management system includes a coolant delivery system that communicates a coolant from an coolant supply to a battery case that houses a cell stack. The coolant delivery system includes at least one inlet port to the battery. The thermal management system additionally includes a coolant return system that communicates the coolant from the battery case back to the coolant supply. The coolant return system including a plurality of outlet ports and a return manifold. The outlet ports each separately fluidly connect the battery case to the return manifold. The return manifold is configured such that coolant received from each of the plurality of outlet ports is mixed within the return manifold prior to reaching the coolant supply.

THERMAL REGULATION DEVICE FOR COOLING AN ELECTRICAL ENERGY STORAGE MEMBER

NºPublicación:  US2025337041A1 30/10/2025
Solicitante: 
VALEO SYSTEMES THERMIQUES [FR]
VALEO SYSTEMES THERMIQUES
US_2025337041_PA

Resumen de: US2025337041A1

A thermal regulation device for cooling of an energy storage unit, including a first stage and a second stage. The first stage includes a first support plate and a first distribution plate. The thermal regulation device includes at least one additional plate positioned against the first support plate, and delimiting at least one duct for circulation of the cooling fluid. The first stage and the second stage are in fluidic communication via the additional plate and a connection means.

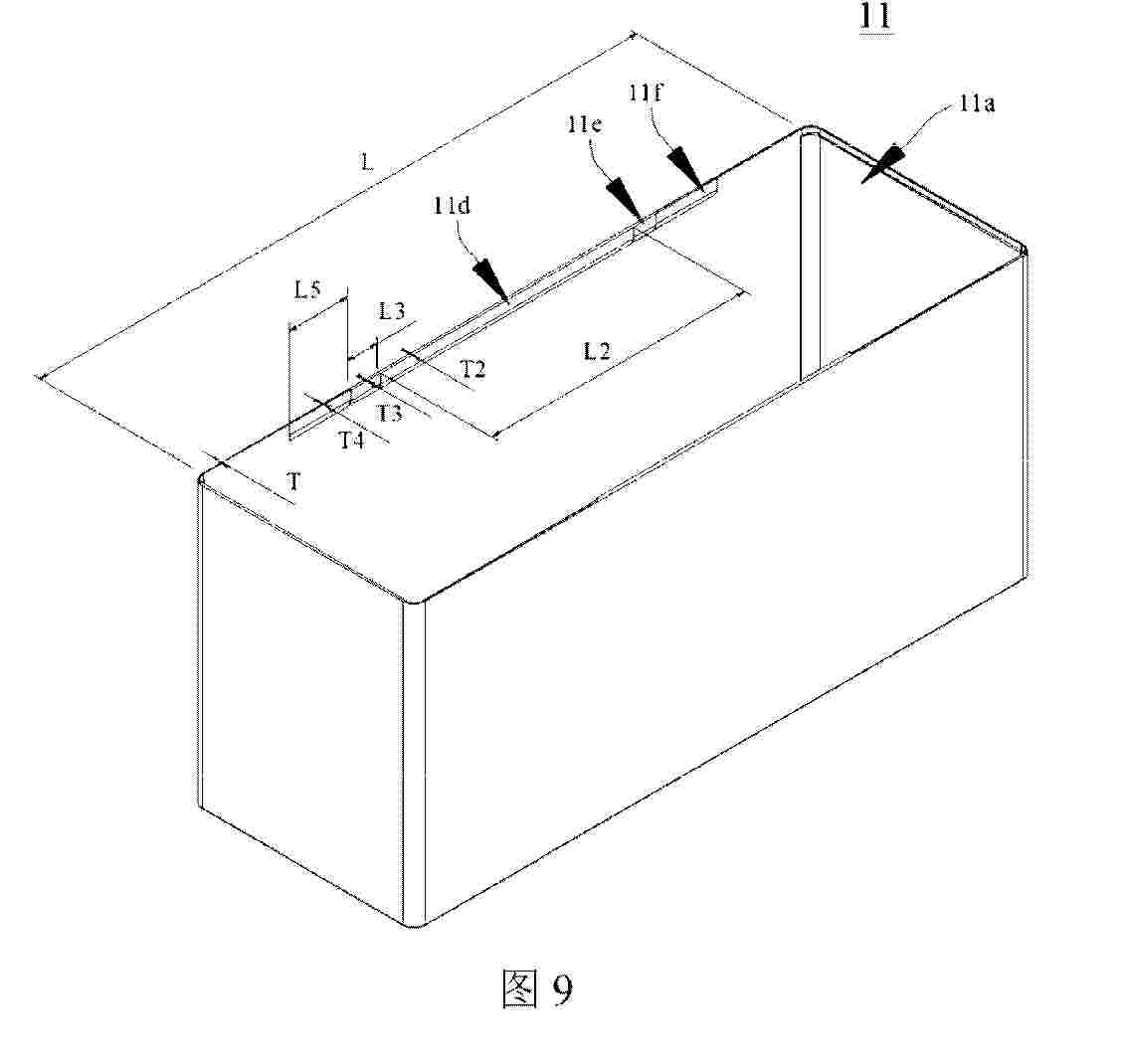
BATTERY CASE

NºPublicación:  US2025337076A1 30/10/2025
Solicitante: 
MURATA MFG CO LTD [JP]
MURATA MANUFACTURING CO., LTD
US_2025337076_PA

Resumen de: US2025337076A1

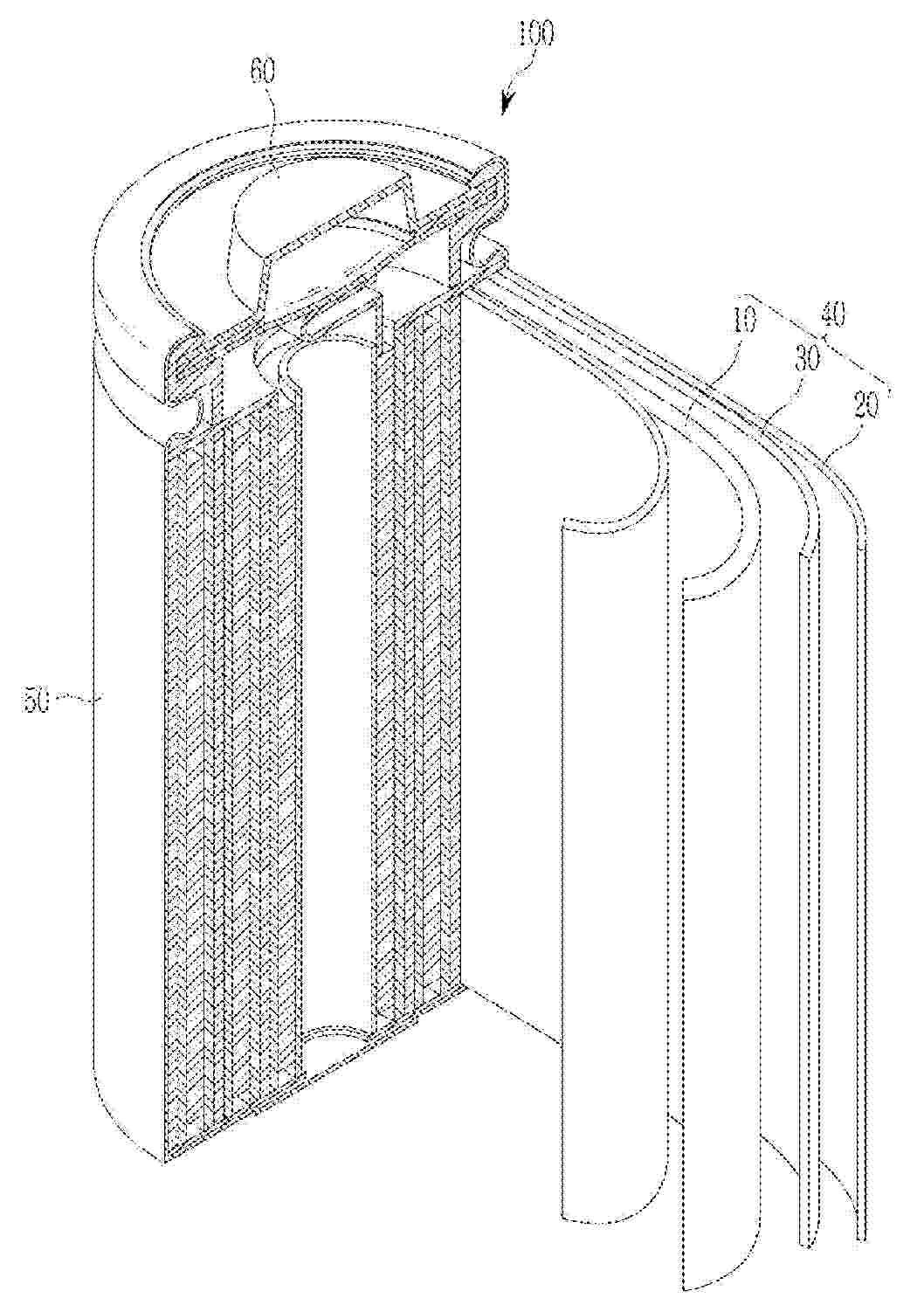
A battery case is provided and including a plurality of accommodating portions each accommodating one cylindrical battery cell, the accommodating portions 11 being arranged side by side in one direction, in which each of the accommodating portions has a wall portion defining a space for accommodating the cylindrical battery cell, the wall portion in a state before accommodating the cylindrical battery cell defines an elliptical cylindrical space, a direction in which the accommodating portions are arranged in one direction is defined as a long axis direction of the elliptical cylindrical space, a direction perpendicular to the long axis direction is defined as a short axis direction, and a direction perpendicular to the long axis direction and the short axis direction and parallel to a central axis of the elliptical cylindrical space is defined as a depth direction, and a longest long axis diameter in the long axis direction of the elliptical cylindrical space in each of the accommodating portions 11 is equal to or larger than a diameter of the cylindrical battery cell.

SECONDARY BATTERY PACK

NºPublicación:  US2025337069A1 30/10/2025
Solicitante: 
LG ENERGY SOLUTION LTD [KR]
LG ENERGY SOLUTION, LTD
US_2025337069_PA

Resumen de: US2025337069A1

A secondary battery pack includes a plurality of secondary batteries; a lower frame configured to support a lower portion of each of the plurality of secondary batteries; a side frame provided in plurality to be spaced apart from each other to vertically extend from the lower frame so as to define a plurality of separation spaces; and an upper frame provided above the side frame to open and close each of the plurality of separation spaces.

POSITIVE ELECTRODE FOR RECHARGEABLE LITHIUM BATTERY, AND RECHARGEABLE LITHIUM BATTERY INCLUDING THE SAME

NºPublicación:  US2025336945A1 30/10/2025
Solicitante: 
SAMSUNG SDI CO LTD [KR]
SAMSUNG SDI CO., LTD
US_2025336945_PA

Resumen de: US2025336945A1

A rechargeable lithium battery including a positive electrode, the positive electrode including a current collector, a first active material layer on the current collector, and a second active material layer on the first active material layer, wherein the first active material layer and the second active material layer each include a first particle, and the second active material layer further includes a second particle. The first particle is an olivine-based particle, and the second particle is a layered particle.

SECONDARY BATTERY MANUFACTURING EQUIPMENT AND SECONDARY BATTERIES MANUFACTURED USING THE SAME

NºPublicación:  US2025337001A1 30/10/2025
Solicitante: 
SAMSUNG SDI CO LTD [KR]
Samsung SDI Co., Ltd
US_2025337001_PA

Resumen de: US2025337001A1

Some embodiments provide a secondary battery manufacturing equipment and secondary batteries manufactured using the same, in which tension of a separator may be maintained constant without compensating for the tension (e.g., with a separate device). When manufacturing an electrode assembly by stacking separators in a zigzag manner, the velocity of a driving roller and a final roller may be synchronized, so that the tension of the separator may be maintained constant without a separate separator tension compensation device. By controlling the design parameters of the secondary battery manufacturing equipment, the residual amount of the separators and the instantaneously required supply amount may be minimized and kept constant even if the size of the electrode assembly varies. Accordingly, there is no need for a separate tension compensation device or length compensation device to control the tension of the separator, thereby simplifying equipment and improving cell alignment precision during high-velocity stacking.

POSITIVE ELECTRODES AND RECHARGEABLE LITHIUM BATTERIES

NºPublicación:  US2025336947A1 30/10/2025
Solicitante: 
SAMSUNG SDI CO LTD [KR]
SAMSUNG SDI CO., LTD
US_2025336947_PA

Resumen de: US2025336947A1

Disclosed are a positive electrode for a rechargeable lithium battery, the positive electrode including a current collector, a first positive electrode active material layer on the current collector, and a second positive electrode active material layer on the first positive electrode active material layer. The first positive electrode active material layer includes a first positive electrode active material including a lithium transition metal composite oxide as secondary particles formed by agglomeration of a plurality of primary particles, and a second positive electrode active material including a lithium transition metal composite oxide as single particles. The second positive electrode active material layer includes a third positive electrode active material including a lithium transition metal composite oxide as secondary particles formed by agglomeration of a plurality of primary particles, and a fourth positive electrode active material including a lithium transition metal composite oxide as secondary particles.

Cathode Active Material for Lithium Secondary Battery, Method of Preparing the Same and Lithium Secondary Battery Including the Same

NºPublicación:  US2025336949A1 30/10/2025
Solicitante: 
SK ON CO LTD [KR]
SK On Co., Ltd
US_2025336949_PA

Resumen de: US2025336949A1

A cathode active material for a lithium secondary battery according to the embodiments of the present disclosure includes composite particles including lithium-transition metal oxide particles, a carbon coating disposed on the lithium-transition metal oxide particles, and a carbon nanotube (CNT) coating formed on the carbon coating, wherein a content of the CNT coating measured through thermogravimetric analysis (TGA) is 0.8% by weight to 3.1% by weight based on the total weight of the composite particles.

POSITIVE ELECTRODE ACTIVE MATERIAL FOR RECHARGEABLE LITHIUM BATTERY AND PREPARATION METHOD THEREOF

NºPublicación:  US2025336946A1 30/10/2025
Solicitante: 
SAMSUNG SDI CO LTD [KR]
SAMSUNG SDI CO., LTD
US_2025336946_PA

Resumen de: US2025336946A1

A positive electrode active material, a method of preparing the same, a positive electrode including the same, and a rechargeable lithium battery including the positive electrode are provided. The positive electrode active material includes a lithium composite oxide, and a coating layer on a surface of the lithium composite oxide. The positive electrode active material further includes sodium (Na) and sulfur (S), wherein a mass fraction (S/Na) of the S to the Na is in a range of about 1 to about 3.

OXYHALIDE ELECTROLYTES AND EFFICIENT METHODS FOR MAKING THE SAME

NºPublicación:  US2025333325A1 30/10/2025
Solicitante: 
FLORIDA STATE UNIV RESEARCH FOUNDATION INC [US]
Florida State University Research Foundation, Inc
US_2025333325_PA

Resumen de: US2025333325A1

In accordance with the purpose(s) of the present disclosure, as embodied and broadly described herein, the disclosure, in one aspect, relates to oxyhalide electrolytes and synthesis of oxyhalide electrolytes. The electrolytes have the general formula AzNv-yMyOX5-y, exhibit superionic conductivity, and can be produced via a relatively fast synthesis route. The electrolytes can be a component of different types of batteries or sensors for ion detection.

SYSTEMS AND METHODS FOR PRODUCING LITHIUM CARBONATE AND USES THEREOF

NºPublicación:  US2025333321A1 30/10/2025
Solicitante: 
ALBEMARLE CORP [US]
Albemarle Corporation
US_2025333321_PA

Resumen de: US2025333321A1

The present disclosure is directed to systems and methods of producing lithium carbonate. The lithium carbonate can be produced by contacting a lithium precursor with a carbon dioxide gas. The lithium carbonate produced from this method can include micron-sized lithium carbonate particles with nano-sized lithium carbonate particles coated on a surface of the micron-sized lithium carbonate particles.

NEGATIVE ACTIVE MATERIAL FOR RECHARGEABLE LITHIUM BATTERY, METHOD OF PREPARING THE SAME, AND RECHARGEABLE LITHIUM BATTERY INCLUDING THE SAME

NºPublicación:  US2025333315A1 30/10/2025
Solicitante: 
SAMSUNG SDI CO LTD [KR]
SAMSUNG SDI CO., LTD
US_2025333315_PA

Resumen de: US2025333315A1

The present disclosure relates to a negative electrode active material for a rechargeable lithium battery, a method of preparing the same, and a rechargeable lithium battery including the same. The negative electrode active material for a rechargeable lithium battery includes a composite of silicon and amorphous carbon, and a closed pore increase rate according to Equation 1 is in a range of 20% to 100%.Closed⁢pore⁢increase⁢rate=(A-B)×1⁢0⁢0Equation⁢1in Equation 1, A denotes a sum of an increase rate of closed pores and an increase rate of open pores of the negative electrode active material according to a first measurement method, and B denotes the increase rate of open pores of the negative electrode active material according to a second measurement method.

POSITIVE ELECTRODE ACTIVE MATERIALS, PREPARATION METHODS OF POSITIVE ELECTRODE ACTIVE MATERIALS, POSITIVE ELECTRODES, AND RECHARGEABLE LITHIUM BATTERIES

NºPublicación:  US2025333327A1 30/10/2025
Solicitante: 
SAMSUNG SDI CO LTD [KR]
SAMSUNG SDI CO., LTD
US_2025333327_PA

Resumen de: US2025333327A1

A positive electrode active material includes a first positive electrode active material including a first lithium cobalt-based oxide doped with aluminum and magnesium, and a second positive electrode active material including a second lithium cobalt-based oxide doped with aluminum and magnesium. An average particle diameter (D50) of the second positive electrode active material is less than an average particle diameter (D50) of the first positive electrode active material. The first positive electrode active material and the second positive electrode active material each include an aluminum coating layer on particle surfaces, with the aluminum coating layer of the first positive electrode active material being in a form of a shell that continuously surrounds the particle surfaces. An aluminum content based on 100 at % of cobalt and aluminum as measured by energy profiling energy dispersive spectroscopy (EP-EDS) on the surface of the first positive electrode active material is about 6 at % to about 10 at %.

SYSTEMS AND METHODS FOR PRODUCING LITHIUM CARBONATE AND USES THEREOF

NºPublicación:  US2025333320A1 30/10/2025
Solicitante: 
ALBEMARLE CORP [US]
Albemarle Corporation
US_2025333320_PA

Resumen de: US2025333320A1

The present disclosure is directed to systems and methods of producing lithium carbonate. The lithium carbonate can be produced by contacting a lithium precursor with a carbon dioxide gas. The lithium carbonate produced from this method can include micron-sized lithium carbonate particles with nano-sized lithium carbonate particles coated on a surface of the micron-sized lithium carbonate particles.

BATTERY CELL, BATTERY, AND ELECTRICAL APPARATUS

NºPublicación:  WO2025222339A1 30/10/2025
Solicitante: 
CONTEMPORARY AMPEREX TECH CO LIMITED [CN]
\u5B81\u5FB7\u65F6\u4EE3\u65B0\u80FD\u6E90\u79D1\u6280\u80A1\u4EFD\u6709\u9650\u516C\u53F8
WO_2025222339_PA

Resumen de: WO2025222339A1

The embodiments of the present application provide a battery cell, a battery, and an electrical apparatus. The battery cell comprises a housing, a top cover, and an electrode assembly. The housing is provided with an accommodating space and an opening. The top cover seals and covers the opening. The electrode assembly is arranged within the accommodating space. An inner side wall of at least part of the area of the housing located at the opening is thickened to form a thickened area, an edge of the top cover is formed with a connecting area matching the thickened area, and the connecting area is connected with the thickened area. The inner side wall of at least part of the area of the housing located at the opening is thickened to form the thickened area, thereby increasing the structural strength of the connection between the housing and the top cover, so as to increase the connection strength of the housing and the top cover, thereby reducing the risk of fatigue cracking of the connecting structure between the housing and the top cover, improving the problem of failure of the connecting structure between the housing and the top cover, improving the expansion resistance of a casing, and increasing the service life of the battery cell.

BATTERY CASE, BATTERY PACK AND METHOD FOR MANUFACTURING BATTERY CASE

NºPublicación:  WO2025222593A1 30/10/2025
Solicitante: 
EVE ENERGY CO LTD [CN]
\u60E0\u5DDE\u4EBF\u7EAC\u9502\u80FD\u80A1\u4EFD\u6709\u9650\u516C\u53F8
WO_2025222593_PA

Resumen de: WO2025222593A1

Disclosed in the present application is a battery case, comprising: a case main body, wherein a diversion inner channel and an output pipe joint are provided on an inner support beam of the case main body, and the output pipe joint is in communication with the diversion inner channel; and a liquid cooling assembly, wherein the liquid cooling assembly comprises a first flow splitting member and a second flow splitting member, which are arranged opposite each other; the liquid cooling assembly is mounted in the case main body; the diversion inner channel runs through the space between the first flow splitting member and the second flow splitting member, and both the first flow splitting member and the second flow splitting member are in communication with the output pipe joint; in addition, the first flow splitting member guides a heat exchange medium to be conveyed from a side close to the diversion inner channel and in a diagonal direction of the first flow splitting member, and the second flow splitting member conveys from a side close to the diversion inner channel and in a diagonal direction of the second flow splitting member.

POLYIONIC LIQUID, CERAMIC ELECTROLYTE FILM, AND USE

NºPublicación:  WO2025222561A1 30/10/2025
Solicitante: 
SHENZHEN INX TECH CO LTD [CN]
\u6DF1\u5733\u6B23\u754C\u80FD\u6E90\u79D1\u6280\u6709\u9650\u516C\u53F8
WO_2025222561_PA

Resumen de: WO2025222561A1

A polyionic liquid, a ceramic electrolyte film, and a use, relating to the technical field of batteries. The polyionic liquid comprises a polymer and a first lithium salt, and the polymer is linked to the first lithium salt by means of a chemical bond. The polyionic liquid has flexibility and high conductivity, so that the ionic conductivity and stability of an electrolyte can be effectively improved.

COMPOSITION, COMPOSITE FILM, AND USE

NºPublicación:  WO2025222560A1 30/10/2025
Solicitante: 
SHENZHEN INX TECH CO LTD [CN]
\u6DF1\u5733\u6B23\u754C\u80FD\u6E90\u79D1\u6280\u6709\u9650\u516C\u53F8
WO_2025222560_A1

Resumen de: WO2025222560A1

Provided are a composition, a composite film, and a use. The composition comprises a ceramic electrolyte and an ionic liquid, wherein the ionic liquid comprises a piperidine ionic liquid. The provided composition has high ionic conductivity.

LITHIUM SECONDARY BATTERY, SEPARATOR FOR LITHIUM SECONDARY BATTERY, AND METHOD FOR SUPPRESSING POROSITY OF NEGATIVE ELECTRODE

NºPublicación:  WO2025225539A1 30/10/2025
Solicitante: 
TEIJIN LTD [JP]
\u5E1D\u4EBA\u682A\u5F0F\u4F1A\u793E
WO_2025225539_PA

Resumen de: WO2025225539A1

Provided are a lithium secondary battery, a separator for a lithium secondary battery, and a method for suppressing the porosity of a negative electrode, the lithium secondary battery comprising: a positive electrode; a negative electrode operated by dissolution and precipitation of metallic lithium; an electrolyte containing a non-aqueous solvent and a lithium salt and having a lithium salt concentration of at least 2.0 mol/L; and a separator having a polyolefin microporous membrane and a porous layer provided on one surface or both surfaces of the polyolefin microporous membrane, wherein the porous layer contains a wholly aromatic polyamide, and the film thickness of the porous layer is 5-20 μm for each surface of the separator.

POSITIVE ELECTRODE MATERIAL, PREPARATION METHOD THEREFOR, POSITIVE ELECTRODE SHEET, BATTERY AND ELECTRICAL APPARATUS

NºPublicación:  WO2025222812A1 30/10/2025
Solicitante: 
CONTEMPORARY AMPEREX TECH CO LIMITED [CN]
CHENGDU JINTANG TIMES NEW MATERIALS TECH CO LTD [CN]
\u5B81\u5FB7\u65F6\u4EE3\u65B0\u80FD\u6E90\u79D1\u6280\u80A1\u4EFD\u6709\u9650\u516C\u53F8,
\u6210\u90FD\u91D1\u5802\u65F6\u4EE3\u65B0\u6750\u6599\u79D1\u6280\u6709\u9650\u516C\u53F8
WO_2025222812_PA

Resumen de: WO2025222812A1

The present application provides a positive electrode material, a preparation method thereof, a positive electrode sheet, a battery and an electrical apparatus, and relates to the field of batteries. The positive electrode material comprises sodium iron phosphate pyrophosphate and a carbon coating layer covering the surface of same; and the positive electrode material contains an impurity phase sodium ferric phosphate, the mass ratio of the impurity phase sodium ferric phosphate in sodium iron phosphate pyrophosphate being 14% or below. The positive electrode material has a low content of the impurity phase sodium ferric phosphate, such that the initial charging capacity can be effectively improved, and the electrochemical performance of the positive electrode material is effectively improved.

BATTERY CELL, LITHIUM ION BATTERY, AND ELECTRIC DEVICE

NºPublicación:  WO2025222796A1 30/10/2025
Solicitante: 
CONTEMPORARY AMPEREX TECH CO LIMITED [CN]
\u5B81\u5FB7\u65F6\u4EE3\u65B0\u80FD\u6E90\u79D1\u6280\u80A1\u4EFD\u6709\u9650\u516C\u53F8
WO_2025222796_PA

Resumen de: WO2025222796A1

A battery cell, a lithium ion battery, and an electric device. The battery cell comprises a wound electrode assembly, and the wound electrode assembly has bent areas. The wound electrode assembly comprises a negative electrode sheet and a positive electrode sheet, the negative electrode sheet comprises a plurality of first bent portions located in the bent areas, and the positive electrode sheet comprises a plurality of second bent portions located in the bent areas; the distance L1 between the concave surface of a second bent portion and the convex surface of an adjacent first bent portion located on the inner side of the second bent portion is greater than or equal to the distance L2 between the convex surface of the second bent portion and the concave surface of an adjacent first bent portion located on the outer side of the second bent portion, 17 μm≤L1≤34 μm, 14 μm≤L2≤34 μm, and L1≥L2; the equivalent charge rate c of the battery cell from 10% SOC to 80% SOC satisfies: 3C≤c≤8C. The battery cell can enable fast-charging lithium ion batteries to have good cycle performance and safety performance.

BATTERY CELL, BATTERY AND ELECTRIC DEVICE

NºPublicación:  WO2025222771A1 30/10/2025
Solicitante: 
CONTEMPORARY AMPEREX TECH CO LIMITED [CN]
\u5B81\u5FB7\u65F6\u4EE3\u65B0\u80FD\u6E90\u79D1\u6280\u80A1\u4EFD\u6709\u9650\u516C\u53F8
WO_2025222771_PA

Resumen de: WO2025222771A1

The present application belongs to the technical field of batteries. Provided are a battery cell, a battery and an electric device. The battery cell comprises a battery electrode sheet. The battery electrode sheet comprises a current collector, an active layer, a first insulating layer and a second insulating layer, wherein a connecting surface is formed on the current collector; the active layer covers part of the connecting surface, and a first edge is formed on the connecting surface; the first insulating layer covers part of the connecting surface, and the first insulating layer is arranged to extend along the first edge; and the second insulating layer covers the first insulating layer. The present application aims to reduce the risk of burr exposure during electrode sheet die-cutting, thereby reducing the risk of short circuits in battery cells.

BATTERY ACCOMMODATION BODY, BATTERY MODULE, AND BATTERY PACK

NºPublicación:  WO2025225333A1 30/10/2025
Solicitante: 
ORGANO CORP [JP]
\u30AA\u30EB\u30AC\u30CE\u682A\u5F0F\u4F1A\u793E
WO_2025225333_PA

Resumen de: WO2025225333A1

A battery accommodation body 1 includes: a housing 3 which accommodates battery cells 2; an active gas removal part 4 which is provided in the housing 3 and removes active gas generated from the battery cells 2; and a blower part 5 which is provided in the housing 3 and circulates a gaseous body in the housing 3 while distributing the gaseous body to the active gas removal part 4.

BATTERY

Nº publicación: WO2025225535A1 30/10/2025

Solicitante:

PANASONIC INTELLECTUAL PROPERTY MAN CO LTD [JP]
\u30D1\u30CA\u30BD\u30CB\u30C3\u30AF\uFF29\uFF30\u30DE\u30CD\u30B8\u30E1\u30F3\u30C8\u682A\u5F0F\u4F1A\u793E

WO_2025225535_PA

Resumen de: WO2025225535A1

A battery according to the present disclosure comprises a wound electrode group including a first electrode, a second electrode, and a separator. The first electrode includes a current collector, an active material layer, and a lead. The lead is joined to an exposed portion of the current collector where the active material layer is not provided. The electrode group further includes an insulating member attached to the exposed portion, and a protective tape covering at least a portion of the insulating member and at least a portion of the lead. The exposed portion is covered by at least one selected from the group consisting of the protective tape and the insulating member.

traducir