Ministerio de Industria, Turismo y Comercio LogoMinisterior
 

Alerta

Resultados 1315 resultados
LastUpdate Última actualización 03/11/2025 [07:10:00]
pdfxls
Publicaciones de los últimos 15 días/Last 15 days publications (excluidas pubs. CN y JP /CN and JP pubs. excluded)
Resultados 1 a 417 de 1315 nextPage  

一种基于湍流强度的风力发电机组功率控制方法及系统

NºPublicación:  CN120867948A 31/10/2025
Solicitante: 
明阳智慧能源集团股份公司
CN_120867948_PA

Resumen de: CN120867948A

本发明公开了一种基于湍流强度的风力发电机组功率控制方法及系统,根据实时风速数据动态计算湍流强度,并将其划分为不同等级区间,进而为各区间设定合理的功率输出范围,在保证机组发电效率的同时,有效避免在高湍流风速区间内频繁进行变桨、变流等操作,从而降低关键部件的交变载荷,减缓疲劳损伤过程,提升机组的运行稳定性和结构寿命,为提高风电系统在复杂风况下的运行效率和设备可靠性提供技术支撑。

知识图谱与时空图网络融合驱动的风电机组状态监测方法

NºPublicación:  CN120867958A 31/10/2025
Solicitante: 
浙江工业大学
CN_120867958_PA

Resumen de: CN120867958A

本发明公开了知识图谱与时空图网络融合驱动的风电机组状态监测方法,包括以下步骤:S1.收集风电机组时序SCADA数据和风电文本数据;S2.将风电文本数据构建为风电运维知识图谱;S3.通过查询风电运维知识图谱,结合预处理后SCADA数据生成时序图数据;S4.利用时空图神经网络模型对时序图数据进行正常行为建模,正常行为建模过程中,通过对机组健康运行时间段的图数据中各节点进行预测,将各节点的预测值与实际值之差的最大绝对值,即最大绝对误差作为各节点的健康阈值进而进行状态监测;状态监测阶段通过比对实时数据于监测结果中各节点在图结构中的映射信息与故障传递链的匹配情况,判断机组健康状态并确定故障预警时间。本发明增强了监测结果的准确性与鲁棒性。

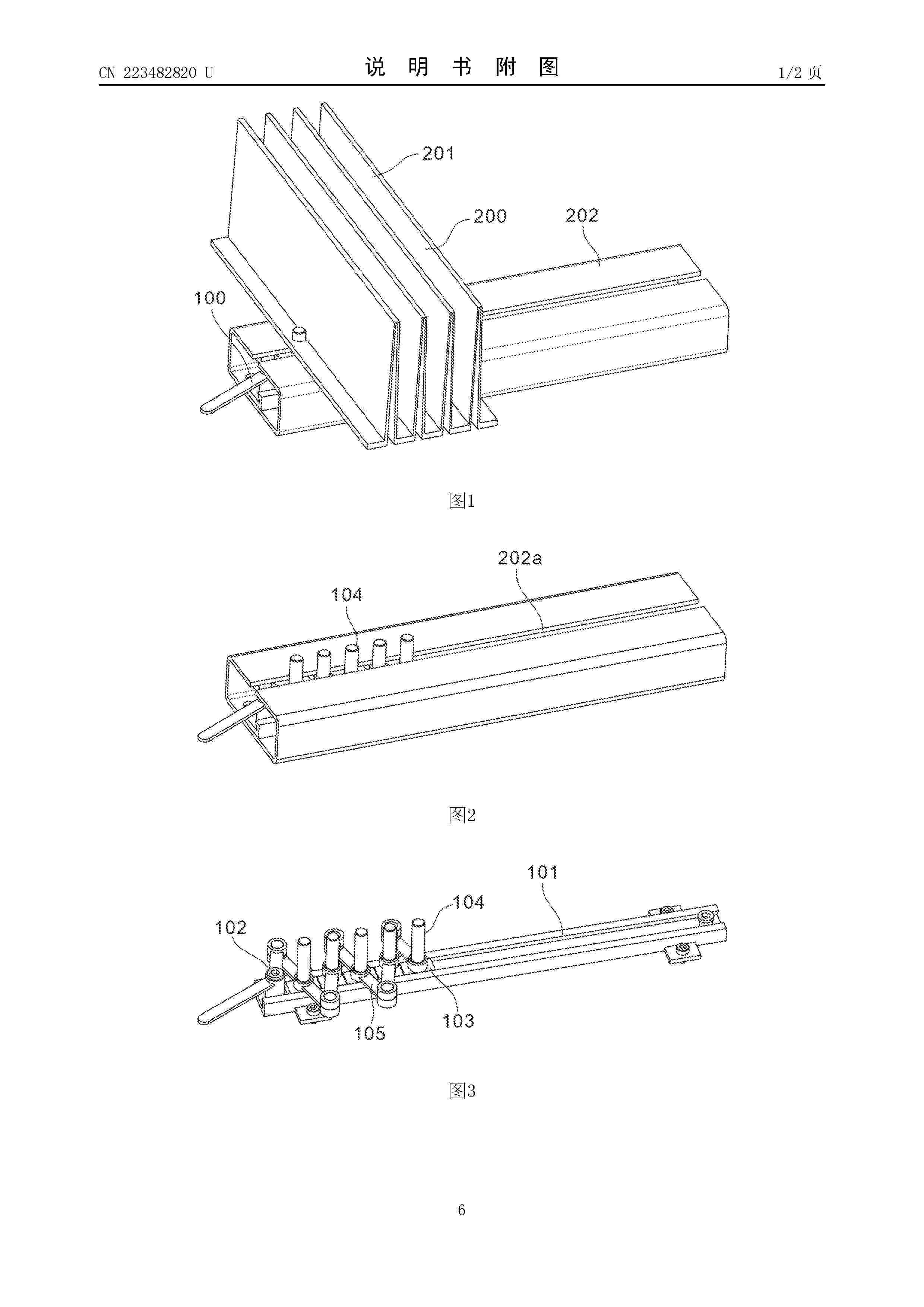
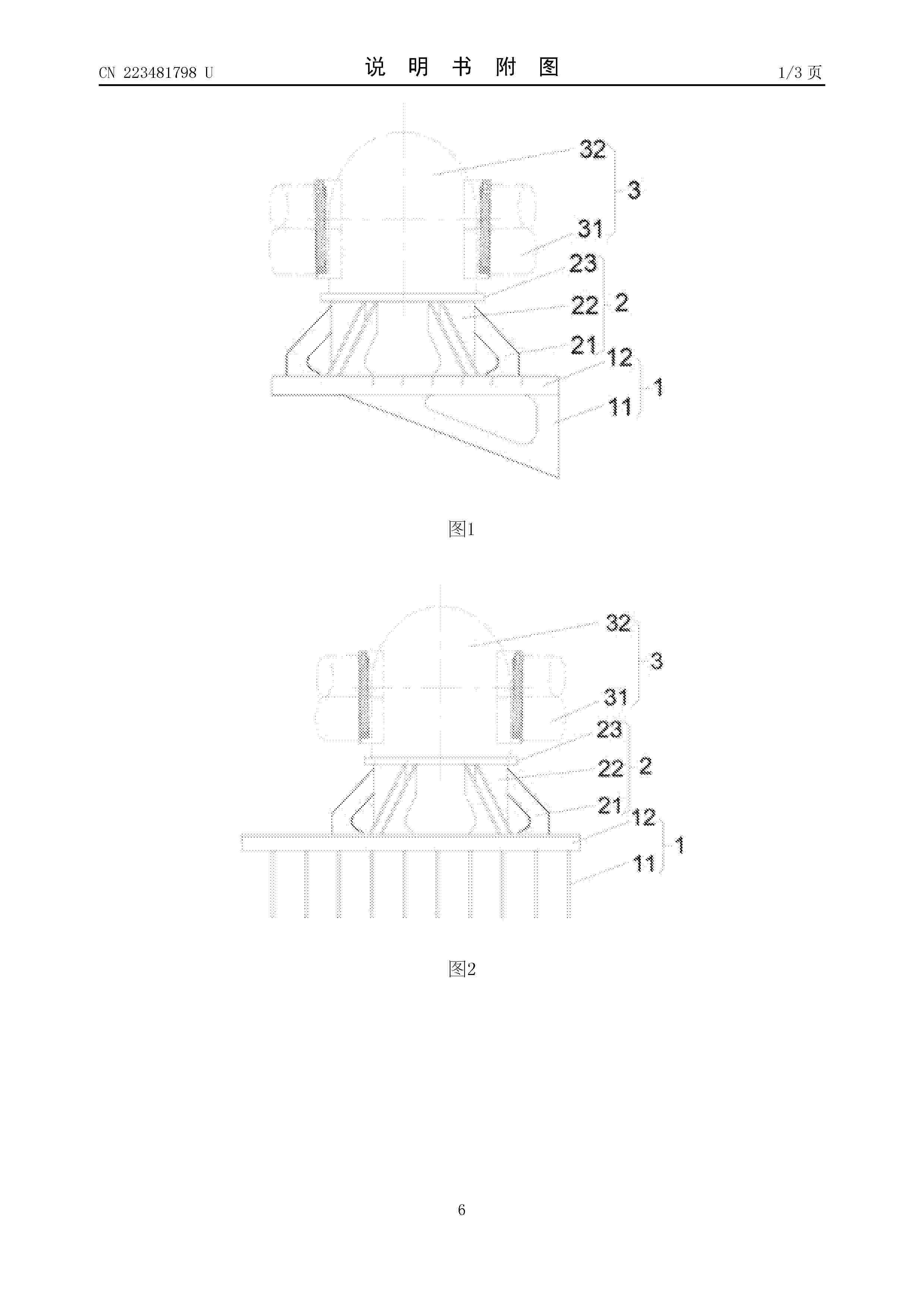
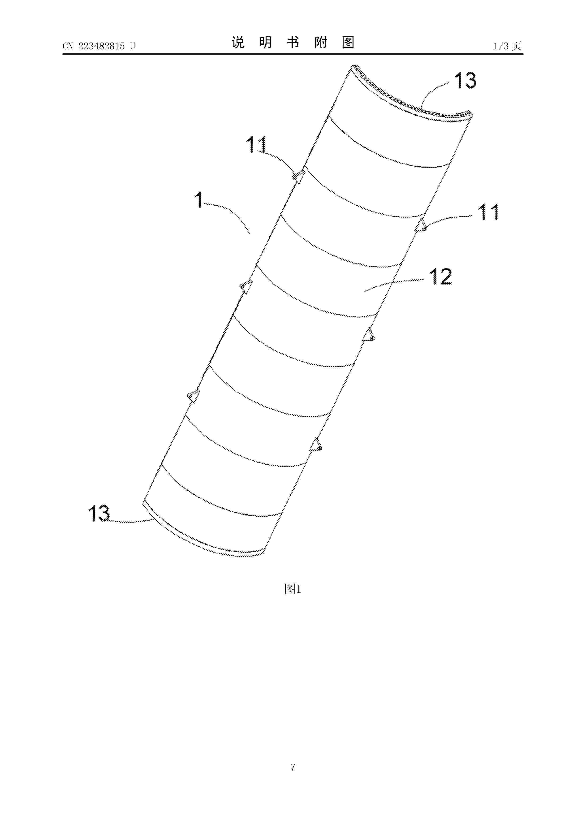
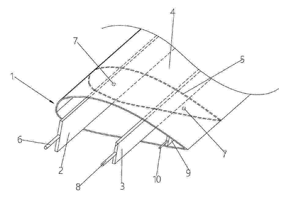
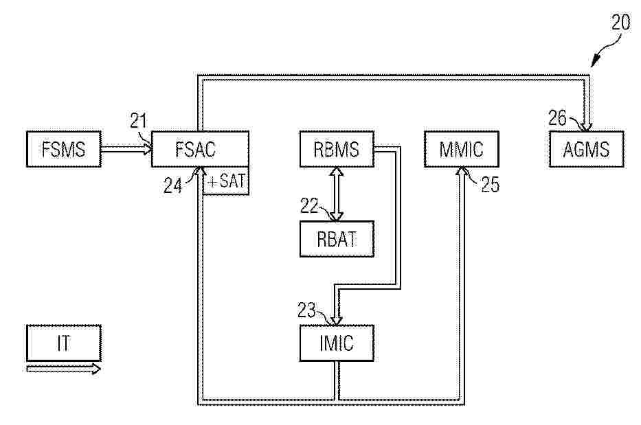
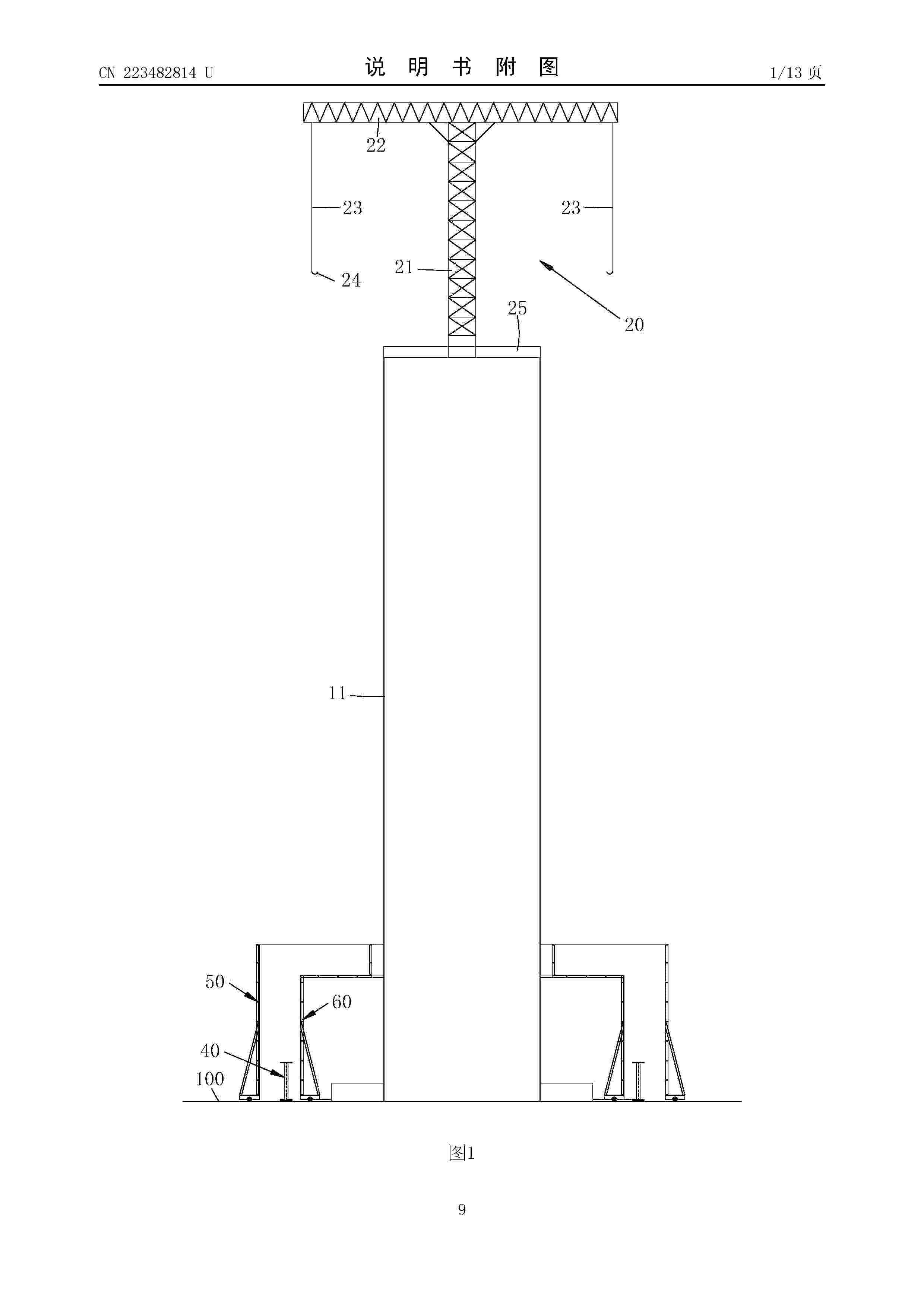
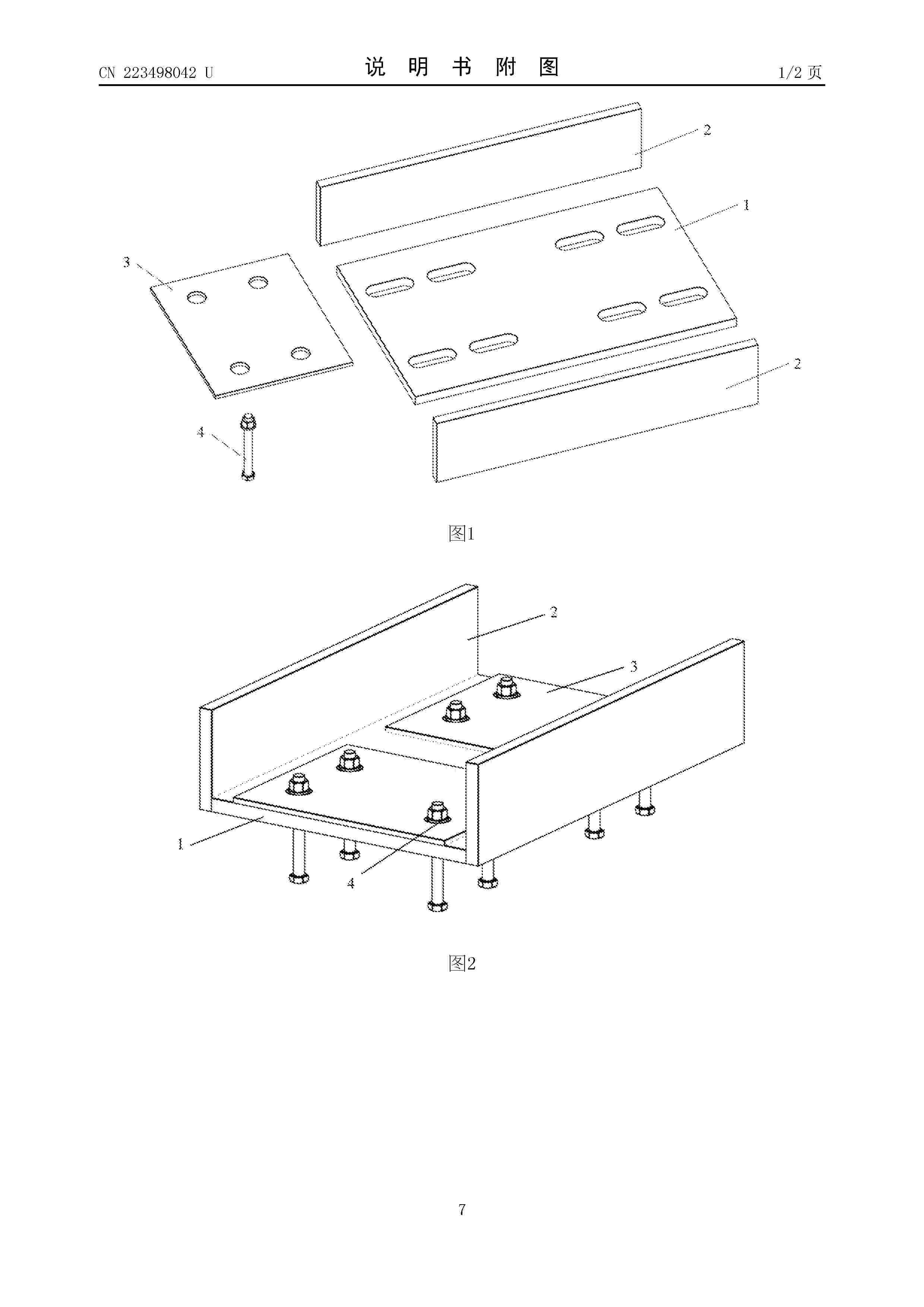
一种混凝土管片吊装连接工装

NºPublicación:  CN223498042U 31/10/2025
Solicitante: 
远景能源有限公司内蒙古新远景集团有限公司
CN_223498042_U

Resumen de: CN223498042U

本实用新型涉及一种混凝土管片吊装连接工装,安装在塔筒节段水平接缝面的筒片分片竖向接缝面处,包括:底板,所述底板上加工有定位螺栓孔,底板的端部与侧边固定板固定连接;所述的定位螺孔处安装垫板和定位螺孔与垫板内设置有固定螺栓。与现有技术相比,本实用新型具有价格低廉、结构简单可靠和安装便利、可重复利用的优势,能有效解决塔筒节段吊装施工过程中,筒片受力不均导致的竖向拼缝处应力集中,锚固螺栓受剪断裂和相邻筒片错台等问题,提高竖向拼缝连接强度,抑制相邻筒片间错台现象和减少吊装施工难度,降低风机塔筒生命周期维修维护成本,具有明显的技术经济优势。

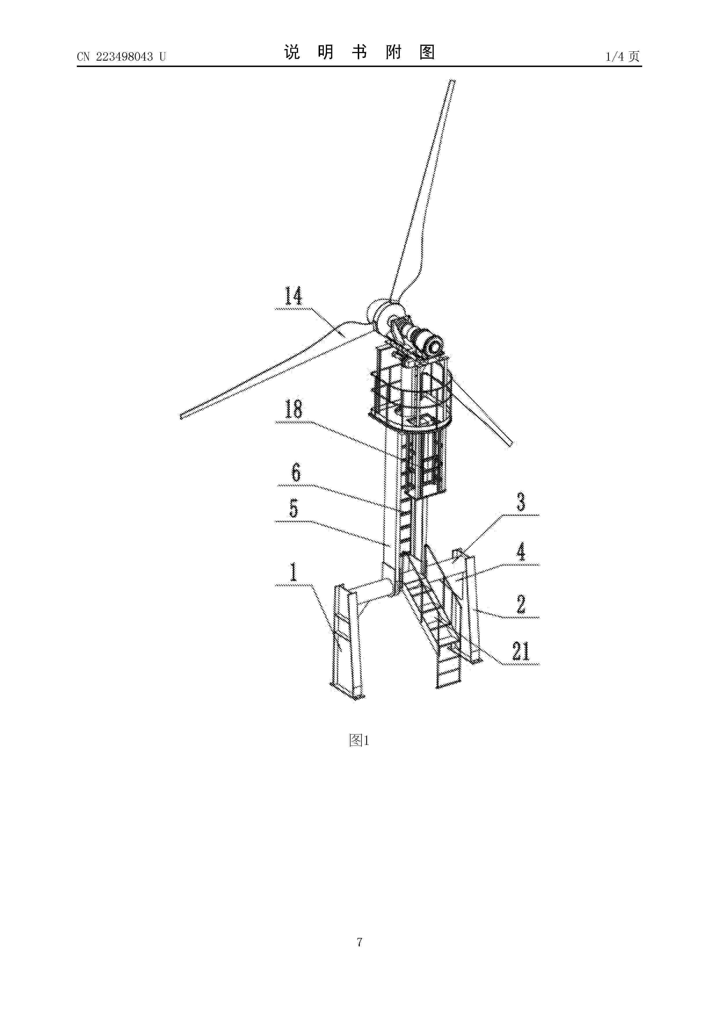
一种混合动力抽油机用风机门式支架

NºPublicación:  CN223498043U 31/10/2025
Solicitante: 
河北雄安昆仑新远新能源科技有限责任公司
CN_223498043_U

Resumen de: CN223498043U

本实用新型公开一种混合动力抽油机用风机门式支架,涉及石油开采技术领域,包括横梁,横梁的两端分别固定装有门架支腿一和门架支腿二,门架支腿一和门架支腿二固定安装在抽油机顶端,所述横梁上固定装有槽钢支腿,槽钢支腿上装有风扇组件;通过这样的技术方案,门架支腿一和门架支腿二直接安装在抽油机上能够节省材料,风扇的高度能够被抽油机撑起一定的高度,并且节省了占地面积,不需要另外制作基础。

一种增强型风电塔筒结构

NºPublicación:  CN223498049U 31/10/2025
Solicitante: 
华电重工机械有限公司
CN_223498049_U

Resumen de: CN223498049U

本实用新型提供了一种增强型风电塔筒结构,涉及风电塔筒技术领域,包括外罩壳、中罩壳和内加固框,所述外罩壳是由多组外板块焊接组合所构成,且外板块的内侧面设置有第一保温层,所述外罩壳内套置有中罩壳,且中罩壳是由多组内板块焊接组合所构成,所述内板块的外侧面设置有第二保温层,所述中罩壳与外罩壳之间固定有多组支撑柱,且中罩壳的内侧固定有内加固框,且第一保温层内竖向贯穿有多组第一加强筋,并且第一加强筋的下部插入地面上所铺设的水泥板面内。本实用新型的风电塔筒采用双罩壳结构,不仅内外之间支撑安全稳固,而且保温隔热效果好,在中罩壳内侧加设内加固框,而且有助于加强抗风抗变形强度,更安全耐用。

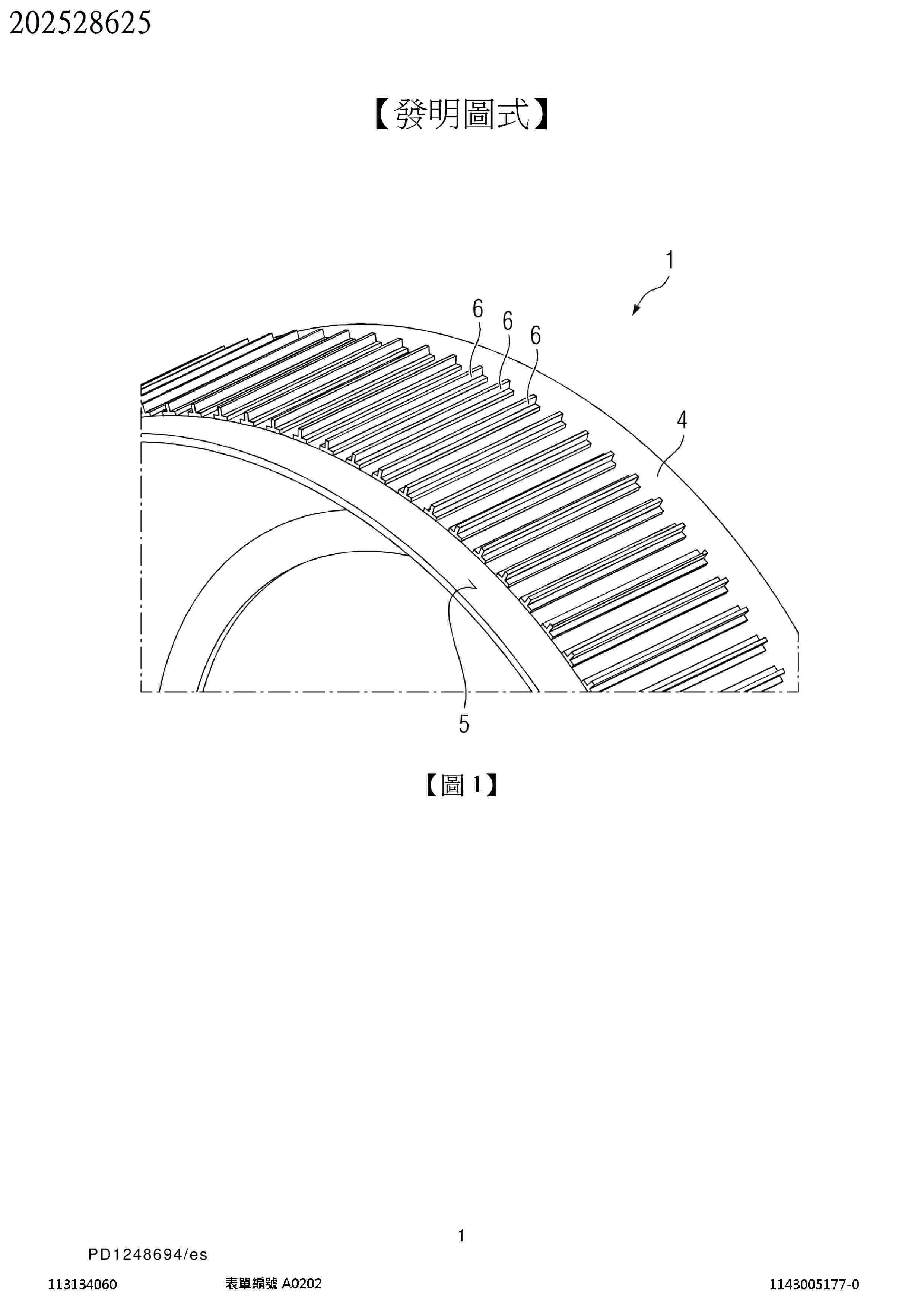
一种方便维护的风电齿圈

NºPublicación:  CN223498051U 31/10/2025
Solicitante: 
大连联合风电轴承有限公司
CN_223498051_U

Resumen de: CN223498051U

本实用新型公开了一种方便维护的风电齿圈,属于风电齿圈技术领域,其包括齿圈体,所述齿圈体的内壁开设有安装孔,所述齿圈体的内圈固定连接有啮合齿,所述齿圈体的底部设置有内圈清洁结构,所述齿圈体与内圈清洁结构相对的一侧设置有孔洞清洁结构,所述内圈清洁结构包括第一环形槽,所述第一环形槽开设在齿圈体的底部,所述第一环形槽的内壁滑动连接有第一滑动杆,所述孔洞清洁结构包括第二环形槽,该方便维护的风电齿圈,通过设置内圈清洁结构,在第一滑动杆配合第一圆卡框的作用下,使得辅助板等部件可以沿着第一环形槽滑动,进而可以在矩形刷板的作用下,对齿圈体的内部啮合齿进行辅助清洁,操作把手可以提供操作着力点。

一种进气端使用的防雨罩

NºPublicación:  CN223498054U 31/10/2025
Solicitante: 
唯启精密机械(常州)有限公司
CN_223498054_U

Resumen de: CN223498054U

本实用新型公开了一种进气端使用的防雨罩,包括防雨罩壳体,所述防雨罩壳体的内腔从里到外依次装配有叶片后固定板、防雨罩叶片、叶片中固定板、防雨罩叶片、叶片前固定板和防雨罩百叶窗,所述防雨罩百叶窗外部设置有固定框,所述固定框固定安装在防雨罩壳体的开口处。本实用新型中,通过在防雨罩壳体的进风口位置设置防雨罩百叶窗,利用固定框将其固定在防雨罩壳体的前端,即可在雨天时空气中的与雨水进行过滤,使得雨水会通过防雨罩百叶窗上的导流槽向着两侧排出到外界,无雨空气进入到防雨罩叶片的区域,经过防雨罩叶片的精细化过滤即可将剩下的雨水过滤赶紧,通过防雨罩壳体底部的漏水口排出,有效的完成除雨作业。

风力发电机及其控制方法、电子设备和存储介质

NºPublicación:  CN120867969A 31/10/2025
Solicitante: 
内蒙古新远景集团有限公司远景能源有限公司
CN_120867969_PA

Resumen de: CN120867969A

本申请涉及风力发电技术领域,公开一种风力发电机及其控制方法、电子设备和存储介质,通过风力发电机机舱的底部安装的朝向下方拍摄的至少一个监控装置,可以监控风力发电机的周围环境。将监控装置安装于风力发电机机舱的底部,提高了监控装置的高度,从而可以提升监控装置的监控范围。监控装置的拍摄角度可以根据机舱的偏航角度和机舱底部的高度进行调节,使监控装置调节后的监控范围,满足预设监控范围的需求,从而实现对风力发电机周围环境的有效监控。

一种水平轴风机叶片

NºPublicación:  CN120867945A 31/10/2025
Solicitante: 
大连理工大学
CN_120867945_PA

Resumen de: CN120867945A

本发明涉及一种水平轴风机叶片,包括:叶片主体,以及连接在所述叶片主体末端的小翼,小翼自所述叶片主体的迎风面向后延伸形成后掠翼结构或向前延伸形成前掠翼结构,小翼的外表面设置有整体走向沿所述小翼的展长方向或弦长方向延伸的条状的突起部。当叶片主体旋转时,来流风在突起部的后方产生了突起后涡,且部分来流出现了回流涡,这两个涡会产生一个垂直于小翼向上的诱导速度,该诱导速度会使得后续的来流轨迹进一步朝着离心的方向扩散,使得风机后面的流管面积变大。以整体走向沿所述小翼的弦长方向条状的突起部为例,吹向风机的来流风经过突起部时产生一个离心方向的诱导速度,使得风机后方流管面积扩大,从而提高风机的风能利用系数。

用于使用机器学习来推荐要从可回收材料中恢复的商品的系统和方法

NºPublicación:  CN120883231A 31/10/2025
Solicitante: 
维斯塔斯风力系统集团公司
CN_120883231_PA

Resumen de: WO2024160331A1

A method for identifying and recovering target commodities from a composite wind turbine blade, in which a computing device receives quality grade data indicating quality grades of respective materials included within a turbine blade, and commodity data for a plurality of candidate commodities that are capable of being recovered from the one or more materials of the turbine blade. The computing device determines expected profitability for each of said plurality of respective candidate commodities, wherein the quality grade data for the respective materials and the commodity data for the plurality of candidate commodities are provided as inputs to a data model to cause the data model to determine the expected profitability for each of said plurality of respective candidate commodities. The computing device determines, based on the expected profitability, a recommendation indicating, for respective materials of the turbine blade, one or more target commodities to recover using the respective materials. The device delivers the recommendation to another device or recipient, so that recovery of the target commodities can occur.

控制风力涡轮机的方法

NºPublicación:  CN120882970A 31/10/2025
Solicitante: 
西门子歌美飒可再生能源公司
CN_120882970_PA

Resumen de: WO2024208442A1

The invention describes a method of controlling a wind turbine (1) with a rotor comprising a plurality of rotor blades (10), each equipped with an active flap arrangement (2) at its trailing edge (10TE), which method comprises the steps of determining a set (S10) of rotor blade flutter conditions, wherein each rotor blade flutter condition comprises a combination of rotor blade parameters (ω, θ) at which rotor blade flutter would develop; and, during operation of the wind turbine (1), monitoring the rotor blade parameters (ω, θ) and, when the parameters (ω, θ) of a rotor blade (10) approach a rotor blade flutter condition, controlling the active flap arrangement (2) of that rotor blade (10) to increase aerodynamic damping of the rotor blade (10). The invention further describes a wind turbine (1) comprising a means (12, 14) of controlling the active flap arrangements (2) using the inventive method.

一种新型的抽水蓄能电站发电组合系统

NºPublicación:  CN120867264A 31/10/2025
Solicitante: 
浙江省水利河口研究院(浙江省海洋规划设计研究院)浙江广川工程咨询有限公司
CN_120867264_PA

Resumen de: CN120867264A

本发明公开了一种新型的抽水蓄能电站发电组合系统,包括抽水蓄水系统和发电系统,抽水蓄水系统包括放水管道、蓄水池、抽水管道、三级蓄水池、二级蓄水池、一级蓄水池,放水管道一端连接于开设于山顶的蓄水池,另一端连接于发电厂,放水管道与抽水管道设有多个,多级蓄水池设于相邻山顶处,发电系统包括发电机组、叶轮、连接轴、变速器,发电机组内设有连接管,连接管一端端部连接于海水。本发明一种新型的抽水蓄能电站发电组合系统,利用溪谷处海水盐分低这一条件,选择河谷岙地抽水,少许过滤就有取之不尽大量水源,解决了传统的抽水蓄能电站由于居民用水或干旱枯水季节缺少而无水可抽的问题,为抽水蓄能提供保障,且不用建造要求极高的蓄水库。

用于安装风力涡轮机塔架的方法

NºPublicación:  CN120882971A 31/10/2025
Solicitante: 
西门子歌美飒可再生能源公司
CN_120882971_PA

Resumen de: WO2024208522A1

Method for installing a wind turbine tower The invention relates to a method for installing a wind turbine tower (10), wherein the tower (10) comprises a tower fastening portion (11) and a tower through hole (12) in the tower fastening portion (11), comprising: providing a vessel (20) with a vessel fastening portion (21) and a vessel through hole (22) in the vessel fastening portion (21), landing the tower (10) onto the vessel (20) with the tower through hole (12) at the vessel through hole (22), positioning a stud (30) in the tower through hole (12) and the vessel through hole (22), wherein the stud (30) comprises an upper portion (31) protruding from the tower through hole (12) in an upward direction and a lower portion (32) protruding from the vessel through hole (22) in a downward direction, fastening the tower fastening portion (11) to the vessel fastening portion (21) by means of a lower fastening element (50) attached to the lower portion (32) and an upper fastening element (60) attached to the upper portion (31), wherein the lower fastening element (50) and the upper fastening element (60) are both detachable from the stud (30) in a non-destructive way.

变桨控制的风力涡轮机

NºPublicación:  CN120882969A 31/10/2025
Solicitante: 
维斯塔斯风力系统集团公司
CN_120882969_PA

Resumen de: WO2024193781A1

According to the present invention there is provided a pitch-controlled wind turbine comprising a tower, a nacelle mounted on the tower, and a rotor rotatably mounted to the nacelle. The rotor defines a rotor axis and a rotor plane perpendicular to the rotor axis. The rotor comprises a hub and a plurality of wind turbine blades, each blade extending in a spanwise direction between a blade root defined by an inboard portion of the blade and a blade tip defined by an outboard portion of the blade. Each blade is rotatably connected to the hub via a respective pitch mechanism such that each blade is rotatable about a pitch axis. Further, each blade comprises a windward side and a leeward side which meet at a leading edge and a trailing edge to define an airfoil profile. The airfoil profile has a chord and a flapwise thickness, the chord being the distance between the leading and trailing edges and the flapwise thickness being the distance between the windward and leeward sides in a flapwise direction orthogonal to the chord. The pitch-controlled wind turbine is configured to reduce loading of the inboard portion of each wind turbine blade in use. Accordingly, each blade further comprises a connection location located between the blade root and the blade tip at a radial distance r from the rotor axis. The connection location defines an inboard end of the outboard portion and an outboard end of the inboard portion. The turbine further comprises a plurality of blade connecting membe

用于检查用于风力涡轮机叶片的板材的方法及系统

NºPublicación:  CN120882972A 31/10/2025
Solicitante: 
LM\u98CE\u529B\u53D1\u7535\u516C\u53F8
CN_120882972_PA

Resumen de: WO2024199661A1

An inspection system (200) for inspecting a pultrusion plank (300) for a wind turbine (10) is described. The inspection system includes an array device (210) of at least two microwave probes (211; 212) including a first microwave probe (211) and a second microwave probe (212) being offset from each other. The first microwave probe (211) and the second microwave probe (212) define a first and a second probing area (301, 302), forming an overlap area (303) between the first probing area (301) and the second probing area (302). The first microwave probe and the second microwave probe are adapted to provide different frequencies and/or modes of microwaves for inspecting the plank. The inspection system further includes a control unit (400) adapted to vary the frequencies and/or modes of the microwaves from first microwave probe and the second microwave probe during inspection of the plank.

一种车载风力发电装置

NºPublicación:  CN120867953A 31/10/2025
Solicitante: 
宿迁吉盈新能源科技有限公司
CN_120867953_PA

Resumen de: CN120042746A

The vehicle-mounted wind power generation device specifically comprises a power generation box, a rotating device is arranged in the power generation box, and the two ends of the inner wall of the power generation box are fixedly connected with power generation devices; the air inlet device is arranged at the bottom of the power generation box, and one end of the air inlet device is communicated with the interior of the power generation box; the air outlet is formed in the top of the power generation box, and one end of the air outlet is communicated with the interior of the power generation box; the rotating device comprises a rotating shaft, the outer side of the rotating shaft is sleeved with and fixedly connected with a storage sleeve, and a storage cavity is formed in the storage sleeve; and one end of the arc-shaped wind plate penetrates through the storage sleeve and extends into the storage cavity. The vehicle-mounted wind power generation device can automatically adapt to vehicle speed changes, is high in power generation efficiency, can dry air entering from the outside and adsorb small water drops contained in the air, and is good in waterproof effect.

便携式无叶风扇

NºPublicación:  CN120868053A 31/10/2025
Solicitante: 
深圳市几素科技有限公司
CN_120868053_PA

Resumen de: AU2024278338A1

A portable bladeless fan is provided and includes: a housing, a mix-flow fan, and a pressurizing member. The housing has an air inlet portion at a rear side of the housing and an air outlet portion at a front side of the housing. The mix-flow fan is configured to generate an airflow. The pressurizing member is connected to a front portion of the housing and disposed at a front of the mix-flow fan. The pressurizing member includes a pressurizing seat and second blades. The pressurizing seat includes a pressurizing surface that is at least partially increased in a radial direction from the rear side to the front side, the second blades are spaced apart from each other and are arranged on the pressurizing surface. The second blades re-arrange a direction of the airflow and to reduce a noise of the airflow.

基于逆变器的资源的电网形成孤岛检测和连续操作

NºPublicación:  CN120883472A 31/10/2025
Solicitante: 
通用电气维诺瓦可再生能源西班牙有限公司
CN_120883472_PA

Resumen de: WO2024167493A1

A method for controlling an inverter-based resource (IBR) connected to an electrical grid includes operating the IBR in a normal mode of operation. The method also includes receiving one or more electrical feedbacks and control signals. Further, the method includes determining whether the signals are indicative of an islanding condition occurring in the IBR. Moreover, upon the signals being indicative of the islanding condition, the method includes switching to an island mode of operation for the IBR. The island mode of operation includes continuously monitoring the signals, continuing operation of the IBR in the island mode of operation for as long as the signals indicate the islanding condition and an amount of loading is below at least one of available power or energy at the IBR. Further, the method includes reverting to the normal mode of operation when the signals indicate that the electrical grid is restored.

分数阶谐波控制

NºPublicación:  CN120883500A 31/10/2025
Solicitante: 
西门子歌美飒可再生能源公司
CN_120883500_PA

Resumen de: WO2024149497A1

It is described a method of controlling a fractional slot electrical machine (865), in particular of a wind turbine, comprising a stator and a rotor rotatable relative to the stator for handling at least one fractional harmonic oscilla- tion, the method comprising: determining a fractional harmon- ic electrical angle position (θ_h) of the rotor corresponding to the fractional harmonic; controlling the machine (865) based on the fractional harmonic angle position (θ_h).

一种风电机组传动链复位装置

NºPublicación:  CN223498056U 31/10/2025
Solicitante: 
南京康思德瑞新能源科技有限公司
CN_223498056_U

Resumen de: CN223498056U

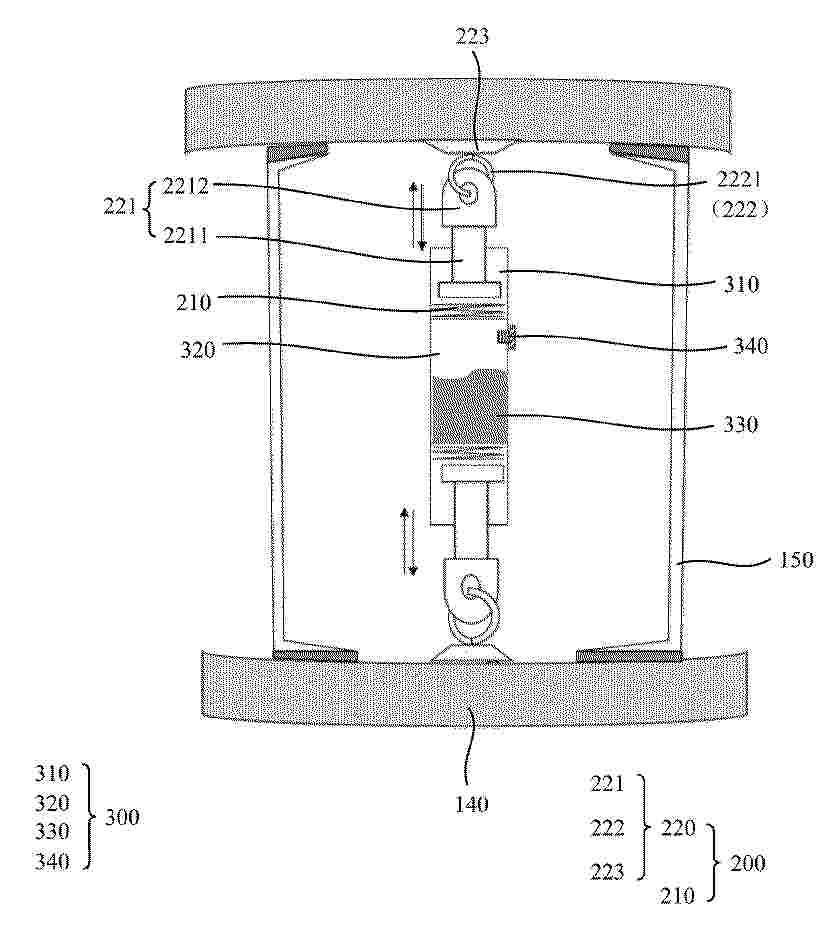
本实用新型涉及风电机组技术领域,具体为一种风电机组传动链复位装置,包括:风轮锁紧盘,所述风轮锁紧盘上设置有主轴,主轴上设置有测速盘和背板,背板朝向测速盘一侧表面上设置有后压板,后压板上旋紧有螺栓,抵紧盘的表面固定有侧耳,侧耳上设置有限位组件,侧耳的表面开设有导孔,导孔内设有导杆;有益效果为:通过本实用新型提出的复位装置,可以避免操作人员手动按压并持续保持测速盘稳定,减轻了操作人员的工作强度。

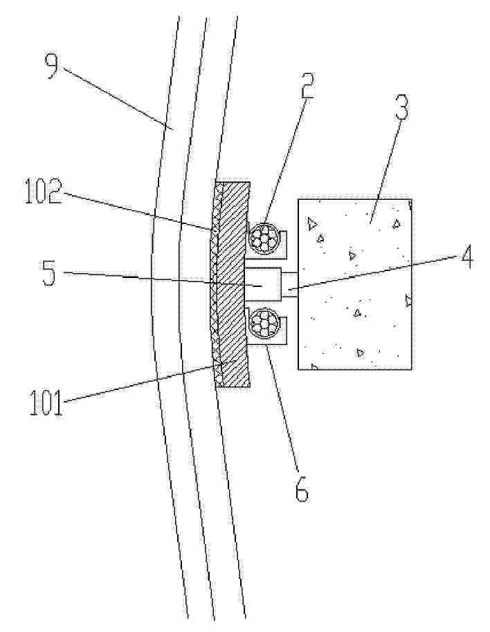
一种风力发电机组轮毂连接螺栓断裂的监测装置

NºPublicación:  CN223498053U 31/10/2025
Solicitante: 
湖北能源集团黄石风电有限公司湖北能源集团新能源发展有限公司湖北能源集团股份有限公司
CN_223498053_U

Resumen de: CN223498053U

本申请涉及风电机组监测领域,具体公开了一种风力发电机组轮毂连接螺栓断裂的监测装置,风力发电机组包括机舱和主轴,主轴通过连接法兰和多个连接螺栓连接有轮毂;机舱中设置有发电机和齿轮箱,齿轮箱的输入端连接于主轴,齿轮箱的输出端连接有高速轴,高速轴连接于发电机的输入端;高速轴同轴连接有刹车盘,刹车盘的周侧均匀设置有多个齿部。监测装置包括第一检测件和第二检测件,第一检测件朝向连接螺栓的运动轨迹,用于检测连接法兰转动时在单位时间内经过第一检测件的连接螺栓数量;第二检测件朝向齿部的运动轨迹,用于检测刹车盘转动时在单位时间内经过第二检测件的齿部数量。本申请能够实现轮毂和主轴之间连接螺栓断裂的在线监测。

用于筒体的可调圆度支撑装置

NºPublicación:  CN223498045U 31/10/2025
Solicitante: 
太重(天津)滨海重型机械有限公司
CN_223498045_U

Resumen de: CN223498045U

本实用新型公开了一种用于筒体的可调圆度支撑装置,包括第一支撑段、设置于第一支撑段一端的第二支撑段、设置于第一支撑段另一端的第二支撑段,第一支撑段包括第一管件、连接于第一管件一端的插头、连接于第一管件另一端承接头,承接头底部设置有匹配于插头的插槽,第二支撑段包括调节螺母、分别设置于调节螺母两端的第二管件与第三管件,第二管件自由端设置有插头,第三支撑段包括第四管件、设置于第四管件一端的承接头;本装置采用模块化结构,可任意组装所需长度,适用性强,筒体支撑可以调整筒体圆度,并且各个支撑段之间通过紧固件进行一次固定,之后将承接头、垫片、紧固件之间通过点焊进行二次固定,使各个支撑段之间连接更加稳定。

一种一体装配式浇筑的梁板式风机基础结构

NºPublicación:  CN223497213U 31/10/2025
Solicitante: 
中国电建集团北京勘测设计研究院有限公司
CN_223497213_U

Resumen de: CN223497213U

本实用新型公开了一种一体装配式浇筑的梁板式风机基础结构,涉及风力发电技术领域,包括中环架以及若干个拼接架,拼接架设置在中环架底部,外板架均设置在中环架底部,拼接浇注组件设置在外板架与拼接架内部,提升组件设置在中环架外部,对接槽分别开设在中环架底部以及外板架上端,外板架表面开设有凹槽,凹槽内安装有若干个螺栓,螺栓旋拧连接在外板架内。通过上述技术方案,解决了相关技术中的浇筑存在混凝土浇注时分布不均,进而导致需要对浇筑过后的混凝土通过振捣等方式整理,造成风机基础浇筑时间增长,而且拆卸方式较为复杂,无法快速拆卸问题。

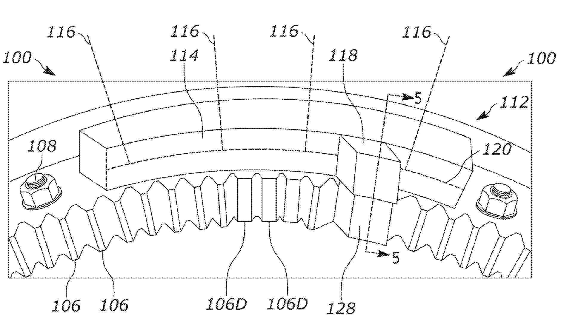
塔转接段、塔架以及风力发电机组

NºPublicación:  CN223498047U 31/10/2025
Solicitante: 
江苏金风科技有限公司
CN_223498047_U

Resumen de: CN223498047U

本实用新型涉及一种塔转接段、塔架以及风力发电机组,塔转接段包括:基础部,包括壳体以及多个连接柱,壳体呈闭合环状,壳体在自身轴向的一侧具有对接端,多个连接柱在壳体的周向上间隔设置,每个连接柱设置于壳体在轴向背离对接端的一侧并与壳体为一体式结构体;第一法兰,设置于对接端;第二法兰,每个连接柱在轴向上背离对接端的一侧分别连接有第二法兰。本实用新型实施例提供的塔转接段、塔架以及风力发电机组,塔转接段能够满足塔架的使用需求,且承载能力高,安全性能好,失效风险低。

一种钢-混凝土塔架与基础的均压连接结构

NºPublicación:  CN120867328A 31/10/2025
Solicitante: 
中车山东风电有限公司
CN_120867328_PA

Resumen de: CN120867328A

本发明涉及风力发电机组钢‑混凝土塔架结构技术领域,公开了一种钢‑混凝土塔架与基础的均压连接结构,包括塔架混凝土空心基础和塔架混凝土节段,所述塔架混凝土节段顶部设有安装槽口,安装槽口处设有环形垫梁,环形垫梁为塔架混凝土空心基础和塔架混凝土节段连接的过渡体,以分散塔架混凝土节段传递下来的集中应力;本发明通过在塔架混凝土空心基础和塔架混凝土节段之间设置环形垫梁,形成了有效的应力扩散载体,实现塔架与基础交界处应力的有效分散,从而降低基础设计的复杂性和对混凝土强度等级的要求;该结构不仅有助于降低基础混凝土的强度等级,达到降本增效的目的,同时显著减少基础上部台柱的破坏风险,提升整体结构的安全性与耐久性。

风轮结构的确定方法和装置、存储介质、电子装置

NºPublicación:  CN120867964A 31/10/2025
Solicitante: 
中国华能集团清洁能源技术研究院有限公司华能广东汕头海上风电有限责任公司
CN_120867964_PA

Resumen de: CN120867964A

本申请公开了一种风轮结构的确定方法和装置、存储介质、电子装置,该方法包括:根据预设的风轮机组的额定工作参数以及目标风能利用效率,确定风轮机组的前风轮的第一半径;根据预设的比例关系以及第一半径,确定风轮机组的后风轮的初始第二半径,其中,风轮机组的前风轮和后风轮同轴转动,前风轮位于后风轮的靠近迎风方向的一侧;根据前风轮的第一半径和后风轮的初始第二半径对前风轮和后风轮进行流场分析,以确定使得前风轮和后风轮的流场无干涉的前风轮的叶片的镂空区域;将前风轮的镂空区域内的叶片替换为中空结构以得到目标前风轮,其中,风轮机组的风轮结构包括目标前风轮和后风轮。提高了风轮机组的整体性能,能够实现更高的风能利用率。

一种串并列双风轮风电机组缩比模拟装置

NºPublicación:  CN120867961A 31/10/2025
Solicitante: 
中国科学院电工研究所
CN_120867961_PA

Resumen de: CN120867961A

本发明提出一种串并列双风轮风电机组缩比模拟装置,包括风轮与机舱缩比模型、滑轨变距平台、偏航支撑塔架、多自由度浮式模拟运动平台,能够实现风轮间距、旋转方向、风轮大小等不同双风轮机组配置间的灵活调节,解决了现有风电机组缩比实验装置无法提供双风轮风电机组动态特性试验条件的问题,能够模拟串列、并列双风轮机组的真实运行状态,实现了同一装置可对不同双风轮配置的机组动态响应特性和控制策略开展试验的功能,降低了双风轮风电机组的测试试验成本,对于双风轮间耦合特性、双风轮风电机组协同控制策略等研究提供有效的开发验证及性能验证条件。

叶根模块、叶根及其成型方法、风电叶片

NºPublicación:  CN120867942A 31/10/2025
Solicitante: 
远景能源有限公司
CN_120867942_PA

Resumen de: CN120867942A

本申请涉及风力发电装置技术领域,公开了一种叶根模块、叶根及其成型方法、风电叶片。叶根模块包括第一蒙皮、预制组件、填充件及第二蒙皮。预制组件包括预制件,以及位于预制件一端的拼接件,预制组件有至少一个。填充件设置在第一蒙皮上,填充件有多个,填充件与预制组件交替设置,且填充件的数量大于或者等于预制组件的数量。第二蒙皮与第一蒙皮相对设置,并覆盖预制组件及填充件。本申请提供的叶根模块、叶根及其成型方法、风电叶片,能够有利于降低叶根的生产成本,以便适应不同叶根的成型制作。

一种垂直轴风力发电机弱风启动装置

NºPublicación:  CN120867956A 31/10/2025
Solicitante: 
四川升辉时代机电设备智能制造有限公司
CN_120867956_PA

Resumen de: CN120867956A

本发明涉及垂直轴风力发电机技术领域,公开了一种垂直轴风力发电机弱风启动装置,包括支撑圆板,所述支撑圆板的底部固定连接有防滑胶条,所述支撑圆板的顶部固定连接有安装卡框,所述安装卡框的内部卡接有支撑立柱,所述支撑立柱的正面开设有调距孔;所述支撑立柱的表面滑动连接有滑动套筒,所述滑动套筒的内部螺纹连接有锁止螺杆。本发明通过设置缓冲弹簧与缓冲胶板嵌套于缓冲套筒内部,弹簧提供弹性支撑以抵消瞬时载荷,胶板则通过自身变形消耗残余能量,两者协同实现缓冲效果,若干个扇叶以转动轴为中心圆周等距分布,利用垂直轴风力机固有的全向受风特性,在弱风环境下仍能捕捉分散风能,降低启动风速要求。

基于视觉监测的风机塔筒与叶片自适应保护系统及方法

NºPublicación:  CN120867967A 31/10/2025
Solicitante: 
浙江浙能技术研究院有限公司浙江大学
CN_120867967_PA

Resumen de: CN120867967A

本发明涉及海上风电安全监测技术,具体公开基于视觉监测的风机塔筒与叶片自适应保护系统及方法。本发明通过机载高清摄像头捕捉海面耀斑带动态构建抗波浪干扰的水平基准,融合塔筒边缘识别实时计算倾角;当倾角持续超限时,控制叶片分段收缩降低风载荷,并基于收缩后倾角变化率区分弹性形变与结构故障;对于倾角不变情形,启动同轴激光扫描装置激发塔筒局部振动,通过振动波传导时延分析定位松动点。本发明能够实现塔筒倾斜的毫米级精度监测;叶片主动保护机制降低事故风险;提高非接触式故障定位精度,减少潜水检修作业。主要适用于大型海上风力发电机组的结构健康监测与安全防护。

一种海上风场模拟和风电机组控制系统、方法及风电机组

NºPublicación:  CN120867947A 31/10/2025
Solicitante: 
华能烟台新能源有限公司中国华能集团清洁能源技术研究院有限公司华能海上风电科学技术研究有限公司
CN_120867947_PA

Resumen de: CN120867947A

本公开实施例提供了一种海上风场模拟和风电机组控制系统、方法及风电机组,该系统包括:数据预处理模块,用于对多源异构气象数据进行格式转换、投影变换及质量控制;数据融合模块,用于对预处理后的多源异构气象数据进行智能融合,生成三维融合场数据;模式调整模块,用于基于海况变化动态优化数据融合策略;分辨率转换模块,用于对三维融合场数据进行时空分辨率转换,生成精细化三维风场数据;分区控制模块,用于基于精细化三维风场数据对风场进行区域划分,根据各区域的相关数据及区域特性生成对应区域的差异化偏航控制策略,并驱动机组执行偏航控制策略。提升了风场模拟精度及对复杂海况的适应性,通过差异化偏航策略平衡风能捕获与设备载荷。

一种耐存储玻纤直接纱用浸润剂及制备方法、玻璃纤维和应用

NºPublicación:  CN120864806A 31/10/2025
Solicitante: 
巨石集团有限公司
CN_120864806_A

Resumen de: CN120864806A

本申请提供了一种耐存储玻纤直接纱用浸润剂及制备方法、玻璃纤维和应用,该浸润剂含有有效组分和水,有效组分包含硅烷偶联剂、成膜剂、润滑剂、润湿剂、交联剂、光稳定剂、pH值调节剂;有效组分的固体总质量占浸润剂总质量的4.5%~7.5%。采用该浸润剂涂覆生产的玻璃纤维具备耐存储,超低毛羽性能,使用顺畅性优异,与树脂浸润性与界面结合性好等优点;适用于环氧、聚酯两种体系,可用于编织、缠绕、拉挤等工艺,尤其适用于环氧风电叶片复合材料领域,生产过程中力学与疲劳性能良好、抗老化性能优异。

一种风力发电机联轴器对中定位支架

NºPublicación:  CN120867955A 31/10/2025
Solicitante: 
兰州粤水电能源有限公司
CN_120867955_A

Resumen de: CN120867955A

本发明公开了一种风力发电机联轴器对中定位支架,包括底板和支杆,所述底板的上表面固接有两个支杆,所述底板的上方设置有调平机构,两个所述第一支板均固接在底板的上表面,两个所述第一支板均通过销轴与螺纹块转动相连,所述螺纹块与第一螺杆的外壁螺纹相连,所述第一螺杆的外壁固接有转轮。顶板处于水平状态后风力发电机联轴器随之也处于水平状态,通过调平机构便于对顶板和风力发电机联轴器所处的倾斜角度进行调节,当安装过程中若支架基础不平整或水平度不达标时,避免导致联轴器在安装后存在径向偏差,底板与地面的接触面积较大,减少沉降现象的发生,避免基础施工不规范或后期沉降易引发支架位移,进而避免造成联轴器对中偏差。

一种风电塔筒抗震加固装置及安装方法

NºPublicación:  CN120867957A 31/10/2025
Solicitante: 
中国电建集团贵州工程有限公司
CN_120867957_PA

Resumen de: CN120867957A

本发明涉及风力发电技术领域,尤其是一种风电塔筒抗震加固装置,包括:安装于车板上的框架;在所述框架的上方间隔安装用于承载塔筒的若干减震单元,若干所述减震单元之间传动连接有同步机构;其中,所述框架的两端分别安装有前定位单元以及后定位单元,所述后定位单元和所述框架滑动连接,本发明中通过采用若干减震单元的设计,在支撑塔筒进行运输时,由同步机构实现震动力均匀分散与传递,有效避免局部受力过大,显著提升塔筒抗震性能与结构稳定性;此外,塔筒前端法兰面抵触前定位单元,后端法兰面由后定位单元承接,并通过锁定组件实现后定位单元的位置固定,加固效果突出,为塔筒的安全运输提供了可靠保障。

一种风电机组智能运维管理方法及系统

NºPublicación:  CN120867973A 31/10/2025
Solicitante: 
大唐可再生能源试验研究院有限公司山西大唐岢岚风电有限公司
CN_120867973_PA

Resumen de: CN120867973A

本发明适用于设备运维管理技术领域,提供了一种风电机组智能运维管理方法及系统,所述方法包括以下步骤:获取智能终端的终端信息并对其进行标记;基于终端信息捕获智能终端的数据传输过程并对其进行定位得到终端定位信息;根据所述终端定位信息判断工作人员所处的机房内的位置并获得指定设备信息,所述指定设备信息为工作人员正在进行运维处理的机房设备;根据指定设备信息调取机房设备的运行数据并发送至智能终端。本发明能够根据工作人员手持的智能终端的位置自动调取对应地机房设备的运行数据,无需工作人员手动进行调取,使得工作人员能够检查设备本体的同时根据智能终端上的数据来进行维护工作。

拉挤主梁和叶片

NºPublicación:  CN120867941A 31/10/2025
Solicitante: 
远景能源有限公司
CN_120867941_PA

Resumen de: CN120867941A

本公开涉及一种拉挤主梁和叶片,拉挤主梁包括若干层拉挤单元和若干间隔部件,其中,若干层拉挤单元沿第一方向堆叠排布,每层拉挤单元包括若干拉挤板,且每层拉挤单元的若干拉挤板沿第二方向排布;间隔部件至少部分设于相邻两个拉挤板之间,以使在第一方向上的相邻两个拉挤板之间存在第一界面空间,以及在第二方向上的相邻两个拉挤板之间存在第二界面空间,并且在第二方向上的相邻两个第一界面空间相互连通形成供粘合胶液流动的第一导流通道,在第一方向上的相邻两个第二界面空间相互连通形成供粘合胶液流动的第二导流通道;本公开提供的技术方案,可以降低拉挤主梁的层间缺陷产生的可能性,提高叶片的整体性能。

风电叶片以及风力发电机组

NºPublicación:  CN120867944A 31/10/2025
Solicitante: 
中材科技风电叶片股份有限公司
CN_120867944_PA

Resumen de: CN120867944A

本申请涉及风电设备技术领域,尤其涉及一种风电叶片以及风力发电机组。风电叶片,包括:叶片本体,包括迎风面壳体和背风面壳体,迎风面壳体和背风面壳体围设形成有叶片内腔;缓冲结构,设置于叶片内腔,缓冲结构沿叶片本体的厚度方向成对设置,成对的缓冲结构分别连接于迎风面壳体以及背风面壳体朝向彼此的一侧,缓冲结构的至少部分在厚度方向上具有伸缩自由度;配重件,设置于叶片内腔,配重件具有预定重量,沿厚度方向,配重件的两侧分别与其中一个缓冲结构连接,以使配重件悬置于迎风面壳体和背风面壳体之间。由此,能够减少配重件与叶片本体之间的应力集中,有效防止风电叶片损伤及配重件脱落,提升风电叶片运行的安全性与稳定性。

一种基于声纹感知的风机叶片诊断方法及系统

NºPublicación:  CN120867960A 31/10/2025
Solicitante: 
广东粤电珠海海上风电有限公司
CN_120867960_PA

Resumen de: CN120867960A

本发明公开了一种基于声纹感知的风机叶片诊断方法及系统,涉及风电设备智能监测技术领域,包括,基于风流特性参数集,进行频域补偿处理,剥离环境风噪成分,生成纯净声纹信号;基于纯净声纹信号,识别风机叶片敏感声学频段,在敏感声学频段激发声波相位协同效应,生成强化声纹信号;根据强化声纹信号,量化风机叶片材料的内部损伤深度,并计算声能流紊乱度指标;根据声能流紊乱度指标,通过多维度声学特征状态空间映射机制对风机进行叶片健康状态判定,生成三维健康评估报告;通过物理级风噪剥离技术,基于涡旋干涉建模与声波‑气流相位偏移校正生成传递函数矩阵,实现频域能量重加权解耦,在强湍流环境下精准剥离环境风噪。

一种风力发电机叶片吊装装置及其方法

NºPublicación:  CN120864353A 31/10/2025
Solicitante: 
中国电建集团贵州工程有限公司
CN_120864353_PA

Resumen de: CN120864353A

本发明涉及风力发电技术领域,尤其是一种风力发电机叶片吊装装置,包括:两个吊臂以及固定在两个吊臂之间的固定杆;在所述吊臂的两端均设置有调节架,两个所述调节架之间设置通过卷收组件连接有绑带组件,所述绑带组件套设在叶片的外侧;其中,在所述吊臂的下方通过升降组件连接有仿形压紧组件,本发明通过绑带组件与仿形压紧组件的协同作用,实现了对叶片的稳定吊装,首先,绑带组件由卷收组件驱动,可在起吊初期调节绑带的长度,确保叶片被双吊臂水平、平稳地提升,优化了整体提升的稳定性;随后,仿形压紧组件启动,其内部的弹性组件能自适应地贴合叶片不规则的弧形表面,形成大面积的仿形接触,有效抑制了叶片在吊装过程中的侧滑风险。

便携式无叶风扇

NºPublicación:  CN120868054A 31/10/2025
Solicitante: 
深圳市几素科技有限公司
CN_120868054_PA

Resumen de: AU2024278338A1

A portable bladeless fan is provided and includes: a housing, a mix-flow fan, and a pressurizing member. The housing has an air inlet portion at a rear side of the housing and an air outlet portion at a front side of the housing. The mix-flow fan is configured to generate an airflow. The pressurizing member is connected to a front portion of the housing and disposed at a front of the mix-flow fan. The pressurizing member includes a pressurizing seat and second blades. The pressurizing seat includes a pressurizing surface that is at least partially increased in a radial direction from the rear side to the front side, the second blades are spaced apart from each other and are arranged on the pressurizing surface. The second blades re-arrange a direction of the airflow and to reduce a noise of the airflow.

一种储能式海上风力发电设备及其使用方法

NºPublicación:  CN120867954A 31/10/2025
Solicitante: 
华能(临高)新能源有限公司明阳智慧能源集团股份公司
CN_120867954_PA

Resumen de: CN120867954A

本发明公开了一种储能式海上风力发电设备及其使用方法,涉及海上风力发电技术领域,包括至少一节塔架、最上端一节塔架顶部安装的发电机组、发电机组输入轴顶端通过联轴器连接的主轴以及主轴顶端安装的三叶型立式桨板组;最上端一节所述塔架的顶端安装有和主轴共轴线的分段式轴转支撑筒,所述分段式轴转支撑筒的靠下部左右外壁上皆固定安装有四柱式C口支架。本发明解决高温环境下润滑剂粘度下降带来的润滑不足问题,增强了海上发电设备的耐腐蚀性和机械稳定性,同时由于润滑是持续、自动进行的,大幅降低海上发电对昂贵且高风险的频繁人工维护的需求,显著提高设备夏季的可维护性和运行经济性。

可放倒且集成可展开角度调节太阳能板的风力助推转子及其运行方法

NºPublicación:  CN120867946A 31/10/2025
Solicitante: 
哈尔滨工程大学
CN_120867946_PA

Resumen de: CN120867946A

本发明提出了可放倒且集成可展开角度调节太阳能板的风力助推转子及其运行方法,属于船舶新能源应用领域。解决了现有技术中风力助推转子存在的能源利用单一,结构功能固定的问题。它包括支撑基座、转子主体和太阳能板组件,支撑基座上固定转子主体,转子主体的内筒固定于支撑基座,内筒为中空圆柱体,内筒外表面设置有多组太阳能板组,外筒上设置有可开闭式面板,可开闭式面板移开后,能够露出太阳能板组。本发明通过风能和太阳能的协同作用,提高船舶能源利用效率,降低燃油消耗和污染物排放,角度调节机构可实现太阳能板的倾角和方位角调节,太阳能收集效率较固定安装方式提高,可根据环境条件自动切换四种工作模式,适应不同航行场景。

一种基于源域选择的多源域自适应风电机组状态监测方法

NºPublicación:  CN120867959A 31/10/2025
Solicitante: 
浙江工业大学
CN_120867959_PA

Resumen de: CN120867959A

本发明公开一种基于源域选择的多源域自适应风电机组状态监测方法,包括以下步骤:收集风电场中不同风电机组齿轮箱系统的运行状态历史SCADA数据;对各个机组数据进行预处理后,使用K‑S检验源域机组与目标域机组之间的数据分布差异;构建基于时域卷积网络的多源域自适应预测模型;将两组源域机组训练集和目标域机组训练集数据输入到模型中进行训练,预测源域机组的齿轮箱油温;最小化源域和目标域之间的域适应损失、回归损失以及回归器差异损失;将目标域机组测试集输入到训练好的模型中,得到目标域机组齿轮箱油温的预测值;本发明对机械装备在数据缺失并且单一源域知识不足导致迁移效果差的条件下建立有效的状态监测模型提供了新思路。

一种浮式波浪能发电装置

NºPublicación:  CN120867936A 31/10/2025
Solicitante: 
湖南科技大学三亚研究院
CN_120867936_PA

Resumen de: CN120867936A

本发明涉及波浪发电技术领域,尤其涉及一种浮式波浪能发电装置,包括能量捕获系统、发电系统和转向系统;波浪聚能整流罩通过倒置喇叭形结构在波峰时聚集波浪形成向上加速水流并挤压空气,形成有序上升气流,配合顶部的倒立锥形的空气聚能整流罩,形成向上加速气流;在波谷时形成向下水流,同时在装置内部产生局部负压,配合顶部的空气聚能整流罩,形成有序向下的气流;第一沉井式气流/水流发电机利用双向气流或水流驱动发电,第二沉井式气流/水流发电机在另一侧气流通道内由双向气流驱动发电;转向系统的偏航轴承与风叶共同驱动第二发电机导管随风向偏转以优化气流方向,加速气流或水流流动。该装置能实现波浪能的高效转换与稳定电能输出。

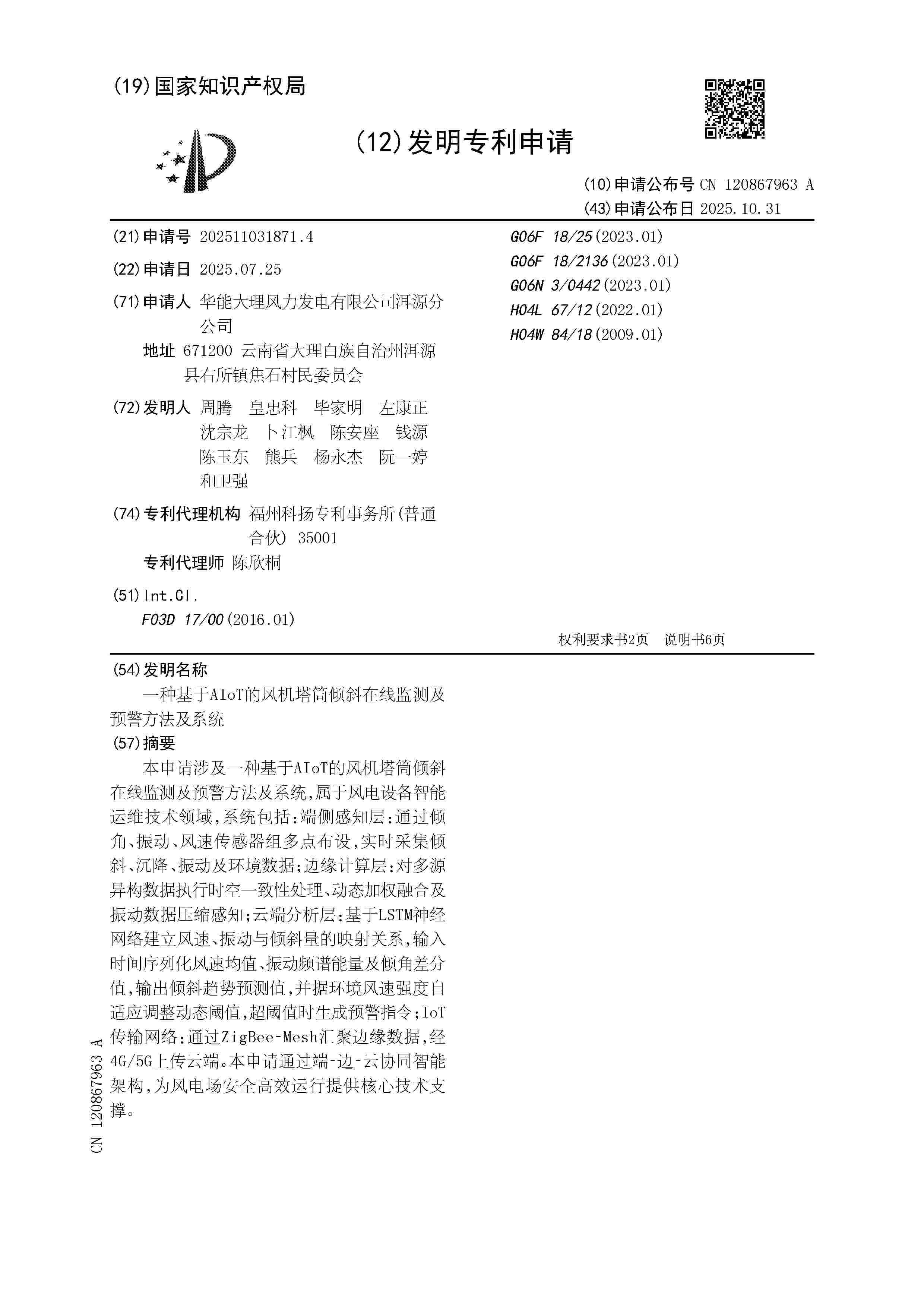
一种基于AIoT的风机塔筒倾斜在线监测及预警方法及系统

NºPublicación:  CN120867963A 31/10/2025
Solicitante: 
华能大理风力发电有限公司洱源分公司
CN_120867963_A

Resumen de: CN120867963A

本申请涉及一种基于AIoT的风机塔筒倾斜在线监测及预警方法及系统,属于风电设备智能运维技术领域,系统包括:端侧感知层:通过倾角、振动、风速传感器组多点布设,实时采集倾斜、沉降、振动及环境数据;边缘计算层:对多源异构数据执行时空一致性处理、动态加权融合及振动数据压缩感知;云端分析层:基于LSTM神经网络建立风速、振动与倾斜量的映射关系,输入时间序列化风速均值、振动频谱能量及倾角差分值,输出倾斜趋势预测值,并据环境风速强度自适应调整动态阈值,超阈值时生成预警指令;IoT传输网络:通过ZigBee‑Mesh汇聚边缘数据,经4G/5G上传云端。本申请通过端‑边‑云协同智能架构,为风电场安全高效运行提供核心技术支撑。

一种风电场尾流协同控制方法、装置及设备

NºPublicación:  CN120867949A 31/10/2025
Solicitante: 
北京工业大数据创新中心有限公司中国电力科学研究院有限公司
CN_120867949_PA

Resumen de: CN120867949A

本发明提供了一种风电场尾流协同控制方法、装置及设备,属于风电场智能控制技术领域。该方法包括:获取至少2个风电场中的任一风电场的风机数据和风机所处环境的观测数据;根据所述风机数据和所述观测数据,得到即时收益数据与第一状态向量;根据所述第一状态向量,得到偏航控制指令;根据所述偏航控制指令调整风机角度,得到第二状态向量;根据所述即时收益数据、所述第一状态向量和所述第二状态向量,得到时序差分误差;根据所述时序查分误差,得到本地模型参数;根据所述本地模型参数,对风电场的各风电机组的尾流进行协同控制。该方案能够降低设备损耗,提高可移植性,实现了对风速波动的实时响应。

一种海上风电安全运维方法

NºPublicación:  CN120867972A 31/10/2025
Solicitante: 
三峡新能源海上风电运维江苏有限公司
CN_120867972_PA

Resumen de: CN120867972A

一种海上风电安全运维方法,包括以下步骤:采集气象数据并进行预测,基于预测的风速、天气和海况数据,制定风机工作计划;采集塔筒内部气体环境数据和船舶AIS数据,分别预测未来工作时间内的气体释放量和船舶到达机位的时间;当船舶到达机位时,判断接下来2小时的风速是否适合停机、当前海浪是否适合登靠;若判断均适合,则提前15分钟开启通风机通风,待内部气体含量合规后,触发语音提醒开锁。本发明所要解决的技术问题是提供一种海上风电安全运维方法,解决现有海上风电运维中环境数据驱动决策能力不足、多源数据协同控制缺乏、自动化安全保障机制薄弱,导致运维作业“高风险、低效率、难追溯”的技术问题。

一种新型内嵌双烟囱式海上能源岛风-光-储互补及海水淡化系统和方法

NºPublicación:  CN120864603A 31/10/2025
Solicitante: 
河海大学
CN_120864603_PA

Resumen de: CN120864603A

本发明公开了一种新型内嵌双烟囱式海上能源岛风‑光‑储互补及海水淡化系统和方法,包括内嵌的双烟囱,内烟囱连接水平集热棚;外烟囱连接倾斜PV/T集热棚,倾斜PV/T集热棚上方面向天空布置光伏电池组件;外烟囱外部布置太阳能热水器,内部布置冷凝器。本发明中集热棚中的空气形成太阳能热气流推动内烟囱出口处的风力涡轮机发电;倾斜PV/T集热棚流入的环境风冷却光伏组件;热水器加热海水进入倾斜PV/T集热棚下壁面进行增湿,高湿蒸汽进入冷凝器除湿,实现海水淡化;电量盈余时可抽取海水进入水平集热棚内流道和内烟囱中,需要发电时让海水回落,带动可逆式水轮机发电。本发明将动力源和能量源合理分开,实现太阳能和风能互补产电,实现产水、产电和储能。

风力发电机组的塔筒监测系统

NºPublicación:  CN120867966A 31/10/2025
Solicitante: 
华能巴林右旗新能源有限公司
CN_120867966_PA

Resumen de: CN120867966A

本发明公开了一种风力发电机组的塔筒监测系统,涉及风力发电机组的塔筒监测技术领域,其中,风力发电机组的塔筒监测系统包括基础底座、基础连接座、沉降补偿机构和监测机构,基础底座和基础连接座均埋设于土体,基础连接座设置于基础底座上,塔筒设置于基础连接座上,基础连接座与基础底座之间设置有沉降补偿间隙;沉降补偿机构设置于塔筒的底部并伸入基础底座内,且沉降补偿机构能沿塔筒的径向自初始位置朝外伸入沉降补偿间隙内,以补偿基础底座的沉降;监测机构设置于基础底座,监测机构用于监测沉降补偿机构伸入沉降补偿间隙内的距离,以输出塔筒的沉降信息。本发明在风力机组的塔筒发生沉降时,能实时监测并调整塔筒的平衡,以提高安全性。

一种风机基础大体积混凝土浇筑过程中的温度监测与控制方法

NºPublicación:  CN120867303A 31/10/2025
Solicitante: 
华能新能源股份有限公司河北分公司
CN_120867303_PA

Resumen de: CN120867303A

本发明公开了一种风机基础大体积混凝土浇筑过程中的温度监测与控制方法,属于风机基础施工技术领域,包括以下步骤:S10、基础内部测温点的布置:沿基础径向至少布置2处测温点;S20、安装测试元件:在基础外侧设置监测大气温度的第一测试元件;在基础内部的各测温点对应安装第二测试元件;S30、构建温度变化模型;S40、将浇筑过程中各监测点的实时监测数据输入温度变化模型,温度变化模型给出实施调控方案。本发明能够实时监测大体积混凝土在浇筑过程中的温度变化,并给出精准的调控方案,能够做到实时、精准地监测与调控,满足了风电基础的施工质量要求。

一种用于风力发电机的降温设备

NºPublicación:  CN120867974A 31/10/2025
Solicitante: 
常熟市恒康机械制造有限公司
CN_120867974_PA

Resumen de: CN120867974A

本发明公开了一种用于风力发电机的降温设备,涉及风力发电技术领域,包括固定箱、安装板和安装螺栓,所述安装板固定安装在固定箱上,所述安装螺栓安装在安装板上,所述固定箱上设置有送风机构,所述送风机构包括进风管、转轴、扇叶和风球风帽,所述进风管固定安装在固定箱上,所述转轴转动安装在固定箱内,所述转轴的端部位于进风管内,所述扇叶固定安装在转轴上并位于进风管内,所述风球风帽固定安装在转轴上,在外部风力的作用下快速旋转,从而带动转轴和扇叶快速旋转,从而将固定箱内的空气吹入风力发电机内,从而将风力发电机内的热空气排挤出外壳达到换气降温的效果,节能环保。

一种风力发电机组减震机构

NºPublicación:  CN223498547U 31/10/2025
Solicitante: 
华润新能源(凌海)风能有限公司
CN_223498547_U

Resumen de: CN223498547U

本实用新型公开了一种风力发电机组减震机构,包括安装架,设置有两个,且两者端部可拆式固定;支撑件,安装在每个安装架的外侧位置,通过支撑件实现对安装架的支撑以及根据风力发电机组的高度做出适应性调节;减震组件,与所述安装架贯穿连接;该减震组件包括连接件,与所述安装架螺纹连接,且两端分别处于安装架的内外侧处;减震部,一端活动插入至连接件的内部;通过本实用新型的设计,能够将发电机组的两侧位置进行限位减震,大幅度降低风力发电机组在运行中产生的震动,并且本实用新型能够根据不同规格的风力发电机组调节自身的尺寸,由于本实用性并未对风力发电机组底部连接位置进行改进,不会影响风力发电机正常安装稳定性。

节能环保型风力杀虫灯

NºPublicación:  CN223489042U 31/10/2025
Solicitante: 
宜昌格瑞生态农业有限公司
CN_223489042_U

Resumen de: CN223489042U

本实用新型属于害虫消杀设备技术领域,尤其为节能环保型风力杀虫灯,包括支撑柱、安装底座、接线盒,安装底座设置于支撑柱底端,接线盒设置于支撑柱靠近顶部的外围端面。本实用新型通过设置风力发电齿轮箱组件、发电机、叶片、导电丝以及灯管,在该设备使用时,设备顶部的叶片通过风力驱动,在转动时通过风力发电齿轮箱组件传动旋转动力,再通过发电机进行发电,电力通过接线盒内外连接的线路传导至下端的杀虫灯套件中,杀虫灯套件内的灯管通过电力驱动发光,并吸引害虫靠近,而灯管与灯管之间的间隙中导电丝时刻通电,并对靠近的害虫进行灭杀作业,通过设置卡槽、挂扣以及杀虫灯套件可以使该设备的杀虫结构能在使用完后快速完成内部清洗。

一种保证风电机组安全性的故障在线识别方法

NºPublicación:  CN120867968A 31/10/2025
Solicitante: 
榆林职业技术学院
CN_120867968_PA

Resumen de: CN120867968A

本申请提供了一种保证风电机组安全性的故障在线识别方法,涉及工业检测与自动化技术领域。所述方法包括:采集目标轴承的振动数据及转速数据;基于数据采集间隔及各采样时刻的转速数据确定转动周期;基于转速均值及转速变化总值确定转动周期的异常概率;将异常概率大于预设阈值的转动周期确定为异常转动周期,在正常转动周期中确定异常转动周期的相似转动周期;确定异常转动周期的滤波窗口;确定异常转动周期内各振动数据在相似转动周期对应位置的匹配数据,生成匹配窗口;确定匹配窗口的滤波权重,并据此更新异常转动周期中的振动数据;基于各转动周期内更新后的各振动数据识别目标轴承是否发生故障。本申请提高了风电机组轴承故障识别准确度。

南极冰盖大型风-光-氢-储一体化发电系统

NºPublicación:  CN120867952A 31/10/2025
Solicitante: 
太原理工大学
CN_120867952_PA

Resumen de: CN120867952A

本申请提供了一种南极冰盖大型风‑光‑氢‑储一体化发电系统,属于能源设备技术领域。包括:风机装置,设置于冰盖上方,风机装置包括球形轮毂及设置于球形轮毂上的翅片;光伏装置,设置于球形轮毂及翅片表面;风机塔筒,用于安装风机装置,风机塔筒内设置有内平台,内平台划分有制氢设备区、燃料电池区及储能装置区;储氢装置,设置于冰盖下方;氢气管路系统,布置于塔筒内部及冰盖下,连通于制氢设备区、储氢装置及燃料电池区;电缆传输系统,布置于塔筒内部及冰盖下,电连接于风机装置、光伏装置、燃料电池区及储能装置区。实现了在南极极端环境下高效利用风能和太阳能,并通过氢能的长周期储存保证了能源供应的稳定性和可靠性。

一种分级递进式风电传动链多模态融合健康评估方法

NºPublicación:  CN120867962A 31/10/2025
Solicitante: 
东北电力大学
CN_120867962_PA

Resumen de: CN120867962A

本发明公开了一种分级递进式风电传动链多模态融合健康评估方法,针对传统单一信号诊断精度不足的问题,提出一种分级递进式诊断架构,并且通过处理多维信号实现从传统单维分析升级为多模态智能诊断。通过系统采集齿轮箱三个月历史振动信号,计算出振动信号有效值的阈值,判断传动链是否正常;通过格拉姆角差场对振动信号分析,可以进一步地提取故障特征,判断传动链是否为警告状态;通过同时评估主轴前后温差—功率曲线、油温—功率曲线、发电机前后温差—功率曲线以及机舱噪声—功率曲线,进行最终状态判断。本方法通过多级决策风电机组传动链智能健康评估,显著提升风电机组状态监测的准确性与时效性。

叶片的除冰装置、除冰方法及风力发电机组

NºPublicación:  CN120867971A 31/10/2025
Solicitante: 
华能鹤岗发电有限公司
CN_120867971_PA

Resumen de: CN120867971A

本申请涉及风力发电技术领域,尤其涉及一种叶片的除冰装置、除冰方法及风力发电机组,叶片的除冰装置包括:加热模块,设置于叶片的前缘、后缘、压力面及吸力面设置,用于加热叶片表面的冰层;监测模块,安装于叶片的表面,配置为监测叶片表面的冰层厚度、环境温度和湿度;控制模块,与加热模块和监测模块分别电连接,控制模块配置为,如果冰层的厚度大于或等于第一阈值,且环境温度和湿度满足结冰条件,启动加热模块进行除冰。本申请可以智能监测叶片的结冰状态、高效除冰且节能环保。

一种万向微风发电叶片

NºPublicación:  CN223498037U 31/10/2025
Solicitante: 
微风新能源科技(山东)有限公司山东宏之泰新能源科技有限公司
CN_223498037_U

Resumen de: CN223498037U

本实用新型公开了一种万向微风发电叶片,包括空心柱Ⅰ、支撑架Ⅰ、支撑架Ⅱ、扇叶、空心柱Ⅱ、支撑座;空心柱Ⅰ顶部与支撑座固定连接,底部与空心柱Ⅱ顶部固定连接,且空心柱Ⅰ和空心柱Ⅱ的外壁上设有若干连接法兰;支撑架Ⅰ与支撑座和空心柱Ⅰ顶部的法兰固定连接;支撑架Ⅱ与空心柱Ⅱ和空心柱Ⅰ上其余的法兰固定连接,且若干支撑管Ⅱ两端分别与相邻的两组支撑架Ⅱ固定连接;扇叶设有若干,分别固定连接在支撑架Ⅰ和若干组支撑架Ⅱ之间。本实用新型在可以拦截低速风力,控制装置进行正常发电工作的同时,加固装置中的连接结构,防止风速过高造成装置损坏。

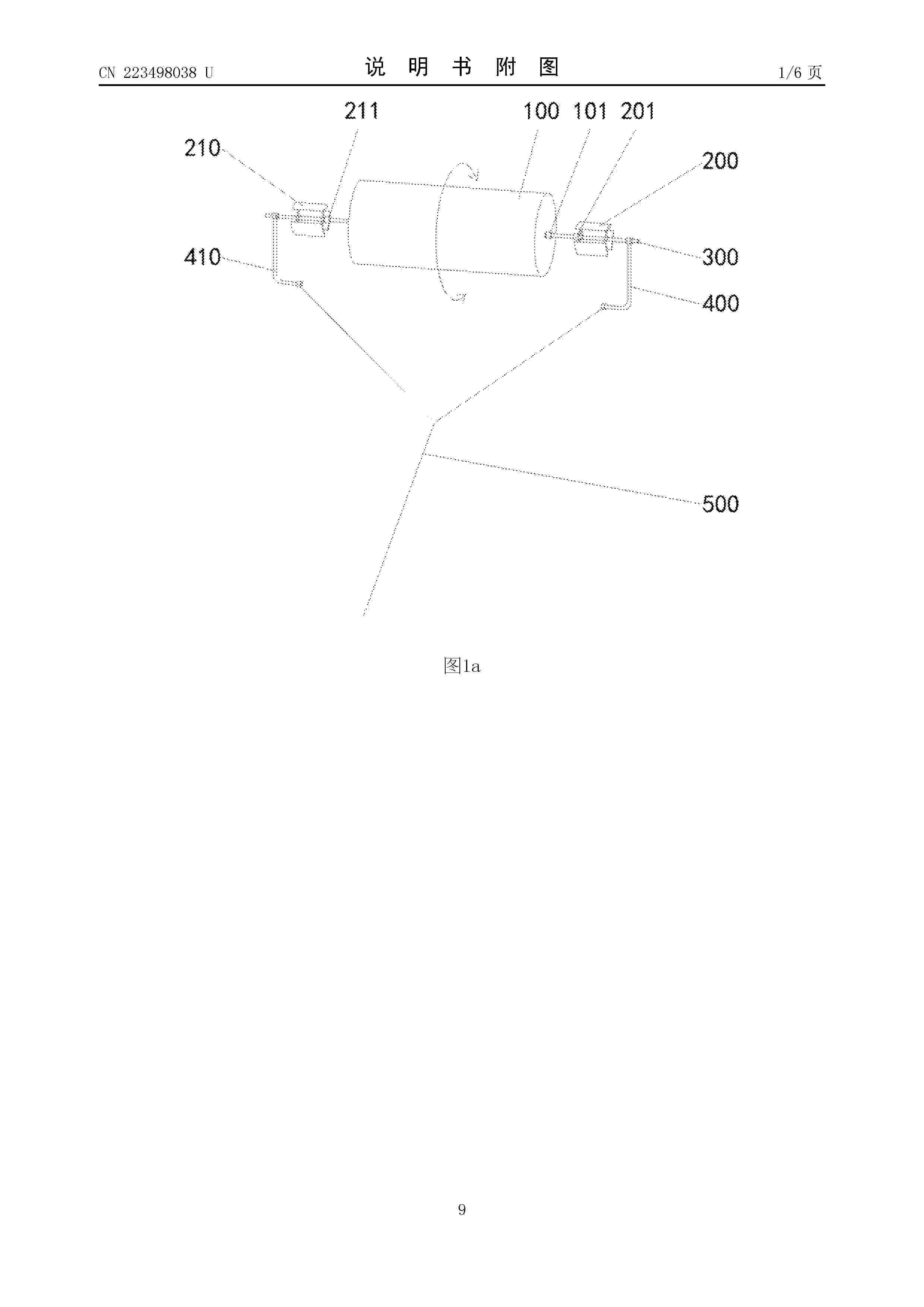
空中系留系统

NºPublicación:  CN223498038U 31/10/2025
Solicitante: 
上海井蹊科技合伙企业(有限合伙)
CN_223498038_U

Resumen de: CN223498038U

本公开涉及一种空中系留系统,包括转子、主轴和驱动单元;所述转子自带有浮力,所述浮力能够平衡所述系统的自重,所述转子受力可绕所述主轴自由旋转;所述主轴的两端对称地连接至高空做功模块,所述驱动单元用于调整所述转子的转速和/或转向;所述转子和所述驱动单元的总配重在所述主轴上对称分布。该方案以马格努斯效应为原理,通过调整转子的转速和/或转向可以获得任意所需的升力,能够灵活控制空中系留系统的升力、升阻比和牵引角度,不受海拔限制。相比于氦气球等传统的系留系统,避免了升阻比因为海拔高度的增加或随着风速的增大而减小,以及避免无法控制牵引角度。

一种风电塔筒海上运输支架

NºPublicación:  CN223498050U 31/10/2025
Solicitante: 
江苏永捷特种装备有限公司
CN_223498050_U

Resumen de: CN223498050U

本申请涉及一种风电塔筒海上运输支架,其包括底座,底座相对的两侧均滑动连接有夹板,底座上设置有驱动夹板沿着底座长度方向移动的驱动组件,每个夹板上均设置有固定组件,固定组件包括设置在夹板上的支撑筒,支撑筒沿周向均匀开设有多个限位通槽,每个限位通槽内均滑动连接有固定杆,每个固定杆的端部延伸出支撑筒并设置有固定板,支撑筒上设置有驱动多个固定杆同步移动的移动组件,通过驱动组件驱动夹板移动实现对不同长度筒节在底座长度方向上的限位,通过移动组件推动多个固定板同时抵接在塔筒内侧壁上,实现对不同横截面大小筒节在底座宽度方向的限位。本申请具有提高风电塔筒运输支架适用性的效果。

一种塔筒防护装置及风力发电机组塔筒

NºPublicación:  CN223498044U 31/10/2025
Solicitante: 
江苏保龙设备制造有限公司
CN_223498044_U

Resumen de: CN223498044U

本实用新型涉及风力发电机组塔内安全防护技术领域,具体为一种塔筒防护装置及风力发电机组塔筒,本实用新型由于固定架的通过固定侧板和固定螺栓与塔筒本体内腔壁相固定连接,而安装架通过嵌合柱与对应的固定凹槽相嵌合固定连接,其中嵌合柱一端使用螺母进行固定,便于在本装置的某些位置受损时,只需卸下螺母,让工作人员较为方便的拆卸本装置,更换内部元件,不必整体拆卸;通过在支撑架表面设置伸缩杆和缓冲弹簧,即可以有效吸收作业人员坠落后受到冲击力,同时通过防护板高度高于安装架顶部,防护板和防护侧板为软橡胶制成,防护侧板和防护板内部填充有缓冲海绵,防止作业人员高空坠落后受到二次伤害。

风力发电机组

NºPublicación:  CN223498052U 31/10/2025
Solicitante: 
北京金风科创风电设备有限公司
CN_223498052_U

Resumen de: CN223498052U

本申请涉及一种风力发电机组,风力发电机组包括塔架以及监测系统,监测系统包括倾角传感器、辅控系统以及主控系统,倾角传感器安装于塔架上,用于检测塔架的倾角数据,辅控系统与倾角传感器连接,辅控系统用于采集倾角数据并对倾角数据进行处理,主控系统与辅控系统和终端相连。本申请实施例的风力发电机组,通过额外设置辅控系统,能够利用辅控系统来提高数据精度,从而无需设置陀螺仪,可在实现对塔架的可靠监测的同时,降低成本。

一种用于海上风电安装的桩基防冲刷保护装置

NºPublicación:  CN120867343A 31/10/2025
Solicitante: 
华能如东八仙角海上风力发电有限责任公司水利部交通运输部国家能源局南京水利科学研究院华能国际电力江苏能源开发有限公司清洁能源分公司
CN_120867343_PA

Resumen de: CN120867343A

本发明公开了一种用于海上风电安装的桩基防冲刷保护装置,具体涉及海上风电技术领域,一种用于海上风电安装的桩基防冲刷保护装置,包括桩基本体,通过挡水板可抵挡冲刷向桩基本体的海水,并且在弹簧的回弹作用力下,推动挡水板回弹实现对海水冲击力的弱化,并通过多孔消波柱表面开设的透水孔进一步削弱海水冲击,最后当海水冲击带动转动扇叶转动,转动扇叶转动将海水的冲击卸力,以此实现了多层对海水冲刷的削弱,在平时可通过海浪的冲击带动垂直轴萨沃纽斯水轮转动,以此可带动清洁板在挡水板的表面进行滑动清理,并且可驱动电机带动清洁板对挡水板进行清理,以此可有效的对挡水板表面附着的海洋生物或污渍清理,延长挡水板的使用寿命。

一种稳定性高的风电塔筒运输用工装装置

NºPublicación:  CN120863460A 31/10/2025
Solicitante: 
中冶重工(新疆)有限公司
CN_120863460_PA

Resumen de: CN120863460A

本发明涉及风电塔筒运输技术领域,且公开了一种稳定性高的风电塔筒运输用工装装置,包括车架,所述车架的下表面安装有车轮,所述车架的上表面固定连接有束缚架,所述束缚架上放置有塔筒本体,所述塔筒本体与车架的上表面接触,所述车架的表面设置有压制装置;所述压制装置包括固定板,所述固定板与车架的侧面固定连接,所述固定板的内侧固定连接有导向杆,所述导向杆远离固定板的一端固定连接有限位块。本发明中,通过设置压制装置,使得塔筒本体在被放置在车架上后,用户可利用刚性结构对车架上的塔筒本体的位置进行限制,以增加塔筒本体在转运过程中的稳定性,提高工装转运风电塔筒时的安全系数。

叶片、叶片加工方法及风力发电机组

NºPublicación:  CN120867943A 31/10/2025
Solicitante: 
中材科技风电叶片股份有限公司
CN_120867943_PA

Resumen de: CN120867943A

本申请涉及一种叶片、叶片加工方法及风力发电机组,其中,叶片包括:外壳,围合形成容纳腔,外壳包括沿第一方向延伸的主梁以及连接于主梁的壳体部,主梁朝向容纳腔的一侧表面设置有向远离容纳腔的方向凹陷的连接槽;腹板,沿第二方向,腹板包括主体部以及位于主体部至少一侧的连接部,连接部伸入连接槽中,沿由主体部指向连接部的方向,连接部在第三方向的延伸尺寸呈增大趋势,第一方向、第二方向以及第三方向两两相交设置;辅助连接件,插接于连接槽中,沿第三方向,辅助连接件相对的两侧表面分别与连接部以及连接槽的槽壁粘接连接。本申请中的叶片能够提高对位准确性以及结构强度。

一种针对风机叶片除冰控制设备的智能防雷系统

NºPublicación:  CN120867970A 31/10/2025
Solicitante: 
国网湖南省电力有限公司湖南防灾科技有限公司国网湖南省电力有限公司防灾减灾中心国家电网有限公司
CN_120867970_PA

Resumen de: CN120867970A

本发明实施例公开一种针对风机叶片除冰控制设备的智能防雷系统,包括防雷系统本体、系统状态监测系统和综合智能化防雷管理系统,所述防雷系统本体由接地模块、屏蔽模块、浪涌保护模块组成,对综合智能化防雷管理系统起基础保障作用;所述系统状态监测系统由雷电放电检测模块、浪涌保护器状态监测模块组成,对综合智能化防雷管理系统起辅助支撑作用;所述综合智能化防雷管理系统,用于实现对防雷设备与运维人员的人机交互,为风机叶片除冰控制系统日常运行、维护、管理提供决策参考。本发明充分考虑风机实际运行环境,针对性提出防雷设计方案,具备防雷保护裕度大,系统状态感知能力强,故障监测预警速度快的优点。

一种风力发电机线缆绕盘结构

NºPublicación:  CN223498055U 31/10/2025
Solicitante: 
河北雄安昆仑新远新能源科技有限责任公司
CN_223498055_U

Resumen de: CN223498055U

本实用新型公开一种风力发电机线缆绕盘结构,涉及风力发电机技术领域,包括立柱组件,立柱组件上固定装有盘线托盘,线缆缠绕在盘线托盘内,并处于松弛状态。通过上述技术方案,在风机进行偏航回转的时候,线缆能够通过绕紧和绕松进行调节,防止线缆崩坏,也提高了风机的使用寿命。所述盘线托盘内装有电缆拖链,线缆位于电缆拖链内进行保护。所述盘线托盘的外侧固定装有护圈。通过上述技术方案,电缆拖链能够对线缆进行保护,在绕松或者绕紧的过程中不会产生磨损,提高线缆的使用寿命。

编码器固定支架

NºPublicación:  CN223500420U 31/10/2025
Solicitante: 
内蒙古京能巴音风力发电有限公司中国长江三峡集团有限公司
CN_223500420_U

Resumen de: CN223500420U

本申请实施例提供一种编码器固定支架,涉及检测装置安装技术领域,该编码器固定支架包括底座,底座与变桨电机连接,且底座上开设有安装孔,安装孔用于供编码器套设在变桨电机的转轴上;调节组件,调节组件包括支撑件和调节杆,支撑件设置于底座远离变桨电机的端面,调节杆安装在支撑件上,且调节杆能够相对于支撑件移动,调节杆的端部与编码器相抵接,以通过调节杆调整编码器的位置。本申请实施例提供的编码器固定支架能够对编码器的位置进行实时调整,确保编码器与变桨电机的转轴保持同轴。

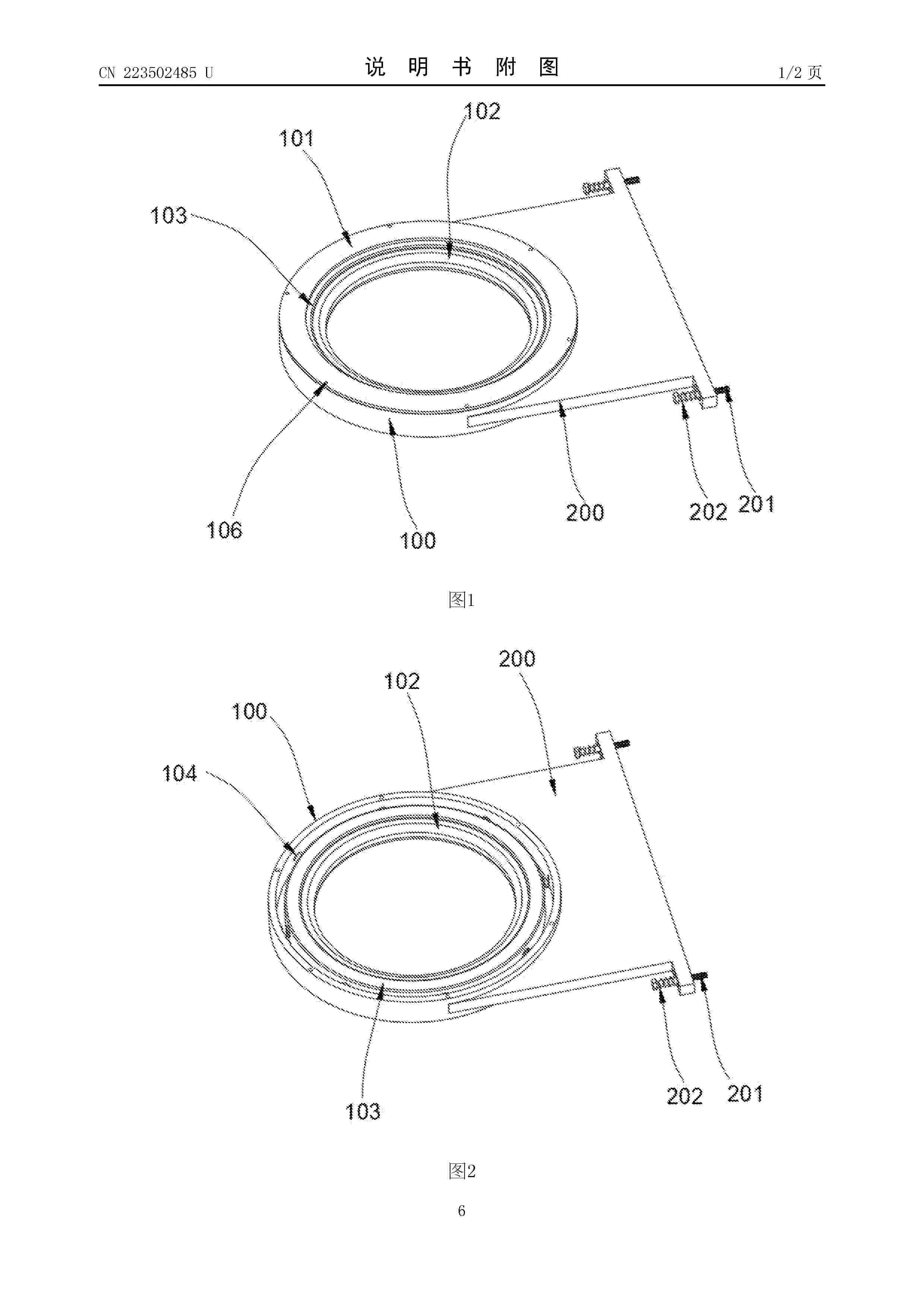
一种带有防护结构的电缆限制环

NºPublicación:  CN223502485U 31/10/2025
Solicitante: 
华润新能源(凌海)风能有限公司
CN_223502485_U

Resumen de: CN223502485U

本实用新型公开了一种带有防护结构的电缆限制环,包括安装环,顶部向下开设有台阶槽;防护组件,设置在安装环的台阶槽内;所述防护组件包括限位件与连接件,其中所述限位件同圆心设置在安装环的内侧,且该限位件套设在电缆的外部,以此对电缆进行限位,并通过限位件进行缓冲防护;所述连接件等角度布置在所述限位件的外部,且连接件的端部分别与所述限位件、台阶槽内壁相抵;通过本实用新型的设计,将现有固定式限位改为活动限位,从而降低限位环与电缆之间的挤压,同时通过设置防护胶圈实现柔性接触,市电对电缆的防护,该防护胶圈为一体式结构,方便更换,并且由于整体较厚,被磨损的周期较长,极大延缓了更换的周期。

一种分段组装式风机叶片

NºPublicación:  CN223498036U 31/10/2025
Solicitante: 
新疆大学
CN_223498036_U

Resumen de: CN223498036U

本发明公开了一种分段组装式风机叶片,包括第一叶片段和第二叶片段,第一叶片段的一侧向内凹陷形成配合凹槽,第二叶片段的一侧向外凸起形成配合凸块,第一叶片段外壁面与第二叶片段外壁面均固定安装有限位条,两个限位条上均开设有多个一号矩形孔,第一叶片段与第二叶片段外部设置有连接环片,连接环片上开设有与限位条相适配的限位凹槽,连接环片上开设有与一号矩形孔数量相等的二号矩形孔,二号矩形孔中滑动连接有连接件。本申请通过限位条、连接环片和连接件的组合使用,为叶片提供了多重固定方式,连接环片沿着限位条插接,并通过连接件固定,增强了叶片的连接稳定性,使得叶片在承受风力时更加稳固,延长了使用寿命。

一种风力发电装置

NºPublicación:  CN223498040U 31/10/2025
Solicitante: 
太原宇成机械制造有限公司北京科技大学
CN_223498040_U

Resumen de: CN223498040U

本申请公开了一种风力发电装置,包括支架、转动轴和风轮,风轮将风能转化为转动轴的转动机械能,转动轴带动其上固定的齿轮盘,并通过齿轮盘与蜗轮蜗杆减速机和磁悬浮发电机依次传动连接实现机械能到电能的转换,蜗轮蜗杆减速机的使用可以增加转速,使得磁悬浮发电机能够在更适宜的转速下工作,提高发电效率;风轮上设置实时监测风速变化的风速传感器,风轮的每个固定风页的两侧分别设有活动叶片,活动叶片能够在电动推杆的作用下实现活动叶片相对固定风页的倾角的动态调整,使得风力发电装置能在不同风速下工作在最佳状态,优化风能的捕获效率,提高风能利用率和转换率,并配合齿轮盘和蜗轮蜗杆减速机维持发电机的输出功率恒定。

基于激光测风雷达的风电场风机联动控制方法和系统

NºPublicación:  CN120867951A 31/10/2025
Solicitante: 
吉电(滁州)章广风力发电有限公司
CN_120867951_PA

Resumen de: CN120867951A

本发明提供基于激光测风雷达的风电场风机联动控制方法和系统,分析位于风电场外围的所有激光测风雷达各自的测风数据,确定风电场外围的气流特征信息,以此将位于风电场内部的所有激光测风雷达划分为若干雷达集群;还对雷达集群下属所有激光测风雷达各自的测风数据进行分析,得到所集群在所述风电场内部对应的测风区域的气流状态信息,以此确定测风区域内部同一气流流动路径经过的路径区域对应的气流梯度变化特征信息;再基于气流梯度变化特征信息,确定路径区域内部所有风机各自对应的尾流输出状态信息,以此对路径区域内部处于相邻关系的风机进行位姿和/或运转模式的联动调整,充分利用尾流的风能,提高不同风机之间的运转调整联动性。

风电机组气动性能实时优化方法、装置、介质及设备

NºPublicación:  CN120867950A 31/10/2025
Solicitante: 
中国大唐集团科学技术研究总院有限公司
CN_120867950_PA

Resumen de: CN120867950A

本公开涉及风力发电技术领域,提供了一种风电机组气动性能实时优化方法、装置、介质及设备,包括:基于预置于目标风电机组群的传感器采集关于目标风电机组群的传感数据;以目标风电机组群的总发电效率最大且所有目标风电机组的累积损伤度之和最小为优化目标构建双目标适应度函数;基于双目标适应度函数、环境数据、各目标风电机组的运行参数和预设遗传算法对机组群的最优桨距角与偏航角指令集进行求解;将与各目标风电机组对应的最优桨距角与偏航角指令下发至对应的目标风电机组的终端层执行,以实现目标风电机组群中各目标风电机组的协同动作。本实施例可以有效提升风电机组群的整体发电效率,同时降低风电机组的运行损伤程度,延长其使用寿命。

基于多源参数协同调控的直接空冷机组背压优化系统及控制方法

NºPublicación:  CN120868060A 31/10/2025
Solicitante: 
内蒙古霍煤鸿骏铝电有限责任公司
CN_120868060_PA

Resumen de: CN120868060A

本发明公开了基于多源参数协同调控的直接空冷机组背压优化系统,包括:多源气象感知模块;涡旋预生成执行模块:将迎风侧风机分为三组;热羽流形态捕获模块:由架设于空冷岛顶部20m处的红外热成像阵列构成;物理量决策引擎:调节组C功率比例,调节组A叶片攻角;抗湍流保护模块:当热羽流振荡频率大于阈值时启动;能量回收模块。本发明通过湍流的预测调度三组风机涡旋生成与实时热羽流反馈,有效抵消横向风与热回流造成的背压波动,显著提升机组稳定性;通过动态调节叶片攻角和功率分配,改善整体散热均匀性;抗湍流保护模块将机械振动能回收为电能供泄涡操作,同时能量回收模块实现了能量的二次利用。

一种基于湍流边界层后缘噪声Mel频谱的风力机叶片故障识别方法及系统

NºPublicación:  CN120876389A 31/10/2025
Solicitante: 
兰州理工大学
CN_120876389_PA

Resumen de: CN120876389A

本发明涉及计算机视觉、风电场在线监测技术领域,特别是涉及一种基于湍流边界层后缘噪声Mel频谱的风力机叶片故障识别方法及系统,方法包括:采集目标风力机叶片的噪声信号;对所述噪声信号进行预处理,并转换为Mel频谱图;将所述Mel频谱图输入预设的叶片故障识别模型中,输出叶片缺陷定位与分类结果,其中,所述叶片故障识别模型基于训练集训练获得,所述训练集包括若干标注了叶片故障信息的Mel频谱样本图,所述叶片故障识别模型采用YOLOv8n网络构建。本发明通过实时采集并生成Mel频谱图,利用端到端深度学习模型完成谱图特征的自动提取与分类,实现对叶片微小形变的高效精准识别。

一种风电混凝土塔架预应力加固结构

NºPublicación:  CN223498048U 31/10/2025
Solicitante: 
江苏宏亚高空工程有限公司
CN_223498048_U

Resumen de: CN223498048U

本实用新型涉及预应力加固技术领域,具体涉及一种风电混凝土塔架预应力加固结构,包括预应力锚固组件,预应力锚固组件包括顶环、通行孔、预制钢缆、基座、延伸柱和钉地锚,通行孔与顶环固定连接,预制钢缆的一端设置在顶环的内部,预制钢炼的另一端设置在顶环的下方,基座与预制钢缆的另一端拆卸连接,延伸柱与基座拆卸连接,钉地锚与延伸柱固定连接,通过将传统结构修改替换为预应力锚固组件,由此在保证风电混凝土塔的结构稳定性的前提下,有效的解决了传统加固手段,将大幅增加塔架自重,改变自振频率,易引发风致振动新隐患,还伴有施工周期冗长、现场作业繁杂的问题。

一种海上风电与氢燃气轮机多能互补综合能源系统

NºPublicación:  CN223502583U 31/10/2025
Solicitante: 
华电电力科学研究院有限公司
CN_223502583_U

Resumen de: CN223502583U

本实用新型涉及综合能源技术领域,公开了一种海上风电与氢燃气轮机多能互补综合能源系统,包括:海上风电场、海上换流站、陆上换流站、电解槽、储氧罐、储氢罐和氢燃气轮机,其中,海上风电场、海上换流站、陆上换流站顺次连接;电解槽分别与海上风电场、储氧罐和储氢罐连接;氢燃气轮机的一端与储氢罐连接,氢燃气轮机的另一端输出电能。在风能充足时,通过海上换流站与陆上换流站向电网售电,避免出现弃风。在风能的间歇期间,风能出力下降不足以应对海岛负荷高峰时,氢燃气轮机将储氢罐中的氢作为燃料,按照“以电定热”的模式发电,供应海岛电负荷,从而解决了风能受其出力不稳定影响的问题。

导管架用立式建造内胆装置

NºPublicación:  CN223498046U 31/10/2025
Solicitante: 
中水电四局(阳江)海工装备有限公司
CN_223498046_U

Resumen de: CN223498046U

本申请实施例公开了一种导管架用立式建造内胆装置包括了四个立柱组件、近端支撑和远端支撑,其中每个立柱组件包括至少两个立柱和设置在相邻两个立柱件的横向支撑。本申请实施例提供的导管架用立式建造内胆装置主要是为了导管架立式拼装过程中,提供施工建造平台,此装置不仅能提高导管架立式建造的速度,缩短施工周期,还能提高施工安全性。在具体施工过程中,首先确定导管架建造布置的位置,将该内胆装置放置于到将要建造导管架的中心位置。之后在所需高度搭建登高通道和作业平台,并在框架上添加安全锚点,将焊接设备放置与作业平台上。使用汽车吊将主体结构管件搭接,人员在临时平台上进行焊接作业。

一种海洋浮式风机下部浮体的吊装系统

NºPublicación:  CN223498041U 31/10/2025
Solicitante: 
宏华海洋油气装备(江苏)有限公司
CN_223498041_U

Resumen de: CN223498041U

本实用新型公开了一种海洋浮式风机下部浮体的吊装系统,包括吊机和浮式风机,所述吊机通过设置有吊装组件连接所述浮式风机,所述吊装组件包括第一吊梁和第二吊梁;本实用新型结构简单,设计合理,吊机和第二吊梁呈垂直状态,第一吊梁用于吊机多组吊具并钩,第二吊梁用于起吊浮式风机,解决了浮式风下水成本高以及吊点难以布置的问题,使得浮式风机下水更加经济。

风电机组和偏航系统

NºPublicación:  CN223498039U 31/10/2025
Solicitante: 
华润风电(雷州)有限公司
CN_223498039_U

Resumen de: CN223498039U

本申请涉及一种风电机组和偏航系统,风电机组包括控制模块和第一固态继电器。控制模块用于输出第一控制信号;第一固态继电器用于连接偏航半释放电磁阀和供电模块,用于在接收第一控制信号的情况下导通偏航半释放电磁阀和供电模块之间的连接,以导通供电模块与偏航半释放电磁阀之间的供电线路,使得偏航半释放电磁阀调整偏航压力。本申请的风电机组采用第一固态继电器,固态继电器通过固体器件完成触点功能,能够在高冲击、振动的环境下工作,提高风电机组的可靠性和延长使用寿命。

一种海上风电基础巡检防护装置及其方法

NºPublicación:  CN120863844A 31/10/2025
Solicitante: 
上海东海风力发电有限公司中国农业机械化科学研究院呼和浩特分院有限公司同济大学上海第二工业大学
CN_120863844_PA

Resumen de: CN120863844A

本发明公开了一种海上风电基础巡检防护装置及其方法,属于风力发电设备维护技术领域,包括水下机器人和巡检机构;巡检机构安装在水下机器人上,水下机器人上安装有磁吸式定位机构,水下机器人的底部安装有模式调节机构,模式调节机构的移动端安装有修复机构;模式调节机构和磁吸式定位机构上安装有清理机构;清理机构包括清理组件和检测组件;修复机构包括空腔形成组件、送气排水组件、修复组件和收纳组件,模式调节机构的移动端安装有空腔形成组件,空腔形成组件内安装有送气排水组件,模式调节机构的移动端和空腔形成组件内安装有修复组件,空腔形成组件内安装有收纳组件。通过上述方式,对海上风电基础表面的附着物进行清理对涂层进行修复。

风电机组的载荷异常识别方法、保护方法及系统

NºPublicación:  CN120867965A 31/10/2025
Solicitante: 
中船海装风电有限公司
CN_120867965_PA

Resumen de: CN120867965A

本发明公开了一种风电机组的载荷异常识别方法、保护方法及系统,其包括:按照预设采样周期获取风电机组运行数据集;筛除发电机转速低于预设的并网转速、明显偏离预设的设计曲线的风电机组运行数据集;将风轮每旋转一圈的时间段内剩余的多个风电机组运行数据集中各叶片的叶根载荷进行归类化处理,得到风轮每旋转一圈n个风轮方位角分别对应的各叶片的实际载荷;确定各叶片的理论载荷;基于各叶片的实际载荷、理论载荷,计算得到风轮每旋转一圈各叶片的载荷特征值;若所述载荷特征值大于第一预设载荷阈值且持续预设圈数,则判定风电机组的载荷异常。采用本发明能准确识别载荷异常,采取合理的保护方法,降低风电机组安全风险。

FLOATING WIND TURBINE WITH PASSIVE PITCH CORRECTION

NºPublicación:  US2025334099A1 30/10/2025
Solicitante: 
SYROVY GEORGE J [US]
Syrovy George J
US_2025334099_PA

Resumen de: US2025334099A1

The nacelle (27) of a horizontal axis wind turbine (WT) is mounted on a vertical support (VS) by means of a pivot (33). The vertical support is mounted off-center with respect to a floating, rotatable support (7). A weight (43) functionally attached to the nacelle maintains the axis of the turbine horizontal as the floating support pitches (rotates forward and back). The weight is attached to an elongate vertical element (41). Relative motion between the vertical element (41) and the pitching floating support (HS) generates an electric current.

WIND TURBINE COMPONENT REPAIR AUTOMATION

NºPublicación:  WO2025223627A1 30/10/2025
Solicitante: 
VESTAS WIND SYSTEMS AS [DK]
VESTAS WIND SYSTEMS A/S
WO_2025223627_PA

Resumen de: WO2025223627A1

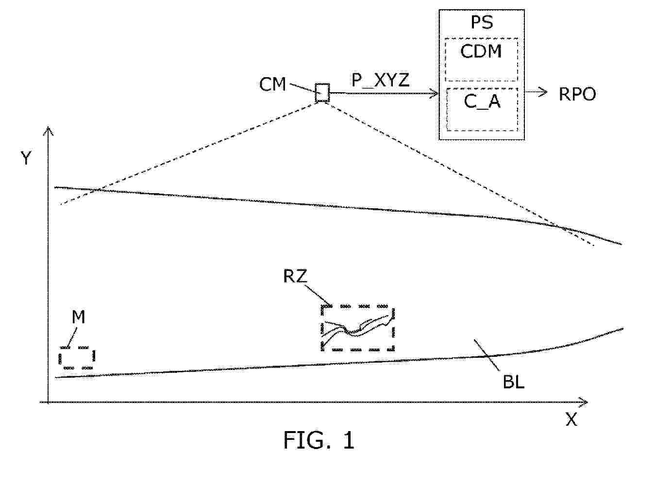
A method and a system for repairing an anomaly on a wind turbine component, such as blade, built of a structure with a plurality of layers of fibre material. First, determining (D_PS) a position or a full 3D extension of an anomaly on the 5 component, next entering (E_PS) the position or 3D extension of the anomaly to a computer system with access to a predetermined CAD model of the component with data representing properties of elements of each of the layers of fibre material and the position of the elements relative to the component. Next, mapping (M_CAD) the position or 3D extension of the anomaly to the CAD model 10 to determine (D_RZ) a repair zone on the component based on the CAD model. The repair zone is defined by lateral dimensions and a depth of material to be removed, e.g. by milling or grinding, from the component to allow intended mechanical properties of the wind turbine component to be restored after a repair has been performed. Finally, generating (G_RPO) a repair output with an output 15 indicative of the repair zone, e.g. a visual indication by means of a laser projector, and an output indicative of properties of one or more fibre materials to be used in the repair, e.g. involving a complete Bill of Materials to be used, based on data in the CAD model. Such linking an anomaly to the CAD model of the component allows a more rapid repair process involving automated or semi-automated steps.

ANOMALY DATA DETERMINATION FOR TURBINE BLADES OF A WIND TURBINE

NºPublicación:  US2025334101A1 30/10/2025
Solicitante: 
ACWA POWER COMPANY [SA]
INDIAN INSTITUTE OF TECH DELHI [IN]
ACWA POWER Company,
Indian Institute of Technology Delhi
US_2025334101_PA

Resumen de: US2025334101A1

The present disclosure provides a system and method for real-time anomaly data determination for turbine blades of a wind turbine. The system receives sensor data associated with a set of turbine blades of the wind turbine. The sensor data indicates one or more structural characteristics associated with each of the set of turbine blades and/or one or more operational characteristics associated with each of the set of turbine blades. The system determines profile data associated with each of the set of turbine blades based on the sensor data. The system determines anomaly data associated with at least one of the set of turbine blades based on the profile data associated with each of the set of turbine blades. The anomaly data indicates a deviation between at least two turbine blades of the set of turbine blades. The system outputs the anomaly data.

A SUPPORT STRUCTURE, A WIND TURBINE BLADE, A WIND TURBINE AND A METHOD

NºPublicación:  US2025334103A1 30/10/2025
Solicitante: 
AMPELMANN HOLDING B V [NL]
Ampelmann Holding B.V
US_2025334103_PA

Resumen de: US2025334103A1

The invention relates to a support structure for maintenance crew for performing maintenance activities on a blade of a wind turbine. The support structure comprises two complementary sheltered workplaces, each workplace having a hinge end and a tail end. The support structure further comprises a hinge mechanism connected to the respective hinge ends of the sheltered work-places, allowing the sheltered workplaces to swivel between an open position wherein the tail ends are offset from each other, and a closed position wherein the tail ends are adjacent to each other. The sheltered workplaces also include a deformable receiving structure for sealingly receiving a blade portion between the sheltered workplaces, in the closed position thereof.

METHOD AND APPARATUS FOR DECOMMISSIONING WIND TURBINE BLADES

NºPublicación:  US2025334102A1 30/10/2025
Solicitante: 
PRAETORIAN RENEWABLES LLC [US]
Praetorian Renewables, LLC
US_2025334102_PA

Resumen de: US2025334102A1

A method for decommissioning a wind turbine blade includes separating a root section of a turbine blade from a tip section of a turbine blade, and laterally cutting the tip section of the turbine blade into a plurality of separate tip subsections. Each tip subsection is cut along its length, flattened, deposited into a compacting and bundling apparatus, and compressed. The compressed tip subsections are bundled in the compacting and bundling apparatus with banding material to form a bundle. The bundle is removed from the compacting and bunding apparatus and loaded onto a transportation vehicle.

VEHICULAR WIND TURBINE SYSTEM FOR DRAG REDUCTION

NºPublicación:  US2025334098A1 30/10/2025
Solicitante: 
PURUS POWER CORP [CA]
PURUS POWER CORPORATION
US_2025334098_PA

Resumen de: US2025334098A1

A passive vehicle drag reduction system including a flow capture inlet, a flow consolidating conduit, a flow driven rotor assembly, and one or more flow exhaust conduits. The flow capture inlet defines a flow capture inlet direction. The flow consolidating conduit is close sided. The flow driven rotor assembly has a rotor assembly inlet and a flow driven rotor. The rotor assembly inlet defines a rotor flow inlet direction. The flow driven rotor has a laterally extending rotation axis transverse to the rotor flow inlet direction and one or more flow redirecting blades defining one or more rotor flow outlet directions substantially parallel to the rotation axis. Each of the one or more flow exhaust conduits has a redirecting exhaust outlet located laterally of the flow driven rotor assembly. The redirecting exhaust outlet defines an exhaust outlet flow direction that is substantially parallel to the flow capture inlet direction.

Wind Turbine Storage And/Or Transport System

NºPublicación:  US2025334100A1 30/10/2025
Solicitante: 
POLYTECH AS [DK]
POLYTECH A/S
US_2025334100_PA

Resumen de: US2025334100A1

The present invention relates to a wind turbine storage and/or transport system comprising a wind turbine storage and/or transport equipment, and an in-use/not in-use system to be arranged in connection with the wind turbine storage and/or transport equipment, the wind turbine storage and/or transport equipment being configured to support carry the wind turbine component, wherein the in-use/not in-use system comprises one or more detector device(s) being configured to determining a presence of the wind turbine component in or on the wind turbine storage and/or transport equipment.

METHOD FOR REPLACING AT LEAST ONE TOOTH OF A GEAR

NºPublicación:  US2025332668A1 30/10/2025
Solicitante: 
INVENTUS HOLDINGS LLC [US]
Inventus Holdings, LLC
US_2025332668_PA

Resumen de: US2025332668A1

A method of replacing at least one tooth of a gear includes providing a tool jig including a mounting block with a plurality of indexing jig features. The tool jig also includes a tool-supporting feature in laterally movable contact with a jig rail feature. With at least one indexing jig feature, relative motion of the tool jig relative to the gear is resisted. A material-removal tool is operated, while attached to the tool-supporting feature in the tooth-removal position, to remove at least a portion of a working circumference of the gear including a native gear tooth to be replaced. Motion of the material-removal tool is guided to generate a circumferential gear cut including a relatively smooth first cut surface formed by removal of at least the native gear tooth to be replaced. The material-removal tool is removed from the tool-supporting feature. The tool jig is removed from the gear.

PARALLEL MOORING LINES TO SAME ANCHOR

NºPublicación:  AU2024263697A1 30/10/2025
Solicitante: 
GRANT PRIDECO INC
GRANT PRIDECO, INC
AU_2024263697_PA

Resumen de: AU2024263697A1

The invention relates to a mooring arrangement for mooring a floating unit to the seabed, the mooring arrangement comprises multiple mooring clusters each connectable to a floating unit and an anchor adapted for the seabed, wherein at least one mooring cluster comprises at least two mooring lines.

FOUR-COLUMN FLOATING WIND TURBINE FOUNDATIONS

NºPublicación:  WO2025226807A1 30/10/2025
Solicitante: 
PRINCIPLE POWER INC [US]
PRINCIPLE POWER, INC
WO_2025226807_PA

Resumen de: WO2025226807A1

A floatable, semi-submersible platform for a wind turbine includes a central turbine-tower-hosting column and three or more stabilizing columns. Upper main beams connect the top ends of the stabilizing columns to a top node that is itself connected about the turbine-tower-hosting column. Lower main beams connect the bottom ends of the stabilizing columns to a bottom node that is also connected about the turbine-tower-hosting column. Fixed ballast components may be located within the turbine-tower-hosting column and within the lower main beams. Hull trim compartments for containing ballast may be provided in the three stabilizing columns, and/or lower main beams, with transfer of ballast between the compartments being controlled by a hull trim system (HTS).

PRESTRESSED ANCHOR BOLT GROUTING CONSTRUCTION METHOD

NºPublicación:  WO2025223128A1 30/10/2025
Solicitante: 
CCCC HARBOUR SHANGHAI SCIENCE & TECH CO LTD [CN]
CCCC SHANGHAI THIRD HARBOUR ENGINEERING SCIENCE & TECH RESEARCH INSTITUTE CO LTD [CN]
CCCC SHANGHAI HARBOUR ENGINEERING DESIGN & RES INSTITUTE CO LTD [CN]
CCCC THIRD HARBOR ENG CO LTD [CN]
\u4E2D\u4EA4\u6E2F\u6E7E\uFF08\u4E0A\u6D77\uFF09\u79D1\u6280\u6709\u9650\u516C\u53F8,
\u4E2D\u4EA4\u4E0A\u6D77\u4E09\u822A\u79D1\u5B66\u7814\u7A76\u9662\u6709\u9650\u516C\u53F8,
\u4E2D\u4EA4\u4E0A\u6D77\u6E2F\u6E7E\u5DE5\u7A0B\u8BBE\u8BA1\u7814\u7A76\u9662\u6709\u9650\u516C\u53F8,
\u4E2D\u4EA4\u7B2C\u4E09\u822A\u52A1\u5DE5\u7A0B\u5C40\u6709\u9650\u516C\u53F8
WO_2025223128_PA

Resumen de: WO2025223128A1

Disclosed in the present application is a prestressed anchor bolt grouting construction method, comprising the following steps: S100, performing measurement and positioning to determine a roughening area and a formwork mounting position; S200, performing roughening, and removing a floating slurry and a soft layer from a concrete surface of a bearing platform; S300, cleaning an operation surface; S400, performing wetting, and ensuring that the concrete surface of the bearing platform is wet; S500, performing leveling, spreading bedding mortar on the concrete surface of the bearing platform and leveling same, arranging a plurality of leveling shims between adjacent anchor bolts of an anchor bolt cage, and adjusting the levelness of the plurality of leveling shims; S600, mounting a bottom wind-turbine tower section; S700, mounting a formwork, and adjusting the position of the formwork on the basis of measurement and positioning marks, such that the formwork is equidistant from a flange of the bottom wind-turbine tower section; S800, performing grouting; and S900, removing the formwork. In the present application, by means of providing standard construction steps, the problems of non-standard prestressed anchor bolt grouting construction and the insufficient strength of hardened mortar are effectively solved; and the construction risk is effectively reduced, and the construction quality is ensured.

CONSTRUCTION SYSTEM AND CONSTRUCTION METHOD FOR WIND TURBINE TOWER, AND WIND TURBINE TOWER

NºPublicación:  WO2025222626A1 30/10/2025
Solicitante: 
SHANDONG RUNGUO CONSTRUCTION INDUSTRIAL TECH CO LTD [CN]
\u5C71\u4E1C\u6DA6\u56FD\u5EFA\u7B51\u5DE5\u4E1A\u79D1\u6280\u6709\u9650\u516C\u53F8
WO_2025222626_PA

Resumen de: WO2025222626A1

A construction system for a wind turbine tower, comprising: a plurality of lifting/lowering devices (2), wherein each lifting/lowering device comprises one lifting/lowering rod (21) capable of extending and retracting in the vertical direction, and the lifting/lowering rods of the plurality of lifting/lowering devices can extend and retract synchronously; a lifting/lowering platform (3), which is horizontally supported on the lifting/lowering rods and ascends and descends along with the extension and retraction movement of the lifting/lowering rods, wherein the size of the lifting/lowering platform is smaller than the inner diameter of a currently installed tower section (10), such that the currently installed tower section can cover the lifting/lowering platform; and a plurality of horizontal extending/retracting devices (4), which are supported by the lifting/lowering platform and ascend and descend with the lifting/lowering platform synchronously, wherein each horizontal extending/retracting device comprises an extending/retracting rod (41) capable of extending and retracting in the horizontal direction, and end portions of the extending/retracting rods can extend out of the peripheral edge of the lifting/lowering platform and can be inserted into recesses (11) reserved in the inner wall of the tower section, so as to drive the tower section to ascend and descend synchronously with the lifting/lowering platform. The construction system can realize section-by-section assemb

Hydrodynamisches oder hydrostatisches Gleitlager, Verfahren zur Einstellung eines Lagerspiels an einem hydrodynamischen oder hydrostatischen Gleitlager und Windkraftanlage

NºPublicación:  DE102024111451A1 30/10/2025
Solicitante: 
SCHAEFFLER TECHNOLOGIES AG [DE]
Schaeffler Technologies AG & Co. KG

Resumen de: DE102024111451A1

Die Erfindung betrifft ein hydrodynamisches oder hydrostatisches Gleitlager (1) zur drehbaren Lagerung einer Welle (3), insbesondere in einer Windkraftanlage (2), mit wenigstens einem ersten Gleitelement (4) mit einer ersten Gleitfläche (5), welches an einer Adapterstruktur (9) angeordnet ist, sowie einer Anbindungsstruktur (6), die der Befestigung der Adapterstruktur (9) dient, wobei die Adapterstruktur (9) radial und/oder axial versetzbar angeordnet ist und wobei an der Adapterstruktur (9) ein erster Rampenabschnitt (7) und an der Anbindungsstruktur (6) ein korrespondierender zweiter Rampenabschnitt (8) so ausgebildet sind, dass ein axialer Versatz der Adapterstruktur (9) gegenüber der Anbindungsstruktur (6) einen radialen Versatz des Gleitelements (4) bewirkt und/oder umgekehrt, so dass das Lagerspiel des Gleitelements (4) gegenüber der Welle (3) einstellbar ist. Der axiale Versatz wird mittels mindestens eines Zwischenstücks (10) festgelegt, welches in einen durch den axialen Versatz hervorgerufenen Zwischenraum (11) eingebracht wird und so einen reproduzierbaren radialen Versatz des wenigstens einen Gleitelements (4) erzeugt.

Gleitlageranordnung für eine Windkraftanlage, Windkraftanlage zur Umwandlung von Windenergie in elektrische Energie und Verfahren zur Herstellung einer Windkraftanlage zur Umwandlung von Windenergie in elektrische Energie

NºPublicación:  DE102024131832A1 30/10/2025
Solicitante: 
THYSSENKRUPP AG [DE]
THYSSENKRUPP ROTHE ERDE GERMANY GMBH [DE]
thyssenkrupp AG,
thyssenkrupp rothe erde Germany GmbH

Resumen de: DE102024131832A1

Gleitlageranordnung für eine Windkraftanlage aufweisend einen um eine Lagerachse konzentrischen Innenring und einen um die Lagerachse konzentrischen Außenring, wobei in radialer Richtung zur Lagerachse zwischen dem Innenring und dem Außenring ein die Lagerachse umlaufender Zwischenraum ausgebildet ist, wobei wenigstens ein Gleitelement im Zwischenraum angeordnet ist.

Anordnung und Verfahren zum Prüfen von Großlagern oder Großlagereinheiten

NºPublicación:  DE102024111742A1 30/10/2025
Solicitante: 
FRAUNHOFER GES FORSCHUNG [DE]
Fraunhofer-Gesellschaft zur F\u00F6rderung der angewandten Forschung eingetragener Verein

Resumen de: DE102024111742A1

Die Erfindung betrifft eine Anordnung zum Prüfen von Großlagern und Großlagereinheiten, umfassend:- eine Basisstruktur (1), eingerichtet zum Aufnehmen einer Rahmenstruktur (2, 2') mit einem in der Rahmenstruktur angeordneten zu prüfenden Prüfbauteil (3, 3'), wobei das Prüfbauteil (3, 3') ein Großlager oder eine Großlagereinheit ist,- einen Lastrahmen (4) mit einem Prüfstandlager (5), wobei das Prüfstandlager (5) zwei ölgeschmierte vorgespannte Kegelrollenlager aufweist, wobei das Prüfstandlager (5) eingerichtet ist zum drehbaren Lagern eines Lasthebels (6, 6'), der mit dem Prüfbauteil (3, 3') verbindbar ist, so dass das Prüfbauteil (3, 3') zwischen dem Lasthebel (6, 6') und der Rahmenstruktur (2, 2') angeordnet ist,- Antriebsmittel zum Beaufschlagen des Prüfbauteils (3, 3') mit einer Rotationsbewegung,- eine mit dem Lastrahmen (4) verbundene Aktuatoranordnung, die eine Mehrzahl von in Bezug auf den Lasthebel (6) axial wirkenden Lastzylindern (7) sowie mindestens einen in Bezug auf den Lasthebel radial wirkenden Lastzylinder (8) umfasst.Die Erfindung betrifft auch ein Verfahren zum Prüfen von Großlagern und Großlagereinheiten.

Überwachungsanordnung und Überwachungsverfahren für eine Windenergieanlage

NºPublicación:  DE102024111806A1 30/10/2025
Solicitante: 
WEIDMUELLER MONITORING SYSTEMS GMBH [DE]
Weidm\u00FCller Monitoring Systems GmbH

Resumen de: DE102024111806A1

Die Erfindung betrifft eine Überwachungsanordnung für eine Windenergieanlage (1), aufweisend mindestens zwei in oder an der Windenergieanlage (1) angeordneten Mikrofonen (21), die mit einer Auswerteeinrichtung (20) gekoppelt sind, wobei die Auswerteeinrichtung (20) dazu eingerichtet ist, Signale der Mikrofone (21) gemeinsam auszuwerten. Die Erfindung betrifft weiterhin ein Überwachungsverfahren für eine Windenergieanlage (1).

PASSIVE TRAILING EDGE INCLUDING LOAD-SHEDDING ASSEMBLY

NºPublicación:  WO2025226619A1 30/10/2025
Solicitante: 
GULF WIND TECH [US]
GULF WIND TECHNOLOGY
WO_2025226619_PA

Resumen de: WO2025226619A1

A wind turbine rotor blade that includes a blade body having a shape that generates a lift when impacted by an incident airflow. The blade body includes a pressure side and a suction side shell joining at a leading and a trailing edge, and a load-shedding assembly mechanically coupled with the trailing edge and configured to move from an original position to a reversibly deformed position under an application of an external load, and back to the original position on withdrawal of the external load. The load-shedding assembly includes the pressure and suction side shells, and a number of flexible structural elements mechanically coupled with the shells and configured to cause the load-shedding assembly to move from the original position to the deformed position under the external load and back to the original position on withdrawal of the external load, and thereby, reduce an overall load on the blade body.

PRODUCTION OF ENERGY FROM RESISTANCE

NºPublicación:  WO2025224470A1 30/10/2025
Solicitante: 
VASOU ALEXANDROS [GR]
VASOU, Alexandros
WO_2025224470_A1

Resumen de: WO2025224470A1

According to this invention, a method is proposed to manufacture and operate mechanisms that operate in motion through tangible means, making use of the force of resistance during their motion from vehicles or other mechanisms, either on land, the atmosphere, the air, the ground, water environments or through fluid matter. These mechanisms operate, move and rotate via the force of resistance, resulting in the production of energy - mechanical, electrical or electromagnetic. The main advantage of this invention is the fact that the energy produced, as well as its use, do not lead to the emission of pollutants into the environment.

ANOMALY DATA DETERMINATION FOR TURBINE BLADES OF A WIND TURBINE

NºPublicación:  WO2025224603A1 30/10/2025
Solicitante: 
ACWA POWER COMPANY [SA]
INDIAN INSTITUTE OF TECH DELHI [IN]
ACWA POWER COMPANY,
INDIAN INSTITUTE OF TECHNOLOGY DELHI
WO_2025224603_PA

Resumen de: WO2025224603A1

The present disclosure provides a system and method for real-time anomaly data determination for turbine blades of a wind turbine. The system receives sensor data associated with a set of turbine blades of the wind turbine. The sensor data indicates one or more structural characteristics associated with each of the set of turbine blades and/or one or more operational characteristics associated with each of the set of turbine blades. The system determines profile data associated with each of the set of turbine blades based on the sensor data. The system determines anomaly data associated with at least one of the set of turbine blades based on the profile data associated with each of the set of turbine blades. The anomaly data indicates a deviation between at least two turbine blades of the set of turbine blades. The system outputs the anomaly data.

WIND TURBINE FAULT DATA PREDICTION

NºPublicación:  WO2025223630A1 30/10/2025
Solicitante: 
VESTAS WIND SYSTEMS AS [DK]
VESTAS WIND SYSTEMS A/S
WO_2025223630_PA

Resumen de: WO2025223630A1

Disclosed is a method, performed by an electronic device, for providing fault data associated with a component of a wind turbine, thus enabling fault prediction and detection. The method comprises obtaining wind turbine data having a spectral element. The wind turbine data is associated with the component. The method comprises obtaining references associated with the component. The method comprises overlaying the references onto the wind turbine data. The method comprises determining the fault data by applying a recognition model to the wind turbine data with overlayed references.

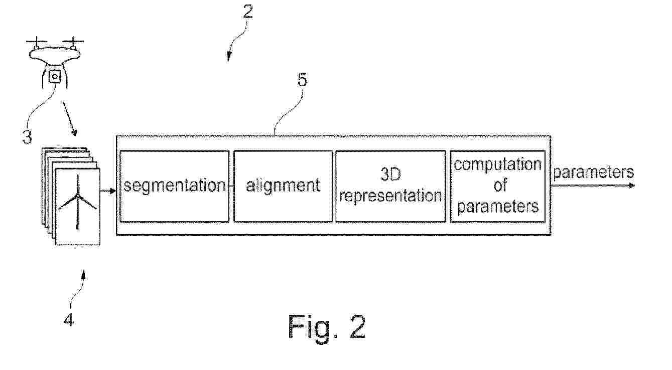
WIND TURBINE MONITORING

NºPublicación:  WO2025224217A1 30/10/2025
Solicitante: 
ALPHA WIND [FR]
UNIV DE TOULOUSE [FR]
CENTRE NATIONAL DE LA RECHERCHE SCIENT [FR]
INSTITUT NAT POLYTECHNIQUE DE TOULOUSE [FR]
ALPHA WIND,
UNIVERSIT\u00C9 DE TOULOUSE,
CENTRE NATIONAL DE LA RECHERCHE SCIENTIFIQUE,
INSTITUT NATIONAL POLYTECHNIQUE DE TOULOUSE
WO_2025224217_PA

Resumen de: WO2025224217A1

Method for monitoring the operation and/or the geometry of a wind turbine in motion comprising a tower and several blades extending from a rotor hub, the method comprising: (a) acquisition with a three-dimensional acquisition apparatus of a plurality of scans representing at least partially the wind turbine; (b) segmenting the scans to identify at least portions corresponding to the blades; (c) generating a 3D representation by at least aligning and denoising the scans with respect to a common frame of reference associated with the wind turbine and compensating for relative motion between the three-dimensional acquisition apparatus and the wind turbine; (d) computing, based on the 3D representation, at least one geometric or operational parameter and/or computing at least one geometric transformation between at least one representative part of one blade and the corresponding representative part of at least one of the other blades and computing at least one wind turbine geometric or operational parameter based on the at least one computed geometric transformation.

A METHOD FOR SEAFASTENING A WIND TURBINE COMPONENT

NºPublicación:  WO2025223626A1 30/10/2025
Solicitante: 
VESTAS WIND SYSTEMS AS [DK]
VESTAS WIND SYSTEMS A/S
WO_2025223626_PA

Resumen de: WO2025223626A1

The invention provides a method for seafastening a wind turbine component, the method comprising - providing a seafastening flange (301) on a deck of a marine surface vessel, - positioning a component flange (1401) of a wind turbine component adjacent to the seafastening flange (301), so that a plurality of through holes (302) in the seafastening flange are positioned so as to be aligned with a plurality of through holes (1402) in the component flange, - positioning a bolt supporting device (303) so as to be supported by a device supporting arrangement (304) which is fixed in relation to the seafastening flange, so that one or more downwardly facing contact surfaces (305) of the bolt supporting device are left exposed, and so that a plurality of bolt receiving positions on the bolt supporting device are located below the seafastening flange, - positioning a plurality of bolts (306) on the bolt receiving positions on the bolt supporting device (303), - operating one or more actuators (307) so as to come into contact with respective ones of the contact surfaces (305) of the supported bolt supporting device (303), and so as to lift the bolt supporting device away from the support of the device supporting arrangement (304) so as for the bolts (306) supported by the bolt supporting device to penetrate respective ones of the through holes (302, 1402) in the seafastening flange (301) and in the component flange (1401).

ROOF BOX WIND POWER ELECTRICITY GENERATION

NºPublicación:  WO2025222307A1 30/10/2025
Solicitante: 
GREIF GABRIEL [CH]
GREIF, Gabriel
WO_2025222307_A1

Resumen de: WO2025222307A1

This invention may be mounted on any means of transport. For illustrative purposes, a passenger car is proposed, although the invention may be mounted on all kinds of means of transport. Consider a car. This invention may be mounted on the roof of the car in the same way as a conventional roof box. The invention resembles a roof box in terms of size and shape. However, it contains one or more generators and turbines which are rotated by wind power and thereby generate electricity. The generated electricity is fed into a storage unit. The storage unit may be located in the roof box, as in figure 1. If the user drives an electric car, they can supply or charge the vehicle directly using the electricity from this invention. If the user drives a fuel-powered vehicle, they can use the electricity generated and stored in this way for other purposes. The electricity may be used at home, while camping, or for other purposes, or may be fed into the public grid.

LIGHTNING PROTECTION SYSTEM FOR A WIND TURBINE ROTOR BLADE

NºPublicación:  WO2025226263A1 30/10/2025
Solicitante: 
LM WIND POWER AS [DK]
WRIGHT JON STUART [US]
LM WIND POWER A/S,
WRIGHT, Jon, Stuart
WO_2025226263_PA

Resumen de: WO2025226263A1

A rotor blade assembly includes a first blade segment and a second blade segment extending in opposite directions from a chord-wise joint. Each of the first and second blade segments include at least one shell member defining an airfoil surface and an internal support structure. The internal support structure of the first blade segment includes a beam structure extending lengthwise that structurally connects with the internal support structure of the second blade segment via a receiving section. The beam structure includes a receiving end having a pin tube extending in a span-wise direction of the rotor blade assembly. Further, the rotor blade assembly includes a lightning protection system including a conductive mesh integrated with the beam structure and a first electrical connection electrically connecting the conductive mesh and the pin tube.

MOVABLE ASSEMBLY FIXTURE FOR A ROTOR BLADE

NºPublicación:  WO2025226264A1 30/10/2025
Solicitante: 
LM WIND POWER AS [DK]
BELOTE MICHAEL [US]
LM WIND POWER A/S,
BELOTE, Michael
WO_2025226264_PA

Resumen de: WO2025226264A1

A method for assembling a rotor blade includes securing a blade root section of the rotor blade to a movable assembly fixture. The movable assembly fixture has a counterbalance for stabilizing the blade root section in the movable assembly fixture. The method also includes transporting the movable assembly fixture adjacent to a mold of the rotor blade. The mold has one or more fiber layers placed therein. The method includes aligning the blade root section with the mold via the movable assembly fixture. Moreover, the method includes vertically moving the blade root section up or down via the movable assembly fixture to precisely position the blade root section atop the one or more fiber layers in the mold at a predetermined angle. Further, the method includes infusing the blade root section and the one or more fiber layers together with a resin material to form the rotor blade.

FLUX-MODULATED ELECTROMAGNETIC APPARATUS

NºPublicación:  WO2025224481A1 30/10/2025
Solicitante: 
ENODA LTD [GB]
ENODA LTD
WO_2025224481_PA

Resumen de: WO2025224481A1

A flux-modulated electromagnetic apparatus includes an induction machine including a rotor and a stator surrounding the rotor. The rotor includes a core and a rotor winding including a plurality of metal bars in contact with an outer surface of the rotor or an outer surface of the core. The stator includes slots, a power winding, a first control winding and a second control winding. The flux-modulated electromagnetic apparatus includes a first voltage source converter electrically coupled to the stator having a first AC terminal and a first DC terminal and a second voltage source converter electrically coupled to the stator having a second AC terminal and a second DC terminal. The first DC terminal is electrically coupled to the second DC terminal via a capacitor. The first AC terminal is electrically coupled to the first control winding. The second AC terminal is electrically coupled to the second control winding.

LOAD GUIDE FOR WIND TURBINE

NºPublicación:  WO2025224617A1 30/10/2025
Solicitante: 
LIFTOFF HOLDING B V [NL]
LIFTOFF HOLDING B.V
WO_2025224617_PA

Resumen de: WO2025224617A1

A lifting system for lifting a wind turbine component includes: a first lifting device situated in a nacelle of the wind turbine, the first lifting device connectable by a first lifting line to the wind turbine component for lifting and lowering the wind turbine component; a second lifting device; and, a load guide connected to the second lifting device by a second lifting line to be liftable and lowerable by the second lifting device. The load guide includes: a rigid ring that extends at least partially around a perimeter of a tower of the wind turbine; a plurality of rollers mounted on the ring, each of the plurality of rollers configured to rollingly contact the tower and roll on the tower as the load guide moves vertically along the tower; and, one or more load connectors configured to receive and support the wind turbine component on the load guide.

LIFTING TOOL

NºPublicación:  WO2025224177A1 30/10/2025
Solicitante: 
LM WIND POWER AS [DK]
LM WIND POWER A/S
WO_2025224177_PA

Resumen de: WO2025224177A1

There is provided a lifting tool (400) for placing a spar cap (500) in a blade mould. The lifting tool (400) comprises a lifting structure (410), a plurality of vacuum elements (420) connected to the lifting structure (410) for releasably attaching the spar cap (500) and an anti-falling mechanism (430) connected to the lifting structure (410). The anti-falling mechanism (430) is configured to change between a closed state for blocking a movement of the spar cap (500) and an open state for allowing a movement of the spar cap (500) relative to the anti-falling mechanism (430).

FIBRE FABRIC SHEET FOR A WIND TURBINE BLADE WITH SHEAR DRAPE MARKS

NºPublicación:  WO2025224060A1 30/10/2025
Solicitante: 
LM WIND POWER AS [DK]
LM WIND POWER A/S
WO_2025224060_PA

Resumen de: WO2025224060A1

A fibre fabric sheet for reinforcing a wind turbine blade part, the fibre fabric sheet comprises a plurality of fibre strands including a majority of the fibre strands oriented along a main fibre direction, and one or more shear drape marks provided on a first surface of the fibre fabric sheet, wherein the one or more shear drape marks have a first shape when the fibre fabric sheet is in a flat configuration and a second shape when the fibre fabric sheet is in a double-curved configuration.

CONTROLLING DIFFUSION OF A WAKE GENERATED BY A WIND TURBINE

NºPublicación:  US2025334097A1 30/10/2025
Solicitante: 
EQUINOR ENERGY AS [NO]
EQUINOR ENERGY AS
US_2025334097_PA

Resumen de: US2025334097A1

A method of controlling diffusion of a wake generated by a horizontal axis wind turbine is provided. The wind turbine comprises a rotor having a hub and a plurality of rotor blades 20 mounted to the hub. Each rotor blade 20 has a radially-outer, energy-extraction portion 32 and a radially-inner, ventilation portion 30, wherein the radially-inner ventilation portion 30 is shaped to, in use, extract reduced levels of kinetic energy from the wind compared to the radially-outer energy extraction portion 32 in order to ventilate a central area 34 of the wake. Diffusion of the wake is controlled by adjusting the tip speed ratio of the rotor in order to modify turbulent mixing within the wake.

補強用接着シートおよびその巻回体並びに風力発電用ブレードの補修方法および風力発電用ブレード

NºPublicación:  JP2025163559A 29/10/2025
Solicitante: 
積水化学工業株式会社
JP_2025163559_A

Resumen de: JP2025163559A

【課題】耐砂性に優れる補強用接着シート、補強用接着シートの巻回体、風力発電用ブレードの補修方法および風力発電用ブレードを提供する。【解決手段】本発明は、補強をするために用いられる補強用接着シートであって、基材層及び接着層が積層された積層体を含み、前記基材層のショアAが80以上、100以下であり、前記基材層は、下記の物性Aおよび物性Bの少なくとも一方の物性物性A;損失弾性率が1MPa以上である、物性B;引裂強度が50N/mm以上であるを満たす。【選択図】なし

POWERTRAIN MOUNTING FOR PLANETARY TRANSMISSION

NºPublicación:  EP4638951A1 29/10/2025
Solicitante: 
FLENDER GMBH [DE]
Flender GmbH
CN_120418535_PA

Resumen de: CN120418535A

The invention relates to a power train (102) for a wind turbine (100), comprising a planetary gear (10) for a wind turbine (100) driven by a rotor (106), comprising at least one planetary stage (14) rotating about an axis of rotation AD in a gear housing (12), the at least one planetary stage (14) having a planet carrier (16) and a ring gear (20), and the planet carrier (16) or the ring gear (20) is at least indirectly drivingly connected to the rotor (106). The planet carrier (16) has a plurality of planet gears (18) which rotate within the planet carrier (16), are mounted radially on the plain bearing, and mesh with the ring gear (20) and the sun gear (22) in a corresponding manner. A guide element (24) is arranged between the transmission housing (12) and the planet carrier (16). By means of the guide element (24), the self-centering function of the tooth elements, i.e. The planetary gear (18) and the sun gear (22), can be carried out in a controllable manner in the planetary stage (14) and is supported for weight reduction.

SYSTEM AND METHOD FOR FLUSHING A BEARING ARRANGEMENT OF A WIND TURBINE

NºPublicación:  EP4638953A1 29/10/2025
Solicitante: 
NORDEX ENERGY SE & CO KG [DE]
Nordex Energy SE & Co. KG
WO_2024132324_PA

Resumen de: WO2024132324A1

A system for flushing a bearing (120) of a wind turbine (100) comprises: - a cover (201), wherein the cover (201) is configured to be mounted on a bearing housing (121) of the bearing (120) to seal an interior space (123) of the bearing (120), the cover (201) comprising a plurality of injection holes (204), - a pump system (210), wherein the pump system (210) is configured to supply cleaning fluid to the bearing (120), - a pipe system (220), wherein during use the pipe system (220) is connected to the pump system (210) and to the plurality of injection holes (204) such that cleaning fluid is injectable into the interior space (123) via the plurality of injection holes (204).

MODULAR BATTERY OF AN ELECTRIC VEHICLE

NºPublicación:  EP4638176A1 29/10/2025
Solicitante: 
DRIVE ELECTRO SA [CH]
Drive Electro SA
KR_20250125997_PA

Resumen de: CN120359140A

The invention relates to a power supply for electric vehicles and can be used in the transportation industry. The aim of the invention is to reduce the risk of damage to electronic components of an electric vehicle during operation of a modular battery (100, 200, 300, 400). This object is achieved by a modular battery (100, 200, 300, 400) of an electric vehicle in that a control unit (110, 210, 310, 410) enables execution of traction motor inverter capacitor pre-charge logic.

A METHOD FOR A YAW CONTROL OF A WIND TURBINE AND A WIND TURBINE HAVING A YAW CONTROL

NºPublicación:  EP4638944A1 29/10/2025
Solicitante: 
NORDEX ENERGY SE & CO KG [DE]
Nordex Energy SE & Co. KG
US_2025314236_PA

Resumen de: US2025314236A1

A method is for yaw control of a wind turbine. The wind turbine includes a wind turbine controller, a regular power supply to supply the wind turbine with electric power in case of a normal mode of operation, and a power backup system to supply the wind turbine with electric power in case of a grid outage. The method includes: detecting a grid outage for the wind turbine, switching from the regular power supply to the power backup system in case of the detected grid outage, and switching the wind turbine from the normal mode of operation to a less-active mode of operation in which the electric power consumption of the wind turbine is reduced compared to the normal mode of operation.

STATOR FOR A WIND TURBINE GENERATOR, GENERATOR AND WIND TURBINE

NºPublicación:  EP4639733A1 29/10/2025
Solicitante: 
SIEMENS GAMESA RENEWABLE ENERGY AS [DK]
Siemens Gamesa Renewable Energy A/S
CN_120642186_PA

Resumen de: TW202520622A

Stator for a wind turbine generator, comprising several phase windings (4) of at least two phases (U, V, W), which phase windings (4) are arranged in several winding segments (5), wherein each segment (5) has at least one output terminal (6, 7, 8) per phase (U, V, W), to which the respective phase windings (4) are connected and which output terminals (6, 7, 8) are connected to a busbar structure (18), characterized in that each output terminal comprises (6, 7, 8) a holder (11) attached to a stator structure (2) and a bar- or box- or plate-like connection terminal (14) connected to the holder (11) by at least one insulator element (13), wherein the connection terminal (14) comprises connection means to which flexible winding connection cables (9) connecting the respective phase winding (4) to the connection terminal (14) are connected, wherein for arranging the connection terminals (14) in different planes the holders (11) have different heights.

WIND TURBINE GENERATOR AND WIND TURBINE COMPRISING SUCH A GENERATOR

NºPublicación:  EP4639735A1 29/10/2025
Solicitante: 
SIEMENS GAMESA RENEWABLE ENERGY AS [DK]
Siemens Gamesa Renewable Energy A/S
TW_202528625_A

Resumen de: TW202528625A

Wind turbine generator, comprising an inner stator (3) and an outer rotor (1) comprising a cylindrical rotor yoke (4), wherein to an outside surface of the rotor yoke (4) several cooling elements (6) are attached, wherein the cooling elements (7) are cooling fins (7) comprising a plate-like attachment base (8) attached to the outside of the rotor yoke (4) and a fin part (9) extending in an angle from the attachment base (8).

CABIN STRUCTURE AND WIND TURBINE GENERATOR SET

NºPublicación:  EP4641011A1 29/10/2025
Solicitante: 
SANY RENEWABLE ENERGY CO LTD [CN]
Sany Renewable Energy Co., Ltd
EP_4641011_PA

Resumen de: EP4641011A1

Disclosed are a cabin structure and a wind turbine generator set. The cabin structure includes: a cabin body extending along a first direction and a box transformer structure including a box transformer unit and a box transformer bracket. The cabin body is provided with a main body frame, the box transformer bracket is provided at the main body frame and is provided at a side end of the cabin body in a second direction, and the box transformer unit is provided at the box transformer bracket at least for voltage conversion.

GUIDING SYSTEM FOR EXCHANGING A WIND TURBINE BLADE AND USE METHOD

NºPublicación:  EP4640610A1 29/10/2025
Solicitante: 
NABRAWIND TECH S L [ES]
Nabrawind Technologies, S.L
EP_4640610_PA

Resumen de: EP4640610A1

The invention relates to a guiding system for exchanging a wind turbine blade (4), which uses an internal lifting and lowering system fixed to a rotor (3). The guiding system is characterised in that it comprises semi-rigid passive retaining lines (5) that form a safe catenary or track for lowering the blades (4) without same hitting the tower (1) or the ground as a result f incident winds of up to 15 m/s. A clip (7) fastened to the end part of the Blade (4) slides along the retaining lines (5) with the horizontal movement of the Blade (4). The catenary may optionally have intermediate points, and the tension thereof is dependent on the incident wind: the greater the wind, the greater tension. The guiding system can be used for onshore wind turbines, floating offshore wind turbines connected to a spring, and boat-assisted offshore wind turbines on the high seas.

HOISTING STRUCTURE AND FAN LAMP

NºPublicación:  EP4641025A1 29/10/2025
Solicitante: 
SUZHOU OPPLE LIGHTING CO LTD [CN]
OPPLE LIGHTING CO LTD [CN]
Suzhou Opple Lighting Co., Ltd,
Opple Lighting Co., Ltd
EP_4641025_PA

Resumen de: EP4641025A1

A hoisting structure and a fan lamp. The fan lamp comprises: a mounting bracket (10) and a hanging rod (20), wherein the mounting bracket (10) is configured to be mounted on a mounting surface; the upper end of the hanging rod (20) is provided with a fixing portion (22), which is configured to fit with the mounting bracket (10); the hanging rod (20) and the fixing portion (22) are integrally configured; the mounting bracket (10) is provided with a through hole for supporting the fixing portion (22); a limiting portion (222) is formed on an outer side wall of the fixing portion (22); the mounting bracket (10) is provided with a fitting portion (131) corresponding to the limiting portion (222); and the limiting portion (222) fits with the fitting portion (131), so as to prevent the hanging rod (20) from horizontally rotating relative to the mounting bracket (10). Compared with the prior art, the fan lamp is simple and reliable, and a pin does not need to be arranged on the hanging rod, thereby reducing assembly components, such that costs can be reduced.

MANUFACTURING A WIND TURBINE GENERATOR

NºPublicación:  EP4639722A1 29/10/2025
Solicitante: 
SIEMENS GAMESA RENEWABLE ENERGY AS [DK]
Siemens Gamesa Renewable Energy A/S
CN_120770106_PA

Resumen de: WO2025016633A1

Manufacturing a wind turbine generator It is described a method of assembling a generator (1) for a wind turbine (50), the method comprising: determining (RBMS) plural first inner radii (r1) of an assembly comprising a ro- tor house (6) and a bearing (5); measuring (IMIC) heights (h) of plural magnet modules (9); determining positions of the plural magnet modules (9) at the rotor house (6); calculating second inner radii (r2) of the rotor house-bearing assembly and determining a minimum second inner radius; measuring ge- ometry information (FSMS) of a first mounting surface (3) and/or a second mounting surface (4) of a stator base struc- ture (2); mounting (FSAC) plural stator segments (8) at the stator base structure (2), in order to obtain a stator assem- bly; coupling the rotor house-bearing assembly (5, 6) with the stator assembly (2, 8, 7); mounting (MMIC) the magnet modules (9) at the rotor house (6).

PREVENTION OF MAGNET DEMAGNETIZATION IN A ROTOR

NºPublicación:  EP4639750A1 29/10/2025
Solicitante: 
SIEMENS GAMESA RENEWABLE ENERGY AS [DK]
Siemens Gamesa Renewable Energy A/S
CN_120693786_PA

Resumen de: WO2025011866A1

It is described a method of controlling an electrical, in particular synchronous, generator system (4) comprising a generator (7) including a stator (8) having stator windings and a rotor (9) having plural permanent magnets (10), in particular of a wind turbine, the method comprising: monitoring when a magnet temperature indicates a critical condition; in case of the critical condition, entering a magnet preventive protection control mode including to shift a phase of a generator current/s (21).

LIFTING TOOL

NºPublicación:  EP4640609A1 29/10/2025
Solicitante: 
LM WIND POWER AS [DK]
LM Wind Power A/S
EP_4640609_PA

Resumen de: EP4640609A1

There is provided a lifting tool 400 for placing a spar cap 500 in a blade mould. The lifting tool 400 comprises a lifting structure 410, a plurality of vacuum elements 420 connected to the lifting structure 410 for releasably attaching the spar cap 500 and an anti-falling mechanism 430 connected to the lifting structure 410. The anti-falling mechanism 430 is configured to change between a closed state for blocking a movement of the spar cap 500 and an open state for allowing a movement of the spar cap 500 relative to the anti-falling mechanism 430.

METHOD FOR LOWERING AND/OR LIFTING AND METHOD FOR SERVICING A ROTOR BLADE OF A WIND TURBINE

NºPublicación:  EP4638942A1 29/10/2025
Solicitante: 
SIEMENS GAMESA RENEWABLE ENERGY AS [DK]
Siemens Gamesa Renewable Energy A/S
CN_120712406_PA

Resumen de: AU2024226393A1

Method for lowering and/or lifting a rotor blade (3) of a wind turbine (1) to change the distance (6) between an end face (7) of a blade root (8) of the rotor blade (3) and a contact surface (64) of a blade bearing (8) of the rotor blade (3), comprising the steps of providing multiple actuators (27-34), in particular at least four actuators (27-34), each actuator (27-34) having a first portion (48) and a second portion (49), wherein the second portion (49) is moveable in a respective actuator movement direction (50, 55) with respect to the first portion (48) by controlling the actuator (27-34), wherein the respective first portion (48) is coupled to the blade bearing (9) and the respective second portion (49) is coupled to the rotor blade (3) in such a way that all actuator movement directions (50, 55) deviate by less than 20° or less than 10° or less than 5° from the vertical direction (14, 15) when the rotor blade is in the given orientation (42), controlling the actuators (27-34) to lower and/or rise the rotor blade (3) while the rotor blade (3) is in the given orientation (42) in such a way that a first group (35) of the actuators (27-34) each exert a vertical upward force on a first circumferential section (40) of the blade root (8), and that a second group (36) of the actuators (27-34) exerts a vertical downward force on a second circumferential section (41 ) of the blade root (8).

POWER CONVERSION SYSTEM ARRANGEMENT OF A WIND TURBINE

NºPublicación:  EP4638954A1 29/10/2025
Solicitante: 
SIEMENS GAMESA RENEWABLE ENERGY AS [DK]
Siemens Gamesa Renewable Energy A/S
CN_120712409_PA

Resumen de: WO2024179849A1

Power conversion system arrangement of a wind turbine A power conversion system arrangement of a wind turbine is provided. The arrangement (250) may comprise a support structure (203) which supports a power conversion system of the wind turbine (100) and which is configured to be mechanically coupled with a tower (101) of the wind turbine. The arrangement (250) may comprise two or more converters (205a-d) of the power conversion system, wherein the two or more converters are configured to convert electrical power generated by the wind turbine and wherein the two or more converters are positioned and supported on a first side (420) of the support structure (203), the first side being an upper or lower side of the support structure (203). The arrangement (250) may comprise one or more transformers (206a-b) of the power conversion system, wherein the one or more transformers are configured to transform electrical power received from the converters and wherein the one or more transformers are positioned and supported on a second side (430) of the support structure which is in a vertical direction opposite to the first side (420).

ICE PROTECTION MAT, IN PARTICULAR FOR AN AIRCRAFT PART AND METHOD FOR INSTALLING SAME

NºPublicación:  EP4638272A1 29/10/2025
Solicitante: 
SAFRAN AEROSYSTEMS [FR]
Safran Aerosystems
CN_120418154_PA

Resumen de: CN120418154A

The invention relates to an anti-icing mat (1) for a component (BA), in particular for an aircraft component (BA), comprising: a multilayer structure having at least one heating layer (3) capable of generating a heat flux; a contact layer (2) forming at least one thermal barrier between the heating layer (3) and the component (BA); and at least one intermediate layer (4) and/or reinforcing layer (5) and/or outer layer (6), which is thermally conductive and is arranged between the heating layer (3) and the external environment.

STATOR WINDING ARRANGEMENT FOR A WIND TURBINE GENERATOR, WIND TURBINE GENERATOR, WIND TURBINE AND METHOD FOR MANUFACTURING A STATOR WINDING ARRANGEMENT

NºPublicación:  EP4639729A1 29/10/2025
Solicitante: 
SIEMENS GAMESA RENEWABLE ENERGY INNOVATION & TECHNOLOGY SL [ES]
Siemens Gamesa Renewable Energy Innovation & Technology S.L
CN_120677619_PA

Resumen de: WO2024175263A1

Stator winding arrangement (1) for a wind turbine generator (25), comprising at least one electrical conductor (3) forming turns of at least one coil and an interturn insulation (7) extending around the conductor (3), the coil running in a geometrical shape having at least one bend (6, 14), wherein the smallest bending radius of each bend (6, 14) is in the range from 25 to 35 mm and the interturn insulation (7) at least at the at least one bend (6, 14) comprises at least one layer (11, 12, 13) of a mica insulation tape (8) wrapped around the conductor (3).

WIND TURBINE CONTROL FOR LIMTING ROTOR THRUST

NºPublicación:  EP4638947A1 29/10/2025
Solicitante: 
VESTAS WIND SYS AS [DK]
VESTAS WIND SYSTEMS A/S
CN_120752432_PA

Resumen de: WO2024132076A1

Aspects of the invention relate to a method of controlling a wind turbine comprising a rotor and a plurality of rotor blades. The method comprises: receiving a plurality of blade flap load signals indicative of measured flap loading on respective rotor blades, each blade flap load signal being received from a blade flap load sensor of a respective rotor blade; determining an average blade flap load signal based, at least in part, on the plurality of blade flap load signals; and determining a maximum thrust level for a thrust limit controller based on the average blade flap load signal and a reference load value that is indicative of a maximum allowable variation of the average blade flap load signal from a normal value.

OBSTACLE WARNING SYSTEM

NºPublicación:  EP4639201A1 29/10/2025
Solicitante: 
VESTAS WIND SYS AS [DK]
VESTAS WIND SYSTEMS A/S
CN_120641786_PA

Resumen de: WO2024132074A1

A method of operating an obstacle warning system (4) for a wind turbine installation (2) comprises: operating a radar system (14) to obtain scan data for an area around the installation (2); analysing the scan data to identify a pair of signals comprising a first signal corresponding to a first location (34) and a second signal corresponding to a second location (32), the first location (34) being spaced from the second location (32); comparing the first signal and the second signal to determine a value indicative of the performance of the radar system (14) for an area including the second location (32); and activating the warning system (4) if the value is below a threshold.

ELEMENTS FOR CONNECTION TO A WIND TURBINE TOWER

NºPublicación:  EP4638948A1 29/10/2025
Solicitante: 
VESTAS WIND SYS AS [DK]
VESTAS WIND SYSTEMS A/S
CN_120457278_PA

Resumen de: CN120457278A

A connector (40) for connecting a stent (30) to a structure (4) via an anchoring member (20). The connector (40) comprises: a proximal end portion (43) configured to support, in use, an end portion (31) of the stent (30); and a distal end portion (41), the distal end portion (41) having a curved outer surface (44). The curved surface (44), in use, abuts a surface (24) of the anchoring member (20). The bracket (30) includes an elongated I-beam portion and a portion (50) configured to engage the ladder (10) in use. A kit of parts includes the connector and a gasket configured to conform to a shape of an inner surface (42) of the connector.

WIND TURBINE TOWER SECTION AND CONNECTION ARRANGEMENT THEREFOR

NºPublicación:  EP4638949A1 29/10/2025
Solicitante: 
VESTAS WIND SYS AS [DK]
VESTAS WIND SYSTEMS A/S
CN_120380249_PA

Resumen de: CN120380249A

A tower section for a wind turbine is provided. The tower section includes an annular wall portion defining a tower section axis and having an annular connecting flange portion, where the annular connecting flange portion defines a first array of bolt holes. An annular flange reinforcement is located on the annular connecting flange portion, the annular flange reinforcement defining a second array of bolt holes, each bolt hole in the first array of bolt holes being aligned with a respective bolt hole in the second array of bolt holes. A plurality of mechanical fasteners is provided, each of the plurality of mechanical fasteners extending through a respective bolt hole of the first and second arrays of bolt holes. Advantageously, the annular flange portion and the annular flange reinforcement are configured to define an annular gap therebetween. The annular void provides a degree of flexibility to the annular flange reinforcement, which changes the stiffness ratio between the flange portion and the mechanical fastener. Advantageously, this improves the stressability of the interface between the mechanical fasteners that clamp the annular flange reinforcement to the annular flange connection portion.

CONTROLLING WIND TURBINE ROTOR BLADE PITCH IN ACCORDANCE WITH A DYNAMIC MAXIMUM PITCH AMPLITUDE VALUE

NºPublicación:  EP4638946A1 29/10/2025
Solicitante: 
VESTAS WIND SYS AS [DK]
VESTAS WIND SYSTEMS A/S
CN_120712408_PA

Resumen de: WO2024132068A1

The invention relates to adjusting pitch of wind turbine rotor blades. A wind turbine controller includes a collective pitch control module for determining a collective pitch reference, and one or more pitch offset control modules. The controller receives a 5 collective pitch signal indicative of collective pitch angle of the rotor blades; receives a power signal indicative of power output of the wind turbine; and, for each of the one or more pitch offset control modules, determines a respective dynamic maximum pitch amplitude value based on the received collective pitch signal and power signal. Each pitch offset control module determines a respective pitch reference offset value in accordance 10 with the respective dynamic maximum pitch amplitude value. The controller determines an overall pitch reference based on the collective pitch reference and the one or more pitch reference offset values. Figure 5 15

A WIND TURBINE BLADE

NºPublicación:  EP4638941A1 29/10/2025
Solicitante: 
VESTAS WIND SYS AS [DK]
VESTAS WIND SYSTEMS A/S
CN_120693458_PA

Resumen de: WO2024132066A1

A first aspect of the invention provides a wind turbine blade comprising an inboard wind turbine blade portion and an outboard wind turbine blade portion for joining together by a joint, each of the inboard and outboard wind turbine blade portions having an end with an aerofoil profile, wherein the aerofoil profile has both concave and convex geometric portions, the end of each of the respective wind turbine blade portions having a plurality of inserts embedded therein, each insert comprising an end portion having a connection for coupling the insert to another of the inserts across the joint and an extension portion which extends away from the end portion to a tip, wherein the plurality of inserts of one of the respective wind turbine blade portions includes: at least one first insert; and at least one second insert, wherein the first insert has a geometry different than a geometry of the second insert.

ANCHORING SYSTEM AND METHODS FOR INSTALLING AND UNINSTALLING THE ANCHORING SYSTEM

NºPublicación:  EP4640545A1 29/10/2025
Solicitante: 
GAZELLE WIND POWER LTD [IE]
GAZELLE WIND POWER LIMITED
EP_4640545_A1

Resumen de: EP4640545A1

Anchoring system and installation and uninstallation procedures of anchoring system. The anchoring system (10) comprises:- a floating platform (1) from which a plurality of first anchoring lines (11) emerge,- at least one anchoring block (2) with at least three non-aligned anchoring points,- a central float (3),- a plurality of swinging arms (4), each swinging arm (4) being joined by means of an articulated joint (5) to an anchoring block (2), said articulated joint (5) being located in an intermediate area of the swinging arm (4) so that each swinging arm (4) comprises an internal section (6) and an external section (7) joined in the intermediate area of the swinging arm (4) corresponding to the articulated joint (5), the internal section (6) being located between the intermediate area of the swinging arm (4) and an inner free end and the outer section (7) being located between the intermediate area of the swinging arm (4) and an outer free end, the inner free end being closer to the central float (3) than the outer free end, so that the first anchoring lines (11) leaving the floating platform (1) are joined to the outer end containing the outer free end of the outer sections (7) of the swinging arms (4), and- second anchoring lines (12) between the central float (3) and the inner end portions containing the inner free ends of the inner sections (6) of the swinging arms (4).

LIFTING SYSTEM FOR ERECTING, MAINTAINING OR DISMANTLING A FLOATING WIND TURBINE

NºPublicación:  EP4638950A1 29/10/2025
Solicitante: 
DOLFINES [FR]
AUPERIN MATHIEU [FR]
BOURDON JEAN CLAUDE [FR]
DOLFINES,
Auperin, Mathieu,
Bourdon, Jean-Claude
WO_2024133785_PA

Resumen de: WO2024133785A1

The invention relates to a lifting system (1) for erecting, maintaining or dismantling a floating wind turbine (4), which comprises: - a tower (11) comprising at least two elements (11A-11D) which can be telescoped together such that it can assume at least a retracted position, and a deployed position; - and a crane (12) mounted on an upper element (11A), this crane being mobile in rotation about a vertical axis (X1) of the system. Such a system, mounted on a dock, can be used in the deployed position to work on a wind turbine, and, in the retracted position, as a harbour crane.

FLOATING SUBSTATION AND DISTRIBUTION METHOD FOR MANAGING ELECTRICAL POWER GENERATED BY AN OFFSHORE POWER PRODUCTION PLANT

NºPublicación:  EP4639698A1 29/10/2025
Solicitante: 
SAIPEM SPA [IT]
Saipem S.p.A
KR_20250126754_PA

Resumen de: WO2024134421A1

A floating substation for managing electrical power generated by an offshore wind power production plant has a floating platform (11) comprising a hull (12) configured to receive a hydrostatic force from the bottom upwards, and an open-air main deck (13), which is directly supported by the hull (12); and an electrical power management unit (14), which is arranged on the main deck (13) and is configured to receive electrical power from the wind power production plant (2) via at least one electric inlet cable (5), to transform the voltage of the received electrical power, and to supply the transformed electrical power to a remote station (7) via at least one electric outlet cable (6).

EQUIPMENT FOR INSPECTING WIND TURBINES OF AN OFFSHORE WIND FARM AND ASSOCIATED METHOD

NºPublicación:  EP4638952A1 29/10/2025
Solicitante: 
TOTALENERGIES ONETECH [FR]
TotalEnergies OneTech
TW_202432953_A

Resumen de: TW202432953A

The present invention refers to an equipment for inspecting wind turbines (T1...T16) of an offshore wind farm (11) comprising: - a drone docking station (3), - a drone (1) associated with the docking station (3) and equipped with an inspection device (5), wherein the drone (1) is configured for flying from the drone docking station (3) to a selected wind turbine (T1...T16) of the offshore wind farm (11) using a first positioning device (1b) and for inspecting the selected wind turbine (T1...T16) based on a second positioning device (1c) different than the first positioning device (1b).

WIND POWER PLANT AND CONTROL METHOD THEREOF

NºPublicación:  EP4638945A1 29/10/2025
Solicitante: 
WINDFIN BV [NL]
WINDFIN B.V
WO_2024134491_PA

Resumen de: WO2024134491A1

Method for controlling a wind power plant for generating and delivering electrical energy to an electrical grid (2), the wind power plant (1) comprising a wind turbine (3) configured to be selectively connected to the electrical grid (2), the method comprising controlling the wind turbine (3) among a plurality of operational modes on the basis of different weather conditions.

OFFSHORE ENERGY CONVERSION FACILITY

NºPublicación:  EP4641012A1 29/10/2025
Solicitante: 
TOTALENERGIES ONETECH [FR]
TotalEnergies OneTech
EP_4641012_PA

Resumen de: EP4641012A1

La présente divulgation concerne une installation de production d'énergie en mer (100) comprenant une plateforme flottante (110), un système de production d'énergie monté sur la plateforme et comprenant préférentiellement au moins une éolienne (120), une amarre (130, 140) reliée à la plateforme, et un système de génération et/ou stockage d'énergie (G2, G1), par exemple électrique, à partir d'une tension mécanique subie par l'amarre.Cela constitue une installation de production d' énergie en mer améliorée.

A FLOATING WIND TURBINE WITH PASSIVE VIBRATION CONTROL SYSTEM

NºPublicación:  EP4638943A1 29/10/2025
Solicitante: 
UNIV AIX MARSEILLE [FR]
TOTALENERGIES ONETECH [FR]
CENTRE NAT RECH SCIENT [FR]
ECOLE CENTRALE MARSEILLE [FR]
Universit\u00E9 d'Aix-Marseille,
TotalEnergies OneTech,
Centre National de la Recherche Scientifique,
Ecole Centrale de Marseille
WO_2024132713_PA

Resumen de: WO2024132713A1

It is disclosed a floating wind turbine, comprising a mast, a nacelle and a plurality of rotating blades, the floating wind turbine being subjected to vibrations, and further comprising a vibration control system (20), characterized in that the vibration control system comprises a nonlinear energy sink (21), comprising a movable mass (210) and a coupling device (211) connecting the mass to a wall of the floating wind turbine, the coupling device having non-linear stiffness when biased in a direction perpendicular to the axis of the mast and being configured to perform non-linear viscous damping of a motion of the mass perpendicular to the axis of the mast.

INSTALLING MAGNET MODULES AT A ROTOR HOUSE

NºPublicación:  EP4639739A1 29/10/2025
Solicitante: 
SIEMENS GAMESA RENEWABLE ENERGY AS [DK]
Siemens Gamesa Renewable Energy A/S
CN_120660265_PA

Resumen de: WO2025098776A1

It is described a method of installing magnet modules (9) at a rotor house (4) of a rotor (10) of a permanent magnet synchronous electrical machine (1), the method comprising: determining a radial distance (r1, r2, r3) between a center point (CP) at a rotation axis (2) and a surface measurement location (s1, s2, s3) at an inner surface (5) at an axial end portion (6) of the rotor house (4) at plural circumferential positions (cp1, cp2, cp3); selecting, from plural magnet installation tracks (8_1, 8_2, 8_3) running in an axial direction and being spaced apart in the circumferential direction (cd), an installation track (8_1) having a determined radial distance greater than a threshold, wherein the selected installation track (8_1) is in particular attributive to a greatest radial distance (r1); inserting magnet modules (9) at the selected installation track (8_1), in particular from the axial end portion (6), along the axial direction (2); repeating at least the steps of selecting and inserting with respect to unfilled installation tracks (8_2, 8_3), until plural installation tracks are filled with magnet modules (9).

一种风力发电机组的偏航控制系统及风力发电机组

NºPublicación:  CN120845247A 28/10/2025
Solicitante: 
中船海装风电有限公司
CN_120845247_PA

Resumen de: CN120845247A

为解决上述偏航系统成本压力增大且偏航在轻载运行时经济性也较差的问题,本申请提供了一种风力发电机组的偏航控制系统及风力发电机组。该系统中,偏航保护断路器连接于配电变压器的二次侧;第一接触器连接于偏航保护断路器与偏航电机的定子之间;第二接触器并联于各偏航电机的定子两端;第三接触器连接于偏航保护断路器与偏航变频器的输入端之间;第四接触器连接于偏航变频器的输出端与各偏航电机的转子之间;第五接触器并联于各偏航电机的转子两端;系统配置为通过控制第一接触器至第五接触器的通断及偏航变频器的启停,实现在双馈变速运行模式与异步定速运行模式之间的自动切换。

一种海上风电机组预防性维护及故障诊断系统及方法

NºPublicación:  CN120845272A 28/10/2025
Solicitante: 
国电投南通新能源有限公司
CN_120845272_PA

Resumen de: CN120845272A

本发明公开了一种海上风电机组预防性维护及故障诊断系统及方法,涉及海上风电机组技术领域,声音采集器硬件部署模块针对海上恶劣环境,采用高强度耐腐蚀支架及防水密封设计,采集各部件声纹信号与环境数据;故障实时预测模块基于多源数据融合计算故障评估值,实现故障提前预判;故障类型分析模块通过与数据库对比,精准识别故障类型与危险等级;预防性维护策略分析模块依据故障危险等级,分别执行动态监测与隐患预控、计划停机与精准修复、紧急停机与应急抢险策略。该系统可提升故障诊断准确性,优化运维策略,保障海上风电机组稳定运行,降低运维成本与安全风险。

一种船用风光混合驱动装置及控制方法

NºPublicación:  CN120856000A 28/10/2025
Solicitante: 
广西玉柴机器股份有限公司
CN_120856000_PA

Resumen de: CN120856000A

本发明公开了一种船用风光混合驱动装置及控制方法,涉及船舶动力系统技术领域,该驱动装置包括风能收集单元、太阳能收集单元、传导单元与动力分配结构。本发明所述的一种船用风光混合驱动装置及控制方法,通过构建实时能量流网络并采用模型预测控制算法,实现了风能与太阳能的高效协同利用;在典型工况下,风光协同发电效率较传统方案显著提升,能量切换损耗大幅降低;其次,针对极端环境设计的自适应调节机制,有效保障了系统在高温、低温等特殊条件下的稳定高效运行,避免了传统系统中能源转换效率大幅衰减的问题。

风电机组健康状态诊断系统及方法

NºPublicación:  CN120845270A 28/10/2025
Solicitante: 
国家能源集团科学技术研究院有限公司武汉分公司
CN_120845270_PA

Resumen de: CN120845270A

本申请涉及风力发电技术领域,特别涉及一种风电机组健康状态诊断系统及方法。该系统包括:用于利用预设传感器组获取多源数据的监测模块;用于接收所述多源数据,并对所述多源数据进行特征提取操作,得到多源特征信息的计算模块;用于融合所述多源特征信息,并基于融合结果评估发电机组的健康状态的分析模块。由此,通过该发电机组健康状态诊断系统,集成多传感器融合、边缘计算和云端智能分析,解决了现有技术缺乏系统级健康状态评估能力,以及缺乏智能诊断能力的问题,实现风电机组全系统健康状态的实时监测和早期故障预警。

一种漂浮式海上风电近海固定码头双机组整装施工结构

NºPublicación:  CN223481798U 28/10/2025
Solicitante: 
中国电建集团贵州工程有限公司
CN_223481798_U

Resumen de: CN223481798U

本申请公开了一种漂浮式海上风电近海固定码头双机组整装施工结构,包括:吊装平台;吊装平台外侧固定安装有起到弹性缓冲的防撞设施。叶片通过运输驳船运输到吊装平台侧边,运输驳船与吊装平台上的防撞设施弹性缓冲接触,进而避免了硬性接触,解决了运输驳船在海上受到海浪硬冲击海上吊装平台的问题。

一种海上风机桩基无损健康检测方法、装置及存储介质

NºPublicación:  CN120844632A 28/10/2025
Solicitante: 
华能如东八仙角海上风力发电有限责任公司华能国际电力江苏能源开发有限公司清洁能源分公司河海大学水利部交通运输部国家能源局南京水利科学研究院
CN_120844632_PA

Resumen de: CN120844632A

本发明公开一种海上风机桩基无损健康检测方法、装置及存储介质,属于桩基结构安全检测领域,所述方法包括以下步骤:将桩身等分分段形成若干个测试单元,基于移动式三维数字图像相关法对测试单元进行图像采集得到测试图像,然后对测试图像进行数据处理,获得各分段全场位移时程响应;进行分段频域识别,得到各分段振型;进行整体振型重构,得到整体拼接振型;将结构未损伤振型和整体拼接振型对比,结合动力指纹指标,识别出海上风机桩基损伤位置。本发明能够获取整体拼接振型,克服传统利用加速度传感器的动力测试方法在实际操作中难以获取空间密度高的测试信息、成本高昂的不足的缺陷,从而获取更精确的损伤位置识别结果。

一种风力机叶片的气动参数检测系统及方法

NºPublicación:  CN120845277A 28/10/2025
Solicitante: 
内蒙古工业大学
CN_120845277_PA

Resumen de: CN120845277A

本发明涉及参数检测技术领域,具体为一种风力机叶片的气动参数检测系统及方法,包括:检测布局单元,用于获取目标风力机叶片的结构设计信息,根据结构设计信息构建叶片气动拓扑结构,对气动拓扑结构进行气动特性突变分析,确定初始传感器布设区域;采集叶片运行状态数据,对运行状态数据进行时频域解析,提取气流场特性与结构响应特征,生成气动‑结构耦合敏感描述符;检测配置单元,用于基于初始传感器布设区域和气动‑结构耦合敏感描述符,计算叶片各区域的气动敏感指数。本发明通过对叶片气动特性进行分析,确定了气动敏感区域,从而能在这些区域布设传感器,这种优化布局能够有效提高数据采集的精度与效率,减少冗余传感器的使用。

基于光纤应变与双光谱相机联动的风机结构异常智能识别方法与系统

NºPublicación:  CN120845268A 28/10/2025
Solicitante: 
中国科学院深圳先进技术研究院
CN_120845268_A

Resumen de: CN120845268A

本申请涉及一种基于光纤应变与双光谱相机联动的风机结构异常智能识别方法与系统,包括以下步骤:利用光纤传感系统实时获取风机的塔筒和叶片上多个测量点处的状态信息;存在测量点的状态信息超出预设的第一状态阈值区间时,标记为异常测量点,标记检出时间以及异常测量点的位置信息。根据异常测量点的位置信息,获取异常测量点处的可见光图像信息和红外光图像信息;判定异常测量点的可见光图像信息和红外光图像信息中的至少一个是否存在异常,若存在异常,则判定异常测量点为缺陷点位,并进行告警。本申请,实现“先感知后看见”的双重验证机制,发挥了光纤高灵敏预警与视觉直观复核的互补优势,大幅提升异常确认可靠性,降低漏报和误报风险。

一种用于风电塔筒抑振的集群扰流系统及移动引导方法

NºPublicación:  CN120845279A 28/10/2025
Solicitante: 
汕头大学
CN_120845279_PA

Resumen de: CN120845279A

本发明公开了一种用于风电塔筒抑振的集群扰流系统,包括无人机、若干扰流机器人,所述扰流机器人包括扰流条、真空泵、车体外壳、主控板、光敏电阻、发光二极管、升降装置、驱动底盘,所述扰流条可拆卸地安装于所述车体外壳上,所述驱动底盘与所述车体外壳之间通过所述升降装置连接,所述真空泵用于使所述车体外壳与所述柱体表面之间形成负压;所述主控板与所述无人机建立无线连接,所述无人机通过视觉获得所述发光二极管的信号提取所述扰流机器人的标注识码,所述主控板通过所述光敏电阻感应所述无人机投射于所述柱体上的激光信号,控制所述驱动底盘的移动。本发明还公开了一种应用于上述用于风电塔筒抑振的集群扰流系统的移动引导方法。

一种逆作法现浇钢筋混凝土塔筒的施工装置

NºPublicación:  CN223482814U 28/10/2025
Solicitante: 
江苏东合南岩土科技股份有限公司
CN_223482814_U

Resumen de: CN223482814U

本申请提出了一种逆作法现浇钢筋混凝土塔筒的施工装置,钢筋混凝土塔筒由从上向下顺次浇注而成的塔筒段所形成,在钢筋混凝土塔筒的顶部固定安装有钢塔筒,在完成钢筋混凝土塔筒的施工前,钢塔筒安装在基础上;施工装置包括塔吊、内模板与外模板,塔吊安装在位于基础上的钢塔筒的顶部,内外模板可拆卸地安装在基础上并环绕在钢塔筒的外侧,内外模板之间形成用于布置塔筒段的钢筋笼并浇注混凝土的塔筒腔;内外模板均由若干个可移动地支撑在基础上的模板瓣片构成。利用本申请施工钢筋混凝土塔筒时,钢筋笼绑扎、混凝土浇注、振捣等工作均能够在地面进行,降低了高空作业的比例、施工难度,能够对浇注质量进行精确控制,提高施工质量,降低施工成本。

散热装置

NºPublicación:  CN223482825U 28/10/2025
Solicitante: 
中国三峡新能源(集团)股份有限公司中国长江三峡集团有限公司三峡新能源五家渠发电有限公司奇台分公司
CN_223482825_U

Resumen de: CN223482825U

本申请提供一种散热装置,涉及风力发电技术领域。该散热装置,包括制冷组件、送风管、制冷风扇、控制器和至少三个第一温度传感器;送风管的一端与制冷组件连接,另一端与各变桨控制柜连通,制冷风扇与制冷组件连接且位于送风管内;各第一温度传感器分别对应设置在各变桨控制柜内;控制器被配置为,当各变桨控制柜之间的温度差值小于预设温度差值,且至少一个变桨控制柜的温度大于或等于温度预设值时,控制制冷组件和制冷风扇同时启动。本申请的散热装置,在变桨控制柜内的温度过高时,自动开启制冷组件,并通过制冷风扇和送风管将冷空气输送至变桨控制柜内,有效降低变桨控制柜内的温度,提高散热效率。

齿轮箱润滑结构及风电齿轮箱

NºPublicación:  CN223483387U 28/10/2025
Solicitante: 
南京高速齿轮制造有限公司
CN_223483387_U

Resumen de: CN223483387U

本实用新型属于风电设备技术领域,公开了一种齿轮箱润滑结构及风电齿轮箱。该齿轮箱润滑结构用于行星轮系的轴承组的润滑,齿轮箱润滑结构包括进油油路、润滑油路和辅助油路,进油油路开设于行星轮系的第一行星架,进油油路连通于外部供油装置,以用于润滑油供给;润滑油路开设于行星轮系的销轴,润滑油路连通于进油油路;润滑油路连通于轴承组的外周,以向轴承组的进行供油;辅助油路连通于轴承组的上风向轴承,以用于向上风向轴承进行供油。该齿轮箱润滑结构能够实现对上风向轴承的辅助供油,提高了对行星轮系的轴承组的润滑效果,降低了轴承组失效风险,提升了齿轮箱可靠性。

一种海上风机维护装置

NºPublicación:  CN223482824U 28/10/2025
Solicitante: 
中交海峰新能源科技(汕尾)有限公司
CN_223482824_U

Resumen de: CN223482824U

本实用新型公开了一种海上风机维护装置,包括立杆,所述立杆下部安装底板,立杆上端安装机体,机体侧面设置三个叶片,立杆外表面设置清理环一,清理环一侧面安装清理环二,且清理环二对应叶片的位置,清理环一和清理环二内壁安装若干个喷头,清理环一侧面对称安装拉块。本实用新型清理环一和清理环二内部的喷头将水喷向立杆和叶片表面,同时,收放轮转动将拉绳收卷起来,通过拉绳带动清理环一和清理环二上升,使喷头上升对立杆和叶片进行全面的冲洗,方便快捷,省时省力。

一种多场景风电基础及施工方法

NºPublicación:  CN120844616A 28/10/2025
Solicitante: 
华能吉林新能源开发有限公司中国华能集团清洁能源技术研究院有限公司华能吉林发电有限公司
CN_120844616_PA

Resumen de: CN120844616A

本发明属于风利发电施工技术领域,公开了一种多场景风电基础及施工方法,包括预制单元和承托结构;所述预制单元为钢筋混凝土预制构件,包括底板、垂直设于底板上的肋板以及中心柱,所述肋板的一端与所述中心柱连接,所述底板上设有预留孔;所述承托结构包括承托板或垫层,承托结构顶部设有预留钢筋;所述预制单元通过预留孔套设于预留钢筋上,且相邻预制单元的中心柱侧壁通过结构胶粘接;所述肋板两侧填充有灌浆层。本发明能够通过标准化预制单元适配多类地质场景。

一种用于风力机叶片的多自由度振动检测系统及方法

NºPublicación:  CN120845278A 28/10/2025
Solicitante: 
内蒙古工业大学
CN_120845278_PA

Resumen de: CN120845278A

本发明公开一种用于风力机叶片的多自由度振动检测系统及方法,涉及风力发电设备监测领域,通过采集风力机叶片运行振动数据,按运行阶段分段处理并提取主频信息确定振动状态;构建振动特征空间建立多自由度振动分量间映射关系,计算振动耦合度;当振动耦合度超过预设阈值时,将振动分量解耦为独立振动源,追踪其演变规律确定主导振动源;通过建立振动传播链组合构建关联映射网络,基于主导振动源的传播特征计算叶片组振动风险指数,实现对叶片组振动的预警。该方法能有效检测风力机叶片的异常振动状态,及时发现潜在故障,提高风力机运行安全性和可靠性。

基于变桨距调节的风力发电机叶片

NºPublicación:  CN120845243A 28/10/2025
Solicitante: 
中国电建集团湖北工程有限公司
CN_120845243_PA

Resumen de: CN120845243A

本发明涉及风力发电技术领域,尤其涉及基于变桨距调节的风力发电机叶片,包括支撑塔架,所述支撑塔架上活动安装有用于风力发电的变桨距叶片机构,支撑塔架的上端设有根据风向来调节变桨距叶片机构朝向的角度调节机构,角度调节机构包括固定安装在支撑塔架上端的顶部齿台。本发明通过设置变桨距叶片机构,能够根据实时风速动态调节桨距角,在低风速时减小桨距角以增大攻角,显著提高叶片的升阻比,从而最大化风能捕获效率,在高风速或紧急情况下快速增大桨距角,使叶片进入失速状态,降低气动升力,防止发电机超功率运行,确保机组安全停机,这种自适应调节机制不仅提升了风能利用率,还增强了极端工况下的可靠性,延长了设备使用寿命。

一种安装拆卸两用风力发电机单叶片吊具

NºPublicación:  CN120841356A 28/10/2025
Solicitante: 
郑州新大方重工科技有限公司
CN_120841356_PA

Resumen de: CN120841356A

本发明公开了一种安装拆卸两用风力发电机单叶片吊具,包括吊具主结构,吊具主结构的左右两端分别设有挂钩组,每个挂钩组包括前后分布的第一挂钩装置和第二挂钩装置,第一挂钩装置用于同吊带的一端连接,第二挂钩装置用于同吊带的另一端连接;还包括与挂钩组对应布置的叶片拆卸梁,叶片拆卸梁上设有吊带固定点;叶片拆卸梁处于拆卸状态时,吊具主结构上不安装叶片拆卸梁,此时吊具为叶片安装模式;叶片拆卸梁处于安装状态时,吊具主结构上安装叶片拆卸梁,此时吊具为叶片拆卸模式。本发明通过安装或拆卸叶片拆卸梁实现了吊具在叶片安装模式和叶片拆卸模式的切换,从而能够很好完成单叶片安装作业和单叶片拆卸作业,且安全系数高,作业效率高。

一种垂直轴轻量化叶片万向微风发电设备用连接中轴

NºPublicación:  CN223482818U 28/10/2025
Solicitante: 
微风新能源科技(山东)有限公司山东宏之泰新能源科技有限公司
CN_223482818_U

Resumen de: CN223482818U

本实用新型公开了一种垂直轴轻量化叶片万向微风发电设备用连接中轴,包括筒体、连接机构、回转轴承、支撑机构、轴承;支撑机构连接在筒体内部,回转轴承连接在支撑机构顶部,连接机构安装在回转轴承上;轴承连接在连接机构靠近下端的位置,且位于支撑机构内部;下连接板安装在回转轴承顶部,加强板固定在下连接板顶部,上连接板固定在加强板远离下连接板的一端,且通过螺栓安装在回转轴承上;连接轴穿过上连接板和下连接板,并分别与上连接板和下连接板固定连接。本实用新型能够减少连接轴的摩擦力,能够增强对对叶轮的支撑强度,进一步提高整个装置的稳定性。

用于液压变桨系统的散热模块、散热系统和风力发电机组

NºPublicación:  CN223482826U 28/10/2025
Solicitante: 
金风科技股份有限公司
CN_223482826_U

Resumen de: CN223482826U

本公开提供一种用于液压变桨系统的散热模块、散热系统和风力发电机组,所述散热系统能够安装在风力发电机组的轮毂上,所述散热系统包括散热模块和至少一个介质输送单元,所述散热模块包括支架组件和散热器组件,所述支架组件用于与所述轮毂连接;所述散热器组件连接在所述支架组件上;所述介质输送单元连接在所述散热器组件与叶片的液压变桨系统之间,用于使介质在所述散热器组件与所述液压变桨系统之间循环,使得所述介质降温,以对变桨系统进行散热,以避免变桨系统温度过高,从而提高变桨系统的运行可靠性。

一种海上风电设备运输船

NºPublicación:  CN223479271U 28/10/2025
Solicitante: 
浙江玉环华电风力发电有限公司华电科工股份有限公司
CN_223479271_U

Resumen de: CN223479271U

本实用新型公开了一种海上风电设备运输船,包括船体和风电设备,所述船体驳船主甲板上设置有叶片搁置装置、塔筒搁置区、主机搁置区和轮毂搁置区,所述叶片搁置装置包括搁置架和滚轮,搁置架为门字形结构,滚轮与搁置架腿部底端连接,船体长度方向的两侧均设置有滚轮槽,滚轮与滚轮槽滚动连接,叶片搁置装置置于塔筒搁置区的上方,塔筒搁置区置于船体驳船主甲板的中间位置,风电设备包括叶片、塔筒、主机和轮毂,叶片置于叶片搁置装置上,塔筒置于塔筒搁置区上,主机置于主机搁置区上,轮毂置于轮毂搁置区上。本实用新型实现了风电设备一船次整套运输,既节省了运输资源,又节约了现场施工窗口期,可为项目建成节约成本。

一种液压润滑集成系统及风力发电机组

NºPublicación:  CN223483951U 28/10/2025
Solicitante: 
郑州奥特科技有限公司
CN_223483951_U

Resumen de: CN223483951U

本实用新型涉及一种液压润滑集成系统及风力发电机组。注脂器的阀体上仅设置液压进油口、进脂口和出脂口,注脂器的柱塞滑动密封装配在注脂器的阀腔内,柱塞包括大径段和小径段,阀腔包括对应大径段和小径段设置的大径腔和小径腔,复位弹簧套在小径段上,复位弹簧的一端与大径段抵顶配合、另一端与阀体抵顶配合,以提供给柱塞弹性复位力,液压进油口设在大径腔的外端,进脂口设置在小径腔的靠近复位弹簧的一端,出脂口设置在小径腔的远离复位弹簧的一端;液压油推动柱塞运动时,将小径腔内的润滑脂朝向出脂口和进脂口挤压,当小径段前端封堵进脂口后,润滑脂仅从出脂口流出。具有成本更低、结构更简单、注油器两侧的介质不易混合污染的优点。

风力发电机组等离子雷击防护装置

NºPublicación:  CN120845282A 28/10/2025
Solicitante: 
国电联合动力技术有限公司
CN_120845282_PA

Resumen de: CN120845282A

本申请提供的风力发电机组等离子雷击防护装置,叶片单元包括至少三个叶片,叶片安装有具有至少两个引导针的引电导体;滑动接触单元包括滑环,滑环包括至少三个沿环向均匀分布的弧形体,相邻的两个弧形体通过绝缘体相间隔,叶片内设置有电连接引电导体和对应的弧形体的第一导线;电离放电单元包括机舱、设于机舱上并且电连接的滑块和导电电极,滑块抵接在滑环上,滑块与弧形体在接触后导电,并在与绝缘体接触后断电;接地单元包括塔筒,机舱与塔筒相连接,塔筒内设置有接地导线,接地导线与导电电极相连通。本申请实现电离放电功能,保护风电机组不被雷击,避免直击雷产生的大电流对叶片、机舱内电气设备的危害,降低成本和安装、维护难度。

一种分段式风机叶片

NºPublicación:  CN120845242A 28/10/2025
Solicitante: 
中建材(上海)航空技术有限公司
CN_120845242_PA

Resumen de: CN120845242A

本发明公开了风机叶片生产制造技术领域的一种分段式风机叶片,包括沿轴向方向顺序设置的多个叶片分段,每个叶片分段均包括前梁和后梁,前梁和后梁的间距为弦长尺寸的60%~75%,且每个叶片分段的前梁和后梁沿轴线方向延伸至相邻叶片分段内并与相邻叶片分段固定连接。本发明改善了后缘粘接区的载荷工况,降低了后缘粘接区发生失效现象的概率,从而提高了后缘粘接区的安全水平。

一种基于一体化设计的变桨控制系统

NºPublicación:  CN120845241A 28/10/2025
Solicitante: 
杭州风创智慧能源设备有限公司
CN_120845241_PA

Resumen de: CN120845241A

本发明公开了一种基于一体化设计的变桨控制系统,包括:三个独立变桨机构,每个独立变桨机构包括:轮毂柜;一体化变桨驱动器;限位开关;感应开关以及连接电缆;一体化变桨驱动器,包括:永磁同步电机;设置在永磁同步电机的转动轴头部的刹车;设置在永磁同步电机的转动轴尾部的编码器;以及安装在永磁同步电机的外壳上的伺服驱动器。本发明采用一体化变桨驱动器,将碳化硅半导体器件应用到风电变桨领域,将传统结构中分立的变桨驱动器、变桨电机、变桨控制器进行一体化设计,将电动变桨系统的核心模块由之前的四个减少到两个,不仅可以大大提高变桨系统的安全性能及可维护性,还能有效降低系统成本。

风车叶片的前缘保护层施工方法及风车叶片的保护层

NºPublicación:  CN120858226A 28/10/2025
Solicitante: 
三菱重工业株式会社
CN_120858226_PA

Resumen de: JP2024149046A

To provide a method for manufacturing wind turbine blades capable of improving position accuracy of thermal spraying to obtain a protective layer with a desired thickness and quality.SOLUTION: A manufacturing method for a wind turbine blade 5 in which a protective layer is provided on a tip part 12 and a front edge 16 side in a blade length direction L1 of a wind turbine blade body 5a formed from FRP, comprises: a first thermal spraying process of performing thermal spraying in the blade length direction L1; a blade chord position changing process of changing a position so that a protective layer 30 formed in the first thermal spraying process is sprayed at an adjacent position adjacent in a blade chord direction C1; and a second thermal spraying process of performing thermal spraying in the blade length direction L1 at the adjacent position.SELECTED DRAWING: Figure 8

运输框架、支撑运输装置、运输系统、风场以及风力发电机组

NºPublicación:  CN223479695U 28/10/2025
Solicitante: 
北京金风科创风电设备有限公司
CN_223479695_U

Resumen de: CN223479695U

本实用新型涉及一种运输框架、支撑运输装置、运输系统、风场以及风力发电机组,运输框架用于与支撑组件配合,支撑组件被配置为支撑叶片,运输框架包括:框架本体,包括第一框体、第二框体,第一框体具有第一凹腔,第二框体具有第二凹腔,第一框体、第二框体相互对接,第一凹腔、第二凹腔连通形成有空腔;第一对接件,设置于第一框体朝向空腔的一侧,第一对接件包括第一连接销、第一连接孔中的一者,第一对接件被配置为与支撑组件可拆卸连接。本实用新型实施例提供的运输框架,能够保证叶片的支撑需求,并且其能够适配不同的叶片的支撑组件,通用性好。

一种漂浮式海上风电近海临时码头双机组整装施工结构

NºPublicación:  CN223481797U 28/10/2025
Solicitante: 
中国电建集团贵州工程有限公司
CN_223481797_U

Resumen de: CN223481797U

本申请公开了一种漂浮式海上风电近海临时码头双机组整装施工结构,包括:平台甲板;插入海床固定的平台桩腿,平台甲板可升降安装在平台桩腿上;所述平台甲板斜向对角处均固定有向外悬挑的平台面板,两个平台面板斜向分布在平台甲板对角处。风机的两个轮毂分别与在平台甲板对角处的法兰盘对接固定,每个轮毂上吊装三个叶片,已安装有三片叶片的一个轮毂吊装到浮体基础的塔筒上,另一个轮毂与运输船运输而来的叶片进行吊装对接,提高了风机安装效率,解决了三片叶片依次吊装到轮毂上,存在风机安装效率低的问题。

一种电磁防护的风雷叶片延展金属网

NºPublicación:  CN223482820U 28/10/2025
Solicitante: 
江苏金松新材料有限公司
CN_223482820_U

Resumen de: CN223482820U

本实用新型公开了一种电磁防护的风雷叶片延展金属网,此装置包括延展组件和防护组件,其中延展组件,包括滑道、设置于滑道内的转动杆、设置于滑道内的滑块、固定设置于滑块上的移动杆、套接于移动杆外的连接杆;防护组件,包括与移动杆连接的金属网、设置于滑道外的绝缘壳;本实用新型中的电磁防护的风雷叶片延展金属网,其可设置在叶片表面,金属网随时展开随时收起,对叶片进行电磁防护,同时在延展组件外设置绝缘壳可保护内部零件,即使遭受雷击也不会损害内部零件,只需更换金属网即可,降低维护成本。

一种新型叶根侧面支架

NºPublicación:  CN223482809U 28/10/2025
Solicitante: 
科东自动化科技(嘉善)有限公司
CN_223482809_U

Resumen de: CN223482809U

本实用新型公开一种新型叶根侧面支架,其通过底架和顶架拼接安装,叶根的螺柱分别固定在底架和顶架上,实现固定。底架包括若干根水平设置的第一横管,包括若干根竖直设置的第一竖管,第一横管和第一竖管拼接成矩形的底框;第一竖管的顶部设置有限位顶尖,限位顶尖开设有表面贯通的第一通孔;底框上安装有定位机构,定位机构用于叶根上的螺柱穿过旋上螺母固定;顶架包括若干根水平设置的第二横管,包括若干根竖直设置的第二竖管,第二横管与第二竖管拼接成矩形的顶框;第二竖管的底面开设有第一限位孔,第二竖管的侧壁上开设有贯通的第二通孔,顶框上安装有定位机构,定位机构用于叶根上的螺柱穿过旋上螺母固定。

一种风电机组防雷接地装置

NºPublicación:  CN223482819U 28/10/2025
Solicitante: 
江苏汇智未来能源有限公司
CN_223482819_U

Resumen de: CN223482819U

本实用新型涉及风电机组技术领域,尤其是一种风电机组防雷接地装置,包括避雷针,避雷针设置在第一支撑座上,且避雷针贯穿第一支撑座设置,而在避雷针的底部连接有接地导线,且接地导线的另一端连接有接地件;在第一支撑座的下方设有第二支撑座,在第二支撑座的中部开设有开槽,且避雷针贯穿开槽设置,而沿第二支撑座的顶部边缘处设置有若干个间隔排列的压缩弹簧,且压缩弹簧的另一端固定在第一支撑座的底部。本实用新型在使用时,该风电机组防雷接地装置通过多个压缩弹簧对两个支撑座之间进行连接,可在避雷针受到强风冲击时起到缓冲作用,从而对避雷针起到保护,以防避雷针受强风影响而出现弯折损坏的情况。

风力发电机组钢制塔筒大面积变形缺陷加固方法

NºPublicación:  CN120845257A 28/10/2025
Solicitante: 
中船海装风电有限公司
CN_120845257_PA

Resumen de: CN120845257A

本发明涉及一种风力发电机组钢制塔筒大面积变形缺陷加固方法,包括以下步骤:S1. 清除钢制塔筒中变形缺陷处的油漆涂层;S2. 搭建加固结构,所述加固结构包括内钢壳和底部封板,所述内钢壳设置于所述钢制塔筒的内侧,所述内钢壳的底部通过所述底部封板与钢制塔筒连接形成环形型腔,且所述内钢壳和钢制塔筒之间还间隔连接有多个竖向隔板,通过各所述竖向隔板将所述环形型腔分隔为多个分仓型腔;S3. 向所述分仓型腔内浇筑灌浆料,通过所述灌浆料与钢制塔筒、内钢壳、底部封板和竖向隔板形成钢混加固结构。本发明在不拆塔的前提下,实现了对风电机组钢制塔筒大面积变形缺陷进行高效、经济、可靠的加固。

一种压电纳米-电磁发电复合的全向流动能量发电装置

NºPublicación:  CN120855748A 28/10/2025
Solicitante: 
大连海事大学
CN_120855748_PA

Resumen de: CN120855748A

本发明公开了一种压电纳米‑电磁发电复合的全向流动能量发电装置,包括电磁发电机构、联轴器、传动轴、弧形流室结构以及安装架结构;电磁发电机构通过联轴器与传动轴连接;安装架结构包括间隔设置在传动轴上的第一梯形臂与第二梯形臂,通过第一梯形臂与第二梯形臂将弧形流室结构与传动轴固定连接;腔室结构内设有压电纳米发电结构;压电纳米发电结构包括柱体结构与压电发电构件,且柱体结构通过开设的卡槽结构与压电发电构件卡接;全向流动能量发电结构中的弧形流室结构被流经的流体驱动,进而带动传动轴转动,传动轴通过联轴器驱动电磁发电机构转动发电。本发明解决了当前流体能量收集技术存在单一技术效率瓶颈、全向响应能力不足的问题。

一种风电塔筒稳定加固结构

NºPublicación:  CN120845255A 28/10/2025
Solicitante: 
华能通辽风力发电有限公司科左后旗分公司
CN_120845255_PA

Resumen de: CN120845255A

本发明提供一种风电塔筒稳定加固结构,属于风电塔筒技术领域,包括固定半环、快速更换组件和抗风加固组件,快速更换组件包括设置在第一连接板外壁的固定架,固定架的内部滑动连接有两个移动块,两个移动块和固定架的一端均设置有若干个固定框,本发明有益效果:在使用能够控制辅助组件和联动组件带动移动条移动,继而使移动条从插杆内滑出,解除对插杆的限位,此时使用人员通过握持握持头将插杆从固定框内拉出,继而解除对移动块的限位,此时使用人员将移动块顺着固定架拉出,继而连同固定柱、连接头和钢丝绳取出更换,从而实现快速更换钢丝绳目的,提高了工作效率。

一种新能源空气发电系统及控制方法

NºPublicación:  CN120845253A 28/10/2025
Solicitante: 
高志美
CN_120845253_PA

Resumen de: CN120845253A

本发明提出一种新能源空气发电系统及控制方法。通过主动造风突破自然风限制,利用通风机产生可控风流并结合虹吸效应显著提升发电效率;优化的风道设计采用串联、并联、重叠及回流‑旋流结构使风流多次冲击叶片,大幅提高能量利用率,智能控制系统通过实时监测风速和发电状态,自动调节通风机参数并实现电源无缝切换,确保系统稳定运行不受自然条件影响。在军事领域凭借环境适应性强、自主性高的特点,为复杂环境下的军事设施提供可靠能源保障。本发明通过减少对传统能源的依赖降低碳排放,兼具经济效益与环保价值,其模块化设计和智能化控制为新能源领域提供了高效、稳定且易于推广的解决方案,具有广阔的市场前景和社会意义。

一种万向弹性支撑装置

NºPublicación:  CN223483252U 28/10/2025
Solicitante: 
江阴海达橡塑股份有限公司
CN_223483252_U

Resumen de: CN223483252U

本实用新型涉及一种万向弹性支撑装置,包括导柱、减震橡胶环、金属骨架、限位外壳和底座,所述导柱、减震橡胶环和金属骨架一体硫化成型,所述导柱设置在减震橡胶环内,所述金属骨架设置在减震橡胶环外,所述底座对应金属骨架设有环形凸台,金属骨架搁置在环形凸台的顶面,所述环形凸台的外周面螺纹连接限位外壳,所述限位外壳对应金属骨架设有环形限位槽。本实用新型将导柱、减震橡胶环和金属骨架硫化于一体,外侧的金属骨架限位固定在限位外壳内,内侧的导柱与底座之间悬空,实现安装阻尼器的导柱与安装叶片的底座之间弹性连接,保证支撑刚度的同时,减少了阻尼器在工作中失效的风险。

2MW水平轴风力发电机变桨系统的限位开关支架

NºPublicación:  CN223483836U 28/10/2025
Solicitante: 
云南滇能智慧能源有限公司
CN_223483836_U

Resumen de: CN223483836U

2MW水平轴风力发电机变桨系统的限位开关支架,包括:固定支架、限位开关安装孔、位置调整孔和调整支架,固定支架为U型结构,固定支架的顶端设有限位开关安装孔,固定支架通过限位开关安装孔与限位开关连接,固定支架的两侧设有垂直对齐的位置调整孔,位置调整孔为复数个,固定支架通过位置调整孔与调整支架连接,调整支架的底端与安装位置螺栓固定。本实用新型与传统技术相比,采用单独的固定支架实现两个限位开关的固定,同时设置垂直对齐位置调整孔,整个支架可以通过不同的连接,实现高度调节。

垂直轴发电组件及具有其的发电设备

NºPublicación:  CN223482808U 28/10/2025
Solicitante: 
东旭蓝天新能源股份有限公司
CN_223482808_U

Resumen de: CN223482808U

本申请提供垂直轴发电组件及具有其的发电设备,涉及发电设备的技术领域,其中,垂直轴发电组件,主要包括转动结构、转动轴和感应线圈,通过风叶筒上设置的多个导风槽实现一体式的设计,形成可借风力转动的转动体,从而带动转动轴进行转动,转动轴再将动力传递给第一磁性件,第一磁性件与感应线圈配合将风能转换为电能。导风槽实现了风力的利用,通过加工的方式形成,并非装配,使得风叶筒形成一个整体的结构,避免了装配导致的零部件增多,装配困难的情况,整体的结构紧凑,质量相对较轻,更利于风力的采集与传递。本申请有效地解决了现有技术中的垂直轴发电组件采用分体式的翼片设计,其结构复杂,质量较大,不利于发电的问题。

一种风力发电机塔筒底座的锚板结构

NºPublicación:  CN223482811U 28/10/2025
Solicitante: 
青岛诚兴新能源环保科技有限公司
CN_223482811_U

Resumen de: CN223482811U

本实用新型公开了一种风力发电机塔筒底座的锚板结构,包括锚板、固定销、连接座和支撑机构,本实用新型通过设置锚板、固定销、连接座、支撑机构和定位机构的配合使用,达到了现有的风力发电机塔筒底座的锚板在固定时,通过长螺杆与地基之间的摩擦力进行固定,在对锚板进行安装打孔时,锚板容易发生偏移,导致所打的孔与锚板的安装孔出现偏差,不便于对锚板进行固定,在对锚板进行浇注固定时不方便,使水泥浇注极为不便,为了能够便于对锚板进行安装,从而提出一种风力发电机塔筒底座的锚板结构,在对锚板进行安装时,通过四周的支撑组件能够稳定的对锚板进行固定,防止在安装时出现偏移的同时便于对锚板浇注进行二次固定的效果。

一种风电叶片用维护平台

NºPublicación:  CN223482823U 28/10/2025
Solicitante: 
瑞能工程有限公司
CN_223482823_U

Resumen de: CN223482823U

本实用新型涉及风电叶片技术领域,具体是一种风电叶片用维护平台,包括有平台本体,平台本体两侧设置有伸展机构;伸展机构包括有伸展架、双轴电机和调节块;平台本体两侧设置有安装槽,伸展架滑动设置在安装槽内,安装槽两侧侧壁设置有调节槽,伸展架外侧壁两侧设置有调节块,调节块贯穿并滑动设置在调节槽内;双轴电机固定设置在伸展架外侧壁中间处,双轴电机两端的输出端连接有丝杆,伸展架外侧壁上设置有支撑板,丝杆转动设置在支撑板上,调节块安装在丝杆上。本实用新型通过将伸展架从平台本体两侧伸出,能够扩大平台本体整体的工作空间,方便工作人员对风电叶片进行维护,同时能够针对不同尺寸和形状的风电叶片维护,提高适用范围。

一种单桩大径滚装工装楔块结构

NºPublicación:  CN223482817U 28/10/2025
Solicitante: 
福建福船一帆新能源装备制造有限公司
CN_223482817_U

Resumen de: CN223482817U

本实用新型涉及单桩工装技术领域,尤其涉及一种单桩大径滚装工装楔块结构,包括底座,底座上有第一支撑杆和多个第二支撑杆;第一支撑杆包括第一横杆和两个第一支腿;第二支撑杆包括第二横杆和固定设置于第二横杆底部两端的两个第二支腿,底座上设置有多个与第二支腿相对应的活动槽,活动槽的顶部开设有与外界相连通的通孔,第二支腿的下端穿过通孔活动设置于活动槽内,第二支腿的底部固定连接有限位块,限位块滑动设置于活动槽内;限位块的下端固定连接有弹簧,弹簧的下端与活动槽的底部固定连接。本实用新型解决了现有技术中单桩大径滚装工装楔块结构表面弯曲弧度固定,无法与单桩表面贴合的问题,可以适用于不同尺寸的单桩的放置。

一种垂直轴轻量化叶片万向微风发电装置

NºPublicación:  CN223482807U 28/10/2025
Solicitante: 
微风新能源科技(山东)有限公司山东宏之泰新能源科技有限公司
CN_223482807_U

Resumen de: CN223482807U

本实用新型公开了一种垂直轴轻量化叶片万向微风发电装置,包括塔筒、立柱、网架、叶片、发电机组、安装座、承载机构;网架设于立柱上,叶片设有若干组并固定在网架上,塔筒设为中空并且内部设有攀爬用的步梯,发电机组通过安装架固定设于塔筒内部,立柱底端连接安装座,安装座设于承载机构上并转动连接,承载机构设于塔筒顶端,安装座一端通过联轴器连接发电机组;通过微风吹动叶片带动网架、立柱以及安装座转动,进而带动发电机组转动运行发电。本实用新型通过叶片的垂直、密集阵型的设置方式,能够不受风向限制,在各种风向上都可以产生作用力带动发电机组运行发电。

一种能改善塔拼装过程中塔筒变形的分片段及分片塔筒

NºPublicación:  CN223482815U 28/10/2025
Solicitante: 
东方电气风电股份有限公司
CN_223482815_U

Resumen de: CN223482815U

本实用新型公开了一种能改善塔拼装过程中塔筒变形的分片段及分片塔筒,涉及塔筒结构领域;分片段包括分片段本体,分片段本体的两侧均设置有耳板,并且耳板位于分片段本体母线的中部位置处,以及分片段本体的外表面上;耳板上耳孔的轴线垂直于分片段本体的母线。分片塔筒包括多块所述的能改善塔拼装过程中塔筒变形的分片段,多块分片段本体周向拼装形成360°的筒型。本实用新型能有效改善分片塔筒在拼装过程中塔筒中部变形,进而提高了塔筒拼装效率。

一种应用于海上风电多式联运方法及其联运设备

NºPublicación:  CN120845259A 28/10/2025
Solicitante: 
杭州天成智联物流供应链管理有限公司
CN_120845259_PA

Resumen de: CN120845259A

本发明涉及海上风电工程技术领域,特别涉及一种应用于海上风电多式联运方法及其联运设备,包括前端固定架结构和后端加高固定架结构,其特征在于:所述前端固定架结构包括前端框架主体,所述前端框架主体由第一上部连接框架和第一下部连接框架组合构成,所述第一上部连接框架和第一下部连接框架连接处设有第一固定螺栓件,所述后端加高固定架结构包括后端加高框架主体,本发明提供海上风电多式联运设备,采用模块化高强合金钢框架,配置减震箱体与波浪夹持槽精准固定叶片,结合斜向支撑、加强角板及反光板,实现叶片稳固支撑、减振防损、便捷吊装与夜间警示,有效提升运输安全性与适应性,解决传统装置强度不足、防护弱等问题。

一种风机不停机巡检叶片跟踪算法

NºPublicación:  CN120852471A 28/10/2025
Solicitante: 
星逻智能科技(苏州)有限公司
CN_120852471_A

Resumen de: CN116993784A

The invention relates to the field of fan control algorithms, in particular to a fan non-stop routing inspection blade tracking algorithm and system, and the algorithm comprises the steps: S1, tracking a fan in a fan image in a subsequent frame through a long video object segmentation model XMem, and carrying out the semantic segmentation to generate a mask graph; s2, the longest intersecting line section of the vertical line of the adjacent points in the boundary point set and the contour and a corresponding vertical line equation are calculated and screened out, two vertical lines meeting preset conditions are determined, the intersection point is determined, and the intersection point is the center point of the draught fan; and S3, carrying out position offset and change analysis on each blade key point so as to realize accurate tracking of the blade key points. According to the method, the fan blade can be accurately segmented and tracked, the fine positioning of the blade is realized by accurately extracting the edge, key point and form information of the blade, the accuracy and stability during tracking are improved, shutdown and manual intervention are avoided, the workload and maintenance cost of manual inspection are reduced, and the working efficiency is improved. And misjudgment and risks caused by human factors are reduced.

基于半直驱风力发电机组齿轮油超声波传感器安装方法

NºPublicación:  CN120845269A 28/10/2025
Solicitante: 
海南州华豫新能源开发有限公司
CN_120845269_PA

Resumen de: CN120845269A

本发明提供了基于半直驱风力发电机组齿轮油超声波传感器安装方法,涉及风力发电机技术领域,包括拆除液压站上原超声波传感器及组合垫圈;将防护钢管装配至新盖板的螺纹接头处,其中防护钢管下端伸入齿轮油液面区域,上端通过螺纹接头固定于新盖板上;将传感器高度可调式组件安装于防护钢管内,将原超声波传感器安装于传感器高度可调式组件上;拆除液压站上的原安装盖板,更换为带防护钢管的新盖板,基于实时齿轮油湍流强度通过传感器高度可调式组件动态调节超声波传感器高度,并执行多参数融合补偿算法优化检测值。本发明通过加装防护钢管能有效减少齿轮箱油位晃动,为超声波传感器提供稳定的检测环境,保障齿轮油状态监测的实时性和精准性。

基于无人机的海上风机叶片损伤检测系统

NºPublicación:  CN120845266A 28/10/2025
Solicitante: 
青岛海检冠图检测技术有限公司
CN_120845266_PA

Resumen de: CN120845266A

本发明属于风机损伤检测技术领域,具体公开提供的基于无人机的海上风机叶片损伤检测系统,该系统包括检测分区确定模块、无人机采集控制模块、损伤图像采集模块、风机损伤分析模块和风机损伤反馈终端。本发明通过利用无人机初步巡航定位损伤点和叶片区域并将风机阵列划区,改变了传统检测方式在海上高风速环境下易受干扰的困境,能够灵活应对复杂的海上环境,同时通过结合损伤点空间坐标以及实时叶片转速和实时海上风况调整无人机的拍摄间距和拍摄时间点生成拍摄参数指令,打破了传统固定视角监测的局限和监测死角和限制,最后通过通过对光学图像和射线图像进行不同深度层的裂缝剖析,能更全面、准确地评估损伤程度。

一种集群式微风发电的发电单元

NºPublicación:  CN223482810U 28/10/2025
Solicitante: 
山东泽润建工产业有限公司
CN_223482810_U

Resumen de: CN223482810U

本申请提供了一种集群式微风发电的发电单元,属于风力发电装置技术领域。该集群式微风发电的发电单元包括发电机以及与所述发电机配套设置的底座、底台、中心柱、安装台、百褶板以及升降机构,所述发电机固定在所述底座内,所述发电机的转轴穿过所述底座的顶面并与所述底台固定在一起,所述中心柱的下端和所述底台的上端固定在一起,所述安装台设置有多个,多个所述安装台轴向等距的固定在所述中心柱的外壁上,所述升降机构安装在所述中心柱和所述安装台上,该集群式微风发电的发电单元通过一个双输出轴电机和多个皮带传动件即可实现多个百褶板的展开或回缩,降低了设备成本的同时,也节省了资源。

一种风力发电机叶片双线圈电脉冲除冰装置

NºPublicación:  CN223482821U 28/10/2025
Solicitante: 
赵承志陈发贵
CN_223482821_U

Resumen de: CN223482821U

本实用新型涉及风电设备技术领域,尤其涉及一种风力发电机叶片双线圈电脉冲除冰装置。风力发电机叶片包括叶片本体,叶片本体内具有空腔,除冰装置包括除冰控制器、脉冲电源以及与脉冲电源并连的多组脉冲除冰单元,任一组脉冲除冰单元都包括第一脉冲线圈和第二脉冲线圈,第一脉冲线圈和第二脉冲线圈固定于叶片本体内或空腔的腔壁上,第一脉冲线圈和第二脉冲线圈正对设置且存在相对面空隙,多组脉冲除冰单元间隔分布在风力发电机叶片上。本实用新型对现有电脉冲除冰技术进行改进,简化了风力发电机叶片电脉冲除冰装置的结构,提高了实用性和安全性的同时降低了安装成本,能够在节约能量的同时达到高效除冰的目的。

一种用于海上风力发电平台的防盐雾处理装置

NºPublicación:  CN223474656U 28/10/2025
Solicitante: 
苏州众志新环冷却设备有限公司
CN_223474656_U

Resumen de: CN223474656U

本实用新型涉及防盐雾处理设备技术领域,具体涉及一种用于海上风力发电平台的防盐雾处理装置,包括:安装框、矩形壳、冷凝机构和过滤机构。本实用新型中,通过在矩形壳上安装固定有冷凝机构,并利用多个V型板和矩形壳配合使用形成一个风道,且利用风在穿过风道时会与多个V型板接触,使得风中的水汽和盐雾在多个V型板表面凝结,再通过启动多个制冷片,从而对多个铜板进行制冷,水汽和盐雾在接触到铜板后能够被快速凝结,保证了该用于海上风力发电平台的防盐雾处理装置吸入气体的干燥,并利用收集壳和排水管便于对收集后的水排出,再利用散热组件便于对使用后的制冷片进行散热,保证了冷凝机构的使用效果。

一种桁架式塔架模块化连接装置

NºPublicación:  CN223482813U 28/10/2025
Solicitante: 
龙源启东风力发电有限公司
CN_223482813_U

Resumen de: CN223482813U

本实用新型提供一种桁架式塔架模块化连接装置,涉及桁架式塔架技术领域,包括若干塔杆,若干所述塔杆之间通过塔架进行连接,每个所述塔杆上端周面均安装有上安装盘,每个所述塔杆下端周面均安装有下安装盘,所述塔杆周面设置有二次定位组件,每个所述塔杆下端表面固定安装有定位柱,所述定位柱通过二次定位组件设置在定位孔内部,本实用新型将定位柱设置在定位孔内部,此时工作人员转动安装螺套,便能够驱动安装螺杆向安装螺套内部移动,驱动两个卡柱向相互靠近的一面移动,使卡柱设置在卡孔内部,便能够将定位柱设置在定位孔内部,通过与螺栓等工具,便能够将上安装盘与下安装盘连接起来,进行二次连接,来保证塔架组件连接的稳定性。

基于移动自组网与智能锁具的山地风电场智慧运维方法、系统、设备及介质

NºPublicación:  CN120855649A 28/10/2025
Solicitante: 
华能营口热电有限责任公司
CN_120855649_PA

Resumen de: CN120855649A

本发明公开了基于移动自组网与智能锁具的山地风电场智慧运维方法、系统、设备及介质,属于风电智能运维技术领域。该方法包括:获取设备节点运行数据及运维终端信息,基于运维终端构建移动自组网并汇聚信息至运维管理平台;所述平台确定运维需求并生成对目标设备节点智能锁具的控制指令;该指令经移动自组网下发至指定运维终端,终端操作智能锁具执行运维并反馈数据。本发明通过构建动态通信网络,结合智能化权限控制,提升了山地风电场运维的效率和安全性,降低了运维难度,实现了精准、高效、安全的风电机组管理。

一种流体驱动发电一体化管道清检同步机器人

NºPublicación:  CN120845630A 28/10/2025
Solicitante: 
西安石油大学
CN_120845630_PA

Resumen de: CN120845630A

本发明公开了一种流体驱动发电一体化管道清检同步机器人,包括流体驱动发电一体化管道清检同步机器人本体,所述流体驱动发电一体化管道清检同步机器人本体包括清检机构、柔性接头、轮组装置、涡轮发电结构和变径结构;所述柔性接头前端设置清检机构,后端设置变径结构,变径结构外侧通过连杆与轮组装置固定,变径结构后端设置涡轮发电结构。具有通过能力性强、检测精度高、作业时间长的特点。

一种风塔用无接缝滑触线集电器

NºPublicación:  CN120855021A 28/10/2025
Solicitante: 
三明市金达机电设备有限公司
CN_120855021_PA

Resumen de: CN120855021A

本发明涉及一种风塔用无接缝滑触线集电器,在实际风塔升降机使用过程中可将无接缝滑触线通过防护组件安装于风塔的内壁,并将安装组件安装于升降机上,当升降机需要进行取电时无接缝滑触线通过弹性取电组件对升降机进行供电,在进行滑触取电时,弹性连接组件将集电仓向无缝滑触线的方向挤压,使弹性取电组件更好的与无缝滑触线接触,同时弹性取电组件依靠弹性保持与无缝滑触线的接触,由此能够更好的对升降机进行移动供电,提升输电时的稳定性,避免集电器与滑触线分离,并且提高防护效果较差。

一种风力发电机组故障冗余系统

NºPublicación:  CN120851628A 28/10/2025
Solicitante: 
三峡新能源调兵山风电有限公司
CN_120851628_PA

Resumen de: CN120851628A

本申请公开了一种风力发电机组故障冗余系统,涉及风电领域,该方法包括对传感器故障,则确定故障源所监测的是否为基础设备,若是基础设备,则确定故障监测设备与正常监测设备之间的功能关系;基于功能关系,确定故障监测设备的第一工作数据,根据第一工作数据对风力发电机组进行评估,并根据评估结果输出对应的停机报警信号;对基础设备故障,则根据响应数据与调控数据确定故障源的故障类型;若为不响应故障,则根据故障前的监测数据对风力发电机组进行安全性评估;若为响应结果故障,则对故障后的监测数据进行数据稳定性判断,得到第二调控区间,并根据第二调控区间进行故障冗余运行。本申请具有提高故障冗余运行安全性的效果。

一种漂浮式风电机组变桨控制方法、装置、设备及产品

NºPublicación:  CN120845250A 28/10/2025
Solicitante: 
中国三峡新能源(集团)股份有限公司三峡新能源康保发电有限公司
CN_120845250_A

Resumen de: CN120845250A

本发明涉及风力发电技术领域,公开了一种漂浮式风电机组变桨控制方法、装置、设备及产品,本发明通过综合考虑空气动力学、水动力学及系泊动力学等多方面因素构建风电机组模型,并在预设PI控制方法中引入增益调度控制模型,能够适应不同工况,有效克服了传统PID控制在漂浮式风电机组复杂动态环境下的局限性,减少了功率波动,降低了结构共振风险;在专家PID控制中引入预设平台纵摇值,并结合科勒曼坐标变换,解决了统一变桨的漂浮式风机出现的“负阻尼问题”,实现了控制信号的精准分配。最后,通过统一变桨与独立变桨的控制结合,减少了纵摇幅度,降低了叶片载荷,显著提高了漂浮式风电机组的稳定性与安全性,保障了机组的可靠运行。

沖合建造物にICCP陽極を搭載するための方法および陽極搭載部

NºPublicación:  JP2025535730A 28/10/2025
Solicitante: 
コロージョン・アンド・ウォーター-コントロール・シェアード・サービシズ・ベー・フェー
JP_2025535730_PA

Resumen de: JP2025535730A

本発明は、風力タービンのための沖合基礎杭の外面を保護するために、ICCP陽極をその基礎杭に搭載するための方法および陽極搭載部に関する。方法は、基礎杭の壁における開口部を通じた、好ましくは円筒形陽極の設置のために、基礎杭の内側でROVを使用するステップと、基礎杭の壁に陽極搭載部を搭載するステップであって、陽極搭載部は、好ましくは円筒形陽極を基礎杭の外側で支持する、ステップと、を含む。

一种用于风电机组的水冷系统

NºPublicación:  CN223482827U 28/10/2025
Solicitante: 
国家电投集团繁峙金丰新能源发电有限公司
CN_223482827_U

Resumen de: CN223482827U

本实用新型涉及风电机组技术领域,尤其为一种用于风电机组的水冷系统,包括安装架,安装架上固定的蒸发器,蒸发器上设置的压缩机,所述蒸发器与压缩机之间设置的冷凝器,冷凝器包括:外部组件,包括固定在安装架上端的壳体,壳体两端均固定的法兰座;内部组件,包括安装在壳体内部的框架,框架内部安装的若干个管束,框架内部固定的多个支撑组件并用于将管束固定在框架中;通过增加支撑组件结构强度,使其更能抵抗来自流体压力和温度变化产生的应力的影响,从而提高设备的稳定性和安全性;并且,内部组件整体可从外部组件中拆装,以及内部组件内部多个组件可进行拆装,使得局部某处零件损坏时方便进行更换。

一种漂浮式海上风电浮体基础施工用负压承台

NºPublicación:  CN223481879U 28/10/2025
Solicitante: 
中国电建集团贵州工程有限公司
CN_223481879_U

Resumen de: CN223481879U

本申请公开了一种漂浮式海上风电浮体基础施工用负压承台,包括:漂浮式机组的浮体基础与吸力承台的橡胶包裹层对接接触后,发生弹性密封接触,空压机通过压力控制阀将桶底内部空气抽真空,使漂浮式机组的浮体基础在吸力承台上保持稳定位置支撑,在需调整浮体基础与吸力承台对接位置时,通过压力控制阀向桶底内输入空气形成轻微高压,浮体基础只有重力调整,而没有受到磁吸力影响,解决了浮体基础在与承台对接后受到磁吸力的影响对位过程不方便调整的问题。

一种改进的风力发电机叶片电脉冲除冰装置

NºPublicación:  CN223482822U 28/10/2025
Solicitante: 
长江大学
CN_223482822_U

Resumen de: CN223482822U

本实用新型涉及风电设备技术领域,尤其涉及一种改进的风力发电机叶片电脉冲除冰装置。风力发电机叶片包括叶片本体,叶片本体内具有空腔,除冰装置包括除冰控制器、脉冲电源以及与脉冲电源并连的多组脉冲除冰单元,任一组脉冲除冰单元都包括脉冲线圈和金属片,金属片的面积大于脉冲线圈的面积,脉冲线圈跟脉冲电源电线连接,金属片和脉冲线圈固定于叶片本体内或空腔的腔壁上,金属片和脉冲线圈正对设置且存在相对面空隙,多组脉冲除冰单元间隔分布在风力发电机叶片上。本实用新型对现有电脉冲除冰技术进行改进,简化了风力发电机叶片电脉冲除冰装置的结构,提高了实用性和安全性的同时降低了安装成本,能够在节约能量的同时达到高效除冰的目的。

一种轻量化风电桁架式塔架连接节点

NºPublicación:  CN223482812U 28/10/2025
Solicitante: 
龙源启东风力发电有限公司
CN_223482812_U

Resumen de: CN223482812U

本实用新型公开了一种轻量化风电桁架式塔架连接节点,包括节点连接管、斜杆。本实用新型,斜杆与节点连接管连接时,节点连接管通过内侧壁设置的多组竖筋提高自身强度,同时在节点连接管外壁还焊接有加固套,通过加固套进一步提高节点连接管的强度,提高连接的稳定性,在加固套外壁设置具有与斜杆外形相适配的连接腔的节点固定座,斜杆插入连接腔后,将工字型斜杆的竖长边和两组横短边分别通过多组第二铆钉和第一铆钉与节点固定座铆合固定,即斜杆与节点连接管连接的一端被全包围式固定,使得连接状态非常稳定,且节点固定座外壁还设置有四组斜筋,更进一步提升连接稳定性。

一种风力发电架设装置

NºPublicación:  CN223482816U 28/10/2025
Solicitante: 
科图(宁夏)国际新能源有限公司
CN_223482816_U

Resumen de: CN223482816U

本实用新型涉及风力发电装置技术领域,提供一种风力发电架设装置,包括下杆体,下杆体外表面固定设置有两个固定板,两个第一连接板,分别转动连接在两个固定板外表面,电控液压杆收缩带动转动块移动,带动两个第一连接板在固定板表面转动,带动两侧第二连接板转动,带动转臂绕固定板转动,转臂带动上杆体相对下杆体进行转动弯折,通过上杆体弯折提高装置灵活性,两侧第一连接板表面设置的两个第一阻尼降低转臂和上杆体向下杆体方向进行转动弯折的速度,提高装置稳定性,两个安装板配合第二螺栓和第二螺母对下杆体和上杆体进行紧固连接,第一螺母和第一螺栓对底板进行稳固安装。

风力机叶片的支撑结构和风力发电设备

NºPublicación:  CN223482806U 28/10/2025
Solicitante: 
三一(巴彦淖尔)风电装备有限公司
CN_223482806_U

Resumen de: CN223482806U

本实用新型公开了一种风力机叶片的支撑结构和风力发电设备,涉及风力机叶片的支撑装置技术领域,其中,多个风力机叶片沿主轴的周向间隔分布,各风力机叶片设置有连接区;该风力机叶片的支撑结构包括柔性连接件和多个滑轮组件,滑轮组件的数量与风力机叶片的数量一致且一一对应设置,各滑轮组件安装于对应的风力机叶片的连接区;柔性连接件围设于主轴外,柔性连接件通过多个滑轮组件与多个风力机叶片活动连接,以使柔性连接件形成串连多个风力机叶片的支撑环。本实用新型通过柔性连接件和滑轮组件的配合,能够优化风力机叶片的受力分布,减轻叶片根部的负担,提高风力发电机的整体性能和可靠性,延长风力机叶片的使用寿命。

自发电装置及输电线路动态增容用监测设备

NºPublicación:  CN223482805U 28/10/2025
Solicitante: 
华电新能源集团股份有限公司湖南分公司湖南联智科技股份有限公司
CN_223482805_U

Resumen de: CN223482805U

本实用新型涉及自发电监测设备技术领域,尤其涉及一种自发电装置及输电线路动态增容用监测设备。自发电装置包括安装主体、立杆、扰流板、异形罩壳和发电模块;所述立杆竖直设置于所述安装主体上;所述扰流板沿竖直方向设置,且所述扰流板通过所述立杆与所述异形罩壳连接;所述异形罩壳转动设置于所述安装主体上,所述异形罩壳内形成有沿所述扰流板长度方向设置的通风通道;所述发电模块设置于所述通风通道内,且所述发电模块能够在风力的作用下发电。本实用新型中的扰流板在风力的作用下转动并通过立杆带动异形罩壳转动,以使通风通道中的发电模块始终朝向风向,有效地提高了发电模块的发电效率,从而保证自发电装置的供电效率。

风力发电机冷却系统及风力发电机

NºPublicación:  CN120845286A 28/10/2025
Solicitante: 
远景能源有限公司
CN_120845286_PA

Resumen de: CN120845286A

本申请公开了一种风力发电机冷却系统及风力发电机。其中,风力发电机冷却系统包括喷淋设备、储水箱和除湿机,储水箱与喷淋设备连通,储水箱用于向喷淋设备供水,除湿机设于风力发电机的机舱内部,并与储水箱连通,除湿机具有内进气口、外进气口和出气口,内进气口与机舱内部连通,外进气口与机舱外部连通,除湿机通过内进气口和/或外进气口吸入的湿空气,将湿空气处理为干空气后经出气口排入机舱内部,并将除湿机处理过程中生成的水分输送至储水箱。本申请提供的技术方案,无需依赖人工搬运或外部动力源传输补水,降低水源获取成本。

用于布置海上风力发电系统的半潜式复合减摇支撑平台

NºPublicación:  CN120840813A 28/10/2025
Solicitante: 
中国电建集团成都勘测设计研究院有限公司
CN_120840813_PA

Resumen de: CN120840813A

本发明公开了一种用于布置海上风力发电系统的半潜式复合减摇支撑平台,属于海上风力发电设备设计制造技术领域。提供一种能依据监测到的实时摇摆幅度进行主动干预,有效减小摇摆幅度的半潜式复合减摇支撑平台。该半潜式复合减摇支撑平台包括风力发电机组、系泊系统、支撑连接架、垂荡支撑增稳系统和复合减摇稳定装置,垂荡支撑增稳系统通过复合减摇稳定装置布置在支撑连接架的下方,风力发电机组布置在支撑连接架上,系泊系统的上端与垂荡支撑增稳系统固定连接,下端与海床的相应位置固定锚接;半潜式复合减摇支撑平台通过复合减摇稳定装置监测其实时摇摆状况,在复合减摇稳定装置和垂荡支撑增稳系统的配合下调整减轻海上风力发电系统的摇摆幅度。

一种智能电网削峰填谷调度装置

NºPublicación:  CN120855458A 28/10/2025
Solicitante: 
常州市萌宝机器人科技有限公司
CN_120855458_PA

Resumen de: CN120855458A

本发明涉及电力调度技术领域,提出了一种智能电网削峰填谷调度装置,包括底座,底座顶部固定连接有支撑柱,支撑柱的顶部设置有风力发电结构,支撑柱的外侧固定连接有光伏板,储能设备上设置有冷却机构,冷却机构包括固定连接在储能设备内侧的冷却盘管,底座的外侧固定安装有泵体,泵体的进口端固定连接进水管,进水管的进口端固定连接有水箱,泵体的出口端固定连接有导水管,导水管的出口端与冷却盘管的进口端接通,冷却盘管的出口端固定连接有回水管,回水管的出口端与水箱内部接通,底座的内侧设置有传动机构。本发明通过叶轮的转动可以直接将风能转化为泵体的机械动力,驱动冷却水循环,规避传统双重转换损耗,能源利用率大大提升。

一种风力发电机机舱罩运输系统

NºPublicación:  CN120845260A 28/10/2025
Solicitante: 
沁阳市三源玻璃钢有限公司
CN_120845260_PA

Resumen de: CN120845260A

本发明公开了一种风力发电机机舱罩运输系统,涉及到机舱罩运输技术领域,包括:支撑装置,用于对机舱罩支撑;由捆扎带、止回锁紧装置、收紧装置和外框架组成的捆扎组件;捆扎带,用于与止回锁紧装置和收紧装置配合对机舱罩进行捆扎;止回锁紧装置,用于实现捆扎带的收紧及止退;收紧装置包括安装结构和收卷结构;本发明收卷结构能带动捆扎带收紧捆绑机舱罩,当捆扎带产生永久性拉伸的形变时或因捆扎带滑动导致对机舱罩捆绑松动、紧固失效时,收卷结构自动转动缠绕捆扎带,有效保持捆扎带的捆扎力度,避免了因捆扎松动导致机舱罩在运输过程中发生晃动损坏,且降低人工干预,提高了运输的安全性和便利性。

一种集成风能-太阳能-雨水势能-波浪能的多能协同发电平台

NºPublicación:  CN120845252A 28/10/2025
Solicitante: 
江苏大学中船澄西船舶修造有限公司
CN_120845252_PA

Resumen de: CN120845252A

本发明提供了一种集成风能‑太阳能‑雨水势能‑波浪能的多能协同发电平台,属于清洁能源发电技术领域。该平台包括风力发电组件、太阳能光伏发电组件、多级势能发电组件、波浪能发电组件、储电系统、塔架及机舱;塔架为管柱型,顶部设机舱,底部固定于海床或浮动于海面,用于连接各发电组件;风力发电组件位于塔架上端,太阳能光伏发电组件位于塔架外部,多级势能发电组件含内置于塔架的多级势能发电装置及与机舱合一的雨水收集装置,所述波浪能发电组件用于利用波浪的波动产生电能;储电系统位于塔架内部储存电能。本发明通过整合四类能源实现多维度时空互补,提升供电连续性,复用支撑结构提高空间利用率并降低成本。

一种多层联轴式局域垂直轴型风力发电设备

NºPublicación:  CN120845244A 28/10/2025
Solicitante: 
四川天机创科智能科技有限责任公司
CN_120845244_PA

Resumen de: CN120845244A

本发明公开了一种多层联轴式局域垂直轴型风力发电设备,涉及风力发电设备技术领域,包括:固定块,与所述固定轴固定连接;固定槽,开设于所述固定块上;夹持机构,设置于所述支撑盘上,用于对固定盘进行快速的夹持固定;夹持块,具有两个,且两个夹持块对称设置于所述固定槽内,与固定槽滑动连接;夹持板,与所述夹持块固定连接;调节机构,设置于所述固定轴上,用于调节发电设备的高度;通过设置夹持机构、夹持块、夹持板和固定块、固定槽,实现了对支撑叶片进行快速的夹持固定,便于对支撑叶片进行安拆;通过设置调节机构,实现了对发电设备的高度进行相应的调节。

模块化预制风力发电机组塔筒基础

NºPublicación:  CN120845256A 28/10/2025
Solicitante: 
吉能通榆绿电有限公司
CN_120845256_PA

Resumen de: CN120845256A

本发明公开了一种模块化预制风力发电机组塔筒基础,涉及风力发电机组塔筒基础技术领域,其中,该模块化预制风力发电机组塔筒基础包括预制基础座、多个模块化连接结构和多个模块化减振结构,多个模块化连接结构沿风力发电机组塔筒的周向间隔分布,多个模块化连接结构能拆卸地设置于预制基础座;模块化减振结构的数量与模块化连接结构的数量一致且一一对应设置,多个模块化减振结构共同夹持于风力发电机组塔筒的法兰,且各模块化减振结构能在受到法兰的径向振动时沿法兰的径向伸缩。本发明实现了基础结构的模块化安装与维护,并能有效吸收塔筒法兰的径向振动,解决了传统基础结构刚性连接导致的振动传递问题,提高了风力发电机组的运行稳定性。

一种具有散热机构的风力发电装置

NºPublicación:  CN120845287A 28/10/2025
Solicitante: 
吉林天晟新能源科技有限公司
CN_120845287_PA

Resumen de: CN120845287A

本发明涉及风力发电技术领域,且公开了一种具有散热机构的风力发电装置,包括扇叶,所述扇叶右侧固定连接有旋转杆,所述旋转杆右侧转动连接有水平柱,所述水平柱右侧固定连接有出风口,所述水平柱圆周面固定连接有风冷机构,所述水平柱圆周面固定连接有扫灰机构,所述扫灰机构右侧固定连接有除灰机构,所述水平柱圆周面固定连接有支撑柱,所述水平柱内壁固定连接有电机,所述水平柱内壁固定连接有清扫机构,所述清扫机构内壁滑动连接有聚集机构,所述电机圆周面接触有水冷机构,本发明水箱内的水通过水泵进入出水管,在通过包围在电机圆周面的水管进入进水管,从而可以使电机降温防止电机温度过高而损坏。

漂浮式风机基础的被动减摇系统及风机基础

NºPublicación:  CN120840817A 28/10/2025
Solicitante: 
中国海洋工程装备技术发展有限公司
CN_120840817_PA

Resumen de: CN120840817A

本发明提供了一种漂浮式风机基础的被动减摇系统及风机基础,包括第一水舱、第二水舱和第三水舱,第一水舱、第二水舱以及第三水舱围合形成三角形结构。每个水舱包括水平主体段、第一竖直段和第二竖直段,每个水舱的第一竖直段和第二竖直段分别位于水平竖直段的两端,第一竖直段通过水平竖直段连通于第二竖直段;其中,相邻的两个水舱中相邻的两个竖直段位于风机基础的同一立柱内。沿各水舱的延伸方向,各水舱的固有频率与风机基础在对应方向的固有频率相差不超过5%。第一水舱、第二水舱以及第三水舱均设有第一控制阀。解决了现有技术中存在的风机基础减摇设备效果差、易失效且能耗大的问题。

一种风电场实时仿真建模系统和方法

NºPublicación:  CN120850572A 28/10/2025
Solicitante: 
富有特(北京)科技有限公司
CN_120850572_PA

Resumen de: CN120850572A

本发明涉及风力发电技术领域,本发明公开了一种风电场实时仿真建模系统和方法;包括计算出风电机组在仿真周期内的风力发电功率,将风电机组划分至机组群内,从机组群中识别出目标风电机组,实时采集目标风电机组的综合运行参数,构建出具有子模型和并网通道的风电场模型,建立虚拟链路,配置出控制虚拟链路通断状态的通断触发条件;本发明能够进行局部区域化的仿真建模,确保同一个机组群内的风电机组可以形成独立的子模型,并能够将多个独立的子模型电网系统之间起到整体性的动态关联操作,满足风电场内风电机组与电网系统之间的并网输电状态的准确控制需求,也实现各个子模型与电网系统之间关联状态适应性控制的效果。

一种双轮毂叶片组可同向转动的垂直轴风力发电机

NºPublicación:  CN120845238A 28/10/2025
Solicitante: 
山东诚盟新能源科技有限公司
CN_120845238_PA

Resumen de: CN120845238A

本发明公开了一种双轮毂叶片组可同向转动的垂直轴风力发电机,包括塔架顶部的差速器传动系统、双轮毂叶片组、塔架内垂直布置的万向传动轴及底部的变速箱与发电机。差速器将叶片组的水平旋转转换为垂直输出轴的逆时针旋转,经传动系统驱动发电机。本发明融合水平轴与垂直轴优势,在同等功率下缩短叶片长度20%‑35%、降低塔架高度20%‑25%,并提升维护便利性及土地利用率,适用于低风速区域及紧凑型风电场。

叶片加工方法、固定件、叶片及风力发电机组

NºPublicación:  CN120840112A 28/10/2025
Solicitante: 
中材科技风电叶片股份有限公司
CN_120840112_PA

Resumen de: CN120840112A

本申请涉及一种叶片加工方法、固定件、叶片及风力发电机组,其中,叶片加工方法包括:提供模具,模具具有型腔;在型腔中铺设主梁组件以及基材组件以得到待成型基体,主梁组件包括多个支撑板组以及一个以上固定件,多个支撑板组沿第一方向延伸并沿第二方向依次排布,各支撑板组分别包括多块沿第三方向层叠设置的支撑板,固定件包括两个第一区以及连接于两个第一区之间的第二区,第一区的硬度大于第二区的硬度,各固定件的两个第一区分别连接于支撑板组沿第三方向相对的两侧表面,且第二区沿第二方向夹设于相邻支撑板组之间;使待成型基体固化成型以得到叶片。本申请中的叶片加工方法能够提高产品良率。

一种基于LoRa技术的电力站点无线通信系统

NºPublicación:  CN120857221A 28/10/2025
Solicitante: 
中国南方电网有限责任公司超高压输电公司曲靖局
CN_120857221_PA

Resumen de: CN120857221A

本发明公开了一种基于LoRa技术的电力站点无线通信系统,系统包括多个站点LoRa无线通信设备,与站点LoRa无线通信设备无线通信的中继器,以及与中继器无线通信的服务器终端;站点LoRa无线通信设备包括处理器,信号接受模块,电源模块,LoRa通信发射模块、LoRa通信接收模块、数据存储模块和信号接口模块;中继器包括MCU,LoRa发送模块和LoRa接收模块,可实时的中继传输无线信号。本发明具有独立的不依赖电力站点供电的LoRa电力站点无线通信系统,通过可再生能源供电的中继器接力进行无线信号传输,具有更高的可靠性和低维护需求。有望在未来的电力系统建设与改造中发挥关键作用,助力实现电力资源的优化配置与高效管理,为电力行业的可持续发展提供强大助力。

一种风电机组叶片覆冰故障检测方法

NºPublicación:  CN120845285A 28/10/2025
Solicitante: 
金风科技股份有限公司
CN_120845285_PA

Resumen de: CN120845285A

本发明公开了一种风电机组叶片覆冰故障检测方法,括以下步骤:采用Relief算法对风电机组SCADA系统收集的多维度特征数据进行特征选择,根据特征对区分叶片覆冰与正常状态的贡献评估特征权重,筛选出关键特征;基于筛选出的特征数据及其可视化图并结合覆冰规律,构建风速—功率的新特征X1和环境温度—机舱温度的新特征X2;构建交叉LSTM预测模型,根据多组数据的特点对其中一组数据进行预测,生成残差信号;涉及风电机组故障检测技术领域,本发明通过特征选择和改进LSTM算法,本发明能够更准确地捕捉叶片覆冰过程中的时序变化特征,提高故障检测的准确率,有效提高了检测的准确性。

一种多能互补供热温室系统

NºPublicación:  CN120836341A 28/10/2025
Solicitante: 
上海中如智慧能源集团有限公司
CN_120836341_PA

Resumen de: CN120836341A

本发明公开了一种多能互补供热温室系统。本发明中,通过整合太阳能、地热能、生物质能等多元热源与仿生多孔热能存储模块,显著提升了能源供应的稳定性与互补性。太阳能模块在光照充足时高效集热,地热能模块提供稳定的基础热量,生物质能模块则可灵活补充阴雨天或夜间的用能缺口,三者通过仿生多孔存储模块的热交换接口协同输入,有效解决了单一能源受气候、时间限制的短板,确保温室全天候获得持续热能供给,通过多参数传感器实时监测各模块运行状态,精准调节电动阀门、循环泵等执行设备,动态平衡不同热源的输入比例与存储模块的释热节奏,减少了热能在传输、存储过程中的无谓损耗,为温室作物生长创造了更稳定、可控的环境条件。

一种腹板节流型TLCD液体阻尼器、风电叶片及制作方法

NºPublicación:  CN120845239A 28/10/2025
Solicitante: 
广东明阳新能源材料科技有限公司
CN_120845239_PA

Resumen de: CN120845239A

本发明公开了一种腹板节流型TLCD液体阻尼器、风电叶片及制作方法,包括前缘瓣管、后缘瓣管和两个节流组件,两个节流组件沿腹板长度方向间隔布置,所述前缘瓣管的两端分别为第一前缘承台口和第二前缘承台口,所述后缘瓣管的两端分别为第一后缘承台口和第二后缘承台口,将前缘瓣管和后缘瓣管分别设置于叶片的前缘内腔和后缘内腔,使第一前缘承台口和第二前缘承台口分别对准两个节流组件,使第一后缘承台口和第二后缘承台口分别对准两个节流组件,且前缘瓣管和后缘瓣管内部填充有阻尼液。本发明能够有效解决阻尼器在叶片内安装时需要贯穿腹板的技术难题,且制作工艺简单、成本低、便于安装、阻尼效果好、能够实现终生免维护。

风电设备雷击防护装置

NºPublicación:  CN120845281A 28/10/2025
Solicitante: 
华能新疆三塘湖风力发电有限责任公司
CN_120845281_PA

Resumen de: CN120845281A

本申请涉及风力发电技术领域,尤其涉及一种风电设备雷击防护装置,包括支撑板和云端服务器,所述支撑板的底面固定连接有两个支撑座,两个所述支撑座的上表面均安装有电液推杆,两个所述电液推杆的伸缩端共同连接有升降板,所述升降板的固定连接有螺纹连接座,所述螺纹连接座的内圈螺纹连接有接闪器。本风电设备雷击防护装置,通过升降板和接闪器向上移动,能够增加接闪器的高度,从而显著扩大接闪范围,有效降低风机叶片处于防雷保护盲区的风险,提高了对风电设备整体的雷击防护性能,保证风电设备运行的稳定性与可靠性,并且雷电发生后,能够使接闪器向下移动收纳,可以减少其体积,能够使风力发电机更好的接收风能进行发电工作。

一种“机-群-域”架构的风电智能运维系统

NºPublicación:  CN120845248A 28/10/2025
Solicitante: 
中国大唐集团科学技术研究总院有限公司
CN_120845248_PA

Resumen de: CN120845248A

本申请公开一种“机‑群‑域”架构的风电智能运维系统,包括:多个风机管理模块、多个场群管理模块和区域管理模块;风机管理模块用于根据风机的运行数据和环境参数,调整风机的控制参数,场群管理模块用于根据风机的运行数据和天气预测信息进行电量预测,得到场群发电预测数据,区域管理模块用于根据每个场群管理模块的场群发电预测数据和电网的实际载荷对风电场群进行调度,生成场群调度信息,场群管理模块用于根据场群调度信息、风机的运行数据和环境参数,生成风机控制指令并发送至风机管理模块。本申请不仅实现单台风机的管理控制,还实现风电场群和风电区域的管理控制,实现风电场全域的无人化、智能化管理,提升风电利用效率和电网稳定性。

风力发电机组安全链触发状态下的偏航控制系统

NºPublicación:  CN120845249A 28/10/2025
Solicitante: 
海南州华豫新能源开发有限公司
CN_120845249_PA

Resumen de: CN120845249A

本说明书实施例提供风力发电机组安全链触发状态下的偏航控制系统,包括:安全链信号解耦模块,用于将机组主安全链信号拆分为主安全链信号和偏航使能信号,主安全链信号维持原有保护功能,偏航使能信号经逻辑与门处理后输入偏航控制单元;偏航控制指令生成模块,用于根据风向传感器数据和机组状态数据生成动态偏航指令,并在安全链触发时降级为应急偏航模式;时序优化模块,用于控制电磁刹车的泄压、延时释放和启动时序;硬件适配模块,用于根据控制器型号选择适配的硬件改造方案。通过本方案的时序优化模块,在安全链触发时仍能执行分阶段偏航控制,既维持了保护功能又实现了动态响应,填补了行业技术空白。

基于减载运行的直驱风机惯量及调频支撑能力评估方法

NºPublicación:  CN120855547A 28/10/2025
Solicitante: 
浙江大学国网浙江省电力有限公司
CN_120855547_PA

Resumen de: CN120855547A

本发明公开了一种基于减载运行的直驱风机惯量及调频支撑能力评估方法,包括:当交流系统频率波动、直驱风机提供惯量支撑时,计算风轮转速变化过程中产生的风能捕获功率变化量;根据风能捕获功率变化量,求解风机风轮在惯量响应过程中的等效惯量时间常数;基于风机风轮等效惯量时间常数,计算风机在超速减载控制下附加虚拟惯量控制时的虚拟惯量时间常数;根据风电机组参数及运行状态,计算风电机组在减载控制下可提供的上调/下调备用容量。本发明有助于准确量化直驱风机在电网频率波动时采用减载运行模式下调用风轮转子动能提供惯量支撑的能力及调用备用容量参与一次调频的能力,对维护高比例新能源渗透的电力系统频率稳定具有重要意义。

一种半潜-Spar混合式风机基础及海上安装方法

NºPublicación:  CN120845258A 28/10/2025
Solicitante: 
中国电建集团华东勘测设计研究院有限公司哈尔滨工程大学
CN_120845258_PA

Resumen de: CN120845258A

本发明公开了一种半潜‑Spar混合式风机基础及海上安装方法,属于海上风力发电技术领域,包括半潜式浮体,半潜式浮体的中心位置插设有Spar立柱式浮体,半潜式浮体通过锚链与锚固基础连接;半潜式浮体上均匀设置有若干楔合凹槽,半潜式浮体中心位置设置有与Spar立柱式浮体相适配的圆柱形贯穿通道;Spar立柱式浮体上均匀设置有与若干楔合凹槽相适配的若干长条状连接楔块,Spar立柱式浮体贯穿半潜式浮体并通过长条状连接楔块与楔合凹槽楔合连接。本发明采用上述的一种半潜‑Spar混合式风机基础及海上安装方法,可以提升风机基础的稳定性、简化施工流程、降低开发成本。

一种海上风电筒体翻转装置

NºPublicación:  CN120845254A 28/10/2025
Solicitante: 
巨杰科技发展集团股份有限公司
CN_120845254_PA

Resumen de: CN120845254A

本发明属于海洋风电工程技术领域,具体的说是一种海上风电筒体翻转装置,包括浮游平台,所述浮游平台的左端设置有牵引端头;装载部件,通过串联部件均匀设置在浮游平台的上部;拼装筒体,均匀设置在装载部件的内部。该装置能够将装载的拼装筒体设置在海平面上,配合起吊装置,完成拼装筒体的组装工作,而每段平放的拼装筒体在翻转为竖直状态的过程中,塔筒底端所承受的重量会逐渐增大,进而导致塔筒底端容易发生挤压形变现象,所以对装载部件进行改装,在拼装筒体翻转的过程中,配合拼装筒体不断变化的重心部位,对拼装筒体进行有效的托举工作,从而通过减小拼装筒体底端承压的方式,避免拼装筒体底端发生挤压形变的问题。

一种风电叶片自主修复机器人及其多源协同作业方法

NºPublicación:  CN120839768A 28/10/2025
Solicitante: 
天津大学浙江国际创新设计与智造研究院
CN_120839768_PA

Resumen de: CN120839768A

本发明提供一种风电叶片自主修复机器人及其多源协同作业方法,包括用于修复作业的机器人本体、三合一牵引绳、空压机、卷扬机,所述空压机、卷扬机设置在风电机舱上,所述三合一牵引绳的一端与机器人本体相连,所述三合一牵引绳由远程PU气管、安全绳、电缆线构成,所述远程PU气管与空压机相连,所述安全绳的另一端收卷在卷扬机上,所述电缆线接到风电机场的内部电源。在实现机器人本体从地面到叶片表面时,通过安装在风电塔筒上的卷扬机将机器人本体抬升至叶片表面附近,在机器人抬升的过程中,机器人本体下端引出两根牵引绳,由地面操作人员辅助牵引,防止机器人本体抬升时受环境风场的影响而水平偏离叶片表面。

一种叶根载荷标定数据监控方法、系统、设备及介质

NºPublicación:  CN120845273A 28/10/2025
Solicitante: 
中车山东风电有限公司
CN_120845273_PA

Resumen de: CN120845273A

本发明提供一种叶根载荷标定数据监控方法、系统、设备及介质,属于涉及风电机组控制技术领域,根据风资源参数及IEC载荷计算标准,对机组载荷进行迭代,获取机组叶根载荷设计最大值;对载荷进行坐标变换以及对载荷信号进行移动均值滤波处理;分别计算三叶片叶根载荷均值以及每只叶片叶根载荷与三叶片叶根载荷均值之差;将差值与叶根挥舞方向载荷理论最大值进行比对判断,判断是否大于载荷偏差告警阈值;若大于,则发出风机故障告警,并根据载荷偏差查桨距角限制表执行变桨优化动作。方法可以对叶根载荷标定数据进行监控,还能够不断优化风机的运行状态,降低载荷偏差,提高风机的安全性和稳定性。

防止轴承座处轴电流形成的介电隔离环结构及安装方法

NºPublicación:  CN120855727A 28/10/2025
Solicitante: 
中信重工机械股份有限公司
CN_120855727_PA

Resumen de: CN120855727A

本发明提供了一种防止轴承座处轴电流形成的介电隔离环结构及安装方法,属于双馈风力发电机件技术领域。该结构包括环状本体,环状本体为绝缘结构件,环状本体的内壁上设有与外部连通的容纳槽,容纳槽内放置有固态润滑剂,环状本体被配置为通过热套工艺套装在发电机的轴承座内圈上,以供发电机的端盖套装在环状本体上,环状本体与端盖刚性连接。该发明利用绝缘结构件制成的环状本体,可将轴承座内圈和端盖隔离开来,利用环状本体的绝缘特性和支撑性能,避免轴承通过轴承座内圈与端盖电连接而产生轴电流,保证轴承的使用寿命和发电机的结构稳定性,同时,利用环状本体内壁的固态润滑剂和容纳槽,可保证环状本体的安装便捷稳定性。

风力发电设备的运行维护管理系统及其方法

NºPublicación:  CN120850153A 28/10/2025
Solicitante: 
杨先军
CN_120850153_A

Resumen de: CN120159699A

The invention relates to the technical field of intelligent management, and particularly discloses an operation maintenance management system and method for wind power generation equipment, and the system employs an artificial intelligence technology based on deep learning to monitor and analyze the operation data and environment data of the wind power generation equipment, and captures the operation state time sequence change characteristics of the wind power generation equipment. And whether the performance of the equipment is abnormal or not is intelligently judged based on the time sequence response characteristics of the operation state of the wind power generation equipment relative to the environment data. Therefore, real-time monitoring, performance evaluation and intelligent maintenance of the wind power generation equipment can be realized, so that the operation efficiency and stability of the wind power generation equipment are improved.

一种风机叶片损伤识别系统与风机

NºPublicación:  CN120845263A 28/10/2025
Solicitante: 
中国长江三峡集团有限公司
CN_120845263_PA

Resumen de: CN120845263A

本发明提供了一种风机叶片损伤识别系统与风机,属于风机技术领域,包括:声阵列模块,包括多个阵列排布的声音传感器,被配置为采集风机叶片运行时的声音数据;图像采集模块,被配置为在风机叶片运行至预设位置时,采集风机叶片的图像数据;处理模块,分别与声阵列模块和图像采集模块连接,处理模块包括处理器端,处理器端部署有主核与副核;其中,主核被配置为对所述声音数据进行异常识别,并在声音数据异常的情况下,通过共享内存向副核发送使能信号;副核,被配置为响应使能信号,基于图像数据识别风机叶片的损伤类型。通过本实施例提供的风机叶片损伤识别系统,可以实现在风机运行的状态下,准确识别风机叶片的损伤。

一种桥梁用自动追踪型能源集成式智能挡风障

NºPublicación:  CN120844499A 28/10/2025
Solicitante: 
厦门中平公路勘察设计院有限公司厦门市公路事业发展中心厦门理工学院
CN_120844499_PA

Resumen de: CN120844499A

本发明涉及挡风障技术领域,公开了一种桥梁用自动追踪型能源集成式智能挡风障。该装置包括挡风障本体,其内部自上而下依次设有风力发电组件、光能发电组件、逆变器、汇流箱和蓄电池。本发明中可通过调节电机转速,实现光伏板对太阳光的自动追踪,始终保持最佳入射角,提高光能利用效率。同时,光伏板设于具有防护功能的强固件内,在实现自动开合的过程中,有效提升其抗风能力与结构稳定性。该挡风障适用于桥梁道路环境,在大风条件下仍能实现风能与光能的高效协同发电,并对电能进行储存利用。

基于深度学习的风电机组智能故障诊断方法

NºPublicación:  CN120845264A 28/10/2025
Solicitante: 
福建国电风力发电有限公司福清分公司北京华控智加科技有限公司
CN_120845264_PA

Resumen de: CN120845264A

本发明公开了一种基于深度学习的风电机组智能故障诊断方法,S1.实时采集风电机组运行过程中产生的风电机组监测数据集;S2.生成预处理后监测数据;S3.将预处理后监测数据输入时序卷积网络模型中;S4.利用改进Snake优化算法对时序卷积网络模型中的关键超参数进行全局搜索与局部微调;S5.使得到风电机组齿轮断齿故障诊断模型;S6.生成实时的断齿故障诊断结果;S7.当实时断齿故障诊断结果达到或超过预设的异常阈值时,自动触发故障报警及早期预警机制,并将诊断结果及报警信息反馈给运维人员。本发明有效提升了模型在复杂工况下对断齿故障的识别能力。

一种风力发电机叶片声学双路径异常检测方法及系统

NºPublicación:  CN120845274A 28/10/2025
Solicitante: 
东北电力大学
CN_120845274_PA

Resumen de: CN120845274A

本发明涉及一种风力发电机叶片声学双路径异常检测方法及系统,通过采集多路声音信号并结合SCADA系统筛选有效数据。建立噪声模型,采用动态谱减法进行噪声抑制,再进行时间对齐。分别从时间对齐后的叶片根部声音信号中构建叶片结构特征集,从塔筒声音信号构建塔筒气动特征集。本方法利用Transformer网络的自注意力机制融合叶片结构特征集与塔筒气动特征集生成联合特征向量;通过记忆增强型深度自编码器计算重构误差转换为结构异常概率。同步分析扫塔脉冲的幅值、脉宽及互相关一致性,生成综合一致性指标并转换为扫塔异常概率。最终,基于实时功率占比对上述两类异常概率进行动态加权融合,生成综合异常概率判定叶片状态。该方法深度融合多源声学信号与运行数据,运用深度特征提取与自适应融合技术,可精准识别叶片结构损伤与气动异常,为风电叶片预防性维护提供技术支撑。

一种漂浮式海上风电装备健康安全管控系统及方法

NºPublicación:  CN120845267A 28/10/2025
Solicitante: 
西安热工研究院有限公司
CN_120845267_PA

Resumen de: CN120845267A

本发明公开了一种漂浮式海上风电装备的健康安全管控系统及方法,包括监测系统模块、阈值预警模块、在役检测数据分析模块、结构健康状态评估模块、运维建议模块、设备管理模块以及三维可视化展示模块。本发明通过多源传感器实时采集浮式基础与塔筒的振动、姿态、应变等参数,建立三维可视化模型实现动态监测,采用三级预警机制实现闭环管理,结合仿真模型与实测数据进行结构健康评估,并生成智能运维建议。本发明解决了漂浮式海上风电装备在复杂海洋环境下实时监测难、预警滞后、运维效率低等问题,显著提升了结构安全性与运维效率。

一种海上风电机组故障预警监测装置

NºPublicación:  CN120845265A 28/10/2025
Solicitante: 
中国电建集团贵阳勘测设计研究院有限公司
CN_120845265_PA

Resumen de: CN120845265A

本发明公开了一种海上风电机组故障预警监测装置,具体涉及风电机组技术领域,包括:立柱,所述立柱上设置有风力机组,所述风力机组包括风扇机构及风力发电机构,所述风扇机构包括设置在风力发电机构的三个连接杆,所述连接杆上设置有叶片,所述风力机组上卡接有对内部进行防护的遮盖罩,所述风力发电机构上设置有温度传感器,所述连接杆的侧壁固定安装有振动传感器,所述立柱的中端及底部区域均固定安装有倾角传感器,所述立柱的底端设置有控制箱。本发明通过三个不同的传感器的配合,可以对扇叶轴承转动情况以及立柱倾斜程度进行监测,从而使得风电机组在发生故障的时候,可以快速对风电机组进行维修。

一种风机叶片不停机状态下的智能拍摄控制方法及系统

NºPublicación:  CN120845276A 28/10/2025
Solicitante: 
苏州智轻光电科技有限公司
CN_120845276_PA

Resumen de: CN120845276A

本发明涉及图像拍摄控制技术领域,具体为一种风机叶片不停机状态下的智能拍摄控制方法及系统,包括获取目标风机的叶片几何特性,将叶片沿径向划分为多个速度特性区间,建立速度特性区间与径向位置的对应关系;通过传感器实时监测叶轮转速和叶片角度位置,基于叶轮转速和径向位置计算速度特性区间的实时线速度,计算速度特性区间对应的最优曝光时间,并结合当前光照条件和成像质量,确定速度特性区间对应的光圈值和感光度参数;基于叶轮转速和叶片角度位置,预测目标叶片速度特性区间到达预设拍摄位置的时间,生成拍摄控制信号,在目标叶片到达拍摄位置时,切换拍摄参数,获取速度特性区间图像,当图像质量低于预设阈值时,调整拍摄参数范围。

一种共轴式双轮风力发电系统及其协同驱动方法

NºPublicación:  CN120845251A 28/10/2025
Solicitante: 
南通理工学院
CN_120845251_PA

Resumen de: CN120845251A

本发明公开了一种共轴式双轮风力发电系统及其协同驱动方法,包括以下步骤:步骤S1:根据测风仪检测的风场方向和风速动态调节小轮扇叶的倾角;步骤S2:通过设置于小轮与大轮之间的导流板,引导高速气流定向冲击大轮的叶尖区域;步骤S3:根据转矩和角加速度判定大轮是否转动;步骤S4:大轮进入稳定转动状态,将与大轮相连的发电装置接入到储电装置中,步骤S5:当环境风场的风速达到后置大轮转动所需的切入风速时,同时调节小轮和大轮的扇叶倾角,实现大轮与小轮功率的叠加输出;通过小轮捕获低风速风能并初步加速气流,结合导流板二次加速形成高速射流,定向冲击大轮叶尖,使大轮在低于自身切入风速的环境下可启动,拓展风机有效工作风速范围。

混合发电系统

NºPublicación:  CN120845235A 28/10/2025
Solicitante: 
国家海洋技术中心
CN_120845235_PA

Resumen de: CN120845235A

本发明公开了一种混合发电系统,涉及发电装置技术领域,包括半潜式平台、风力发电机组和气动式波浪能装置;所述风力发电机组设置于半潜式平台顶部,用于将风能转换为电能;所述气动式波浪能装置搭载于半潜式平台上;所述气动式波浪能装置用于将波浪能转换为电能,且能吸收波浪能以提升半潜式平台稳定性。本发明提供的混合发电系统,既能提高能源利用效率,又能增强平台稳定性。

风电机组偏航极限位置保护方法及装置、电子设备、介质

NºPublicación:  CN120845246A 28/10/2025
Solicitante: 
北京华能新锐控制技术有限公司
CN_120845246_PA

Resumen de: CN120845246A

本公开实施例涉及风电控制技术领域,提供了一种风电机组偏航极限位置保护方法及装置、电子设备、介质,方法包括:响应于风电机组的偏航速度到达额定速度;根据本次偏航的开始时刻和停止时刻分别对应的偏航计数器的脉冲统计值,计算对应的机舱偏航速度实际值;根据偏航系统的工作参数,计算机舱偏航速度参考值;将机舱偏航速度实际值和机舱偏航速度参考值进行比较,根据比较结果,对偏航极限位置进行保护。本公开实施例在不改变硬件设备的前提下,即可对偏航极限位置进行保护,确保风电机组的电缆安全及运行安全。

一种海上风力发电机组及其工作方法

NºPublicación:  CN120845283A 28/10/2025
Solicitante: 
华能(临高)新能源有限公司明阳智慧能源集团股份公司
CN_120845283_PA

Resumen de: CN120845283A

本发明属于风力发电技术领域,具体为一种海上风力发电机组及其工作方法;包括机体、避雷接闪器;所述避雷接闪器位于机体顶部;所述机体上设置有锁止穿插器件;所述锁止穿插器件包括装卸箱体,其固定连接于机体顶部;所述装卸箱体上设置有冗余接闪组件;所述冗余接闪组件包括折弯管道,其一端安装于装卸箱体上,另一端开口朝向机体;所述装卸箱体上安装有旋动转轴;所述旋动转轴上设置有吸能防晃单元;所述吸能防晃单元包括旋动齿轮;得以快速安装与拆卸避雷接闪器与机体顶部,避免拆卸过程复杂影响或降低对避雷接闪器的维护效率,提升在有效作业窗口期内的可完成维护量,使得机组使用过程中的安全性能得以得到充分保障。

一种漂浮式海上风力发电设备用浮体

NºPublicación:  CN120840815A 28/10/2025
Solicitante: 
江苏风界设备制造有限公司
CN_120840815_PA

Resumen de: CN120840815A

本发明公开了一种漂浮式海上风力发电设备用浮体,涉及风力发电浮体技术领域,包括支撑框架和转动座,其转动座通过焊接方式固定安装在支撑框架的上端中心位置处,其立柱的底端插接在转动座的内部位置处,其主浮筒固定安装在支撑框架的下端中心位置处,其副浮筒固定安装在支撑框架的下端且位于主浮筒的四周位置处,且副浮筒通过稳定连接管与主浮筒的内部连通,本发明的技术方案通过按压调节部和主稳定部的联动结构,实现风力冲击下的自平衡,立柱倾斜时带动主稳定部挤压按压调节部,推动活塞改变调节浮筒内配重液分布,倾斜侧通过配重液转移增加浮力,对侧降低浮力,形成反向平衡力矩,同时配备复位弹簧,在风力消散后自动驱动浮体立柱恢复平衡。

一种悬浮式转向装置及其施工方法

NºPublicación:  CN120845280A 28/10/2025
Solicitante: 
柳州欧维姆机械股份有限公司
CN_120845280_PA

Resumen de: CN120845280A

本发明公开了一种悬浮式转向装置,属于风电塔筒技术领域,解决现有转向装置通过塔筒内壁传递转向力导致塔筒结构耐久性下降的问题。它包括多个转向器,还包括钢索,所述的钢索位于混凝土塔筒内,且所述钢索的首尾两端可拆卸连接形成一环向布置的钢索,多个所述的转向器均安装在该环向的钢索上,且每个所述的转向器均径向滑动插接在混凝土塔筒中。本发明的悬浮式转向装置,可以将转向器对塔筒本身的压力转移到环向钢索上,降低塔筒受拉力,且方便对所有预应力钢束进行应力补充。本发明还公开了一种悬浮式转向装置施工方法,该方法可以有效提高施工效率。

一种基于YOLO与大语言模型的风电机组叶片故障检测与诊断方法、系统、设备及存储介质

NºPublicación:  CN120845262A 28/10/2025
Solicitante: 
北京建筑大学
CN_120845262_PA

Resumen de: CN120845262A

本发明公开了一种基于YOLO与大语言模型的风电机组叶片故障检测与诊断方法、系统、设备及存储介质,属于风电设备故障检测领域,包括:采集风电机组叶片图像并进行标签标注,形成包含故障标记的图像数据集;通过图像增强策略进行数据预处理;将数据集输入目标检测模型,输出包含故障识别信息的图像及对应的特征向量;基于获得的特征向量,采用文本映射技术将结构化特征信息转换为自然语言文本描述;基于目标检测模型输出的故障识别图像与文本映射技术转换得到的自然语言文本共同输入大语言模型进行诊断分析输出结果。本发明仅需无人机采集图像,结合YOLO、键值图像文本映射和大语言模型技术,实现叶片故障的检测与诊断,无需复杂的额外设备,降低检测成本。

一种基于阿基米德螺旋结构的多叶旗帜风力发电装置

NºPublicación:  CN120845240A 28/10/2025
Solicitante: 
东华大学
CN_120845240_PA

Resumen de: CN120845240A

本发明公开了一种基于阿基米德螺旋结构的多叶旗帜风力发电装置,涉及风力发电技术领域,包括阿基米德螺旋骨架、柔性织物TENG旗帜、TENG摩擦风道,TENG摩擦风道安装在阿基米德螺旋骨架上,且阿基米德螺旋骨架贯穿TENG摩擦风道;柔性织物TENG旗帜安装在阿基米德螺旋骨架的边缘,柔性织物TENG旗帜的外缘与TENG摩擦风道的内壁滑动连接。本发明一种基于阿基米德螺旋结构的多叶旗帜风力发电装置,螺旋几何的连续曲面设计降低了启动风速阈值,能够将风能高效转化为旋转运动,提升能量转换效率,确保稳定的能量输出,增强了装置的捕风能力,提升能量捕获密度,旗帜的柔性设计可随风速自适应形变,避免强风损坏,提高了装置的耐用性和长期运行的稳定性。

一种具有自动定位功能的风机主齿轮箱

NºPublicación:  CN120845261A 28/10/2025
Solicitante: 
科右前旗新天风能有限公司
CN_120845261_PA

Resumen de: CN120845261A

本发明属于风机主齿轮箱领域,尤其是一种具有自动定位功能的风机主齿轮箱,包括底座,所述底座的顶部滑动安装有纵向调节板,纵向调节板的顶部滑动安装有横向调节板,横向调节板的顶部固定安装有两个固定架,且两个固定架上安装有同一个风机主齿轮箱本体,所述底座的后侧固定安装有固定板,固定板的后侧固定安装有推杆电机一,推杆电机一的输出轴与纵向调节板固定连接,纵向调节板的一侧固定安装有竖板,竖板的一侧固定安装有推杆电机二,推杆电机二的输出轴与横向调节板固定连接。本发明设计合理,通过电动推杆、推杆电机、激光测距仪及各传动、固定机构配合,实现自动定位与精准调节,提升安装效率和精度,保障风机稳定运行。

风力发电机组叶片内气热除冰设备安装支架及安装方法

NºPublicación:  CN120845284A 28/10/2025
Solicitante: 
湖南拓天节能控制技术股份有限公司
CN_120845284_PA

Resumen de: CN120845284A

本发明公开了一种风力发电机组叶片内气热除冰设备安装支架及安装方法。所述安装支架包括鼓风机安装架和加热器安装架,鼓风机安装架和加热器安装架安装在相对叶片腹板平行的叶片后缘腔内表面;鼓风机安装架的鼓风机安装面和加热器安装架的加热器安装面分别呈斜向上分布,鼓风机安装架和加热器安装架相隔间距L依次设置,且加热器安装面和鼓风机安装面具有相同的倾斜角θ,鼓风机安装架和加热器安装架的间距L=S cosθ‑H sinθ‑(L1+L2)/2。本发明可通过一次变桨完成气热除冰系统在一只叶片内的全部气热除冰设备安装,且安装支架、导风管、气流挡板可以同时手糊施工,大幅缩短气热除冰设备的施工安装周期。

一种机舱散热导流罩

NºPublicación:  CN120845288A 28/10/2025
Solicitante: 
南京国电南自新能源工程技术有限公司中国华电集团有限公司青海分公司
CN_120845288_PA

Resumen de: CN120845288A

本发明属于风力发电技术领域,且公开了一种机舱散热导流罩,包括机舱主体,还包括:导热组件,所述导热组件固装于所述机舱主体的端部;导流组件,所述导流组件安装于所述导热组件上。本发明外界气体通过导流罩主体中部的进风口进入导流罩主体内并穿过防护网进入导热组件与机舱主体的内部,通过程序控制使与配重块接触的电磁铁断电,随着导热组件持续传动,清理轮转动至顶端脱离与电磁铁的吸附,在配重块自身重量作用下使导流罩主体沿着导向杆下移,而传动齿轮沿着齿条下移带动清理轮转动,通过清理轮转动对防护网表面附着的灰尘进行清理,提高防护网的通风效率,保证机舱主体散热的效果,避免人工定期清理存在安全隐患的问题。

云边协同风力发电设备故障诊断方法、装置、设备及存储介质

NºPublicación:  CN120845275A 28/10/2025
Solicitante: 
新疆丝路国元新能源有限公司
CN_120845275_PA

Resumen de: CN120845275A

本申请公开了一种云边协同风力发电设备故障诊断方法、装置、设备及存储介质,涉及风力发电技术领域,应用于边缘设备的云边协同风力发电设备故障诊断方法包括:采集风力发电设备的实时风机运行状态数据;将实时风机运行状态数据输入至预设的本地故障诊断模型,由本地故障诊断模型输出第一故障诊断结果;将实时风机运行状态数据和第一故障诊断结果上传至云端设备,以供云端设备根据实时风机运行状态数据以及预设的深度故障诊断模型预测得到第二故障诊断结果,并在第一故障诊断结果与第二故障诊断结果之间的差异过大时将第二故障诊断结果返回边缘设备。本申请解决了目前对于风力发电设备的故障诊断方案无法兼顾时效性和精度的技术问题。

一种风电机组多目标优化的变桨控制系统及方法

NºPublicación:  CN120845245A 28/10/2025
Solicitante: 
金风科技股份有限公司
CN_120845245_PA

Resumen de: CN120845245A

本发明公开了一种风电机组多目标优化的变桨控制系统及方法,包括:气动载荷分析模块,基于叶素动量理论建立叶片挥舞和摆振力矩模型,用于分析载荷来源;气动噪声分析模块,用于分析气动噪声产生机理并建立数学模型;WSA‑ICN优化PID控制器模块,用于优化PID参数以实现系统多目标控制;Coleman变换与逆变换模块,具体涉及风电机组技术领域。本发明在载荷抑制上,通过优化独立变桨控制策略,叶根挥舞弯矩均方差显著降低,相比传统统一变桨控制(CPC)降低29.17%,相比现有独立变桨控制(IPC)降低26.99%,极大值也大幅下降,同时俯仰和偏航力矩均方差也有明显降低,有效减少叶片疲劳损伤,延长叶片寿命15%‑20%。

风力涡轮机的变速器

NºPublicación:  CN120858240A 28/10/2025
Solicitante: 
维斯塔斯风力系统有限公司
CN_120858240_PA

Resumen de: WO2024193776A1

A transmission comprises a fixed gear ring, a first drive member that defines a plurality of bores, each of which accommodates a tooth element. A second drive member extends within the first drive member, and defines a cam surface or profile which engages each of the plurality of tooth elements. A body region of the tooth elements comprises: a generally cylindrical first body portion proximate the tooth tip region, a generally cylindrical second body portion distal from the tooth tip region, wherein the first body portion and second body portion are spaced apart along a body axis (A), a reduced-mass portion intermediate the first and second body portions. The reduced mass portion comprises an external surface. An imaginary cylindrical surface extends between the generally cylindrical first body portion and the generally cylindrical second body portion, and wherein the external surface of the reduced mass portion shares less than 95% of its surface area with the imaginary cylindrical surface.

风轮方位角测量装置的故障诊断方法和系统

NºPublicación:  CN120845271A 28/10/2025
Solicitante: 
三一重能股份有限公司
CN_120845271_PA

Resumen de: CN120845271A

本发明提供了一种风轮方位角测量装置的故障诊断方法和系统。该方法包括:获取风电机组中目标变桨轴的机组运行参数;将机组运行参数输入方位角模型进行计算,得到目标变桨轴的风轮方位角参考值,其中,风轮方位角参考值用于表征目标变桨轴的电机最大驱动电流对应的风轮方位角;获取风电机组在运行过程中目标变桨轴的风轮方位角实际值;当风轮方位角参考值减去风轮方位角实际值得到的偏差值大于预设阈值时,对定位挡块进行故障报警,解决了现有技术中对风轮方位角的测量偏差较大的技术问题。

一种风力发电机防雷接地装置

NºPublicación:  CN223471772U 24/10/2025
Solicitante: 
陕西君诚汇达工程有限公司
CN_223471772_U

Resumen de: CN223471772U

本实用新型公开了一种风力发电机防雷接地装置,包括固定板,所述固定板的底面固定连接有两个支撑座,每个所述支撑座的上表面均开设有两个安装孔,所述固定板的上表面固定连接有防护框,所述防护框的上表面固定连接有固定架,所述防护框的上表面固定连通有两个引雷线,且引雷线与固定架相卡接,所述防护框的内部设有绝缘板。本装置通过设有的固定架和定位块的配合,起到对固定架进行固定的同时,也可以对引雷线进行卡接的作用,并利用压线卡板,达到对引雷线进行卡接的目的,进而确保引雷线在引雷过程中更加稳定,通过设有的定位板、定位卡座和卡线槽的配合,便于对定位卡座和卡线槽进行防护,进而增加了引雷线的稳定性。

Installation de production d’énergie en mer

NºPublicación:  FR3161459A1 24/10/2025
Solicitante: 
TOTALENERGIES ONETECH [FR]
TOTALENERGIES ONETECH
FR_3161459_PA

Resumen de: FR3161459A1

Installation de production d’énergie en mer La présente divulgation concerne une installation de production d’énergie en mer (100) comprenant une plateforme flottante (110), un système de production d’énergie monté sur la plateforme et comprenant préférentiellement au moins une éolienne (120), une amarre (130, 140) reliée à la plateforme, et un système de génération et/ou stockage d’énergie (G2, G1), par exemple électrique, à partir d’une tension mécanique subie par l’amarre. Cela constitue une installation de production d’énergie en mer améliorée. Fig 1

深远海漂浮式风电平台调平装置

NºPublicación:  CN223467289U 24/10/2025
Solicitante: 
姜廷喜
CN_223467289_U

Resumen de: CN223467289U

本实用新型涉及漂浮式风电平台技术领域,且公开了深远海漂浮式风电平台调平装置,包括底架,所述底架的内壁固定装配有气囊,所述底架的顶部设置有辅助架,所述辅助架的内壁转动连接有转动架,所述转动架的顶部固定装配有外筒,所述外筒的内壁滑动套接有滑筒,所述滑筒的顶部固定装配有固定架。通过凸杆与凹筒的配合使用,当底架和气囊受到外界环境影响时,风电平台本体在配重球的辅助作用下辅助风电平台本体在底架倾斜时保持平衡,并利用风电平台本体带动凸杆向凹筒内壁的方向移动,进而利用凸杆的底部与压力传感器的顶部接触,从而利用压力传感器控制相邻气泵运作,并利用相邻气泵通过连接管对气囊内部送气,从而辅助装置进行调平。

套笼加固装置和海上运输系统

NºPublicación:  CN223469378U 24/10/2025
Solicitante: 
中水电四局(阳江)海工装备有限公司
CN_223469378_U

Resumen de: CN223469378U

本申请实施例公开了一种套笼加固装置和海上运输系统,套笼加固装置包括了支撑组件、第一液压伸缩装置、第二液压伸缩装置和限位板,基于此在使用过程中,在通过套笼进行海上运输时,可以将套笼加固装置设置在套笼之内,第一液压伸缩装置能够抵接在套笼的内壁上,使得第二液压伸缩装置的限位板能够卡接在套笼的卡槽之内。该套笼加固装置主要是为解决超高套笼重心偏高,固定绳索无法有效固定等问题。通过套笼加固装置大大增强了套笼下部结构的支撑能力,保证套笼下部结构不发生变形,提高产品质量。同时,套笼加固装置也限制了套笼运输过程中的水平位移,减少超高套笼对固定钢丝绳的作用力,大大提高运输安全保障,实现高效、安全运输目的。

一种风电叶片的运输装置

NºPublicación:  CN223467162U 24/10/2025
Solicitante: 
中国电建集团华东勘测设计研究院有限公司浙江华东工程建设管理有限公司
CN_223467162_U

Resumen de: CN223467162U

本实用新型公开了运输工程技术领域的一种风电叶片的运输装置,包括定位板和平板车,定位板和平板车之间设置有调节机构,平板车的顶部连接有支撑杆,定位板顶部的一端连接有调节板,调节板靠近定位板中心的一侧连接有固定盘,调节板和定位板之间对称安装有液压杆,两组液压杆的两端分别与定位板和调节板之间设置有限位块。本实用新型通过液压杆的伸缩,方便调整调节板和定位板之间的夹角,通过旋转调节板改变叶片的角度,使得叶片尾部可以抬升,避免因叶片过长导致的运输困难,方便装置根据需要调节叶片的角度,减少叶片在运输时的扫尾面积,同时通过支撑杆的设置能够对叶片进行支撑,避免叶片在运输途中晃动,增加装置的便捷性。

一种海上风电一体化蓝碳生态系统

NºPublicación:  CN223463458U 24/10/2025
Solicitante: 
中国电建集团华东勘测设计研究院有限公司浙江华东工程咨询有限公司
CN_223463458_U

Resumen de: CN223463458U

本申请涉及一种海上风电一体化蓝碳生态系统,包括蓝碳生态单元、摩擦电水涡轮装置和海上风电机组,蓝碳生态单元包括LED灯带和海藻,LED灯带环绕设置于海藻的外侧;摩擦电水涡轮装置包括转动件、上底盘和摩擦电小球,上底盘的壁面设置有由摩擦电材料制成的第一摩擦面,摩擦电小球位于上底盘内,且摩擦电小球的表面设置有与第一摩擦面极性相反的摩擦电材料,转动件与上底盘活动连接,且转动件能够带动摩擦电小球在上底盘内滚动;摩擦电水涡轮装置与LED灯带电性连接,摩擦电水涡轮装置能够利用摩擦纳米发电向LED灯带供电;海上风电机组与LED灯带电连接,海上风电机组能够利用风力发电向LED灯带供电。

风渔结合的风机基础总成和风渔结合养殖系统

NºPublicación:  CN223463508U 24/10/2025
Solicitante: 
龙源电力集团股份有限公司福建龙源海上风力发电有限公司江苏海上龙源风力发电有限公司龙源(北京)新能源工程设计研究院有限公司
CN_223463508_U

Resumen de: CN223463508U

本公开涉及一种风渔结合的风机基础总成和风渔结合养殖系统,本风机基础总成包括漂浮基础和养殖网箱;所述漂浮基础设置有容纳空间,所述养殖网箱设置在所述容纳空间内;所述养殖网箱包括箱体、漂浮部件以及连接件,所述箱体用于养殖海洋生物,所述漂浮部件连接于所述箱体,所述漂浮部件用于控制所述箱体上浮或下沉,所述连接件的一端连接于所述漂浮部件和/或所述箱体,所述连接件的另一端与所述漂浮基础连接。本风机基础总成通过设置的漂浮部件能够实现箱体的上浮或下沉,将箱体与漂浮基础进行拆卸分离,实现箱体的维护或更换。

风机叶片及包含其的风力发电机

NºPublicación:  CN223469371U 24/10/2025
Solicitante: 
上海电气风电集团股份有限公司
CN_223469371_U

Resumen de: CN223469371U

本实用新型提供一种风机叶片及包含其的风力发电机。风机叶片包括靠近主机的主叶片和远离主机的尾叶片,主叶片和尾叶片可拆卸连接,主叶片和尾叶片的连接处的安全系数为a,主叶片靠近尾叶片的部分的安全系数为b,a<b。通过将主叶片和尾叶片设置为可拆卸连接,并且主叶片和尾叶片的连接处的安全系数小于主叶片靠近尾叶片的部分的安全系数,使得风机叶片在运行过程中打到风机塔筒时,风机叶片能够在主叶片和尾叶片的连接处断开,且由于主叶片靠近尾叶片的部分的安全系数较大,撞击过程中主叶片不受损。在后续的修复过程中,只需要更换尾叶片即可,降低了修复的材料费和机械费,缩短了工期,降低了因叶片维修而引起的正常发电损失。

主轴压紧装置

NºPublicación:  CN223469381U 24/10/2025
Solicitante: 
南高齿(淮安)高速齿轮制造有限公司
CN_223469381_U

Resumen de: CN223469381U

本实用新型属于风力发电技术领域,公开了一种主轴压紧装置。该主轴压紧装置包括压块和第一抵接机构,压块用于抵压主轴;第一抵接机构包括抵接块和第一驱动组件,抵接块转动连接于压块,第一驱动组件设置于压块;压块沿第一方向抵压于主轴时,第一驱动组件能够驱动抵接块转动并沿第一方向的相反方向抵压于机架。该主轴压紧装置为整体式结构,使用时仅需通过第一驱动组件驱动抵接块转动即可使抵接块抵压于机架,结构简单、操作方便,极大地便利了操作人员。

統合型風力タービン基礎

NºPublicación:  JP3253394U 24/10/2025
Solicitante: 
三峡国▲際▼能源投▲資▼集▲団▼有限公司
CN_223048936_U

Resumen de: CN223048936U

The utility model relates to the technical field of offshore wind turbine foundations, and discloses an integrated wind turbine foundation, which comprises a culture net cage, a wind turbine foundation, a wind turbine foundation and a wind turbine foundation, the photovoltaic structure is mounted at the top of the culture net cage; and the fan structure is fixedly mounted above the aquaculture net cage, so that the functions of offshore wind power generation, photovoltaic power generation and net cage aquaculture are integrated, effective utilization of sea area resources is realized, self-sufficiency of energy can be realized, comprehensive utilization of the resources is realized, and further economic benefits are increased.

一种基于双源异构传感的风机轴承安全诊断方法及系统

NºPublicación:  CN120830600A 24/10/2025
Solicitante: 
华能河南清洁能源有限公司
CN_120830600_PA

Resumen de: CN120830600A

本申请涉及一种基于双源异构传感的风机轴承安全诊断方法及系统,属于轴承故障诊断技术领域,包括以下步骤:通过振动传感器和声纹传感器同步采集轴承的振动信号和声音信号,在采集端生成量子随机密钥对信号实时加密,并通过量子密钥分发通道传输至云端。云端解密后提取振动信号的时频域特征和声音信号的声纹特征,输入跨模态注意力融合层生成融合特征向量。该向量经量子衍生故障诊断模型处理,通过时空融合模块捕捉瞬态冲击与长周期退化特征,并利用量子归一化模块在希尔伯特空间计算故障概率分布,最终输出轴承故障类别及置信度。本发明融合量子加密保障数据传输安全,结合双模态特征增强诊断准确性,适用于风机轴承的智能化安全监测。

一种深远海风电机组离网期塔筒结构安全保障系统及方法

NºPublicación:  CN120830603A 24/10/2025
Solicitante: 
浙江海风新能源科技发展有限公司
CN_120830603_PA

Resumen de: CN120830603A

本发明公开了一种深远海风电机组离网期塔筒结构安全保障系统及方法,属于风力发电技术领域。本发明通过布置在风机内外部的传感器,实现风机离网期的塔筒整体刚度、局部刚度、法兰连接状态、螺栓预紧状态以及对风状态的监测;通过北斗控制风机底部柴发,通过柴发供电实现风机偏航系统工作;通过风机偏航工作中采集到的传感器信号,利用布置在风机底塔处的边缘计算终端,实现对影响风机塔筒结构安全故障的诊断,并经北斗通讯收发终端,将故障诊断结果发送回陆上集控中心。本发明可实现深远海场址风电机组塔筒离网期日常安全检测、台风来临前的对风检测和台风过后的安全检测。

一种用于电力监测控制的网络安全管理方法

NºPublicación:  CN120834638A 24/10/2025
Solicitante: 
国网安徽省电力有限公司滁州市城郊供电公司
CN_120834638_A

Resumen de: CN120834638A

本发明涉及电力监控技术领域,且公开了一种用于电力监测控制的网络安全管理方法,包括:获取实时信息数据,根据实时信息数据,通过数据分析策略,形成分析数据,根据分析数据,通过数据调整策略,形成调整结果,根据调整结果,对电力进行调控和远程控制,该用于电力监测控制的网络安全管理方法,根据地形优势及时调整风机的运行策略,根据山地地区坡度的不同,对不同位置的风机进行调整,避免造成风能的浪费,提高发电效率,根据风速的不同,对风机风轮和风机叶片进行调整,防止风速过大,造成风机的损坏,保证机组安全,根据风机风轮及风机叶片调整的时长和风速持续的时长,对风机进行相应的调整,防止风机反向消耗能源。

一种漂浮式海上风力发电安全监测设备及方法

NºPublicación:  CN120830601A 24/10/2025
Solicitante: 
西安热工研究院有限公司
CN_120830601_PA

Resumen de: CN120830601A

本发明公开了一种漂浮式海上风力发电安全监测设备及方法,涉及安全监测设备技术领域。检测箱的上端固定连接有外防护罩、风速检测传感器和风向检测传感器,外防护罩的内侧设置有监控装置,检测箱的内侧设置有摄像调节机构,外防护罩的上方设置有清理机构。装置中通过旋转电机、主动齿轮、从动齿轮和转动杆组成的摄像调节机构,实现监控装置的多角度调节,扩大监测范围,避免视觉盲区;且在监控装置的外侧设置有透明的外防护罩,避免监控装置受外部环境影响;且清理机构包括旋转筒、擦拭板、内连接齿环、中间齿轮一、中间齿轮二和传动齿轮,能够自动清洁外防护罩表面,防止高湿度环境下的镜面结露和盐雾沉积,确保监控装置的清晰度和稳定性。

基于激光雷达的净空距离信号提取与安全控制方法

NºPublicación:  CN120830604A 24/10/2025
Solicitante: 
珠海光恒科技有限公司
CN_120830604_PA

Resumen de: CN120830604A

本发明旨在提供一种信号识别精准、计算逻辑清晰、控制闭环高效的基于激光雷达的净空距离信号提取与安全控制方法。本发明方法包括以下步骤:a.在风力发电机机舱下方固定激光雷达系统;b.采用飞行时间原理测量激光雷达单元到叶片尾端的目标点的距离;c.风机的数据处理单元接收若干个所述激光雷达单元的测量数据,采用信号聚合统计方法识别有效的叶片反射信号,根据所述反射信号计算叶片与塔架之间的净空距离;d.实时监测的叶片与塔架之间净空距离数据,结合风速和转子转速参数,通过风机控制系统计算最优的桨距角调整量;e.通过风机的变桨执行机构动态调整叶片的桨距角。本发明应用于激光雷达技术领域。

风力涡轮机组件的模块化运输系统

NºPublicación:  CN120830596A 24/10/2025
Solicitante: 
世感环球物流有限责任公司
CN_120830596_PA

Resumen de: EP4636244A1

One objective of the invention is to provide a modular transport system (1) for supporting a wind turbine component arranged in a wind turbine support equipment during transport and storage, wherein the modular transport system (1) comprises:- a base support (10) configured for distributing a load onto a surface at a first end (11), wherein the base support (10) comprises a plurality of coupling interfaces (40) arranged at a second end (12) being opposite to the first end (11) and wherein the coupling interfaces (40) are configured for releasably interlocking with another plurality of coupling interfaces (40);- two side sections (20) each comprising a plurality of coupling interfaces (40) arranged at a third end (21) of the side section (20) and another plurality of coupling interfaces (40) arranged at a fourth end (22) being opposite to the third end (21), wherein the third end (21) and the fourth end (22) are separated by a side section length; and- a top support (30) comprising a plurality of coupling interfaces (40) arranged at a fifth end (31) and a top cover (35) arranged at a sixth end (32) being opposite to the fifth end (31) and wherein the top cover (35) is configured for supporting the wind turbine support equipment,wherein the top support (30) is configured for being connected to the two side sections (20), and wherein the two side sections (20) are configured for being connected to the base support (10) with a side section width measured perpendicular to the side

用于风力发电机组塔筒与基础的消能结构

NºPublicación:  CN120830594A 24/10/2025
Solicitante: 
华能吉林新能源开发有限公司通榆分公司通榆裕风兴村新能源有限公司华能吉林发电有限公司
CN_120830594_PA

Resumen de: CN120830594A

本发明公开了一种用于风力发电机组塔筒与基础的消能结构,涉及风电施工技术领域,其中,该用于风力发电机组塔筒与基础的消能结构包括法兰、限位组件和多个消能组件,法兰与风力发电机组塔筒连接;限位组件预埋于基础内,限位组件套设于法兰外,限位组件与法兰之间设置有环形消能空间;多个消能组件沿法兰的周向间隔设置于环形消能空间内;各消能组件包括安装部和消能部,安装部铰接于限位组件,安装部的部分抵紧于法兰的外缘,消能部沿法兰的径向能伸缩的设置于安装部和限位组件之间。本发明通过设置于法兰与限位组件之间的消能组件,提升了风力发电机组塔筒与基础连接结构的抗风性能,提高了风力发电机组的运行稳定性和结构安全性。

基于气象数据和物理特性的叶片覆冰监测方法、电子设备及介质

NºPublicación:  CN120830597A 24/10/2025
Solicitante: 
长沙理工大学
CN_120830597_PA

Resumen de: CN120830597A

本发明提供了一种基于气象数据和物理特性的叶片覆冰监测方法、电子设备及介质,本发明基于直接影响叶片覆冰的气象数据,结合编码方法和重构方法对气象数据进行处理;编码方法将气象数据分为多个关键覆冰特征类,有助于区分气象数据在时间维度上的不同覆冰信息;重构方法耦合气象数据之间的关系,提取气象数据中的覆冰物理特征,增强气象数据表达覆冰的能力;本发明结合编码方法和重构方法对气象数据进行处理,提高了叶片覆冰监测精度和准确度。

基于风向风速监控的风电机组发电效率优化方法及系统

NºPublicación:  CN120832986A 24/10/2025
Solicitante: 
大唐东北电力试验研究院有限公司大唐山东发电有限公司新能源分公司
CN_120832986_PA

Resumen de: CN120832986A

本发明涉及效率优化领域,公开了基于风向风速监控的风电机组发电效率优化方法及系统,用于实现风电机组长期稳定高效运行。包括利用传感器获取原始风速、风向序列,经计算生成含湍流强度特征的增强标准化风速序列与含变化量特征的标准化风向序列,输出标准化风速和风向预测序列,并结合湍流强度修正,提高预测精度与实用性,构建连续可微的能量捕获效率曲面,沿曲面梯度方向解析得到偏航角和桨距角指令序列,实现全局优化控制,还能动态调整指令以适应风况变化。该方法能够生成风机风电效率评估报告,依据风机风电效率评估报告进行发电效率优化。

气球牵引风力发电方法

NºPublicación:  CN120830592A 24/10/2025
Solicitante: 
赵振雄
CN_120830592_PA

Resumen de: CN120830592A

一种风力发电方法,现有风扇型风力发电造价高,尤其是海上风力发电造价更高,还有圆圈氦气球中设风扇,飘到600米高空发电,存在很多缺点,为了解决现有风力发电的缺点,做到经济实惠制作简单,实现方法是风力发电机就是采用高空风发电,越高风力越大尤其是海上风力大,气球相对造价低而且飞的高,采用气球代替现有风力发电设备来降低价格,采用简单结构的气球发电使得风力发电结构简单,利用栓气球的绳索伸缩发电,气球是在风吹动下移动,用俩根绳索像人俩条腿走路一样,交替前进并发电,或者采用气球带动下方能源舟移动发电,这个方法尤其适合海上发电,造价低以及海面没有障碍物能源舟畅通无阻,在天空上设置气球(1),利用风吹动气球(1),气球(1)带动下方能源舟移动,能源舟(2)利用移动发电,尤其适合海上发电,能源舟(2)如果是船,气球用绳索(7)拉着船移动,船在水下部分可以安装发电叶轮(8),利用船的移动发电。

一种电动汽车传动发电设备

NºPublicación:  CN120828679A 24/10/2025
Solicitante: 
鹿金权
CN_120828679_PA

Resumen de: CN120828679A

本发明公开了一种电动汽车传动发电设备,本发明涉及新能源汽车能量回收技术领域,包含与电机传动轴机械耦合的变速齿轮组,以及连接齿轮组的永磁机器人发电机;包含集成于汽车刹车盘外缘之外的环形齿圈(注:汽车轮胎锅子),以及可径向移动接触所述齿圈的摩擦轮组件;控制单元:配置为实时监测蓄电池荷电状态(SOC),当SOC≤60%时驱动所述摩擦轮组件机器人发电机压紧刹车盘外缘之外的环形齿圈(注:汽车轮胎锅子);能量管理单元:将齿轮啮合发电单元及摩擦发电单元产生的电能存储至蓄电池组,摩擦组件可分离设计兼顾发电效率与机械耐久性;整体技术以简洁可靠的机械结构,为新能源汽车提供持续、清洁的能源供给路径,推动绿色交通可持续发展。

风电机组叶片的桨距角补偿方法、设备、介质和产品

NºPublicación:  CN120830593A 24/10/2025
Solicitante: 
国电联合动力技术有限公司
CN_120830593_PA

Resumen de: CN120830593A

本发明提出一种风电机组叶片的桨距角补偿方法、设备、介质和产品,方法包括:根据采样周期实时采集发电机实时转速数据;根据实时转速数据计算实时转速偏差和实时转速偏差变化率;根据实时转速偏差和实时转速偏差变化率查询最优补偿变桨速率表,找到对应的最优的补偿变桨速率;若补偿变桨速率大于设定阈值,则将补偿变桨速率转换为补偿桨距角,触发风电机组的防超速功能,使风电机组根据补偿桨距角调整收桨角度。本发明通过当前发电机实时转速偏差和实时转速偏差变化率两个方面判断风电机组是否面临发电机转速过大的问题,提前给出最优的补偿桨距角命令风电机组增大收桨角度,可有效防止风电机组超速,保持发电机转速稳定。

一种风机主轴轴承位的柔性相控阵检测装置及检测方法

NºPublicación:  CN120831419A 24/10/2025
Solicitante: 
西安热工研究院有限公司
CN_120831419_PA

Resumen de: CN120831419A

本发明提供一种风机主轴轴承位的柔性相控阵检测装置及检测方法,属于风电设备检测技术领域,其可至少部分解决现有的风机主轴轴承位检测中探头无法良好贴合曲面、信号失真、人工操作风险高、漏检率高的问题,本发明包括碳纤维骨架模块、柔性相控阵探头模块以及气囊调压与驱动模块,其中,碳纤维骨架模块包括多组碳纤维壳体和探头滑轨;柔性相控阵探头模块包括柔性相控阵探头,该探头包括接触层、传声层和支撑层;气囊调压与驱动模块包括气囊、驱动电机和耦合剂喷嘴;本发明通过柔性探头自适应贴合曲面、气囊动态调节压力以及自动驱动旋转,实现高效、可靠的自动检测,提高检测精度并减少人工干预。

基于智慧运维平台的风电机组运行参数预警方法及装置

NºPublicación:  CN120832556A 24/10/2025
Solicitante: 
北京华能新锐控制技术有限公司
CN_120832556_A

Resumen de: CN120832556A

本发明实施例提供了一种基于智慧运维平台的风电机组运行参数预警方法及装置。方法包括:从风电机组的预收桨数据特征数据库中,获取风电机组的预收桨数据特征,得到预收桨数据特征表;对预收桨数据特征表进行预处理,得到预处理后的目标预收桨数据特征表;基于预处理后的目标预收桨数据特征表,识别预收桨关键参数;其中,预收桨关键参数至少包括起始桨角、起始功率系数和桨角差值;根据预收桨关键参数,计算预收桨程度量化指标;基于预收桨程度量化指标与预设阈值的比较结果,生成预警事件并推送至智慧运维平台。通过识别风电机组预收桨关键参数、预收桨程度的指标量化,产生并推送预收桨程度预警事件,实现定期的机组预收桨策略的运行监测。

一种基于疲劳载荷的风电场有功功率分配方法

NºPublicación:  CN120834605A 24/10/2025
Solicitante: 
华能国际电力江苏能源开发有限公司清洁能源分公司华能如东八仙角海上风力发电有限责任公司河海大学
CN_120834605_PA

Resumen de: CN120834605A

本发明提供了一种基于疲劳载荷的风电场有功功率分配方法,属于风电控制技术领域,解决了风电场在参与调频过程中风电机组疲劳载荷剧增的技术问题。其技术方案为:包括以下步骤:根据风电机组动力学模型和传动链模型,构建状态空间方程;建立风电机组疲劳载荷模型,基于模型预测控制MPC,以采样周期将状态空间方程离散化,对每台风电机组的桨距角、转速、风速、当前发出的有功功率输出值进行采集,计算各风电机组的疲劳信息;结合每台风电机组的疲劳信息、叠加的调频有功功率、优化目标和约束条件,进行有功功率的优化分配。本发明在满足风电场调频需求的同时,改善了风电机组疲劳载荷剧增的技术问题,确保风电机组长期稳定运行。

一种风电机组叶片防覆冰装置

NºPublicación:  CN120830605A 24/10/2025
Solicitante: 
华能新能源股份有限公司山西分公司
CN_120830605_PA

Resumen de: CN120830605A

本发明公开了风电机技术领域的一种风电机组叶片防覆冰装置,包括塔架、转动连接在塔架上的偏航箱、转动连接在偏航箱上的转筒与圆周阵列设置在转筒上的叶片;每个叶片靠近转筒的一端均固定连接有用于对叶片进行加热的导热块,所述导热块贯穿并延伸至转筒的内部;转筒的内部滑动连接有能够对导热块进行间歇加热的接电块,接电块能够在转筒内进行间歇往复运动,且所述接电块通过外接电路,在接电块与导热块接触时,导热块的电路被连通,使导热块进行发热,对叶片上进行加热防覆冰;通过导热块的间歇性加热,使叶片局部始终保持相对稳定的温度,水滴不会因其温度过低冷凝在叶片上,形成整体式覆冰,同时节约了电能,保证了叶片内部零件的稳定性。

一种高山地区风力发电机组叶片雷电监测系统

NºPublicación:  CN120830599A 24/10/2025
Solicitante: 
代县新华能能源开发有限公司湖南五凌电力科技有限公司
CN_120830599_PA

Resumen de: CN120830599A

本发明提出一种高山地区风力发电机组叶片雷电监测系统,通过多传感器协同监测、高精度信号处理及冗余数据传输,显著提升了高山地区风机叶片雷击监测的可靠性与精确性。电磁脉冲、声发射及光纤应变传感器的组合设计,实现了雷击事件的时空定位与能量量化;信号处理模块的宽带滤波与高速采样保障了瞬态雷电信号的完整性;光纤与无线双通道传输机制克服了恶劣环境下的通信中断风险。中央处理模块结合小波变换与损伤模型,可实时评估叶片累积损伤并预警潜在裂纹,可视化平台通过数据融合与机器学习优化了运维决策效率。该系统有效解决了传统防护中监测盲区问题,延长了叶片寿命并降低了雷击故障率。

用于维修具有成型线圈的发电机的方法、发电机和风能设施

NºPublicación:  CN120834689A 24/10/2025
Solicitante: 
乌本产权有限公司
CN_120834689_PA

Resumen de: EP4637001A1

Verfahren zur Reparatur eines Generators mit Formspulen, insbesondere eines Generators einer Windenergieanlage mit Formspulen, umfassend die Schritte: Entkoppeln (1010) des ersten und zweiten Anschlusses (18, 19) einer defekten Formspule (11) von zwei weiteren der mehreren Formspulen (10); Abtrennen (1020) des ersten und zweiten Spulenkopfes (14, 16) der defekten Formspule (11); Auftrennen (1030a) eines Nutenverschlusskeils, der eine Nut verschließt, in der ein erster Schenkel (12a) der defekten Formspule (11) eingesetzt ist; Entfernen (1040a) des ersten Schenkels (12a) der defekten Formspule (11) aus der Nut (38); Einsetzen (1050a) eines ersten Schenkels (12a) einer neuen Formspule (13) mit einem elektrischen Leiter aus Kupfer oder Aluminium; Einsetzen (1060a) eines neuen Nutenverschlusskeils (39) in die Nut (38), in welche der erste Schenkel (12a) der neuen Formspule (13) eingesetzt wurde, wobei die Nut (38) durch den neuen Nutenverschlusskeil (39) in Richtung des im Betriebszustand zwischen Stator und Rotor bestehenden Luftspalts verschlossen wird; Einbringen (1070a) von Harz in die Nut, in welche der erste Schenkel (12a) der neuen Formspule (13) eingesetzt wurde; Verbinden (1080) des ersten Schenkels (12a) mit dem zweiten Schenkel (12b); und Koppeln (1090) des ersten und zweiten Anschlusses mit dem ersten Anschluss und zweiten Anschluss der zwei weiteren Formspulen (10).

风电机组运行策略变化检测及预警方法、装置

NºPublicación:  CN120832500A 24/10/2025
Solicitante: 
北京华能新锐控制技术有限公司
CN_120832500_PA

Resumen de: CN120832500A

本发明实施例提供了一种风电机组运行策略变化检测及预警方法、装置,通过识别当前时间及历史同期风电机组预收桨关键参数、分别对当前时间和历史同期机组预收桨程度进行指标量化,对比两者量化指标变化,对指标变化超过预期的风电机组产生并推送预收桨策略变化预警事件,实现定期(默认和预警周期同步)的机组预收桨策略变化的运行监测,丰富风电机组智慧运维的内涵。

用于自动裁切布料的机器

NºPublicación:  CN120835822A 24/10/2025
Solicitante: 
摩根技术股份公司
CN_120835822_PA

Resumen de: WO2024184930A1

Machine (1 ) for automatic cutting of fabric comprising: - a cutting plane (7) at an upper face (8) of a box (3) and comprising a plurality of pass- through openings; - a suction system (9) for drawing air from the interior (4) of the box; - a turbine (30) located downstream of the suction system and structured to extract energy from the exhaust air flow generated by the suction system and convert it into rotational mechanical energy; - an electric generator (40) mechanically coupled to the turbine (30) and structured to convert the rotational mechanical energy of the turbine into electrical energy.

基于相位感知平行注意力机制的无监督风电设备叶片故障检测方法

NºPublicación:  CN120830602A 24/10/2025
Solicitante: 
中国电建集团成都勘测设计研究院有限公司
CN_120830602_PA

Resumen de: CN120830602A

本发明涉及风电设备叶片故障检测技术,其公开了一种基于相位感知平行注意力机制的无监督风电设备叶片故障检测方法,解决现有风电设备叶片故障检测方法对标注数据依赖性强、在强噪声和变工况下泛化能力不足,难以鲁棒捕捉微弱瞬态故障信号和动态变化特征的问题。本发明方案通过采集叶片运行音频信号,经改进短时傅里叶变换提取含幅度谱和相位谱的双通道时频特征;利用含相位感知平行注意力模块的编码器、解码器及辅助编码器构建深度对抗自编码器,离线训练时通过重构误差损失、潜在表征一致性损失、对抗损失及相位一致性损失优化模型,学习正常工况特征分布;在推理阶段,基于特征距离评分和重构误差评分判断故障。

一种风力发电用稳固支架

NºPublicación:  CN120830595A 24/10/2025
Solicitante: 
滁州博泰新能源科技有限公司
CN_120830595_PA

Resumen de: CN120830595A

本发明公开了一种风力发电用稳固支架,涉及风力发电技术领域,该风力发电用稳固支架包括风力发电机,所述风力发电机的表面固定安装有防护筒,所述风力发电机的圆周面固定安装有夹持固定环,所述夹持固定环的圆周面转动安装有夹持适应环,所述风力发电机的表面转动贯穿有螺钉,所述转动杆一转动安装在夹持固定环的圆周面,所述转动杆一的表面固定贯穿有避震弹簧,该风力发电用稳固支架通过调节插销将调节套筒固定在转动杆二的内壁实现对夹持固定环与固定板之间的距离调节,避免特殊地形对设备安装造成限制,提高了设备的适应性和通用性,使其能够在各种复杂地形条件下进行安装和使用,拓宽了设备的应用范围。

基于物联网安全的风机塔筒形变实时监测与预警系统、方法和设备

NºPublicación:  CN120830598A 24/10/2025
Solicitante: 
中国长江三峡集团有限公司
CN_120830598_PA

Resumen de: CN120830598A

本申请提供了一种基于物联网安全的风机塔筒形变实时监测与预警系统、方法和设备,涉及风力发电技术领域。该系统包括:传感器模块,用于采集风机塔筒的形变数据,形变数据包括:分布式光纤的应变数据、倾斜数据、微应变数据、振动数据、风荷载谱和温湿度参数;数据分析与预警模块,用于将标准形变数据输入到形变预测模型中,输出形变预测值;将标准形变数据输入到健康评估单元中,得到健康评分;在目标时长内形变预测值的变化量大于第一阈值的情况下,和/或在健康评分小于第二阈值情况下,发送红色预警信息。本申请通过关联多参数的异常模式进行复合预警,可以更准确地判断风机塔筒的健康状况。

一种具有分层阻尼效果的高稳定性半潜式风电平台

NºPublicación:  CN120828913A 24/10/2025
Solicitante: 
中车科技创新(北京)有限公司中车大连机车车辆有限公司
CN_120828913_PA

Resumen de: CN120828913A

本发明提供的一种具有分层阻尼效果的高稳定性半潜式风电平台,包括风电机组、多个浮筒组件、多层垂荡机构和锚链。各浮筒组件包括自上而下依次连接的上浮筒、水面线浮筒和下浮筒。多层垂荡机构包括至少一个中部垂荡单元和一个底部垂荡单元。利用阶梯式设计浮筒组件,有助于模块化建造、降低建造成本。同时,通过中部垂荡单元连接相邻浮筒组件,以提升整体结构的刚度,通过底部垂荡板和底部旁通连接相邻浮筒组件底部的下浮筒,可以分别针对不同频段的波浪实现能量耗散及增加结构物的附加质量,形成分层阻尼系统以协同抑制垂荡、横摇及纵摇运动。本发明有效调和了平台稳定性与经济性的矛盾,在保证平台稳性的前提下,能够有效降低平台的建造成本。

一种风力发电机组基础锚板不均匀沉降监测方法

NºPublicación:  CN120830336A 24/10/2025
Solicitante: 
华能河南清洁能源有限公司
CN_120830336_PA

Resumen de: CN120830336A

本发明涉及风电设备监测技术领域,公开了一种风力发电机组基础锚板不均匀沉降监测方法,包括以下监测步骤:步骤一、在风力发电机基础锚板施工阶段沿锚板圆周预埋磁致伸缩传感器阵列,利用所述传感器阵列实时监测锚板与地基接触面的应力应变;步骤二、对采集的应力应变信号进行时频域处理,分离环境振动信号与沉降特征信号。通过提出在基础锚板施工阶段预埋磁致伸缩传感器阵列,构建具备实时感知能力的锚板‑地基接触面应力应变监测网络,相比传统人工定期测量的滞后性监测模式,该阵列处理方式可对沉降信号进行动态捕捉,有效解决了极端工况下瞬时沉降突变难以及时发现的行业难题,为风机基础的安全运行提供了实时、精准的数据支撑。

一种风力发电塔架安装用可调节支撑架

NºPublicación:  CN223469375U 24/10/2025
Solicitante: 
中国电建集团贵州工程有限公司
CN_223469375_U

Resumen de: CN223469375U

本实用新型涉及风力发电塔架技术领域,尤其是一种风力发电塔架安装用可调节支撑架,包括支撑件,所述支撑件套设在塔身外围,位于所述支撑件的外围连接有支撑机构,所述支撑机构包括第一支撑杆和第二支撑杆,所述第一支撑杆与所述支撑件之间通过纵向调节组件连接;其中,所述第一支撑杆与所述第二支撑杆之间通过卡接结构固定,通过弹簧插杆组件调节固定件与活动件之间的高度,以及通过止挡杆与凹槽之间卡接的方式能够对支撑机构的高度进行调节,可以调节支撑机构对塔身的支撑高度,提高了支撑机构对塔身的支撑作用,此外,通过弹性爪卡接防护罩的方式,能够利用防护罩对止挡杆进行固定,防止止挡杆意外脱离凹槽的情况出现。

一种风电机组叶片零位调整结构

NºPublicación:  CN223469382U 24/10/2025
Solicitante: 
上海皓梅机电科技有限公司
CN_223469382_U

Resumen de: CN223469382U

本实用新型公开了一种风电机组叶片零位调整结构,包括由内轴承圈和外轴承圈组成的风电轴承,所述内轴承圈的内壁上设有内齿圈,内轴承圈的外端部设有与叶片连接的盖板,外轴承圈与风电轮毂相固定,风电轮毂上安装有与内齿圈啮合的传动齿轮,风电轮毂上还设有驱动内齿圈转动的减速电机,内轴承圈与外轴承圈之间设有原点定位机构,所述内轴承圈和外轴承圈之间安装有用于对内轴承圈转动角度进行检测的角度传感器;所述外轴承圈设有与风电轮定点对接的对接标志,所述盖板上设有与叶片定点连接的连接标;本实用新型保证每个叶片安装后的角度都一直,而方便后续对叶片的零位进行调整,而无需外部测量装置进行测量,省时省力。

一种风力发电用风机支架

NºPublicación:  CN223469374U 24/10/2025
Solicitante: 
三峡(三亚)羊林抽水蓄能绿色开发有限公司
CN_223469374_U

Resumen de: CN223469374U

本实用新型公开了一种风力发电用风机支架,包括安装架,所述安装架,所述安装架内部上端通过轴承活动设置有转轴,所述转轴外侧固定设置有支架,所述支架上端设置有风机组件,所述风机组件包括固定框架、风机叶轮、发电机,所述支架上端固定设置有固定框架,所述固定框架表面两侧均通过轴承活动设置有风机叶轮,所述固定框架下端两侧均固定设置有发电机,所述风机叶轮与发电机的动力输入轴端之间传动连接。本实用新型使用效果好,可以根据需要对支架进行旋转,以使得支架以及风机整体组件进行上下倒转,以使得上端的风机组件降低到合适高度,从而可以方便工作人员对风机组件进行检查维修以及零部件的更换。

一种稳定加固机构的海上风电塔筒

NºPublicación:  CN223469376U 24/10/2025
Solicitante: 
江苏天能海洋重工有限公司
CN_223469376_U

Resumen de: CN223469376U

本实用新型公开了一种稳定加固机构的海上风电塔筒,包括底座与挤压环,所述底座顶端固定连接有塔筒,所述底座顶端固定安装有阵列设置的多个液压缸,所述挤压环的外壁上固定连接有阵列设置的多个连体板,所述挤压环的内圈对应连体板位置处均固定连接有导向板,多个所述导向板上均开设有通行槽,所述底座上对应导向板位置处均固定连接有定位杆,多个所述定位杆的顶端均螺纹连接有限位环,所述底座顶端固定连接有阵列设置的多个安装座,多个所述安装座上均开设有滑槽,本实用新型的有益效果是:各部件的配合达到为风电塔筒增加一层固定的效果,可以与螺栓共同的为塔筒提供稳定性,降低塔筒在大风天气下出现稳定性下降的可能性。

一种用于巡检风力发电机叶片的无人机

NºPublicación:  CN223467337U 24/10/2025
Solicitante: 
中电投蒙西固阳新能源有限公司
CN_223467337_U

Resumen de: CN223467337U

本实用新型公开了一种用于巡检风力发电机叶片的无人机,涉及无人机技术领域,包括无人机主体和摄像头,所述无人机主体由无人机机身、四个螺旋桨臂和四个螺旋桨组成,所述螺旋桨臂顶部安装有防鸟机构,所述无人机机身底部安装有防护机构,所述防鸟机构包括立杆,所述立杆插接在螺旋桨臂顶部远离螺旋桨的一侧,所述螺旋桨上方安装有环形杆,所述立杆和环形杆之间固定连接有两个连接杆,所述连接杆和环形杆的顶部均固定连接有多个尖刺;通过在螺旋桨臂上可拆卸安装一个防鸟机构,可避免螺旋桨被飞鸟损坏,其中的尖刺可刺痛飞鸟使其不敢再攻击,同时配合蜂鸣器发出的蜂鸣声音吓退驱赶,可对无人机起到有效的保护作用,整体安全性较高。

一种风力发电机组及其集成式传动链

NºPublicación:  CN223469379U 24/10/2025
Solicitante: 
中船海装风电有限公司
CN_223469379_U

Resumen de: CN223469379U

本实用新型公开了一种风力发电机组及其集成式传动链,集成式传动链包括齿轮箱和发电机,齿轮箱的输出轴连接发电机的转子,齿轮箱和发电机之间具有空腔。齿轮箱和发电机之间设有隔离结构,隔离结构安装于齿轮箱上,隔离结构包裹于输出轴外且与发电机的转子间隙配合,以将空腔分隔为包绕输出轴的输出轴区域和位于外侧的冷却空气循环区域。上述风力发电机组及其集成式传动链,发电机冷却空气流在经过转子轮毂区域时不会进入齿轮箱输出轴区域,避免齿轮箱输出轴区域受发电机冷却气流影响而产生有害的正压或负压,由此避免了齿轮箱输出轴区域由具有正压或负压而导致润滑油泄漏的问题。

一种风电叶片的便捷安装支架

NºPublicación:  CN223469373U 24/10/2025
Solicitante: 
中国电建集团贵州工程有限公司
CN_223469373_U

Resumen de: CN223469373U

本实用新型涉及风电场设备安装技术领域,尤其是一种风电叶片的便捷安装支架,包括基座以及固定于基座顶部的圆形立板,在所述基座侧面开设有环形槽,所述环形槽的表面转动连接有转动座,在所述转动座表面铰接有至少三个横板,在所述横板的表面设有滑动支撑机构,且所述横板与转动座之间设有定位机构;本实用新型通过三个横板可以对叶片进行快速定位,之后通过电机带动移动座可以便捷的移动风电叶片将其固定在中心座上,并且通过升降单元可以调整支撑的高度从而方便进行定位,通过固定销配合铰接的横板可以将三个横板收起并固定,不仅可以便捷的对风电叶片进行组装,并且安装支架也方便进行运输。

一种风力发电机控制系统

NºPublicación:  CN223469372U 24/10/2025
Solicitante: 
中移能源科技(北京)有限公司中国移动通信集团设计院有限公司中国移动通信集团有限公司
CN_223469372_U

Resumen de: CN223469372U

本申请公开了一种风力发电机控制系统,该系统包括风力发电机、整流模块、电压转换模块、控制模块、信息采集模块以及负载模块;风力发电机,用于产生交流电压;整流模块,用于将交流电压转换成第一直流电压;电压转换模块,用于将第一直流电压转换成第二直流电压;信息采集模块,用于采集风力发电机的第一信息和负载模块的第二信息;控制模块,用于采用扰动观察法调整风力发电机产生的交流电压,以使电压转换模块的输出功率达到预设目标功率。本申请实施例不仅避免卸荷装置频繁使用对系统造成的压力及弃风现象的发生,而且避免长时间使用卸荷模块造成风力发电机由于长时间带载过大导致发热现象的发生。

一种风力发电设备叶片挡雨环

NºPublicación:  CN223469370U 24/10/2025
Solicitante: 
淮北歌美机械设备有限公司
CN_223469370_U

Resumen de: CN223469370U

本实用新型公开了一种风力发电设备叶片挡雨环,属于风力发电设备技术领域,包括环形叶根,环形叶根的外环面设有环形凹槽,环形凹槽沿环形叶根的外环面延伸成环,环形叶根的外侧固定连接有挡雨叶片,挡雨叶片与环形叶根的轴线的第一方向呈锐角,且挡雨叶片在第一方向上与环形叶根之间固定连接有加强筋。本实用新型的优点在于:节省生产、运输和安装成本。

叶身支撑装置、运输组件、运输系统、风场及风力发电机组

NºPublicación:  CN223469377U 24/10/2025
Solicitante: 
北京金风科创风电设备有限公司
CN_223469377_U

Resumen de: CN223469377U

本实用新型涉及一种叶身支撑装置、运输组件、运输系统、风场及机组,叶身支撑装置包括:支撑底座,包括座本体以及设置于座本体上的第一配合部;叶片保持器,设置于支撑底座,叶片保持器包括支撑本体以及设置于支撑本体上的第二配合部,支撑本体能够支撑叶片,支撑底座与叶片保持器通过第一配合部与第二配合部彼此可拆卸连接。本实用新型实施例提供的叶身支撑装置、运输组件、运输系统、风场及机组,能够满足不同工况下叶片的运输,通用性好,且无需叶片反复拆装,能够降低叶片损伤概率。

一种用于塔筒电缆孔洞的封堵装置

NºPublicación:  CN223472009U 24/10/2025
Solicitante: 
长江三峡集团江苏能源投资有限公司
CN_223472009_U

Resumen de: CN223472009U

本申请实施例提供一种用于塔筒电缆孔洞的封堵装置。该封堵装置包括环形顶盖、环形底板和至少两个弹性牵拉件;环形顶盖覆盖设置在电缆孔洞外侧,环形顶盖的侧壁与塔筒的表面接触设置;每个弹性牵拉件的一端均与环形顶盖连接,另一端均与环形底板连接,且弹性牵拉件呈拉伸状态;弹性牵拉件沿环形顶盖和环形底板的周向均匀布置,并沿电缆孔洞的轴向分布;环形底板位于电缆孔洞内,且通过弹性牵拉件沿电缆孔洞的轴向移动;电缆由外向内依次穿过环形顶盖和环形底板,环形顶盖、电缆孔洞的内侧壁和环形底板共同围合形成空腔,防火封堵填充于空腔中。本申请实施例通过环形顶盖、环形底板和弹性牵拉件的结构组合,实现了电缆孔洞的紧密封堵和防火保护。

风电传动结构及风电驱动装置

NºPublicación:  CN223469380U 24/10/2025
Solicitante: 
南高齿(淮安)高速齿轮制造有限公司
CN_223469380_U

Resumen de: CN223469380U

本实用新型属于风电技术领域,公开了风电传动结构及风电驱动装置。该风电传动结构包括收缩紧固结构和增磨层,收缩紧固结构包括固定环和收紧环,固定环固定套设于插接配合结构的外周,收紧环套设于固定环且与固定环可拆卸连接,且固定环的外周面和收紧环的内周面锥面配合。增磨层固定设置于主轴和输入轴的插接配合处,增磨层用于增大主轴和输入轴之间的相互摩擦力。通过采用该风电传动结构,能够有效提升主轴向输入轴传递扭矩的可靠性,也能有效降低由于齿轮箱兆瓦级的增大所导致的收缩盘尺寸大、重量重和制造成本高等问题。

一种基于激光雷达的风力机叶片检测无人机

NºPublicación:  CN223467334U 24/10/2025
Solicitante: 
沈阳工程学院
CN_223467334_U

Resumen de: CN223467334U

本实用新型公开了一种基于激光雷达的风力机叶片检测无人机,包括无人机机身,所述无人机机身的底部设置有底座,所述底座的两侧底部均安装有支撑腿,所述底座的外壁前后均等距开设有卡口,所述底座位于卡口远离支撑腿的一侧设置有安装孔,所述安装孔的内部活动连接有限位杆,所述限位杆的外壁一侧设置有拨块。本实用新型涉及风力机巡检设备技术领域,解决了现有技术中,用于风力机叶片检测的无人机在运输和存放过程中,激光雷达感测模块在无人机的底部缺少有效防护,容易因意外磕碰造成激光雷达感测模块损坏,影响无人机的检测精度和设备安全性的问题。

FLOATING OFFSHORE WIND TURBINE SYSTEM, AND CONSTRUCTION METHOD, DEMOLITION METHOD, AND MAINTENANCE METHOD THEREFOR

NºPublicación:  WO2025220289A1 23/10/2025
Solicitante: 
HITACHI LTD [JP]
\u682A\u5F0F\u4F1A\u793E\u65E5\u7ACB\u88FD\u4F5C\u6240
WO_2025220289_PA

Resumen de: WO2025220289A1

Provided is a floating offshore wind turbine system having a structure useful for implementing replacement of a large component of a floating offshore wind turbine. The floating offshore wind turbine system includes a floating offshore wind turbine, a main floating body, and a mooring body. The floating offshore wind turbine has: blades that receive wind; a hub to which the blades are fixed; a nacelle that houses a generator that converts rotational energy of the hub into electric power; a tower that supports the nacelle; and a sub-floating body that supports the tower. The main floating body is moored to the sea bottom by the mooring body, and has a sub-floating body insertion space into which the sub-floating body is inserted. The sub-floating body inserted into the sub-floating body insertion space is detachably connected at a connection part with the main floating body.

WIND TURBINE OSCILLATION DAMPING

NºPublicación:  WO2025219000A1 23/10/2025
Solicitante: 
SIEMENS GAMESA RENEWABLE ENERGY AS [DK]
SIEMENS GAMESA RENEWABLE ENERGY A/S
WO_2025219000_PA

Resumen de: WO2025219000A1

A method of controlling the operation of one or more wind turbines (100) of a wind farm (300) is provided. An electrical power output of the wind farm (300) is provided to a power grid (200). Each of the one or more wind turbines (100) comprises a damping controller (120) configured to provide a damping action that counteracts structural oscillations by modulating the operation of a power generation system (102) of the wind turbine (100). Providing the damping action results in a power oscillation of a power output of the respective wind turbine (100). In the method, monitoring data (51) is obtained that is indicative of power oscillations. From the monitoring data, a rate of change of an amplitude of power oscillations in the power output of the one or more wind turbines (100) is estimated. Based on the estimated rate of change of the amplitude of the power oscillations, the damping controller (120) of at least one of said one or more wind turbines (100) is controlled to adjust the damping action of the damping controller (120).

OBTAINING MORE VERSATILE SENSOR DATA

NºPublicación:  WO2025219651A1 23/10/2025
Solicitante: 
LAKIASIAINTOIMISTO VILLE NURMI [FI]
LAKIASIAINTOIMISTO VILLE NURMI
WO_2025219651_PA

Resumen de: WO2025219651A1

Disclosed is a method for obtaining sensor data, the method comprising: obtaining, using a first sensing device, a first sensor data from one or more sensors of the first sensing device, wherein the first sensing device is associated with a first wind turbine located at a first location, receiving the obtained first sensor data by a computing system, receiving, by the computing system, a second sensor data obtained by a second sensing device located at a second location, the second location being different than the first location, and combining, by the computing system, the first sensor data and the second sensor data.

PREDICTIVE CONTROL METHOD BASED ON A SINGLE LINEAR MODEL FOR REDUCING STRUCTURAL LOADS IN ONSHORE, OFFSHORE AND FLOATING WIND TURBINES

NºPublicación:  WO2025219628A1 23/10/2025
Solicitante: 
UNIV DEL PAIS VASCO / EUSKAL HERRIKO UNIBERTSITATEA [ES]
UNIVERSIDAD DEL PA\u00CDS VASCO / EUSKAL HERRIKO UNIBERTSITATEA
WO_2025219628_PA

Resumen de: WO2025219628A1

The present invention relates to a method for controlling the angles of attack of wind turbine blades, based on a linear model of the wind turbine using a parameter indicative of the acceleration of the wind turbine tower, the linear model being constant across the entire wind turbine operating range. The invention further relates to processing means configured to execute the model-based predictive control. The invention further relates to a method for controlling the position of a moving mass coupled to the wind turbine, based on a linear model of the wind turbine using a parameter indicative of the acceleration of the wind turbine tower and a parameter indicative of the position of the moving mass, the linear model being constant across the entire wind turbine operating range.

VERTICAL AXIS WIND TURBINE AND METHODS OF CUSTOMIZING SAME

NºPublicación:  WO2025217723A1 23/10/2025
Solicitante: 
ALIGNED FINANCIAL SOLUTIONS INC [CA]
ALIGNED FINANCIAL SOLUTIONS INC
WO_2025217723_PA

Resumen de: WO2025217723A1

A vertical axis wind turbine with at least one deflector is provided. In some embodiments, the vertical axis wind turbine comprises: a rotor assembly comprising a shaft, a support structure, and at least two blades connected to the shaft via the support structure, the rotor assembly having an outer circumference; and a deflector assembly comprising at least one deflector, the at least one deflector extending outwards from the rotor assembly at an angle of between 15° and 40° with respect to the tangent of the outer circumference of the rotor assembly. In some embodiments, there are two deflectors of different sizes, which create a Venturi tube therebetween. Related methods of customizing the vertical axis wind turbine are also provided.

ROTOR LOCK SYSTEM FOR WIND TURBINE

NºPublicación:  WO2025217731A1 23/10/2025
Solicitante: 
LIFTWERX SOLUTIONS INC [CA]
LIFTWERX SOLUTIONS INC
WO_2025217731_PA

Resumen de: WO2025217731A1

A rotor lock system for locking a rotor of a wind turbine has a bracket that is slidably mountable on a forwardly protruding projection of a nacelle of the wind turbine so that the bracket is slidable on the projection, and a lock arm connected to the bracket so that the lock arm extends radially away from the projection. The bracket has opposed backing plates and opposed connecting shafts that connect the backing plates together so that at least one of the backing plates is slidable on the connecting shafts when the bracket is mounted on the projection. The lock arm has a protrusion that engages an aperture in a rotor plate when the bracket slides forward on the projection to lock rotation of the rotor plate and disengages from the aperture when the bracket slides rearward on the projection to unlock the rotation of the rotor plate.

Rotorsystem zur Nutzung der Energie eines strömenden Mediums

NºPublicación:  DE102024111205A1 23/10/2025
Solicitante: 
NEUMANN FRANK [DE]
Neumann, Frank

Resumen de: DE102024111205A1

Ein Rotorsystem, mit wenigstens einem Rotor, der eine Geometrie aufweist, die über eine Stelleinrichtung veränderbar ist und der über eine Rotorwelle mit einer Generatoreinrichtung verbunden ist, um eine durch Drehung des Rotors vorhandene Bewegungsenergie in elektrische Energie umzuwandeln, und mit einer Steuereinrichtung, ist dadurch gekennzeichnet, dass eine Kupplung zwischen dem wenigstens einen Rotor und der Rotorwelle angeordnet ist, um eine Verbindung zwischen dem Rotor und der Rotorwelle herzustellen oder zu lösen, wobei die Stelleinrichtung bei gelöster Kupplung dazu geeignet ist, die Geometrie des Rotors in Abhängigkeit von einer Differenz zwischen einer ersten Drehgeschwindigkeit der Rotorwelle und einer zweiten Drehgeschwindigkeit des Rotors zu verändern.

Windkraft-Modul 24 = Windradgeneratoren gestützt E-Fahrzeug ohne Fossilen Brennstoff-Laden der Batteri wahrend Fahrt durch Fahrtwind.-Fahrzeug ist unabhangig von Ladesaulen und Tankstellen

NºPublicación:  DE102024001276A1 23/10/2025
Solicitante: 
GUNKEL DENNIS [DE]
Gunkel, Dennis

Resumen de: DE102024001276A1

Windkraft-Modul für E-Fahrzeuge, gekennzeichnet durch laden während des Fahrens , mittels Ausnutzung des Fahrtwindes durch das Prinzip von Windradgeneratoren/ Dynamo ohne kabelunterstütztes Laden.

MULTIDIMENSIONALE WINDKRAFTANLAGE UND VERFAHREN ZUR ELEKTROENERGIEERZEUGUNG

NºPublicación:  DE102024110862A1 23/10/2025
Solicitante: 
AL MJALI ABDULLAH [DE]
Al Mjali, Abdullah

Resumen de: DE102024110862A1

Die Erfindung betrifft eine multidimensionale Windkraftanlage und ein Verfahren zur Elektroenergieerzeugung.Die erfindungsgemäße Windkraftanlage (1) weist einen Rotationskörper (2) und Windgeneratoren (7) auf und ist dadurch gekennzeichnet, dassder Rotationskörper (2) kugelförmig ausgebildet ist und auf seiner Oberfläche nicht durchgehende Öffnungen (4) aufweist und der kugelförmige Rotationskörper (2) über auf einer Grundplatte (3) angeordneten, beweglich ausgebildeten Halterungsvorrichtungen (9) mit jeweils zwei gegenüber liegenden Windgeneratoren (7) um die x-, y,- oder die z-Achse rotierbar gelagert ist.

SYSTEM AND METHOD FOR PREDICTING FAILURE OF COMPONENTS USING TEMPORAL SCOPING OF SENSOR DATA

NºPublicación:  US2025328778A1 23/10/2025
Solicitante: 
UTOPUS INSIGHTS INC [US]
Utopus Insights, Inc
US_2025328778_PA

Resumen de: US2025328778A1

An example method comprises receiving first historical data of a first time period and failure data, identifying at least some sensor data that was or potentially was generated during a first failure, removing the at least some sensor data to create filtered historical data, training a classification model using the filtered historical data, the classification model indicating at least one first classified state at a second period of time prior to the first failure indicated by the failure data, applying the classification model to second sensor data to identify a first potential failure state based on the at least one first classified state, the second sensor data being from a subsequent time period, generating an alert if the first potential failure state is identified based on at least a first subset of sensor signals generated during the subsequent time period, and providing the alert.

SEA ROUTE PLAN GENERATING SYSTEM AND POWER GENERATION FLOATING BODY

NºPublicación:  US2025327673A1 23/10/2025
Solicitante: 
TOYOTA JIDOSHA KK [JP]
TOYOTA JIDOSHA KABUSHIKI KAISHA
US_2025327673_PA

Resumen de: US2025327673A1

In the sea route plan generating system, a sea route plan generating unit that generates a sea route plan for sailing the power generation floating body that performs wind power generation using a kite while sailing at sea, at a predetermined sailing angle based on the wind conditions and a tidal current determining unit that determines whether or not there is an opposing tidal current opposed to the wind direction based on the wind conditions are provided for the power generation floating body that generates wind power using kite while sailing on the sea. When it is determined that there is an opposite tidal current, the sea route plan generating unit generates the sea route plan such that the power generation floating body proceeds at the sailing angle at which the power generation efficiency increases in the sea area of the opposite tidal current.

PASSIVE TRAILING EDGE INCLUDING LOAD-SHEDDING ASSEMBLY

NºPublicación:  US2025327438A1 23/10/2025
Solicitante: 
GULF WIND TECH [US]
Gulf Wind Technology
US_2025327438_PA

Resumen de: US2025327438A1

A wind turbine rotor blade that includes a blade body having a shape that generates a lift when impacted by an incident airflow. The blade body includes a pressure side and a suction side shell joining at a leading and a trailing edge, and a load-shedding assembly mechanically coupled with the trailing edge and configured to move from an original position to a reversibly deformed position under an application of an external load, and back to the original position on withdrawal of the external load. The load-shedding assembly includes the pressure and suction side shells, and a number of flexible structural elements mechanically coupled with the shells and configured to cause the load-shedding assembly to move from the original position to the deformed position under the external load and back to the original position on withdrawal of the external load, and thereby, reduce an overall load on the blade body.

METHODS AND SYSTEMS FOR HARVESTING ENERGY FROM WIND FLOW

NºPublicación:  US2025327439A1 23/10/2025
Solicitante: 
THE AMERICAN UNIV IN CAIRO [EG]
The American University in Cairo
US_2025327439_PA

Resumen de: US2025327439A1

A system for harvesting energy from wind flow includes a bluff body comprising an elongate member having a non-circular cross-section. The bluff body is configured for creating movement when placed in a wind stream. The system includes a compliant mechanism comprising a translating shuttle coupled to the bluff body for moving in a transverse galloping motion when the bluff body is placed in the wind stream and moves. The system includes a mechanical to electrical energy conversion mechanism coupled to the compliant mechanism for generating electrical energy in response to movement of the translating shuttle.

WIND TURBINE AND METHOD FOR GENERATING ELECTRIC ENERGY

NºPublicación:  WO2025219612A1 23/10/2025
Solicitante: 
AL MIJALI ABDULLAH [DE]
AL MIJALI, Abdullah
WO_2025219612_PA

Resumen de: WO2025219612A1

The invention relates to a wind turbine having a rotational body and wind generators, the rotational body being spherical or toroidal and having, on its surface, non-continuous openings comprising flaps, or having flaps located directly on the rotational body, and the rotational body being mounted rotatably about the x-axis and/or y-axis and/or z-axis via at least two mounting devices each having two opposing wind generators. The invention also relates to a method for generating electric energy using a wind turbine of this kind.

A COATING COMPOSITION, A COATING PREPARED THEREFROM, AND USE THEREOF

NºPublicación:  WO2025219445A1 23/10/2025
Solicitante: 
HEMPEL AS [DK]
HEMPEL A/S
WO_2025219445_PA

Resumen de: WO2025219445A1

The present invention relates to a coating composition comprising: a) a base composition comprising a polyetheraspartic ester having the formula (I) wherein each R represents a linear or branched C1-C10 alkyl residue, such as a linear or branched C1-C6 alkyl residue; and wherein X is a polyether; and an aminosilane with at least one amino group, wherein the amount of aminosilane is at least 0.5 wt.% based on the overall amount of the base composition; and b) a curing agent.

INTEGRATED DISTRIBUTED FIBER OPTIC SENSING SYSTEM FOR ENHANCED OFFSHORE WIND TURBINE MONITORING USING PHYSICS-INFORMED MACHINE LEARNING ALGORITHMS

NºPublicación:  US2025327692A1 23/10/2025
Solicitante: 
NEC LABORATORIES AMERICA INC [US]
NEC Laboratories America, Inc
US_2025327692_PA

Resumen de: US2025327692A1

Disclosed is an integrated DFOS system and method for enhanced offshore wind turbine monitoring using physics-informed machine learning algorithms that advantageously utilizes existing optical fiber communication cables, distributed fiber optic sensing (DFOS), Physics-informed machine learning algorithms, monitoring of critical underwater components, integrated data processing (DPU), and comprehensive monitoring.

WIND POWER GENERATING APPARATUS

NºPublicación:  US2025327440A1 23/10/2025
Solicitante: 
CHANG BRIAN [SG]
CHANG Brian
US_2025327440_PA

Resumen de: US2025327440A1

A wind power generating apparatus (1) comprising: a rotatable track (3) rotatably mounted in an at least substantially horizontal plane; at least one power generator (7) associated with the rotatable track such that power from the power generator(s) is generated by rotation of the rotatable track; a plurality of elongate aerofoil modules (9) rotatably supported on the rotatable track, each of the aerofoil modules extending at least substantially laterally from the rotatable track, the rotation of each of the aerofoil modules about an elongate axis of the aerofoil module being independently controllable to thereby maximise. a motive force applied to the aerofoil modules.

FOUR-COLUMN FLOATING WIND TURBINE FOUNDATIONS

NºPublicación:  US2025327441A1 23/10/2025
Solicitante: 
PRINCIPLE POWER INC [US]
Principle Power, Inc
US_2025327441_PA

Resumen de: US2025327441A1

A floatable, semi-submersible platform for a wind turbine includes a central turbine-tower-hosting column and three or more stabilizing columns. Upper main beams connect the top ends of the stabilizing columns to a top node that is itself connected about the turbine-tower-hosting column. Lower main beams connect the bottom ends of the stabilizing columns to a bottom node that is also connected about the turbine-tower-hosting column. Fixed ballast components may be located within the turbine-tower-hosting column and within the lower main beams. Hull trim compartments for containing ballast may be provided in the three stabilizing columns, and/or lower main beams, with transfer of ballast between the compartments being controlled by a hull trim system (HTS).

ONLINE TESTING AND DIAGNOSIS METHOD FOR VIBRATION CHARACTERISTICS OF BLADES OF WIND TURBINE

NºPublicación:  US2025327442A1 23/10/2025
Solicitante: 
INNER MONGOLIA UNIV OF TECHNOLOGY [CN]
ORDOS INSTITUTE OF TECH [CN]
Inner Mongolia University of Technology,
ORDOS INSTITUTE OF TECHNOLOGY
US_2025327442_PA

Resumen de: US2025327442A1

An online testing and diagnosis method for vibration characteristics of blades of wind turbine is disclosed. Steps of testing and diagnosing blade vibration comprises: S1: installing vibration sensors at key positions of a blade, designing an adaptive data acquisition strategy, and automatically adjusting a sampling rate according to a vibration amplitude and environmental changes monitored in a real time; S2: extracting key features reflecting health status of the blade from massive data, and evaluating an impact of wind speed, temperature, and environmental factors on vibration characteristics; S3: designing a customized deep learning model for damages of the blade of a wind turbine, extracting a time sequence data and a vibration signal, identifying a damage among different types of damages and evaluating a damage degree; and S4: automatically adjusting a warning threshold based on a real-time data stream and a historical trend, and drafting a preventive maintenance plan.

IMPROVEMENTS RELATING TO HYDROGEN ELECTROLYSIS SYSTEMS

NºPublicación:  US2025327192A1 23/10/2025
Solicitante: 
VESTAS WIND SYSTEMS AS [DK]
VESTAS WIND SYSTEMS A/S
US_2025327192_PA

Resumen de: US2025327192A1

A hydrogen generation system comprising a hydrogen electrolyser, a power converter connected to the electrolyser, and a control system configured to control the power converter to supply power to the electrolyser The system further includes a monitoring system configured to monitor the operation of the generation system, wherein the monitoring system is configured to: determine a plurality of operational parameters of the electrolyser, and, generate one or more performance metrics based on the determined operational parameters, the one or more performance parameters including: the electrical capacitance of the electrolyser, and/or the equivalent series resistance of the electrolyser. Also disclosed is a method for determining operational performance of a hydrogen generation system including an electrolyser.

GASKET FOR A TRANSITION PIECE OF A WIND TURBINE AND METHOD FOR MOUNTING SUCH A GASKET

NºPublicación:  US2025326883A1 23/10/2025
Solicitante: 
BASF SE [DE]
BASF SE
US_2025326883_A1

Resumen de: US2025326883A1

Disclosed herein is a gasket for formfitting the bottom part of an upper structure of a wind turbine, such as a transition piece or a turbine tower, with one or more foundation piles, where the gasket includes a polyurethane obtained by mixing (a) organic polyisocyanate, (b) polymeric compounds having at least two isocyanate-reactive hydrogen atoms, (c) 1 to 12 wt.-%, based on the total weight of components a) to c), of one or more chain extenders, (d) catalyst and (e) optionally fillers and/or polyurethane additives to give a reaction mixture and allowing the reaction mixture to cure where the polymeric compounds having at least two isocyanate-reactive hydrogen atoms (b) include polyetherol obtained by alkoxylation of a difunctional starter molecule (b1) and polyetherol obtained by alkoxylation of a trifunctional starter molecule (b2). Further disclosed herein is a method for mounting a transition piece of a wind turbine to a monopile.

MONITORING THE OPERATION OF A WIND TURBINE

NºPublicación:  AU2024270787A1 23/10/2025
Solicitante: 
SIEMENS GAMESA RENEWABLE ENERGY AS
SIEMENS GAMESA RENEWABLE ENERGY A/S
AU_2024270787_PA

Resumen de: WO2024236105A1

A method of monitoring an operation of a wind turbine is provided. The wind turbine (100) is an upgraded wind turbine that comprises at least one performance enhancing upgrade (90) that increases the energy production of the wind turbine (100) compared to the wind turbine without the performance enhancing upgrade (90). The method monitors an additional active power output (dP) of the upgraded wind turbine (100) that is caused by the performance enhancing upgrade (90), wherein the monitoring compares an active power output (Pmeas) of the upgraded wind turbine (100) to an estimated active power output (Pest) of a reference wind turbine that corresponds to the upgraded wind turbine without the at least one performance enhancing upgrade (90).

METHOD FOR REPAIRING A JOURNAL BEARING ASSEMBLY AND JOURNAL BEARING ASSEMBLY OF A WIND TURBINE

NºPublicación:  WO2025218896A1 23/10/2025
Solicitante: 
GENERAL ELECTRIC RENOVABLES ESPANA SL [ES]
GENERAL ELECTRIC RENOVABLES ESPA\u00D1A S.L
WO_2025218896_PA

Resumen de: WO2025218896A1

The present disclosure relates to journal bearing assemblies of wind turbines comprising a static component, a rotating component configured to rotate relative to the static component, a ring attached to either the static component or the rotating component, the ring configured to facilitate separation of a part of the ring from a remainder of the ring, and a plurality of soft bearing pad units attached to the other of the static component and rotating component The present disclosure also relates to methods for repairing journal bearing assemblies, comprising removing one or more bearing pad units having a first thickness from the static component or the rotating component, removing at least a portion of a ring mounted on the other of the static or rotating component, and positioning one or more bearing pad units having a second thickness greater than the first thickness between the static component and the rotating component.

METHOD FOR REPAIRING A SUBSURFACE DEFECT OF A WIND TURBINE ROTOR BLADE, WIND TURBINE ROTOR BLADE AND WIND TURBINE

NºPublicación:  WO2025219372A1 23/10/2025
Solicitante: 
NORDEX ENERGY SPAIN S A U [ES]
NORDEX ENERGY SPAIN S.A.U
WO_2025219372_PA

Resumen de: WO2025219372A1

The invention concerns a method for repairing a sub surface defect (144) of a wind turbine rotor blade (110), wherein - the wind turbine rotor blade (110) comprises a sh ear web (140) which connects two spar caps (136) to each other, and - the defect (144) is located in a joint (143) between the shear web (140) and one of the spar caps (136), the method comprising: - drilling a first pair of bore holes (150), wherein one bore hole (150) is arranged in the suction-side half she ll (132) and the other one is arranged in the pressure-side half shell (132), both bore holes (150) being arranged in the vicinity of the spar caps (136), - inserting a first reinforcing element (152) into the first pair of bore holes (150), and - fixedly connecting the half shells (132) by means of the first reinforcing element (152) such that a clamping force (F) acts on the two half shells (132) to at least partially bridge the defect (144). The invention also addresses a wind turbine rotor b lade (110) and a wind turbine (110).

TRANSMISSION ARRANGEMENT FOR A WIND TURBINE

NºPublicación:  WO2025218867A1 23/10/2025
Solicitante: 
VESTAS WIND SYSTEMS AS [DK]
VESTAS WIND SYSTEMS A/S
WO_2025218867_PA

Resumen de: WO2025218867A1

A transmission arrangement for a wind turbine, comprising a gearbox having a drive output, an electrical generator having a drive input, a drive shaft extending between the drive output and drive input and which defines a rotational axis. In use, torque is transmitted from the drive output to the drive input through the drive shaft. The transmission arrangement further comprises a torque bypass arrangement associated with the drive shaft, wherein the torque bypass arrangement is configured such that torque is transmitted by the torque bypass arrangement, in use, from the drive output of the gearbox to the drive input to the generator upon mechanical failure of the drive shaft. A benefit of the transmission arrangement is that the torque bypass arrangement serves as a failsafe mechanism in the event that the drive shaft experiences a failure event which compromises its capacity to transmit torque between its input end and its output end.

COLLISION PREVENTION APPARATUS

NºPublicación:  WO2025219943A1 23/10/2025
Solicitante: 
STOCKDALE MARK [GB]
STOCKDALE, Mark
WO_2025219943_PA

Resumen de: WO2025219943A1

The present disclosure relates to a wind energy extraction device. The wind energy extraction device comprises at least one rotating turbine blade. The at least one rotating turbine blade is mechanically coupled to a power converter. Additionally, the wind energy extraction device further comprises a collision prevention apparatus. The collision prevention apparatus is configured in close proximity to the at least one rotating turbine blade. The configuration of the collision prevention apparatus is such that it prevents objects from coming into contact with the blades during operation.

AN OFFSHORE WIND TURBINE SUPPORT STRUCTURE, AN INSTALLATION SUPPORT, AND A METHOD OF CONSTRUCTING AN OFFSHORE WIND TURBINE SUPPORT STRUCTURE.

NºPublicación:  WO2025219686A1 23/10/2025
Solicitante: 
AYEC LTD [GB]
AYEC LTD
WO_2025219686_PA

Resumen de: WO2025219686A1

An offshore wind turbine support structure comprising: a monopile; an external working platform; and a grouted connection to directly connect the external working platform to the monopile. An installation support for temporarily connecting an external working platform to a monopile to enable a grouted connection to be installed between the external working platform and the monopile, the support comprising: an interface configured to removably connect to the external working platform via one or more fixtures; and a guide configured to guide a connection region of the external working platform against a connection region of a monopile. A method of constructing an offshore wind turbine support structure, the method comprising: directly connecting an external working platform to a monopile by a grouted connection.

SLIDING BEARING ELEMENT FOR A ROTOR SHAFT WITH A ROTOR AXIS OF A WIND TURBINE

NºPublicación:  WO2025218853A1 23/10/2025
Solicitante: 
SCHAEFFLER TECH AG & CO KG [DE]
SCHAEFFLER TECHNOLOGIES AG & CO. KG
WO_2025218853_PA

Resumen de: WO2025218853A1

The invention relates to a sliding bearing element (1) for a rotor shaft (2) with a rotor axis (3) of a wind turbine (4), comprising at least the following components: - a bearing surface (5) for hydrodynamic mounting of a corresponding abutment surface (6) via a bearing gap (7) therebetween which is covered with a film of bearing oil during operation; - a circumferential bearing surface (8) for mounting the sliding bearing element (1) with respect to a bearing receptacle (9) for the sliding bearing element (1); - a hydraulic cylinder (10), by means of which bearing oil can be displaced from an oil chamber (11); - an oil feed (12) between the hydraulic cylinder (10) and the bearing surface (5), wherein bearing oil displaced from the oil chamber (11) via the oil feed (12) can be fed to the bearing gap (7), and wherein the circumferential bearing surface (8) of the sliding bearing element (1) is mounted such that the sliding bearing element is movable with low friction in the circumferential direction (13) with respect to the bearing receptacle (9). The sliding bearing element proposed here makes it possible to considerably and fail-safely reduce a starting torque after a hydrodynamic bearing gap has run dry.

POWER GENERATION DEVICE AND POWER GENERATION SYSTEM

NºPublicación:  WO2025220486A1 23/10/2025
Solicitante: 
JAPAN AUTOMATIC DOOR CO LTD [JP]
\u65E5\u672C\u81EA\u52D5\u30C9\u30A2\u682A\u5F0F\u4F1A\u793E
WO_2025220486_PA

Resumen de: WO2025220486A1

Provided is a power generation device that is attached to a wind-receiving body which oscillates due to wind, said power generation device comprising: a rotary part; a wire that is wrapped around the rotary part and that can be let out from the rotary part; and a generator that converts, into electric power, the letting-out rotational force of the rotary part rotating in the letting out direction in which the wire is let out, wherein the wire is let out in the lengthwise direction of the wire from the rotary part by oscillation of the wind-receiving body, and the rotary part rotates in the letting out direction due to the wire being let out from the rotary part.

可変ピッチ機構及び発電装置

NºPublicación:  JP2025159785A 22/10/2025
Solicitante: 
合同会社DARRIEUS
JP_2025159785_PA

Resumen de: JP2025159785A

【課題】摩擦等による機械損失の低減、損傷故障の低減及び保守点検・修理復旧に要するコストの低減を図ることができる、可変ピッチ機構及び発電装置を提供する。【解決手段】可変ピッチ機構2は、閉じた曲線形状のガイドレール21と、ガイドレール21に沿って移動可能なガイドローラ22と、ブレード31の後縁側の端面に配置されガイドローラ22を回転可能に支持するガイドロッド23と、ガイドレール21を回転軸32に対して偏心可能かつ偏心した状態を位置決め可能に構成されたガイドレール位置調整手段24と、を備えている。【選択図】図1

CONSTRUCTION OF JACKET WIND TURBINE FOUNDATIONS

NºPublicación:  EP4636162A1 22/10/2025
Solicitante: 
AKER SOLUTIONS AS [NO]
Aker Solutions AS
EP_4636162_PA

Resumen de: EP4636162A1

Methods of constructing a jacket foundation 100 for a wind power plant may comprise preparing a first part 1 and a second part 2. The first part 1 is prepared by providing a first leg section 10 at a plurality of first supports 20; and a second leg section 11 at a plurality of second supports 21; at a construction site S. First braces 30 are fixed between the first and second leg sections 10,11. The second part 2 is prepared by providing a third leg section 12 on an elevated support structure 22,22a-d; and a plurality of second and third braces 31,32 are fixed to the third leg section 12. The second part 2 is lifted onto the first part 1 and connected thereto by fixing the pluralities of second and third braces 31, 32 to the respective first and second leg sections 10, 11.

風力タービンを組み立てる為の吊り上げ設備

NºPublicación:  JP2025160328A 22/10/2025
Solicitante: 
デルタラボラトリーズホールディングビー.ブイ.
JP_2025160328_PA

Resumen de: US2022259013A1

A hoisting arrangement for hoisting an offshore wind turbine blade, comprising a gripper attachment 150 arranged to be connected to the wind turbine blade, comprising a set of cable attachment points 191, 192,193 arranged as a first polygon, a vessel attachment module 194 arranged to be connected to a vessel, comprising a plurality of cable guide elements 190 arranged as a second polygon, a plurality of cables 141, 142, 143, 144 spanned between the cable attachment points and the cable guide elements, and a control system for controlling a position and/or orientation of the gripper attachment within a work space by controlling a spanned length of at least two cables of the plurality of cables between the cable attachment points and the cable guide elements.

電気機械のコイルの冷却

NºPublicación:  JP2025160117A 22/10/2025
Solicitante: 
ゼネラルエレクトリックレノバブレスエスパーニャ,エセ.エレ.
JP_2025160117_PA

Resumen de: US2025317019A1

The present disclosure relates to coils (121), electrical machines (100) comprising coils (121), e.g. a wind turbine generator (42), and methods for cooling coils (121) of electrical machines (100) and for winding and/or electrically insulating (200) coils (121). An electrical machine (100) comprises a rotor (110) and a stator (120). At least one of the rotor (110) and the stator (120) comprises a plurality of teeth (119) and a plurality of coils (121), the coils (121) comprising strand (150) which is wound around the teeth (119) in layers (130, 131). A first axial end portion of a first layer (130) of at least one of the coils (121) is axially displaced (117) with respect to a first axial end portion of a second layer (131) of the coil (121).

風力発電装置の制御装置、風力発電装置用の処理回路、風力発電装置用の制御方法、及び風力発電装置用の制御プログラム

NºPublicación:  JP2025159955A 22/10/2025
Solicitante: 
ナブテスコ株式会社
JP_2025159955_PA

Resumen de: US2025314238A1

A controller for controlling a wind power generation device including a tower and a nacelle includes: a processing circuit configured to control a motor for rotating the nacelle relative to the tower; and a torque information sensor for sensing information about a torque acting from the nacelle to a gear mechanism, the gear mechanism connecting the tower and the nacelle so as to be capable of relative rotation. The processing circuit drives the motor based on a sensing value of the torque information sensor.

SHALLOW DRAFT, WIDE-BASE FLOATING WIND TURBINE WITHOUT NACELLE

NºPublicación:  EP4636245A2 22/10/2025
Solicitante: 
UNIV NORTHEASTERN [US]
Northeastern University
EP_4636245_PA

Resumen de: EP4636245A2

Disclosed are wind turbines suitable for floating application. The wind turbines include multiple floats and multiple towers connected to the floats, a turbine rotor, including a hub and a plurality of blades, structurally supported by the plurality of towers, the turbine rotor coupled to an electrical generator; and have a very shallow draft even for rated capacities of at least 1 MW. The wind turbines can have a single mooring line for yawing eliminating the need for a nacelle, and can allow for deck-level belt driven electrical generators without the need for gear boxes.

RESERVOIR-REGULATING DIGITAL LOAD CONTROL

NºPublicación:  EP4636988A2 22/10/2025
Solicitante: 
LONE GULL HOLDINGS LTD [US]
Lone Gull Holdings, Ltd
EP_4636988_A2

Resumen de: EP4636988A2

Disclosed is an apparatus that adapts the rate of its computational work to match the availability of energy harvested from a stochastic energy source; and, with respect to some types of energy harvesting, regulates the rate of energy capture, the rate of energy conversion, and the rate of consumption of stored potential energy, through its alteration, regulation, and/or adjustment, of that same computational work load.

METHOD FOR OPERATING A COOLING SYSTEM IN A NACELLE OF A WIND TURBINE AND WIND TURBINE

NºPublicación:  EP4634522A1 22/10/2025
Solicitante: 
SIEMENS GAMESA RENEWABLE ENERGY AS [DK]
Siemens Gamesa Renewable Energy A/S
KR_20250149167_PA

Resumen de: WO2024170118A1

Method for operating a cooling system (12) in a nacelle (9) of a wind turbine (1), wherein the wind turbine (1) comprises a generator (5) and at least one transformer (11) located in the nacelle (9), wherein the cooling system (12) comprises - an air-cooling subsystem (14) for cooling at least the generator (5), comprising an inflow unit (15) for drawing inflow ambient air (36) into the nacelle (9), - temperature sensors (33, 34, 35) for measuring the temperature of the ambient air and at least one temperature in the nacelle (9), and - a control device (31) for controlling the operation of the cooling system (12) using the measured temperatures, wherein the control device (31), - a temperature difference between the ambient air and at least a part of the components in the nacelle (9) is determined from measured temperature values of the temperature sensors (33, 34, 35), and - if the temperature difference fulfils a exchange criterion indicating possible condensation of air humidity on at least one of the part of the components in the nacelle (9), the cooling system (12) is controlled to temper the inflow ambient air (36) by exchanging heat between at least one of the components in the nacelle (9) and the ambient air to reduce the temperature difference.

STRUCTURAL JOINT FOR USE IN AN OFFSHORE SUPPORTING STRUCTURE COMPRISING AN INTERNAL FIBRE REINFORCED POLYMER WRAP

NºPublicación:  EP4634460A1 22/10/2025
Solicitante: 
TREE COMPOSITES HOLDING B V [NL]
Tree Composites Holding B.V
KR_20250117432_PA

Resumen de: CN120380223A

A structural joint for use in a support structure bearing cyclic loads, the structural joint comprising a first structural member having a first cross-section defined at least in part by a first dimension, such as a width, height or diameter, and a second tubular structural member having a second cross-section defined at least in part by a second dimension, such as a width, height or diameter. Wherein the first dimension is the maximum dimension of the first cross section; a second tubular structural member having a second cross-section, the second cross-section being at least partially defined by a second dimension, such as width, height or diameter, where the second dimension is a maximum dimension of the second cross-section, where the first dimension is greater than the second dimension; wherein the structural members are arranged relative to each other at a non-zero angle measured between a longitudinal direction of the first structural member and a longitudinal axis of the second tubular structural member, and wherein the second tubular structural member protrudes from a wall section of the first structural member, wherein the first structural member and the second tubular structural member are connected to each other by means of an inner fiber-reinforced polymer coating applied around a preferably complete outer periphery of the second tubular structural member and applied to and connected to the inside of a wall section of the first structural member.

WIND TURBINE BLADE MONITORING

NºPublicación:  EP4634516A1 22/10/2025
Solicitante: 
INSIGHT ANALYTICS SOLUTIONS HOLDINGS LTD [GB]
Insight Analytics Solutions Holdings Limited
WO_2024127032_PA

Resumen de: WO2024127032A1

The invention relates to monitoring attachment integrity of a wind turbine blade by measuring displacement between the blade root and pitch bearing. Example5 embodiments include a method of monitoring attachment integrity of a wind turbine blade having a blade root (301) attached to a pitch bearing (303) of a wind turbine, the method comprising measuring during operation of the wind turbine a displacement of the blade root (301) relative to the pitch bearing (303) in a direction parallel to a longitudinal axis (310) of the blade. The displacement may be recorded over time and10 an amplitude determined. An alert may be triggered if the displacement amplitude exceeds a predetermined displacement threshold.

A METHOD FOR DETERMINING WAKE CONDITIONS AT A WIND TURBINE GENERATOR BY MEASURING BLADE DEFLECTION FROM AN IDEAL BLADE TRAJECTORY

NºPublicación:  EP4634523A1 22/10/2025
Solicitante: 
VENTUS ENG GMBH [AT]
Ventus Engineering GmbH
WO_2024126438_PA

Resumen de: WO2024126438A1

A method (100) for determining wake conditions (90) at a wind turbine generator (WTG) by measuring blade deflection from an ideal blade trajectory, wherein wind turbine generator (WTG) comprising a blade (16), said blade comprising an accelerometer (20), the method (100) comprising steps of - measuring (200) sensory data (80) of the accelerometer (20) during operation, - time-stamping and time-synchronizing (210) the sensory data (80) collected by the accelerometer (20); - dividing (300) the sensory data (80) into sub-data groups (82), wherein each sub-data group (82) comprises at least one full rotation of the blade (16); - determining (400) wake conditions (90) as a function of at least one of the sub-data groups (82) and a wave function (84).

WIND TURBINE BLADE MANUFACTURE

NºPublicación:  EP4634515A1 22/10/2025
Solicitante: 
VESTAS WIND SYS AS [DK]
VESTAS WIND SYSTEMS A/S
CN_120677306_PA

Resumen de: WO2024125745A1

A wind turbine blade is disclosed. The wind turbine blade comprises a core material, a first fibre reinforced plastic, a shear web comprising a second fibre reinforced plastic and an adhesive. The shear web is adhered to the blade shell with the adhesive and the first fibre reinforced plastic, the second fibre reinforced plastic, and adhesive each comprise an acid breakable epoxy polymer. Further disclosed is a method of disassembling such a wind turbine blade by exposing the wind turbine blade to an acid to cause the acid breakable epoxy polymer to disintegrate into particles of swelled epoxy polymer; and recovering fibres from the first fibre reinforced plastic and/or the second fibre reinforced plastics.

WIND TURBINE BLADE MANUFACTURE

NºPublicación:  EP4634514A1 22/10/2025
Solicitante: 
VESTAS WIND SYS AS [DK]
VESTAS WIND SYSTEMS A/S
CN_120677305_PA

Resumen de: WO2024125744A1

A wind turbine blade is disclosed. The wind turbine blade comprises a core material, a first fibre reinforced plastic and a spar cap comprising a third fibre reinforced plastic, and a shear web comprising a second fibre reinforced plastic. The first fibre reinforced plastic, the second fibre reinforced plastic, and the spar cap each comprise a chemically disassemblable polymer. Further disclosed is a method of disassembling such a wind turbine blade by exposing the wind turbine blade to an acid to cause the chemically disassemblable polymer to disassemble; and recovering fibres from at least of one of the first fibre reinforced plastic, the second fibre reinforced plastics and the third fibre reinforced plastic.

METHOD OF RECYCLING COMPOSITE MATERIAL

NºPublicación:  EP4633894A1 22/10/2025
Solicitante: 
VESTAS WIND SYS AS [DK]
VESTAS WIND SYSTEMS A/S
CN_120659699_PA

Resumen de: WO2024125742A1

A method of recycling composite material, the composite material comprising reinforcement fibres embedded in a matrix material. The method comprises: loading the composite material into a container; treating the composite material in the container with a liquid; transporting the container to a recycling station, wherein the liquid degrades the matrix material in the container during the transporting of the container; and at the recycling station, recycling the reinforcement fibres by separating them from the matrix material.

METHOD OF TRANSPORTING PIECES OF COMPOSITE MATERIAL

NºPublicación:  EP4633893A1 22/10/2025
Solicitante: 
VESTAS WIND SYS AS [DK]
VESTAS WIND SYSTEMS A/S
CN_120659700_PA

Resumen de: WO2024125741A1

A method of transporting pieces of composite material, the pieces of composite material comprising reinforcement fibres embedded in a matrix material. The method comprises: loading the pieces into a container; and then transporting the container, the method further comprising softening the matrix material before transporting the container by treating the pieces with a liquid, wherein the liquid transforms the pieces into softened pieces, the softened pieces form a pile of softened pieces in the container, and at least some of the pieces change shape after they have been softened.

A METHOD FOR ASSEMBLING A TOWER OF A WIND TURBINE AND USE THEREOF

NºPublicación:  EP4634520A1 22/10/2025
Solicitante: 
KK WIND SOLUTIONS AS [DK]
KK Wind Solutions A/S
DK_202270621_A1

Resumen de: DK202270621A1

Disclosed is a method for assembling a tower part of a wind turbine (1). The method comprises placing an elongated tubular tower section (6) of the wind turbine (1) so that it is laying down and so that at least a part of an outer elongated surface (7) of the tower section (6) is supported by an underlying surface (8) and forming an electrical module (9) comprising at least one electronic subsystem (10) of the wind turbine (1). The method further comprises transporting the electrical module (9) into the elongated tubular tower section (6) and tilting the electrical module (9) substantially 90 degrees. Even further the method comprises connecting the electrical module (9) to at least two opposing inside surfaces (11) of the elongated tubular tower section (6).

WIND TURBINE BLADE COMPRISING A TRAILING EDGE SECTION HAVING A PLURALITY OF SLITS WITH VARYING LENGTHS

NºPublicación:  EP4634525A1 22/10/2025
Solicitante: 
LM WIND POWER AS [DK]
LM Wind Power A/S
CN_120380251_PA

Resumen de: CN120380251A

The invention relates to a wind turbine blade having a profiled profile comprising a pressure side and a suction side, and a leading edge and a trailing edge wherein a chord having a chord length extends between the leading edge and the trailing edge, the wind turbine blade extending in a spanwise direction between a root end and a tip end, wherein the wind turbine blade comprises a trailing edge section defined between a first trailing edge section end and a second trailing edge section end, where the trailing edge section comprises a plurality of slits comprising: a first plurality of slits extending a first distance from the first trailing edge section end towards the second trailing edge section end, and a second plurality of slits extending a second distance from the first trailing edge section end toward the second trailing edge section end, where the second distance is less than the first distance, and where the trailing edge section is part of the wind turbine blade, or where the trailing edge section is part of a trailing edge panel attached to the wind turbine blade.

SYSTEMS AND METHODS FOR DISPLAYING RENEWABLE ENERGY ASSET HEALTH RISK INFORMATION

NºPublicación:  EP4634524A1 22/10/2025
Solicitante: 
UTOPUS INSIGHTS INC [US]
Utopus Insights, Inc
WO_2024130021_PA

Resumen de: WO2024130021A1

An example method comprises receiving sensor data from multiple wind turbines. A wind turbine includes a gearbox, a generator, and multiple gearbox and generator subcomponents. Health indicators may be determined for the gearbox and generator subcomponents with varying lead times. The health indicators correspond to alerts for current or predicted problems of the gearbox and generator subcomponents and have either low severity, medium severity, or high severity risk levels. A machine learning model trained on sensor data may generate the alerts. The multiple wind turbines may be displayed in a list that may be sortable by health indicators for the gearbox subcomponents and the generator subcomponents. The list may be filterable by alerts for the gearbox subcomponents or the generator subcomponents.

STATOR OF AN ELECTRICAL MACHINE

NºPublicación:  EP4635058A1 22/10/2025
Solicitante: 
SIEMENS GAMESA RENEWABLE ENERGY AS [DK]
Siemens Gamesa Renewable Energy A/S
CN_120642184_PA

Resumen de: WO2024256188A1

It is described a stator (110) of an electrical machine (100), in particular permanent magnet synchronous machine, comprising: plural stator segments (S1, S2) arranged circumferentially adjacent to each other to form a ring covering a whole circumference; each stator segment (S1, S2) having plural teeth (115) with plural slots (116) in between the teeth and having a, in particular exactly one, multiple phase winding set (117) at least partially arranged in the slots; wherein the stator segments are grouped in at least two stator segment groups; wherein winding sets of each group of the stator segment groups are connected in parallel to each other; wherein each of the stator segments (S1, S2) of any considered stator segment group has at least one stator segment of another stator segment group different from the considered stator segment group immediately circumferentially adjacent arranged.

Collision prevention apparatus

NºPublicación:  GB2640440A 22/10/2025
Solicitante: 
MARK JULIAN STOCKDALE [GB]
Mark Julian Stockdale
GB_2640440_PA

Resumen de: GB2640440A

A wind extraction device (wind turbine) having a collision prevention apparatus proximate to the wind turbine’s blade 1 to prevent objects from coming into contact with the blades. The collision prevention apparatus may have a protective mesh 2 with wire strands of 5mm thickness and interstitial spaces of 10mm that occupies a parallel plane to the swept area of the turbine blades, and a solid sheet cowl 6 arranged around the turbine blades. The device may also comprise a power converter 5 that is mechanically coupled to the turbine blade.

WIND TURBINE GENERATOR

NºPublicación:  EP4636243A1 22/10/2025
Solicitante: 
MUNOZ I POL LLUIS [IE]
RUIZ LACALLE VALENTIN [IE]
Mu\u00F1oz I Pol, Llu\u00EDs,
Ruiz Lacalle, Valentin
EP_4636243_PA

Resumen de: EP4636243A1

A wind turbine comprising a stator which has a plurality of vertical baffles which are mutually inclined and define a substantially pyramidal or conical internal chamber for the rotation of N rotors provided with rotary support means and with a plurality of V vertical vanes which are mutually inclined and distributed with a constant spacing, the outer edges of said vanes being adapted to skim the inner surface of the chamber.

COVERING ELEMENT FOR COVERING A SLOT BETWEEN TWO ADJACENT TOOTH TIPS OF AN ELECTRIC MACHINE

NºPublicación:  EP4636996A1 22/10/2025
Solicitante: 
SIEMENS GAMESA RENEWABLE ENERGY AS [DK]
Siemens Gamesa Renewable Energy A/S
EP_4636996_PA

Resumen de: EP4636996A1

The present invention describes a covering element (100, 300, 900, 990, 991) for covering a slot (565) between two adjacent teeth (561, 562) of an electric machine, a stator for an electric machine and a method of forming a covering element (100). The covering element (100, 300, 900, 990, 991) comprises a first sub-element (110, 310, 910, 911, 912) and a second sub-element (120, 330, 920, 921, 922). The first sub-element (110, 310, 910, 911, 912) and the second sub-element (120, 330, 920, 921, 922) are arranged adjacent to each other in a first direction (181). Further, the second sub-element (120, 330, 920, 921, 922) is made of a different material, is longer than the first sub-element (110, 310, 910, 911, 912) and has a lower relative magnetic permeability. The location of the first sub-element is defined by the rotation direction during operation of the machine.

MODULAR TRANSPORT SYSTEM FOR WIND TURBINE COMPONENTS

NºPublicación:  EP4636244A1 22/10/2025
Solicitante: 
SCAN GLOBAL LOGISTICS AS [DK]
Scan Global Logistics A/S
EP_4636244_PA

Resumen de: EP4636244A1

One objective of the invention is to provide a modular transport system (1) for supporting a wind turbine component arranged in a wind turbine support equipment during transport and storage, wherein the modular transport system (1) comprises:- a base support (10) configured for distributing a load onto a surface at a first end (11), wherein the base support (10) comprises a plurality of coupling interfaces (40) arranged at a second end (12) being opposite to the first end (11) and wherein the coupling interfaces (40) are configured for releasably interlocking with another plurality of coupling interfaces (40);- two side sections (20) each comprising a plurality of coupling interfaces (40) arranged at a third end (21) of the side section (20) and another plurality of coupling interfaces (40) arranged at a fourth end (22) being opposite to the third end (21), wherein the third end (21) and the fourth end (22) are separated by a side section length; and- a top support (30) comprising a plurality of coupling interfaces (40) arranged at a fifth end (31) and a top cover (35) arranged at a sixth end (32) being opposite to the fifth end (31) and wherein the top cover (35) is configured for supporting the wind turbine support equipment,wherein the top support (30) is configured for being connected to the two side sections (20), and wherein the two side sections (20) are configured for being connected to the base support (10) with a side section width measured perpendicular to the side

WIND TURBINE OSCILLATION DAMPING

NºPublicación:  EP4636975A1 22/10/2025
Solicitante: 
SIEMENS GAMESA RENEWABLE ENERGY AS [DK]
Siemens Gamesa Renewable Energy A/S
EP_4636975_PA

Resumen de: EP4636975A1

A method of controlling the operation of one or more wind turbines (100) of a wind farm (300) is provided. An electrical power output of the wind farm (300) is provided to a power grid (200). Each of the one or more wind turbines (100) comprises a damping controller (120) configured to provide a damping action that counteracts structural oscillations by modulating the operation of a power generation system (102) of the wind turbine (100). Providing the damping action results in a power oscillation of a power output of the respective wind turbine (100). In the method, monitoring data (51) is obtained that is indicative of power oscillations. From the monitoring data, a rate of change of an amplitude of power oscillations in the power output of the one or more wind turbines (100) is estimated. Based on the estimated rate of change of the amplitude of the power oscillations, the damping controller (120) of at least one of said one or more wind turbines (100) is controlled to adjust the damping action of the damping controller (120).

METHOD FOR REPAIRING A GENERATOR WITH FORM COILS, GENERATOR AND WIND TURBINE

NºPublicación:  EP4637001A1 22/10/2025
Solicitante: 
WOBBEN PROPERTIES GMBH [DE]
Wobben Properties GmbH
EP_4637001_PA

Resumen de: EP4637001A1

Verfahren zur Reparatur eines Generators mit Formspulen, insbesondere eines Generators einer Windenergieanlage mit Formspulen, umfassend die Schritte: Entkoppeln (1010) des ersten und zweiten Anschlusses (18, 19) einer defekten Formspule (11) von zwei weiteren der mehreren Formspulen (10); Abtrennen (1020) des ersten und zweiten Spulenkopfes (14, 16) der defekten Formspule (11); Auftrennen (1030a) eines Nutenverschlusskeils, der eine Nut verschließt, in der ein erster Schenkel (12a) der defekten Formspule (11) eingesetzt ist; Entfernen (1040a) des ersten Schenkels (12a) der defekten Formspule (11) aus der Nut (38); Einsetzen (1050a) eines ersten Schenkels (12a) einer neuen Formspule (13) mit einem elektrischen Leiter aus Kupfer oder Aluminium; Einsetzen (1060a) eines neuen Nutenverschlusskeils (39) in die Nut (38), in welche der erste Schenkel (12a) der neuen Formspule (13) eingesetzt wurde, wobei die Nut (38) durch den neuen Nutenverschlusskeil (39) in Richtung des im Betriebszustand zwischen Stator und Rotor bestehenden Luftspalts verschlossen wird; Einbringen (1070a) von Harz in die Nut, in welche der erste Schenkel (12a) der neuen Formspule (13) eingesetzt wurde; Verbinden (1080) des ersten Schenkels (12a) mit dem zweiten Schenkel (12b); und Koppeln (1090) des ersten und zweiten Anschlusses mit dem ersten Anschluss und zweiten Anschluss der zwei weiteren Formspulen (10).

UNLOCKING A ROTOR OF A WIND TURBINE

NºPublicación:  EP4634521A1 22/10/2025
Solicitante: 
SIEMENS GAMESA RENEWABLE ENERGY AS [DK]
Siemens Gamesa Renewable Energy A/S
CN_120677308_PA

Resumen de: WO2024223176A1

It is described a method of aiding unlocking, and in particular unlocking, a rotor of a wind turbine (1570) locked by a locking system (1575), the rotor being coupled to an electrical machine (1571) and rotatably supported by a rotor bearing, the method comprising: providing a torque reference (100, 200, 300, 700, 1100) or an equivalent current reference (1300); controlling the electrical machine (1571) based on the torque reference (100); generating, by the electrical machine, a mechanical torque acting on the rotor according to the torque reference; wherein the torque reference (100) defines a time course (t1,t2) of a target torque (tt1, tt2).

MAGNET MODULE FOR A ROTOR OF AN ELECTRICAL MACHINE

NºPublicación:  EP4635053A1 22/10/2025
Solicitante: 
SIEMENS GAMESA RENEWABLE ENERGY AS [DK]
Siemens Gamesa Renewable Energy A/S
CN_120770107_PA

Resumen de: WO2024208552A1

It is described a magnet module (130) for a rotor (110) of an electrical machine (100), in particular a wind turbine gener- ator, comprising: a base member (132) extending in a width direction (103), in particular circumferential direction, in a length direction (101), in particular axial direction, and in a thickness direction (102), in particular radial direction, and having a rotor house mounting surface (133) and, at an opposite side, a magnet mounting surface (134) both extending in the width direction (102) and the length direction (101); a magnet (135) mounted at the magnet mounting surface (134) of the base member (132), wherein the base member (132) has at least one first base member recess (137) at the rotor house mounting surface (133), the first base member recess extending in the length direction (101).

VERTICAL AXIS WIND TURBINE SYSTEM FOR POWER GENERATION

NºPublicación:  EP4634519A1 22/10/2025
Solicitante: 
OROSZI LASZLO [HU]
Oroszi, L\u00E1szl\u00F3
WO_2024127050_PA

Resumen de: WO2024127050A1

A vertical axis wind turbine system for power generation which has at least one wind rotor which has at least three blades spaced apart from each other in a uniform angle pitch, the blades have a concave and an opposite convex surface, and in at least one wind rotor the blades are arranged in a plane perpendicular to the axis (13), and the at least one wind rotor is supported by bearings for rotation about the vertical axis (13) and located on the top of a column (10) and/or support rod (52), and the system includes a device for converting the rotational energy of the rotated axis (13) into another type of energy, wherein the blades (15, 16, 17; 59, 60, 61, 62) are arranged along the sides of a regular polygon (21) surrounding the axis (13) as the center and in the plane, and their extensions where each side has a side length M, and the convex side of the blades faces the inside of the polygon, the inner end of each blade (15, 16, 17; 59, 60, 61, 62) extends at least to the midpoint of the side to which it belongs, and the total length (L) of blades (15, 16, 17; 59, 60, 61, 62) shall be at least 2.5 times the mentioned length of the side (M) that is L > 2.5 M, and the number of the sides of the polygon being not less than 3 and not more than 6.

WIND TURBINE BLADE

NºPublicación:  EP4634518A1 22/10/2025
Solicitante: 
VESTAS WIND SYS AS [DK]
VESTAS WIND SYSTEMS A/S
CN_120677304_PA

Resumen de: WO2024125748A1

According to the present invention there is provided a wind turbine blade comprising a blade shell that extends longitudinally in a spanwise direction from a root end to a tip end, and transversely in a chordwise direction between a leading edge and a trailing edge. The blade shell is formed from first and second opposing half shells of composite laminate construction. Each half shell comprises an inner skin on an inside of the blade shell and an outer skin on an outside of the blade shell. The blade further comprises a first spar cap located between the inner and outer skins of the first half shell and a second spar cap located between the inner and outer skins of the second half shell. The first and second spar caps are mutually opposed. The first spar cap comprises a plurality of side-by-side stacks of longitudinally-extending strips of reinforcing material, the stacks including at least one web-supporting stack and at least one non-web-supporting stack. The blade further comprises a shear web connected between the first and second spar caps. The shear web comprises a longitudinally-extending web panel and first and second mounting flanges, the first and second mounting flanges extending transversely to the web panel along respective longitudinal edges of the web panel. The first mounting flange is adhesively bonded to the inside of the first half shell in the region of the web-supporting stack(s) of the first spar cap and the second mounting flange is adhesively bonded to

FAMILY OF WIND TURBINE BLADES

NºPublicación:  EP4634517A1 22/10/2025
Solicitante: 
VESTAS WIND SYS AS [DK]
VESTAS WIND SYSTEMS A/S
CN_120604034_PA

Resumen de: WO2024125747A1

According to the present invention there is provided a family of wind turbine blades of substantially equal length and of substantially the same external shape. Each blade comprises a blade shell that extends longitudinally in a spanwise direction from a root end to a tip end and transversely in a chordwise direction between a leading edge and a trailing edge. The blade shell is formed from first and second opposing half shells. Each blade further comprises a first spar cap associated with the first half shell and a second spar cap associated with the second half shell. The first and second spar caps are mutually opposed. The first spar cap comprises a plurality of side-by-side stacks of longitudinally- extending strips of reinforcing material, the stacks including at least one web-supporting stack and at least one non-web-supporting stack. Each blade further comprises a shear web connected between the first and second spar caps. The family of wind turbine blades comprises a first blade designed for a first wind turbine operating in a first wind class or having a first rated power, and a second blade designed for a second wind turbine operating in a second wind class or having a second rated power. The second wind class or second rated power is different to the first wind class or first rated power. At a first spanwise location along the blade, the number of strips in a non-web-supporting stack of the first spar cap of the first blade is different to the number of strips in a

SYSTEM AND METHOD FOR REDUCING DRIVETRAIN COUPLING TORQUES AFTER A GRID EVENT

NºPublicación:  EP4636972A2 22/10/2025
Solicitante: 
GE VERNOVA INFRASTRUCTURE TECH LLC [US]
GE Vernova Infrastructure Technology LLC
EP_4636972_PA

Resumen de: EP4636972A2

A method for controlling a power generating asset connected to an electrical grid includes receiving (402) a grid power limit associated with a grid event and, based on the grid power limit, determining (404) a target grid power for the generator during recovery from the grid event. During the recovery, a first power softening function is implemented (406) that includes receiving (410) at least one of a torsional angle signal or change in speed signal associated with the drivetrain. Upon the torsional angle or change in speed crossing a threshold value, the method decreases (412) a power command on the generator below the target grid power to reduce the torsional angle at a later point in time. A power difference between the target grid power and the decreased power command of the generator is determined (414) and power is supplied (416) from an energy storage device in communication with the converter to make up the power difference.

ACTIVE FLAP FOR A BLADE OF A WIND TURBINE

NºPublicación:  EP4634513A1 22/10/2025
Solicitante: 
SIEMENS GAMESA RENEWABLE ENERGY AS [DK]
Siemens Gamesa Renewable Energy A/S
CN_120693457_PA

Resumen de: WO2024165206A1

The invention relates to an active flap (100) for a blade (40) of a wind turbine. The active flap (100) comprises an upper part (10) configured to connect the active flap (100) to an interface (20) positioned at the blade (40). The active flap (100) further comprises a lower part (12) and an adjustment means (16). The lower part (12) is configured to move relatively to the upper part (10). The adjustment means (16) is arranged in an openable cavity (38) between the upper part (10) and the lower part (12) and is configured to reversibly provoke a movement of the lower part (12). The active flap (100) further comprises a hinge part (14) configured to connect the lower part (12) to the upper part (10). The adjustment means (16) is connected to the upper part (10). The upper part (10) comprises an extension means (34) detachably mounted to the lower part (12) and configured to open and/or close the openable cavity (38).

ELECTRIC GENERATOR FOR A WIND TURBINE, INNER STATOR FOR AN ELECTRIC GENERATOR FOR A WIND TURBINE AND WIND TURBINE

NºPublicación:  EP4635054A1 22/10/2025
Solicitante: 
SIEMENS GAMESA RENEWABLE ENERGY AS [DK]
Siemens Gamesa Renewable Energy A/S
KR_20250142325_PA

Resumen de: WO2024160409A1

Electric generator for a wind turbine (1), comprising at least one brake support plate (23) having at least one braking arrangement (21) mounted thereon, an outer rotor (11) which is rotatably mounted with respect to the brake support plate (23), wherein the at least one braking arrangement (21) is adapted to interact with at least one brake disk (22) which is attached to the rotor (11) to brake a relative rotation between the rotor (11) and the at least one brake support plate (23), wherein an airgap securing element (33) is mounted on the brake support plate (23) and adapted to get in contact with the at least one brake disk (22) if a distance between the at least one brake disk (22) and the brake support plate (23) and/or between an inner stator (10) of the electric generator (7) and the rotor (11) is reduced below a predetermined reference value, wherein the at least one airgap securing element (33) is mounted on the at least one braking arrangement (21).

風力/浮力ハイブリッド発電装置及び風力/浮力ハイブリッド発電方法

NºPublicación:  JP2025159736A 22/10/2025
Solicitante: 
株式会社島村技建コンサルタント
JP_2025159736_PA

Resumen de: WO2024048754A1

Provided is a power generation device that has little effect on the natural environment and little effect on the climate and that exhibits excellent energy efficiency and has low manufacturing costs compared to the prior art. This wind-power/buoyancy hybrid power generation device comprises: (A) a wind power generation unit including a tower, a nacelle that is provided to a top part of the tower so as to be capable of pivoting around a center axis of the tower, a hub that is provided to an end part of the nacelle so as to be capable of rotating around an axis which is orthogonal to the center axis, at least one blade that is provided to the hub, and a first power generator that is disposed on the inside of the nacelle and connected to the hub; and (B) a buoyancy power generation unit including a water storage tank that is configured to be capable of storing water, a fuel gas introduction part, a fuel gas recovery part that is positioned above the water surface of the water which can be stored, a fuel gas discharge part that is connected to the fuel gas recovery part, an air bubble receiving part, a belt that is connected to the air bubble receiving part, a rotary body that is connected to the belt, and a second power generator that is connected to the rotary body.

洋上構造物、特に、浮体式洋上構造物

NºPublicación:  JP2025534897A 21/10/2025
Solicitante: 
エル・ヴェー・エーオフショアウィンドゲゼルシャフトミットベシュレンクテルハフツング
JP_2025534897_PA

Resumen de: US2025253641A1

An offshore structure that is a floatable offshore structure that includes at least one submarine cable connector configured to connect a submarine power cable to an electrical device of the offshore structure. The offshore structure also includes at least one messenger line. A first end of the messenger line is fixed to the submarine power cable and a further end of the messenger line is fixed to the offshore structure.

一种模板支护装置

NºPublicación:  CN223459138U 21/10/2025
Solicitante: 
中国葛洲坝集团电力有限责任公司
CN_223459138_U

Resumen de: CN223459138U

本实用新型提供了一种模板支护装置,涉及风力发电机安装技术领域,包括:支护板,多个支护板之间相互搭接配合制成,多个支护板顶部设有上盖;搭扣组件,搭扣组件设于多个支护板之间,用于连接多个支护板用于进行固定安装;及支撑组件,支撑组件设于支护板外侧,用于对支护板进行支撑固定。该种装置利用搭扣组件能够让多个支护板之间进行快速的扣接安装,在提高安装效率的同时,利用圆柱状的搭接块和从外方固定的支撑组件相互进行配合,能够更加稳定的对支护板进行加固支撑,防止其松动脱落。

用于漂浮式风电基础结构下水的升降装置

NºPublicación:  CN223457090U 21/10/2025
Solicitante: 
中海石油(中国)有限公司北京新能源分公司
CN_223457090_U

Resumen de: CN223457090U

本实用新型涉及海上风电工程技术领域,提供一种用于漂浮式风电基础结构下水的升降装置,包括:运输平台,承载运输漂浮式风电基础结构;升降平台,紧邻所述运输平台布置,并且支撑在水中,承接由运输平台运输的漂浮式风电基础结构,带动漂浮式风电基础结构下降至水中;升降平台包括多组升降模块,各组所述升降模块紧邻对齐布置,并且各组升降模块能够单独升降或者彼此配合联动升降;所述升降平台根据运输平台运输的漂浮式风电基础结构的体积启动对应数量的所述升降模块带动漂浮式风电基础结构下水。本实用新型实现了漂浮式风电基础结构批量化、规模化下水的可能性,解决了漂浮式海上风电整体下水的难点,提高了漂浮式海上风电施工的效率。

一种风力发电机机舱维护手柄

NºPublicación:  CN223459493U 21/10/2025
Solicitante: 
华润电力风能(佳木斯)有限公司
CN_223459493_U

Resumen de: CN223459493U

本实用新型公开了一种风力发电机机舱维护手柄,包括手柄主体、开设在手柄主体顶面的按钮槽;以及设置在手柄主体顶部的防护机构,包括活动安装在手柄主体右侧顶部的旋转轴柱、固定在旋转轴柱顶端表面的活动压座、转动套设在旋转轴柱表面且处于活动压座顶部的旋转顶座、固定在旋转顶座一侧且与按钮槽相对应的防护遮板;本实用新型通过对现有技术中的风力发电机机舱维护手柄进行改进优化,在手柄主体的顶部设计了相应的旋转式防护机构,可以通过防护遮板的旋转下移实现对按钮槽的有效覆盖封堵,从而起到防水防护,以及防止维护按钮和维护旋钮被误触误旋的情况发生,表面因误触误旋导致风电机组误运行的情况出现。

一种筒节、塔筒及塔筒施工方法

NºPublicación:  CN120819472A 21/10/2025
Solicitante: 
浙江华东新能科技有限公司
CN_120819472_PA

Resumen de: CN120819472A

本发明涉及风力发电技术领域,公开了一种筒节、塔筒及塔筒施工方法,包括:至少一个塔筒段,塔筒段适于沿竖直方向堆叠设置;塔筒段沿竖直方向中心开孔,塔筒段的内侧端面上沿轴向从所述塔筒段的一端向另一端延伸设置有加强肋,加强肋的上端面设置有预应力孔,预应力孔沿竖直方向贯穿加强肋,预应力孔用于穿设预应力线,本发明通过在塔筒段的内部设置加强肋,将预应力孔开设在加强肋上,有效避免了塔筒段开孔导致的结构强度薄弱问题,提升了塔筒的整体稳定性和耐久性。

一种小型风力发电机

NºPublicación:  CN120819483A 21/10/2025
Solicitante: 
宁津县晟成风电设备有限公司
CN_120819483_PA

Resumen de: CN120819483A

本发明涉及风力发电机技术领域,公开了一种小型风力发电机,包括:底面通过螺栓固定安装在塔架上的底座;还包括:底座的内部固定安装有发电器,所述发电器的传动轴顶端固定连接有叶轮架,叶轮架在风力的推动下带动发电器运行,所述底座的两侧顶部转动贯穿安装有连接架,且连接架的顶部固定连接有风向板,所述底座的两侧转动嵌设有筒架,所述连接架的底部活动连接有角度传动模组,连接架通过角度传动模组带动筒架转动朝向对应风向。该小型风力发电机,装置设置有可依据外界风向进行适应性角度调节的进风机构,使得外界冷风能够更加充分的进入装置内部,从而提高了电机的散热效果,且装置能够对气流过滤板进行自动清理。

一种蓄电器切换冷却风轮增量自发电自充电的纯电动飞行器

NºPublicación:  CN120817246A 21/10/2025
Solicitante: 
刘本荣
CN_120817246_A

Resumen de: CN120817246A

本发明涉及一种蓄电器切换冷却风轮增量自发电自充电的纯电动飞行器,包括飞行器。其特征在于:飞行器安装有力矩转换装置、蓄电器组,充电器,380V交流电动机连接飞行器推进器驱动。其特征在于:有电蓄电器组连接力矩转换装置内直流电动机带动连接装风轮380V交流发电机供电,连接380V交流电动机,连接飞行器推进器驱动。其特征在于:380V交流发电机发电,接二相220V交流电连接充电器,为切换蓄电器组电量不足的蓄电器充电,使蓄电器组给直流电动机供电,使直流电动机连续运转。本发明的优点是可以循环产生电力输出驱动推进器及供配电用电器使用,节能环保。

风力发电机组偏航齿轮分区润滑方法

NºPublicación:  CN120819484A 21/10/2025
Solicitante: 
海南州华豫新能源开发有限公司
CN_120819484_PA

Resumen de: CN120819484A

本申请涉及风力发电机组偏航系统润滑技术领域,尤其涉及一种风力发电机组偏航齿轮分区润滑方法,包括区域划分,将偏航齿轮工作面沿轴向均分为上、中、下三个独立润滑区域;裸露检测;分级判定,对存在裸露的区域,基于裸露面积占比与预设判定阈值判定是否需要对注脂小齿轮的出油孔进行封堵,并对所需封堵区域进行确定;对不存在裸露的区域,通过厚度检测设备检测润滑油脂覆盖厚度,并计算膜厚占比,根据膜厚差异比例确定所需封堵区域以及所需封堵个数;执行操作。本发明通过对出油孔的动态封堵,实现对齿宽方向润滑量的精准调控,以提升其润滑均匀性,减少油脂在下侧堆积所造成的浪费与污染。

一种风电机组全寿命数据增强方法

NºPublicación:  CN120821962A 21/10/2025
Solicitante: 
中国矿业大学
CN_120821962_PA

Resumen de: CN120821962A

本发明公开了一种风电机组全寿命数据增强方法,属于数据处理技术领域,包括对风电机组寿命预测数据进行预处理;选取两组具有相同退化趋势的全寿命预测数据;进行降维处理;对特征向量z1和z2采用混合因子λ进行线性插值混合,生成混合特征向量z0;整合原始特征向量z1、z2及混合特征向量z0形成混合数据集Zmix;训练Informer模型;训练DDPM模型,并生成新特征向量zgen;训练时间序列预测模型;将zgen输入Informer解码器还原为增强时间序列数据;整合所有增强数据形成完整扩充数据集Xaug;通过独立测试集评估模型性能,本发明解决了现有技术中数据量不足、特征学习不充分以及模型泛化能力差的问题。

一种风电机组子部件测试评价系统及控制方法

NºPublicación:  CN120820797A 21/10/2025
Solicitante: 
中国电力科学研究院有限公司
CN_120820797_PA

Resumen de: CN120820797A

本发明属于风电机组测试技术领域,公开一种风电机组子部件测试评价系统及控制方法;系统包括:综合变流器、六自由度加载子系统、风电机组和电网模拟器;风电机组包括齿轮箱、发电机和风电变流器;六自由度加载子系统、齿轮箱和发电机依次连接;发电机的输出端连接风电变流器;综合变流器通过第一开关连接拖动电机,通过第二开关连接风电变流器;所述综合变流器用于控制拖动电机或模拟发电机;风电变流器的输出端连接电网模拟器;所述电网模拟器用于接收风电变流器输出的电能信号模拟电网工况。本发明具备传动链测试和独立变流器测试功能,可以根据测试需求灵活切换运行模式,减小传动链磨损与能量损失,降低测试成本,拓宽测试场景。

基于无人机的风机叶片巡检方法、系统、设备及介质

NºPublicación:  CN120819480A 21/10/2025
Solicitante: 
四川盐源华电新能源有限公司
CN_120819480_A

Resumen de: CN120819480A

本发明涉及风机缺陷检测技术领域,具体涉及基于无人机的风机叶片巡检方法,包括:获取风机静态基础数据;基于风机静态基础数据构建叶片基准模型,并根据预设短时动态振动激发规则采集动态振动响应数据;根据动态振动响应数据识别叶片高危区域,结合叶片基准模型生成分层环绕航线;控制无人机根据分层环绕航线采集叶片多角度图像,对叶片多角度图像进行处理识别表面缺陷并生成视觉置信度;利用时空对齐模型将动态振动响应数据映射至叶片基准模型,提取对应位置的功率谱密度特征,融合视觉置信度计算损伤指数,输出巡检报告。其目的在于,解决静态巡检模式下难以识别叶片内部损伤的技术问题。

基于火力发电的能源综合利用系统

NºPublicación:  CN120819417A 21/10/2025
Solicitante: 
中国三峡新能源(集团)股份有限公司中国长江三峡集团有限公司
CN_120819417_PA

Resumen de: CN120819417A

本公开涉及一种基于火力发电的能源综合利用系统。其中,基于火力发电的能源综合利用系统包括:所述风光发电系统,用于在正常发电时将电能传输至电网,在电网峰谷期将弃电供给所述火力发电系统和所述二氧化碳储能利用系统;所述火力发电系统,用于通过发电后产生的蒸汽进行供暖,并收集产生的二氧化碳进行存储;所述二氧化碳储能利用系统,用于对所述火力发电系统中存储的二氧化碳进行处理,进行供暖和生成甲醇存储;所述水资源回收和净化系统,用于对收集的废水进行净化。根据本公开实施例,能够提升了能量转化率,降低了建设和运营成本,提升了水资源的利用率。

一种基于相控阵超声的风电机组缺陷检测方法及相关装置

NºPublicación:  CN120819477A 21/10/2025
Solicitante: 
西安热工研究院有限公司
CN_120819477_PA

Resumen de: CN120819477A

本发明属于风电机组设备检测技术领域,涉及一种基于相控阵超声的风电机组缺陷检测方法及相关装置。包括以下步骤:确定待检测的风电机组关键部件及其检测区域;根据所述检测区域的几何特征,配置相控阵超声探头的扫描路径、聚焦法则及声束偏转角度;将所述相控阵超声探头耦合至部件表面,并沿所述扫描路径移动,同时依据所述聚焦法则和声束偏转角度发射超声波并接收相应的回波信号;根据所述回波信号生成所述检测区域的超声图像;对所述超声图像进行分析,以识别、定位并评估缺陷的尺寸和性质。

用于带齿扭矩传递组件的齿以及用于制造这种齿的方法

NºPublicación:  CN120826553A 21/10/2025
Solicitante: 
弗兰德有限公司
CN_120826553_PA

Resumen de: WO2024179937A1

The invention relates to a tooth (10) for a toothed torque transmission assembly, said tooth comprising a tooth flank (18) for exchanging torque with a mating flank of a toothing partner, wherein the tooth flank (18) has a periodic progressing tooth flank correction (22) with a sinusoidal waviness having a locally extending period length T, wherein the periodic tooth flank correction (22) is superimposed with a spatial microstructure (26), wherein a localised local maximum (28) is at the shortest distance t from the nearest local minimum (30), where t < T/2. By increasing the white noise in the structure-borne sound emitted by the tooth (10) with the aid of the microstructures (26), it is possible to reduce human-disturbing noise emissions in torque transmission devices.

风电叶片和风电设备

NºPublicación:  CN120819465A 21/10/2025
Solicitante: 
中车启航新能源技术有限公司
CN_120819465_PA

Resumen de: CN120819465A

本发明涉及风力发电技术领域,提供一种风电叶片和风电设备,风电叶片包括叶片主体、驱动装置、第一扰流结构及传感器,叶片主体设有安装空间以及连通安装空间的第一安装孔;驱动装置设于安装空间内;第一扰流结构连接于驱动装置,第一扰流结构活动穿设于第一安装孔;传感器设于叶片主体,驱动装置驱动第一扰流结构伸出于第一安装孔外或收缩于安装空间内。本发明的风电叶片,通过传感器实时检测叶片运动信号并联动驱动装置控制扰流结构的伸缩动作,能够在颤振发生时快速形成气动阻尼,有效耗散振动能量,具有能够主动感知叶片振动状态并及时采取抑振措施,避免因颤振能量累积导致的疲劳损伤或极限破坏事故的优点。

新型风电机组

NºPublicación:  CN120819463A 21/10/2025
Solicitante: 
中车启航新能源技术有限公司
CN_120819463_PA

Resumen de: CN120819463A

本发明涉及风力发电设备技术领域,提供一种新型风电机组,包括主塔架、多个分塔架及多个叶轮,分塔架的一端连接主塔架,多个分塔架相互之间呈夹角设置;每一叶轮设于一分塔架远离主塔架的一端,多个叶轮至少朝向两个不同的方向设置。本发明的新型风电机组,通过主塔架与多个呈夹角设置的分塔架配合,并在分塔架末端设置朝向不同的叶轮,解决了传统单塔架结构空间利用率低、多叶轮协同工作困难的问题,具有提高空间利用率、增强结构稳定性、便于运输吊装以及实现多叶轮协同工作的优点。

一种风力发电机组变桨系统防超速装置及控制方法

NºPublicación:  CN120819469A 21/10/2025
Solicitante: 
国能云南新能源有限公司
CN_120819469_PA

Resumen de: CN120819469A

本申请提供一种风力发电机组变桨系统防超速装置及控制方法,装置包括控制单元,设置于所述变桨系统中;以及,设置于轮毂中的:转速传感器,用于检测轮毂转速得到轮毂转速检测值发送至所述控制单元;振动传感器,用于检测轮毂振动得到轮毂振动检测值发送至所述控制单元;所述控制单元,在所述轮毂转速检测值超过所述预设转速阈值、所述轮毂振动检测值超过所述预设振动阈值,执行收桨动作。本申请方案提高了变桨系统的安全性,确保风力发电机组的安全运行,避免引发安全隐患和设备损坏。

一种海上大兆瓦风机叶片减震控制方法

NºPublicación:  CN120819478A 21/10/2025
Solicitante: 
大唐汕头新能源有限公司
CN_120819478_PA

Resumen de: CN120819478A

本发明涉及叶片控制领域,尤其涉及一种海上大兆瓦风机叶片减震控制方法,包括根据实际环境评价值确定振动数据的采集频率,并且针对目标风机振动数据进行采集;根据历史异常次数确定目标风机的类别为一类监测风机或二类监测风机;周期性根据一类监测风机和二类监测风机的比例参考值确定数据均衡状态为第一数据均衡状态或第二数据均衡状态;第一数据均衡状态下,根据各一类监测风机的监测曲线波动度与预设监测曲线波动度的比对结果确定是否针对一类监测风机对应的振动传感器的采集频率进行调节;第二数据均衡状态下,针对目标风机进行分组处理,并将风机组合;减小监测人员的监测压力大,提供叶片减震控制的监测效果。

一种具有自适应连接减振功能的浮式风机及工作过程

NºPublicación:  CN120819473A 21/10/2025
Solicitante: 
江苏科技大学
CN_120819473_PA

Resumen de: CN120819473A

本发明公开了一种具有自适应连接减振功能的浮式风机及工作过程,包括安装壳,安装壳与风机本体之间连接有多个减振组件,减振组件包括第一机壳和第二机壳,第一机壳固定在安装壳顶部,第二机壳固定在风机本体侧壁,第一机壳与第二机壳之间活动连接有支撑板,第一机壳内设有第一滑块,第一滑块与第一机壳之间沿水平方向贯穿有第一滑杆,第一滑杆的两端分别固定在第一机壳内侧壁,第一滑块与第一机壳两侧壁之间的第一滑杆上均套有第一弹簧;第二机壳内设有第二滑块,第二滑块与第二机壳之间沿垂直方向贯穿有第二滑杆,第二滑杆的两端分别固定在第二机壳内侧壁,第二滑杆与第二机壳两侧壁之间的第二滑杆上均套有第二弹簧。本发明可以提高风机稳定性。

一种填充式可调刚度的叶片及其制作方法

NºPublicación:  CN120819466A 21/10/2025
Solicitante: 
中国交通建设股份有限公司南方分公司
CN_120819466_PA

Resumen de: CN120819466A

本发明涉及一种填充式可调刚度的叶片及其制作方法,叶片包括外壳、刚度支撑杆和填充材料,所述外壳的内部设置填充空腔,并外壳上设有与填充空腔相连通的填充口,所述外壳内部还设有定位孔,所述刚度支撑杆可拆卸式地固定安装于定位孔中,且刚度支撑杆沿着外壳的叶根端至叶尖端的方向延伸,所述填充材料填充在外壳的填充空腔中。能够方便快速制作,且方便调整并精确控制叶片的质量分布和力学性能,可满足快速优化迭代要求。

风机巡检方法、装置、存储介质及电子设备

NºPublicación:  CN120819474A 21/10/2025
Solicitante: 
星逻智能科技(苏州)有限公司
CN_120819474_PA

Resumen de: CN118088390A

The invention discloses a draught fan inspection method and device, a storage medium and electronic equipment. The method comprises the steps that first equipment is controlled to move to the position above a target draught fan to obtain a reference draught fan yaw angle of the target draught fan; based on the reference fan yaw angle and a real-time fan yaw angle change value sent by the second equipment, the first equipment is controlled to move to the position right in front of a fan hub of the target fan; the method comprises the following steps: taking the front of a fan hub as a first waypoint, taking one side of a fan blade rotating plane of a target fan as a second waypoint, taking the right rear of the fan hub as a third waypoint, and taking the other side, opposite to the second waypoint, of the fan blade rotating plane as a fourth waypoint; generating an inspection route of the first equipment based on the waypoint position of each waypoint; and updating the inspection route in real time based on the real-time fan yaw angle change value. According to the method and the device provided by the invention, the inspection route of the first equipment can be determined under the condition that the fan is not stopped, so that the inspection efficiency of the fan is improved.

一种风电叶片早期损伤识别方法及系统

NºPublicación:  CN120819476A 21/10/2025
Solicitante: 
沈阳工业大学
CN_120819476_PA

Resumen de: CN120819476A

本申请提出一种风电叶片早期损伤识别方法及系统,属于风力发电机组状态监测技术领域,其中方法包括:对所述SCADA系统的风速‑功率实时数据进行两次数据清洗;将最后一次清洗后的风速‑功率实时数据与标准风速‑功率曲线进行对比,得到初步风电叶片损伤状态;将实时声发射信号输入风电叶片早期损伤预测模型中,得到风电叶片早期损伤识别的类型以及程度,风电叶片早期损伤预测模型,通过改进的K‑means 算法对疲劳加载试验采集的声发射信号进行分类,构建卷积神经网络。本申请的方法避免了无监督学习算法过于依赖经验设定阈值的问题,解决了数据清洗质量差、算法泛化性不强弊端,提高了SCADA数据的可靠性、准确性与可用性。

一种潮汐发电系统及其潮汐发电方法

NºPublicación:  CN120819460A 21/10/2025
Solicitante: 
刘全颂
CN_120819460_PA

Resumen de: CN120819460A

本发明涉及潮汐能相关技术领域,尤其涉及一种潮汐发电系统及其潮汐发电方法,包括支柱,所述支柱的内侧表面设置有升降机构,所述连接块的一侧表面设置有发电机构,该一种潮汐发电系统及其潮汐发电方法,通过升降机构和发电机构的设置,启动第一电机通过螺纹杆使升降块升降,带动支撑杆及连接块一侧的发电机构升降,使设备根据涨落潮调整到合适位置工作,同时退潮后发电机组露出水面时,可以提升高度以利用风力继续发电,由于叶片呈半圆形,当水流通过时可以推动其内侧面带动旋转轴转动,并驱动发电机机舱内的发电机发电,四组叶片绕旋转轮均匀设置,涨退潮的水流均可以带动叶轮旋转,实现潮汐发电的同时,进一步提高了发电效率。

风力发电控制方法、装置、设备及计算机可读存储介质

NºPublicación:  CN120819470A 21/10/2025
Solicitante: 
华能巴林右旗新能源有限公司
CN_120819470_PA

Resumen de: CN120819470A

本申请公开了一种风力发电控制方法、装置、设备及计算机可读存储介质,涉及风力发电技术领域,通过获取当前环境信息,当前环境信息包括风向偏移量、风切变变化率和湍流强度;根据风向偏移量、风切变变化率和湍流强度确定发电风险指数;在发电风险指数为预设正常指数的情况下,根据发电风险指数和预设的协调控制策略进行发电控制,协调控制策略依据风力发电控制设备的外部环境参数或内部性能参数,对风力发电控制设备的转速和转矩中的至少一项进行发电控制;在发电风险指数为预设预警指数的情况下,基于预设的保守控制策略进行发电控制,保守控制策略依据预设的固定控制参数,对风力发电控制设备的参数进行发电控制,提高了风力发电控制的效果。

一种基于风力实现叶轮角度改变和浮力板伸缩的装置

NºPublicación:  CN120817228A 21/10/2025
Solicitante: 
蒋镒权
CN_120817228_PA

Resumen de: CN120817228A

本发明公开了一种基于风力实现叶轮角度改变和浮力板伸缩的装置,包括船体,船体的侧壁设置有导向槽,船体上设置有防护壳体,防护壳体的底部设置有连接架;防护壳体的一侧设置有角度改变组件,角度改变组件包括转轴,转轴转动连接在防护壳体的中心位置,且与防护壳体轴承连接;防护壳体内设置有驱动伸缩组件,驱动伸缩组件包括第一曲柄、第一连接杆和浮力板,浮力板通过第一连接杆沿导向槽直线移动实现伸缩运动;本发明采用纯机械结构替代复杂的电动、液压系统,从根本上消除电子元件易受海水腐蚀、线路老化、液压泄漏等故障隐患,并且通过机械联动设计,将叶轮角度调节与浮力板伸缩两个功能强耦合,实现对风浪变化的实时、同步响应。

一种基于多源信息融合的叶片除冰自适应定位方法

NºPublicación:  CN120819481A 21/10/2025
Solicitante: 
中国大唐集团科学技术研究总院有限公司中国大唐集团科学技术研究总院有限公司中南电力试验研究院江西大唐国际新能源有限公司
CN_120819481_PA

Resumen de: CN120819481A

本发明涉及一种基于多源信息融合的叶片除冰自适应定位方法,首先构建风电机组主控系统除冰模式,使覆冰叶片运行至指定位置;其次通过视频目标检测设备检测叶片形态,获取叶片各节点和塔筒之间的距离;然后通过红外融冰设备检测叶片覆冰位置节点,结合各设备坐标、叶轮位置、塔筒高度和叶片形态等数据计算投射方向和距离。该方法实现了叶片除冰的自适应定位,可以快速、高效地除冰,是风电机组叶片除冰方法上的创新。

一种风力发电机的塔筒螺栓松动视觉检测装置及方法

NºPublicación:  CN120820099A 21/10/2025
Solicitante: 
重庆都宸工业技术有限公司
CN_120820099_PA

Resumen de: CN120820099A

本发明公开了一种风力发电机的塔筒螺栓松动视觉检测装置及方法,塔筒螺栓松动视觉检测装置能够利用水平减振弹簧能够有效地吸收来自水平方向的振动,利用垂向减振弹簧能够有效地吸收来自竖直方向的振动,利用质量块、吊索和阻尼组件减少和控制相机基座与相机主体之间的振动和晃动,从而使视频拍摄模组能够获取更加清晰的图像;塔筒螺栓松动视觉检测方法能够在复杂多变的风机运行环境中,通过双阈值协同判定策略,解决单一特征误报问题,大幅提高了检测精度,精准识别螺栓是否发生松动,为及时开展螺栓松动修复工作和保障风机持续稳定运行提供了坚实有力的支撑,避免出现不必要的人工巡检问题,降低了人力成本,提高了人工巡检的效率。

用于在电网事件之后减小传动系耦合扭矩的系统和方法

NºPublicación:  CN120825088A 21/10/2025
Solicitante: 
通用电气基础设施技术有限责任公司
CN_120825088_PA

Resumen de: US12404835B1

A method for controlling a power generating asset connected to an electrical grid includes receiving a grid power limit associated with a grid event and, based on the grid power limit, determining a target grid power for the generator during recovery from the grid event. During the recovery, a first power softening function is implemented that includes receiving at least one of a torsional angle signal or change in speed signal associated with the drivetrain. Upon the torsional angle or change in speed crossing a threshold value, the method decrease a power command on the generator below the target grid power to reduce the torsional angle at a later point in time. A power difference between the target grid power and the decreased power command of the generator is determined and power is supplied from an energy storage device in communication with the converter to make up the power difference.

大模型驱动的风电机组智能运维决策方法及系统

NºPublicación:  CN120819468A 21/10/2025
Solicitante: 
北京建筑大学武汉理工大学
CN_120819468_PA

Resumen de: CN120819468A

本发明涉及人工智能与风力发电技术领域,尤其涉及大模型驱动的风电机组智能运维决策方法及系统,通过融合传感器、文本、视觉及环境多维数据,利用跨模态特征对齐构建统一表征;结合动态RAG引擎实现时效性权重优化的知识匹配,注入领域约束的因果推理引擎解析故障逻辑链;最终集成设备健康度、气象窗口与成本约束生成帕累托最优策略,形成“数据融合‑知识增强‑因果推演‑动态优化”闭环体系,实现故障精准关联与可解释诊断,提升运维响应效率并降低全生命周期管理成本。

风电机组塔基复合降温系统

NºPublicación:  CN120819482A 21/10/2025
Solicitante: 
华能新疆三塘湖风力发电有限责任公司
CN_120819482_PA

Resumen de: CN120819482A

本说明书实施例提供风电机组塔基复合降温系统,其中系统包括:热管散热模块、智能通风模块和温控中枢模块;热管散热模块由垂直布置在塔基内壁的热管阵列构成,热管阵列的热管蒸发段嵌入发热设备外壳的散热槽,冷凝段延伸至塔基顶部的翅片散热器;智能通风模块包含塔基底部设置的进风百叶窗和顶部安装的双向变频风机,风机通过光伏供电系统驱动;温控中枢模块集成温度传感器、湿度传感器和风速传感器,通过分析传感器数据动态调节热管散热模块和智能通风模块的工作状态。通过构建热管‑相变材料‑智能通风的多级散热体系使系统在维持设备温度稳定性的同时,显著降低了对外部能源的依赖,为大型风力发电装备的无人值守运维提供了新的技术范式。

一种润滑环、风力涡轮机齿轮箱和风力涡轮机及其组装方法

NºPublicación:  CN120826554A 21/10/2025
Solicitante: 
远景能源有限公司
CN_120826554_PA

Resumen de: WO2024254758A1

The present invention relates to a lubrication ring, a wind turbine gearbox, a wind turbine and a method of assembly thereof. The lubrication ring is formed by a number of ring segments that are positioned relative to each other in the circumference direction. The ring segments each has a first connection element and a second connection element, which are spaced apart to form a gap that takes up the thermal expansion of the ring segments. The lubrication ring forms at least one fluid channel for transferring lubrication fluid between a first gearbox part and a second gearbox part positioned relative to each other. Each ring segment has at least one mounting point for securing the ring segment to the first or second gearbox part and at least one first opening for guiding the lubrication fluid through the lubrication ring.

风电叶片故障检测方法、装置、设备及存储介质

NºPublicación:  CN120819479A 21/10/2025
Solicitante: 
新疆丝路国元新能源有限公司
CN_120819479_PA

Resumen de: CN120819479A

本申请公开了一种风电叶片故障检测方法、装置、设备及存储介质,涉及叶片检测技术领域,通过获取风电叶片的运行参数信息和在运行参数信息控制下的反馈参数信息,其中,运行参数信息包括运行控制参数和运行环境参数,反馈参数信息包括振动及应变参数和阻抗及声波参数;根据运行控制参数和运行环境参数确定风电叶片的质量变化状态,并确定质量变化状态的趋势对应的拟故障类型;在拟故障类型为增大趋势的叶片腐蚀类型的情况下,根据阻抗及声波参数和运行环境参数确定风电叶片的腐蚀检测结果;在拟故障类型为降低趋势的叶片裂纹类型的情况下,根据振动及应变参数和运行环境参数确定风电叶片的裂纹检测结果,提高了风电叶片故障检测的准确率。

一种适用于高空风力发电的蓄能装置、工作方法及系统

NºPublicación:  CN120819467A 21/10/2025
Solicitante: 
中国电力工程顾问集团有限公司中能建(北京)高空能源科技有限公司中能建(阿拉善盟)高空能源科技有限公司
CN_120819467_PA

Resumen de: CN120819467A

本发明涉及高空风力发电技术领域,尤其涉及一种适用于高空风力发电的蓄能装置、工作方法及系统。该蓄能装置包括:轨道,内部设置有可移动的滑块,所述滑块的一端通过缆绳与高空风力发电系统的电机连接,另一端通过缆绳与高空风力发电系统的空中组件连接;蓄能器,包括固定端和活动端,所述固定端固定于所述轨道上,所述活动端固定于所述滑块上;在所述空中组件向上做功时,所述蓄能器蓄能;在所述空中组件向下回收时,所述蓄能器释能。上述技术方案通过在轨道上设置蓄能器,可以在空中组件向上做功时蓄能,所储蓄的能量在空中组件向下回收时便可以释放,从而可以大大减少空中组件的回收能耗。

一种齿轮箱寿命预测方法及装置

NºPublicación:  CN120822664A 21/10/2025
Solicitante: 
西安热工研究院有限公司
CN_120822664_PA

Resumen de: CN120822664A

本申请公开了一种齿轮箱寿命预测方法及装置,属于机械性能预测技术领域。它通过同步采集振动、油液、温度等多维度数据并融合分析,打破单一信号监测的局限,实现对齿轮箱运行状态的全方位掌握;采用深度学习与统计分析混合模型,结合联邦学习框架,在保障数据安全的同时,显著提高状态评估与寿命预测的精度;装置的集成化设计和动态优化展示功能,增强了技术落地的实用性,为工业场景中齿轮箱的健康管理提供了有力支持。

基于频率监测的双馈风电机组故障监测方法及系统

NºPublicación:  CN120819475A 21/10/2025
Solicitante: 
内蒙古工业大学
CN_120819475_PA

Resumen de: CN120819475A

本申请涉及风电机组的故障监测技术领域,具体涉及一种基于频率监测的双馈风电机组故障监测方法及系统,所述方法包括:获取双馈风电机组的运行参数数据,基于聚类算法根据所述运行参数数据生成双馈风电机组中齿轮箱的相似工况时间段;提取目标振动数据;根据所述目标振动数据生成模态分量和各模态分量对应的中心频率,生成模态分量能量;根据所述模态分量能量生成融合模态能量值,生成机组故障预警结果。本申请仅提取与相似工况对应时间段的振动数据,排除了不同工况下信号差异对振动特征的干扰,通过基于融合模态能量值进行机组故障的综合判据,实现尽可能精准地预警齿轮箱故障风险,减少漏报。

一种可实时监测海洋风电设施安全的装置

NºPublicación:  CN120820204A 21/10/2025
Solicitante: 
太科技术有限公司
CN_120820204_PA

Resumen de: CN120820204A

本发明涉及海洋风电设施监测设备技术领域,主要涉及一种可实时监测海洋风电设施安全的装置,包括安装平台,安装平台的底部固定有定位桩,且安装平台上安装有风力发电设备,还包括若干个监测座,安装平台上开设有若干个用于监测座滑动的滑口,监测座内滑动安插有两个监测绳,且监测绳底部对接有吸附部件,两个监测绳顶部固定有连板,且监测座上安装有监测部件,以及固定在连板顶部的牵引绳一和固定在监测座上的牵引绳二,本发明在传统的单桩基础式海洋风电设施,在定位桩外侧增设吸附部件和监测部件,通过监测吸附框架上附着物以及锈蚀后的重量变化,来判断定位桩外侧是存在附着物以及锈蚀,从而能及时做出应对措施。

一种压差驱动式机舱废热回收型防除冰风电叶片结构

NºPublicación:  CN120819464A 21/10/2025
Solicitante: 
东北电力大学
CN_120819464_A

Resumen de: CN120819464A

本发明公开一种压差驱动式机舱废热回收型防除冰风电叶片结构,属于风力发电机组叶片覆冰防护技术领域。该结构包括叶片,叶片内部设有叶根渐缩管、特斯拉阀和出气区,叶片外表面背风面的叶尖区域形成涡流制造区。叶根渐缩管实现热气流加速导入,特斯拉阀通过交错排布的水滴形结构抑制冷气倒灌,出气区的导气孔与出气孔导通并配置遮挡板,涡流制造区的涡流发生器延长热气与冰层作用时间。通过各结构协同,实现机舱废热高效回收、定向传输及叶片表面精准利用,显著提升防除冰效果,降低能耗,增强风力发电机组在低温高湿环境下的运行安全性与经济性。

一种U型风机驱动的风光电多能耦合新能源抽油机

NºPublicación:  CN120819339A 21/10/2025
Solicitante: 
内蒙古民族大学
CN_120819339_PA

Resumen de: CN120819339A

本发明涉及油田采油设备领域,具体涉及一种U型风机驱动的风光电多能耦合新能源抽油机,本发明包括风力机、抽油机、调速电机和液压回路;风力机设有主轴;主轴远离风力机的一端设有行星轮系,主轴用于驱动行星轮系的行星架,行星轮系的太阳轮同轴固定连接有输出轴,行星轮系的齿圈外侧设有同步带,调速电机用于在风力小于第一预设值时,驱动同步带带动齿圈转动对输出轴进行调速;抽油机和液压回路均由输出轴驱动,液压回路用于在当风力大于第一预设值时消耗输出轴驱动力进行蓄能,当风力小于第二预设值时,液压回路释放蓄能驱动输出轴转动。采用本发明的技术方案,用于通过风力混合电控与液压蓄能,使抽油机的驱动受到风力变化的影响更小。

一种变径自启动垂直轴风力发电装置

NºPublicación:  CN120819471A 21/10/2025
Solicitante: 
四川天机创科智能科技有限责任公司
CN_120819471_PA

Resumen de: CN120819471A

本发明涉及垂直轴风力发电技术领域,具体为一种变径自启动垂直轴风力发电装置,包括主杆,主杆的顶端设置有扇叶,主杆的顶端设置有调节装置,调节装置包括第一电机,第一电机与主杆的顶端固定连接,第一电机的驱动端固定连接有调节杆,调节杆的外表面螺纹连接有推环,推环的一端与扇叶的内侧固定连接,主杆的顶端固定连接有引导条,引导条的两侧固定连接有限位块,扇叶的内侧固定连接有滑套,滑套的一侧设置有引导组件。本发明,通过设置调节装置,可以有效的方便工作者调节扇叶与主杆之间的距离,避免了风力发电装置在使用的过程中出现易受损和发电效率低下的情况,进而提高了风力发电装置的工作效果和使用寿命。

矩阵风能模块

NºPublicación:  CN223459487U 21/10/2025
Solicitante: 
廖健贺
CN_223459487_U

Resumen de: CN223459487U

本实用新型属于风力发电技术领域,具体涉及一种矩阵风能模块;其具备环保、低噪音、安全、布置方便、便携等特性,解决了家庭或单位无法有效利用风资源的问题,并且为户外风能应用提供全新路线;本技术方案包括快速组合式垂直轴风能发电机月牙阵列叶轮、叶轮电机连接器、发电机、通用底座,其中所述快速组合式垂直轴风能发电机月牙阵列叶轮组成部分有轴心、轴心连杆、叶片、轴心锁盖;其最大优势在于快速拆卸,方便简单,创新结构使其既能适应简单外出携带使用,更能满足大工程量密集布置的运输及安装需求。

安装工装以及散热组件

NºPublicación:  CN223463225U 21/10/2025
Solicitante: 
河北龙源新能源有限公司
CN_223463225_U

Resumen de: CN223463225U

本公开涉及一种安装工装以及散热组件。安装工装用于将散热风扇固定安装于控制器,安装工装设置有固定部并且形成有送风管道,送风管道设置有第一开口和第二开口,第一开口和第二开口分别布置在送风管道延伸方向上的两端部,固定部布置在第二开口处并且用于与散热风扇固定连接,第一开口用于将来自第二开口的气流送至控制器。通过上述技术方案,本公开提供的安装工装能够提高散热风扇与控制器的安装可靠性,提升散热风扇为控制器散热的可靠稳定性。

一种螺旋式风力发电机

NºPublicación:  CN223459488U 21/10/2025
Solicitante: 
陈香
CN_223459488_U

Resumen de: CN223459488U

本实用新型公开了一种螺旋式风力发电机,包括底座,设置在底座上的旋转平台,旋转平台的顶面固定有支架,支架上设置有螺旋式风叶,支架的顶部设置有V形避位槽,V形避位槽内设置有轴杆;V形避位槽的一端外壁上固定有与轴杆端部相连接的发电机本体、V形避位槽的另一端通过轴承与轴杆的另一端相连接;螺旋式风叶固定在轴杆的中部且螺旋式风叶的下部处于V形避位槽内;螺旋式风叶转动并通过轴杆使发电机本体发电。本实用新型的结构设置合理,可以保证轴杆的使用可靠性,将螺旋式风叶固定在轴杆上,轴杆的两端进行支撑,提高整体结构的使用平稳性,有利于防止螺旋式风叶出现晃动或震动的情况,有利于提高使用寿命和有效性,方便拆装及维护操作。

一种可纠正回转角度偏转的机构

NºPublicación:  CN223459490U 21/10/2025
Solicitante: 
常州庚源机械科技有限公司
CN_223459490_U

Resumen de: CN223459490U

本实用新型属于纠正回转角度偏转技术领域,尤其涉及一种可纠正回转角度偏转的机构,包括固定座,还包括:所述固定座的顶部固定安装有连接座,所述连接座的顶部固定安装有减速机,所述减速机的顶部固定安装有伺服电机,所述固定座的底部固定安装有液压扳手,通过固定座对连接座进行安装作用,接着通过连接座对减速机进行安装作用,然后通过减速机对伺服电机进行连接作用,接着通过伺服电机对液压扳手进行连接作用,在紧固工装用于风力发电机塔筒安装及维护的现场,将紧固工装吊到塔筒内部,然后通过伺服电机与减速机的配合使用,带动液压扳手进行转动作用,从而避免人工操作,降低了人工强度并且提高了工作效率。

一种大兆瓦风电机组塔筒法兰防变形装置

NºPublicación:  CN223459489U 21/10/2025
Solicitante: 
东方电气风电股份有限公司
CN_223459489_U

Resumen de: CN223459489U

本实用新型公开了一种大兆瓦风电机组塔筒法兰防变形装置,涉及风电机组塔筒固定技术领域,具体涉及一种大兆瓦风电机组塔筒法兰防变形装置,包括:塔筒法兰、拉杆和销螺栓,塔筒法兰设置有螺栓孔,拉杆两端设置有连接件,连接件通过销螺栓固定于塔筒法兰;拉杆中部设置有用于调整拉杆长度的正反螺旋套。其好处在于:本装置通过合理的结构设计和精确的调节机制,能够有效抵抗外部载荷对塔筒法兰的作用,防止法兰在存放、运输和安装过程中发生变形,确保法兰螺孔的准确对接,提高风电机组的安装质量和运行稳定性。

一种风力发电机塔杆

NºPublicación:  CN223459491U 21/10/2025
Solicitante: 
科图(宁夏)国际新能源有限公司
CN_223459491_U

Resumen de: CN223459491U

本实用新型涉及风力发电设备技术领域,提供了一种风力发电机塔杆,包括:承重箱和两组三角支撑板;安装面板,设置在所述承重箱的表面上;还包括:多个安装孔,开设在所述安装面板表面的四角处,所述安装面板的表面设置有圆盘;主杆,通过螺栓固定设置在其中一组所述三角支撑板的内壁上,另一组所述三角支撑板的内壁通过螺栓固定设置有副杆。本实用新型,把主杆和副杆横置于地面上,通过起重设备把嵌设卡块吊起沿着槽口进行套设,同时副杆套设在安装部的表面上,此时主杆表面的三角支撑板与副杆表面的三角支撑板进行对齐,无需转动塔杆,即可借助螺栓和螺帽对主杆和副杆进行快速组装工作,无需在空中进行组装工作。

一种基于PLC控制架构的偏航角检测设备

NºPublicación:  CN223459492U 21/10/2025
Solicitante: 
河北华电冀北新能源有限公司
CN_223459492_U

Resumen de: CN223459492U

本实用新型属于风力发电领域,具体地说是一种基于PLC控制架构的偏航角检测设备,包括承载台,所述承载台装配有支撑块,支撑块装配有收纳盒,收纳盒设置有开口,收纳盒装配有引导杆,两个引导杆装配有限位块,引导杆装配有活动块,活动块装配有操作板,活动块装配有竖杆,竖杆装配有延伸杆,延伸杆装配有遮挡板,上述一种基于PLC控制架构的偏航角检测设备通过活动块和遮挡板的配合解决了现有的偏航角检测设备在冬季使用时,飘落的白雪容易附着在风向传感器以及风速传感器上,积雪融化较慢,影响后期使用效果和检测数据异常的问题。

一种风机基础加固结构及风机总成

NºPublicación:  CN223458861U 21/10/2025
Solicitante: 
瑞风能源(武汉)工程技术有限公司
CN_223458861_U

Resumen de: CN223458861U

本实用新型公开了一种风机基础加固结构及风机总成,风机基础加固结构包括老旧基础、基础环、法兰锚板和多根锚杆,基础环的上端的具有位于老旧基础上方的上法兰,上法兰上具有多个第一连接孔,法兰锚板水平设置并同轴分布在基础环的上端,法兰锚板上具有多个第二连接孔,多个第二连接孔与多个第一连接孔一一对应并相互对齐,以用于安装风机塔筒,多根锚杆绕基础环环向间隔分布,且法兰锚板通过多根锚杆与老旧基础锚接,如此可在原先的老旧基础和基础环上,增设法兰锚板与老旧基础之间通过锚杆进行加固,而法兰锚板与上法兰共同与风机塔筒进行连接以实现风机塔筒在老旧基础上的安装,从而实现合理的节省成本。

一种TLP腿式小型漂浮发电装置

NºPublicación:  CN223457085U 21/10/2025
Solicitante: 
中电建海洋工程建设有限公司
CN_223457085_U

Resumen de: CN223457085U

本实用新型公开一种TLP腿式小型漂浮发电装置,涉及海上发电装置技术领域,包括半潜式压水板张力支撑平台,所述半潜式压水板张力平台上安装有光能部件、涡流能部件和风能部件,所述光能部件、涡流能部件和风能部件从下至上依次排布,通过半潜式压水板张力平台、光能部件、涡流能部件和风能部件,将自然存在的风能、光能以及动能转换为电能,使得自然资源得到充分的利用,进一步地,本实用新型能够将自身结合形成多种开发模式,本实用新型可以多个进行组合形成自给自足的养殖体系,也可实现结合海上救援系统,形成绿色环保的新型海上救援系统。

Método para reparar un defecto de subsuperficie de una pala de rotor de turbina eólica, pala de rotor de turbina eólica y turbina eólica

NºPublicación:  ES3039357A1 20/10/2025
Solicitante: 
NORDEX ENERGY SPAIN S A U [ES]
Nordex Energy Spain S.A.U

ROTOR SAIL

NºPublicación:  FI20246242A1 20/10/2025
Solicitante: 
NORSEPOWER OY LTD [FI]
Norsepower Oy Ltd
FI_20246242_PA

Resumen de: FI20246242A1

The present disclosure relates to a rotor sail (100) comprising a rotor (110) having a lengthwise axis, an outer surface surrounding the lengthwise axis, a first end and a second end opposite to the first end, and the rotor having a first radius. A first end plate (114) is attached concentrically around the outer surface at the first end of the rotor. The first end plate includes a first circular edge having a second radius equal to the first radius of the rotor, a second circular edge having a third radius greater than the first radius, and a first slanted lateral surface extending between the first circular edge and the second circular edge, wherein the slanted lateral surface faces the second end and has an angle between 5 to 45 degrees in respect to a plane defined by the second circular edge.

METODO DE CONTROL PREDICTIVO BASADO EN UN UNICO MODELO LINEAL PARA REDUCIR CARGA ESTRUCTURAL EN TURBINAS EOLICAS TERRESTRES, MARINAS Y FLOTANTES

NºPublicación:  ES3039359A1 20/10/2025
Solicitante: 
UNIV DEL PAIS VASCO / EUSKAL HERRIKO UNIBERTSITATEA [ES]
Universidad del Pa\u00EDs Vasco / Euskal Herriko Unibertsitatea

Obtaining more versatile sensor data

Nº publicación: FI20245491A1 19/10/2025

Solicitante:

LAKIASIAINTOIMISTO VILLE NURMI [FI]
Lakiasiaintoimisto Ville Nurmi

FI_20245491_PA

Resumen de: FI20245491A1

Disclosed is a method for obtaining sensor data, the method comprising: obtaining, using a first sensing device, a first sensor data from one or more sensors of the first sensing device, wherein the first sensing device is associated with a first wind turbine located at a first location, receiving the obtained first sensor data by a central computing entity, receiving, by the central computing entity, a second sensor data obtained by a second sensing device located at a second location, the second location being different than the first location, and combining, by the central computing entity, the first sensor data and the second sensor data.

traducir