Ministerio de Industria, Turismo y Comercio LogoMinisterior
 

Alerta

Resultados 65 resultados
LastUpdate Última actualización 12/03/2026 [08:19:00]
pdfxls
Solicitudes publicadas en los últimos 60 días / Applications published in the last 60 days
Resultados 1 a 25 de 65 nextPage  

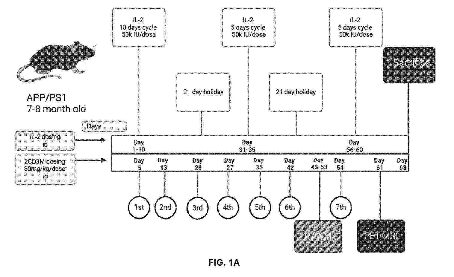
METHOD FOR THE IN VITRO DIAGNOSIS OF A NEURODEGENERATIVE DISEASE

NºPublicación:  EP4705774A1 11/03/2026
Solicitante: 
UNIV GRENOBLE ALPES [FR]
INST NAT SANTE RECH MED [FR]
Universit\u00E9 Grenoble Alpes,
Institut National de la Sant\u00E9 et de la Recherche M\u00E9dicale
CN_121039498_A

Resumen de: CN121039498A

The present invention relates to a method for the in vitro diagnosis of a neurodegenerative disease in a human or animal individual in the early stage, comprising a step comprising the detection of the presence of at least one marker selected from the group consisting of derived forms of amyloid beta (A beta) peptides, the derivative forms are selected from oligomers of the peptide and pre-fibrotic and fibrotic aggregated forms of the peptide, and derivative forms of a phosphorylated tau protein, and the derivative forms are selected from over-phosphorylated forms of the protein, aggregated forms of the protein and modified phosphorylated tau proteins resulting from one or more post-translational modifications; the presence of a marker is detected in a fecal sample of the individual.

抗A-β蛋白抗体、方法及其用途

NºPublicación:  CN121620524A 06/03/2026
Solicitante: 
豪夫迈·罗氏有限公司
CN_121620524_PA

Resumen de: AU2024322991A1

Herein is reported an antibody that binds to human A-beta protein, wherein the antibody comprises a heavy chain variable domain (VH) and a light chain variable domain comprising CDRs selected from (1) CDRs of SEQ ID NO: 85, 86, 87, 81, 82 and 83; or (2) CDRs of SEQ ID NO: 85, 89, 87, 81, 82 and 83; or (3) CDRs of SEQ 5 ID NO: 85, 86, 87, 81, 82 and 91; or (4) CDRs of SEQ ID NO: 85, 89, 87, 81, 82 and 91.

阿尔茨海默病的诊断和治疗方法

NºPublicación:  CN121620700A 06/03/2026
Solicitante: 
分子优公司
CN_121620700_PA

Resumen de: AU2024276342A1

Provided herein is a method for diagnosing and treating Alzheimer's disease comprising: (a) providing a biological sample obtained from the subject; (b) measuring concentration levels from the obtained sample, at least one, at least two, at least three, at least four or at least five Alzheimer's-related metabolites described herein and/or at least one, at least two, at least three, at least four or at least five Alzheimer's-related proteins described herein; (c) comparing the concentration levels of the Alzheimer's-related metabolites and/or proteins from the obtained sample to the concentration levels of corresponding reference Alzheimer's-related metabolites and/or proteins from an Alzheimer's- negative sample; (d) identifying the subject as having Alzheimer's if the concentration levels of the Alzheimer's-related metabolites and/or proteins from the obtained sample are different relative to the concentration levels of the reference Alzheimer's-related metabolites and/or proteins from the Alzheimer's-negative sample; and (e) treating or causing treatment of the subject.

COMPOSITIONS AND METHODS FOR PROPHYLAXIS AND/OR TREATMENT OF AMYLOID B PEPTIDE PROTEINOPENIA IN ALZHEIMER'S AND OTHER DISEASES

NºPublicación:  AU2024325238A1 05/03/2026
Solicitante: 
LVIS REGAIN LP
LVIS-REGAIN LP
AU_2024325238_PA

Resumen de: AU2024325238A1

Material compositions and/or methods useful for the prophylaxis and/or treatment of protein depletion (proteinopenia) are provided, including material compositions that retains native function of a peptide/protein while limiting and/or preventing amyloid formation and/or aggregation of said peptide/protein. Material compositions and formulations for enhancing peptide/protein solubility, stability, circulation time, receptor interaction, brain penetrance, CSF half-life, facilitating peptide/protein synthesis and purification are also provided.

METHODS OF TREATING A COGNITIVE IMPAIRMENT

NºPublicación:  AU2024345495A1 05/03/2026
Solicitante: 
GRIFOLS WORLDWIDE OPERATIONS LTD
GRIFOLS WORLDWIDE OPERATIONS LIMITED
AU_2024345495_A1

Resumen de: AU2024345495A1

The disclosure pertains to treating a cognitive impairment, for example, an aging-associated cognitive impairment. In certain aspects, the disclosure describes methods of assaying a sample obtained from a subject having or suspected of having a cognitive impairment for one or more proteins selected from: DLL1, VNN2, VAV3, and SUMF1. In certain embodiments, the cognitive impairment is caused by a neurodegenerative disease, such as Alzheimer's disease. The methods further comprise identifying a subject as likely or not likely to respond positively to the plasma exchange therapy. In even further aspects, the disclosure describes methods for treating a cognitive impairment in the subject by a plasma exchange therapy, wherein based on the specific protein expression data, the subject is identified as likely or not likely to respond positively to the plasma exchange therapy. The plasma exchange therapy can be full and/or low volume plasma exchange. Also provided are kits suitable for performing the methods disclosed herein.

MAGNETIC FORMULATIONS FOR BIOMARKER SAMPLING AND ENHANCED DRUG DELIVERY

NºPublicación:  US20260061081A1 05/03/2026
Solicitante: 
ROCKET SCIENCE HEALTH CORP [CA]
Rocket Science Health Corp
US_20260061081_PA

Resumen de: US20260061081A1

The present disclosure describes formulations, methods, and devices tor biomarker sampling and therapeutic delivery using magnetic formulations. When combined with the application of external magnetic fields, magnetic formulations move within the nasal cavity. Magnetic formulations provide benefits including the ability to: target or steer placement of the formulations via a magnetic field, enhance mixing of the formulation via a magnetic field, enhance biological material collection via antibody-coated magnetic beads, or enhance sample retrieval via a magnetic-tipped inserter. Example biological materials for collection include proteins, enzymes, neural stem cells, and other biomarkers.

Anticuerpos anti-proteína a-beta, métodos y usos de estos

NºPublicación:  CO2026000998A2 05/03/2026
Solicitante: 
F HOFFMANN LA ROCHE AG [CH]
F. HOFFMANN-LA ROCHE AG
CN_121620524_PA

Resumen de: AU2024322991A1

Herein is reported an antibody that binds to human A-beta protein, wherein the antibody comprises a heavy chain variable domain (VH) and a light chain variable domain comprising CDRs selected from (1) CDRs of SEQ ID NO: 85, 86, 87, 81, 82 and 83; or (2) CDRs of SEQ ID NO: 85, 89, 87, 81, 82 and 83; or (3) CDRs of SEQ 5 ID NO: 85, 86, 87, 81, 82 and 91; or (4) CDRs of SEQ ID NO: 85, 89, 87, 81, 82 and 91.

ホスホ-タウ抗体および使用の方法

NºPublicación:  JP2026034506A 27/02/2026
Solicitante: 
アルツパス,インコーポレイテッド
JP_2026034506_A

Resumen de: JP2025137567A

To provide phospho-tau antibodies, and to provide methods of use thereof.SOLUTION: Provided herein are compositions and methods relating to improved assays for establishing Alzheimer's disease. Further provided herein are compositions and methods comprising improved antibodies for assays including immunoassays. Provided herein is a method for detecting phosphorylated tau in a sample from an individual comprising: performing an immunoassay on the sample using an antibody or antibody fragment comprising a variable domain, heavy chain region (VH) and a variable domain, light chain region (VL), the VH comprising an amino acid sequence at least about 90% identical to a sequence as set forth in any one of SEQ ID NOs: 30 to 34, and the VL comprising an amino acid sequence at least about 90% identical to a sequence as set forth in any one of SEQ ID NOs: 35 to 40.SELECTED DRAWING: None

INHIBITION OF CD9 EXPRESSING MICROGLIA TO PREVENT POST-TRAUMATIC BRAIN INJURY COGNITIVE IMPAIRMENT

NºPublicación:  WO2026044051A1 26/02/2026
Solicitante: 
THE UAB RES FOUNDATION [US]
THE UAB RESEARCH FOUNDATION
WO_2026044051_PA

Resumen de: WO2026044051A1

CD9 expressing microglia are observed in various human neurodegenerative diseases beyond traumatic brain injuries, including Alzheimer's disease, Parkinson's disease, and multiple sclerosis. CD9 blocking and FcγRIII blocking methods can be widely used as an intervention strategy to prevent disease-associated cognitive impairment. Therefore, disclosed herein are methods for treating a traumatic brain injury in a subject in need thereof that involve the step of administering to the subject a therapeutically effective amount of a composition comprising an anti-CD9 or an anti FcγRIII blocking agent, such as a blocking antibody.

NANOPARTICLE ENHANCED METHODS AND MATERIALS FOR DETECTING MISFOLDED POLYPEPTIDES

NºPublicación:  EP4698903A2 25/02/2026
Solicitante: 
UNIV MINNESOTA [US]
Regents of the University of Minnesota
KR_20250169354_PA

Resumen de: WO2024220662A2

This document relates to methods and materials for detecting the presence or absence of misfolded polypeptides in a sample. For example, a sample (e.g., a biological sample or an environmental sample) can be exposed to nanoparticles (e.g., nanoparticles having a size of no more than 2 μm (e.g., no more than 1 μm) such as silica nanoparticles (siNPs) having a size of no more than 2 μm (e.g., siNPs having a size of no more than 1 μm)) during a seeded amplification assay to accelerate the aggregation of misfolded polypeptides present in the sample into fibrils and/or polypeptide aggregates (e.g., globular polypeptide aggregates). In some cases, methods and materials provided herein can be used to determine if a mammal (e.g., a human) has a proteinopathy based, at least in part, in the presence or absence of misfolded polypeptides in a sample obtained from the mammal.

M13 bacteriophages displaying peptide motifs targeting amyloid-beta, methods and uses thereof

NºPublicación:  US20260048090A1 19/02/2026
Solicitante: 
UNIV DO MINHO [PT]
UNIV OF AMSTERDAM [NL]
UNIVERSIDADE DO MINHO,
UNIVERSITY OF AMSTERDAM
US_20260048090_PA

Resumen de: US20260048090A1

The present disclosure relates to an engineered M13 bacteriophage displaying amyloidogenic peptide motifs from amyloid beta 42 (Aβ42) at its surface. The present disclosure further relates to the use of the disclosed engineered M13 bacteriophage for detecting early species of Aβ, namely oligomeric and fibrillar Aβ, and preventing its aggregation promoting the inhibition of the progression of Alzheimer's disease and thus contributing to the treatment of this neurodegenerative disorder.

METHOD OF TREATING ALZHEIMER'S DISEASE WITH EXPANDED NATURAL KILLER CELLS

NºPublicación:  US20260048083A1 19/02/2026
Solicitante: 
NKMAX CO LTD [KR]
NKMAX CO., LTD
US_20260048083_PA

Resumen de: US20260048083A1

A method for treating Alzheimer's disease is disclosed. The method comprises identifying a subject and treating the subject with expanded natural killer cells (NKs). A composition for treating Alzheimer's disease is also disclosed.

DETECTING B-ISOX PRECIPITATES AS BIOFLUID BIOMARKERS FOR DIAGNOSIS AND MONITORING OF PREDIABETES, DIABETES AND CANCERS

NºPublicación:  WO2026039416A1 19/02/2026
Solicitante: 
YEEFAN MED INC [US]
YEEFAN MED INC
WO_2026039416_PA

Resumen de: WO2026039416A1

Described herein are detecting methods for conformational disease, aging and proteinopathies, by measuring the presence of b-isox-precipitates and the levels of b-isox-captured proteins in biofluids of healthy individuals and patients. Research identified additional biomarkers, which made it possible to detect, diagnose or treat, a human disease in a human subject by, with or without adding an isoxazole to an obtained biofluid sample, detecting the biomarker. Use of b-iso and/or biomarkers for diagnosing the disease are made possible.

Assays to detect neurodegeneration

NºPublicación:  AU2026200694A1 19/02/2026
Solicitante: 
JANSSEN PHARMACEUTICA NV
Janssen Pharmaceutica NV
AU_2026200694_A1

Resumen de: AU2026200694A1

Methods of measuring the amount of singly- or multiply-phosphorylated p217+ tau protein in a sample are provided. Methods of detecting or diagnosing tauopathies, methods of determining the effectiveness of a treatment of a tauopathy, and methods of determining whether a subject is suitable for anti-p217+ tau antibody therapy are also provided. Also described are antibodies for use in the methods and kits comprising the antibodies. an a n

PROTEIN MARKERS FOR MILD COGNITIVE IMPAIRMENT AND ALZHEIMER'S DISEASE

NºPublicación:  EP4695808A1 18/02/2026
Solicitante: 
UNIV HONG KONG SCIENCE & TECH [HK]
HONG KONG CENTER FOR NEURODEGENERATIVE DISEASES LTD [HK]
The Hong Kong University of Science and Technology,
Hong Kong Center for Neurodegenerative Diseases Limited
KR_20260006588_PA

Resumen de: AU2024249796A1

The present invention relates to protein markers relevant to mild cognitive impairment (MCI) and Alzheimer's disease (AD), especially those detectable in blood samples. Thus, methods and compositions are provided for risk assessment and early diagnosis of MCI and AD based on the analysis of these protein markers. Further provided are methods and compositions useful for evaluating the efficacy of a therapy for MCI or AD.

KIT OR DEVICE AND METHOD FOR DETECTING DEMENTIA

NºPublicación:  EP4697021A2 18/02/2026
Solicitante: 
TORAY INDUSTRIES [JP]
NAT CT GERIATRICS & GERONTOLOGY [JP]
Toray Industries, Inc,
National Center for Geriatrics and Gerontology
EP_4697021_PA

Resumen de: EP4697021A2

An embodiment according to the present invention provides a kit or device for detection of dementia, and a method for detecting dementia. An embodiment according to the present invention relates to: a kit or device for detection of dementia, including a nucleic acid(s) capable of specifically binding to an miRNA(s) or a complementary strand(s) thereof in a sample from a subject; and a method for detecting dementia, including measuring the miRNA(s) in vitro.

T14ペプチドを使用してアルツハイマー病を診断するための側方流動デバイス

NºPublicación:  JP2026505216A 13/02/2026
Solicitante: 
ニューロ-バイオリミテッド
JP_2026505216_PA

Resumen de: CN120187864A

The present invention relates to neurodegenerative diseases, and to the diagnosis and/or prognosis of neurodegenerative diseases in test subjects using lateral flow testing or the like. The invention also relates to the detection of diagnostic and prognostic biomarkers in a variety of patient sample types for the diagnosis and/or prognosis of neurodegenerative diseases, such as Alzheimer's disease. The invention also provides biomarker detection methods and devices for diagnosis and prognosis of neurodegenerative diseases and methods of treating patients diagnosed or prognosed with neurodegenerative diseases. The invention also extends to detection of biomarkers and/or screening in subjects before symptoms for early diagnosis, so that diseases can be prevented or intervened.

治療用途のためのヒト未成熟歯髄幹細胞由来のエクソソーム(NESTAEXO)の生成および調製の方法

NºPublicación:  JP2026505424A 13/02/2026
Solicitante: 
アヴィタ・インターナショナル・リミテッド
JP_2026505424_PA

Resumen de: WO2024166074A1

The present invention relates to a method of isolating exosomes from human immature dental pulp stem cell (hIDPSC) cultures that is scalable. The present invention also provides pharmaceutical compositions comprising exosomes and methods of using these pharmaceutical compositions to treat a neurological disease or condition, infectious disease, or cancer.

Biomarkers for early diagnosis of dementia

NºPublicación:  KR20260020793A 12/02/2026
Solicitante: 
한국표준과학연구원충남대학교병원한국생명공학연구원

Resumen de: KR20260020793A

본 발명은 치매 또는 경도인지장애 진단용 바이오마커에 관한 것으로, 더욱 상세하게는 개체의 수득된 시료에서 특정 아실카르니틴 조합의 수준을 측정함으로써 치매 또는 경도인지장애를 조기 진단하는 조성물, 이를 포함하는 치매 또는 경도인지장애 진단용 키트, 및 치매 또는 경도인지장애 진단 방법에 관한 것이다.

KIT FOR DIAGNOSING ALZHEIMER'S DISEASE AND PHARMACEUTICAL COMPOSITION FOR TREATING ALZHEIMER'S DISEASE

NºPublicación:  US20260043791A1 12/02/2026
Solicitante: 
EISAI R&D MAN CO LTD [JP]
KEIO UNIV [JP]
Eisai R&D Management Co., Ltd,
Keio University
US_20260043791_PA

Resumen de: US20260043791A1

A kit for diagnosing Alzheimer's disease and a pharmaceutical composition for treating Alzheimer's disease are disclosed, in which EDIL3 or a nucleic acid encoding EDIL3 is used as an index or target.

METHODS TO EVALUATE EARLY-STAGE PRE-TANGLE TAU AGGREGATES AND TREATMENT OF ALZHEIMER'S DISEASE

NºPublicación:  WO2026033422A1 12/02/2026
Solicitante: 
UNIV OF PITTSBURGH OF THE COMMONWEALTH SYSTEM OF HIGHER EDUCATION [US]
UNIVERSITY OF PITTSBURGH - OF THE COMMONWEALTH SYSTEM OF HIGHER EDUCATION
WO_2026033422_PA

Resumen de: WO2026033422A1

Provided herein is a method of identifying a pre-stage neurofibrillary tangle (NFT) in a patient sample, including obtaining a sample from a patient suspected of having or at risk of developing a tauopathy, incubating the sample with a composition comprising a first binding reagent, wherein the first binding reagent is specific to Ser262 and/or Ser356 of a tau protein, and detecting binding between the first binding reagent and the tau protein, wherein detecting binding between the first binding reagent and the tau protein indicates the presence of a pre-stage NFT in the patient sample.

Anti-TDP-43 Binding Molecules

NºPublicación:  US20260043816A1 12/02/2026
Solicitante: 
AC IMMUNE SA [CH]
AC Immune SA
US_20260043816_PA

Resumen de: US20260043816A1

TDP-43 binding molecules specifically binding phosphorylated TDP-43 are provided, together with the nucleic acid molecules that encode the binding molecules. These binding molecules are useful in diagnostic and therapeutic applications and may be included in suitable compositions and kits. They may be used in pairing assays involving use of capture and detect antibody pairs. They may be used to monitor diseases associated with TDP-43, including for testing candidate therapeutic agents.

COMBINATORIAL THERAPY FOR ALZHEIMER'S DISEASE

NºPublicación:  WO2026035942A1 12/02/2026
Solicitante: 
BOARD OF REGENTS OF THE UNIV OF NEBRASKA [US]
BOARD OF REGENTS OF THE UNIVERSITY OF NEBRASKA
WO_2026035942_PA

Resumen de: WO2026035942A1

The present invention provides novel compositions and methods for treating diseases and conditions associated with amyloid beta in a subject, said method comprising administering to the subject (i) an anti-amyloid beta antibody or an antigen binding fragment thereof and (ii) a regulatory T cell (Treg) inducing or activating agent.

METHODS FOR DETECTING B-ISOX PRECIPITATES OR CAPTURED PROTEINS AS BIOFLUID BIOMARKERS FOR DIFFERENTIAL DIAGNOSTIC, PATHOPHYSIOLOGY MONITORING OR PRESYMPTOMATIC DIAGNOSTIC OF PREDIABETES, DIABETES AND CANCERS

NºPublicación:  US20260043815A1 12/02/2026
Solicitante: 
YEEFAN MED INC [US]
YEEFAN MED INC
US_20260043815_PA

Resumen de: US20260043815A1

Described herein are detecting methods for conformational disease, aging and proteinopathies, by measuring the presence of b-isox-precipitates and the levels of b-isox-captured proteins in biofluids of healthy individuals and patients. Research identified additional biomarkers, which made it possible to detect, diagnose or treat, a human disease in a human subject by, with or without adding an isoxazole to an obtained biofluid sample, detecting the biomarker. Use of b-iso and/or biomarkers for diagnosing the disease are made possible.

抗微生物肽

Nº publicación: CN121511408A 10/02/2026

CN_121511408_PA

Resumen de: AU2024291458A1

Disclosed herein are methods of diagnosing, selecting, monitoring, and treating subjects with Alzheimer's disease (AD) or suspected of having AD, based on presence of antimicrobial peptides (AMPs) at levels that differ from those in control individuals.

traducir