Ministerio de Industria, Turismo y Comercio LogoMinisterior
 

Alerta

Resultados 139 resultados
LastUpdate Última actualización 12/10/2025 [06:55:00]
pdfxls
Solicitudes publicadas en los últimos 60 días / Applications published in the last 60 days
previousPage Resultados 50 a 75 de 139 nextPage  

DIGITAL THERAPEUTIC METHOD AND SYSTEM EMPLOYING NUTRITIONAL COGNITIVE BEHAVIORAL THERAPY

NºPublicación:  US2025299799A1 25/09/2025
Solicitante: 
CLICK THERAPEUTICS INC [US]
Click Therapeutics, Inc
WO_2024187161_A1

Resumen de: US2025299799A1

Nutritional Cognitive Behavioral Therapy (Nutritional-CBT) is provided for the treatment of patients with type 2 diabetes and other cardiometabolic diseases, addressing common maladaptive thinking and beliefs pertaining to diet and lifestyle in a digitally-delivered therapy personalized to the individual patient using artificial intelligence (AI)/machine learning (ML) driven feed-back loops. Systems, methods, and computer-readable media described herein can include providing, by one or more processors, a digital therapeutic application including one or more lessons or activities. The one or more processors can collect at least one response or biometric data from the user. The one or more processors can generate, using a machine-learning model, one or more goals for the user to achieve or a progress overview.

Individualized Multiple-Day Simulation Model of Type I Diabetic Patient Decision-Making For Developing, Testing and Optimizing Insulin Therapies Driven By Glucose Sensors

NºPublicación:  US2025299823A1 25/09/2025
Solicitante: 
DEXCOM INC [US]
Dexcom, Inc
US_2023343457_PA

Resumen de: US2025299823A1

A mathematical model of type 1 diabetes (T1D) patient decision-making can be used to simulate, in silico, realistic glucose/insulin dynamics, for several days, in a variety of subjects who take therapeutic actions (e.g. insulin dosing) driven by either self-monitoring blood glucose (SMBG) or continuous glucose monitoring (CGM). The decision-making (DM) model can simulate real-life situations and everyday patient behaviors. Accurate submodels of SMBG and CGM measurement errors are incorporated in the comprehensive DM model. The DM model accounts for common errors the patients are used to doing in their diabetes management, such as miscalculations of meal carbohydrate content, early/delayed insulin administrations and missed insulin boluses. The DM model can be used to assess in silico if/when CGM can safely substitute SMBG in T1D management, to develop and test guidelines for CGM driven insulin dosing, to optimize and individualize off-line insulin therapies and to develop and test decision support systems.

METHODS, DEVICES AND SYSTEM FOR PROVIDING DIABETIC CONDITION DIAGNOSIS AND THERAPY

NºPublicación:  EP4621804A2 24/09/2025
Solicitante: 
ABBOTT DIABETES CARE INC [US]
Abbott Diabetes Care, Inc
EP_4621804_PA

Resumen de: EP4621804A2

Methods, devices and system for determining fasting glucose level information and post-prandial glucose level information for diagnosing pre-diabetic and diabetic conditions based on monitored glucose measurements are provided.

USER INTERFACES FOR GLUCOSE INSIGHT PRESENTATION

NºPublicación:  EP4620384A2 24/09/2025
Solicitante: 
DEXCOM INC [US]
DexCom, Inc
EP_4620384_A2

Resumen de: EP4620384A2

User interfaces for glucose insight presentation are leveraged. A glucose monitoring application is configured to process glucose measurements to determine one or more glucose insights, e.g., about a user's glucose. The glucose measurements, for example, may be obtained from a glucose monitoring device that collects glucose measurements of the user at predetermined intervals, e.g., every five minutes. The glucose monitoring application configures a user interface, based on configuration data, to present one or more visual elements representative of the one or more glucose insights. For example, the glucose monitoring application may configure the user interface to include a visual element in the form of a color field which represents whether the user's current glucose measurement (e.g., the most recent glucose measurement obtained from the glucose monitoring device) is below, within, or above a glucose range.

BLOOD GLUCOSE MONITORING METHOD, GRAPHICAL INTERFACE, AND RELATED APPARATUS

NºPublicación:  EP4620393A1 24/09/2025
Solicitante: 
HUAWEI TECH CO LTD [CN]
CHINA INT EXCHANGE AND PROMOTIVE ASSOCIATION FOR MEDICAL AND HEALTH CARE [CN]
Huawei Technologies Co., Ltd,
China International Exchange and Promotive Association For Medical And Health Care
EP_4620393_PA

Resumen de: EP4620393A1

This application discloses a blood glucose monitoring method, a graphical interface, and a related apparatus. In the method, a wearable device collects a PPG signal of a user used to reflect blood glucose of the user within a time period, removes a low-quality PPG signal collected when the user is affected by an external factor, and determines, based on a reserved PPG signal, a quantity of occurrences of a blood glucose abnormality and/or a blood glucose risk of the user within the time period. It can be learned that, when data used to reflect the blood glucose of the user is collected, the user may be affected by the external factor, and the device may remove the PPG signal collected when the user is affected by the external factor. In this way, a status of the user does not need to be considered in a blood glucose monitoring process, thereby achieving an effect of unperceived blood glucose monitoring.

CONSTRUCTION SYSTEM FOR A CARDIOVASCULAR DISEASE RISK PREDICTION MODEL FOR PATIENTS WITH TYPE 2 DIABETES

NºPublicación:  LU600638B1 19/09/2025
Solicitante: 
SICHUAN CANCER HOSPITAL [CN]
SICHUAN CANCER HOSPITAL
LU_600638_PA

Resumen de: LU600638B1

The present invention discloses a construction system for a cardiovascular disease risk prediction model for patients with type 2 diabetes, comprising a bottom base, a mounting slot, a prediction system, a data collection and preprocessing module, a feature selection and extraction module, a model construction module, amodel evaluation and validation module, a user interaction module, a speaker, and a display. The bottom base is provided with a mounting slot, within the mounting slot the prediction system is arranged. The present invention is designed as an integrated and comprehensive construction system for a cardiovascular disease risk prediction model for patients with type 2 diabetes. Based on the results of multifactorial Logistic regression analysis, a highly accurate risk prediction model is constructed. Furthermore, statistical methods are employed to validate the predictive performance of the model, providing a novel tool for identifying high-risk individuals for cardiovascular disease among patients with type 2 diabetes. Additionally, the present invention not only considers traditional risk factors but also incorporates biochemical indicators such as serum albumin, serum uric acid, and parathyroid hormone.

METHODS AND SYSTEMS FOR MEDICATION DETERMINATION AND MANAGEMENT

NºPublicación:  WO2025194017A1 18/09/2025
Solicitante: 
ABBOTT DIABETES CARE INC [US]
ABBOTT DIABETES CARE INC
WO_2025194017_PA

Resumen de: WO2025194017A1

Systems and methods of optimizing glucose medication dosages are based on modeling a patient's glucose lowering response using historical glucose data. The model is actively updated to account for changes in the patient's medication treatments and physiological conditions based on real-time or near real-time glucose measurements from the patient. The system can analyze various dosages of insulin based on the patient's current therapy and the model to determine an optimized dosage. Also disclosed is a system and method for retrieving a patient's current medication therapies from medical records using an automated system. Also disclosed are methods of implementing remotely-updatable limitations for medication optimization algorithms.

METHOD AND APPARATUS FOR IMPROVING LAG CORRECTION DURING IN VIVO MEASUREMENT OF ANALYTE CONCENTRATION WITH ANALYTE CONCENTRATION VARIABILITY AND RANGE DATA

NºPublicación:  US2025288226A1 18/09/2025
Solicitante: 
ABBOTT DIABETES CARE INC [US]
ABBOTT DIABETES CARE INC
US_2025288226_PA

Resumen de: US2025288226A1

Methods, devices, and systems are provided. A method includes receiving sensor data from the glucose sensor, the sensor data being associated with a time window, determining a rate of change distribution of the sensor data, determining a first slope that corresponds to a line of the rate of change distribution, comparing a first slope with a first reference slope, generating, based on comparing the first slope with the first reference slope, an output; and, transmitting the output to a display or a transmitter. Numerous additional features are disclosed.

SYSTEMS AND METHODS FOR SMART BIAS VOLTAGE FOR INSULIN INTERFERENCE COMPENSATION

NºPublicación:  US2025288228A1 18/09/2025
Solicitante: 
MEDTRONIC MINIMED INC [US]
Medtronic MiniMed, Inc
US_2025288228_PA

Resumen de: US2025288228A1

An analyte sensor configured to compensate for insulin interference includes: a working electrode, including an analyte sensing molecule disposed on the working electrode configured to generate a signal when exposed to an analyte; a processor; and a memory. The memory includes instructions which, when executed by the processor, cause the sensor to: obtain an indication from the pump that the bolus is delivered; in response to the delivery of the bolus, determine at least one of a first electrochemical impedance spectroscopy (EIS) parameter value or a first conductivity value in response to exposure of the working electrode to the analyte; and determine a presence of one or more interferents based on at least one of the first EIS parameter value or the first conductivity value.

ANTIHYPERGLYCEMIC METHODS AND SYSTEMS

NºPublicación:  WO2025193785A1 18/09/2025
Solicitante: 
ABBOTT DIABETES CARE INC [US]
ABBOTT DIABETES CARE INC
WO_2025193785_PA

Resumen de: WO2025193785A1

A method of determining a dosage regimen for a glucose disorder includes receiving existing dosage information for a patient at a computing device and receiving, by the computing device, glucose data from a patient using a continuous glucose monitor. Next, the method includes determining a glycemic risk for a time period based on the glucose data, and modifying an existing basal insulin dosage when the glycemic risk indicates an elevated risk of a high glucose level in at least one time period and when the glycemic risk does not indicate an elevated risk of low glucose, and when the existing basal insulin dosage is below a predetermined maximum. Next, the method includes initiating a prandial insulin dose when the glycemic risk indicates an elevated risk of a high glucose level and when the existing basal insulin dosage is at a predetermined maximum.

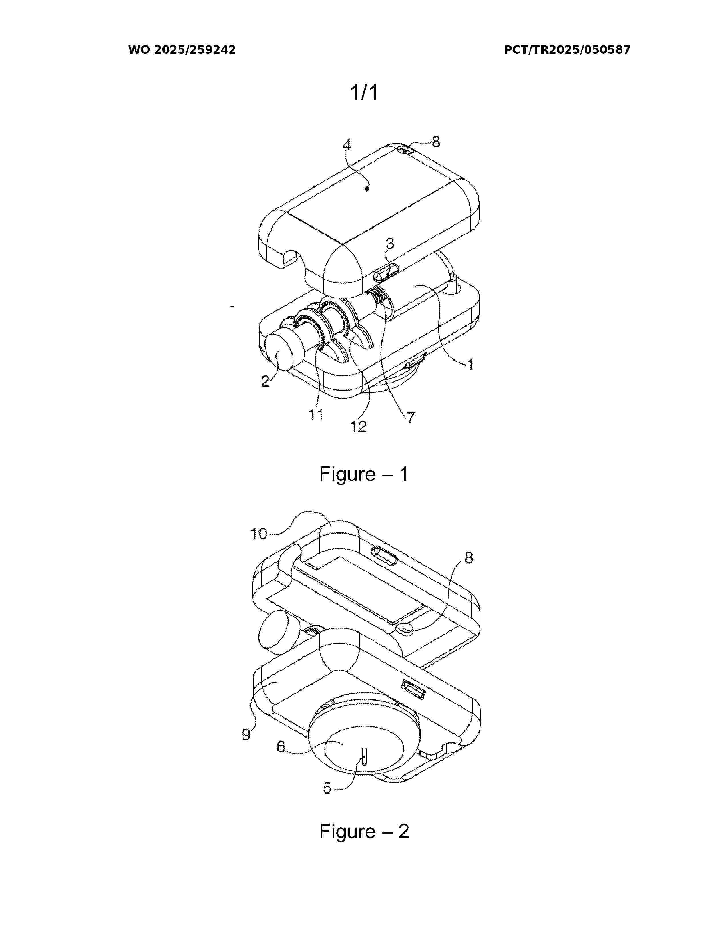
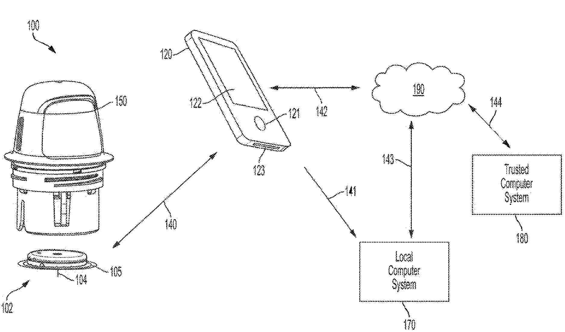
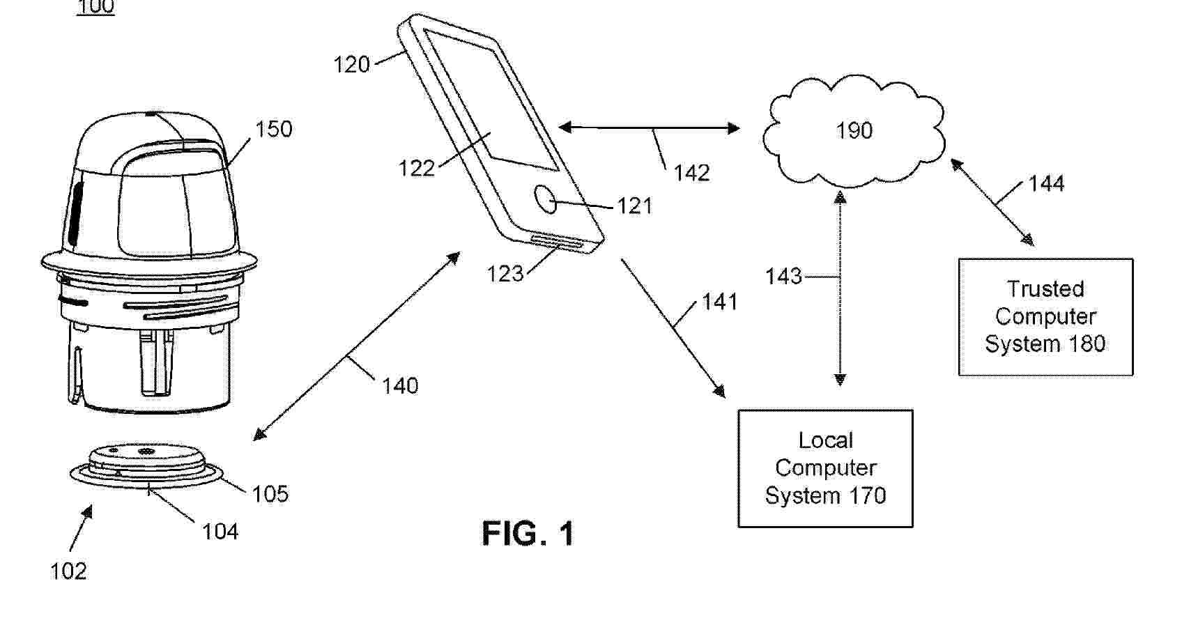
SENSOR APPLICATOR ASSEMBLY FOR CONTINUOUS GLUCOSE MONITORING SYSTEM

NºPublicación:  AU2025223826A1 18/09/2025
Solicitante: 
I SENS INC
i-SENS, Inc
AU_2025223826_A1

Resumen de: AU2025223826A1

A sensor applicator assembly for a continuous glucose monitoring system is provided. The sensor applicator assembly is assembled as a single unitary product in which a sensor module measuring a blood glucose level is preinstalled in an applicator, such that the sensor module is ejected by an operation of the applicator to be attached to a human body. The applicator includes a main container and a plunger body fixedly coupled to a first position within the main container. The plunger body is configured to be decoupled from the first position and to be moved to a second position in an injecting direction. The sensor module is coupled to one end portion of the plunger body to be moved integrally with the plunger body as the plunger body being moved toward the second position. An adhesive layer is attached to a lower surface of the sensor module to attach the sensor module to the human body, and is configured to be moved together with the sensor module as the plunger body being moved toward the second position. A sensor applicator assembly for a continuous glucose monitoring system is provided. The sensor applicator assembly is assembled as a single unitary product in which a sensor module measuring a blood glucose level is preinstalled in an applicator, such that the sensor module is ejected by an operation of the applicator to be attached to a human body. The applicator includes a main container and a plunger body fixedly coupled to a first position within the main container. T

SYSTEMS AND METHODS FOR INTEGRATED SPINAL CORD STIMULATION AND GLUCOSE MONITORING

NºPublicación:  WO2025193719A1 18/09/2025
Solicitante: 
GLUCOTRACK INC [US]
GLUCOTRACK, INC
WO_2025193719_PA

Resumen de: WO2025193719A1

A system for continuous glucose measurement and spinal cord stimulation provides at least two implantable non-stimulation electrodes configured to continuously monitor at least one physiological parameter on a lead that also includes a plurality of implantable stimulation electrodes. The electrodes are electrically connected to an implantable pulse generator that communicates stimulation instructions and glucose measurement data.

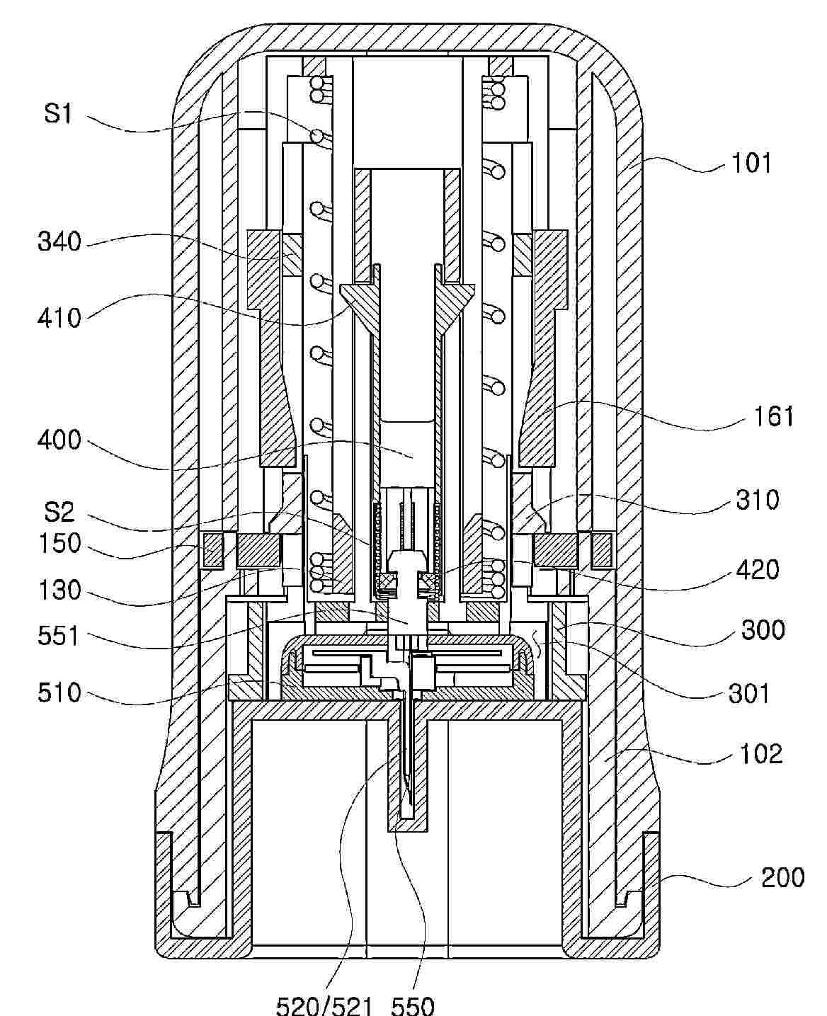
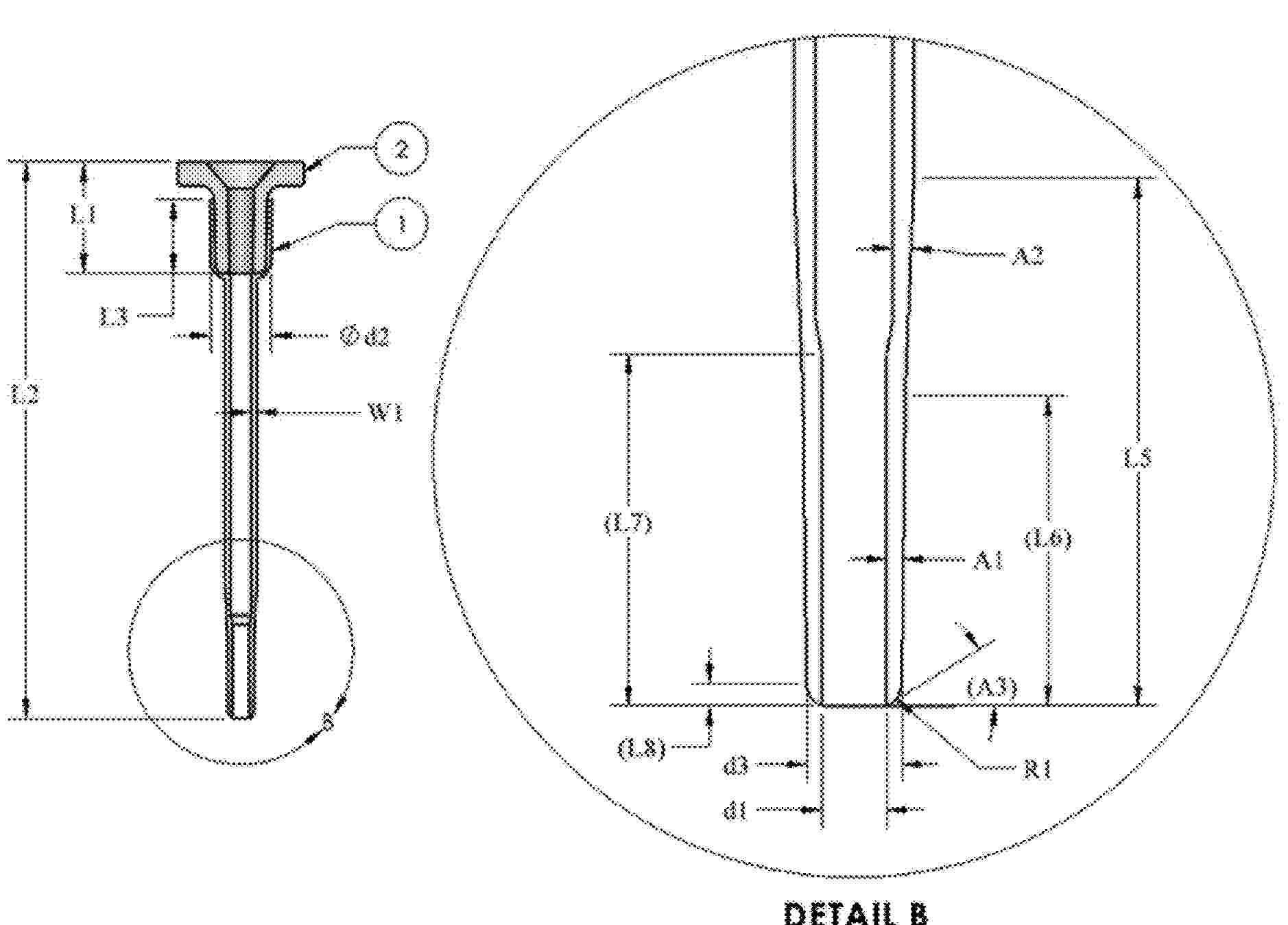
CONTINUOUS BLOOD SUGAR MEASURING DEVICE

NºPublicación:  ES3036439T3 18/09/2025
Solicitante: 
I SENS INC
i-Sens, Inc
US_2024306955_PA

Resumen de: US2024306955A1

The present disclosure relates to a continuous blood sugar measuring device, and provides a continuous blood sugar measuring device which is capable of minimizing additional work of a user in order to attach a body attachment unit, by manufacturing the body attachment unit to be assembled inside an applicator so that the body attachment unit can be attached to the body simply by operating the applicator and, particularly: communicating with an external terminal by providing a wireless communication chip in the body attachment unit so that simple and convenient use is possible and maintenance can easily be performed without the additional work of connecting a separate transmitter; initiating operation by a manipulation of the user, after attaching the body attachment unit to the body, so that an operation initiation time can be adjusted to a suitable time according to the need of the user; and initiating operation in a stabilized state to enable a more accurate measurement of blood sugar.

Analyte sensors and sensing methods for dual detection of glucose and ethanol

NºPublicación:  AU2025223845A1 18/09/2025
Solicitante: 
ABBOTT DIABETES CARE INC
Abbott Diabetes Care Inc
AU_2025223845_A1

Resumen de: AU2025223845A1

Multiple enzymes may be present in one or more active areas of an electrochemical analyte sensor for detecting one or more different analytes. In particular, an analyte sensor may comprise a sensor tail configured for insertion into a tissue and one or more working electrodes having a glucose-responsive active area and an ethanol- responsive active area to detect glucose and ethanol in vivo. Multiple enzymes may be present in one or more active areas of an electrochemical analyte sensor for detecting one or more different analytes. In particular, an analyte sensor may comprise a sensor tail configured for insertion into a tissue and one or more working electrodes having a glucose-responsive active area and an ethanol- responsive active area to detect glucose and ethanol in vivo. ug u l t i p l e e n z y m e s m a y b e p r e s e n t i n o n e o r m o r e a c t i v e a r e a s o f a n e l e c t r o c h e m i c a l u g a n a l y t e s e n s o r f o r d e t e c t i n g o n e o r m o r e d i f f e r e n t a n a l y t e s n p a r t i c u l a r , a n a n a l y t e s e n s o r m a y c o m p r i s e a s e n s o r t a i l c o n f i g u r e d f o r i n s e r t i o n i n t o a t i s s u e a n d o n e o r m o r e w o r k i n g e l e c t r o d e s h a v i n g a g l u c o s e - r e s p o n s i v e a c t i v e a r e a a n d a n e t h a n o l - r e s p o n s i v e a c t i v e a r e a t o d e t e c t g l u c o s e a n d e t h a n o l i n v i v o

METHODS AND SYSTEMS FOR MEDICATION DETERMINATION AND MANAGEMENT

NºPublicación:  US2025288224A1 18/09/2025
Solicitante: 
ABBOTT DIABETES CARE INC [US]
Abbott Diabetes Care Inc
US_2025288224_PA

Resumen de: US2025288224A1

Systems and methods of optimizing glucose medication dosages are based on modeling a patient's glucose lowering response using historical glucose data. The model is actively updated to account for changes in the patient's medication treatments and physiological conditions based on real-time or near real-time glucose measurements from the patient. The system can analyze various dosages of insulin based on the patient's current therapy and the model to determine an optimized dosage. Also disclosed is a system and method for retrieving a patient's current medication therapies from medical records using an automated system. Also disclosed are methods of implementing remotely-updatable limitations for medication optimization algorithms.

NON-INVASIVE CONTINUOUS BLOOD GLUCOSE CONCENTRATION (BGC) MEASUREMENT METHOD AND APPARATUS BASED ON OPTICAL COHERENCE TOMOGRAPHY ANGIOGRAPHY (OCTA)

NºPublicación:  US2025288225A1 18/09/2025
Solicitante: 
UNIV ZHEJIANG [CN]
ZHEJIANG UNIVERSITY
US_2025288225_PA

Resumen de: US2025288225A1

A non-invasive continuous blood glucose concentration (BGC) measurement method and apparatus based on optical coherence tomography angiography (OCTA) are provided. The method includes: performing continuous OCT scanning and imaging on a target tissue region; extracting, based on a depth attenuation characteristic of an OCT signal, a three-dimensional optical scattering coefficient of the target tissue region; generating a three-dimensional microvascular distribution of the target tissue region; accurately distinguishing a blood optical scattering coefficient (BOC) from a tissue optical scattering coefficient (TOC) based on the three-dimensional scattering coefficient and the three-dimensional microvascular distribution; and measuring reference BGCs at two time points through an electrochemical method; and combining the reference BGCs with the BOC and the TOC respectively, thereby achieving continuous measurement of a BGC and an interstitial fluid glucose concentration (IGC). The method and apparatus are based on OCTA to achieve accurate BGC measurement while simultaneously enabling IGC measurement.

METHODS, SYSTEMS, AND DEVICES FOR DETERMINING GLUCOSE MEASUREMENTS

NºPublicación:  WO2025189236A1 18/09/2025
Solicitante: 
MELBOURNE INST TECH [AU]
ROYAL MELBOURNE INSTITUTE OF TECHNOLOGY
WO_2025189236_PA

Resumen de: WO2025189236A1

Some embodiments relate to devices and methods for determining a measure of glucose in a first substance. An example device may comprise: a light source configured to emit near-infrared light at a first wavelength at a first quantity of the first substance, the first substance comprising a second substance and glucose; a detector, configured to: detect light from the first substance; and provide a signal indicative of an intensity of the detected light; and a controller, configured to: receive the signal from the detector; determine a first measure indicative of the intensity of the detected light from the first substance; determine a measure of glucose in the first substance as a difference between the first measure and a second measure, wherein the second measure is indicative of the intensity of detected light from a second quantity of the second substance when subjected to near-infrared light at the first wavelength; and provide an output based on the determined measure of glucose.

SYSTEMS AND METHODS FOR SMART BIAS VOLTAGE FOR INSULIN INTERFERENCE COMPENSATION

NºPublicación:  EP4616800A1 17/09/2025
Solicitante: 
MEDTRONIC MINIMED INC [US]
Medtronic MiniMed, Inc
EP_4616800_PA

Resumen de: EP4616800A1

An analyte sensor configured to compensate for insulin interference includes: a working electrode, including an analyte sensing molecule disposed on the working electrode configured to generate a signal when exposed to an analyte; a processor; and a memory. The memory includes instructions which, when executed by the processor, cause the sensor to: obtain an indication from the pump that the bolus is delivered; in response to the delivery of the bolus, determine at least one of a first electrochemical impedance spectroscopy (EIS) parameter value or a first conductivity value in response to exposure of the working electrode to the analyte; and determine a presence of one or more interferents based on at least one of the first EIS parameter value or the first conductivity value.

SENSOR APPLICATOR ASSEMBLY FOR BLOOD GLUCOSE METER

NºPublicación:  EP4616799A1 17/09/2025
Solicitante: 
I SENS INC [KR]
i-Sens, Inc
EP_4616799_PA

Resumen de: EP4616799A1

Provided is a sensor applicator assembly for a blood glucose monitoring, comprising an applicator, and a body attachment unit disposed inside the applicator and comprising a housing including an upper frame and a lower frame. The lower frame comprises a recess portion formed throughout an entire section along a perimeter direction.

SENSOR APPLICATOR ASSEMBLY FOR CONTINUOUS GLUCOSE MONITORING SYSTEM

NºPublicación:  EP4616802A2 17/09/2025
Solicitante: 
I SENS INC [KR]
I-SENS, INC
EP_4616802_PA

Resumen de: EP4616802A2

The present invention relates to a sensor applicator assembly for a continuous glucose monitoring system and provides a sensor applicator assembly for a continuous glucose monitoring system, which is manufactured with a sensor module assembled inside an applicator, thereby minimizing additional work by a user for attaching the sensor module to the body and allowing the sensor module to be attached to the body simply by operating the applicator, and thus can be used more conveniently. A battery is built in the sensor module and a separate transmitter is connected to the sensor module so as to receive power supply from the sensor module and be continuously used semi-permanently, thereby making the assembly economical. The sensor module and the applicator are used as disposables, thereby allowing accurate and safe use and convenient maintenance.

ANTI-STABBING COLLECTION SHARPS CONTAINER FOR INSULIN INJECTION NEEDLES

NºPublicación:  LU600551B1 15/09/2025
Solicitante: 
ZHEJIANG MEDICAL & HEALTH GROUP QUZHOU HOSPITAL [CN]
ZHEJIANG MEDICAL & HEALTH GROUP QUZHOU HOSPITAL
LU_600551_PA

Resumen de: LU600551B1

The present invention relates to the field of medical waste treatment, and provides an anti-stabbing collection sharps container for insulin injection needles, including a support frame with a collection box arranged inside, a top cover being fixed on the top of the collection box, and a flip cover being rotatably mounted inside the top cover; an auxiliary assembly arranged on the flip cover for assisting in the disassembly of needles, the auxiliary assembly including a hopper, the outer wall of the hopper being fixed on the flip cover, a sealing plate being rotatably mounted inside the hopper, two sliders symmetrically arranged in the left-right direction being slidably mounted inside the hopper, clamping blocks being fixed on the upper surfaces of the sliders, arc-shaped grooves being disposed inside the clamping blocks, and a plurality of teeth being fixed inside the clamping blocks.

DECISION SUPPORT FOR GLUCOSE-KETONE SENSOR

NºPublicación:  WO2025188641A1 12/09/2025
Solicitante: 
ABBOTT DIABETES CARE INC [US]
ABBOTT DIABETES CARE INC
WO_2025188641_PA

Resumen de: WO2025188641A1

A system includes an analyte measurement system and a software application operatively coupled to the analyte measurement system. The analyte measurement system is configured to measure an analyte of a patient. The software application is configured to retrieve sensor data of the analyte level, analyte rate of change, or both; detect at least one condition associated with the sensor data; and provide a notification to the patient associated with the at least one detected condition. Advantageously the system can detect current or impending adverse conditions (such as an insulin deficiency), provide custom notifications (e.g., warnings, recommendations, guidance) to the patient to act, prompt the patient for additional information relevant to the detected condition, continuously monitor glucose and ketone levels in real-time, control insulin delivery based on ketone level, and mitigate the risk of euglycemic diabetic ketoacidosis (euDKA).

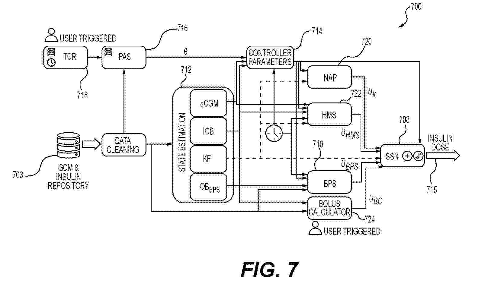
SYSTEM AND METHOD FOR AUTOMATED INSULIN DELIVERY USING ARTIFICIAL NEURAL NETWORK

NºPublicación:  WO2025188770A1 12/09/2025
Solicitante: 
UNIV OF VIRGINIA PATENT FOUNDATION [US]
BRETON MARC D [US]
MOSCOSO VASQUEZ MARCELA [US]
COLMEGNA PATRICIO [US]
FRASQUET ALBERTO CASTILLO [US]
DIAZ CASTANEDA JENNY LORENA [US]
VILLA TAMAYO MARIA FERNANDA [US]
PRYOR ELLIOTT CARROLL [US]
EL FATHI ANAS [US]
UNIVERSITY OF VIRGINIA PATENT FOUNDATION,
BRETON, Marc D,
MOSCOSO-VASQUEZ, Marcela,
COLMEGNA, Patricio,
FRASQUET, Alberto Castillo,
DIAZ-CASTA\u00D1EDA, Jenny Lorena,
VILLA TAMAYO, Maria Fernanda,
PRYOR, Elliott Carroll,
EL FATHI, Anas
WO_2025188770_PA

Resumen de: WO2025188770A1

An automated insulin delivery system provides an insulin injection that is computed by adding (i) the recommendation of an artificial neural network trained to mimic a constrained model predictive controller dosing rule from a neural network implementing an artificial pancreas (ii) a hypoglycemia mitigation system includeds a correction (one dose computed as the correction down to 110mg/dl based on prevailing continuous glucose monitoring and once an hour at most, unless there is a triggering BPS and G>180 mg/dl), and (iii) the current basal rate (output of the Performance Assessment System, (PAS)); that amount is then saturated by the Safety Supervision System, SSM. Finally, a priming bolus from the Bolus Priming System, BPS, is added to the total if the conditions for large glycemic excursions are detected, also saturated by SSM.

SYSTEM AND METHOD FOR REAL-TIME PERSONALIZATION OF AUTOMATED INSULIN DELIVERY

NºPublicación:  WO2025188774A1 12/09/2025
Solicitante: 
UNIV OF VIRGINIA PATENT FOUNDATION [US]
BRETON MARC D [US]
DIAZ CASTANEDA JENNY L [US]
COLMEGNA PATRICIO [US]
PRYOR ELLIOTT CARROLL [US]
MOSCOSO VASQUEZ MARCELA [US]
UNIVERSITY OF VIRGINIA PATENT FOUNDATION,
BRETON, Marc D,
DIAZ-CASTA\u00D1EDA, Jenny L,
COLMEGNA, Patricio,
PRYOR, Elliott Carroll,
MOSCOSO-VASQUEZ, Marcela
WO_2025188774_PA

Resumen de: WO2025188774A1

An automated insulin delivery system provides an insulin injection that is computed by adding (i) the recommendation of an artificial neural network trained to mimic a constrained model predictive controller dosing rule from a neural network implementing an artificial pancreas (ii) a hypoglycemia mitigation system includeds a correction (one dose computed as the correction down to 110mg/dl based on prevailing continuous glucose monitoring and once an hour at most, unless there is a triggering BPS and G>180 mg/dl), and (iii) the current basal rate (output of the Performance Assessment System, (PAS)); that amount is then saturated by the Safety Supervision System, SSM. Finally, a priming bolus from the Bolus Priming System, BPS, is added to the total if the conditions for large glycemic excursions are detected, also saturated by SSM.

CHEMICAL DETECTION USING SINGLE-PHOTON AVALANCHE DIODES

Nº publicación: WO2025188465A1 12/09/2025

Solicitante:

ARTILUX INC [US]
ARTILUX, INC

WO_2025188465_PA

Resumen de: WO2025188465A1

Described herein are systems and methods for non-invasive glucose detection using an optical sensing apparatus. The optical sensing apparatus comprises one or more single-photon avalanche diodes (SPADs) and one or more processors. The one or more SPADs may be configured to receive light pulses having one or more wavelengths that have interacted with biological tissues over a plurality of time cycles and convert the light pulses into a plurality of electrical signals. Each of the one or more SPADs may comprise an absorption region formed on a substrate, wherein the absorption region comprises germanium or germanium containing tin, and wherein the substrate comprises silicon. The one or more processors may be configured to identify, for each of the plurality of time cycles, particular time slots representing a time duration that each of the light pulses has interacted with glucose molecules and determine one or more characteristics of glucose molecules.

traducir