Ministerio de Industria, Turismo y Comercio LogoMinisterior
 

Alerta

Resultados 46 resultados
LastUpdate Última actualización 01/05/2026 [09:05:00]
pdfxls
Solicitudes publicadas en los últimos 30 días / Applications published in the last 30 days (Publicaciones Chinas excluidas /Chinese publications excluded).
Resultados 1 a 25 de 46 nextPage  

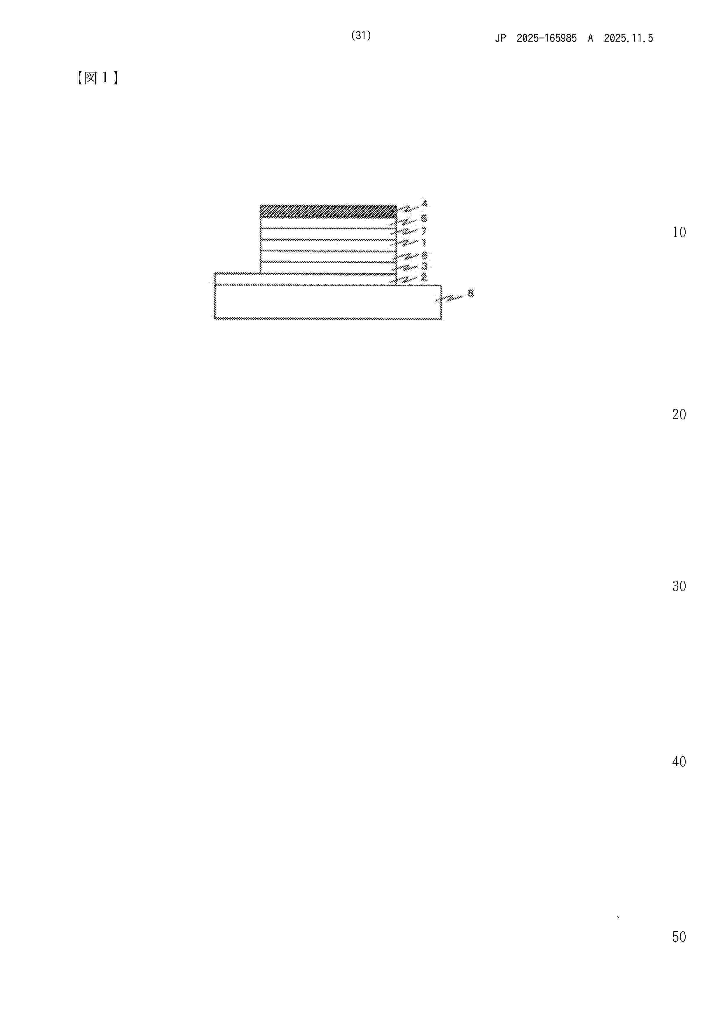
Herstellung einer flächigen magnetisierten Struktur

NºPublicación:  DE102024210334A1 30/04/2026
Solicitante: 
CONTITECH DEUTSCHLAND GMBH [DE]
ContiTech Deutschland GmbH
DE_102024210334_PA

Resumen de: DE102024210334A1

Die Erfindung betrifft ein Verfahren (100) zur Herstellung einer flächigen magnetisierten Struktur (1a) mit zwei sich gegenüberliegenden, unterschiedlich magnetisch gepolten Seiten (2a, 3a). Es wird vorgeschlagen eine magnetisierbare Struktur (1) vor dem Magnetisierungsvorgang in einer bestimmten Art und Weise einzurollen oder zu falten.

A METHOD OF EDGE-FUNCTIONALISING A 2D MATERIAL

NºPublicación:  US20260116761A1 30/04/2026
Solicitante: 
NATIONAL UNIV OF SINGAPORE [SG]
National University of Singapore
US_20260116761_A1

Resumen de: US20260116761A1

There is provided a method of forming an edge-functionalised 2D material, comprising mixing the 2D material with a solvent at a first pre-determined temperature, adding an oxidising agent and a multifunctional molecule, adjusting the temperature to a second pre-determined temperature, adjusting the temperature to a third pre-determined temperature and adding a quenching agent to form a suspension, wherein the suspension comprises the edge-functionalised 2D material.

COATING COMPOSITION

NºPublicación:  US20260117075A1 30/04/2026
Solicitante: 
VOESTALPINE STAHL GMBH [AT]
SALZGITTER FLACHSTAHL GMBH [DE]
MERCEDES BENZ GROUP AG [DE]
G & S SOLUTION GMBH [DE]
VOESTALPINE STAHL GMBH
SALZGITTER FLACHSTAHL GMBH
MERCEDES-BENZ GROUP AG
G & S SOLUTION GMBH
US_20260117075_A1

Resumen de: US20260117075A1

A composition for coating metal surfaces includes a binding agent having a phenolic resin, an epoxy resin, in particular phenoxy resin, a polyester resin (soft resin) and a polyisocyanate, further having at least one conductive pigment, a corrosion resistant pigment and a solvent. The coating layer obtained from the composition by drying is corrosion-resistant, non-flammable, forming-compatible and weldable.

BINDER COMPOSITION, NEGATIVE ELECTRODE INCLUDING BINDER COMPOSED OF THE COMPOSITION, METHOD FOR MANUFACTURING THE NEGATIVE ELECTRODE, AND ALL-SOLID-STATE BATTERY INCLUDING THE NEGATIVE ELECTRODE

NºPublicación:  US20260121054A1 30/04/2026
Solicitante: 
HYUNDAI MOTOR COMPANY [KR]
KIA CORP [KR]
IUCF HYU INDUSTRY UNIV COOPERATION FOUNDATION HANYANG UNIV [KR]
HYUNDAI MOTOR COMPANY
KIA CORPORATION
IUCF-HYU (Industry-University Cooperation Foundation Hanyang University)
US_20260121054_A1

Resumen de: US20260121054A1

Disclosed are a binder composition that may exhibit superior binding ability when being contained in a negative electrode, a negative electrode including a binder composed of the composition, a method for manufacturing the negative electrode, and an all-solid-state battery including the negative electrode that may exhibit superior cycle life characteristics. The binder composition includes a polymer including a reactive diene, an acrylate-based compound, and a photo-crosslink initiator. A ratio between a total number of moles of double bonds in the polymer and a total number of moles of double bonds in the acrylate-based compound is in a range of 6:4 inclusive to 9:1 inclusive.

NEGATIVE ELECTRODE FOR ALL-SOLID-STATE BATTERY, METHOD OF PREPARING COATING SLURRY, AND ALL-SOLID-STATE BATTERY

NºPublicación:  US20260121066A1 30/04/2026
Solicitante: 
SAMSUNG SDI CO LTD [KR]
SAMSUNG SDI CO., LTD.
US_20260121066_A1

Resumen de: US20260121066A1

Disclosed are negative electrodes for all-solid-state batteries, methods of preparing coating slurry, and all-solid-state batteries. The negative electrode includes a negative electrode current collector and a coating layer on the negative electrode current collector. The coating layer includes a carbon-based material and a metal particle. The metal particle includes a lithiophilic metal. An average particle diameter of the metal particle is in a range of about 10 nm to about 200 nm. A standard deviation of a particle diameter of the metal particle is equal to or less than about 50% of the average particle diameter.

MATERIALS AND METHODS OF PATHOGEN INACTIVATION

NºPublicación:  EP4732316A1 29/04/2026
Solicitante: 
C POLAR TECH INC [US]
C-Polar Technologies, Inc.
US_2024425722_PA

Resumen de: US2024425722A1

Materials with uniform electrostatic surface charge for antimicrobial pathogen inactivation meanwhile preserving safety (non-cytotoxicity) for personal and personnel use and methods for manufacturing such antimicrobial materials and uses thereof.

ELECTRICALLY-CONDUCTIVE PRIMER COATING COMPOSITIONS, A PROCESS FOR PRODUCTION THEREOF, COATING FILMS USING THE SAME, AND PROCESSES FOR FORMING MULTILAYER COATING FILMS

NºPublicación:  EP4731717A1 29/04/2026
Solicitante: 
BASF COATINGS GMBH [DE]
BASF Coatings GmbH
WO_2024260682_A1

Resumen de: WO2024260682A1

Problem To offer electrically-conductive primer coating compositions which can confer outstanding electrical conductivity on plastic substrate material immediately after coating while it includes the solvent, and have good adhesion between different type of plastic substrate materials and topcoat coating films, with heating at a low temperature for a short time, a process for production thereof, coating films using the same, and processes for forming multilayer coating films. Solution To use electrically-conductive primer coating compositions which include (C) an electrically-conductive pigment paste by dispersing (A) an electrically-conductive pigment in (B) a non-chlorinated polyolefin resin which includes hydroxy groups, (D) an acrylic resin-modified chlorinated polyolefin resin, and (E) a blocked polyisocyanate compound, and a process for production thereof, primer coating films formed from these electrically-conductive primer coating compositions, and processes for forming multilayered coating films.

CONDUCTIVE INK COMPOSITION AND METHOD THEREOF

NºPublicación:  EP4731719A1 29/04/2026
Solicitante: 
GRAPHENEST S A [PT]
Graphenest, S.A.
WO_2024261728_A1

Resumen de: WO2024261728A1

The present disclosure relates to a graphene-based conductive ink composition and a method thereof. The composition demonstrates improved binding to substrates, superior resistance to hydrolysis, and enhanced mechanical strength and electrical conductivity. The present disclosure relates to a conductive ink composition and a method to obtain said conductive ink, wherein the conductive ink comprises: 4 to 25 wt.% of graphene as a first carbon-based conductive material; 0.1 to 10 wt.% of a second carbon-based conductive material; 0.01 to 5 wt.% of a first dispersant comprising styrene-co-acrylate for improving the distribution; 0.01 to 3 wt.% of a second dispersant for preventing the flocculation; 0.1 to 60 wt.% a binder comprising polyimide; 0.1 to 90 wt.% of a solvent.

POSITIVE ELECTRODE FOR NONAQUEOUS ELECTROLYTE SECONDARY BATTERIES, NONAQUEOUS ELECTROLYTE SECONDARY BATTERY USING SAME, AND POSITIVE ELECTRODE SLURRY FOR POSITIVE ELECTRODES OF NONAQUEOUS ELECTROLYTE SECONDARY BATTERIES

NºPublicación:  US20260112601A1 23/04/2026
Solicitante: 
PANASONIC INTELLECTUAL PROPERTY MAN CO LTD [JP]
US_20260112601_A1

Resumen de: US20260112601A1

0000 A disclosed positive electrode is a positive electrode for a nonaqueous electrolyte secondary battery. The positive electrode includes a positive electrode current collector and a positive electrode mixture layer disposed on the positive electrode current collector. The positive electrode mixture layer contains active material particles having an average particle diameter less than 5 μm, a conductive material, a dispersant, and a binder. The active material particles include composite oxide particles and a surface modification layer formed on surfaces of the composite oxide particles and containing a boron compound. The composite oxide particles are particles of a lithium transition metal composite oxide. The conductive material includes a carbon material. The dispersant includes nitrile group-containing rubber. The binder includes a fluorine-containing polymer.

Safety Coating and Use Thereof, Electrode Sheet, and Lithium-Ion Battery

NºPublicación:  US20260112641A1 23/04/2026
Solicitante: 
ZHEJIANG LIWINON ENERGY TECH CO LTD [CN]
US_20260112641_A1

Resumen de: US20260112641A1

0000 A safety coating and use thereof, an electrode sheet, and a lithium-ion battery are disclosed, which relates to the technical field of secondary battery materials. By limiting the particle size of the inorganic filler, a well-graded distribution of large and small particles is achieved, resulting in a relatively dense structure for the safety coating, thereby reducing the probability of contact between the positive electrode and the negative electrode, and enhancing the safety performance of the battery cell. Meanwhile, by optimizing the content of binder in the safety coating, the electrolytic solution absorption by the safety coating is promoted, which can improve the rate performance, low-temperature discharge performance, and cycling performance of the battery cell. Ultimately, by limiting the particle size of the inorganic filler and selecting the binder, the safety performance of the battery cell can be improved while enhancing its rate performance, low-temperature discharge performance, and cycling performance.

METHOD FOR PREPARING CARBON MICROPARTICLE COMPOSITE MATERIAL, FLEXIBLE ELECTRODE MATERIAL, AND METHOD FOR PREPARING FLEXIBLE ELECTRODE

NºPublicación:  US20260110584A1 23/04/2026
Solicitante: 
CHONGQING UNIV [CN]
US_20260110584_A1

Resumen de: US20260110584A1

The disclosure provides a flexible electrode material, a flexible electrode, and their preparation methods and applications, belonging to the technical field of composite materials. The carbon microparticle composite material includes carbon particles and gallium oxide attached to the surface of the carbon microparticles. The flexible electrode material includes, by mass, 2-17 parts of gallium-coated carbon particles and 83-98 parts of liquid metal. The flexible electrode is prepared by coating the flexible electrode material onto a flexible substrate via screen printing, attaching copper conductive wires to both ends of the printed flexible electrode material, applying a viscoelastic material coating over the surface of the flexible electrode material, and curing and drying the flexible electrode material at room temperature. The composite material can be applied to electronic skin for detecting human body motion states and earth pressure cells for monitoring soil pressure in engineering projects.

METHOD OF PREPARING A POLYMER CAPACITOR, A CONDUCTIVE POLYMER COMPOSITION, AND ITS USE AS A CONDUCTIVE LAYER IN AN ELECTRONIC DEVICE

NºPublicación:  US20260103610A1 16/04/2026
Solicitante: 
AGFA GEVAERT NV [BE]
US_20260103610_A1

Resumen de: US20260103610A1

A method of preparing a polymer capacitor comprising a porous anode body including the step of introducing a conductive polymer formulation into at least part of the porous anode body, the conductive polymer dispersion including at least one oligo- or polythiophene and a polymeric polyanion characterised in that the polymeric polyanion has a polydispersity of 3 or less and a weight average molecular weight (Mw) of 25 to 175 kDa.

METHOD FOR MANUFACTURING PHOTOVOLTAIC CELL

NºPublicación:  US20260107681A1 16/04/2026
Solicitante: 
TOYOTA JIDOSHA KK [JP]
US_20260107681_A1

Resumen de: US20260107681A1

Provided is a method for manufacturing a perovskite-type photovoltaic cell that allows improving the power generation efficiency of the photovoltaic cell. The photovoltaic cell includes a photoelectric conversion layer containing a perovskite compound represented by formula ABX3, wherein, A represents at least one cation selected from the group consisting of Cs+, CH3NH3+, and HC(NH2)2+, B represents at least one divalent cation selected from the group consisting of Pb2+ and Sn2+, and X represents at least one anion selected from the group consisting of halide anions. The precursor solution used in the method contains A, B, X1, and X2 in a molar ratio of 1:(1+0.5a):3:a, wherein X1 represents at least one anion selected from the group consisting of halide anions, X2 represents Cl−, and a represents a real number greater than 0 and less than or equal to 0.21.

METHOD FOR MANUFACTURING PHOTOVOLTAIC CELL AND PRECURSOR SOLUTION OF PEROVSKITE COMPOUND

NºPublicación:  US20260107680A1 16/04/2026
Solicitante: 
TOYOTA JIDOSHA KK [JP]
US_20260107680_A1

Resumen de: US20260107680A1

Provided is a method for manufacturing a perovskite-type photovoltaic cell that allows improving the power generation efficiency of photovoltaic cell. The photovoltaic cell includes a photoelectric conversion layer containing a perovskite compound represented by formula ABX3, wherein, A represents at least one cation selected from the group consisting of Cs+, CH3NH3+, and HC(NH2)2+, B represents at least one divalent cation selected from the group consisting of Pb2+ and Sn2+, and X represents at least one anion selected from the group consisting of halide anions. The precursor solution used in the method contains A, B, X1, and X2 in a molar ratio of (1+a):1:3:a, wherein X1 represents at least one anion selected from the group consisting of halide anions, X2 represents Cl−, and a represents a real number greater than 0 and less than or equal to 0.13.

TOOTHED BELT, METHOD FOR PRODUCING SAME, AND TREATMENT AGENT

NºPublicación:  WO2026079427A1 16/04/2026
Solicitante: 
MITSUBOSHI BELTING LTD [JP]
\u4E09\u30C4\u661F\u30D9\u30EB\u30C8\u682A\u5F0F\u4F1A\u793E
WO_2026079427_A1

Resumen de: WO2026079427A1

The present invention relates to a treatment agent for producing a tooth cloth of a toothed belt, the treatment agent being a mixed liquid which contains a first RFL liquid containing a first RFL component that is composed of resorcin, formaldehyde, and latex, and a first conductive dispersion liquid containing a first conductive carbon black, wherein in the mixed liquid, the proportion of the solid content of the first RFL component is 10 mass% or more, and the proportion of the solid content of the first conductive dispersion liquid is 4-10 mass%.

ASSEMBLY WITH DETACHABLE CONSTRUCTIONAL LAYER

NºPublicación:  US20260103428A1 16/04/2026
Solicitante: 
SIKA TECH AG [CH]
US_20260103428_A1

Resumen de: US20260103428A1

A layered assembly including a substrate based on a hydraulically binding composition, a primer layer, and a constructional layer wherein the primer layer is positioned between the substrate and the constructional layer, and wherein the primer layer includes a polymer and a wax. The invention also relates to methods for producing the layered assembly and methods for detaching the constructional layer from the layered assembly.

ORIENTING MAGNETIC FLAKES WITHIN A BINDER LAYER

NºPublicación:  US20260103017A1 16/04/2026
Solicitante: 
VIAVI SOLUTIONS INC [US]
US_20260103017_A1

Resumen de: US20260103017A1

A deposition device may deposit, on a substrate, a binder layer that includes a first set of magnetic flakes and a second set of magnetic flakes and may cause, when a temperature of the binder layer satisfies a temperature threshold (e.g., a Curie temperature of the first set of magnetic flakes), a magnetic field to be applied to the binder layer to cause the first set of magnetic flakes and the second set of magnetic flakes to be oriented according to the magnetic field. The deposition device may cause, when the temperature of the binder layer ceases to satisfy the temperature threshold, another magnetic field to be applied to the binder layer to cause only the second set of magnetic flakes to be oriented according to the other magnetic field.

RECORDING METHOD USING AQUEOUS INK CONTAINING INDIGO

NºPublicación:  EP4725998A1 15/04/2026
Solicitante: 
AGFA NV [BE]
EP_4725998_A1

Resumen de: EP4725998A1

0001 An image recording method comprising the following steps: i) applying an aqueous pre-treatment liquid onto at least a part of a recording region S of a surface of a substrate; and ii) attaching an aqueous inkjet ink onto at least a part of the recording region S, the aqueous inkjet ink comprises indigo pigment particles selected from a synthetic process or a bio-based process, a polymeric dispersant and a water-soluble organic solvent, the indigo pigment particles have an average particle size equal to 30 nm or more and equal to 1000 nm or less, the polymeric dispersant is a block co-polymer having an average molecular weight equal to 1.2 kDa or more and comprises a hydrophobic block and a hydrophilic block. An ink set containing the aqueous inkjet ink comprising indigo pigment particles selected from a bio-based process, a polymeric dispersant and a water-soluble organic solvent is also provided.

전하수송성 바니시 및 그 제조 방법

NºPublicación:  KR20260051035A 15/04/2026
Solicitante: 
닛산가가쿠가부시키가이샤
KR_20260051035_PA

Resumen de: WO2025033132A1

Provided is a charge-transporting varnish that provides a charge-transporting thin film having excellent hole injection properties and also has excellent storage stability, the charge-transporting varnish comprising SiO2 nanoparticles surface-treated with a silane coupling agent represented by formula (S1), a charge-transporting substance, and an organic solvent, wherein the residual silane coupling agent has been removed from the charge-transporting varnish. (Rv1 to Rv3 each independently represents a hydrogen atom, a chlorine atom, a hydroxy group, or an alkoxy group or the like which may have a substituent; at least one of Rv1 to Rv3 represents a hydrogen atom, a chlorine atom, a hydroxy group, or an alkoxy group which may have a substituent; L represents a single bond or a C1-10 alkylene group; and Rv4 represents a C1-10 alkyl group which may have at least one kind of substituent selected from halogen atoms or the like. When Rv4 is a C1-10 alkyl group which may have a substituent, L is a single bond.)

高導電性ナノカーボンコーティング集電体およびその製造方法

NºPublicación:  JP2026511348A 14/04/2026
Solicitante: 
江陰納力新材料科技有限公司
JP_2026511348_A

Resumen de: CN116417620A

The invention discloses a high-conductivity nano carbon-coated current collector and a preparation method thereof. In order to improve the conductivity of the current collector, the conductive adhesive with high conductivity is prepared; in order to enhance the conductivity of the conductive adhesive, the addition amount of a conductive carbon material is firstly increased, meanwhile, in order to avoid performance reduction caused by excessive conductive carbon materials, branched modified polyurethane acrylate resin is further prepared, and the overall viscosity of the adhesive is reduced by utilizing the spheroidal space structure of the branched modified polyurethane acrylate resin, so that the conductivity of the adhesive is improved. The branched modified polyurethane acrylate resin has a large number of acrylic groups, so that the complexity of a cross-linked network can be further improved, the viscosity of the adhesive can be effectively improved, and the conductivity of the adhesive can be improved on the basis of improving the conductivity of the adhesive. The reduction of the bonding performance is avoided.

導電性インク組成物

NºPublicación:  JP2026063245A 10/04/2026
Solicitante: 
エレクトロニンクスインコーポレイテッド
JP_2026063245_A

Resumen de: WO2015160938A1

A conductive structure is provided. The conductive ink composition includes a silver complex formed by mixing a silver carboxylate, at least one dissolving agent that dissolves the silver carboxylate, and a catalyst. The catalyst includes an amine that decarboxylates the silver carboxylate to make the conductive ink composition. The catalyst decarboxylates the silver carboxylate at a temperature of 100 °C or less. An ink composition comprising a metallic salt with a sterically bulky counter ion and a ligand is also provided. An ink composition for making a conductive structure, comprising a reducible metal complex formed by mixing: a reducing agent, wherein the reducing agent is dissolved in a dissolving agent; and at least one metal salt or metal complex comprising a Group 4, 5, 6, 7, 8, 9, 10, 11, or 12 metal, wherein the reducing agent reduces the metal to form the conductive structure is further provided.

導電性ポリマー分散液

NºPublicación:  JP2026511062A 10/04/2026
Solicitante: 
アグフア-ゲヴエルト,ナームローゼ・フエンノートシヤツプ
JP_2026511062_A

Resumen de: EP4435065A1

0001 A conductive polymer composition comprising: - a conductive polymer, and - a polymer binder, characterized in that the polymer binder includes an aqueous dispersion of a Polymer Mixture comprising a First Polymer that is aqueous dispersible and a Second Polymer that is aqueous insoluble.

固体電解質及びこの製造方法

NºPublicación:  JP2026062650A 10/04/2026
Solicitante: 
エルジーエナジーソリューションリミテッド
JP_2026062650_A

Resumen de: WO2023106852A1

The present invention pertains to a solid electrolyte and a method for producing same. More specifically, the solid electrolyte contains a mixed conductive polymer having ionic conductivity and electrical conductivity properties and a lithium salt in an appropriate range, and thus both the ionic conductivity and electrical conductivity properties of the solid electrolyte can be improved.

Method for manufacturing a coating composition for the surface modification of waste glass extracted from waste solar modules method for manufacturing high-performance light-diffusing eco-reinforced glass using this coating composition and high-performance light-diffusing eco-reinforced glass manufactured thereby

NºPublicación:  KR20260048390A 10/04/2026
Solicitante: 
황성호

Resumen de: KR20260048390A

태양광 발전시스템에 있어서, 기존에 설치되어 있는 태양광 발전소의 발전효율을 향상시키기 위하여 기 설치된 또는 설치할 태양전지 모듈의 표면에 직접 도포하여 상온경화시키는 방식으로 모듈유리의 표면 반사광을 저감시켜 광투과율을 향상시키고 기존 태양전지 모듈의 태양광 섬광반사로 인한 민원문제를 해결하며 소재의 대전방지 특성과 연잎 표면과 유사한 미세 굴곡 표면 구조 형상으로 모듈유리의 표면 오염을 최소화하는 코팅 조성물과 이를 이용하여 출력 및 발전량을 향상시킨 태양전지 모듈을 특징으로 한다. 상기 코팅조성물은 도전성을 갖는 탄소나노튜브와 가시광을 투과시킬 수 있는 5nm ~ 10nm 크기의 금속산화물 미립자와 5nm ~ 35nm 입자 크기의 콜로이달 실리카 그리고 메틸실리케이트 또는 에틸실리케이트를 과량의 물로 가수분해함으로써 얻어진 수용성 메틸실리케이트 또는 수용성 에틸실리케이트를 함유하는 것을 특징으로 하는데, 태양전지 모듈의 유리 표면에 도포 시 AR(anti-reflection, 반사광저감)에 의한 광투과율 향상 기능과 대전방지 특성 및 연잎 표면구조와 유사한 나노크기의 미세한 굴곡 표면형상을 통한 AS(anti-soiling, 오염방지) 기능을 부여하며 열경화(50oC ~ 740oC)는 물론 상온상태에서도 코팅막�

Method for manufacturing conductive patterns using graphene

Nº publicación: KR20260047868A 09/04/2026

Solicitante:

한국전자통신연구원

Resumen de: KR20260047868A

본 발명의 일 실시예에 따른 전도성 패턴의 제조 방법은, 산화 그래핀과 잉크 용매를 혼합하여 혼합 용액을 형성하는 것; 상기 혼합 용액에 환원제를 섞어 잉크 슬러리를 형성하는 것; 상기 잉크 슬러리로 인쇄하여 기판 상에 인쇄패턴을 형성하는 것; 및 상기 인쇄패턴을 광 소결하여 전도성 패턴을 형성하는 것을 포함할 수 있다.

traducir